WO2025041201A1 - Optical measurement device - Google Patents

Optical measurement device Download PDF

Info

Publication number
WO2025041201A1
WO2025041201A1 PCT/JP2023/029888 JP2023029888W WO2025041201A1 WO 2025041201 A1 WO2025041201 A1 WO 2025041201A1 JP 2023029888 W JP2023029888 W JP 2023029888W WO 2025041201 A1 WO2025041201 A1 WO 2025041201A1
Authority
WO
WIPO (PCT)
Prior art keywords
light
optical
probe
output
measurement device
Prior art date
Legal status (The legal status is an assumption and is not a legal conclusion. Google has not performed a legal analysis and makes no representation as to the accuracy of the status listed.)
Pending
Application number
PCT/JP2023/029888
Other languages
French (fr)
Japanese (ja)
Inventor
英生 原
Current Assignee (The listed assignees may be inaccurate. Google has not performed a legal analysis and makes no representation or warranty as to the accuracy of the list.)
Advantest Corp
Original Assignee
Advantest Corp
Priority date (The priority date is an assumption and is not a legal conclusion. Google has not performed a legal analysis and makes no representation as to the accuracy of the date listed.)
Filing date
Publication date
Application filed by Advantest Corp filed Critical Advantest Corp
Priority to PCT/JP2023/029888 priority Critical patent/WO2025041201A1/en
Priority to CN202380100324.XA priority patent/CN121488145A/en
Priority to TW113112531A priority patent/TW202509484A/en
Publication of WO2025041201A1 publication Critical patent/WO2025041201A1/en
Anticipated expiration legal-status Critical
Pending legal-status Critical Current

Links

Images

Classifications

    • GPHYSICS
    • G01MEASURING; TESTING
    • G01MTESTING STATIC OR DYNAMIC BALANCE OF MACHINES OR STRUCTURES; TESTING OF STRUCTURES OR APPARATUS, NOT OTHERWISE PROVIDED FOR
    • G01M11/00Testing of optical apparatus; Testing structures by optical methods not otherwise provided for

Definitions

  • the present invention relates to the measurement of incident light provided to the light receiving end of an optical element and emitted light emitted from the light emitting end of the optical element.
  • test devices that test optical elements that input and output light are known (for example, Patent Documents 1 to 3).
  • Such test devices have an optical probe that is in close proximity to the optical element, and an optical measurement unit.
  • the optical measurement unit has an optical waveguide that provides light to the optical probe or receives light from the optical probe, and a measuring device that measures the light traveling through the optical waveguide.
  • the optical probe and the optical measurement unit are separated, so the loss of light between them is not negligible.
  • the present invention aims to reduce the loss of light between the optical probe and the optical measurement unit.
  • the first optical measurement device is an optical measurement device that measures the output light emitted from the output end of an optical element, and is equipped with an output light probe that is close to the output end and receives the output light, an output light waveguide that receives the output light from the output light probe, and an output light meter that measures the output light traveling through the output light waveguide, and is configured such that the output light probe and the optical measurement unit are arranged on the same substrate, and the output light probe and the output light waveguide are directly connected.
  • the output light emitted from the output end of the optical element is measured.
  • An output light probe is located close to the output end and receives the output light.
  • An optical measurement unit has an output light waveguide that receives the output light from the output light probe, and an output light meter that measures the output light traveling through the output light waveguide.
  • the output light probe and the optical measurement unit are arranged on the same substrate. The output light probe and the output light waveguide are directly connected.
  • the third optical measurement device is an optical measurement device that measures incident light given to a light receiving end of an optical element and emitted light emitted from the emission end of the optical element, and includes an incident optical probe that is close to the light receiving end and emits the incident light, an emission optical probe that is close to the emission end and receives the emission light, an incident optical waveguide that gives the incident light to the incident optical probe, an emission optical waveguide that receives the emission light from the emission optical probe, an incident optical meter that measures the incident light traveling through the incident optical waveguide, and an emission optical meter that measures the emission light traveling through the emission optical waveguide, and the incident optical probe, the emission optical probe, and the optical measurement unit are arranged on the same substrate, the incident optical probe and the incident optical waveguide are directly connected, and the emission optical probe and the emission optical waveguide are directly connected.
  • incident light given to the light receiving end of an optical element and outgoing light emitted from the outgoing end of the optical element are measured.
  • An incident light probe is close to the light receiving end and emits the incident light.
  • An outgoing light probe is close to the outgoing end and receives the outgoing light.
  • An optical measurement unit has an incident light waveguide that gives the incident light to the incident light probe, an outgoing light waveguide that receives the outgoing light from the outgoing light probe, an incident light meter that measures the incident light traveling through the incident light waveguide, and an outgoing light meter that measures the outgoing light traveling through the outgoing light waveguide.
  • the incident light probe, the outgoing light probe, and the optical measurement unit are arranged on the same substrate.
  • the incident light probe and the incident light waveguide are directly connected.
  • the outgoing light probe and the outgoing light waveguide are directly connected.
  • the third optical measurement device may be configured so that the output light traveling through the output optical waveguide is provided to the input optical waveguide.
  • the third optical measurement device may be configured so that the emitted light is provided to the incident optical waveguide via an optical attenuator.
  • the third optical measurement device may also include a tunable light source, an optical modulator that modulates the output of the tunable light source and provides it to the input optical waveguide, and an optical receiver that receives the output light traveling through the output optical waveguide.
  • the third light measurement device may also be equipped with a multi-wavelength light source that provides the incident light to the light receiving end.
  • the third optical measurement device may include an actuator that moves the input optical probe and the output optical probe, and the actuator may be disposed on the substrate.
  • the third light measurement device may be configured so that the actuator moves the emitted light probe so that the measurement result of the emitted light meter becomes a predetermined value.
  • the optical element may have a photodetector connected to the light receiving end and a light source connected to the light emitting end.
  • the optical element may have a connection portion that connects the light receiving end and the light emitting end.
  • the optical element may have a light detector connected to the light receiving end, and the incident light meter may be calibrated based on the detection result of the light detector.
  • the optical element may have a light source connected to the output end, and the output light meter may be calibrated based on the results of measuring the output of the light source by the output light meter and the results of measuring the output of the light source by the input light meter.
  • the third optical measurement device may include an optical connector connected to the incident optical waveguide, and the connection state of the optical connector may be determined based on the result of measuring the input from the optical connector by the incident light meter.
  • the third optical measurement device may include an optical connector connected to the input optical waveguide and the output optical waveguide via an optical switch, and the input from the optical connector may be output from the optical connector via the optical switch, and the connection state of the optical connector may be determined based on the measurement result of the output from the optical connector.
  • the substrate may be a silicon substrate.
  • the optical element may be arranged on a wafer.
  • the input light probe or the output light probe may be curved.
  • the input optical probe or the output optical probe may be arranged to the side or above the optical element.
  • the input optical probe or the output optical probe may be linear.
  • the input optical probe or the output optical probe may be arranged above the optical element.
  • the incident light probe or the outgoing light probe may receive or emit light via a reflecting member.
  • FIG. 1 is a plan view of an optical element 2 that is an object to be measured by a light measurement device 1 according to a first embodiment of the present invention.
  • FIG. 1 is a side view of a light measurement device 1 according to a first embodiment. 1 is a plan view seen through an optical element 2 that is a measurement target of a light measurement device 1 according to a first embodiment.
  • FIG. 1 is a front view of a light measurement device 1 according to a first embodiment.
  • 2 is a plan view of a light measurement unit 14 of the light measurement device 1 according to the first embodiment.
  • FIG. 4 is a plan view of a light measurement unit 14 of the light measurement device 1 according to a first modified example of the first embodiment.
  • FIG. 1 is a front view of a light measurement device 1
  • FIG. 10 is a plan view of a light measurement unit 14 of a light measurement device 1 according to a second modified example of the first embodiment.
  • FIG. FIG. 4 is a side view of a light measurement device 1 according to a second embodiment of the present invention.
  • FIG. 11 is a side view of the light measurement device 1 according to a first modified example of the second embodiment.
  • FIG. 11 is a side view of the light measurement device 1 according to a second modified example of the second embodiment.
  • 11 is a transparent plan view of an optical element 2 that is a measurement target of a light measurement device 1 according to a third embodiment of the present invention.
  • FIG. 13 is a plan view seen through an optical element 2 that is a measurement target of a light measurement device 1 according to a modified example of the third embodiment.
  • FIG. 11 is a front view of a light measurement device 1 according to a fourth embodiment of the present invention.
  • FIG. 11 is a side view of a light measurement device 1 according to a fourth embodiment of the present invention.
  • FIG. 13 is a plan view of the light measurement device 1 according to a first modified example of the fourth embodiment of the present invention.
  • 13 is a plan view of a light measurement unit 14 of a light measurement device 1 according to a third modified example of the first embodiment of the present invention.
  • FIG. FIG. 13 is a plan view of a light measurement device 1 according to a sixth embodiment of the present invention.
  • FIG. 13 is a plan view of the light measurement device 1 according to a modified example of the sixth embodiment of the present invention.
  • FIG. 1 is a plan view of an optical element 2 that is an object to be measured by a light measurement device 1 according to a first embodiment of the present invention.
  • multiple optical elements 2 are arranged on a wafer 4 at a predetermined interval.
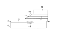
  • FIG. 2 is a side view of the light measurement device 1 according to the first embodiment. However, FIG. 2 is also a cross-sectional view taken along line II-II in FIG. 1.
  • FIG. 3 is a plan view seen through the optical element 2 that is the measurement target of the light measurement device 1 according to the first embodiment.
  • FIG. 4 is a front view of the light measurement device 1 according to the first embodiment.
  • the optical measurement device 1 includes an input optical probe 11, an output optical probe 12, a holding layer 100, an optical measurement unit 14, a substrate 16, and a stage 18. However, in FIG. 4, the stage 18 is omitted, and the holding layer 100 and the optical measurement unit 14 are shown in perspective.
  • the optical measurement device 1 measures the incident light provided to the light receiving end 21e of the optical element 2 and the emitted light emitted from the emission end 22e of the optical element 2.
  • the incident light probe 11 has an end 11e.
  • the incident light probe 11 emits incident light at the end 11e, which is close to the light receiving end 21e.
  • the emitting light probe 12 has an end 12e.
  • the emitting light probe 12 receives the emitted light at end 12e, which is adjacent to the emitting end 22e. Note that in FIG. 2, the emitting light probe 12 is not shown because it has the same shape as the incident light probe 11 and is hidden by the incident light probe 11.
  • the retention layer 100 retains the incident light probe 11 and the outgoing light probe 12.
  • the incident light probe 11 and the outgoing light probe 12 penetrate the retention layer 100.
  • the incident light probe 11 is bent.
  • the incident light probe 11 is disposed to the side of the optical element 2. More specifically, in FIG. 2, the incident light probe 11 extends in the vertical direction and extends out from the retaining layer 100, but then bends at a right angle and extends to the left, with the end 11e of the incident light probe 11 disposed immediately adjacent to the light receiving end 21e of the optical element 2.
  • the optical element 2 has optical waveguides 21 and 22.
  • the optical waveguide 21 has a light receiving end 21e, which is exposed on the side of the optical element 2.
  • the optical waveguide 22 has an emission end 22e, which is exposed on the side of the optical element 2.
  • the optical waveguides 21 and 22 in the optical element 2 are shown as if they were cutting through the optical element 2 for the sake of convenience. However, the optical waveguides 21 and 22 do not necessarily cut through the optical element 2.
  • the optical waveguides 21 and 22 in the optical element 2 are shown as if they cross the optical element 2 for convenience of illustration. However, the optical waveguides 21 and 22 do not need to cross the optical element 2 (this is also true for the other figures).
  • FIG. 2 of the components in the optical measurement unit 14 only the input optical waveguide 141 is shown for convenience of illustration.
  • FIG. 4 of the components in the optical measurement unit 14, only the input optical waveguide 141 and the output optical waveguide 142 are shown for convenience of illustration.
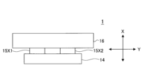
  • FIG. 5 is a plan view of the light measurement unit 14 of the light measurement device 1 according to the first embodiment.
  • the optical measurement unit 14 has an input optical waveguide 141, an output optical waveguide 142, an input optical meter 143, an output optical meter 144, an optical attenuator 14a, and optical switches 14s1 and 14s2.
  • the incident light waveguide 141 provides incident light to the incident light probe 11.
  • the output light waveguide 142 receives output light from the output light probe 12.
  • the incident light meter 143 measures the incident light traveling through the incident light waveguide 141.
  • the incident light meter 143 is, for example, an optical power monitor.
  • the output light meter 144 measures the output light traveling through the output light waveguide 142.
  • the output light meter 144 is, for example, an optical power monitor.
  • Optical switch 14s1 is an optical switch that connects either the input from outside the optical measurement unit 14 or the output of optical attenuator 14a to the incident optical waveguide 141.
  • Optical switch 14s2 is an optical switch that connects either the output to outside the optical measurement unit 14 or the input to the optical attenuator 14a to the output optical waveguide 142.
  • the optical attenuator 14a receives the outgoing light traveling through the outgoing optical waveguide 142 via the optical switch 14s2, attenuates it, and provides it to the incoming optical waveguide 141 via the optical switch 14s1. As a result, the outgoing light is provided to the incoming optical waveguide 141 via the optical attenuator 14a.
  • the input light probe 11, the output light probe 12, and the light measurement unit 14 are arranged on the same substrate 16.
  • the substrate 16 is, for example, a silicon substrate.
  • the input light probe 11 and the input light waveguide 141 are directly connected, and the output light probe 12 and the output light waveguide 142 are directly connected.
  • the substrate 16 is fixed to the stage 18.
  • the stage 18 can be moved in two orthogonal directions within the plane of FIG. 2 and in a direction orthogonal to the plane of FIG. 2 (e.g., the XYZ directions), thereby allowing the input light probe 11 and output light probe 12 to be moved together with the substrate 16.
  • the end 11e of the input optical probe 11 is placed immediately adjacent to the light receiving end 21e of the optical element 2. Then, the end 12e of the output optical probe 12 is placed immediately adjacent to the output end 22e of the optical element 2.
  • an input (incident light) from outside the light measurement unit 14 is provided to the incident light waveguide 141 via the optical switch 14s1.
  • the incident light is measured by the incident light measuring device 143.
  • the incident light is provided from the incident light waveguide 141 to the incident light probe 11, is emitted from the end 11e of the incident light probe 11, and is received by the light receiving end 21e of the optical element 2.
  • the optical element 2 emits the emitted light from the emission end 22e.
  • the emitted light emitted from the emission end 22e of the optical element 2 is received by the end 12e of the emitting light probe 12.
  • the output light received by the end 12e of the output light probe 12 passes through the output light probe 12 and is provided to the output light waveguide 142.
  • the output light traveling through the output light waveguide 142 is measured by the output light measuring device 144.
  • the output light traveling through the output light waveguide 142 is output to the outside of the light measuring unit 14.
  • the output light traveling through the output light waveguide 142 is provided as input light to the input light waveguide 141 via the optical switch 14s2, the optical attenuator 14a, and the optical switch 14s1.
  • the incident optical probe 11, the output optical probe 12, and the optical measurement unit 14 are arranged on the same substrate 16. Therefore, the incident optical probe 11 and the input optical waveguide 141 can be directly connected, and the output optical probe 12 and the output optical waveguide 142 can be directly connected. This makes it possible to reduce the loss of light between the incident optical probe 11 and the output optical probe 12 and the optical measurement unit 14.
  • FIG. 6 is a plan view of the light measurement unit 14 of the light measurement device 1 according to a first modification of the first embodiment.
  • the optical measurement unit 14 of the optical measurement device 1 according to the first modification of the first embodiment further includes a wavelength-tunable light source 14v, an optical modulator 14m, and an optical receiver 14r in addition to the components described in the first embodiment.
  • the optical modulator 14m modulates the output of the tunable light source 14v and provides it to the input optical waveguide 141 via the optical switch 14s1.
  • the optical receiver 14r receives the emitted light traveling through the output optical waveguide 142 via the optical switch 14s2.
  • FIG. 7 is a plan view of the light measurement section 14 of the light measurement device 1 according to a second modification of the first embodiment.
  • the light measurement unit 14 of the light measurement device 1 according to the second modification of the first embodiment further includes a multi-wavelength light source 14mw and a light source light measurement device 146 in addition to the components described in the first embodiment.
  • the light measurement unit 14 of the light measurement device 1 according to the second modified example of the first embodiment has a multi-wavelength light source 14mw.
  • the multi-wavelength light source 14mw provides incident light to the light receiving end (not shown, but separate from the light receiving end 21e) via the incident light waveguide 145 and the incident light probe 13.
  • the light source optical meter 146 measures the incident light emitted from the multi-wavelength light source 14mw and traveling through the incident light waveguide 145.
  • the light source optical meter 146 is, for example, an optical power monitor.
  • FIG. 16 is a plan view of the light measurement unit 14 of the light measurement device 1 according to a third modification of the first embodiment.
  • the optical measurement unit 14 of the optical measurement device 1 according to the third modified example of the first embodiment is obtained by removing the optical attenuator 14a and the optical switches 14s1 and 14s2 from the optical measurement unit 14 of the first embodiment. As a result, the output light traveling through the output optical waveguide 142 is provided to the input optical waveguide 141.
  • the optical measurement device 1 according to the second embodiment differs from the first embodiment in that the input optical probe 11 or the output optical probe 12 is arranged above the optical element 2, in that the input optical probe 11 or the output optical probe 12 is arranged to the side of the optical element 2.
  • FIG. 8 is a side view of the light measurement device 1 according to the second embodiment of the present invention.
  • parts similar to those in the first embodiment are given the same reference numerals and will not be described.
  • the incident light probe 11 is bent.
  • the incident light probe 11 is disposed above the optical element 2. More specifically, in FIG. 8, the incident light probe 11 extends in the left-right direction and protrudes outside the retention layer 100, but then bends at a right angle and extends straight down, with the end 11e of the incident light probe 11 being disposed immediately above the grating coupler 21g of the optical element 2.
  • the operation of the second embodiment is similar to that of the first embodiment, and a description thereof will be omitted.
  • the second embodiment also provides the same effects as the first embodiment.
  • FIG. 9 is a side view of the light measurement device 1 according to a first modification of the second embodiment.
  • the incident optical probe 11 is linear.
  • the incident optical probe 11 is disposed above the optical element 2, as in the second embodiment.
  • the incident optical probe 11 extends in the vertical direction and extends outside the retention layer 100, with the end 11e of the incident optical probe 11 being disposed immediately above the grating coupler 21g of the optical element 2.
  • FIG. 10 is a side view of the light measurement device 1 according to a second modification of the second embodiment.
  • the incident light probe 11 is linear.
  • the incident light probe 11 is disposed above the optical element 2, as in the second embodiment.
  • the end 11e of the incident light probe 11 is disposed on the reflecting member 102 without going outside the holding layer 100.
  • the incident light emitted from the end 11e is reflected by the reflecting member 102 and provided to the grating coupler 21g.
  • the incident light probe 11 emits light via the reflecting member 102.
  • the emitting light probe 12 also receives light via the reflecting member 102.
  • a light measurement device 1 according to a third embodiment differs from the first embodiment in that the optical element 2 has a photodetector PD and a light source LD.
  • FIG. 11 is a plan view showing the optical element 2 that is the measurement target of the optical measurement device 1 according to the third embodiment of the present invention.
  • parts similar to those in the first embodiment are given the same reference numerals and will not be described.
  • the optical element 2 has a photodetector PD and a light source LD.
  • the photodetector PD is, for example, an optical power monitor, and is connected to the light receiving end 21e via the optical waveguide 21.
  • the light source LD is connected to the light emitting end 22e via the optical waveguide 22. It is assumed that the power of the light output by the light source LD is known.
  • the end 11e of the input optical probe 11 is placed immediately adjacent to the light receiving end 21e of the optical element 2. Then, the end 12e of the output optical probe 12 is placed immediately adjacent to the output end 22e of the optical element 2.
  • an input (incident light) from outside the light measurement unit 14 is provided to the incident light waveguide 141 via the optical switch 14s1.
  • the incident light is measured by the incident light meter 143.
  • the incident light is provided from the incident light waveguide 141 to the incident light probe 11, radiated from the end 11e of the incident light probe 11, and received by the light receiving end 21e of the optical element 2.
  • the received light is provided to the photodetector PD via the optical waveguide 21, and measured by the photodetector PD.
  • the optical element 2 emits the emitted light from the emission end 22e.
  • the emitted light emitted from the emission end 22e of the optical element 2 is received by the end 12e of the emitting light probe 12.
  • the output light received by the end 12e of the output light probe 12 passes through the output light probe 12 and is provided to the output light waveguide 142.
  • the output light traveling through the output light waveguide 142 is measured by the output light measuring device 144.
  • the output light traveling through the output light waveguide 142 is output to the outside of the light measuring unit 14.
  • the output light traveling through the output light waveguide 142 is provided as input light to the input light waveguide 141 via the optical switch 14s2, the optical attenuator 14a, and the optical switch 14s1.
  • the third embodiment also provides the same effects as the first embodiment.
  • the third embodiment it is possible to know whether the input light waveguide 141, the output light waveguide 142, the input light probe 11, and the output light probe 12 are operating normally. This adds a diagnostic function to the light probe.
  • FIG. 12 is a transparent plan view of the optical element 2 that is the measurement target of the light measurement device 1 according to a modification of the third embodiment.
  • the optical element 2 in the modified example of the third embodiment has a connection portion 23 that connects the light receiving end 21e and the light emitting end 22e.
  • the end 11e of the input optical probe 11 is placed immediately adjacent to the light receiving end 21e of the optical element 2. Then, the end 12e of the output optical probe 12 is placed immediately adjacent to the output end 22e of the optical element 2.
  • an input (incident light) from outside the light measurement unit 14 is provided to the incident light waveguide 141 via the optical switch 14s1.
  • the incident light is measured by the incident light meter 143.
  • the incident light is provided from the incident light waveguide 141 to the incident light probe 11, emitted from the end 11e of the incident light probe 11, and received by the light receiving end 21e of the optical element 2.
  • the received light passes through the optical waveguide 21, the connection portion 23, and the optical waveguide 22, and is emitted from the emission end 22e.
  • the emitted light from the emission end 22e of the optical element 2 is received by the end 12e of the emission light probe 12.
  • the output light received by the end 12e of the output light probe 12 passes through the output light probe 12 and is provided to the output light waveguide 142.
  • the output light traveling through the output light waveguide 142 is measured by the output light measuring device 144.
  • the output light traveling through the output light waveguide 142 is output to the outside of the light measuring unit 14.
  • the output light traveling through the output light waveguide 142 is provided as input light to the input light waveguide 141 via the optical switch 14s2, the optical attenuator 14a, and the optical switch 14s1.
  • the light measurement device 1 may also have both the photodetector PD and the light source LD (third embodiment: FIG. 11) and the connection portion 23 (variant of the third embodiment: FIG. 12).
  • the light measurement device 1 according to the fourth embodiment differs from the first embodiment in that it includes actuators 15Y1, 15Y2, 15Z, 15X, 15X1, and 15X2 that move the input light probe 11 and the output light probe 12.
  • FIG. 13 is a front view of the optical measurement device 1 according to the fourth embodiment of the present invention.
  • FIG. 14 is a side view of the optical measurement device 1 according to the fourth embodiment of the present invention.
  • the optical measurement device 1 includes actuators 15Y1, 15Y2, 15Z, and 15X that move the input optical probe 11 and the output optical probe 12.
  • Actuators 15Y1, 15Y2, 15Z, and 15X are arranged on a substrate 16.
  • actuators 15Y1 and 15Y2 are disposed on the left and right of light measurement unit 14.
  • Actuators 15Y1 and 15Y2 are, for example, well-known comb actuators. Actuators 15Y1 and 15Y2 can move light measurement unit 14 in the Y-axis direction.
  • Actuator 15Z is disposed above light measurement unit 14. Actuator 15Z is, for example, a well-known comb actuator. Actuator 15Z can move light measurement unit 14 in the Z-axis direction.
  • the actuator 15X is disposed between the light measurement unit 14 and the substrate 16.
  • the actuator 15X is, for example, a well-known piezoelectric actuator. When a voltage is applied to the actuator 15X, it contracts or expands in the X-axis direction. This allows the light measurement unit 14 to move in the X-axis direction.
  • the fourth embodiment also provides the same effects as the first embodiment.
  • the light measurement unit 14 can be moved more minutely than the stage 18.
  • the light measurement device 1 is a plan view of a light measurement device 1 according to a first modification of the fourth embodiment of the present invention.
  • the light measurement device 1 according to the modification of the fourth embodiment includes actuators 15X1 and 15X2 instead of the actuator 15X.
  • actuators 15X1 and 15X2 are disposed between light measurement unit 14 and substrate 16, spaced apart from each other in the Y-axis direction.
  • Actuators 15X1 and 15X2 are, for example, well-known piezoelectric actuators.
  • the light measurement unit 14 can be rotated around the direction perpendicular to the paper surface of FIG. 15 (Z direction) as the rotation axis. Note that by appropriately arranging two actuators in this way, and contracting one and expanding the other, the light measurement unit 14 can be rotated around any axis.
  • Second Modification By moving the end 12e of the emitted light probe 12 by the actuators 15X (or 15X1, 15X2), 15Y1, 15Y2 and 15Z so that the measurement result (optical power) of the emitted light measuring instrument 144 becomes a predetermined value (e.g., maximum), the emission end 22e can be aligned with the end 12e.
  • a predetermined value e.g., maximum
  • this adds a centering function for the optical probe.
  • the fifth embodiment describes various calibrations using the light measurement device 1 according to the third embodiment.
  • the photodetector PD is calibrated (valued) so that the measurement results of the photodetector PD match the measurement results of the optical power monitor, which can measure accurately. However, there must be no loss at the light receiving end 21e.
  • the incident light is measured by the photodetector PD, as in the third embodiment.
  • the photodetector PD is assumed to be calibrated as described in (1) above. Furthermore, there is no loss at the light receiving end 21e.
  • the incident light meter 143 is calibrated so that the measurement results of the incident light meter 143 match the measurement results of the photodetector PD.
  • the optical element 2 emits emitted light from the emission end 22e.
  • the emitted light emitted from the emission end 22e of the optical element 2 is received by the end 12e of the emitted light probe 12.
  • the emitted light is measured by the emitted light measuring instrument 144, as in the third embodiment.
  • loss due to the optical attenuator 14a is kept to a minimum.
  • the emitted light is provided as incident light to the incident light waveguide 141. This incident light is measured by the incident light measuring device 143.
  • the exit light meter 144 is calibrated so that the measurement results of the exit light meter 144 match the measurement results of the incident light meter 143.
  • the incident light meter 143 has been calibrated as described in (2) above.
  • the loss due to optical switches 14s1, 14s2 and optical attenuator 14a can be found by taking the difference between the measurement result of the above incident light meter 143 and the measurement result of the incident light meter 143 when the optical switches 14s1, 14s2 and optical attenuator 14a are removed and the incident light waveguide 141 and the output light waveguide 142 are directly connected.
  • the output light meter 144 may be calibrated so that the value obtained by subtracting this loss (which may be replaced with the loss due to a typical optical switch and optical attenuator) from the measurement result of the output light meter 144 matches the measurement result of the incident light meter 143.
  • the light source LD of a certain optical element 2 is calibrated based on the measurement results of the photodetector PD of another optical element 2. Note that once the calibration of the light source LD and the calibration of the emitted light measuring instrument 144 have been completed, the coupling loss of the emitted light probe 12 can be obtained.
  • the optical measurement device 1 according to the sixth embodiment differs from the first embodiment in that the connection state of the optical connector 19 is determined.
  • FIG. 17 is a plan view of the optical measurement device 1 according to the sixth embodiment of the present invention.
  • the optical measurement device 1 according to the sixth embodiment is obtained by adding a probe card 17 and an optical connector 19 to the optical measurement device 1 according to the first embodiment.
  • a substrate 16 is disposed on the probe card 17.
  • An optical connector 19 is disposed on the probe card 17 and is connected to the input optical waveguide 141 via an optical switch 14s1.
  • semiconductor test equipment (ATE: Automated Test Equipment) 4 is connected to the optical connector 19.
  • the semiconductor test device 4 has a measuring device 42 and an optical connector 44.
  • the measuring device 42 has a laser 42a that emits laser light and an optical power meter 42b that measures the power of the received light.
  • the optical connector 44 is connected to the measuring device 42 and the optical connector 19.
  • Laser light of known optical power emitted from laser 42a is provided to the optical measurement device 1 via optical connector 44 and optical connector 19. This laser light is further provided as incident light to the incident light waveguide 141 via optical switch 14s1. This incident light (i.e., the input from optical connector 19) is measured by the incident light meter 143.
  • connection state of the optical connector 19 can be determined.
  • FIG. 18 is a plan view of the light measurement device 1 according to a modification of the sixth embodiment of the present invention.
  • the optical connector 19 is disposed on the probe card 17 and is connected to the input optical waveguide 141 via the optical switch 14s1. Furthermore, the optical connector 19 is connected to the output optical waveguide 142 via the optical switch 14s2.
  • optical connector 19 The input from optical connector 19 is output from optical connector 19 via optical switches 14s1 and 14s2.
  • the output from the optical connector 19 is measured by the optical power meter 42b. Based on the measurement results, it is determined whether the connection state of the optical connector 19 is good or not.

Landscapes

  • Chemical & Material Sciences (AREA)
  • Analytical Chemistry (AREA)
  • Physics & Mathematics (AREA)
  • General Physics & Mathematics (AREA)
  • Photometry And Measurement Of Optical Pulse Characteristics (AREA)
  • Testing Of Optical Devices Or Fibers (AREA)

Abstract

The present invention reduces loss of light between an optical probe and an optical measurement part. An optical measurement device 1 measures incident light applied to the light receiving end 21e of an optical element 2 and emitted light emitted from the emission end 22e of the optical element 2. The optical measurement device 1 comprises an incident optical probe 11 which is close to the light receiving end 21e and emits incident light, an emission optical probe 12 which is close to the emission end 22e and receives emitted light, an incident optical waveguide 141 which applies incident light to the incident optical probe 11, an emission optical waveguide 142 which receives the emitted light from the emission optical probe 12, an incident light measurement instrument 143 which measures incident light traveling through the incident optical waveguide 141, and an optical measurement part 14 which has an emitted light measurement instrument 144 which measures emitted light traveling through the emission optical waveguide 142. The incident optical probe 11, the emission optical probe 12, and the optical measurement part 14 are disposed on the same substrate 16. The incident optical probe 11 and the incident optical waveguide 141 are directly connected. The emission optical probe 12 and the emission optical waveguide 142 are directly connected.

Description

光測定装置Light Measuring Device

 本発明は、光素子の受光端に与えられる入射光および光素子の出射端から出射される出射光の測定に関する。 The present invention relates to the measurement of incident light provided to the light receiving end of an optical element and emitted light emitted from the light emitting end of the optical element.

 従来より、光の入出力を行う光素子を試験する試験装置が知られている(例えば、特許文献1~3)。このような試験装置は、光素子に近接する光プローブと、光測定部を有する。例えば、光測定部は、光プローブに光を与えるか又は光プローブから光を受ける光導波路と、光導波路を進行する光を測定する測定器とを有する。  Conventionally, test devices that test optical elements that input and output light are known (for example, Patent Documents 1 to 3). Such test devices have an optical probe that is in close proximity to the optical element, and an optical measurement unit. For example, the optical measurement unit has an optical waveguide that provides light to the optical probe or receives light from the optical probe, and a measuring device that measures the light traveling through the optical waveguide.

米国特許第8907696号明細書U.S. Pat. No. 8,907,696 特表2020-530121号公報Special Publication No. 2020-530121 特開2006-324588号公報JP 2006-324588 A

 上記のような従来技術によれば、光プローブと光測定部とが離れているので、両者間における光の損失が無視できないものとなる。 In the conventional technology described above, the optical probe and the optical measurement unit are separated, so the loss of light between them is not negligible.

 そこで、本発明は、光プローブと光測定部との間の光の損失を低減することを課題とする。 The present invention aims to reduce the loss of light between the optical probe and the optical measurement unit.

 本発明にかかる第一の光測定装置は、光素子の出射端から出射される出射光を測定する光測定装置であって、前記出射端に近接し、前記出射光を受ける出射光プローブと、前記出射光プローブから前記出射光を受ける出射光導波路と、該出射光導波路を進行する前記出射光を測定する出射光測定器とを有する光測定部とを備え、前記出射光プローブと前記光測定部とが同一の基板上に配置され、前記出射光プローブと前記出射光導波路とが直接に接続されているように構成される。 The first optical measurement device according to the present invention is an optical measurement device that measures the output light emitted from the output end of an optical element, and is equipped with an output light probe that is close to the output end and receives the output light, an output light waveguide that receives the output light from the output light probe, and an output light meter that measures the output light traveling through the output light waveguide, and is configured such that the output light probe and the optical measurement unit are arranged on the same substrate, and the output light probe and the output light waveguide are directly connected.

 上記のように構成された第一の光測定装置によれば、光素子の出射端から出射される出射光が測定される。出射光プローブが、前記出射端に近接し、前記出射光を受ける。光測定部が、前記出射光プローブから前記出射光を受ける出射光導波路と、該出射光導波路を進行する前記出射光を測定する出射光測定器とを有する。前記出射光プローブと前記光測定部とが同一の基板上に配置される。前記出射光プローブと前記出射光導波路とが直接に接続されている。  According to the first optical measurement device configured as described above, the output light emitted from the output end of the optical element is measured. An output light probe is located close to the output end and receives the output light. An optical measurement unit has an output light waveguide that receives the output light from the output light probe, and an output light meter that measures the output light traveling through the output light waveguide. The output light probe and the optical measurement unit are arranged on the same substrate. The output light probe and the output light waveguide are directly connected.

 本発明にかかる第二の光測定装置は、光素子の受光端に与えられる入射光を測定する光測定装置であって、前記受光端に近接し、前記入射光を出射する入射光プローブと、前記入射光プローブに前記入射光を与える入射光導波路と、該入射光導波路を進行する前記入射光を測定する入射光測定器とを有する光測定部とを備え、前記入射光プローブと前記光測定部とが同一の基板上に配置され、前記入射光プローブと前記入射光導波路とが直接に接続されているように構成される。 The second optical measurement device according to the present invention is an optical measurement device that measures incident light provided to the light receiving end of an optical element, and is equipped with an optical measurement unit having an incident light probe that is close to the light receiving end and emits the incident light, an incident light waveguide that provides the incident light to the incident light probe, and an incident light meter that measures the incident light traveling through the incident light waveguide, and is configured such that the incident light probe and the optical measurement unit are arranged on the same substrate, and the incident light probe and the incident light waveguide are directly connected.

 上記のように構成された第二の光測定装置によれば、光素子の受光端に与えられる入射光が測定される。入射光プローブが、前記受光端に近接し、前記入射光を出射する。光測定部が、前記入射光プローブに前記入射光を与える入射光導波路と、該入射光導波路を進行する前記入射光を測定する入射光測定器とを有する。前記入射光プローブと前記光測定部とが同一の基板上に配置される。前記入射光プローブと前記入射光導波路とが直接に接続されている。  According to the second optical measurement device configured as described above, incident light given to the light receiving end of an optical element is measured. An incident light probe is close to the light receiving end and emits the incident light. An optical measurement unit has an incident light waveguide that gives the incident light to the incident light probe, and an incident light meter that measures the incident light traveling through the incident light waveguide. The incident light probe and the optical measurement unit are arranged on the same substrate. The incident light probe and the incident light waveguide are directly connected.

 本発明にかかる第三の光測定装置は、光素子の受光端に与えられる入射光および該光素子の出射端から出射される出射光を測定する光測定装置であって、前記受光端に近接し、前記入射光を出射する入射光プローブと、前記出射端に近接し、前記出射光を受ける出射光プローブと、前記入射光プローブに前記入射光を与える入射光導波路と、前記出射光プローブから前記出射光を受ける出射光導波路と、該入射光導波路を進行する該入射光を測定する入射光測定器と、該出射光導波路を進行する該出射光を測定する出射光測定器とを有する光測定部とを備え、前記入射光プローブと、前記出射光プローブと、前記光測定部とが同一の基板上に配置され、前記入射光プローブと前記入射光導波路とが直接に接続されており、前記出射光プローブと前記出射光導波路とが直接に接続されているように構成される。 The third optical measurement device according to the present invention is an optical measurement device that measures incident light given to a light receiving end of an optical element and emitted light emitted from the emission end of the optical element, and includes an incident optical probe that is close to the light receiving end and emits the incident light, an emission optical probe that is close to the emission end and receives the emission light, an incident optical waveguide that gives the incident light to the incident optical probe, an emission optical waveguide that receives the emission light from the emission optical probe, an incident optical meter that measures the incident light traveling through the incident optical waveguide, and an emission optical meter that measures the emission light traveling through the emission optical waveguide, and the incident optical probe, the emission optical probe, and the optical measurement unit are arranged on the same substrate, the incident optical probe and the incident optical waveguide are directly connected, and the emission optical probe and the emission optical waveguide are directly connected.

 上記のように構成された第三の光測定装置によれば、光素子の受光端に与えられる入射光および該光素子の出射端から出射される出射光が測定される。入射光プローブが、前記受光端に近接し、前記入射光を出射する。出射光プローブが、前記出射端に近接し、前記出射光を受ける。光測定部が、前記入射光プローブに前記入射光を与える入射光導波路と、前記出射光プローブから前記出射光を受ける出射光導波路と、該入射光導波路を進行する該入射光を測定する入射光測定器と、該出射光導波路を進行する該出射光を測定する出射光測定器とを有する。前記入射光プローブと、前記出射光プローブと、前記光測定部とが同一の基板上に配置される。前記入射光プローブと前記入射光導波路とが直接に接続されている。前記出射光プローブと前記出射光導波路とが直接に接続されている。  According to the third optical measurement device configured as described above, incident light given to the light receiving end of an optical element and outgoing light emitted from the outgoing end of the optical element are measured. An incident light probe is close to the light receiving end and emits the incident light. An outgoing light probe is close to the outgoing end and receives the outgoing light. An optical measurement unit has an incident light waveguide that gives the incident light to the incident light probe, an outgoing light waveguide that receives the outgoing light from the outgoing light probe, an incident light meter that measures the incident light traveling through the incident light waveguide, and an outgoing light meter that measures the outgoing light traveling through the outgoing light waveguide. The incident light probe, the outgoing light probe, and the optical measurement unit are arranged on the same substrate. The incident light probe and the incident light waveguide are directly connected. The outgoing light probe and the outgoing light waveguide are directly connected.

 なお、本発明にかかる第三の光測定装置は、前記出射光導波路を進行する前記出射光が、前記入射光導波路に与えられるようにしてもよい。 In addition, the third optical measurement device according to the present invention may be configured so that the output light traveling through the output optical waveguide is provided to the input optical waveguide.

 なお、本発明にかかる第三の光測定装置は、前記出射光が、光減衰器を介して、前記入射光導波路に与えられるようにしてもよい。 In addition, the third optical measurement device according to the present invention may be configured so that the emitted light is provided to the incident optical waveguide via an optical attenuator.

 なお、本発明にかかる第三の光測定装置は、波長可変光源と、前記波長可変光源の出力を変調して、前記入射光導波路に与える光変調器と、前記出射光導波路を進行する前記出射光を受信する光受信器とを備えるようにしてもよい。 The third optical measurement device according to the present invention may also include a tunable light source, an optical modulator that modulates the output of the tunable light source and provides it to the input optical waveguide, and an optical receiver that receives the output light traveling through the output optical waveguide.

 なお、本発明にかかる第三の光測定装置は、前記受光端に前記入射光を与える多波長光源を備えるようにしてもよい。 The third light measurement device according to the present invention may also be equipped with a multi-wavelength light source that provides the incident light to the light receiving end.

 なお、本発明にかかる第三の光測定装置は、前記入射光プローブと前記出射光プローブとを移動させるアクチュエータを備え、前記アクチュエータが、前記基板上に配置されているようにしてもよい。 The third optical measurement device according to the present invention may include an actuator that moves the input optical probe and the output optical probe, and the actuator may be disposed on the substrate.

 なお、本発明にかかる第三の光測定装置は、前記アクチュエータが、前記出射光プローブを、前記出射光測定器の測定結果が所定値になるように移動させるようにしてもよい。 In addition, the third light measurement device according to the present invention may be configured so that the actuator moves the emitted light probe so that the measurement result of the emitted light meter becomes a predetermined value.

 なお、本発明にかかる第三の光測定装置は、前記光素子が、前記受光端に接続された光検出器と、前記出射端に接続された光源とを有するようにしてもよい。 In addition, in the third light measurement device of the present invention, the optical element may have a photodetector connected to the light receiving end and a light source connected to the light emitting end.

 なお、本発明にかかる第三の光測定装置は、前記光素子が、前記受光端と前記出射端とを接続する接続部を有するようにしてもよい。 In addition, in the third optical measurement device according to the present invention, the optical element may have a connection portion that connects the light receiving end and the light emitting end.

 なお、本発明にかかる第三の光測定装置は、前記光素子が、前記受光端に接続された光検出器を有し、前記光検出器の検出結果に基づき、前記入射光測定器が校正されるようにしてもよい。 In addition, in the third light measurement device according to the present invention, the optical element may have a light detector connected to the light receiving end, and the incident light meter may be calibrated based on the detection result of the light detector.

 なお、本発明にかかる第三の光測定装置は、前記光素子が、前記出射端に接続された光源を有し、前記光源の出力を前記出射光測定器によって測定した結果と、前記光源の出力を前記入射光測定器によって測定した結果とに基づき、前記出射光測定器が校正されるようにしてもよい。 In addition, in the third light measurement device according to the present invention, the optical element may have a light source connected to the output end, and the output light meter may be calibrated based on the results of measuring the output of the light source by the output light meter and the results of measuring the output of the light source by the input light meter.

 なお、本発明にかかる第三の光測定装置は、前記入射光導波路に接続された光コネクタを備え、前記光コネクタからの入力を、前記入射光測定器によって測定した結果に基づき、前記光コネクタの接続状態が判定されるようにしてもよい。 The third optical measurement device according to the present invention may include an optical connector connected to the incident optical waveguide, and the connection state of the optical connector may be determined based on the result of measuring the input from the optical connector by the incident light meter.

 なお、本発明にかかる第三の光測定装置は、前記入射光導波路および前記出射光導波路に、光スイッチを介して接続された光コネクタを備え、前記光コネクタからの入力を、前記光スイッチを介して、前記光コネクタから出力し、前記光コネクタからの出力の測定結果に基づき、前記光コネクタの接続状態が判定されるようにしてもよい。 The third optical measurement device according to the present invention may include an optical connector connected to the input optical waveguide and the output optical waveguide via an optical switch, and the input from the optical connector may be output from the optical connector via the optical switch, and the connection state of the optical connector may be determined based on the measurement result of the output from the optical connector.

 なお、本発明にかかる第一、第二および第三の光測定装置は、前記基板が、シリコン基板であるようにしてもよい。 In addition, in the first, second and third optical measurement devices of the present invention, the substrate may be a silicon substrate.

 なお、本発明にかかる第一、第二および第三の光測定装置は、前記光素子が、ウエハに配置されているようにしてもよい。 In addition, in the first, second and third optical measurement devices according to the present invention, the optical element may be arranged on a wafer.

 なお、本発明にかかる第一、第二および第三の光測定装置は、前記入射光プローブまたは前記出射光プローブが曲がっているようにしてもよい。 In addition, in the first, second and third light measurement devices according to the present invention, the input light probe or the output light probe may be curved.

 なお、本発明にかかる第一、第二および第三の光測定装置は、前記入射光プローブまたは前記出射光プローブが、前記光素子の側方または上方に配置されるようにしてもよい。 In addition, in the first, second and third optical measurement devices of the present invention, the input optical probe or the output optical probe may be arranged to the side or above the optical element.

 なお、本発明にかかる第一、第二および第三の光測定装置は、前記入射光プローブまたは前記出射光プローブが、直線状であるようにしてもよい。 In addition, in the first, second and third optical measurement devices according to the present invention, the input optical probe or the output optical probe may be linear.

 なお、本発明にかかる第一、第二および第三の光測定装置は、前記入射光プローブまたは前記出射光プローブが、前記光素子の上方に配置されるようにしてもよい。 In addition, in the first, second and third optical measurement devices according to the present invention, the input optical probe or the output optical probe may be arranged above the optical element.

 なお、本発明にかかる第一、第二および第三の光測定装置は、前記入射光プローブまたは前記出射光プローブが、反射部材を介して、受光または出射を行うようにしてもよい。 In addition, in the first, second and third light measurement devices according to the present invention, the incident light probe or the outgoing light probe may receive or emit light via a reflecting member.

本発明の第一の実施形態にかかる光測定装置1の測定対象である光素子2の平面図である。1 is a plan view of an optical element 2 that is an object to be measured by a light measurement device 1 according to a first embodiment of the present invention. 第一の実施形態にかかる光測定装置1の側面図である。FIG. 1 is a side view of a light measurement device 1 according to a first embodiment. 第一の実施形態にかかる光測定装置1の測定対象である光素子2を透視した平面図である。1 is a plan view seen through an optical element 2 that is a measurement target of a light measurement device 1 according to a first embodiment. 第一の実施形態にかかる光測定装置1の正面図である。FIG. 1 is a front view of a light measurement device 1 according to a first embodiment. 第一の実施形態にかかる光測定装置1の光測定部14の平面図である。2 is a plan view of a light measurement unit 14 of the light measurement device 1 according to the first embodiment. FIG. 第一の実施形態の第一変形例にかかる光測定装置1の光測定部14の平面図である。4 is a plan view of a light measurement unit 14 of the light measurement device 1 according to a first modified example of the first embodiment. FIG. 第一の実施形態の第二変形例にかかる光測定装置1の光測定部14の平面図である。10 is a plan view of a light measurement unit 14 of a light measurement device 1 according to a second modified example of the first embodiment. FIG. 本発明の第二の実施形態にかかる光測定装置1の側面図である。FIG. 4 is a side view of a light measurement device 1 according to a second embodiment of the present invention. 第二の実施形態の第一変形例にかかる光測定装置1の側面図である。FIG. 11 is a side view of the light measurement device 1 according to a first modified example of the second embodiment. 第二の実施形態の第二変形例にかかる光測定装置1の側面図である。FIG. 11 is a side view of the light measurement device 1 according to a second modified example of the second embodiment. 本発明の第三の実施形態にかかる光測定装置1の測定対象である光素子2を透視した平面図である。11 is a transparent plan view of an optical element 2 that is a measurement target of a light measurement device 1 according to a third embodiment of the present invention. FIG. 第三の実施形態の変形例にかかる光測定装置1の測定対象である光素子2を透視した平面図である。13 is a plan view seen through an optical element 2 that is a measurement target of a light measurement device 1 according to a modified example of the third embodiment. FIG. 本発明の第四の実施形態にかかる光測定装置1の正面図である。FIG. 11 is a front view of a light measurement device 1 according to a fourth embodiment of the present invention. 本発明の第四の実施形態にかかる光測定装置1の側面図である。FIG. 11 is a side view of a light measurement device 1 according to a fourth embodiment of the present invention. 本発明の第四の実施形態の第一変形例にかかる光測定装置1の平面図である。FIG. 13 is a plan view of the light measurement device 1 according to a first modified example of the fourth embodiment of the present invention. 本発明の第一の実施形態の第三変形例にかかる光測定装置1の光測定部14の平面図である。13 is a plan view of a light measurement unit 14 of a light measurement device 1 according to a third modified example of the first embodiment of the present invention. FIG. 本発明の第六の実施形態にかかる光測定装置1の平面図である。FIG. 13 is a plan view of a light measurement device 1 according to a sixth embodiment of the present invention. 本発明の第六の実施形態の変形例にかかる光測定装置1の平面図である。FIG. 13 is a plan view of the light measurement device 1 according to a modified example of the sixth embodiment of the present invention.

 以下、本発明の実施形態を図面を参照しながら説明する。 The following describes an embodiment of the present invention with reference to the drawings.

 第一の実施形態
 図1は、本発明の第一の実施形態にかかる光測定装置1の測定対象である光素子2の平面図である。
First Embodiment FIG. 1 is a plan view of an optical element 2 that is an object to be measured by a light measurement device 1 according to a first embodiment of the present invention.

 図1を参照して、複数の光素子2が、所定の間隔を隔てて、ウエハ4の上に配置されている。 Referring to FIG. 1, multiple optical elements 2 are arranged on a wafer 4 at a predetermined interval.

 図2は、第一の実施形態にかかる光測定装置1の側面図である。ただし、図2は、図1のII―II断面図でもある。図3は、第一の実施形態にかかる光測定装置1の測定対象である光素子2を透視した平面図である。図4は、第一の実施形態にかかる光測定装置1の正面図である。 FIG. 2 is a side view of the light measurement device 1 according to the first embodiment. However, FIG. 2 is also a cross-sectional view taken along line II-II in FIG. 1. FIG. 3 is a plan view seen through the optical element 2 that is the measurement target of the light measurement device 1 according to the first embodiment. FIG. 4 is a front view of the light measurement device 1 according to the first embodiment.

 第一の実施形態にかかる光測定装置1は、入射光プローブ11、出射光プローブ12、保持層100、光測定部14、基板16、ステージ18を備える。ただし、図4においては、ステージ18を図示省略し、保持層100および光測定部14を透視している。 The optical measurement device 1 according to the first embodiment includes an input optical probe 11, an output optical probe 12, a holding layer 100, an optical measurement unit 14, a substrate 16, and a stage 18. However, in FIG. 4, the stage 18 is omitted, and the holding layer 100 and the optical measurement unit 14 are shown in perspective.

 光測定装置1は、光素子2の受光端21eに与えられる入射光および光素子2の出射端22eから出射される出射光を測定する。 The optical measurement device 1 measures the incident light provided to the light receiving end 21e of the optical element 2 and the emitted light emitted from the emission end 22e of the optical element 2.

 入射光プローブ11は、端部11eを有する。入射光プローブ11は、端部11eにおいて、受光端21eに近接し、入射光を出射する。 The incident light probe 11 has an end 11e. The incident light probe 11 emits incident light at the end 11e, which is close to the light receiving end 21e.

 出射光プローブ12は、端部12eを有する。出射光プローブ12は、端部12eにおいて、出射端22eに近接し、出射光を受ける。なお、図2においては、出射光プローブ12は、入射光プローブ11と同一形状であり、入射光プローブ11に隠れているので、図示されていない。 The emitting light probe 12 has an end 12e. The emitting light probe 12 receives the emitted light at end 12e, which is adjacent to the emitting end 22e. Note that in FIG. 2, the emitting light probe 12 is not shown because it has the same shape as the incident light probe 11 and is hidden by the incident light probe 11.

 なお、保持層100は、入射光プローブ11および出射光プローブ12を保持する。入射光プローブ11および出射光プローブ12が、保持層100を貫通している。 The retention layer 100 retains the incident light probe 11 and the outgoing light probe 12. The incident light probe 11 and the outgoing light probe 12 penetrate the retention layer 100.

 入射光プローブ11は曲がっている。入射光プローブ11は、光素子2の側方に配置されている。より詳細には、図2において、入射光プローブ11は上下方向に延伸し、保持層100から外に出ているが、ほぼ直角に曲がって、左に延伸し、入射光プローブ11の端部11eが、光素子2の受光端21eの直近に配置されている。 The incident light probe 11 is bent. The incident light probe 11 is disposed to the side of the optical element 2. More specifically, in FIG. 2, the incident light probe 11 extends in the vertical direction and extends out from the retaining layer 100, but then bends at a right angle and extends to the left, with the end 11e of the incident light probe 11 disposed immediately adjacent to the light receiving end 21e of the optical element 2.

 なお、出射光プローブ12も同様である。 The same applies to the emission light probe 12.

 光素子2は、光導波路21、22を有している。光導波路21は受光端21eを有し、受光端21eは光素子2の側面に露出している。光導波路22は出射端22eを有し、出射端22eは光素子2の側面に露出している。なお、図3においては、光素子2における光導波路21、22を、図示の便宜上、光素子2を縦断しているかのように図示している。しかし、光導波路21、22が、光素子2を縦断しているとは限らない。また、光導波路21が、図示省略した回路の入力に接続され、光導波路21を進行した光に基づいたその回路の出力が、光導波路22を進行することが一般的である。 The optical element 2 has optical waveguides 21 and 22. The optical waveguide 21 has a light receiving end 21e, which is exposed on the side of the optical element 2. The optical waveguide 22 has an emission end 22e, which is exposed on the side of the optical element 2. In FIG. 3, the optical waveguides 21 and 22 in the optical element 2 are shown as if they were cutting through the optical element 2 for the sake of convenience. However, the optical waveguides 21 and 22 do not necessarily cut through the optical element 2. In addition, it is common for the optical waveguide 21 to be connected to the input of a circuit (not shown), and for the output of the circuit, based on the light that has traveled through the optical waveguide 21, to travel through the optical waveguide 22.

 また、図2においては、光素子2における光導波路21、22を、図示の便宜上、光素子2を横断しているかのように図示している。しかし、光導波路21、22が、光素子2を横断している必要はない(他の図においても同様)。さらに、図2においては、光測定部14内の部材のうち、図示の便宜上、入射光導波路141のみを図示している。また、図4においては、光測定部14内の部材のうち、図示の便宜上、入射光導波路141および出射光導波路142のみを図示している。 In addition, in FIG. 2, the optical waveguides 21 and 22 in the optical element 2 are shown as if they cross the optical element 2 for convenience of illustration. However, the optical waveguides 21 and 22 do not need to cross the optical element 2 (this is also true for the other figures). Furthermore, in FIG. 2, of the components in the optical measurement unit 14, only the input optical waveguide 141 is shown for convenience of illustration. In addition, in FIG. 4, of the components in the optical measurement unit 14, only the input optical waveguide 141 and the output optical waveguide 142 are shown for convenience of illustration.

 図5は、第一の実施形態にかかる光測定装置1の光測定部14の平面図である。 FIG. 5 is a plan view of the light measurement unit 14 of the light measurement device 1 according to the first embodiment.

 光測定部14は、入射光導波路141、出射光導波路142、入射光測定器143、出射光測定器144、光減衰器14a、光スイッチ14s1、14s2を有する。 The optical measurement unit 14 has an input optical waveguide 141, an output optical waveguide 142, an input optical meter 143, an output optical meter 144, an optical attenuator 14a, and optical switches 14s1 and 14s2.

 入射光導波路141は、入射光プローブ11に入射光を与える。出射光導波路142は、出射光プローブ12から出射光を受ける。入射光測定器143は、入射光導波路141を進行する入射光を測定する。入射光測定器143は、例えば、光パワーモニタである。出射光測定器144は、出射光導波路142を進行する出射光を測定する。出射光測定器144は、例えば、光パワーモニタである。 The incident light waveguide 141 provides incident light to the incident light probe 11. The output light waveguide 142 receives output light from the output light probe 12. The incident light meter 143 measures the incident light traveling through the incident light waveguide 141. The incident light meter 143 is, for example, an optical power monitor. The output light meter 144 measures the output light traveling through the output light waveguide 142. The output light meter 144 is, for example, an optical power monitor.

 光スイッチ14s1は、光測定部14外からの入力および光減衰器14aの出力のいずれかを、入射光導波路141に接続する光スイッチである。 Optical switch 14s1 is an optical switch that connects either the input from outside the optical measurement unit 14 or the output of optical attenuator 14a to the incident optical waveguide 141.

 光スイッチ14s2は、光測定部14外への出力および光減衰器14aへの入力のいずれかを、出射光導波路142に接続する光スイッチである。 Optical switch 14s2 is an optical switch that connects either the output to outside the optical measurement unit 14 or the input to the optical attenuator 14a to the output optical waveguide 142.

 光減衰器14aは、出射光導波路142を進行する出射光を、光スイッチ14s2を介して受け、減衰させて、光スイッチ14s1を介して入射光導波路141に与える。これにより、出射光が、光減衰器14aを介して、入射光導波路141に与えられる。 The optical attenuator 14a receives the outgoing light traveling through the outgoing optical waveguide 142 via the optical switch 14s2, attenuates it, and provides it to the incoming optical waveguide 141 via the optical switch 14s1. As a result, the outgoing light is provided to the incoming optical waveguide 141 via the optical attenuator 14a.

 なお、入射光プローブ11と、出射光プローブ12と、光測定部14とが同一の基板16上に配置されている。基板16は、例えばシリコン基板である。 The input light probe 11, the output light probe 12, and the light measurement unit 14 are arranged on the same substrate 16. The substrate 16 is, for example, a silicon substrate.

 また、入射光プローブ11と入射光導波路141とが直接に接続されており、出射光プローブ12と出射光導波路142とが直接に接続されている。 In addition, the input light probe 11 and the input light waveguide 141 are directly connected, and the output light probe 12 and the output light waveguide 142 are directly connected.

 なお、ステージ18には、基板16が固定されている。ステージ18は、図2の紙面内の直交する2方向および図2の紙面に直交する方向(例えば、XYZ方向)に移動させることができ、これにより、基板16ごと、入射光プローブ11と出射光プローブ12とを移動させることができる。 The substrate 16 is fixed to the stage 18. The stage 18 can be moved in two orthogonal directions within the plane of FIG. 2 and in a direction orthogonal to the plane of FIG. 2 (e.g., the XYZ directions), thereby allowing the input light probe 11 and output light probe 12 to be moved together with the substrate 16.

 次に、第一の実施形態にかかる光測定装置1の動作を説明する。 Next, the operation of the light measurement device 1 according to the first embodiment will be described.

 まず、入射光プローブ11の端部11eを、光素子2の受光端21eの直近に配置する。すると、出射光プローブ12の端部12eが、光素子2の出射端22eの直近に配置される。 First, the end 11e of the input optical probe 11 is placed immediately adjacent to the light receiving end 21e of the optical element 2. Then, the end 12e of the output optical probe 12 is placed immediately adjacent to the output end 22e of the optical element 2.

 ここで、光測定部14外からの入力(入射光)を、光スイッチ14s1を介して、入射光導波路141に与える。入射光が、入射光測定器143により測定される。しかも、入射光が、入射光導波路141から入射光プローブ11に与えられ、入射光プローブ11の端部11eから放射され、光素子2の受光端21eにより受光される。 Here, an input (incident light) from outside the light measurement unit 14 is provided to the incident light waveguide 141 via the optical switch 14s1. The incident light is measured by the incident light measuring device 143. Moreover, the incident light is provided from the incident light waveguide 141 to the incident light probe 11, is emitted from the end 11e of the incident light probe 11, and is received by the light receiving end 21e of the optical element 2.

 光素子2は、出射光を、出射端22eから出射する。光素子2の出射端22eから出射された出射光は、出射光プローブ12の端部12eにより受光される。 The optical element 2 emits the emitted light from the emission end 22e. The emitted light emitted from the emission end 22e of the optical element 2 is received by the end 12e of the emitting light probe 12.

 出射光プローブ12の端部12eにより受光された出射光は、出射光プローブ12を通過して、出射光導波路142に与えられる。出射光導波路142を進行する出射光が、出射光測定器144により測定される。出射光導波路142を進行する出射光は、光測定部14外へ出力される。または、出射光導波路142を進行する出射光は、光スイッチ14s2、光減衰器14aおよび光スイッチ14s1を介して、入射光導波路141に入射光として与えられる。 The output light received by the end 12e of the output light probe 12 passes through the output light probe 12 and is provided to the output light waveguide 142. The output light traveling through the output light waveguide 142 is measured by the output light measuring device 144. The output light traveling through the output light waveguide 142 is output to the outside of the light measuring unit 14. Alternatively, the output light traveling through the output light waveguide 142 is provided as input light to the input light waveguide 141 via the optical switch 14s2, the optical attenuator 14a, and the optical switch 14s1.

 第一の実施形態にかかる光測定装置1によれば、入射光プローブ11と、出射光プローブ12と、光測定部14とが同一の基板16上に配置されている。このため、入射光プローブ11と入射光導波路141とを直接に接続でき、しかも、出射光プローブ12と出射光導波路142とを直接に接続できる。これにより、入射光プローブ11および出射光プローブ12と、光測定部14との間の光の損失を低減することができる。 According to the optical measurement device 1 of the first embodiment, the incident optical probe 11, the output optical probe 12, and the optical measurement unit 14 are arranged on the same substrate 16. Therefore, the incident optical probe 11 and the input optical waveguide 141 can be directly connected, and the output optical probe 12 and the output optical waveguide 142 can be directly connected. This makes it possible to reduce the loss of light between the incident optical probe 11 and the output optical probe 12 and the optical measurement unit 14.

 なお、第一の実施形態においては、基板16上に光測定部14が一個だけ存在しているが、二個以上あってもよい。 In the first embodiment, there is only one light measuring unit 14 on the substrate 16, but there may be two or more.

 また、第一の実施形態には以下のような変形例が考えられる。 The following variations of the first embodiment are also possible:

 第一変形例
 図6は、第一の実施形態の第一変形例にかかる光測定装置1の光測定部14の平面図である。
First Modification FIG. 6 is a plan view of the light measurement unit 14 of the light measurement device 1 according to a first modification of the first embodiment.

 第一の実施形態の第一変形例にかかる光測定装置1の光測定部14は、第一の実施形態において説明した部材に加えて、さらに波長可変光源14v、光変調器14m、光受信器14rを有する。 The optical measurement unit 14 of the optical measurement device 1 according to the first modification of the first embodiment further includes a wavelength-tunable light source 14v, an optical modulator 14m, and an optical receiver 14r in addition to the components described in the first embodiment.

 光変調器14mは、波長可変光源14vの出力を変調し、光スイッチ14s1を介して、入射光導波路141に与える。 The optical modulator 14m modulates the output of the tunable light source 14v and provides it to the input optical waveguide 141 via the optical switch 14s1.

 光受信器14rは、出射光導波路142を進行する出射光を、光スイッチ14s2を介して、受信する。 The optical receiver 14r receives the emitted light traveling through the output optical waveguide 142 via the optical switch 14s2.

 第二変形例
 図7は、第一の実施形態の第二変形例にかかる光測定装置1の光測定部14の平面図である。
Second Modification FIG. 7 is a plan view of the light measurement section 14 of the light measurement device 1 according to a second modification of the first embodiment.

 第一の実施形態の第二変形例にかかる光測定装置1の光測定部14は、第一の実施形態において説明した部材に加えて、さらに多波長光源14mwおよび光源用光測定器146を有する。 The light measurement unit 14 of the light measurement device 1 according to the second modification of the first embodiment further includes a multi-wavelength light source 14mw and a light source light measurement device 146 in addition to the components described in the first embodiment.

 第一の実施形態の第二変形例にかかる光測定装置1の光測定部14は、多波長光源14mwを有する。 The light measurement unit 14 of the light measurement device 1 according to the second modified example of the first embodiment has a multi-wavelength light source 14mw.

 多波長光源14mwは、受光端(受光端21eとは別のものだが、図示省略する)に、入射光導波路145および入射光プローブ13を介して、入射光を与える。 The multi-wavelength light source 14mw provides incident light to the light receiving end (not shown, but separate from the light receiving end 21e) via the incident light waveguide 145 and the incident light probe 13.

 光源用光測定器146は、多波長光源14mwから出射され、入射光導波路145を進行する入射光を測定する。光源用光測定器146は、例えば、光パワーモニタである。 The light source optical meter 146 measures the incident light emitted from the multi-wavelength light source 14mw and traveling through the incident light waveguide 145. The light source optical meter 146 is, for example, an optical power monitor.

 第三変形例
 図16は、第一の実施形態の第三変形例にかかる光測定装置1の光測定部14の平面図である。
Third Modification FIG. 16 is a plan view of the light measurement unit 14 of the light measurement device 1 according to a third modification of the first embodiment.

 第一の実施形態の第三変形例にかかる光測定装置1の光測定部14は、第一の実施形態の光測定部14の光減衰器14a、光スイッチ14s1および14s2を除去したものである。これにより、出射光導波路142を進行する出射光が、入射光導波路141に与えられる。 The optical measurement unit 14 of the optical measurement device 1 according to the third modified example of the first embodiment is obtained by removing the optical attenuator 14a and the optical switches 14s1 and 14s2 from the optical measurement unit 14 of the first embodiment. As a result, the output light traveling through the output optical waveguide 142 is provided to the input optical waveguide 141.

 第二の実施形態
 第二の実施形態にかかる光測定装置1は、入射光プローブ11または出射光プローブ12が、光素子2の上方に配置される点が、光素子2の側方に配置される第一の実施形態と異なる。
Second Embodiment The optical measurement device 1 according to the second embodiment differs from the first embodiment in that the input optical probe 11 or the output optical probe 12 is arranged above the optical element 2, in that the input optical probe 11 or the output optical probe 12 is arranged to the side of the optical element 2.

 図8は、本発明の第二の実施形態にかかる光測定装置1の側面図である。以下、第一の実施形態と同様な部分は同一の符号を付して説明を省略する。 FIG. 8 is a side view of the light measurement device 1 according to the second embodiment of the present invention. In the following, parts similar to those in the first embodiment are given the same reference numerals and will not be described.

 第二の実施形態にかかる光測定装置1の測定対象である光素子2は、光導波路21を有しているが、その端部がグレーティングカプラ(受光端)21gである点が、第一の実施形態と異なる。グレーティングカプラ21gは、光素子2の側面に露出しておらず、上方からの光を受ける。なお、第二の実施形態にかかる光素子2が有する光導波路22も、同様に、その端部にグレーティングカプラを有する。 The optical element 2, which is the measurement target of the optical measurement device 1 in the second embodiment, has an optical waveguide 21, but differs from the first embodiment in that its end is a grating coupler (light receiving end) 21g. The grating coupler 21g is not exposed on the side of the optical element 2, and receives light from above. The optical waveguide 22 of the optical element 2 in the second embodiment also has a grating coupler at its end.

 入射光プローブ11は曲がっている。入射光プローブ11は、光素子2の上方に配置されている。より詳細には、図8において、入射光プローブ11は左右方向に延伸し、保持層100から外に出ているが、ほぼ直角に曲がって、真下に延伸し、入射光プローブ11の端部11eが、光素子2のグレーティングカプラ21gの上方の直近に配置されている。 The incident light probe 11 is bent. The incident light probe 11 is disposed above the optical element 2. More specifically, in FIG. 8, the incident light probe 11 extends in the left-right direction and protrudes outside the retention layer 100, but then bends at a right angle and extends straight down, with the end 11e of the incident light probe 11 being disposed immediately above the grating coupler 21g of the optical element 2.

 なお、出射光プローブ12も同様である。 The same applies to the emission light probe 12.

 第二の実施形態の動作は、第一の実施形態と同様であり、説明を省略する。 The operation of the second embodiment is similar to that of the first embodiment, and a description thereof will be omitted.

 第二の実施形態によっても、第一の実施形態と同様な効果を奏する。 The second embodiment also provides the same effects as the first embodiment.

 なお、第二の実施形態には以下のような変形例が考えられる。 The following variations of the second embodiment are possible:

 第一変形例
 図9は、第二の実施形態の第一変形例にかかる光測定装置1の側面図である。
First Modification FIG. 9 is a side view of the light measurement device 1 according to a first modification of the second embodiment.

 第二の実施形態の第一変形例にかかる光測定装置1においては、入射光プローブ11が、直線状である。入射光プローブ11が、光素子2の上方に配置されている点は、第二の実施形態と同じである。ただし、図9において、入射光プローブ11は上下方向に延伸し、保持層100から外に出て、入射光プローブ11の端部11eが、光素子2のグレーティングカプラ21gの上方の直近に配置されている。 In the optical measurement device 1 according to the first modified example of the second embodiment, the incident optical probe 11 is linear. The incident optical probe 11 is disposed above the optical element 2, as in the second embodiment. However, in FIG. 9, the incident optical probe 11 extends in the vertical direction and extends outside the retention layer 100, with the end 11e of the incident optical probe 11 being disposed immediately above the grating coupler 21g of the optical element 2.

 なお、出射光プローブ12も同様である。 The same applies to the emission light probe 12.

 第二変形例
 図10は、第二の実施形態の第二変形例にかかる光測定装置1の側面図である。
Second Modification FIG. 10 is a side view of the light measurement device 1 according to a second modification of the second embodiment.

 第二の実施形態の第二変形例にかかる光測定装置1においては、入射光プローブ11が、直線状である。入射光プローブ11が、光素子2の上方に配置されている点は、第二の実施形態と同じである。ただし、図10において、入射光プローブ11は左右方向に延伸するものの、保持層100から外に出ないで、入射光プローブ11の端部11eが、反射部材102上に配置されている。端部11eから出射された入射光は、反射部材102により反射されて、グレーティングカプラ21gに与えられる。これにより、入射光プローブ11が、反射部材102を介して、出射を行う。 In the light measurement device 1 according to the second modified example of the second embodiment, the incident light probe 11 is linear. The incident light probe 11 is disposed above the optical element 2, as in the second embodiment. However, in FIG. 10, although the incident light probe 11 extends in the left-right direction, the end 11e of the incident light probe 11 is disposed on the reflecting member 102 without going outside the holding layer 100. The incident light emitted from the end 11e is reflected by the reflecting member 102 and provided to the grating coupler 21g. As a result, the incident light probe 11 emits light via the reflecting member 102.

 なお、出射光プローブ12も同様に、反射部材102を介して、受光を行う。 In addition, the emitting light probe 12 also receives light via the reflecting member 102.

 第三の実施形態
 第三の実施形態にかかる光測定装置1は、光素子2が、光検出器PDおよび光源LDを有する点が、第一の実施形態と異なる。
Third Embodiment A light measurement device 1 according to a third embodiment differs from the first embodiment in that the optical element 2 has a photodetector PD and a light source LD.

 図11は、本発明の第三の実施形態にかかる光測定装置1の測定対象である光素子2を透視した平面図である。以下、第一の実施形態と同様な部分は同一の符号を付して説明を省略する。 FIG. 11 is a plan view showing the optical element 2 that is the measurement target of the optical measurement device 1 according to the third embodiment of the present invention. In the following, parts similar to those in the first embodiment are given the same reference numerals and will not be described.

 第三の実施形態にかかる光素子2は、光検出器PD、光源LDを有する。光検出器PDは、例えば光パワーモニタであり、光導波路21を介して、受光端21eに接続されている。光源LDは、光導波路22を介して、出射端22eに接続されている。なお、光源LDの出力する光のパワーは既知であるとする。 The optical element 2 according to the third embodiment has a photodetector PD and a light source LD. The photodetector PD is, for example, an optical power monitor, and is connected to the light receiving end 21e via the optical waveguide 21. The light source LD is connected to the light emitting end 22e via the optical waveguide 22. It is assumed that the power of the light output by the light source LD is known.

 次に、第三の実施形態の動作を説明する。 Next, the operation of the third embodiment will be explained.

 まず、入射光プローブ11の端部11eを、光素子2の受光端21eの直近に配置する。すると、出射光プローブ12の端部12eが、光素子2の出射端22eの直近に配置される。 First, the end 11e of the input optical probe 11 is placed immediately adjacent to the light receiving end 21e of the optical element 2. Then, the end 12e of the output optical probe 12 is placed immediately adjacent to the output end 22e of the optical element 2.

 ここで、光測定部14外からの入力(入射光)を、光スイッチ14s1を介して、入射光導波路141に与える。入射光が、入射光測定器143により測定される。しかも、入射光が、入射光導波路141から入射光プローブ11に与えられ、入射光プローブ11の端部11eから放射され、光素子2の受光端21eにより受光される。受光された光は、光導波路21を介して、光検出器PDに与えられ、光検出器PDにより測定される。 Here, an input (incident light) from outside the light measurement unit 14 is provided to the incident light waveguide 141 via the optical switch 14s1. The incident light is measured by the incident light meter 143. Moreover, the incident light is provided from the incident light waveguide 141 to the incident light probe 11, radiated from the end 11e of the incident light probe 11, and received by the light receiving end 21e of the optical element 2. The received light is provided to the photodetector PD via the optical waveguide 21, and measured by the photodetector PD.

 入射光測定器143の測定結果と、光検出器PDの測定結果とを比較することにより、入射光導波路141および入射光プローブ11が正常に動作しているか否かが分かる。 By comparing the measurement results of the incident light measuring device 143 with the measurement results of the photodetector PD, it is possible to determine whether the incident light waveguide 141 and the incident light probe 11 are operating normally.

 光素子2は、出射光を、出射端22eから出射する。光素子2の出射端22eから出射された出射光は、出射光プローブ12の端部12eにより受光される。 The optical element 2 emits the emitted light from the emission end 22e. The emitted light emitted from the emission end 22e of the optical element 2 is received by the end 12e of the emitting light probe 12.

 出射光プローブ12の端部12eにより受光された出射光は、出射光プローブ12を通過して、出射光導波路142に与えられる。出射光導波路142を進行する出射光が、出射光測定器144により測定される。出射光導波路142を進行する出射光は、光測定部14外へ出力される。または、出射光導波路142を進行する出射光は、光スイッチ14s2、光減衰器14aおよび光スイッチ14s1を介して、入射光導波路141に入射光として与えられる。 The output light received by the end 12e of the output light probe 12 passes through the output light probe 12 and is provided to the output light waveguide 142. The output light traveling through the output light waveguide 142 is measured by the output light measuring device 144. The output light traveling through the output light waveguide 142 is output to the outside of the light measuring unit 14. Alternatively, the output light traveling through the output light waveguide 142 is provided as input light to the input light waveguide 141 via the optical switch 14s2, the optical attenuator 14a, and the optical switch 14s1.

 出射光測定器144の測定結果と、光源LDの既知の出力とを比較することにより、出射光導波路142および出射光プローブ12が正常に動作しているか否かが分かる。 By comparing the measurement results of the emitted light meter 144 with the known output of the light source LD, it is possible to determine whether the emitted light waveguide 142 and the emitted light probe 12 are operating normally.

 第三の実施形態によっても、第一の実施形態と同様な効果を奏する。 The third embodiment also provides the same effects as the first embodiment.

 しかも、第三の実施形態によれば、入射光導波路141、出射光導波路142、入射光プローブ11および出射光プローブ12が正常に動作しているか否かが分かる。なお、これにより、光プローブの診断機能が付加される。 Furthermore, according to the third embodiment, it is possible to know whether the input light waveguide 141, the output light waveguide 142, the input light probe 11, and the output light probe 12 are operating normally. This adds a diagnostic function to the light probe.

 なお、第三の実施形態には以下のような変形例が考えられる。 The following variations of the third embodiment are possible:

 変形例
 図12は、第三の実施形態の変形例にかかる光測定装置1の測定対象である光素子2を透視した平面図である。
Modification FIG. 12 is a transparent plan view of the optical element 2 that is the measurement target of the light measurement device 1 according to a modification of the third embodiment.

 第三の実施形態の変形例にかかる光素子2は、受光端21eと出射端22eとを接続する接続部23を有する。 The optical element 2 in the modified example of the third embodiment has a connection portion 23 that connects the light receiving end 21e and the light emitting end 22e.

 次に、第三の実施形態の変形例の動作を説明する。 Next, the operation of a modified version of the third embodiment will be described.

 まず、入射光プローブ11の端部11eを、光素子2の受光端21eの直近に配置する。すると、出射光プローブ12の端部12eが、光素子2の出射端22eの直近に配置される。 First, the end 11e of the input optical probe 11 is placed immediately adjacent to the light receiving end 21e of the optical element 2. Then, the end 12e of the output optical probe 12 is placed immediately adjacent to the output end 22e of the optical element 2.

 ここで、光測定部14外からの入力(入射光)を、光スイッチ14s1を介して、入射光導波路141に与える。入射光が、入射光測定器143により測定される。しかも、入射光が、入射光導波路141から入射光プローブ11に与えられ、入射光プローブ11の端部11eから放射され、光素子2の受光端21eにより受光される。受光された光は、光導波路21、接続部23および光導波路22を介して、出射端22eから出射される。 Here, an input (incident light) from outside the light measurement unit 14 is provided to the incident light waveguide 141 via the optical switch 14s1. The incident light is measured by the incident light meter 143. Moreover, the incident light is provided from the incident light waveguide 141 to the incident light probe 11, emitted from the end 11e of the incident light probe 11, and received by the light receiving end 21e of the optical element 2. The received light passes through the optical waveguide 21, the connection portion 23, and the optical waveguide 22, and is emitted from the emission end 22e.

 光素子2の出射端22eから出射された出射光は、出射光プローブ12の端部12eにより受光される。 The emitted light from the emission end 22e of the optical element 2 is received by the end 12e of the emission light probe 12.

 出射光プローブ12の端部12eにより受光された出射光は、出射光プローブ12を通過して、出射光導波路142に与えられる。出射光導波路142を進行する出射光が、出射光測定器144により測定される。出射光導波路142を進行する出射光は、光測定部14外へ出力される。または、出射光導波路142を進行する出射光は、光スイッチ14s2、光減衰器14aおよび光スイッチ14s1を介して、入射光導波路141に入射光として与えられる。 The output light received by the end 12e of the output light probe 12 passes through the output light probe 12 and is provided to the output light waveguide 142. The output light traveling through the output light waveguide 142 is measured by the output light measuring device 144. The output light traveling through the output light waveguide 142 is output to the outside of the light measuring unit 14. Alternatively, the output light traveling through the output light waveguide 142 is provided as input light to the input light waveguide 141 via the optical switch 14s2, the optical attenuator 14a, and the optical switch 14s1.

 出射光測定器144の測定結果と、入射光測定器143の測定結果とを比較することにより、入射光導波路141、出射光導波路142、入射光プローブ11および出射光プローブ12が正常に動作しているか否かが分かる。 By comparing the measurement results of the exit light meter 144 with the measurement results of the incident light meter 143, it is possible to determine whether the incident light waveguide 141, the exit light waveguide 142, the incident light probe 11, and the exit light probe 12 are operating normally.

 なお、光測定装置1が、光検出器PDおよび光源LD(第三の実施形態:図11)と、接続部23(第三の実施形態の変形例:図12)との双方を有するようにしてもよい。 The light measurement device 1 may also have both the photodetector PD and the light source LD (third embodiment: FIG. 11) and the connection portion 23 (variant of the third embodiment: FIG. 12).

 第四の実施形態
 第四の実施形態にかかる光測定装置1は、入射光プローブ11と出射光プローブ12とを移動させるアクチュエータ15Y1、15Y2、15Z、15X、15X1、15X2を備える点が、第一の実施形態と異なる。
Fourth Embodiment The light measurement device 1 according to the fourth embodiment differs from the first embodiment in that it includes actuators 15Y1, 15Y2, 15Z, 15X, 15X1, and 15X2 that move the input light probe 11 and the output light probe 12.

 図13は、本発明の第四の実施形態にかかる光測定装置1の正面図である。図14は、本発明の第四の実施形態にかかる光測定装置1の側面図である。 FIG. 13 is a front view of the optical measurement device 1 according to the fourth embodiment of the present invention. FIG. 14 is a side view of the optical measurement device 1 according to the fourth embodiment of the present invention.

 第四の実施形態にかかる光測定装置1は、入射光プローブ11と出射光プローブ12とを移動させるアクチュエータ15Y1、15Y2、15Z、15Xを備える。 The optical measurement device 1 according to the fourth embodiment includes actuators 15Y1, 15Y2, 15Z, and 15X that move the input optical probe 11 and the output optical probe 12.

 アクチュエータ15Y1、15Y2、15Z、15Xは、基板16上に配置されている。 Actuators 15Y1, 15Y2, 15Z, and 15X are arranged on a substrate 16.

 図13を参照して、アクチュエータ15Y1、15Y2は、光測定部14の左右に配置されている。アクチュエータ15Y1、15Y2は、例えば、周知の櫛歯アクチュエータである。アクチュエータ15Y1、15Y2によって、光測定部14をY軸方向に移動させることができる。アクチュエータ15Zは、光測定部14よりも上に配置されている。アクチュエータ15Zは、例えば、周知の櫛歯アクチュエータである。アクチュエータ15Zによって、光測定部14をZ軸方向に移動させることができる。 Referring to FIG. 13, actuators 15Y1 and 15Y2 are disposed on the left and right of light measurement unit 14. Actuators 15Y1 and 15Y2 are, for example, well-known comb actuators. Actuators 15Y1 and 15Y2 can move light measurement unit 14 in the Y-axis direction. Actuator 15Z is disposed above light measurement unit 14. Actuator 15Z is, for example, a well-known comb actuator. Actuator 15Z can move light measurement unit 14 in the Z-axis direction.

 図14を参照して、アクチュエータ15Xは、光測定部14と基板16との間に配置されている。アクチュエータ15Xは、例えば、周知のピエゾアクチュエータである。アクチュエータ15Xに電圧を印加すると、X軸方向に収縮または伸長する。これにより、光測定部14をX軸方向に移動させることができる。 Referring to FIG. 14, the actuator 15X is disposed between the light measurement unit 14 and the substrate 16. The actuator 15X is, for example, a well-known piezoelectric actuator. When a voltage is applied to the actuator 15X, it contracts or expands in the X-axis direction. This allows the light measurement unit 14 to move in the X-axis direction.

 第四の実施形態によっても、第一の実施形態と同様な効果を奏する。 The fourth embodiment also provides the same effects as the first embodiment.

 しかも、第四の実施形態によれば、光測定部14を、ステージ18よりも微小に移動させることができる。 Furthermore, according to the fourth embodiment, the light measurement unit 14 can be moved more minutely than the stage 18.

 なお、第四の実施形態には以下のような変形例が考えられる。 The following variations of the fourth embodiment are possible:

 第一変形例
 図15は、本発明の第四の実施形態の第一変形例にかかる光測定装置1の平面図である。第四の実施形態の変形例にかかる光測定装置1は、アクチュエータ15Xにかえて、アクチュエータ15X1、15X2を備える。
15 is a plan view of a light measurement device 1 according to a first modification of the fourth embodiment of the present invention. The light measurement device 1 according to the modification of the fourth embodiment includes actuators 15X1 and 15X2 instead of the actuator 15X.

 図15を参照して、アクチュエータ15X1、15X2は、光測定部14と基板16との間に、互いにY軸方向に離れて配置されている。アクチュエータ15X1、15X2は、例えば、周知のピエゾアクチュエータである。例えば、アクチュエータ15X1に電圧を印加してX軸方向に収縮させ、アクチュエータ15X2に電圧を印加してX軸方向に伸長させると、光測定部14を、図15の紙面に垂直な方向(Z方向)を回転軸として回転移動させることができる。なお、このように2つのアクチュエータを適宜配置して、一方を収縮させ、他方を伸長させると、光測定部14を任意の軸周りに回転させることができる。 Referring to FIG. 15, actuators 15X1 and 15X2 are disposed between light measurement unit 14 and substrate 16, spaced apart from each other in the Y-axis direction. Actuators 15X1 and 15X2 are, for example, well-known piezoelectric actuators. For example, by applying a voltage to actuator 15X1 to contract it in the X-axis direction, and by applying a voltage to actuator 15X2 to expand it in the X-axis direction, the light measurement unit 14 can be rotated around the direction perpendicular to the paper surface of FIG. 15 (Z direction) as the rotation axis. Note that by appropriately arranging two actuators in this way, and contracting one and expanding the other, the light measurement unit 14 can be rotated around any axis.

 第二変形例
 なお、出射光測定器144の測定結果(光パワー)が所定値(例えば、最大)になるように、出射光プローブ12の端部12eをアクチュエータ15X(または15X1、15X2)、15Y1、15Y2および15Zによって移動させると、出射端22eと端部12eとの位置合わせを行うことができる。
Second Modification: By moving the end 12e of the emitted light probe 12 by the actuators 15X (or 15X1, 15X2), 15Y1, 15Y2 and 15Z so that the measurement result (optical power) of the emitted light measuring instrument 144 becomes a predetermined value (e.g., maximum), the emission end 22e can be aligned with the end 12e.

 なお、これにより、光プローブの調心機能が付加される。 In addition, this adds a centering function for the optical probe.

 第五の実施形態
 第五の実施形態は、第三の実施形態にかかる光測定装置1を用いた色々な校正を説明するものである。
Fifth Embodiment The fifth embodiment describes various calibrations using the light measurement device 1 according to the third embodiment.

 (1)光検出器PD(図11参照)の校正(値付け)
 受光端21eに光を入力して、光検出器PDにより光パワーを測定する。さらに、受光端21eに入力した光と同じ光パワーの光を、正確に測定できる光パワーモニタに与えて、その光パワーを測定する。これらの測定を、光パワーを変えて、複数回行う。
(1) Calibration (rating) of the photodetector PD (see FIG. 11)
Light is input to the light receiving end 21e, and the optical power is measured by the photodetector PD. Furthermore, light with the same optical power as the light input to the light receiving end 21e is provided to an optical power monitor that can accurately measure the optical power, and the optical power is measured. These measurements are performed multiple times while changing the optical power.

 さらに、光検出器PDの測定結果が、正確に測定できる光パワーモニタの測定結果と一致するように、光検出器PDを校正する(値付け)。ただし、受光端21eで損失が無いようにする。 Furthermore, the photodetector PD is calibrated (valued) so that the measurement results of the photodetector PD match the measurement results of the optical power monitor, which can measure accurately. However, there must be no loss at the light receiving end 21e.

 (2)入射光測定器143(図5参照)の校正
 光測定部14外からの入力(入射光)を、光スイッチ14s1を介して、入射光導波路141に与える。入射光が、入射光測定器143により測定される。
(2) Calibration of Incident Light Meter 143 (see FIG. 5) An input (incident light) from outside the light measurement unit 14 is provided to the incident light waveguide 141 via the optical switch 14s1. The incident light is measured by the incident light meter 143.

 しかも、入射光が、第三の実施形態と同様に、光検出器PDにより測定される。ただし、光検出器PDは、上記(1)にて説明したように校正されているものとする。なお、受光端21eにおいて損失が無いようにする。 Furthermore, the incident light is measured by the photodetector PD, as in the third embodiment. However, the photodetector PD is assumed to be calibrated as described in (1) above. Furthermore, there is no loss at the light receiving end 21e.

 さらに、入射光測定器143の測定結果が、光検出器PDの測定結果と一致するように、入射光測定器143を校正する。 Furthermore, the incident light meter 143 is calibrated so that the measurement results of the incident light meter 143 match the measurement results of the photodetector PD.

 (3)出射光測定器144(図5参照)の校正
 光素子2は、出射光を、出射端22eから出射する。光素子2の出射端22eから出射された出射光は、出射光プローブ12の端部12eにより受光される。出射光は、第三の実施形態と同様に、出射光測定器144により測定される。ただし、光減衰器14aによる損失は最小にしておく。
(3) Calibration of the Emitted Light Measuring Instrument 144 (see FIG. 5) The optical element 2 emits emitted light from the emission end 22e. The emitted light emitted from the emission end 22e of the optical element 2 is received by the end 12e of the emitted light probe 12. The emitted light is measured by the emitted light measuring instrument 144, as in the third embodiment. However, loss due to the optical attenuator 14a is kept to a minimum.

 また、出射光は、第三の実施形態と同様に、入射光導波路141に入射光として与えられる。この入射光は、入射光測定器143により測定される。 Furthermore, as in the third embodiment, the emitted light is provided as incident light to the incident light waveguide 141. This incident light is measured by the incident light measuring device 143.

 さらに、出射光測定器144の測定結果が、入射光測定器143の測定結果と一致するように、出射光測定器144を校正する。ただし、入射光測定器143は、上記(2)にて説明したように校正されているものとする。 Furthermore, the exit light meter 144 is calibrated so that the measurement results of the exit light meter 144 match the measurement results of the incident light meter 143. However, it is assumed that the incident light meter 143 has been calibrated as described in (2) above.

 なお、上記の入射光測定器143の測定結果と、光スイッチ14s1、14s2および光減衰器14aを除去して入射光導波路141と出射光導波路142とを直結した場合における入射光測定器143の測定結果との差分をとれば、光スイッチ14s1、14s2および光減衰器14aによる損失が分かる。この損失(典型的な光スイッチおよび光減衰器による損失にかえてもよい)を出射光測定器144の測定結果から減じた値が、入射光測定器143の測定結果と一致するように、出射光測定器144を校正するようにしてもよい。 The loss due to optical switches 14s1, 14s2 and optical attenuator 14a can be found by taking the difference between the measurement result of the above incident light meter 143 and the measurement result of the incident light meter 143 when the optical switches 14s1, 14s2 and optical attenuator 14a are removed and the incident light waveguide 141 and the output light waveguide 142 are directly connected. The output light meter 144 may be calibrated so that the value obtained by subtracting this loss (which may be replaced with the loss due to a typical optical switch and optical attenuator) from the measurement result of the output light meter 144 matches the measurement result of the incident light meter 143.

 (4)光源LD(図11参照)の校正
 ある光素子2の出射端22eを、他の光素子2(ただし、上記(1)の光検出器PDの校正を終えているものとする)の受光端21eの直近に配置して、ある光素子2の光源LDの出力を、他の光素子2の光検出器PDにより測定する。なお、ある光素子2の出射端22eから出射された光は、他の光素子2の光検出器PDにより損失なく、受光されるものとする。
(4) Calibration of light source LD (see FIG. 11) The emission end 22e of a certain optical element 2 is placed immediately adjacent to the light receiving end 21e of another optical element 2 (wherein the calibration of the photodetector PD in (1) above has been completed), and the output of the light source LD of the certain optical element 2 is measured by the photodetector PD of the other optical element 2. Note that the light emitted from the emission end 22e of the certain optical element 2 is received by the photodetector PD of the other optical element 2 without loss.

 さらに、他の光素子2の光検出器PDの測定結果に基づき、ある光素子2の光源LDを校正する。なお、光源LDの校正および出射光測定器144の校正を終えていれば、出射光プローブ12の結合損失を求めることができる。 Furthermore, the light source LD of a certain optical element 2 is calibrated based on the measurement results of the photodetector PD of another optical element 2. Note that once the calibration of the light source LD and the calibration of the emitted light measuring instrument 144 have been completed, the coupling loss of the emitted light probe 12 can be obtained.

 なお、上記(1)~(4)により、校正機能が付加される。 In addition, the above (1) to (4) add a calibration function.

 第六の実施形態
 第六の実施形態にかかる光測定装置1は、光コネクタ19の接続状態を判定する点が、第一の実施形態と異なる。
Sixth Embodiment The optical measurement device 1 according to the sixth embodiment differs from the first embodiment in that the connection state of the optical connector 19 is determined.

 図17は、本発明の第六の実施形態にかかる光測定装置1の平面図である。第六の実施形態にかかるにかかる光測定装置1は、第一の実施形態にかかる光測定装置1に、プローブカード17および光コネクタ19を付加したものである。 FIG. 17 is a plan view of the optical measurement device 1 according to the sixth embodiment of the present invention. The optical measurement device 1 according to the sixth embodiment is obtained by adding a probe card 17 and an optical connector 19 to the optical measurement device 1 according to the first embodiment.

 プローブカード17の上には、基板16が配置されている。光コネクタ19は、プローブカード17に配置され、入射光導波路141に、光スイッチ14s1を介して、接続されている。 A substrate 16 is disposed on the probe card 17. An optical connector 19 is disposed on the probe card 17 and is connected to the input optical waveguide 141 via an optical switch 14s1.

 なお、光コネクタ19には、半導体試験装置(ATE:Automated Test Equipment)4が接続されている。 In addition, semiconductor test equipment (ATE: Automated Test Equipment) 4 is connected to the optical connector 19.

 半導体試験装置4は、測定器42、光コネクタ44を有する。測定器42は、レーザ光を出射するレーザ42aと、受光した光のパワーを測定する光パワーメータ42bとを有する。光コネクタ44は、測定器42および光コネクタ19に接続されている。 The semiconductor test device 4 has a measuring device 42 and an optical connector 44. The measuring device 42 has a laser 42a that emits laser light and an optical power meter 42b that measures the power of the received light. The optical connector 44 is connected to the measuring device 42 and the optical connector 19.

 次に、第六の実施形態の動作を説明する。 Next, the operation of the sixth embodiment will be explained.

 レーザ42aから出射された既知の光パワーのレーザ光が、光コネクタ44および光コネクタ19を介して、光測定装置1に与えられる。このレーザ光は、さらに、光スイッチ14s1を介して、入射光導波路141に入射光として与えられる。この入射光(すなわち、光コネクタ19からの入力)は、入射光測定器143により測定される。 Laser light of known optical power emitted from laser 42a is provided to the optical measurement device 1 via optical connector 44 and optical connector 19. This laser light is further provided as incident light to the incident light waveguide 141 via optical switch 14s1. This incident light (i.e., the input from optical connector 19) is measured by the incident light meter 143.

 光コネクタ19からの入力を、入射光測定器143によって測定した結果に基づき、光コネクタ19の接続状態が良好か否かが判定される。 Based on the results of measuring the input from the optical connector 19 by the incident light meter 143, it is determined whether the connection status of the optical connector 19 is good or not.

 第六の実施形態によれば、光コネクタ19の接続状態を判定できる。 According to the sixth embodiment, the connection state of the optical connector 19 can be determined.

 なお、第六の実施形態には以下のような変形例が考えられる。 The following variations of the sixth embodiment are possible:

 変形例
 図18は、本発明の第六の実施形態の変形例にかかる光測定装置1の平面図である。
Modification FIG. 18 is a plan view of the light measurement device 1 according to a modification of the sixth embodiment of the present invention.

 光コネクタ19は、プローブカード17に配置され、入射光導波路141に、光スイッチ14s1を介して、接続されている。さらに、光コネクタ19は、出射光導波路142に、光スイッチ14s2を介して、接続されている。 The optical connector 19 is disposed on the probe card 17 and is connected to the input optical waveguide 141 via the optical switch 14s1. Furthermore, the optical connector 19 is connected to the output optical waveguide 142 via the optical switch 14s2.

 光コネクタ19からの入力が、光スイッチ14s1および光スイッチ14s2を介して、光コネクタ19から出力される。 The input from optical connector 19 is output from optical connector 19 via optical switches 14s1 and 14s2.

 光コネクタ19から出力は、光パワーメータ42bにより測定される。その測定結果に基づき、光コネクタ19の接続状態が良好か否かが判定される。 The output from the optical connector 19 is measured by the optical power meter 42b. Based on the measurement results, it is determined whether the connection state of the optical connector 19 is good or not.

 1 光測定装置
 11 入射光プローブ
 11e 端部
 12 出射光プローブ
 12e 端部
 100 保持層
 14 光測定部
 141 入射光導波路
 142 出射光導波路
 143 入射光測定器
 144 出射光測定器
 14a 光減衰器
 14s1、14s2 光スイッチ
 15Y1、15Y2、15Z、15X、15X1、15X2 アクチュエータ
 16 基板
 18 ステージ
 2 光素子
 21、22 光導波路
 21e 受光端
 22e 出射端
 21g グレーティングカプラ
 23 接続部
 102 反射部材
 PD 光検出器
 LD 光源
REFERENCE SIGNS LIST 1 Light measurement device 11 Incident light probe 11e End 12 Emitted light probe 12e End 100 Retention layer 14 Light measurement section 141 Incident light waveguide 142 Emitted light waveguide 143 Incident light measurement device 144 Emitted light measurement device 14a Light attenuator 14s1, 14s2 Optical switch 15Y1, 15Y2, 15Z, 15X, 15X1, 15X2 Actuator 16 Substrate 18 Stage 2 Optical element 21, 22 Optical waveguide 21e Light receiving end 22e Emitting end 21g Grating coupler 23 Connection section 102 Reflecting member PD Photodetector LD Light source

Claims (22)

 光素子の出射端から出射される出射光を測定する光測定装置であって、
 前記出射端に近接し、前記出射光を受ける出射光プローブと、
 前記出射光プローブから前記出射光を受ける出射光導波路と、該出射光導波路を進行する前記出射光を測定する出射光測定器とを有する光測定部と、
 を備え、
 前記出射光プローブと前記光測定部とが同一の基板上に配置され、
 前記出射光プローブと前記出射光導波路とが直接に接続されている、
 光測定装置。
A light measurement device for measuring light emitted from an output end of an optical element, comprising:
an output light probe adjacent to the output end for receiving the output light;
a light measurement unit having an output light waveguide that receives the output light from the output light probe, and an output light measurement device that measures the output light traveling through the output light waveguide;
Equipped with
the emitting light probe and the light measuring unit are disposed on the same substrate,
the output optical probe and the output optical waveguide are directly connected;
Light measuring device.
 光素子の受光端に与えられる入射光を測定する光測定装置であって、
 前記受光端に近接し、前記入射光を出射する入射光プローブと、
 前記入射光プローブに前記入射光を与える入射光導波路と、該入射光導波路を進行する前記入射光を測定する入射光測定器とを有する光測定部と、
 を備え、
 前記入射光プローブと前記光測定部とが同一の基板上に配置され、
 前記入射光プローブと前記入射光導波路とが直接に接続されている、
 光測定装置。
A light measurement device for measuring incident light provided to a light receiving end of an optical element, comprising:
an incident light probe adjacent to the light receiving end and configured to emit the incident light;
a light measurement unit having an incident light waveguide that provides the incident light to the incident light probe, and an incident light measurement device that measures the incident light traveling through the incident light waveguide;
Equipped with
The incident light probe and the light measurement unit are disposed on the same substrate,
The incident optical probe and the incident optical waveguide are directly connected.
Light measuring device.
 光素子の受光端に与えられる入射光および該光素子の出射端から出射される出射光を測定する光測定装置であって、
 前記受光端に近接し、前記入射光を出射する入射光プローブと、
 前記出射端に近接し、前記出射光を受ける出射光プローブと、
 前記入射光プローブに前記入射光を与える入射光導波路と、前記出射光プローブから前記出射光を受ける出射光導波路と、該入射光導波路を進行する該入射光を測定する入射光測定器と、該出射光導波路を進行する該出射光を測定する出射光測定器とを有する光測定部と、
 を備え、
 前記入射光プローブと、前記出射光プローブと、前記光測定部とが同一の基板上に配置され、
 前記入射光プローブと前記入射光導波路とが直接に接続されており、
 前記出射光プローブと前記出射光導波路とが直接に接続されている、
 光測定装置。
A light measurement device for measuring incident light provided to a light receiving end of an optical element and emitted light emitted from an emission end of the optical element, comprising:
an incident light probe adjacent to the light receiving end and configured to emit the incident light;
an output light probe adjacent to the output end for receiving the output light;
a light measuring unit including an input light waveguide that provides the input light to the input light probe, an output light waveguide that receives the output light from the output light probe, an input light measuring device that measures the input light traveling through the input light waveguide, and an output light measuring device that measures the output light traveling through the output light waveguide;
Equipped with
the incident light probe, the emitted light probe, and the light measurement unit are disposed on the same substrate;
the incident optical probe and the incident optical waveguide are directly connected;
the output optical probe and the output optical waveguide are directly connected;
Light measuring device.
 請求項3に記載の光測定装置であって、
 前記出射光導波路を進行する前記出射光が、前記入射光導波路に与えられる光測定装置。
4. The light measurement device according to claim 3,
An optical measurement device in which the outgoing light traveling through the outgoing optical waveguide is provided to the incoming optical waveguide.
 請求項4に記載の光測定装置であって、
 前記出射光が、光減衰器を介して、前記入射光導波路に与えられる光測定装置。
5. The light measurement device according to claim 4,
The optical measurement device, in which the outgoing light is provided to the incoming optical waveguide via an optical attenuator.
 請求項5に記載の光測定装置であって、
 波長可変光源と、
 前記波長可変光源の出力を変調して、前記入射光導波路に与える光変調器と、
 前記出射光導波路を進行する前記出射光を受信する光受信器と、
 を備えた光測定装置。
6. The light measurement device according to claim 5,
A tunable light source;
an optical modulator that modulates the output of the wavelength-tunable light source and provides the modulated output to the input optical waveguide;
an optical receiver for receiving the emitted light traveling through the emission optical waveguide;
A light measuring device comprising:
 請求項6に記載の光測定装置であって、
 前記受光端に前記入射光を与える多波長光源を備えた光測定装置。
7. The light measurement device according to claim 6,
a light measurement device comprising a multi-wavelength light source that provides the incident light to the light receiving end;
 請求項3に記載の光測定装置であって、
 前記入射光プローブと前記出射光プローブとを移動させるアクチュエータを備え、
 前記アクチュエータが、前記基板上に配置されている、
 光測定装置。
4. The light measurement device according to claim 3,
an actuator for moving the incident optical probe and the output optical probe;
The actuator is disposed on the substrate.
Light measuring device.
 請求項8に記載の光測定装置であって、
 前記アクチュエータが、前記出射光プローブを、前記出射光測定器の測定結果が所定値になるように移動させる、
 光測定装置。
9. The light measurement device according to claim 8,
the actuator moves the emitted light probe so that the measurement result of the emitted light measuring device becomes a predetermined value;
Light measuring device.
 請求項3に記載の光測定装置であって、
 前記光素子が、
 前記受光端に接続された光検出器と、
 前記出射端に接続された光源と、
 を有する光測定装置。
4. The light measurement device according to claim 3,
The optical element is
a photodetector connected to the light receiving end;
a light source connected to the output end;
A light measuring device having
 請求項3に記載の光測定装置であって、
 前記光素子が、
 前記受光端と前記出射端とを接続する接続部、
 を有する光測定装置。
4. The light measurement device according to claim 3,
The optical element is
a connection portion that connects the light receiving end and the light emitting end;
A light measuring device having
 請求項3に記載の光測定装置であって、
 前記光素子が、前記受光端に接続された光検出器を有し、
 前記光検出器の検出結果に基づき、前記入射光測定器が校正される、
 光測定装置。
4. The light measurement device according to claim 3,
the optical element has a photodetector connected to the light receiving end,
The incident light meter is calibrated based on the detection result of the photodetector.
Light measuring device.
 請求項4に記載の光測定装置であって、
 前記光素子が、前記出射端に接続された光源を有し、
 前記光源の出力を前記出射光測定器によって測定した結果と、前記光源の出力を前記入射光測定器によって測定した結果とに基づき、前記出射光測定器が校正される、
 光測定装置。
5. The light measurement device according to claim 4,
the optical element has a light source connected to the output end,
the emitted light meter is calibrated based on a result of measuring the output of the light source by the emitted light meter and a result of measuring the output of the light source by the incident light meter;
Light measuring device.
 請求項3に記載の光測定装置であって、
 前記入射光導波路に接続された光コネクタを備え、
 前記光コネクタからの入力を、前記入射光測定器によって測定した結果に基づき、前記光コネクタの接続状態が判定される、
 光測定装置。
4. The light measurement device according to claim 3,
an optical connector connected to the input optical waveguide;
A connection state of the optical connector is determined based on a result of measuring an input from the optical connector by the incident light measuring device.
Light measuring device.
 請求項3に記載の光測定装置であって、
 前記入射光導波路および前記出射光導波路に、光スイッチを介して接続された光コネクタを備え、
 前記光コネクタからの入力を、前記光スイッチを介して、前記光コネクタから出力し、
 前記光コネクタからの出力の測定結果に基づき、前記光コネクタの接続状態が判定される、
 光測定装置。
4. The light measurement device according to claim 3,
an optical connector connected to the input optical waveguide and the output optical waveguide via an optical switch;
An input from the optical connector is output from the optical connector via the optical switch;
A connection state of the optical connector is determined based on a measurement result of an output from the optical connector.
Light measuring device.
 請求項1ないし15のいずれか一項に記載の光測定装置であって、
 前記基板が、シリコン基板である光測定装置。
16. The light measurement device according to claim 1 ,
The optical measurement device, wherein the substrate is a silicon substrate.
 請求項1ないし15のいずれか一項に記載の光測定装置であって、
 前記光素子が、ウエハに配置されている光測定装置。
16. The light measurement device according to claim 1 ,
The optical measurement device, wherein the optical element is disposed on a wafer.
 請求項1ないし15のいずれか一項に記載の光測定装置であって、
 前記入射光プローブまたは前記出射光プローブが曲がっている光測定装置。
16. The light measurement device according to claim 1 ,
A light measurement device in which the incoming light probe or the outgoing light probe is curved.
 請求項18に記載の光測定装置であって、
 前記入射光プローブまたは前記出射光プローブが、前記光素子の側方または上方に配置される光測定装置。
20. The light measurement device according to claim 18,
A light measurement device in which the incident light probe or the outgoing light probe is disposed to the side or above the optical element.
 請求項1ないし15のいずれか一項に記載の光測定装置であって、
 前記入射光プローブまたは前記出射光プローブが、直線状である光測定装置。
16. The light measurement device according to claim 1 ,
An optical measurement device, wherein the incident optical probe or the outgoing optical probe is linear.
 請求項20に記載の光測定装置であって、
 前記入射光プローブまたは前記出射光プローブが、前記光素子の上方に配置される光測定装置。
21. The light measurement device according to claim 20,
The optical measurement device, in which the input optical probe or the output optical probe is disposed above the optical element.
 請求項21に記載の光測定装置であって、
 前記入射光プローブまたは前記出射光プローブが、反射部材を介して、受光または出射を行う光測定装置。
22. The light measurement device according to claim 21,
The incident light probe or the outgoing light probe receives or emits light via a reflecting member.
PCT/JP2023/029888 2023-08-18 2023-08-18 Optical measurement device Pending WO2025041201A1 (en)

Priority Applications (3)

Application Number Priority Date Filing Date Title
PCT/JP2023/029888 WO2025041201A1 (en) 2023-08-18 2023-08-18 Optical measurement device
CN202380100324.XA CN121488145A (en) 2023-08-18 2023-08-18 Optical measurement device
TW113112531A TW202509484A (en) 2023-08-18 2024-04-02 Light measuring device

Applications Claiming Priority (1)

Application Number Priority Date Filing Date Title
PCT/JP2023/029888 WO2025041201A1 (en) 2023-08-18 2023-08-18 Optical measurement device

Publications (1)

Publication Number Publication Date
WO2025041201A1 true WO2025041201A1 (en) 2025-02-27

Family

ID=94731703

Family Applications (1)

Application Number Title Priority Date Filing Date
PCT/JP2023/029888 Pending WO2025041201A1 (en) 2023-08-18 2023-08-18 Optical measurement device

Country Status (3)

Country Link
CN (1) CN121488145A (en)
TW (1) TW202509484A (en)
WO (1) WO2025041201A1 (en)

Citations (7)

* Cited by examiner, † Cited by third party
Publication number Priority date Publication date Assignee Title
JP2006324588A (en) * 2005-05-20 2006-11-30 Sharp Corp Light receiving element inspection method and light receiving element inspection apparatus
JP2011242208A (en) * 2010-05-17 2011-12-01 Advantest Corp Testing device and testing method
WO2014034655A1 (en) * 2012-08-31 2014-03-06 日本電気株式会社 Optical probe, inspection device, and inspection method
JP2020106736A (en) * 2018-12-28 2020-07-09 日本電信電話株式会社 Optical inspection circuit
JP2020530121A (en) * 2017-08-07 2020-10-15 イエーノプティーク オプティカル システムズ ゲーエムベーハー Contact module that is insensitive to position tolerances for contacting optoelectronic chips
US20210199691A1 (en) * 2019-12-30 2021-07-01 Juniper Networks, Inc. Compact opto-electric probe
JP2023520159A (en) * 2020-03-26 2023-05-16 株式会社アドバンテスト Inspection equipment for inspecting high-frequency components, especially silicon photonics devices to be inspected

Patent Citations (7)

* Cited by examiner, † Cited by third party
Publication number Priority date Publication date Assignee Title
JP2006324588A (en) * 2005-05-20 2006-11-30 Sharp Corp Light receiving element inspection method and light receiving element inspection apparatus
JP2011242208A (en) * 2010-05-17 2011-12-01 Advantest Corp Testing device and testing method
WO2014034655A1 (en) * 2012-08-31 2014-03-06 日本電気株式会社 Optical probe, inspection device, and inspection method
JP2020530121A (en) * 2017-08-07 2020-10-15 イエーノプティーク オプティカル システムズ ゲーエムベーハー Contact module that is insensitive to position tolerances for contacting optoelectronic chips
JP2020106736A (en) * 2018-12-28 2020-07-09 日本電信電話株式会社 Optical inspection circuit
US20210199691A1 (en) * 2019-12-30 2021-07-01 Juniper Networks, Inc. Compact opto-electric probe
JP2023520159A (en) * 2020-03-26 2023-05-16 株式会社アドバンテスト Inspection equipment for inspecting high-frequency components, especially silicon photonics devices to be inspected

Also Published As

Publication number Publication date
TW202509484A (en) 2025-03-01
CN121488145A (en) 2026-02-06

Similar Documents

Publication Publication Date Title
US10345233B2 (en) Optical measuring device having photonic chip with interferometer and phase adjuster set for minimizing signal from interference region
US5341205A (en) Method for characterization of optical waveguide devices using partial coherence interferometry
JP6358092B2 (en) Optical probe, inspection device, inspection method
JP5778078B2 (en) Interferometer system for monitoring objects
US8335411B2 (en) Fiber optic bi-directional coupling lens
JP6204272B2 (en) Distance measuring device
CN114222929A (en) LIDAR adapter for use with LIDAR chip
JP5621837B2 (en) Electric field / magnetic field probe
WO2009099090A1 (en) Electromagnetic field measurement device
JP2023553579A (en) Improving signal-to-noise ratio in LIDAR systems
WO2012170275A1 (en) Coupled multi-wavelength confocal systems for distance measurements
CN111201427B (en) Reflected light measuring device
WO2025041201A1 (en) Optical measurement device
EP4575445A1 (en) An optical probe and related methods
US10209278B2 (en) Sensor unit
US20210026017A1 (en) Apparatus for ascertaining a distance to an object
US20120316830A1 (en) Coupled multi-wavelength confocal systems for distance measurements
JP4027352B2 (en) Optical fiber probe device
US20120314200A1 (en) Coupled multi-wavelength confocal systems for distance measurements
JP2002250675A (en) Low coherent reflectometer
JP4802916B2 (en) Bidirectional optical module and optical pulse tester using the same
KR100343813B1 (en) Apparatus and method for measuring the refractive index profile of a optical fiber or waveguide surface
JP3455615B2 (en) Reflection wavelength measuring method and apparatus, optical line identification method and system
US20240118167A1 (en) Circuit, Device and Method for Optical Characteristic Inspection
WO2025135086A1 (en) Method for inspecting optical circuit chip using plc prober, and optical circuit chip

Legal Events

Date Code Title Description
121 Ep: the epo has been informed by wipo that ep was designated in this application

Ref document number: 23949663

Country of ref document: EP

Kind code of ref document: A1