WO2024257531A1 - コンデンサ素子 - Google Patents

コンデンサ素子 Download PDF

Info

Publication number
WO2024257531A1
WO2024257531A1 PCT/JP2024/017758 JP2024017758W WO2024257531A1 WO 2024257531 A1 WO2024257531 A1 WO 2024257531A1 JP 2024017758 W JP2024017758 W JP 2024017758W WO 2024257531 A1 WO2024257531 A1 WO 2024257531A1
Authority
WO
WIPO (PCT)
Prior art keywords
layer
capacitor
external electrode
hole
conductor
Prior art date
Legal status (The legal status is an assumption and is not a legal conclusion. Google has not performed a legal analysis and makes no representation as to the accuracy of the status listed.)
Pending
Application number
PCT/JP2024/017758
Other languages
English (en)
French (fr)
Japanese (ja)
Inventor
和敬 中村
Current Assignee (The listed assignees may be inaccurate. Google has not performed a legal analysis and makes no representation or warranty as to the accuracy of the list.)
Murata Manufacturing Co Ltd
Original Assignee
Murata Manufacturing Co Ltd
Priority date (The priority date is an assumption and is not a legal conclusion. Google has not performed a legal analysis and makes no representation as to the accuracy of the date listed.)
Filing date
Publication date
Application filed by Murata Manufacturing Co Ltd filed Critical Murata Manufacturing Co Ltd
Priority to JP2024564550A priority Critical patent/JP7619540B1/ja
Publication of WO2024257531A1 publication Critical patent/WO2024257531A1/ja
Anticipated expiration legal-status Critical
Pending legal-status Critical Current

Links

Images

Classifications

    • HELECTRICITY
    • H01ELECTRIC ELEMENTS
    • H01GCAPACITORS; CAPACITORS, RECTIFIERS, DETECTORS, SWITCHING DEVICES, LIGHT-SENSITIVE OR TEMPERATURE-SENSITIVE DEVICES OF THE ELECTROLYTIC TYPE
    • H01G9/00Electrolytic capacitors, rectifiers, detectors, switching devices, light-sensitive or temperature-sensitive devices; Processes of their manufacture
    • H01G9/004Details
    • H01G9/008Terminals
    • H01G9/012Terminals specially adapted for solid capacitors
    • HELECTRICITY
    • H01ELECTRIC ELEMENTS
    • H01GCAPACITORS; CAPACITORS, RECTIFIERS, DETECTORS, SWITCHING DEVICES, LIGHT-SENSITIVE OR TEMPERATURE-SENSITIVE DEVICES OF THE ELECTROLYTIC TYPE
    • H01G9/00Electrolytic capacitors, rectifiers, detectors, switching devices, light-sensitive or temperature-sensitive devices; Processes of their manufacture
    • H01G9/004Details
    • H01G9/04Electrodes or formation of dielectric layers thereon
    • H01G9/048Electrodes or formation of dielectric layers thereon characterised by their structure
    • HELECTRICITY
    • H01ELECTRIC ELEMENTS
    • H01GCAPACITORS; CAPACITORS, RECTIFIERS, DETECTORS, SWITCHING DEVICES, LIGHT-SENSITIVE OR TEMPERATURE-SENSITIVE DEVICES OF THE ELECTROLYTIC TYPE
    • H01G9/00Electrolytic capacitors, rectifiers, detectors, switching devices, light-sensitive or temperature-sensitive devices; Processes of their manufacture
    • H01G9/15Solid electrolytic capacitors

Definitions

  • the present invention relates to a capacitor element.
  • the present invention was made to solve the above problems, and aims to provide a capacitor element that is both large capacity and thin.
  • the capacitor element of the present invention comprises a capacitor section including a first capacitor layer and a second capacitor layer opposed to each other in the thickness direction, and a sealing layer provided to cover at least one main surface of the capacitor section.
  • the first capacitor layer and the second capacitor layer each include an anode plate having a porous portion on at least one main surface of a core portion, a dielectric layer provided on the surface of the porous portion, and a cathode layer provided on the surface of the dielectric layer.
  • the cathode layer includes a solid electrolyte layer provided on the surface of the dielectric layer, and a conductor layer provided on the surface of the solid electrolyte layer.
  • the conductor layer in the first capacitor layer opposed to the second capacitor layer is the same as the conductor layer in the second capacitor layer opposed to the first capacitor layer.
  • the present invention provides a capacitor element that is both high capacity and thin.
  • FIG. 1 is a cross-sectional view illustrating an example of a capacitor element according to a first embodiment of the present invention.
  • FIG. 2 is a plan view taken along line AA of the capacitor element shown in FIG.
  • FIG. 3 is a cross-sectional view illustrating an example of a capacitor element according to a second embodiment of the present invention.
  • FIG. 4 is a plan view of the capacitor element shown in FIG. 3 taken along line AA.
  • FIG. 5 is a cross-sectional view that illustrates an example of a step of preparing an anode plate.
  • FIG. 6 is a cross-sectional view that illustrates an example of a process for filling the inside of the porous portion with insulating resin.
  • FIG. 1 is a cross-sectional view illustrating an example of a capacitor element according to a first embodiment of the present invention.
  • FIG. 2 is a plan view taken along line AA of the capacitor element shown in FIG.
  • FIG. 3 is a cross-sectional view illustrating an example
  • FIG. 7 is a cross-sectional view illustrating an example of a process for forming a through hole.
  • FIG. 8 is a cross-sectional view that illustrates an example of a process for forming an inner layer of a solid electrolyte layer.
  • FIG. 9 is a cross-sectional view that illustrates an example of a step of forming an outer layer of a solid electrolyte layer.
  • FIG. 10 is a cross-sectional view that illustrates an example of a process for forming a carbon layer of a conductive layer.
  • FIG. 11 is a cross-sectional view that illustrates an example of a process for forming a copper layer of a conductor layer.
  • FIG. 12 is a cross-sectional view that illustrates an example of a process for laminating the first capacitor layer and the second capacitor layer.
  • FIG. 13 is a cross-sectional view illustrating an example of a step of forming the first through hole and the second through hole.
  • FIG. 14 is a cross-sectional view illustrating an example of a process for forming a first through-hole conductor and a second through-hole conductor.
  • FIG. 15 is a cross-sectional view illustrating an example of a process for forming the first resin filling portion and the second resin filling portion.
  • 16A and 16B are cross-sectional views that diagrammatically show an example of a process for forming a first external electrode layer and a second external electrode layer.
  • 17A and 17B are cross-sectional views each showing a schematic example of a process for preparing an anode plate in a first capacitor tier and a second capacitor tier, respectively.
  • 18A and 18B are cross-sectional views each showing an example of a process for filling a porous portion of a first capacitor layer with an insulating resin
  • FIG. 18B is a cross-sectional view showing an example of a process for filling a porous portion of a second capacitor layer with an insulating resin.
  • 19A and 19B are cross-sectional views each showing a schematic example of a process for forming a through groove and a through hole in a first capacitor layer and a second capacitor layer, respectively.
  • 20A and 20B are cross-sectional views each showing a schematic example of a process for forming an inner layer of a solid electrolyte layer in a first capacitor layer and a second capacitor layer, respectively.
  • 21A and 21B are cross-sectional views each showing a schematic example of a process for forming an outer layer of a solid electrolyte layer in a first capacitor layer and a second capacitor layer, respectively.
  • 22A and 22B are cross-sectional views each showing a schematic example of a process for forming a carbon layer of a conductive layer in a first capacitor tier and a second capacitor tier, respectively.
  • FIG. 23A and 23B are cross-sectional views each showing a schematic example of a process for forming a copper layer of a conductor layer in a first capacitor tier and a second capacitor tier, respectively.
  • FIG. 24 is a cross-sectional view that illustrates an example of a process for laminating a first capacitor layer and a second capacitor layer.
  • FIG. 25 is a cross-sectional view illustrating an example of a process for forming a via hole.
  • FIG. 26 is a cross-sectional view illustrating an example of a process for forming a first through-hole conductor, a second through-hole conductor, and a via conductor.
  • FIG. 24 is a cross-sectional view that illustrates an example of a process for laminating a first capacitor layer and a second capacitor layer.
  • FIG. 25 is a cross-sectional view illustrating an example of a process for forming a via hole.
  • FIG. 26 is a cross-sectional view illustrating an example of
  • 27 is a cross-sectional view illustrating an example of a process for forming the first resin filling portion and the second resin filling portion.
  • 28A and 28B are cross-sectional views that diagrammatically show an example of a process for forming a first external electrode layer and a second external electrode layer.
  • the capacitor element of the present invention is described below. Note that the present invention is not limited to the following configuration, and may be modified as appropriate without changing the gist of the present invention. In addition, a combination of multiple individual preferred configurations described below also constitutes the present invention.
  • each embodiment will simply be referred to as the "capacitor element of the present invention.”
  • terms indicating the relationship between elements e.g., "perpendicular,” “parallel,” “orthogonal,” etc.
  • terms indicating the shapes of elements are not expressions that express only a strict meaning, but are expressions that include a range of substantial equivalence, for example, differences of about a few percent.
  • Fig. 1 is a cross-sectional view showing an example of a capacitor element according to a first embodiment of the present invention
  • Fig. 2 is a plan view taken along line AA of the capacitor element shown in Fig. 1.
  • the capacitor element 1 shown in Figures 1 and 2 comprises a capacitor section 10 and a sealing layer 20 arranged to cover at least one of the main surfaces of the capacitor section 10.
  • the capacitor section 10 includes a first capacitor layer 10A and a second capacitor layer 10B that face each other in the thickness direction (Z direction).
  • one capacitor section 10 is disposed inside the sealing layer 20.
  • the number of capacitor parts arranged inside the sealing layer 20 is not particularly limited, and may be one or more.
  • multiple capacitor parts may be arranged in a planar direction (i.e., a planar direction parallel to the X-axis and Y-axis) perpendicular to the thickness direction (Z-direction).
  • the sealing layer 20 is provided on both opposing main surfaces (top and bottom surfaces in FIG. 1) of the capacitor section 10 in the thickness direction.
  • the sealing layer 20 protects the capacitor section 10.
  • the sealing layer 20 may be composed of only one layer, or may be composed of two or more layers. When the sealing layer 20 is composed of two or more layers, the materials constituting each layer may be the same or different.
  • the sealing layer 20 is formed to seal the capacitor section 10, for example, by a method of thermocompressing an insulating resin sheet, or by applying an insulating resin paste and then thermally curing it.
  • the first capacitor layer 10A and the second capacitor layer 10B each include an anode plate 11 having a porous portion 11B on at least one main surface of a core portion 11A, a dielectric layer 13 provided on the surface of the porous portion 11B, and a cathode layer 12 provided on the surface of the dielectric layer 13.
  • the anode plate 11 has a porous portion 11B on both main surfaces of the core portion 11A, but may have a porous portion 11B on only one of the main surfaces of the core portion 11A.
  • the cathode layer 12 includes a solid electrolyte layer 12A provided on the surface of the dielectric layer 13, and a conductor layer 12B provided on the surface of the solid electrolyte layer 12A.
  • the cathode layer 12 includes the solid electrolyte layer 12A, so that the capacitor section 10 constitutes a solid electrolytic capacitor.
  • Examples of materials constituting the solid electrolyte layer 12A include conductive polymers such as poly(3,4-ethylenedioxythiophene) known as PEDOT.
  • the conductive polymer may also contain a dopant such as polystyrene sulfonate (PSS).
  • PSS polystyrene sulfonate
  • the solid electrolyte layer 12A preferably includes an inner layer that fills the pores (recesses) of the dielectric layer 13, and an outer layer that covers the dielectric layer 13.
  • the conductive layer 12B includes, for example, a carbon layer 12Ba provided on the surface of the solid electrolyte layer 12A and a copper layer 12Bb provided on the surface of the carbon layer 12Ba.
  • the conductive layer 12B in the first capacitor layer 10A that faces the second capacitor layer 10B is the same as the conductive layer 12B in the second capacitor layer 10B that faces the first capacitor layer 10A. Note that if the conductive layer 12B is composed of two or more layers, it is sufficient that at least one of the layers is the same. In other words, it can be said that the first capacitor layer 10A and the second capacitor layer 10B share the same conductive layer 12B that is disposed between them.
  • the copper layer 12Bb in the first capacitor layer 10A that faces the second capacitor layer 10B is the same as the copper layer 12Bb in the second capacitor layer 10B that faces the first capacitor layer 10A.
  • the first capacitor layer 10A and the second capacitor layer 10B share the same copper layer 12Bb that is disposed between them.
  • the capacitance per area of the capacitor section 10 can be increased. Furthermore, by making the conductive layer 12B in the first capacitor layer 10A that faces the second capacitor layer 10B the same as the conductive layer 12B in the second capacitor layer 10B that faces the first capacitor layer 10A, the thickness of the entire element can be reduced. Therefore, it is possible to achieve both large capacity and thinness.
  • the element can be made of a material with high thermal conductivity without placing a thermal insulating material between the first capacitor layer 10A and the second capacitor layer 10B. This improves the heat dissipation properties of the element.
  • the conductive layer 12B in the first capacitor layer 10A facing the second capacitor layer 10B is different from the conductive layer 12B in the second capacitor layer 10B facing the first capacitor layer 10A, wiring is required to electrically connect the first capacitor layer 10A and the second capacitor layer 10B, and the contact resistance increases.
  • the conductive layer 12B in the first capacitor layer 10A facing the second capacitor layer 10B is the same as the conductive layer 12B in the second capacitor layer 10B facing the first capacitor layer 10A, there are fewer contacts with different materials and the series resistance component is smaller, so the equivalent series resistance (ESR) can be lowered.
  • ESR equivalent series resistance
  • the conductor layer 12B in the first capacitor layer 10A facing the second capacitor layer 10B is different from the conductor layer 12B in the second capacitor layer 10B facing the first capacitor layer 10A, wiring is required to electrically connect the first capacitor layer 10A and the second capacitor layer 10B, and the inductance component also increases.
  • the conductor layer 12B in the first capacitor layer 10A facing the second capacitor layer 10B is the same as the conductor layer 12B in the second capacitor layer 10B facing the first capacitor layer 10A, the inductance component is smaller, and noise generation can be suppressed.
  • the capacitor element 1 may further include a first external electrode layer 31 electrically connected to the cathode layer 12 of the first capacitor layer 10A and the cathode layer 12 of the second capacitor layer 10B.
  • the first external electrode layer 31 is provided on at least one of the main surfaces of the sealing layer 20.
  • the first external electrode layer 31 is provided on both main surfaces of the sealing layer 20 (top and bottom surfaces in FIG. 1), but it may be provided on either one of the main surfaces of the sealing layer 20 (top or bottom surface in FIG. 1).
  • one first external electrode layer 31 may be provided, or multiple first external electrode layers 31 may be provided.
  • the planar shape of the first external electrode layer 31 when viewed from the thickness direction is not particularly limited, and examples include a rectangle (square or oblong), a quadrangle other than a rectangle, a polygon such as a triangle, a pentagon, or a hexagon, a circle, an ellipse, or a combination of these.
  • the planar shape of the first external electrode layer 31 may also be an L-shape, a C-shape, a stepped shape, etc.
  • the capacitor element 1 may further include a second external electrode layer 32 electrically connected to the anode plate 11 of the first capacitor layer 10A and the anode plate 11 of the second capacitor layer 10B.
  • the second external electrode layer 32 is provided on at least one of the main surfaces of the sealing layer 20.
  • the second external electrode layer 32 is provided on both main surfaces of the sealing layer 20 (top and bottom surfaces in FIG. 1), but it may be provided on either one of the main surfaces of the sealing layer 20 (top or bottom surface in FIG. 1).
  • one second external electrode layer 32 may be provided, or multiple second external electrode layers 32 may be provided.
  • the number of second external electrode layers 32 may be the same as the number of first external electrode layers 31, or may be different.
  • the planar shape of the second external electrode layer 32 when viewed from the thickness direction is not particularly limited, and examples include a rectangle (square or rectangle), a quadrangle other than a rectangle, a polygon such as a triangle, a pentagon, or a hexagon, a circle, an ellipse, or a combination of these.
  • the planar shape of the second external electrode layer 32 may also be an L-shape, a C-shape, a stepped shape, or the like.
  • the planar shape of the second external electrode layer 32 when viewed from the thickness direction may be the same as or different from the planar shape of the first external electrode layer 31 when viewed from the thickness direction.
  • the first external electrode layer 31 is arranged so as to overlap at least a portion with the same conductor layer 12B (the same copper layer 12Bb shared by the first capacitor layer 10A and the second capacitor layer 10B in FIG. 1).
  • the first external electrode layer 31 By arranging the first external electrode layer 31 so that at least a portion of it overlaps with the same conductor layer 12B, moisture is less likely to penetrate into the inside of the element. This makes it possible to suppress peeling, known as delamination, that occurs due to rapid evaporation of moisture.
  • the permeation of moisture, oxygen, etc. into the inside of the element is suppressed, and deterioration of the conductive polymer contained in the solid electrolyte layer 12A can be suppressed.
  • the area of the first external electrode layer 31 is increased, and a cathode layer 12 is also formed inside the element, thereby reducing the generation or emission of noise.
  • the area of the portion where the first external electrode layer 31 overlaps with the same conductor layer 12B is large.
  • the area of the first external electrode layer 31 provided on either one of the main surfaces of the sealing layer 20, which overlaps with the same conductor layer 12B is preferably 50% or more of the area of the same conductor layer 12B.
  • the area of the first external electrode layer 31 provided on the upper surface of the sealing layer 20, which overlaps with the same conductor layer 12B may be 50% or more of the area of the same conductor layer 12B, or the area of the first external electrode layer 31 provided on the lower surface of the sealing layer 20, which overlaps with the same conductor layer 12B, may be 50% or more of the area of the same conductor layer 12B.
  • the area of the first external electrode layer 31 provided on one of the main surfaces of the sealing layer 20 that overlaps with the same conductor layer 12B is not particularly limited in upper limit, as long as it is 100% or less of the area of the same conductor layer 12B.
  • the above-mentioned area ratio may be the same or different between one main surface side and the other main surface side of the sealing layer 20. Therefore, even if the area of the first external electrode layer 31 provided on either one of the main surfaces of the sealing layer 20, which is a portion of the area of the first external electrode layer 31 that overlaps with the same conductor layer 12B, is 50% or more of the area of the same conductor layer 12B, the area of the first external electrode layer 31 provided on the other main surface of the sealing layer 20, which is a portion of the area of the first external electrode layer 31 that overlaps with the same conductor layer 12B may be less than 50% of the area of the same conductor layer 12B.
  • the area of the first external electrode layer 31 that overlaps with the same conductor layer 12B is 50% or more of the area of the same conductor layer 12B, and, among the areas of the first external electrode layer 31 provided on the other main surface of the sealing layer 20, the area of the first external electrode layer 31 that overlaps with the same conductor layer 12B is 50% or more of the area of the same conductor layer 12B.
  • the "total area of all the first external electrode layers 31 and second external electrode layers 32 provided on one of the main surfaces of the sealing layer 20" includes the area of the first external electrode layers 31 and second external electrode layers 32 that do not overlap with the same conductor layer 12B on the target main surface.
  • the "area surrounded by the outer periphery of the sealing layer 20" does not mean the area of the sealing layer 20 itself, but the total area surrounded by the outer periphery of the sealing layer 20.
  • the above-mentioned area ratios may be the same or different between one main surface side and the other main surface side of the sealing layer 20. Therefore, even if the total area of all the first external electrode layers 31 and second external electrode layers 32 provided on either one main surface of the sealing layer 20 is 50% or more of the area surrounded by the outer peripheral edge of the sealing layer 20, the total area of all the first external electrode layers 31 and second external electrode layers 32 provided on the other main surface of the sealing layer 20 may be less than 50% of the area surrounded by the outer peripheral edge of the sealing layer 20.
  • the total area of all the first external electrode layers 31 and second external electrode layers 32 provided on one of the main surfaces of the sealing layer 20 is 50% or more of the area surrounded by the outer periphery of the sealing layer 20, and that the total area of all the first external electrode layers 31 and second external electrode layers 32 provided on the other main surface of the sealing layer 20 is 50% or more of the area surrounded by the outer periphery of the sealing layer 20.
  • the capacitor element 1 may further include a first through-hole conductor 41 electrically connected to the first external electrode layer 31.
  • the first through-hole conductor 41 only needs to be provided on at least the inner wall surface of the first through hole 51 that penetrates the capacitor section 10 and the sealing layer 20 in the thickness direction.
  • the first through-hole conductor 41 may be provided only on the inner wall surface of the first through hole 51, or may be provided throughout the entire interior of the first through hole 51.
  • one first through-hole conductor 41 may be provided inside the cathode layer 12, or two or more first through-hole conductors 41 may be provided.
  • the end face of the anode plate 11 and the first through-hole conductor 41 are insulated by an insulating material.
  • the first through-hole conductor 41 is preferably electrically connected to the cathode layer 12 of the first capacitor layer 10A and the cathode layer 12 of the second capacitor layer 10B on the inner wall surface of the first through hole 51.
  • the capacitor element 1 may further include a second through-hole conductor 42 electrically connected to the second external electrode layer 32.
  • the second through-hole conductor 42 may be provided at least on the inner wall surface of the second through hole 52 that penetrates the capacitor section 10 and the sealing layer 20 in the thickness direction.
  • the second through-hole conductor 42 may be provided only on the inner wall surface of the second through hole 52, or may be provided throughout the entire interior of the second through hole 52.
  • one second through-hole conductor 42 may be provided inside the cathode layer 12, or two or more second through-hole conductors 42 may be provided.
  • the end face of the cathode layer 12 and the second through-hole conductor 42 are insulated from each other by an insulating material.
  • the second through-hole conductor 42 is preferably electrically connected to the anode plate 11 of the first capacitor layer 10A and the anode plate 11 of the second capacitor layer 10B on the inner wall surface of the second through hole 52.
  • a second resin filling portion 62 filled with a resin material may be provided inside the second through-hole conductor 42.
  • the second resin filling portion 62 is provided in the space surrounded by the second through-hole conductor 42 in the second through hole 52.
  • the second resin filling portion 62 may be a conductor or an insulator.
  • the capacitor element 1 may further include a third through-hole conductor that is not electrically connected to the anode plate 11 and the cathode layer 12.
  • the capacitor element 1 may further include a via conductor that is arranged to penetrate the sealing layer 20 in the thickness direction and has one end extended to the surface of the sealing layer 20.
  • the capacitor element 1 may include a via conductor electrically connected to the anode plate 11.
  • the anode plate 11 is electrically led out to the outside of the sealing layer 20 through the via conductor, and can be electrically connected to the outside of the sealing layer 20.
  • the capacitor element 1 may include a via conductor electrically connected to the cathode layer 12.
  • the cathode layer 12 is electrically led out to the outside of the sealing layer 20 through the via conductor, and can be electrically connected to the outside of the sealing layer 20.
  • the capacitor section 10 may further include an insulating mask layer provided around the first through-hole conductor 41 or the second through-hole conductor 42 on at least one of the main surfaces of the anode plate 11.
  • the capacitor section 10 may further include an insulating mask layer provided on at least one of the main surfaces of the anode plate 11 so as to surround the periphery of the cathode layer 12.
  • an insulating mask layer provided on at least one of the main surfaces of the anode plate 11 so as to surround the periphery of the cathode layer 12.
  • the areas of the capacitance parts of the first capacitor layer and the second capacitor layer are different.
  • the areas of the capacitance parts of at least one capacitor part are different between the first capacitor layer and the second capacitor layer.
  • FIG. 3 is a cross-sectional view showing a schematic example of a capacitor element according to a second embodiment of the present invention.
  • FIG. 4 is a plan view of the capacitor element shown in FIG. 3 taken along line A-A.
  • the sealing layer 20 is provided on both opposing main surfaces (top and bottom surfaces in FIG. 3) of the capacitor section 10 and the capacitor section 10' in the thickness direction.
  • the sealing layer 20 protects the capacitor section 10 and the capacitor section 10'.
  • the capacitor section 10 includes a first capacitor layer 10A and a second capacitor layer 10B that face each other in the thickness direction (Z direction).
  • the capacitor section 10' includes a first capacitor layer 10A and a second capacitor layer 10B that face each other in the thickness direction (Z direction).
  • the first capacitor layer 10A and the second capacitor layer 10B each include an anode plate 11 having a porous portion 11B on at least one main surface of the core portion 11A, a dielectric layer 13 provided on the surface of the porous portion 11B, and a cathode layer 12 provided on the surface of the dielectric layer 13.
  • the anode plate 11 has a porous portion 11B on both main surfaces of the core portion 11A, but the anode plate 11 may have a porous portion 11B on only one of the main surfaces of the core portion 11A. The same is true for the capacitor section 10'.
  • the cathode layer 12 includes a solid electrolyte layer 12A provided on the surface of the dielectric layer 13, and a conductor layer 12B provided on the surface of the solid electrolyte layer 12A. Since the cathode layer 12 includes the solid electrolyte layer 12A, the capacitor section 10 constitutes a solid electrolytic capacitor. The same is true for the capacitor section 10'.
  • the conductive layer 12B in the first capacitor layer 10A that faces the second capacitor layer 10B is the same as the conductive layer 12B in the second capacitor layer 10B that faces the first capacitor layer 10A. Note that if the conductive layer 12B is composed of two or more layers, it is sufficient that at least one of the layers is the same. In other words, it can be said that the first capacitor layer 10A and the second capacitor layer 10B share the same conductive layer 12B that is disposed between them.
  • the copper layer 12Bb in the first capacitor layer 10A that faces the second capacitor layer 10B is the same as the copper layer 12Bb in the second capacitor layer 10B that faces the first capacitor layer 10A.
  • the first capacitor layer 10A and the second capacitor layer 10B share the same copper layer 12Bb that is disposed between them.
  • the conductive layer 12B in the first capacitor layer 10A that faces the second capacitor layer 10B is the same as the conductive layer 12B in the second capacitor layer 10B that faces the first capacitor layer 10A.
  • the conductive layer 12B is composed of two or more layers, it is sufficient that at least one of the layers is the same. In other words, it can be said that the first capacitor layer 10A and the second capacitor layer 10B share the same conductive layer 12B that is disposed between them.
  • the copper layer 12Bb in the first capacitor layer 10A that faces the second capacitor layer 10B is the same as the copper layer 12Bb in the second capacitor layer 10B that faces the first capacitor layer 10A.
  • the first capacitor layer 10A and the second capacitor layer 10B share the same copper layer 12Bb that is disposed between them.
  • the area of the capacitance section differs between the first capacitor layer 10A and the second capacitor layer 10B.
  • the areas of the capacitance sections of the first capacitor layer 10A and the second capacitor layer 10B may be the same or different.
  • the number of capacitor parts arranged inside the sealing layer 20 is not particularly limited, and may be one or more.
  • multiple capacitor parts may be arranged in a planar direction (i.e., a planar direction parallel to the X-axis and Y-axis) perpendicular to the thickness direction (Z-direction).
  • the through groove 80 is filled with an insulating material such as a sealing layer 20.
  • adjacent capacitor sections in the planar direction When adjacent capacitor sections in the planar direction are separated by a through groove 80, it is sufficient that adjacent capacitor sections 10 in the planar direction are physically separated by the through groove 80. Therefore, adjacent capacitor sections in the planar direction may be electrically separated or electrically connected.
  • the width of the through groove 80 i.e., the distance between adjacent capacitor sections in the planar direction, may be constant in the thickness direction (Z direction) or may become smaller in the thickness direction.
  • the capacitor parts When multiple capacitor parts are arranged in the planar direction, the capacitor parts may be arranged regularly or irregularly.
  • the size and shape of the capacitor parts may be the same, or some or all of them may be different. It is preferable that the capacitor parts have the same configuration, but capacitor parts with different configurations may be included.
  • the first capacitor layer 10A of the capacitor section 10' may be provided with a first through-hole conductor 41 that reaches the same conductor layer 12B.
  • the first through-hole conductor 41 of the capacitor section 10' may be provided at least on the inner wall surface of the first via hole 81.
  • the first through-hole conductor 41 may be provided only on the inner wall surface of the first via hole 81, or may be provided throughout the entire interior of the first via hole 81.
  • one first through-hole conductor 41 may be provided inside the cathode layer 12 of the capacitor section 10', or two or more first through-hole conductors 41 may be provided.
  • the end face of the anode plate 11 of the capacitor section 10' is insulated from the first through-hole conductor 41 by an insulating material.
  • a first resin filling section 61 filled with a resin material may be provided on the inside of the first through-hole conductor 41.
  • the first capacitor layer 10A of the capacitor section 10' may also be provided with a via conductor 70 that reaches the conductive layer 12B on the opposite side to the same conductive layer 12B.
  • one via conductor 70 may be provided inside the cathode layer 12 of the capacitor section 10', or two or more via conductors 70 may be provided.
  • first capacitor layer 10A of the capacitor section 10' may be provided with a second through-hole conductor 42 that reaches the core 11A of the anode plate 11.
  • the second through-hole conductor 42 of the capacitor section 10' may be provided at least on the inner wall surface of the second via hole 82.
  • the second through-hole conductor 42 may be provided only on the inner wall surface of the second via hole 82, or may be provided throughout the entire interior of the second via hole 82.
  • one second through-hole conductor 42 may be provided inside the cathode layer 12 of the capacitor section 10', or two or more second through-hole conductors 42 may be provided.
  • the end face of the cathode layer 12 of the capacitor section 10' and the second through-hole conductor 42 are insulated by an insulating material.
  • a second resin filling section 62 filled with a resin material may be provided on the inside of the second through-hole conductor 42.
  • Figure 5 is a cross-sectional view that shows a schematic example of a process for preparing an anode plate.
  • an anode plate 11 made of a valve metal is prepared.
  • an anodizing process is performed on an anode plate 11 having a porous portion 11B on both main surfaces of a core portion 11A, thereby forming a dielectric layer (not shown) on the surface of the porous portion 11B.
  • a chemical foil may be prepared as the anode plate 11 with a dielectric layer (not shown) provided on the surface of the porous portion 11B.
  • Figure 6 is a cross-sectional view that shows a schematic example of a process for filling the inside of a porous portion with insulating resin.
  • an insulating resin such as polyimide resin is applied to a predetermined position on the top surface of the porous portion 11B, and the insulating resin is allowed to permeate into the interior of the porous portion 11B.
  • Figure 7 is a cross-sectional view that shows a schematic example of a process for forming a through hole.
  • a through hole 50A is formed by a laser or the like in the area where the first through-hole conductor is to be formed, and a through hole 50B is formed in the area where the second through-hole conductor is to be formed. As shown in FIG. 7, it is preferable that the diameter of the through hole 50A is larger than the diameter of the through hole 50B.
  • Figure 8 is a cross-sectional view that shows a schematic example of a process for forming the inner layer of a solid electrolyte layer.
  • a dispersion of PEDOT/PSS an example of a conductive polymer, is applied to the porous portion 11B surrounded by the insulating resin, allowed to penetrate, and then dried and solidified. This process is repeated until the porous portion 11B is filled with PEDOT/PSS. This forms the inner layer 12Aa of the solid electrolyte layer.
  • Figure 9 is a cross-sectional view that shows a schematic example of a process for forming the outer layer of a solid electrolyte layer.
  • a highly viscous PEDOT/PSS dispersion is applied and then dried and solidified. This forms the outer layer 12Ab of the solid electrolyte layer.
  • the inner layer 12Aa and the outer layer 12Ab form the solid electrolyte layer 12A.
  • insulating resin is applied to the surface of the insulating resin that has permeated the porous portion 11B, the inside of the through-hole 50A, and the inside of the through-hole 50B, and then solidified.
  • FIG. 10 is a cross-sectional view that shows a schematic example of a process for forming a carbon layer of a conductive layer.
  • a conductive resin containing carbon filler is applied to the surface of the solid electrolyte layer 12A and then solidified. This forms the carbon layer 12Ba.
  • insulating resin is applied around the carbon layer 12Ba and allowed to harden.
  • FIG. 11 is a cross-sectional view that shows a schematic example of a process for forming a copper layer of a conductive layer.
  • a conductive resin containing copper filler is applied to the surface of the carbon layer 12Ba and solidified. This forms the copper layer 12Bb.
  • the carbon layer 12Ba and the copper layer 12Bb form the conductor layer 12B.
  • insulating resin is applied around the copper layer 12Bb and allowed to solidify. At this time, it is preferable to adjust the height so that the copper layer 12Bb and the insulating resin are as flat as possible.
  • FIG. 12 is a cross-sectional view that shows a schematic example of a process for stacking a first capacitor layer and a second capacitor layer.
  • the first capacitor layer 10A and the second capacitor layer 10B are stacked together with the front and back conductive layers 12B.
  • an insulating resin sheet such as Ajinomoto Build-up Film (ABF) is laminated on the surface of the laminate. After lamination, the laminate is placed in a mold and vacuum degassed, and then thermocompressed and cured. This forms the sealing layer 20.
  • ABSF Ajinomoto Build-up Film
  • FIG. 13 is a cross-sectional view that shows a schematic example of a process for forming a first through hole and a second through hole.
  • a first through hole 51 with a diameter of about 100 ⁇ m is formed at a predetermined position where the insulating resin has been formed using a laser such as a UV laser.
  • the copper layer 12Bb is exposed on the side of the first through hole 51.
  • a second through hole 52 with a diameter of about 100 ⁇ m is formed at a predetermined position where the insulating resin has been formed using a laser such as a UV laser.
  • the anode plate 11 is exposed on the side of the second through hole 52.
  • FIG. 14 is a cross-sectional view that shows a schematic example of a process for forming a first through-hole conductor and a second through-hole conductor.
  • the inner surface of the first through hole 51 is subjected to, for example, electroless copper plating. Then, electrolytic copper plating is performed. This forms the first through-hole conductor 41.
  • the second through hole 52 is subjected to, for example, a zincate treatment, followed by nickel plating and electroless copper plating. Then, electrolytic copper plating is performed. This forms the second through-hole conductor 42.
  • FIG. 15 is a cross-sectional view that shows a schematic example of a process for forming a first resin-filled portion and a second resin-filled portion.
  • a first resin-filled portion 61 is formed by filling the first through hole 51 in which the first through-hole conductor 41 is formed with insulating resin
  • a second resin-filled portion 62 is formed by filling the second through hole 52 in which the second through-hole conductor 42 is formed with insulating resin.
  • FIGS. 16A and 16B are cross-sectional views that show a schematic example of a process for forming a first external electrode layer and a second external electrode layer.
  • the surface of the sealing layer 20 is subjected to, for example, electrolytic copper plating to form a plating layer 30.
  • the plating layer 30 is etched so as to separate the cathode portion and the anode portion, thereby forming a first external electrode layer 31 and a second external electrode layer 32.
  • the copper layer 12Bb may be formed on the entire surface except for the area where the second through holes 52 are formed.
  • the outer periphery and the inner conductive layer 12B can be connected with a single through-hole conductor.
  • the second capacitor layer 10B of the capacitor section 10' does not appear to be functional in FIG. 3, by forming via conductors or through-hole conductors similar to those in the first capacitor layer 10A, it is possible to form a capacitor of a different size from the first capacitor layer 10A, or to form a second capacitor layer 10B independent of the first capacitor layer 10A.
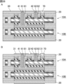
  • FIG. 17A is a cross-sectional view showing a schematic example of a process for preparing an anode plate in a first capacitor layer.
  • FIG. 17B is a cross-sectional view showing a schematic example of a process for preparing an anode plate in a second capacitor layer.
  • an anode plate 11 made of a valve metal is prepared, similar to the process shown in Figure 5.
  • FIG. 18A is a cross-sectional view showing an example of a process for filling an insulating resin inside a porous portion in a first capacitor layer.
  • FIG. 18B is a cross-sectional view showing an example of a process for filling an insulating resin inside a porous portion in a second capacitor layer.
  • an insulating resin such as polyimide resin is applied to a predetermined position on the upper surface of the porous portion 11B, and the insulating resin is allowed to permeate into the interior of the porous portion 11B.
  • FIG. 19A is a cross-sectional view showing an example of a process for forming a through groove and a through hole in a first capacitor layer.
  • FIG. 19B is a cross-sectional view showing an example of a process for forming a through groove in a second capacitor layer.
  • a through groove 80 is formed by using a laser or the like to separate the capacitor part 10 and the capacitor part 10'.
  • a through hole 50A is formed by a laser or the like in the portion where the first through-hole conductor is to be formed, and a through hole 50B is formed in the portion where the second through-hole conductor is to be formed.
  • the diameter of the through hole 50A is larger than the diameter of the through hole 50B.
  • the through hole 50B shown in FIG. 19 etc. does not penetrate the anode plate 11, it is referred to as a "through hole" for convenience.
  • FIG. 20A is a cross-sectional view showing an example of a process for forming an inner layer of a solid electrolyte layer in a first capacitor layer.
  • FIG. 20B is a cross-sectional view showing an example of a process for forming an inner layer of a solid electrolyte layer in a second capacitor layer.
  • the inner layer 12Aa of the solid electrolyte layer is formed, similar to the process shown in Figure 8.
  • FIG. 21A is a cross-sectional view showing an example of a process for forming an outer layer of a solid electrolyte layer in a first capacitor layer.
  • FIG. 21B is a cross-sectional view showing an example of a process for forming an outer layer of a solid electrolyte layer in a second capacitor layer.
  • the outer layer 12Ab of the solid electrolyte layer is formed, similar to the process shown in FIG. 9.
  • the inner layer 12Aa and the outer layer 12Ab form the solid electrolyte layer 12A.
  • insulating resin is applied to the surface of the insulating resin that has permeated the porous portion 11B, the inside of the through groove 80, the inside of the through hole 50A, and the inside of the through hole 50B, and then solidified.
  • FIG. 22A is a cross-sectional view showing an example of a process for forming a carbon layer of a conductive layer in a first capacitor layer.
  • FIG. 22B is a cross-sectional view showing an example of a process for forming a carbon layer of a conductive layer in a second capacitor layer.
  • a carbon layer 12Ba is formed, similar to the process shown in Figure 10.
  • an insulating resin is applied around the carbon layer 12Ba and allowed to harden.
  • FIG. 23A is a cross-sectional view showing an example of a process for forming a copper layer of a conductor layer in a first capacitor layer.
  • FIG. 23B is a cross-sectional view showing an example of a process for forming a copper layer of a conductor layer in a second capacitor layer.
  • a copper layer 12Bb is formed, similar to the process shown in Figure 11.
  • the carbon layer 12Ba and the copper layer 12Bb form the conductor layer 12B.
  • insulating resin is applied around the copper layer 12Bb and allowed to solidify. At this time, it is preferable to adjust the height so that the copper layer 12Bb and the insulating resin are as flat as possible.
  • the substrate having the configuration shown in FIG. 23A constitutes the first capacitor layer 10A, and the substrate having the configuration shown in FIG. 23B constitutes the second capacitor layer 10B.
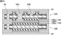
  • Figure 24 is a cross-sectional view that shows a schematic example of a process for stacking a first capacitor layer and a second capacitor layer.
  • the first capacitor layer 10A and the second capacitor layer 10B are stacked together to match the front and back conductive layers 12B.
  • an insulating resin sheet such as Ajinomoto Build-up Film (ABF) is laminated on the surface of the laminate. After lamination, the laminate is placed in a mold and vacuum degassed, and then thermocompressed and cured. This forms the sealing layer 20.
  • ABSF Ajinomoto Build-up Film
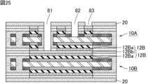
  • Figure 25 is a cross-sectional view that shows a schematic example of a process for forming a via hole.
  • the laser output is adjusted to form a first via hole 81 at a predetermined position where the insulating resin has been formed, up to the center of the substrate where the conductive layer 12B is exposed.
  • the laser output is adjusted to form a second via hole 82 up to the part where the core 11A of the anode plate 11 is exposed.
  • a third via hole 83 is also formed that does not penetrate the conductive layer 12B on the front side of the substrate.
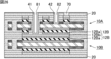
  • FIG. 26 is a cross-sectional view that shows a schematic example of a process for forming a first through-hole conductor, a second through-hole conductor, and a via conductor.
  • the inner surface of the first via hole 81 is subjected to, for example, electroless copper plating. Then, electrolytic copper plating is performed. This forms the first through-hole conductor 41.
  • the second via hole 82 is subjected to, for example, a zincate treatment, followed by nickel plating and electroless copper plating. Then, electrolytic copper plating is performed. This forms the second through-hole conductor 42.
  • electroless copper plating is performed on the third via hole 83, and then electrolytic copper plating is performed. This forms the via conductor 70.
  • FIG. 27 is a cross-sectional view that shows a schematic example of a process for forming a first resin-filled portion and a second resin-filled portion.
  • a first resin-filled portion 61 is formed by filling a first via hole 81 in which a first through-hole conductor 41 is formed with insulating resin
  • a second resin-filled portion 62 is formed by filling a second via hole 82 in which a second through-hole conductor 42 is formed with insulating resin.
  • 28A and 28B are cross-sectional views that show a schematic example of a process for forming a first external electrode layer and a second external electrode layer.
  • the surface of the sealing layer 20 is subjected to, for example, electrolytic copper plating to form a plating layer 30.
  • the plating layer 30 is etched so as to separate the cathode portion and the anode portion, thereby forming a first external electrode layer 31 and a second external electrode layer 32.
  • the capacitor section it is preferable to process the capacitor section so that it is not completely separated, for example by cutting it in the X direction and filling it with resin, and then cutting it in the Y direction and filling it with resin.
  • capacitor elements 1 and 2 The detailed configuration of capacitor elements 1 and 2 is described below.
  • the planar shape of the capacitor section 10 when viewed from the thickness direction may be, for example, a rectangle (square or oblong), a quadrangle other than a rectangle, a polygon such as a triangle, a pentagon, or a hexagon, a circle, an ellipse, or a combination of these.
  • the planar shape of the capacitor section 10 may also be an L-shape, a C-shape, a stepped shape, or the like. The same applies below to the capacitor section 10'.
  • the anode plate 11 is preferably made of a valve metal that exhibits so-called valve action.
  • valve metals include simple metals such as aluminum, tantalum, niobium, titanium, and zirconium, or alloys containing at least one of these metals. Of these, aluminum or an aluminum alloy is preferred.
  • the shape of the anode plate 11 is preferably flat, and more preferably foil-like.
  • plate-like includes “foil-like”.
  • the anode plate 11 may have a porous portion 11B on at least one of the main surfaces of the core portion 11A.
  • the anode plate 11 may have a porous portion 11B on only one of the main surfaces of the core portion 11A, or may have a porous portion 11B on both main surfaces of the core portion 11A.
  • the porous portion 11B is preferably a porous layer formed on the surface of the core portion 11A, and is more preferably an etched layer.
  • the thickness of the anode plate 11 before the etching process is preferably 60 ⁇ m or more and 200 ⁇ m or less.
  • the thickness of the unetched core portion 11A after the etching process is preferably 15 ⁇ m or more and 70 ⁇ m or less.
  • the thickness of the porous portion 11B is designed according to the required withstand voltage and electrostatic capacitance, but it is preferably 10 ⁇ m or more and 180 ⁇ m or less when including the porous portions 11B on both sides of the core portion 11A.
  • the pore diameter of the porous portion 11B is preferably 10 nm or more and 600 nm or less.
  • the pore diameter of the porous portion 11B means the median diameter D50 measured by a mercury porosimeter.
  • the pore diameter of the porous portion 11B can be controlled, for example, by adjusting various etching conditions.
  • the dielectric layer 13 provided on the surface of the porous portion 11B is porous, reflecting the surface condition of the porous portion 11B, and has a finely uneven surface shape.
  • the dielectric layer 13 is preferably made of an oxide film of the valve metal.
  • the dielectric layer 13 made of an oxide film can be formed by anodizing the surface of the aluminum foil in an aqueous solution containing ammonium adipate or the like (also called chemical conversion treatment).
  • the thickness of the dielectric layer 13 is designed according to the required withstand voltage and capacitance, but is preferably 10 nm or more and 100 nm or less.
  • Materials constituting the solid electrolyte layer 12A contained in the cathode layer 12 include, for example, conductive polymers such as polypyrroles, polythiophenes, and polyanilines. Among these, polythiophenes are preferred, and poly(3,4-ethylenedioxythiophene), also known as PEDOT, is particularly preferred.
  • the conductive polymer may also contain a dopant such as polystyrene sulfonate (PSS).
  • PSS polystyrene sulfonate
  • the solid electrolyte layer 12A preferably includes an inner layer that fills the pores (recesses) of the dielectric layer 13, and an outer layer that covers the dielectric layer 13.
  • the thickness of the solid electrolyte layer 12A from the surface of the porous portion 11B is preferably 2 ⁇ m or more and 20 ⁇ m or less.
  • the solid electrolyte layer 12A is formed, for example, by a method of forming a polymerized film of poly(3,4-ethylenedioxythiophene) or the like on the surface of the dielectric layer 13 using a treatment liquid containing a monomer such as 3,4-ethylenedioxythiophene, or by applying a dispersion of a polymer such as poly(3,4-ethylenedioxythiophene) to the surface of the dielectric layer 13 and drying it.
  • the solid electrolyte layer 12A can be formed in a predetermined area by applying the above-mentioned treatment liquid or dispersion liquid to the surface of the dielectric layer 13 by a method such as sponge transfer, screen printing, dispenser application, or inkjet printing.
  • the conductor layer 12B includes at least one of a conductive resin layer and a metal layer.
  • the conductor layer 12B may be only a conductive resin layer or only a metal layer. It is preferable that the conductor layer 12B covers the entire surface of the solid electrolyte layer 12A.
  • the conductive resin layer may be, for example, a conductive adhesive layer containing at least one conductive filler selected from the group consisting of silver filler, copper filler, nickel filler, and carbon filler.
  • the metal layer examples include metal plating films and metal foils.
  • the metal layer is preferably made of at least one metal selected from the group consisting of nickel, copper, silver, and alloys containing these metals as the main components.
  • the term "main component" refers to the elemental component with the largest weight ratio.
  • the conductive layer 12B includes, for example, a carbon layer provided on the surface of the solid electrolyte layer 12A and a copper layer provided on the surface of the carbon layer.
  • the carbon layer is provided to electrically and mechanically connect the solid electrolyte layer 12A and the copper layer.
  • the carbon layer can be formed in a predetermined area by applying carbon paste to the surface of the solid electrolyte layer 12A by sponge transfer, screen printing, dispenser application, inkjet printing, or other methods.
  • the thickness of the carbon layer is preferably 2 ⁇ m or more and 20 ⁇ m or less.
  • the copper layer can be formed in a predetermined area by applying copper paste to the surface of the carbon layer by sponge transfer, screen printing, spray application, dispenser application, inkjet printing, or other methods.
  • the thickness of the copper layer is preferably 2 ⁇ m or more and 20 ⁇ m or less.
  • the sealing layer 20 preferably contains an insulating resin.
  • the sealing layer 20 further contains an inorganic filler.
  • inorganic fillers contained in the sealing layer 20 include silica particles, alumina particles, etc.
  • a layer such as a stress relief layer or a moisture-proof film may be provided.
  • An insulating mask layer may be provided around the first through-hole conductor 41 or the second through-hole conductor 42 on at least one of the main surfaces of the anode plate 11. Also, an insulating mask layer may be provided around the cathode layer 12 on at least one of the main surfaces of the anode plate 11.
  • the insulating mask layer is made of an insulating material. In this case, it is preferable that the insulating mask layer is made of an insulating resin.
  • Examples of insulating resins constituting the insulating mask layer include polyphenylsulfone resin, polyethersulfone resin, cyanate ester resin, fluororesin (tetrafluoroethylene, tetrafluoroethylene-perfluoroalkylvinylether copolymer, etc.), polyimide resin, polyamideimide resin, epoxy resin, and derivatives or precursors thereof.
  • the insulating mask layer may be made of the same resin as the sealing layer 20. Unlike the sealing layer 20, if the insulating mask layer contains inorganic filler, this may adversely affect the effective capacitance portion of the capacitor section 10, so it is preferable that the insulating mask layer is made of a resin alone.
  • the insulating mask layer can be formed in a predetermined area by applying a mask material, such as a composition containing an insulating resin, to the surface of the porous portion 11B by a method such as sponge transfer, screen printing, dispenser application, or inkjet printing.
  • a mask material such as a composition containing an insulating resin
  • the insulating mask layer may be formed on the porous portion 11B either before the dielectric layer 13 is formed or after the dielectric layer 13 is formed.
  • the first external electrode layer 31 is electrically connected to the cathode layer 12.
  • the first external electrode layer 31 is provided on the surface of the first through-hole conductor 41, and functions as a connection terminal of the capacitor section 10.
  • the constituent material of the first external electrode layer 31 may be, for example, a metal material containing a low-resistance metal such as silver, gold, or copper.
  • the first external electrode layer 31 is formed, for example, by plating the surface of the first through-hole conductor 41.
  • a mixed material of at least one conductive filler selected from the group consisting of silver filler, copper filler, nickel filler, and carbon filler, and resin may be used as the constituent material of the first external electrode layer 31.
  • the second external electrode layer 32 is electrically connected to the anode plate 11.
  • the second external electrode layer 32 is provided on the surface of the second through-hole conductor 42, and functions as a connection terminal for the capacitor section 10.
  • the second external electrode layer 32 is electrically connected to the anode plate 11 via the second through-hole conductor 42, and functions as a connection terminal for the anode plate 11.
  • the second external electrode layer 32 may be made of a metal material containing a low-resistance metal such as silver, gold, or copper.
  • the second external electrode layer 32 is formed by, for example, plating the surface of the second through-hole conductor 42.
  • a mixed material of at least one conductive filler selected from the group consisting of silver filler, copper filler, nickel filler, and carbon filler and resin may be used as the constituent material of the second external electrode layer 32.
  • the constituent materials of the first external electrode layer 31 and the second external electrode layer 32 are preferably the same as each other at least in terms of type, but may be different from each other.
  • each capacitor section When multiple capacitor sections are arranged in the planar direction, each capacitor section may be provided with a first external electrode layer 31 electrically connected to the cathode layer 12 and a second external electrode layer 32 electrically connected to the anode plate 11, and at least one of the first external electrode layer 31 and the second external electrode layer 32 may be provided in common among the multiple capacitor sections.
  • the first external electrode layer 31 may be provided on both main surfaces of the sealing layer 20, or may be provided on only one main surface of the sealing layer 20.
  • the second external electrode layer 32 may be provided on both main surfaces of the sealing layer 20, or may be provided on only one main surface of the sealing layer 20.
  • the first external electrode layer 31 and the second external electrode layer 32 may be provided on the same main surface of the sealing layer 20, or may be provided on different main surfaces.
  • one of the first external electrode layer 31 and the second external electrode layer 32 may be provided on both main surfaces of the sealing layer 20, and the other may be provided on only one main surface of the sealing layer 20.
  • the first through-hole conductor 41 When the first through-hole conductor 41 is electrically connected to the cathode layer 12 on the inner wall surface of the first through hole 51, it is preferable that the first through-hole conductor 41 is electrically connected to the end surface of the conductive layer 12B that faces the inner wall surface of the first through hole 51 in the planar direction. As a result, the cathode layer 12 is electrically led out to the outside via the first through-hole conductor 41.
  • the first through-hole conductor 41 is electrically connected to the conductive layer 12B around the entire circumference of the first through hole 51.
  • the connection resistance between the conductive layer 12B and the first through-hole conductor 41 tends to decrease, and therefore the equivalent series resistance (ESR) tends to decrease.
  • the second through-hole conductor 42 is electrically connected to the anode plate 11 on the inner wall surface of the second through hole 52, it is preferable that the second through-hole conductor 42 is electrically connected to the end surface of the anode plate 11 that faces the inner wall surface of the second through hole 52 in the surface direction. As a result, the anode plate 11 is electrically led out to the outside via the second through-hole conductor 42.
  • the core portion 11A and the porous portion 11B are exposed on the end face of the anode plate 11 that is electrically connected to the second through-hole conductor 42.
  • the porous portion 11B as well as the core portion 11A are electrically connected to the second through-hole conductor 42.
  • the second through-hole conductor 42 is electrically connected to the anode plate 11 around the entire circumference of the second through hole 52.
  • the connection resistance between the anode plate 11 and the second through-hole conductor 42 tends to decrease, and therefore the equivalent series resistance (ESR) tends to decrease.
  • the first through-hole conductor 41 is formed, for example, as follows. First, a through hole penetrating the capacitor section 10 in the thickness direction is formed by drilling, laser processing, etc. Next, the above-mentioned through hole is filled with an insulating material. The part filled with the insulating material is drilled, laser processing, etc. to form the first through hole 51. At this time, the diameter of the first through hole 51 is made smaller than the diameter of the through hole filled with the insulating material, so that the insulating material is present between the inner wall surface of the previously formed through hole and the inner wall surface of the first through hole 51 in the surface direction.
  • the inner wall surface of the first through hole 51 is metallized with a metal material containing a low-resistance metal such as copper, gold, or silver, thereby forming the first through-hole conductor 41.
  • a metal material containing a low-resistance metal such as copper, gold, or silver
  • the inner wall surface of the first through hole 51 can be metallized with electroless copper plating, electrolytic copper plating, etc., to facilitate processing.
  • the method of forming the first through-hole conductor 41 may be a method of filling the first through-hole 51 with a metal material, a composite material of metal and resin, or the like, in addition to a method of metallizing the inner wall surface of the first through-hole 51.
  • the second through-hole conductor 42 is formed, for example, as follows. First, the second through-hole 52 is formed by drilling, laser processing, or the like, penetrating the capacitor section 10 and the sealing layer 20 in the thickness direction. Then, the inner wall surface of the second through-hole 52 is metallized with a metal material containing a low-resistance metal such as copper, gold, or silver, to form the second through-hole conductor 42. When forming the second through-hole conductor 42, for example, the inner wall surface of the second through-hole 52 is metallized with an electroless copper plating process, an electrolytic copper plating process, or the like, to facilitate processing.
  • a metal material containing a low-resistance metal such as copper, gold, or silver
  • the method of forming the second through-hole conductor 42 may be a method of filling the second through-hole 52 with a metal material, a composite material of metal and resin, or the like, in addition to a method of metallizing the inner wall surface of the second through-hole 52.
  • An anode connection layer may be provided between the anode plate 11 and the second through-hole conductor 42 in the planar direction.
  • the anode plate 11 and the second through-hole conductor 42 may be electrically connected via the anode connection layer.
  • the anode connection layer functions as a barrier layer for the anode plate 11, more specifically, as a barrier layer for the core portion 11A and the porous portion 11B.
  • the anode connection layer functions as a barrier layer for the anode plate 11
  • dissolution of the anode plate 11 that occurs during chemical treatment to form external electrode layers such as the second external electrode layer 32 is suppressed, and thus the infiltration of the chemical solution into the capacitor portion 10 is suppressed, which tends to improve reliability.
  • the anode connection layer preferably includes a layer mainly composed of nickel. In this case, damage to the metal (e.g., aluminum) constituting the anode plate 11 is reduced, and the barrier properties of the anode connection layer against the anode plate 11 are easily improved.
  • the metal e.g., aluminum
  • an anode connection layer does not have to be provided between the anode plate 11 and the second through-hole conductor 42 in the surface direction.
  • the second through-hole conductor 42 may be directly connected to the end surface of the anode plate 11.
  • Examples of materials that can be used to form the via conductors 70 include metal materials that contain low-resistance metals such as silver, gold, and copper.
  • the via conductor 70 is formed, for example, by plating the inner wall surface of a via hole that penetrates the sealing layer 20 in the thickness direction with the metal material described above, or by filling it with a conductive paste and then performing a heat treatment.
  • the capacitor element of the present invention is not limited to the above embodiment, and various applications and modifications can be made within the scope of the present invention with respect to the configuration of the capacitor element, manufacturing conditions, etc.
  • the conductive layer in the first capacitor layer that faces the second capacitor layer may be the same as the conductive layer in the second capacitor layer that faces the first capacitor layer.
  • the capacitor section may include three or more capacitor layers.
  • the capacitor section may further include a third capacitor layer that faces the first capacitor layer in the thickness direction on the side opposite the second capacitor layer.
  • the conductive layer in the first capacitor layer that faces the third capacitor layer is the same as the conductive layer in the third capacitor layer that faces the first capacitor layer.
  • the capacitor section may further include a fourth capacitor layer that faces the second capacitor layer in the thickness direction on the side opposite the first capacitor layer. In this case, it is preferable that the conductive layer in the second capacitor layer that faces the fourth capacitor layer is the same as the conductive layer in the fourth capacitor layer that faces the second capacitor layer.
  • a capacitor section that includes only one of the first capacitor layer and the second capacitor layer may be included.
  • the capacitor element of the present invention can be suitably used as a constituent material of a composite electronic component.
  • a composite electronic component includes, for example, the capacitor element of the present invention, an external electrode layer provided on the surface of the sealing layer of the capacitor element and electrically connected to each of the anode plate and cathode layer of the capacitor element, and an electronic component connected to the external electrode layer.
  • the electronic component connected to the external electrode layer may be a passive element or an active element. Both the passive element and the active element may be connected to the external electrode layer, or either the passive element or the active element may be connected to the external electrode layer. Also, a composite of a passive element and an active element may be connected to the external electrode layer.
  • Passive elements include, for example, inductors. Active elements include memory, GPUs (Graphical Processing Units), CPUs (Central Processing Units), MPUs (Micro Processing Units), PMICs (Power Management ICs), etc.
  • the capacitor element of the present invention has a sheet-like shape overall. Therefore, in a composite electronic component, the capacitor element can be treated like a mounting board, and electronic components can be mounted on the capacitor element. Furthermore, by making the electronic components to be mounted on the capacitor element into a sheet-like shape, it is also possible to connect the capacitor element and the electronic components in the thickness direction via through-hole conductors that penetrate each electronic component in the thickness direction. As a result, the active elements and passive elements can be configured like a single module.
  • a switching regulator can be formed by electrically connecting the capacitor element of the present invention between a voltage regulator including a semiconductor active element and a load to which the converted DC voltage is supplied.
  • a circuit layer may be formed on one side of a capacitor matrix sheet on which a plurality of capacitor elements of the present invention are laid out, and the capacitor elements may then be connected to passive or active elements.
  • the capacitor element of the present invention may be placed in a cavity portion previously provided in a substrate, embedded in resin, and then a circuit layer may be formed on the resin.
  • Another electronic component passive element or active element
  • the capacitor element of the present invention may be mounted on a smooth carrier such as a wafer or glass, an outer layer made of resin may be formed, a circuit layer may be formed, and then the capacitor element may be connected to a passive or active element.
  • a capacitor section including a first capacitor layer and a second capacitor layer opposed to each other in a thickness direction; a sealing layer provided so as to cover at least one main surface of the capacitor portion, each of the first capacitor layer and the second capacitor layer includes an anode plate having a porous portion on at least one main surface of a core portion, a dielectric layer provided on a surface of the porous portion, and a cathode layer provided on a surface of the dielectric layer; the cathode layer includes a solid electrolyte layer provided on a surface of the dielectric layer and a conductor layer provided on the surface of the solid electrolyte layer, A capacitor element, wherein the conductive layer in the first capacitor layer facing the second capacitor layer is the same as the conductive layer in the second capacitor layer facing the first capacitor layer.
  • ⁇ 2> a first external electrode layer provided on at least one main surface of the sealing layer so as to be electrically connected to the cathode layer of the first capacitor layer and the cathode layer of the second capacitor layer;
  • a capacitor element described in ⁇ 2> wherein, when viewed in a plane from the thickness direction, the area of the first external electrode layer provided on either one of the main surfaces of the sealing layer, of a portion of the first external electrode layer that overlaps with the same conductive layer, is 50% or more of the area of the same conductive layer.
  • ⁇ 4> a first through-hole conductor provided on at least an inner wall surface of a first through hole penetrating the capacitor portion and the sealing layer in the thickness direction, the first through-hole conductor being electrically connected to the first external electrode layer,
  • ⁇ 5> a first external electrode layer provided on at least one main surface of the sealing layer so as to be electrically connected to the cathode layer of the first capacitor layer and the cathode layer of the second capacitor layer; a second external electrode layer provided on at least one main surface of the sealing layer so as to be electrically connected to the anode plate of the first capacitor layer and the anode plate of the second capacitor layer;
  • ⁇ 6> A capacitor element described in ⁇ 5>, wherein, when viewed in a plane from the thickness direction, the total area of all of the first external electrode layers and the second external electrode layers provided on either one of the main surfaces of the sealing layer is 50% or more of the area surrounded by the outer peripheral edge of the sealing layer.
  • ⁇ 7> a first through-hole conductor provided on at least an inner wall surface of a first through hole penetrating the capacitor portion and the sealing layer in the thickness direction, the first through-hole conductor being electrically connected to the first external electrode layer; a second through-hole conductor provided on at least an inner wall surface of a second through hole penetrating the capacitor portion and the sealing layer in the thickness direction, the second through-hole conductor being electrically connected to the second external electrode layer, the first through-hole conductor is electrically connected to the cathode layer of the first capacitor layer and the cathode layer of the second capacitor layer on an inner wall surface of the first through hole;
  • ⁇ 8> The capacitor element according to any one of ⁇ 1> to ⁇ 7>, wherein the first capacitor layer and the second capacitor layer have different areas of capacitance parts.

Landscapes

  • Engineering & Computer Science (AREA)
  • Power Engineering (AREA)
  • Microelectronics & Electronic Packaging (AREA)
  • Fixed Capacitors And Capacitor Manufacturing Machines (AREA)
PCT/JP2024/017758 2023-06-16 2024-05-14 コンデンサ素子 Pending WO2024257531A1 (ja)

Priority Applications (1)

Application Number Priority Date Filing Date Title
JP2024564550A JP7619540B1 (ja) 2023-06-16 2024-05-14 コンデンサ素子

Applications Claiming Priority (2)

Application Number Priority Date Filing Date Title
JP2023099239 2023-06-16
JP2023-099239 2023-06-16

Publications (1)

Publication Number Publication Date
WO2024257531A1 true WO2024257531A1 (ja) 2024-12-19

Family

ID=93852044

Family Applications (1)

Application Number Title Priority Date Filing Date
PCT/JP2024/017758 Pending WO2024257531A1 (ja) 2023-06-16 2024-05-14 コンデンサ素子

Country Status (2)

Country Link
JP (1) JP7619540B1 (enExample)
WO (1) WO2024257531A1 (enExample)

Citations (6)

* Cited by examiner, † Cited by third party
Publication number Priority date Publication date Assignee Title
JP2004158577A (ja) * 2002-11-05 2004-06-03 Japan Carlit Co Ltd:The 積層型大面積アルミ固体電解コンデンサの製造方法及び該方法によるコンデンサ
JP2007227716A (ja) * 2006-02-24 2007-09-06 Nichicon Corp 積層型固体電解コンデンサおよびその製造方法
JP2011035057A (ja) * 2009-07-30 2011-02-17 Nichicon Corp 積層型固体電解コンデンサ
WO2012042950A1 (ja) * 2010-09-29 2012-04-05 株式会社村田製作所 固体電解コンデンサ及びその製造方法
JP2012156468A (ja) * 2011-01-28 2012-08-16 Murata Mfg Co Ltd 固体電解コンデンサおよびその製造方法
JP2015043350A (ja) * 2011-12-20 2015-03-05 ルビコン・カーリット株式会社 デバイスおよびデバイスを製造する方法

Patent Citations (6)

* Cited by examiner, † Cited by third party
Publication number Priority date Publication date Assignee Title
JP2004158577A (ja) * 2002-11-05 2004-06-03 Japan Carlit Co Ltd:The 積層型大面積アルミ固体電解コンデンサの製造方法及び該方法によるコンデンサ
JP2007227716A (ja) * 2006-02-24 2007-09-06 Nichicon Corp 積層型固体電解コンデンサおよびその製造方法
JP2011035057A (ja) * 2009-07-30 2011-02-17 Nichicon Corp 積層型固体電解コンデンサ
WO2012042950A1 (ja) * 2010-09-29 2012-04-05 株式会社村田製作所 固体電解コンデンサ及びその製造方法
JP2012156468A (ja) * 2011-01-28 2012-08-16 Murata Mfg Co Ltd 固体電解コンデンサおよびその製造方法
JP2015043350A (ja) * 2011-12-20 2015-03-05 ルビコン・カーリット株式会社 デバイスおよびデバイスを製造する方法

Also Published As

Publication number Publication date
JPWO2024257531A1 (enExample) 2024-12-19
JP7619540B1 (ja) 2025-01-22

Similar Documents

Publication Publication Date Title
JP2024177594A (ja) 固体電解コンデンサ素子、コンデンサアレイ及び複合電子部品
US20240186072A1 (en) Capacitor element
US20250104933A1 (en) Capacitor element
JP2025119022A (ja) コンデンサ
JP7597277B2 (ja) コンデンサアレイ
JP7619540B1 (ja) コンデンサ素子
WO2025033238A1 (ja) コンデンサ素子
JP7619541B1 (ja) コンデンサ素子
JP7776019B2 (ja) コンデンサ素子
JP7622919B1 (ja) コンデンサ素子製造用基板及びコンデンサ素子の製造方法
JP7616492B2 (ja) コンデンサ素子
JP7722616B2 (ja) コンデンサアレイ
JP7697593B2 (ja) 固体電解コンデンサ及びコンデンサアレイ
US20250357053A1 (en) Capacitor element
JP7294563B1 (ja) コンデンサアレイ及びコンデンサアレイ集合体
JP7772256B2 (ja) コンデンサ内蔵基板
WO2025243714A1 (ja) コンデンサ素子
JP7729487B2 (ja) コンデンサアレイ
WO2025069676A1 (ja) コンデンサ素子
US20250273405A1 (en) Capacitor element
WO2024247589A1 (ja) コンデンサ素子
WO2025084069A1 (ja) コンデンサ内蔵基板
WO2024190398A1 (ja) コンデンサ素子

Legal Events

Date Code Title Description
WWE Wipo information: entry into national phase

Ref document number: 2024564550

Country of ref document: JP

121 Ep: the epo has been informed by wipo that ep was designated in this application

Ref document number: 24823153

Country of ref document: EP

Kind code of ref document: A1