WO2024190852A1 - ヘッドアップディスプレイ装置 - Google Patents

ヘッドアップディスプレイ装置 Download PDF

Info

Publication number
WO2024190852A1
WO2024190852A1 PCT/JP2024/009915 JP2024009915W WO2024190852A1 WO 2024190852 A1 WO2024190852 A1 WO 2024190852A1 JP 2024009915 W JP2024009915 W JP 2024009915W WO 2024190852 A1 WO2024190852 A1 WO 2024190852A1
Authority
WO
WIPO (PCT)
Prior art keywords
lens
display
light
head
display device
Prior art date
Legal status (The legal status is an assumption and is not a legal conclusion. Google has not performed a legal analysis and makes no representation as to the accuracy of the status listed.)
Pending
Application number
PCT/JP2024/009915
Other languages
English (en)
French (fr)
Japanese (ja)
Inventor
洋平 佐藤
航 齋藤
祥希 松本
裕 藤田
Current Assignee (The listed assignees may be inaccurate. Google has not performed a legal analysis and makes no representation or warranty as to the accuracy of the list.)
Nippon Seiki Co Ltd
Original Assignee
Nippon Seiki Co Ltd
Priority date (The priority date is an assumption and is not a legal conclusion. Google has not performed a legal analysis and makes no representation as to the accuracy of the date listed.)
Filing date
Publication date
Application filed by Nippon Seiki Co Ltd filed Critical Nippon Seiki Co Ltd
Priority to JP2025506919A priority Critical patent/JPWO2024190852A1/ja
Publication of WO2024190852A1 publication Critical patent/WO2024190852A1/ja
Anticipated expiration legal-status Critical
Pending legal-status Critical Current

Links

Images

Classifications

    • GPHYSICS
    • G02OPTICS
    • G02BOPTICAL ELEMENTS, SYSTEMS OR APPARATUS
    • G02B27/00Optical systems or apparatus not provided for by any of the groups G02B1/00 - G02B26/00, G02B30/00
    • G02B27/01Head-up displays

Definitions

  • This disclosure relates to a head-up display device.
  • the head-up display device described in Patent Document 1 displays a virtual image by emitting display light that represents an image toward the windshield of the vehicle.
  • This head-up display device includes a backlight unit that emits illumination light, and a display unit that receives the illumination light from the backlight unit and emits the display light.
  • This display unit includes a display panel that receives the illumination light and emits the display light, and a diffusion plate located on the back side of the display panel and diffusing the illumination light.
  • the orientation of the display panel is tilted in a direction perpendicular to the direction of travel of the illumination light, which creates a difference in the optical path length of the display light in the vertical direction, making it possible to make the orientation of the virtual image closer to parallel to the road surface.
  • the uniformity of the virtual image will decrease due to the difference in the optical path length of the display light.
  • This disclosure has been made in consideration of the above-mentioned circumstances, and aims to provide a head-up display device that can improve the uniformity of a virtual image.
  • the head-up display device includes a light source that emits illumination light, a lens through which the illumination light from the light source passes, a display that is oriented at a non-perpendicular angle to the direction in which the illumination light from the lens travels and receives the illumination light and emits display light, and a diffusion plate that is positioned non-parallel to the display and diffuses the illumination light from the lens and emits the diffused illumination light toward the display.
  • FIG. 1 is a schematic diagram of a head-up display device according to a first embodiment of the present disclosure.
  • 2 is a schematic cross-sectional view of a display unit according to the first embodiment of the present disclosure.
  • FIG. FIG. 11 is a schematic cross-sectional view of a display unit according to a comparative example.
  • FIG. 11 is a schematic cross-sectional view of a display unit according to a second embodiment of the present disclosure.
  • 5A and 5B are schematic cross-sectional views of display units according to a comparative example and a modified example of the present disclosure.
  • FIG. 11 is a perspective view of a second lens according to a second embodiment of the present disclosure.
  • FIG. 7 is an enlarged view of region E in FIG. 6.
  • FIG. 11 is a perspective view of a display unit according to a second embodiment of the present disclosure.
  • FIG. 11 is a perspective view of a display unit in a state where a light source board and a first lens according to a second embodiment of the present disclosure are removed.
  • 11 is a schematic cross-sectional view of a display unit according to a modified example of the present disclosure.
  • 11 is a schematic cross-sectional view of a display unit according to a modified example of the present disclosure.
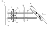
  • the head-up display device 100 is installed in the dashboard of a vehicle 200.
  • the head-up display device 100 emits display light L that displays an image toward a windshield 201, which is the front glass of the vehicle 200.
  • the display light L is reflected by the windshield 201 and reaches a viewer 1 (mainly the driver of the vehicle 200).
  • a virtual image V is displayed on a virtual image display surface K that is parallel to the road surface.
  • the head-up display device 100 includes a display unit 10, a folding mirror 20, a concave mirror 30, and a housing 60.
  • the housing 60 is made of non-translucent resin or metal and is a hollow, roughly rectangular parallelepiped. An opening is formed in the housing 60 at a position facing the windshield 201.
  • the housing 60 has a window 62 that covers the opening.
  • the window 62 is made of a translucent resin such as acrylic through which the display light L passes.
  • the display unit 10, concave mirror 30, and folding mirror 20 are housed within the housing 60.
  • the folding mirror 20 and the concave mirror 30 constitute an optical relay that guides the display light L from the display unit 10 to the windshield 201 .
  • the folding mirror 20 reflects the display light L from the display unit 10 toward the concave mirror 30.
  • the folding mirror 20 is a flat mirror. Note that the folding mirror 20 is not limited to a flat mirror, and may be a concave mirror.
  • the concave mirror 30 reflects the display light L from the display unit 10 toward the windshield 201 while magnifying the light.
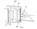
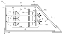
  • the display unit 10 includes a light source substrate 11 having a plurality of light sources 11 a , a display panel 12 , an illumination optical system 18 , a lens holder 16 , and a display panel holder 17 .
  • the illumination optical system 18 adjusts the illumination light IL from the light source 11a. Adjustment of the illumination light IL refers to collimating the illumination light IL, diffusing, scattering, or converging the illumination light IL.
  • the illumination optical system 18 includes a first lens 13, a second lens 14, and a diffuser plate 15.
  • the traveling direction of the illumination light IL emitted from the light source 11a is defined as the Z direction
  • the vehicle height direction is defined as the Y direction
  • the vehicle width direction is defined as the X direction.
  • the X direction is the longitudinal direction of each of the lenses 13 and 14
  • the Y direction is the lateral direction of each of the lenses 13 and 14.
  • the first lens 13, the second lens 14, and the diffusion plate 15 are aligned in the Z direction so as to be parallel to each other.
  • the lens holder 16 has a rectangular cylindrical shape that surrounds the periphery of the first lens 13, the second lens 14, and the diffusion plate 15, and holds the first lens 13, the second lens 14, and the diffusion plate 15 within the internal space of the lens holder 16.
  • the light sources 11 a are mounted on a surface of the light source substrate 11 facing the first lens 13 .
  • the first lens 13 is a condenser lens, and is formed into a plate shape from a light-transmitting resin or glass.
  • the first lens 13 has a function of approximately collimating each light beam of the illumination light IL emitted from each light source 11a in the Z direction.
  • the first lens 13 includes a plurality of convex lens portions 13a arranged in the X and Y directions. Each of the convex lens portions 13a is formed in a biconvex lens shape.
  • the plurality of convex lens portions 13a are arranged in a matrix in one-to-one correspondence with the plurality of light sources 11a.
  • the second lens 14 is a light distribution lens that expands the illumination light IL, which has been approximately collimated by the first lens 13, to fit the display area of the display panel 12, and is formed in a plate shape from translucent resin or glass.
  • the second lens 14 has a light entrance surface 14i where light enters, and a light exit surface 14o from which light that has passed through the second lens 14 in its thickness direction exits.
  • a cylindrical lens array that extends in the Y direction and is aligned in the X direction is formed on the light entrance surface 14i.
  • a toroidal surface having different curvatures in the X and Y directions is formed on the light exit surface 14o.
  • the diffuser plate 15 diffuses the illumination light IL from the second lens 14 and radiates it toward the display panel 12 in order to suppress unevenness in light intensity.
  • the diffuser plate 15 faces the light exit surface 14o of the second lens 14.
  • the display panel 12 is a TFT (Thin Film Transistor) type liquid crystal display panel. Under the control of a control unit (not shown), the display panel 12 receives illumination light IL that has passed through a diffusion plate 15 and emits display light L. The display panel 12 is oriented non-perpendicular to the traveling direction of the illumination light IL and non-parallel to the diffusion plate 15.
  • the diffuser plate 15 includes a first portion 15a optically corresponding to the upper portion of the virtual image display surface K as viewed by the viewer, and a second portion 15b optically corresponding to the lower portion of the virtual image display surface K as viewed by the viewer.
  • the orientation of the display panel 12 is set so that the distance D in the Z direction between the first portion 15a of the diffuser plate 15 and the display panel 12 is smaller than the distance D in the Z direction between the second portion 15b of the diffuser plate 15 and the display panel 12.
  • the distance between the display panel 12 and the reflecting surface of the folding mirror 20 differs in the surface direction of the display panel 12, which causes a difference in the optical path length from the display panel 12 to the upper end and the lower end of the virtual image display surface K.
  • the lower end of the virtual image display surface K tilts forward as viewed by the viewer 1, and the upper end of the virtual image display surface K tilts backward. This allows the virtual image display surface K to be parallel to the road surface.
  • the display panel holder 17 is attached to the lens holder 16 while holding the display panel 12 so as to surround the outer periphery of the display panel 12.
  • the diffusion plate 115 of the display unit 110 is provided parallel to the display panel 12.
  • the distance D between the diffusion plate 115 and the display panel 12 is constant.
  • the virtual image luminance of the upper half area of the virtual image display surface K is higher than the virtual image luminance of the lower half area of the virtual image display surface K. Therefore, the uniformity of the virtual image V is low.
  • the second portion 15b of the diffuser 15 has a greater distance D from the display panel 12 than the first portion 15a of the diffuser 15.
  • the average distance D between the diffuser 15 and the display panel 12 is greater than the distance D between the diffuser 115 according to the comparative example and the display panel 12.
  • the degree of diffusion of the illumination light IL increases, which contributes to dispersing the luminance bias. Therefore, the virtual images in the lower half and upper half of the virtual image display surface K are uniformed, and the uniformity of the virtual image V is improved.
  • the head-up display device 100 that displays a virtual image V includes a light source 11a that emits illumination light IL, a second lens 14 that is an example of a lens through which the illumination light IL from the light source 11a passes, a display panel 12 that is an example of a display that is arranged in an orientation that is non-perpendicular to the direction of propagation of the illumination light IL from the second lens 14 and receives the illumination light IL and emits display light L, and a diffuser plate 15 that is arranged non-parallel to the display panel 12 and diffuses the illumination light IL from the second lens 14 and emits the diffused illumination light IL toward the display panel 12.
  • the diffuser plate 15 is disposed non-parallel to the display panel 12. Therefore, the distance D between the diffuser plate 15 and the display panel 12 can be adjusted according to the position of the display panel 12 in the surface direction, thereby adjusting the degree of diffusion of the illumination light IL in the surface direction of the display panel 12 until it reaches the display panel 12. Since the degree of diffusion of the illumination light IL affects the luminance of the virtual image V, the uniformity of the virtual image V can be improved.
  • the diffusion plate 15 is disposed parallel to the light source substrate 11 on which the light source 11a is mounted. According to this configuration, there is no need to dispose the diffusion plate 15 in a different direction from the light source substrate 11, so the configuration is unlikely to become complicated.
  • the head-up display device 100 is mounted on a vehicle 200, and projects display light L from the display panel 12 onto a windshield 201 to display a virtual image V on a virtual image display surface K parallel to the road surface.
  • the diffusion plate 15 includes a first portion 15a optically corresponding to an upper portion of the virtual image display surface K as seen by the viewer, and a second portion 15b optically corresponding to a lower portion of the virtual image display surface K as seen by the viewer.
  • the diffusion plate 15 is disposed in an orientation such that the first portion 15a is closer to the display panel 12 at a distance D than the second portion 15b.
  • the orientation of the diffuser 15 with respect to the display panel 12 prevents the virtual image luminance in the upper half of the virtual image display surface K from becoming higher than the virtual image luminance in the lower half of the virtual image display surface K.
  • the uniformity of the virtual image V can be improved.
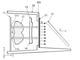
  • the lens holder 86 of the display unit 210 includes a cylinder portion 86a, a holder frame portion 86b, a panel support portion 86c, and a plurality of lens locking hook portions 86f.
  • the lens holder 86 is made of a light-shielding resin.
  • the cylinder portion 86 a has a rectangular cylindrical shape that surrounds the periphery of each of the light source substrate 11 , the first lens 13 , the second lens 14 and the diffusion plate 15 .
  • the holder frame 86b is located at the end of the tube 86a on the display panel 12 side, and is formed in a rectangular frame plate shape extending toward the inner periphery of the tube 86a.
  • the holder frame 86b opens toward the display panel 12 and has an opening hole through which the illumination light transmitted through the diffusion plate 15 passes.
  • the inner surface of the holder frame 86b (the surface on the light source substrate 11 side) is in contact with the outer periphery of the diffusion plate 15.
  • the panel support portion 86c is located on the outer surface of the holder frame portion 86b (the surface facing the display panel 12) and has a rectangular tubular shape with an inclined tip.
  • the tip of the panel support portion 86c supports the display panel 12 in a direction not perpendicular to the Z direction.
  • the lens locking hook portions 86f lock onto the second lens 84 so as to press the second lens 84 against the holder frame portion 86b.
  • the lens locking hook portions 86f (two in this example) are located within the tube portion 86a, extend toward the light source board 11, and are formed to be elastically deformable in the Y direction.
  • the tip portion of each lens locking hook portion 86f hooks onto a hook receiving portion 84f (described later) of the second lens 84.
  • the second lens 84 includes a lens body 84a, a lens frame 84b, and a hook receiving portion 84f.
  • the lens body 84a includes a light entrance surface 84i on which a cylindrical lens array is formed, and a light exit surface 84o on which a toroidal surface is formed.
  • the lens frame 84b is formed integrally with the lens body 84a around the periphery of the lens body 84a.
  • the lens frame 84b is formed as a side wall surrounding the light exit surface 84o.
  • the lens frame 84b includes a diffusion plate holding surface 84c which is an end surface on the side in the traveling direction of the illumination light IL.
  • the second lens 84 has grooves 84d and 84e.
  • the grooves 84d and 84e are formed in a U-shaped groove shape with respect to the light exit surface 84o over the entire area between the lens frame 84b and the light exit surface 84o.
  • the grooves 84d and 84e are formed to collect dust.
  • the two grooves 84d are parallel to each other and extend in the X direction.
  • the two grooves 84e are parallel to each other and extend in the Y direction so as to connect both ends of the two grooves 84d.
  • the groove width W of each groove 84d is formed to increase from the center of the light exit surface 84o in the X direction toward the outside. In other words, the groove width W of each groove 84d is narrowed near the center of the light exit surface 84o.
  • the groove width of the groove 84e is formed to be constant.
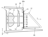
  • the display panel holder 17 has a plurality of holder locking hook portions 17a that lock onto the lens holder 86.
  • the lens holder 86 has a plurality of fitting portions 86d into which the holder locking hook portions 17a fit.
  • the fitting portions 86d have holes that penetrate in the Z direction through which the holder locking hook portions 17a can be inserted. When the holder locking hook portions 17a are inserted into these holes, the tips of the holder locking hook portions 17a hook onto the fitting portions 86d.
  • the first lens 13 also has a holding portion 13b formed on the outer periphery of the first lens 13.
  • the lens holder 86 has a housing portion 86e that houses the holding portion 13b. When housed in the housing portion 86e, the holding portion 13b is held between the housing portion 86e and a heat sink (not shown).
  • the second lens 84 has a plurality of hook receiving portions 84f.
  • the plurality of hook receiving portions 84f are located on the outer periphery of the light incident surface 84i of the lens body portion 84a.
  • the plurality of hook receiving portions 84f two in this example, are arranged in the X direction on the upper portion of the light incident surface 84i of the lens body portion 84a.
  • Each hook receiving portion 84f is convex toward the light source board 11.
  • the head-up display device 100 includes a lens holder 86, which is an example of a holder that houses the second lens 84.
  • the lens holder 86 includes a holder frame portion 86b having an opening through which the illumination light IL passes toward the display panel 12.
  • the outer periphery of the diffusion plate 15 is disposed to face a surface of the holder frame portion 86b that is closer to the light source 11a.
  • the diffuser plate 15 when the diffuser plate 15 is installed on the surface of the holder frame portion 86b closer to the display panel 12 as shown in Figure 5, illumination light is also irradiated towards the display panel 12 from the outer peripheral edge of the diffuser plate 15, and the inner peripheral edge of the holder frame portion 86b located behind this outer peripheral edge is reflected as a shadow in the virtual image V, which may reduce the display quality of the virtual image V.
  • the diffusion plate 15 is disposed so as to face the surface of the holder frame 86b that is closer to the light source 11a.
  • the outer periphery of the diffusion plate 15 is hidden by the holder frame 86b, and the illumination light that travels from the outer periphery of the diffusion plate 15 toward the display panel 12 is blocked by the holder frame 86b.
  • the diffusion plate 15 can be accommodated within the lens holder 86, there is no need to provide a space outside the lens holder 86 for accommodating the diffusion plate 15. This allows the structure of the lens holder 86 to be simplified.
  • the second lens 84 comprises a lens body portion 84a through which the illumination light IL from the light source 11a passes, and a lens frame portion 84b formed to surround the periphery of the lens body portion 84a and holding the diffuser plate 15 in the holder frame portion 86b by pressing the outer periphery of the diffuser plate 15 toward the holder frame portion 86b.
  • a separate configuration for holding the diffusion plate 15 on the holder frame portion 86b is not required, and the configuration is simplified. Also, assembly of the head-up display device 100 is simplified.
  • the second lens 84 has grooves 84d and 84e formed in a concave shape between the light exit surface 84o of the lens body 84a and the lens frame 84b. According to this configuration, dust generated during assembly of the head-up display device 100 or during vibration of the head-up display device 100 can be collected in the grooves 84d and 84e. This prevents dust from adhering to the light exit surface 84o, and the display quality of the virtual image V can be maintained.
  • the groove width W of the groove portion 84d is formed to increase with increasing distance from the center of the light exit surface 84o. According to this configuration, the adhesion of dust near the center of the light exit surface 84o is suppressed, and the display quality of the central portion where the virtual image V is most likely to be visible can be maintained.
  • the lens frame 84b is integrally formed with the lens body 84a, but may be formed separately from the lens body 84a.
  • the lens body 84a which is separate from the lens frame 84b, has a rectangular tubular shape capable of housing the lens body 84a therein.
  • the diffuser 15 is disposed so as to contact the surface of the holder frame 86b close to the light source 11a, but this is not limiting and may be disposed on the surface of the holder frame 86b close to the display panel 12 as shown in Fig. 11.
  • a tubular member 90 through which the illumination light IL passes through the internal space may be provided between the holder frame 86b and the display panel 12.
  • the tubular member 90 prevents the end of the inner periphery of the holder frame 86b from being reflected as a shadow on the virtual image V. This improves the display quality of the virtual image V.
  • the diffusion plate 15 may be fixed to the surface of the holder frame portion 86b closer to the display panel 12 using light-blocking double-sided tape or adhesive, thereby preventing shadows from being reflected on the virtual image V.
  • the groove width W of the groove 84d is gradually increased from the center in the X direction of the light exit surface 84o toward the outside, but the present invention is not limited to this, and the groove width W may be increased in a step-like manner from the center in the X direction of the light exit surface 84o toward the outside. Also, the center of the X direction of the light exit surface 84o of the groove 84d may be omitted.
  • the groove width of the groove portion 84e is formed to be constant, but it may be formed so that the groove width increases gradually or in a step-like manner from the center of the light exit surface 84o in the Y direction toward the outside. Furthermore, at least one of the grooves 84d and 84e may be omitted.
  • the second lens 84 is held in the lens holder 86 by the lens retaining hook portion 86f of the lens holder 86, but the lens retaining hook portion 86f may be omitted.
  • the second lens 84 may have a retaining portion 84g that retains the lens holder 86.
  • the retaining portion 84g is formed in a convex shape on the outer circumferential surface of the lens frame portion 84b.
  • the cylindrical portion 86a of the lens holder 86 has a retaining hole 86h into which the retaining portion 84g fits.
  • the retaining portion 84g is provided at a position closer to the display panel 12 than the light exit surface 84o. This allows the retaining portion 84g to be positioned outside the visible region R, and prevents the retaining portion 84g and the retaining hole 86h from being reflected in the virtual image V.
  • the folding mirror 20 may be omitted.
  • the illumination optical system 18 includes two lenses 13 and 14, but the number of lenses may be one or three or more.
  • the type and shape of the lenses that constitute the illumination optical system 18 can be changed as appropriate.
  • the virtual image display surface K is parallel to the road surface, but it does not have to be parallel to the road surface.
  • the head-up display device 100 is mounted on the vehicle 200 , but it may be mounted on a vehicle other than the vehicle 200 .

Landscapes

  • Physics & Mathematics (AREA)
  • General Physics & Mathematics (AREA)
  • Optics & Photonics (AREA)
  • Instrument Panels (AREA)
PCT/JP2024/009915 2023-03-15 2024-03-14 ヘッドアップディスプレイ装置 Pending WO2024190852A1 (ja)

Priority Applications (1)

Application Number Priority Date Filing Date Title
JP2025506919A JPWO2024190852A1 (enExample) 2023-03-15 2024-03-14

Applications Claiming Priority (2)

Application Number Priority Date Filing Date Title
JP2023040405 2023-03-15
JP2023-040405 2023-03-15

Publications (1)

Publication Number Publication Date
WO2024190852A1 true WO2024190852A1 (ja) 2024-09-19

Family

ID=92755283

Family Applications (1)

Application Number Title Priority Date Filing Date
PCT/JP2024/009915 Pending WO2024190852A1 (ja) 2023-03-15 2024-03-14 ヘッドアップディスプレイ装置

Country Status (2)

Country Link
JP (1) JPWO2024190852A1 (enExample)
WO (1) WO2024190852A1 (enExample)

Citations (3)

* Cited by examiner, † Cited by third party
Publication number Priority date Publication date Assignee Title
JP2017181645A (ja) * 2016-03-29 2017-10-05 株式会社デンソー ヘッドアップディスプレイ装置
JP2019061128A (ja) * 2017-09-27 2019-04-18 株式会社ジャパンディスプレイ 表示装置およびヘッドアップ表示装置
WO2020194829A1 (ja) * 2019-03-28 2020-10-01 マクセル株式会社 ヘッドアップディスプレイ

Patent Citations (3)

* Cited by examiner, † Cited by third party
Publication number Priority date Publication date Assignee Title
JP2017181645A (ja) * 2016-03-29 2017-10-05 株式会社デンソー ヘッドアップディスプレイ装置
JP2019061128A (ja) * 2017-09-27 2019-04-18 株式会社ジャパンディスプレイ 表示装置およびヘッドアップ表示装置
WO2020194829A1 (ja) * 2019-03-28 2020-10-01 マクセル株式会社 ヘッドアップディスプレイ

Also Published As

Publication number Publication date
JPWO2024190852A1 (enExample) 2024-09-19

Similar Documents

Publication Publication Date Title
KR101274891B1 (ko) 화면에 화상을 투영하기 위한 헤드업 디스플레이 장치
CN103460114B (zh) 平视显示装置
CN105492958B (zh) 背光单元及显示装置
US10473928B2 (en) Backlight unit and head-up display device
US20100225833A1 (en) Head-Up Display and Vehicle
CN106716228A (zh) 平视显示装置
US9046630B2 (en) Optical sheet and backlight assembly having the same
WO2016208378A1 (ja) 液晶表示装置
CN111722402A (zh) 平视显示器装置
KR20130051133A (ko) 액정패널조립체 및 그를 구비한 액정 디스플레이 장치
CN115769020A (zh) 面状照明装置
JP2016180922A (ja) ヘッドアップディスプレイ装置
JP2020160293A (ja) ヘッドアップディスプレイ装置
WO2024190852A1 (ja) ヘッドアップディスプレイ装置
KR102890256B1 (ko) 면형상 조명 장치
US8388160B2 (en) Backlight device, display device, and television receiver
US12504659B2 (en) Planar illumination device with local dimming
WO2021246001A1 (ja) 表示装置、ヘッドアップディスプレイ、および移動体
JP7667846B2 (ja) テーパ状の反射カップアレイを備えたバックライト付きディスプレイデバイス
CN220473724U (zh) 扩散部件、显示装置、平视显示器装置及交通工具
CN223377553U (zh) 显示装置及平视显示装置
CN115202048B (zh) 车辆用显示装置
JPH0534686A (ja) 面照明装置
JP2025009823A (ja) ヘッドアップディスプレイ装置
JP2022160993A (ja) 車両用表示装置

Legal Events

Date Code Title Description
121 Ep: the epo has been informed by wipo that ep was designated in this application

Ref document number: 24770955

Country of ref document: EP

Kind code of ref document: A1

ENP Entry into the national phase

Ref document number: 2025506919

Country of ref document: JP

Kind code of ref document: A

WWE Wipo information: entry into national phase

Ref document number: 2025506919

Country of ref document: JP