WO2022249595A1 - 光電変換素子および撮像装置 - Google Patents

光電変換素子および撮像装置 Download PDF

Info

Publication number
WO2022249595A1
WO2022249595A1 PCT/JP2022/007406 JP2022007406W WO2022249595A1 WO 2022249595 A1 WO2022249595 A1 WO 2022249595A1 JP 2022007406 W JP2022007406 W JP 2022007406W WO 2022249595 A1 WO2022249595 A1 WO 2022249595A1
Authority
WO
WIPO (PCT)
Prior art keywords
photoelectric conversion
layer
electrode
blocking layer
light
Prior art date
Legal status (The legal status is an assumption and is not a legal conclusion. Google has not performed a legal analysis and makes no representation as to the accuracy of the status listed.)
Ceased
Application number
PCT/JP2022/007406
Other languages
English (en)
French (fr)
Japanese (ja)
Inventor
陽介 齊藤
湧士郎 中込
雅人 菅野
Current Assignee (The listed assignees may be inaccurate. Google has not performed a legal analysis and makes no representation or warranty as to the accuracy of the list.)
Sony Semiconductor Solutions Corp
Sony Group Corp
Original Assignee
Sony Semiconductor Solutions Corp
Sony Group Corp
Priority date (The priority date is an assumption and is not a legal conclusion. Google has not performed a legal analysis and makes no representation as to the accuracy of the date listed.)
Filing date
Publication date
Application filed by Sony Semiconductor Solutions Corp, Sony Group Corp filed Critical Sony Semiconductor Solutions Corp
Priority to US18/559,178 priority Critical patent/US20240260284A1/en
Priority to JP2023523997A priority patent/JPWO2022249595A1/ja
Publication of WO2022249595A1 publication Critical patent/WO2022249595A1/ja
Anticipated expiration legal-status Critical
Ceased legal-status Critical Current

Links

Images

Classifications

    • HELECTRICITY
    • H10SEMICONDUCTOR DEVICES; ELECTRIC SOLID-STATE DEVICES NOT OTHERWISE PROVIDED FOR
    • H10KORGANIC ELECTRIC SOLID-STATE DEVICES
    • H10K30/00Organic devices sensitive to infrared radiation, light, electromagnetic radiation of shorter wavelength or corpuscular radiation
    • HELECTRICITY
    • H10SEMICONDUCTOR DEVICES; ELECTRIC SOLID-STATE DEVICES NOT OTHERWISE PROVIDED FOR
    • H10FINORGANIC SEMICONDUCTOR DEVICES SENSITIVE TO INFRARED RADIATION, LIGHT, ELECTROMAGNETIC RADIATION OF SHORTER WAVELENGTH OR CORPUSCULAR RADIATION
    • H10F39/00Integrated devices, or assemblies of multiple devices, comprising at least one element covered by group H10F30/00, e.g. radiation detectors comprising photodiode arrays
    • H10F39/10Integrated devices
    • H10F39/12Image sensors
    • HELECTRICITY
    • H10SEMICONDUCTOR DEVICES; ELECTRIC SOLID-STATE DEVICES NOT OTHERWISE PROVIDED FOR
    • H10KORGANIC ELECTRIC SOLID-STATE DEVICES
    • H10K30/00Organic devices sensitive to infrared radiation, light, electromagnetic radiation of shorter wavelength or corpuscular radiation
    • H10K30/30Organic devices sensitive to infrared radiation, light, electromagnetic radiation of shorter wavelength or corpuscular radiation comprising bulk heterojunctions, e.g. interpenetrating networks of donor and acceptor material domains
    • HELECTRICITY
    • H10SEMICONDUCTOR DEVICES; ELECTRIC SOLID-STATE DEVICES NOT OTHERWISE PROVIDED FOR
    • H10KORGANIC ELECTRIC SOLID-STATE DEVICES
    • H10K30/00Organic devices sensitive to infrared radiation, light, electromagnetic radiation of shorter wavelength or corpuscular radiation
    • H10K30/30Organic devices sensitive to infrared radiation, light, electromagnetic radiation of shorter wavelength or corpuscular radiation comprising bulk heterojunctions, e.g. interpenetrating networks of donor and acceptor material domains
    • H10K30/353Organic devices sensitive to infrared radiation, light, electromagnetic radiation of shorter wavelength or corpuscular radiation comprising bulk heterojunctions, e.g. interpenetrating networks of donor and acceptor material domains comprising blocking layers, e.g. exciton blocking layers
    • HELECTRICITY
    • H10SEMICONDUCTOR DEVICES; ELECTRIC SOLID-STATE DEVICES NOT OTHERWISE PROVIDED FOR
    • H10KORGANIC ELECTRIC SOLID-STATE DEVICES
    • H10K30/00Organic devices sensitive to infrared radiation, light, electromagnetic radiation of shorter wavelength or corpuscular radiation
    • H10K30/80Constructional details
    • H10K30/84Layers having high charge carrier mobility
    • H10K30/86Layers having high hole mobility, e.g. hole-transporting layers or electron-blocking layers
    • HELECTRICITY
    • H10SEMICONDUCTOR DEVICES; ELECTRIC SOLID-STATE DEVICES NOT OTHERWISE PROVIDED FOR
    • H10KORGANIC ELECTRIC SOLID-STATE DEVICES
    • H10K39/00Integrated devices, or assemblies of multiple devices, comprising at least one organic radiation-sensitive element covered by group H10K30/00
    • HELECTRICITY
    • H10SEMICONDUCTOR DEVICES; ELECTRIC SOLID-STATE DEVICES NOT OTHERWISE PROVIDED FOR
    • H10KORGANIC ELECTRIC SOLID-STATE DEVICES
    • H10K39/00Integrated devices, or assemblies of multiple devices, comprising at least one organic radiation-sensitive element covered by group H10K30/00
    • H10K39/30Devices controlled by radiation
    • H10K39/32Organic image sensors
    • HELECTRICITY
    • H10SEMICONDUCTOR DEVICES; ELECTRIC SOLID-STATE DEVICES NOT OTHERWISE PROVIDED FOR
    • H10KORGANIC ELECTRIC SOLID-STATE DEVICES
    • H10K85/00Organic materials used in the body or electrodes of devices covered by this subclass
    • H10K85/20Carbon compounds, e.g. carbon nanotubes or fullerenes
    • H10K85/211Fullerenes, e.g. C60
    • HELECTRICITY
    • H10SEMICONDUCTOR DEVICES; ELECTRIC SOLID-STATE DEVICES NOT OTHERWISE PROVIDED FOR
    • H10KORGANIC ELECTRIC SOLID-STATE DEVICES
    • H10K2101/00Properties of the organic materials covered by group H10K85/00
    • H10K2101/30Highest occupied molecular orbital [HOMO], lowest unoccupied molecular orbital [LUMO] or Fermi energy values
    • HELECTRICITY
    • H10SEMICONDUCTOR DEVICES; ELECTRIC SOLID-STATE DEVICES NOT OTHERWISE PROVIDED FOR
    • H10KORGANIC ELECTRIC SOLID-STATE DEVICES
    • H10K2102/00Constructional details relating to the organic devices covered by this subclass
    • H10K2102/301Details of OLEDs
    • H10K2102/351Thickness
    • YGENERAL TAGGING OF NEW TECHNOLOGICAL DEVELOPMENTS; GENERAL TAGGING OF CROSS-SECTIONAL TECHNOLOGIES SPANNING OVER SEVERAL SECTIONS OF THE IPC; TECHNICAL SUBJECTS COVERED BY FORMER USPC CROSS-REFERENCE ART COLLECTIONS [XRACs] AND DIGESTS
    • Y02TECHNOLOGIES OR APPLICATIONS FOR MITIGATION OR ADAPTATION AGAINST CLIMATE CHANGE
    • Y02EREDUCTION OF GREENHOUSE GAS [GHG] EMISSIONS, RELATED TO ENERGY GENERATION, TRANSMISSION OR DISTRIBUTION
    • Y02E10/00Energy generation through renewable energy sources
    • Y02E10/50Photovoltaic [PV] energy
    • Y02E10/549Organic PV cells

Definitions

  • the present disclosure relates to a photoelectric conversion element using an organic semiconductor and an imaging device including the same.
  • Patent Document 1 a photoelectric conversion in which a hole blocking layer containing a fullerene and/or a fullerene derivative and a transparent hole transport material having an ionization potential of 5.5 eV or more is provided between a photoelectric conversion layer and an electrode.
  • a device is disclosed.
  • photoelectric conversion elements used in imaging devices are required to have improved element characteristics such as, for example, reduced dark current, improved external quantum efficiency, and improved photoresponsivity.
  • a photoelectric conversion element includes a first electrode, a second electrode arranged opposite to the first electrode, provided between the first electrode and the second electrode, and containing a fullerene or a fullerene derivative.
  • a photoelectric conversion layer, and an organic compound provided between the first electrode and the photoelectric conversion layer and having a HOMO level that is 1 eV or more deep with respect to the work function of the first electrode and a LUMO level that is 3.7 eV or more and 4.8 eV or less
  • a first charge blocking layer containing a material, and a second charge blocking layer provided between the first charge blocking layer and the photoelectric conversion layer and containing fullerene or a fullerene derivative.
  • An imaging device includes a plurality of pixels each provided with an imaging device having one or more photoelectric conversion units, and as the one or more photoelectric conversion units, It has a photoelectric conversion element.
  • a HOMO level and 3.7 eV that are deeper than the work function of the first electrode by 1 eV or more are provided between the first electrode and the photoelectric conversion layer.
  • a first charge blocking layer containing an organic material having a LUMO level of 4.8 eV or less and a second charge blocking layer containing fullerene or a fullerene derivative are provided in this order from the first electrode side. . This reduces the electron barrier at the interface with the first electrode while suppressing the injection of charges from the first electrode. In addition, while suppressing the generation of dark current at the interface of the photoelectric conversion layer, the generation of interface traps with the photoelectric conversion layer is reduced.
  • FIG. 2 is a diagram showing an example of energy levels of materials forming each layer of the photoelectric conversion element shown in FIG. 1.
  • FIG. 1. It is a cross-sectional schematic diagram showing an example of a structure of the imaging device using the photoelectric conversion element shown in FIG. 4 is a schematic plan view showing an example of a pixel configuration of an imaging device having the imaging device shown in FIG. 3.
  • FIG. 4 is an equivalent circuit diagram of the imaging element shown in FIG. 3;
  • FIG. FIG. 4 is a schematic diagram showing the arrangement of transistors forming a lower electrode and a control section of the imaging element shown in FIG.
  • FIG. 3; 4A and 4B are cross-sectional views for explaining a method of manufacturing the imaging element shown in FIG. 3;
  • FIG. 8 is a cross-sectional view showing a step following FIG. 7;
  • FIG. 9 is a cross-sectional view showing a step following FIG. 8;
  • FIG. 10 is a cross-sectional view showing a step following FIG. 9;
  • FIG. 11 is a cross-sectional view showing a step following FIG. 10;
  • FIG. 12 is a cross-sectional view showing a step following FIG. 11;
  • 4 is a timing chart showing an operation example of the imaging element shown in FIG. 3;
  • FIG. It is a cross-sectional schematic diagram showing an example of a configuration of an imaging device according to Modification 1 of the present disclosure.
  • FIG. 12 is a schematic cross-sectional view showing an example of the configuration of an imaging device according to Modification 3 of the present disclosure
  • FIG. 16B is a schematic diagram showing a planar configuration of the imaging element shown in FIG. 16A
  • FIG. 12 is a schematic cross-sectional view showing an example of the configuration of an imaging device according to Modification 4 of the present disclosure
  • FIG. 17B is a schematic diagram showing a planar configuration of the imaging element shown in FIG. 17A
  • FIG. 11 is a schematic cross-sectional view showing another example of the configuration of an imaging device of Modification 2 according to another Modification of the present disclosure
  • FIG. 11 is a schematic cross-sectional view showing another example of the configuration of an imaging device of Modification 2 according to another Modification of the present disclosure
  • FIG. 11 is a schematic cross-sectional view showing another example of the configuration of an imaging device of Modification 3 according to another Modification of the present disclosure.
  • FIG. 19B is a schematic diagram showing a planar configuration of the imaging device shown in FIG. 19A.
  • FIG. 11 is a schematic cross-sectional view showing another example of the configuration of an imaging element of Modification 4 according to another Modification of the present disclosure;
  • FIG. 20B is a schematic diagram showing a planar configuration of the imaging element shown in FIG. 20A.
  • FIG. 22 is a schematic diagram showing an example of the overall configuration of a photodetection system using the imaging device shown in FIG. 21;
  • 23B is a diagram showing an example of the circuit configuration of the photodetection system shown in FIG. 23A;
  • FIG. 1 is a diagram showing an example of a schematic configuration of an endoscopic surgery system;
  • FIG. 3 is a block diagram showing an example of functional configurations of a camera head and a CCU;
  • FIG. 1 is a block diagram showing an example of a schematic configuration of a vehicle control system;
  • FIG. FIG. 4 is an explanatory diagram showing an example of installation positions of an outside information detection unit and an imaging unit;
  • Embodiment (example of photoelectric conversion element having a hole-blocking layer composed of a layer having a predetermined HOMO level and a LUMO level and a layer containing fullerene or a derivative thereof) 1-1.
  • Modification 2-1 Modification 1 (Another example of the configuration of the imaging device) 2-2. Modification 2 (Another example of the configuration of the imaging device) 2-3. Modification 3 (Another example of the configuration of the imaging device) 2-4. Modification 4 (Another example of the configuration of the imaging element) 2-5. Modification 5 (Other Modifications of Imaging Device) 3. Application example 4. Application example 5 .
  • Example 1 Another example of the configuration of the imaging device
  • Modification 2 Another example of the configuration of the imaging device 2-3.
  • Modification 3 (Another example of the configuration of the imaging device) 2-4.
  • Modification 4 (Another example of the configuration of the imaging element) 2-5.
  • Modification 5 (Other Modifications of Imaging Device) 3. Application example 4. Application example 5 .
  • Example 1 Another example of the configuration of the imaging device
  • Modification 2 Another example of the configuration of the imaging device 2-3.
  • Modification 3 Another example of the configuration of the imaging device 2-4.
  • Modification 4
  • FIG. 1 schematically illustrates an example of a cross-sectional configuration of a photoelectric conversion element (photoelectric conversion element 10) according to an embodiment of the present disclosure.
  • the photoelectric conversion element 10 is, for example, one pixel (unit It is used as an image sensor (image sensor 1A, see FIG. 3, for example) that constitutes the pixel P).
  • the photoelectric conversion element 10 has a structure in which a lower electrode 11, a hole blocking layer 12, a photoelectric conversion layer 13, an electron blocking layer 14, a work function adjusting layer 15, and an upper electrode 16 are laminated in this order. is doing.
  • the hole blocking layer 12 of the present embodiment has a HOMO (Highest Occupied Molecular Orbital) level 1 eV or more with respect to the work function of the lower electrode 11 and a LUMO level of 3.7 eV or more and 4.8 eV or less from the lower electrode 11 side.
  • a first layer 12A containing an organic material having a (Lowest Unoccupied Molecular Orbital) level and a second layer 12B containing fullerene or a fullerene derivative are laminated.
  • the photoelectric conversion element 10 absorbs light corresponding to part or all of wavelengths in a selective wavelength range (for example, a visible light range and a near-infrared light range of 400 nm or more and less than 1300 nm) to generate excitons (electron holes pair).
  • a selective wavelength range for example, a visible light range and a near-infrared light range of 400 nm or more and less than 1300 nm
  • an imaging element for example, an imaging element 1A
  • electrons are read from the lower electrode 11 side as signal charges.
  • the configuration and materials of each part will be described, taking as an example the case where electrons are read from the lower electrode 11 side as signal charges.
  • the lower electrode 11 (cathode) is made of, for example, a light-transmitting conductive film.
  • the lower electrode 11 preferably has a work function of 4.0 eV or more and 5.5 eV or less, and has a LUMO level deeper than the organic material forming the first layer 12A described later.
  • Examples of the constituent material of the lower electrode 11 include indium tin oxide (ITO), which is In 2 O 3 to which tin (Sn) is added as a dopant.
  • ITO indium tin oxide
  • Sn tin
  • the crystallinity of the ITO thin film may be highly crystalline or low (close to amorphous).
  • a tin oxide (SnO 2 )-based material to which a dopant is added for example, ATO to which Sb is added as a dopant, and FTO to which fluorine is added as a dopant can be used.
  • zinc oxide (ZnO) or a zinc oxide-based material to which a dopant is added may be used.
  • ZnO-based materials include aluminum zinc oxide (AZO) with aluminum (Al) added as a dopant, gallium zinc oxide (GZO) with gallium (Ga) added, and boron zinc oxide with boron (B) added. and indium zinc oxide (IZO) doped with indium (In).
  • zinc oxide (IGZO, In-GaZnO 4 ) added with indium and gallium may be used as dopants.
  • CuI, InSbO 4 , ZnMgO, CuInO 2 , MgIN 2 O 4 , CdO, ZnSnO 3 , TiO 2 or the like may be used as the constituent material of the lower electrode 11 , spinel oxide or YbFe 2 O may be used.
  • An oxide having a tetrastructure may also be used.
  • Metals or alloys can be used. Specifically, alkali metals (e.g., lithium (Li), sodium (Na) and potassium (K), etc.) and their fluorides or oxides, alkaline earth metals (e.g., magnesium (Mg) and calcium (Ca) etc.) and their fluorides or oxides.
  • Al aluminum
  • Al-Si-Cu alloy zinc (Zn), tin (Sn), thallium (Tl), Na-K alloy, Al-Li alloy, Mg-Ag alloy, In and ytterbium (Yb ) and other rare earth metals, or alloys thereof.
  • the materials constituting the lower electrode 11 include platinum (Pt), gold (Au), palladium (Pd), chromium (Cr), nickel (Ni), aluminum (Al), silver (Ag), tantalum (Ta ), tungsten (W), copper (Cu), titanium (Ti), indium (In), tin (Sn), iron (Fe), cobalt (Co) and molybdenum (Mo), or their metals Alloys containing elements, conductive particles made of these metals, conductive particles of alloys containing these metals, polysilicon containing impurities, carbon-based materials, oxide semiconductors, carbon nanotubes, graphene, etc. of conductive substances.
  • an organic material such as poly(3,4-ethylenedioxythiophene)/polystyrene sulfonic acid [PEDOT/PSS] can be used.
  • a paste or ink obtained by mixing the above materials with a binder (polymer) may be cured and used as an electrode.
  • the lower electrode 11 can be formed as a single layer film or a laminated film made of the above materials.
  • the film thickness of the lower electrode 11 in the stacking direction (hereinafter simply referred to as thickness) is, for example, 20 nm or more and 200 nm or less, preferably 30 nm or more and 150 nm or less.
  • the hole-blocking layer 12 selectively transports electrons among the charges generated in the photoelectric conversion layer 13 to the lower electrode 11 and inhibits injection of holes from the lower electrode 11 side.
  • the hole blocking layer 12 of this embodiment is composed of two layers, a first layer 12A and a second layer 12B.
  • the first layer 12A selectively transports electrons to the lower electrode 11 and inhibits injection of holes from the lower electrode 11.
  • the first layer 12A can be formed using, for example, an organic material having a HOMO level that is 1 eV or more deeper than the work function of the lower electrode 11 and a LUMO level that is 3.7 eV or more and 4.8 eV or less.
  • the organic material preferably has a bandgap of 2.6 eV or more.
  • the organic material preferably has a HOMO level deeper than 6.3 eV. Examples of such organic materials include compounds represented by the following formulas (1-1) to (1-27).
  • the second layer 12 ⁇ /b>B selectively extracts electrons from the electron-hole pairs generated in the photoelectric conversion layer 13 and transports them to the lower electrode 11 .
  • the sum of the state densities in the gap levels at the interface with the photoelectric conversion layer 13 is preferably smaller than the sum of the state densities in the gap levels in the photoelectric conversion layer 13 .
  • Such a second layer 12B can be formed using, for example, an electron-transporting material that functions as an electron acceptor in the photoelectric conversion layer 13 .
  • the second layer 12B is a fullerene represented by the following formula (2), represented by higher-order fullerenes such as fullerene C 60 , fullerene C 70 , fullerene C 74 and endohedral fullerenes, and derivatives thereof. is formed using
  • the second layer 12B may further contain other materials.
  • Other materials include, for example, the compounds represented by the above formulas (1-1) to (1-27), which constitute the first layer 12A.
  • a dye material used in the photoelectric conversion layer 13 can be mentioned. Examples of this dye material include subphthalocyanine derivatives represented by the following formulas (3-1) to (3-8).
  • dye materials include, for example, subphthalocyanine, porphyrin, phthalocyanine, dipyrromethane, azadipyrromethane, dipyridyl, azadipyridyl, coumarin, perylene, perylene diimide, pyrene, naphthalene diimide, quinacridone, xanthene, xanthenoxanthene, phenoxazine, and indigo.
  • dye materials include, for example, subphthalocyanine, porphyrin, phthalocyanine, dipyrromethane, azadipyrromethane, dipyridyl, azadipyridyl, coumarin, perylene, perylene diimide, pyrene, naphthalene diimide, quinacridone, xanthene, xanthenoxanthene, phenoxazine, and indigo.
  • azo oxazine, benzodithiophene, naphthodithiophene, anthradithiophene, rubicene, anthracene, tetracene, pentacene, anthraquinone, tetraquinone, pentaquinone, dinaphthothienothiophene, diketopyrrolopyrrole, oligothiophene, cyanine, merocyanine, squalium, croconium, boron-dipyrromethene (BODIPY) or derivatives thereof, and the like.
  • BODIPY boron-dipyrromethene
  • the first layer 12A and the second layer 12B each have a thickness of 1 nm or more and 30 nm or less, for example.
  • the photoelectric conversion layer 13 absorbs, for example, 60% or more of a predetermined wavelength included in at least the visible light region to the near-infrared region, and separates charges.
  • the photoelectric conversion layer 13 absorbs light in a part or all of the visible light range and the near-infrared light range of 400 nm or more and less than 1300 nm, for example.
  • the photoelectric conversion layer 13 includes, for example, two or more kinds of organic materials that function as a p-type semiconductor or an n-type semiconductor. joint surface).
  • the photoelectric conversion layer 13 has a laminated structure (p-type semiconductor layer/n-type semiconductor layer) of a layer made of a p-type semiconductor (p-type semiconductor layer) and a layer made of an n-type semiconductor (n-type semiconductor layer), , a stacked structure (p-type semiconductor layer/bulk heterolayer) of a p-type semiconductor layer and a mixed layer (bulk heterolayer) of a p-type semiconductor and an n-type semiconductor (bulk heterolayer), or a stacked structure of an n-type semiconductor layer and a bulk heterolayer ( n-type semiconductor layer/bulk hetero layer).
  • it may be formed only by a mixed layer (bulk hetero layer) of a p-type semiconductor and an n-type semiconductor.
  • a p-type semiconductor is a hole-transporting material that relatively functions as an electron donor
  • an n-type semiconductor is an electron-transporting material that relatively functions as an electron acceptor.
  • the photoelectric conversion layer 13 provides a field in which excitons (electron-hole pairs) generated when light is absorbed are separated into electrons and holes. Electrons and holes are separated at the interface (p/n interface) between the donor and the electron acceptor.
  • Examples of p-type semiconductors include naphthalene derivatives, anthracene derivatives, phenanthrene derivatives, pyrene derivatives, perylene derivatives, tetracene derivatives, pentacene derivatives, quinacridone derivatives, thiophene derivatives, thienothiophene derivatives, benzothiophene derivatives, and benzothienobenzothiophene (BTBT).
  • triphenylamine derivatives for example, fluoranthene derivatives, phthalocyanine derivatives, subphthalocyanine derivatives, subporphyrazine derivatives, metals having heterocyclic compounds as ligands complexes, polythiophene derivatives, polybenzothiadiazole derivatives, polyfluorene derivatives and the like.
  • n-type semiconductors include fullerenes represented by higher order fullerenes such as fullerene C 60 , fullerene C 70 and fullerene C 74 and endohedral fullerenes, and derivatives thereof.
  • Substituents contained in fullerene derivatives include, for example, halogen atoms, linear or branched or cyclic alkyl groups or phenyl groups, linear or condensed aromatic compound-containing groups, halide-containing groups, partial fluoroalkyl groups, perfluoroalkyl groups, silylalkyl groups, silylalkoxy groups, arylsilyl groups, arylsulfanyl groups, alkylsulfanyl groups, arylsulfonyl groups, alkylsulfonyl groups, arylsulfide groups, alkylsulfide groups, amino groups, alkylamino groups, arylamino group, hydroxy group, alkoxy group, acylamino group, acyloxy group, carbonyl group, carboxy group, carboxoamide group, carboalkoxy group, acyl group, sulfonyl group, cyano group, nitro group, group having chal
  • fullerene derivatives include, for example, fullerene fluorides, PCBM fullerene compounds, and fullerene multimers.
  • n-type semiconductors include organic semiconductors having higher (deeper) HOMO and LUMO levels than p-type semiconductors and inorganic metal oxides having optical transparency.
  • n-type organic semiconductors include heterocyclic compounds containing nitrogen atoms, oxygen atoms or sulfur atoms.
  • examples include organic molecules, organometall
  • the photoelectric conversion layer 13 includes, in addition to the p-type semiconductor and the n-type semiconductor, an organic material that absorbs light in a predetermined wavelength range and transmits light in other wavelength ranges, that is, a dye material.
  • a dye material may be
  • the photoelectric conversion layer 13 is formed using three kinds of organic materials, ie, a p-type semiconductor, an n-type semiconductor, and a dye material
  • the p-type semiconductor and the n-type semiconductor are materials having optical transparency in the visible light region.
  • the photoelectric conversion layer 13 selectively photoelectrically converts light in the wavelength range absorbed by the dye material.
  • the photoelectric conversion layer 13 has a thickness of, for example, 10 nm or more and 500 nm or less, preferably 100 nm or more and 400 nm or less.
  • the electron blocking layer 14 selectively transports holes among the charges generated in the photoelectric conversion layer 13 to the upper electrode 16 and inhibits injection of electrons from the upper electrode 16 side.
  • Materials constituting the electron blocking layer 14 include, for example, naphthalene derivatives, anthracene derivatives, phenanthrene derivatives, pyrene derivatives, perylene derivatives, tetracene derivatives, quinacridone derivatives, thiophene derivatives, thienothiophene derivatives, benzothiophene derivatives, benzothienobenzothiophene ( BTBT) derivatives, dinaphthothienothiophene (DNTT) derivatives, benzobisbenzothiophene (BBBT) derivatives, thienobisbenzothiophene (TBBT) derivatives, dibenzothienobisbenzothiophene (DBTBT) derivatives, dithienobenzodithiophene (DTBDT) derivatives , di
  • the electron blocking layer 14 has a thickness of, for example, 5 nm or more and 100 nm or less, preferably 5 nm or more and 50 nm or less. More preferably, electron blocking layer 14 has a thickness of 5 nm or more and 20 nm or less.
  • the work function adjusting layer 15 has a higher electron affinity or work function than the work function of the upper electrode 16 and improves the electrical bonding between the electron blocking layer 14 and the upper electrode 16 .
  • Materials constituting the work function adjusting layer 15 include, for example, dipyrazino[2,3-f:2′,3′vh]quinoxaline-2,3,6,7,10,11-hexacarbonitrile (HAT -CN).
  • materials constituting the work function adjusting layer 15 include PEDOT/PSS, polyaniline, and metal oxides such as MoOx , RuOx , VOx and WOx .
  • the upper electrode 16 (anode), like the lower electrode 11, is made of, for example, a light-transmitting conductive film.
  • the constituent material of the upper electrode 16 include indium tin oxide (ITO), which is In 2 O 3 to which tin (Sn) is added as a dopant.
  • ITO indium tin oxide
  • the crystallinity of the ITO thin film may be highly crystalline or low (close to amorphous).
  • a tin oxide (SnO 2 )-based material to which a dopant is added for example, ATO to which Sb is added as a dopant, and FTO to which fluorine is added as a dopant can be used.
  • ZnO zinc oxide
  • ZnO-based materials include aluminum zinc oxide (AZO) with aluminum (Al) added as a dopant, gallium zinc oxide (GZO) with gallium (Ga) added, and boron zinc oxide with boron (B) added. and indium zinc oxide (IZO) doped with indium (In).
  • zinc oxide (IGZO, In--GaZnO 4 ) added with indium and gallium may be used as a dopant.
  • CuI, InSbO 4 , ZnMgO, CuInO 2 , MgIN 2 O 4 , CdO, ZnSnO 3 , TiO 2 or the like may be used as the constituent material of the lower electrode 11 , spinel oxide or YbFe 2 O may be used. An oxide having a tetrastructure may also be used.
  • the material constituting the upper electrode 16 includes metals such as Pt, Au, Pd, Cr, Ni, Al, Ag, Ta, W, Cu, Ti, In, Sn, Fe, Co and Mo, or alloys containing metal elements, or conductive particles made of these metals, conductive particles of alloys containing these metals, polysilicon containing impurities, carbon-based materials, oxide semiconductors, carbon nanotubes, Conductive substances such as graphene can be used.
  • organic materials (conductive polymers) such as PEDOT/PSS can be used as materials for forming the upper electrode 16 .
  • a paste or ink obtained by mixing the above materials with a binder (polymer) may be cured and used as an electrode.
  • the upper electrode 16 can be formed as a single layer film or a laminated film made of the above materials.
  • the thickness of the upper electrode 16 is, for example, 20 nm or more and 200 nm or less, preferably 30 nm or more and 150 nm or less.
  • another layer may be further provided between the lower electrode 11 and the upper electrode 16.
  • another layer may be further provided between the lower electrode 11 and the upper electrode 16.
  • an undercoat layer may be provided in addition to the hole blocking layer 12 between the lower electrode 11 and the photoelectric conversion layer 13 .
  • FIG. 2 is a photoelectric conversion element showing an example of energy levels of materials constituting each layer (lower electrode 11, hole blocking layer 12, and photoelectric conversion layer 13) of the photoelectric conversion element 10 shown in FIG.
  • the light incident on 10 is absorbed in the photoelectric conversion layer 13 .
  • the excitons (electron-hole pairs) generated by this are exciton-separated at the interface (p/n junction surface) between the p-type semiconductor and the n-type semiconductor that constitute the photoelectric conversion layer 13, that is, the electrons and holes dissociate to
  • the carriers (electrons and holes) generated here are transported to different electrodes by diffusion due to the difference in carrier concentration and the internal electric field due to the difference in work function between the anode and the cathode, and are detected as photocurrent.
  • electrons separated at the p/n junction are extracted from the lower electrode 11 via the hole blocking layer 12 .
  • Holes separated at the p/n junction are extracted from the upper electrode 16 via the electron blocking layer 14 and the work function adjusting layer 15 .
  • the transport direction of electrons and holes can also be controlled by applying a potential between the lower electrode 11 and the upper electrode 16 .
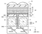
  • FIG. 3 schematically shows an example of a cross-sectional configuration of an imaging device (imaging device 1A) using the photoelectric conversion device 10 described above.
  • FIG. 4 schematically shows an example of the planar configuration of the imaging element 1A shown in FIG. 3, and FIG. 3 shows a cross section taken along line II shown in FIG.
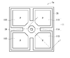
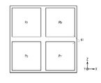
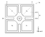
  • the imaging element 1A constitutes, for example, one pixel (unit pixel P) that is repeatedly arranged in an array in the pixel section 100A of the imaging device 100 shown in FIG.
  • a pixel unit 1a made up of, for example, four pixels arranged in two rows and two columns is a repeating unit, and is repeatedly arranged in an array in the row direction and the column direction. ing.
  • the imaging device 1A selectively detects light in mutually different wavelength ranges and performs photoelectric conversion.
  • one photoelectric conversion unit formed using an organic material and two photoelectric conversion units are vertically laminated, so-called vertical direction spectral type.
  • the photoelectric conversion element 10 described above can be used as a photoelectric conversion section that constitutes the imaging element 1A.
  • the photoelectric conversion unit has the same configuration as the photoelectric conversion element 10 described above, and is denoted by the same reference numeral 10. As shown in FIG.
  • the photoelectric conversion section 10 is provided on the back surface (first surface 30S1) side of the semiconductor substrate 30.
  • the photoelectric conversion regions 32B and 32R are embedded in the semiconductor substrate 30 and stacked in the thickness direction of the semiconductor substrate 30 .
  • the photoelectric conversion section 10 and the photoelectric conversion regions 32B and 32R selectively detect light in mutually different wavelength ranges and perform photoelectric conversion.
  • the photoelectric conversion unit 10 acquires a green (G) color signal.
  • the photoelectric conversion regions 32B and 32R acquire blue (B) and red (R) color signals, respectively, due to the difference in absorption coefficient.
  • the imaging device 1A can acquire a plurality of types of color signals in one pixel without using a color filter.
  • the semiconductor substrate 30 is composed of an n-type silicon (Si) substrate, for example, and has a p-well 31 in a predetermined region.
  • various floating diffusions (floating diffusion layers) FD eg, FD1, FD2, FD3
  • various transistors Tr eg, vertical transistors ( A transfer transistor Tr2, a transfer transistor Tr3, an amplifier transistor (modulation element) AMP and a reset transistor RST) are provided.
  • a multilayer wiring layer 40 is further provided on the second surface 30S2 of the semiconductor substrate 30 with the gate insulating layer 33 interposed therebetween.
  • the multilayer wiring layer 40 has, for example, a structure in which wiring layers 41 , 42 and 43 are laminated within an insulating layer 44 .
  • a peripheral circuit (not shown) including a logic circuit or the like is provided in the peripheral portion of the semiconductor substrate 30 .
  • a protective layer 51 is provided above the photoelectric conversion section 10 .
  • wiring is provided to electrically connect the upper electrode 16 and the peripheral circuit section around the light shielding film 53 and the pixel section 100A.
  • Optical members such as a planarizing layer (not shown) and an on-chip lens 52L are further provided above the protective layer 51 .
  • the first surface 30S1 side of the semiconductor substrate 30 is represented as the light incident surface S1
  • the second surface 30S2 side is represented as the wiring layer side S2.
  • the photoelectric conversion body 10 includes a hole blocking layer 12 (a first layer 12A and a second layer 12B), a photoelectric conversion layer 13, an electron blocking layer 14, and a work layer 12 between a lower electrode 11 and an upper electrode 16 which are arranged to face each other.
  • the function adjustment layers 15 are laminated in this order.
  • the lower electrode 11 is composed of a plurality of electrodes (for example, two readout electrodes 11A and storage electrodes 11B). and a semiconductor layer 18 are laminated in this order.
  • the readout electrode 11A is electrically connected to the semiconductor layer 18 through an opening 17H provided in the insulating layer 17 .
  • the readout electrode 11A is for transferring charges generated in the photoelectric conversion layer 13 to the floating diffusion FD1. It is connected to the floating diffusion FD1 via the electrode 34, the connection portion 41A and the lower second contact 46.
  • the accumulation electrode 11B is for accumulating electrons among charges generated in the photoelectric conversion layer 13 in the semiconductor layer 18 as signal charges.
  • the storage electrode 11B is provided in a region facing the light receiving surfaces of the photoelectric conversion regions 32B and 32R formed in the semiconductor substrate 30 and covering these light receiving surfaces.
  • the storage electrode 11B is preferably larger than the readout electrode 11A, so that more charge can be stored.
  • the voltage application section 54 is connected to the storage electrode 11B via wiring such as the upper third contact 24C and the pad section 39C.
  • the insulating layer 17 is for electrically separating the storage electrode 11B and the semiconductor layer 18 from each other.
  • the insulating layer 17 is provided, for example, on the interlayer insulating layer 23 so as to cover the lower electrode 11 .
  • the insulating layer 17 is, for example, a single layer film made of one of silicon oxide (SiO x ), silicon nitride (SiN x ) and silicon oxynitride (SiO x N y ), or two of these. It is composed of a laminated film composed of the above.
  • the thickness of the insulating layer 17 is, for example, 20 nm or more and 500 nm or less.
  • the semiconductor layer 18 is for accumulating signal charges generated in the photoelectric conversion layer 13 .
  • the semiconductor layer 18 is preferably formed using a material having a higher charge mobility and a larger bandgap than the photoelectric conversion layer 13 .
  • the bandgap of the constituent material of the semiconductor layer 18 is preferably 3.0 eV or more.
  • oxide semiconductors such as IGZO and organic semiconductors.
  • organic semiconductors include transition metal dichalcogenides, silicon carbide, diamond, graphene, carbon nanotubes, condensed polycyclic hydrocarbon compounds and condensed heterocyclic compounds.
  • the thickness of the semiconductor layer 18 is, for example, 10 nm or more and 300 nm or less.
  • the semiconductor layer 18, the hole blocking layer 12 (the first layer 12A and the second layer 12B), the photoelectric conversion layer 13, the electron blocking layer 14, the work function adjusting layer 15, and the upper electrode 16 form a plurality of pixels.
  • Unit pixel P, see FIG. 21 has been shown as an example in which it is provided as a common continuous layer, but it is not limited to this.
  • the semiconductor layer 18, the hole blocking layer 12, the photoelectric conversion layer 13, the electron blocking layer 14, the work function adjusting layer 15 and the upper electrode 16 may be formed separately for each unit pixel P, for example.
  • a layer having fixed charges (fixed charge layer) 21 , a dielectric layer 22 having insulating properties, and an interlayer insulating layer 23 are arranged as first layers of the semiconductor substrate 30 . They are provided in this order from the first surface 30S1 side.
  • the fixed charge layer 21 may be a film having positive fixed charges or a film having negative fixed charges.
  • a constituent material of the fixed charge layer 21 it is preferable to use a semiconductor or a conductive material having a wider bandgap than the semiconductor substrate 30 is used. Thereby, generation of dark current at the interface of the semiconductor substrate 30 can be suppressed.
  • constituent materials of the fixed charge layer 21 include hafnium oxide (HfO x ), aluminum oxide (AlO x ), zirconium oxide (ZrO x ), tantalum oxide (TaO x ), titanium oxide (TiO x ), lanthanum oxide ( LaO x ), praseodymium oxide (PrO x ), cerium oxide (CeO x ), neodymium oxide (NdO x ), promethium oxide (PmO x ), samarium oxide (SmO x ), europium oxide (EuO x ) , gadolinium oxide (GdO x ), terbium oxide (TbO x ), dysprosium oxide (DyO x ), holmium oxide (HoO x ), thulium oxide (TmO x ) , ytterbium oxide (YbO x ), lutetium oxide (LuO x
  • the dielectric layer 22 is for preventing light reflection caused by a refractive index difference between the semiconductor substrate 30 and the interlayer insulating layer 23 .
  • a material having a refractive index between that of the semiconductor substrate 30 and that of the interlayer insulating layer 23 is preferable.
  • constituent materials of the dielectric layer 22 include SiO x , TEOS, SiN x and SiO x N y .
  • the interlayer insulating layer 23 is composed of, for example, a single layer film made of one of SiO x , SiN x and SiO x N y or the like, or a laminated film made of two or more of these.
  • a shield electrode 28 is provided together with the lower electrode 11 on the interlayer insulating layer 23 .
  • the shield electrode 28 is for preventing capacitive coupling between adjacent pixel units 1a. is applied.
  • the shield electrode 28 further extends between adjacent pixels in the row direction and the column direction within the pixel unit 1a.
  • the photoelectric conversion regions 32B and 32R are composed of, for example, PIN (Positive Intrinsic Negative) type photodiodes, and each have a pn junction in a predetermined region of the semiconductor substrate 30.
  • the photoelectric conversion regions 32B and 32R make it possible to disperse the light in the vertical direction by utilizing the fact that the wavelength regions absorbed by the silicon substrate differ depending on the incident depth of the light.
  • the photoelectric conversion region 32B selectively detects blue light and accumulates signal charges corresponding to blue, and is formed to a depth that enables efficient photoelectric conversion of blue light.
  • the photoelectric conversion region 32R selectively detects red light and accumulates signal charges corresponding to red, and is formed to a depth that enables efficient photoelectric conversion of red light.
  • Blue (B) is a color corresponding to, for example, a wavelength range of 400 nm or more and less than 495 nm
  • red (R) is a color corresponding to, for example, a wavelength range of 620 nm or more and less than 750 nm.
  • Each of the photoelectric conversion regions 32B and 32R should be capable of detecting light in a part or all of the wavelength bands.
  • the photoelectric conversion region 32B and the photoelectric conversion region 32R each have, for example, a p+ region serving as a hole accumulation layer and an n region serving as an electron accumulation layer (p -np stacked structure).
  • the n region of the photoelectric conversion region 32B is connected to the vertical transistor Tr2.
  • the p+ region of the photoelectric conversion region 32B is bent along the vertical transistor Tr2 and connected to the p+ region of the photoelectric conversion region 32R.
  • the gate insulating layer 33 is composed of, for example, a single layer film made of one of SiO x , SiN x and SiO x N y or the like, or a laminated film made of two or more of these.
  • a through electrode 34 is provided between the first surface 30S1 and the second surface 30S2 of the semiconductor substrate 30 .
  • the through electrode 34 functions as a connector between the photoelectric conversion section 10 and the gate Gamp of the amplifier transistor AMP and the floating diffusion FD1, and also serves as a transmission path for charges generated in the photoelectric conversion section 10 .
  • a reset gate Grst of the reset transistor RST is arranged next to the floating diffusion FD1 (one source/drain region 36B of the reset transistor RST). As a result, the charges accumulated in the floating diffusion FD1 can be reset by the reset transistor RST.
  • the upper end of the through electrode 34 is connected to the readout electrode 11A via, for example, a pad portion 39A provided in the interlayer insulating layer 23, an upper first contact 24A, a pad electrode 38B and an upper second contact 24B.
  • a lower end of the through-electrode 34 is connected to a connecting portion 41A in the wiring layer 41, and the connecting portion 41A and the gate Gamp of the amplifier transistor AMP are connected via a lower first contact 45.
  • the connection portion 41A and the floating diffusion FD1 (region 36B) are connected via the lower second contact 46, for example.
  • Upper first contact 24A, upper second contact 24B, upper third contact 24C, pad portions 39A, 39B, 39C, wiring layers 41, 42, 43, lower first contact 45, lower second contact 46, and gate wiring layer 47 can be formed using, for example, doped silicon materials such as PDAS (Phosphorus Doped Amorphous Silicon), or metallic materials such as Al, W, Ti, Co, Hf and Ta.
  • doped silicon materials such as PDAS (Phosphorus Doped Amorphous Silicon)
  • metallic materials such as Al, W, Ti, Co, Hf and Ta.
  • the insulating layer 44 is composed of, for example, a single layer film made of one of SiO x , SiN x and SiO x N y or the like, or a laminated film made of two or more of these.
  • the protective layer 51 and the on-chip lens 52L are made of a light-transmitting material, such as a single layer film made of one of SiO x , SiN x and SiO x N y , or a combination of these. It is composed of a laminated film consisting of two or more of them.
  • the thickness of the protective layer 51 is, for example, 100 nm or more and 30000 nm or less.
  • the light shielding film 53 is provided, for example, so as to cover at least the region of the readout electrode 21A that is in direct contact with the semiconductor layer 18 without covering the storage electrode 11B.
  • the light shielding film 53 can be formed using, for example, W, Al, an alloy of Al and Cu, or the like.
  • FIG. 5 is an equivalent circuit diagram of the imaging device 1A shown in FIG.
  • FIG. 6 schematically shows the arrangement of the transistors that constitute the lower electrode 11 and the control section of the imaging device 1A shown in FIG.
  • the reset transistor RST (reset transistor TR1rst) is for resetting the charge transferred from the photoelectric conversion section 10 to the floating diffusion FD1, and is composed of, for example, a MOS transistor.
  • the reset transistor TR1rst is composed of a reset gate Grst, a channel formation region 36A, and source/drain regions 36B and 36C.
  • the reset gate Grst is connected to the reset line RST1, and one source/drain region 36B of the reset transistor TR1rst also serves as the floating diffusion FD1.
  • the other source/drain region 36C forming the reset transistor TR1rst is connected to the power supply line VDD.
  • the amplifier transistor AMP is a modulation element that modulates the amount of charge generated in the photoelectric conversion section 10 into voltage, and is composed of, for example, a MOS transistor. Specifically, the amplifier transistor AMP is composed of a gate Gamp, a channel forming region 35A, and source/drain regions 35B and 35C.
  • the gate Gamp is connected to the readout electrode 11A and one of the source/drain regions 36B (floating diffusion FD1) of the reset transistor TR1rst via the lower first contact 45, the connecting portion 41A, the lower second contact 46, the through electrode 34, and the like. It is One source/drain region 35B shares a region with the other source/drain region 36C forming the reset transistor TR1rst, and is connected to the power supply line VDD.
  • the selection transistor SEL selection transistor TR1sel
  • the selection transistor SEL is composed of a gate Gsel, a channel forming region 34A, and source/drain regions 34B and 34C.
  • the gate Gsel is connected to the selection line SEL1.
  • One source/drain region 34B shares a region with the other source/drain region 35C forming the amplifier transistor AMP, and the other source/drain region 34C is connected to the signal line (data output line) VSL1. It is
  • the transfer transistor TR2 (transfer transistor TR2trs) is for transferring the signal charge corresponding to blue generated and accumulated in the photoelectric conversion region 32B to the floating diffusion FD2. Since the photoelectric conversion region 32B is formed deep from the second surface 30S2 of the semiconductor substrate 30, the transfer transistor TR2trs of the photoelectric conversion region 32B is preferably configured by a vertical transistor. The transfer transistor TR2trs is connected to the transfer gate line TG2. A floating diffusion FD2 is provided in a region 37C near the gate Gtrs2 of the transfer transistor TR2trs. The charge accumulated in the photoelectric conversion region 32B is read out to the floating diffusion FD2 through the transfer channel formed along the gate Gtrs2.
  • the transfer transistor TR3 (transfer transistor TR3trs) is for transferring the signal charge corresponding to red generated and accumulated in the photoelectric conversion region 32R to the floating diffusion FD3, and is composed of, for example, a MOS transistor.
  • the transfer transistor TR3trs is connected to the transfer gate line TG3.
  • a floating diffusion FD3 is provided in a region 38C near the gate Gtrs3 of the transfer transistor TR3trs. The charge accumulated in the photoelectric conversion region 32R is read out to the floating diffusion FD3 through the transfer channel formed along the gate Gtrs3.
  • a reset transistor TR2rst an amplifier transistor TR2amp, and a select transistor TR2sel, which constitute a control section of the photoelectric conversion region 32B, are provided. Furthermore, there are provided a reset transistor TR3rst, an amplifier transistor TR3amp, and a selection transistor TR3sel, which constitute a control section of the photoelectric conversion region 32R.
  • the reset transistor TR2rst is composed of a gate, a channel forming region and source/drain regions.
  • a gate of the reset transistor TR2rst is connected to the reset line RST2, and one source/drain region of the reset transistor TR2rst is connected to the power supply line VDD.
  • the other source/drain region of the reset transistor TR2rst also serves as the floating diffusion FD2.
  • the amplifier transistor TR2amp is composed of a gate, a channel forming region and source/drain regions.
  • a gate is connected to the other source/drain region (floating diffusion FD2) of the reset transistor TR2rst.
  • One source/drain region forming the amplifier transistor TR2amp shares a region with one source/drain region forming the reset transistor TR2rst, and is connected to the power supply line VDD.
  • the select transistor TR2sel is composed of a gate, a channel forming region and source/drain regions.
  • the gate is connected to the selection line SEL2.
  • One source/drain region forming the select transistor TR2sel shares a region with the other source/drain region forming the amplifier transistor TR2amp.
  • the other source/drain region forming the selection transistor TR2sel is connected to the signal line (data output line) VSL2.
  • the reset transistor TR3rst is composed of a gate, a channel forming region and source/drain regions.
  • a gate of the reset transistor TR3rst is connected to the reset line RST3, and one source/drain region forming the reset transistor TR3rst is connected to the power supply line VDD.
  • the other source/drain region forming the reset transistor TR3rst also serves as the floating diffusion FD3.
  • the amplifier transistor TR3amp is composed of a gate, a channel forming region and source/drain regions.
  • the gate is connected to the other source/drain region (floating diffusion FD3) forming the reset transistor TR3rst.
  • One source/drain region forming the amplifier transistor TR3amp shares a region with one source/drain region forming the reset transistor TR3rst, and is connected to the power supply line VDD.
  • the select transistor TR3sel is composed of a gate, a channel forming region and source/drain regions.
  • the gate is connected to the selection line SEL3.
  • One source/drain region forming the select transistor TR3sel shares a region with the other source/drain region forming the amplifier transistor TR3amp.
  • the other source/drain region forming the select transistor TR3sel is connected to the signal line (data output line) VSL3.
  • the reset lines RST1, RST2, and RST3, the selection lines SEL1, SEL2, and SEL3, and the transfer gate lines TG2 and TG3 are each connected to a vertical drive circuit forming a drive circuit.
  • the signal lines (data output lines) VSL1, VSL2 and VSL3 are connected to a column signal processing circuit 112 that constitutes a driving circuit.
  • the imaging device 1A of this embodiment can be manufactured, for example, as follows.
  • FIG. 8 shows the manufacturing method of the imaging device 1A in order of steps.
  • a p-well 31 for example, is formed in a semiconductor substrate 30, and n-type photoelectric conversion regions 32B and 32R are formed in the p-well 31, for example.
  • a p+ region is formed near the first surface 30S1 of the semiconductor substrate 30 .
  • the transfer transistors Tr2, the transfer transistors Tr3, and the selection gate are formed on the second surface 30S2 of the semiconductor substrate 30, as shown in FIG. 7, for example, after forming n+ regions to be the floating diffusions FD1 to FD3, the gate insulating layer 33, the transfer transistors Tr2, the transfer transistors Tr3, and the selection gate are formed.
  • a gate wiring layer 47 including gates of the transistor SEL, amplifier transistor AMP and reset transistor RST is formed.
  • a transfer transistor Tr2, a transfer transistor Tr3, a selection transistor SEL, an amplifier transistor AMP, and a reset transistor RST are formed on the second surface 30S2 of the semiconductor substrate 30, the multilayer wiring layer 40 composed of the wiring layers 41 to 43 including the lower first contact 45, the lower second contact 46 and the connecting portion 41A and the insulating layer 44 is formed.
  • an SOI (Silicon on Insulator) substrate in which the semiconductor substrate 30, a buried oxide film (not shown), and a holding substrate (not shown) are laminated is used as the base of the semiconductor substrate 30, for example.
  • the buried oxide film and the holding substrate are bonded to the first surface 30S1 of the semiconductor substrate 30, although not shown in FIG. Annealing is performed after the ion implantation.
  • a support substrate (not shown) or another semiconductor substrate or the like is bonded onto the multilayer wiring layer 40 provided on the second surface 30S2 side of the semiconductor substrate 30 and turned upside down. Subsequently, the semiconductor substrate 30 is separated from the embedded oxide film of the SOI substrate and the holding substrate, and the first surface 30S1 of the semiconductor substrate 30 is exposed.
  • the above steps can be performed by techniques such as ion implantation and CVD (Chemical Vapor Deposition), which are used in ordinary CMOS processes.
  • the semiconductor substrate 30 is processed from the first surface 30S1 side by dry etching, for example, to form, for example, an annular opening 34H.
  • the depth of the opening 34H, as shown in FIG. 9, is such that it penetrates from the first surface 30S1 to the second surface 30S2 of the semiconductor substrate 30 and reaches, for example, the connecting portion 41A.
  • the negative fixed charge layer 21 and the dielectric layer 22 are sequentially formed on the first surface 30S1 of the semiconductor substrate 30 and the side surfaces of the openings 34H.
  • the fixed charge layer 21 can be formed, for example, by forming an HfOx film using an atomic layer deposition method (ALD method).
  • the dielectric layer 22 can be formed, for example, by depositing a SiOx film using a plasma CVD method.
  • a pad portion 39A is formed by laminating a barrier metal made of, for example, a laminated film of titanium and titanium nitride (Ti/TiN film) and a W film.
  • an interlayer insulating layer 23 is formed on the dielectric layer 22 and the pad portion 39A, and the surface of the interlayer insulating layer 23 is planarized using a CMP (Chemical Mechanical Polishing) method.
  • CMP Chemical Mechanical Polishing
  • the opening 23H1 is filled with a conductive material such as Al to form the upper first contact 24A.
  • a conductive material such as Al
  • pad portions 39B and 39C are formed in the same manner as pad portion 39A, interlayer insulating layer 23, upper second contact 24B, and upper third contact 24C are formed in this order.
  • a conductive film 11X is formed on the interlayer insulating layer 23 by, for example, sputtering, and then patterned by photolithography. Specifically, after forming a photoresist PR at a predetermined position of the conductive film 11X, the conductive film 11X is processed using dry etching or wet etching. After that, by removing the photoresist PR, the readout electrode 11A and the storage electrode 11B are formed as shown in FIG.
  • insulating layer 17, semiconductor layer 18, hole blocking layer 12 (first layer 12A and second layer 12B), photoelectric conversion layer 13, electron blocking layer 14, work function adjusting layer 15 and upper electrode 16 are deposited in order.
  • the insulating layer 17 for example, after forming a SiOx film using the ALD method, the surface of the insulating layer 17 is planarized using the CMP method. After that, an opening 17H is formed on the readout electrode 11A using wet etching, for example.
  • the semiconductor layer 18 can be formed using, for example, a sputtering method.
  • the hole blocking layer 12 (the first layer 12A and the second layer 12B), the photoelectric conversion layer 13, the electron blocking layer 14 and the work function adjusting layer 15 are formed using vacuum deposition, for example.
  • the upper electrode 16 is formed using, for example, sputtering, similarly to the lower electrode 11 .
  • the protective layer 51, the light shielding film 53 and the on-chip lens 52L are arranged. As described above, the imaging device 1A shown in FIG. 3 is completed.
  • the hole blocking layer 12 (the first layer 12A and the second layer 12B), the photoelectric conversion layer 13, the electron blocking layer 14, and the work function adjusting layer 15 are continuously formed in a vacuum process (in a continuous vacuum process). It is desirable to form In addition, organic layers such as the hole blocking layer 12 (the first layer 12A and the second layer 12B), the photoelectric conversion layer 13, the electron blocking layer 14 and the work function adjusting layer 15, and the conductive films such as the lower electrode 11 and the upper electrode 16 can be formed using a dry deposition method or a wet deposition method.
  • the dry film forming method in addition to the vacuum deposition method using resistance heating or high frequency heating, the electron beam (EB) deposition method, various sputtering methods (magnetron sputtering method, RF-DC coupled bias sputtering method, ECR sputtering method) , facing target sputtering method, high frequency sputtering method), ion plating method, laser abrasion method, molecular beam epitaxy method and laser transfer method.
  • dry film formation methods include chemical vapor deposition methods such as plasma CVD, thermal CVD, MOCVD, and optical CVD.
  • Wet film-forming methods include spin coating, inkjet, spray coating, stamping, microcontact printing, flexographic printing, offset printing, gravure printing, and dipping.
  • shadow masks for patterning, in addition to photolithographic techniques, shadow masks, chemical etching such as laser transfer, physical etching using ultraviolet rays, lasers, and the like can be used.
  • a flattening technique in addition to the CMP method, a laser flattening method, a reflow method, or the like can be used.
  • green light (G) is first selectively detected (absorbed) and photoelectrically converted by the photoelectric conversion section 10 .
  • the photoelectric conversion unit 10 is connected to the gate Gamp of the amplifier transistor AMP and the floating diffusion FD1 via the through electrode 34. Therefore, electrons among excitons generated in the photoelectric conversion part 10 are extracted from the lower electrode 11 side, transferred to the second surface 30S2 side of the semiconductor substrate 30 via the through electrode 34, and accumulated in the floating diffusion FD1. . At the same time, the amount of charge generated in the photoelectric conversion section 10 is modulated into a voltage by the amplifier transistor AMP.
  • a reset gate Grst of the reset transistor RST is arranged next to the floating diffusion FD1. As a result, the charges accumulated in the floating diffusion FD1 are reset by the reset transistor RST.
  • the photoelectric conversion section 10 is connected not only to the amplifier transistor AMP but also to the floating diffusion FD1 via the through electrode 34, the charge accumulated in the floating diffusion FD1 can be easily reset by the reset transistor RST. becomes.
  • FIG. 13 shows an operation example of the imaging device 1A.
  • A shows the potential at the storage electrode 11B
  • B shows the potential at the floating diffusion FD1 (readout electrode 11A)
  • C shows the potential at the gate (Gsel) of the reset transistor TR1rst. is.
  • voltages are individually applied to the readout electrode 11A and the storage electrode 11B.
  • the potential V1 is applied from the drive circuit to the readout electrode 11A and the potential V2 is applied to the storage electrode 11B during the accumulation period.
  • the potentials V1 and V2 are V2>V1.
  • charges (signal charges; electrons) generated by photoelectric conversion are attracted to the storage electrode 11B and accumulated in the region of the semiconductor layer 18 facing the storage electrode 11B (accumulation period).
  • the potential of the region of the semiconductor layer 18 facing the storage electrode 11B becomes a more negative value as the photoelectric conversion time elapses. Holes are sent from the upper electrode 16 to the driving circuit.
  • a reset operation is performed in the latter half of the accumulation period. Specifically, at timing t1, the scanning unit changes the voltage of the reset signal RST from low level to high level. As a result, in the unit pixel P, the reset transistor TR1rst is turned on, and as a result, the voltage of the floating diffusion FD1 is set to the power supply voltage, and the voltage of the floating diffusion FD1 is reset (reset period).
  • the drive circuit applies a potential V3 to the readout electrode 11A and a potential V4 to the storage electrode 11B.
  • the potentials V3 and V4 are V3 ⁇ V4.
  • the charge accumulated in the region corresponding to the storage electrode 11B is read from the readout electrode 11A to the floating diffusion FD1. That is, the charges accumulated in the semiconductor layer 18 are read out to the control section (transfer period).
  • the potential V1 is applied again from the drive circuit to the readout electrode 11A, and the potential V2 is applied to the storage electrode 11B.
  • charges generated by photoelectric conversion are attracted to the storage electrode 11B and accumulated in the region of the photoelectric conversion layer 24 facing the storage electrode 11B (accumulation period).
  • blue light (B) and red light (R) are sequentially absorbed and photoelectrically converted in the photoelectric conversion region 32B and the photoelectric conversion region 32R, respectively.
  • the photoelectric conversion region 32B electrons corresponding to the incident blue light (B) are accumulated in the n region of the photoelectric conversion region 32B, and the accumulated electrons are transferred to the floating diffusion FD2 by the transfer transistor Tr2.
  • the photoelectric conversion region 32R electrons corresponding to incident red light (R) are accumulated in the n region of the photoelectric conversion region 32R, and the accumulated electrons are transferred to the floating diffusion FD3 by the transfer transistor Tr3. .
  • a HOMO level deeper than 1 eV with respect to the work function of lower electrode 11 and a LUMO level of 3.7 eV or more and 4.8 eV or less are provided between lower electrode 11 and photoelectric conversion layer 13 .
  • a hole blocking layer 12 having a first layer 12A containing an organic material having levels and a second layer 12B containing fullerene or a fullerene derivative is provided. This reduces the electron barrier at the interface with the lower electrode 11 while suppressing injection of holes from the lower electrode 11 . In addition, while suppressing the generation of dark current at the interface of the photoelectric conversion layer 13, the generation of interface traps with the photoelectric conversion layer 13 is reduced. This will be explained below.
  • the photoelectric conversion element used as an imaging element that constitutes each pixel has a good S/N ratio of photocurrent and dark current and a high Response speed is required.
  • a hole blocking layer containing a fullerene and/or a fullerene derivative and a transparent hole transport material having an ionization potential of 5.5 eV or more is provided between the photoelectric conversion layer and the electrode. , the sensitivity, S/N ratio and response speed are improved.
  • the photoelectric conversion element has sufficient dark current, external quantum efficiency, and afterimage characteristics.
  • the electron extraction efficiency and the reduction of traps at the interface between the photoelectric conversion layer and the hole blocking layer are improved, the injection of holes from the electrode is suppressed, and the contact between the electrode and the hole blocking layer is improved. This is presumed to be due to the fact that no consideration was given to the interface barrier between the
  • the hole blocking layer 12 has a layered structure of the first layer 12A and the second layer 12B, and the hole blocking layer 12 is deeper than the work function of the lower electrode 11 by 1 eV or more on the lower electrode 11 side.
  • a first layer 12A containing an organic material having a HOMO level and a LUMO level of 3.7 eV or more and 4.8 eV or less is arranged, and a second layer 12B containing fullerene or a fullerene derivative is arranged on the photoelectric conversion layer 13 side. .
  • the generation of interface traps with the photoelectric conversion layer is reduced.
  • the photoelectric conversion element 10 of the present embodiment it is possible to improve the element characteristics.
  • the injection of holes from the lower electrode 11 is suppressed, and the discharge of charges at the interface between the hole blocking layer 12 and the photoelectric conversion layer is reduced. Therefore, dark current can be reduced.
  • the electron barrier at the interface between the lower electrode 11 and the hole blocking layer 12 and the interface between the photoelectric conversion layer 13 and the hole blocking layer 12 is reduced, so that electron extraction is It is possible to improve the efficiency, that is, the external quantum efficiency.
  • generation of traps at the interface between the hole blocking layer 12 and the photoelectric conversion layer 13 is reduced, so that photoresponsivity can be improved.
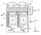
  • FIG. 14 schematically illustrates a cross-sectional configuration of an imaging device 1B according to Modification 1 of the present disclosure.
  • the image pickup device 1B is, for example, an image pickup device such as a CMOS image sensor used in electronic equipment such as a digital still camera and a video camera, like the image pickup device 1A of the above embodiment.
  • the imaging element 1B of this modified example differs from the above-described embodiment in that the lower electrode 11 is composed of one electrode for each unit pixel P.
  • the imaging device 1B like the imaging device 1A, has one photoelectric conversion section 10 and two photoelectric conversion regions 32B and 32R stacked vertically for each unit pixel P.
  • the photoelectric conversion section 10 corresponds to the photoelectric conversion element 10 described above, and is provided on the back surface (first surface 30A) side of the semiconductor substrate 30 .
  • the photoelectric conversion regions 32B and 32R are embedded in the semiconductor substrate 30 and stacked in the thickness direction of the semiconductor substrate 30 .
  • the lower electrode 11 of the photoelectric conversion section 10 is composed of one electrode, and the insulating layer 17 and the semiconductor layer 18 are provided between the lower electrode 11 and the hole blocking layer 12. It has the same configuration as the imaging device 1A except that it is not provided.
  • the configuration of the photoelectric conversion unit 10 is not limited to that of the image pickup device 1A of the above embodiment. Obtainable.
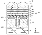
  • FIG. 15 schematically illustrates a cross-sectional configuration of an imaging device 1C according to Modification 2 of the present disclosure.
  • the imaging device 1C is, for example, an imaging device such as a CMOS image sensor used in electronic equipment such as a digital still camera and a video camera, like the imaging device 1A of the above embodiment.
  • the imaging device 1C of this modified example is obtained by stacking two photoelectric conversion units 10 and 80 and one photoelectric conversion region 32 in the vertical direction.
  • the photoelectric conversion units 10 and 80 and the photoelectric conversion region 32 selectively detect light in different wavelength ranges and perform photoelectric conversion.
  • the photoelectric conversion unit 10 acquires a green (G) color signal.
  • the photoelectric conversion unit 80 acquires a blue (B) color signal.
  • the photoelectric conversion area 32 acquires a red (R) color signal.
  • the imaging device 1C can acquire a plurality of types of color signals in one pixel without using a color filter.
  • the photoelectric conversion units 10 and 80 have the same configuration as the imaging device 1A of the above embodiment.
  • the photoelectric conversion section 10 includes a lower electrode 11, a hole blocking layer 12 (a first layer 12A and a second layer 12B), a photoelectric conversion layer 13, an electron blocking layer 14, and a work layer 14, similarly to the imaging element 1A.
  • a function adjusting layer 15 and an upper electrode 16 are laminated in this order.
  • the lower electrode 11 is composed of a plurality of electrodes (for example, a readout electrode 11A and a storage electrode 11B). Between the lower electrode 11 and the hole blocking layer 12, an insulating layer 17 and a semiconductor layer 18 are laminated in this order.
  • Photoelectric conversion section 80 like photoelectric conversion section 10, includes lower electrode 81, hole blocking layer 82 (first layer 82A and second layer 82B), photoelectric conversion layer 83, electron blocking layer 84, work function adjusting layer 85 and Upper electrodes 86 are stacked in this order.
  • the lower electrode 81 is composed of a plurality of electrodes (for example, a readout electrode 81A and a storage electrode 81B). 87 and a semiconductor layer 88 are laminated in this order.
  • the readout electrode 81A of the lower electrode 81 is electrically connected to the semiconductor layer 88 through an opening 87H provided in the insulating layer 87. As shown in FIG. One or both of the semiconductor layer 18 and the semiconductor layer 88 may be omitted.
  • a through electrode 91 that penetrates the interlayer insulating layer 89 and the photoelectric conversion section 10 and is electrically connected to the readout electrode 11A of the photoelectric conversion section 10 is connected to the readout electrode 81A. Furthermore, the readout electrode 81A is electrically connected to the floating diffusion FD provided in the semiconductor substrate 30 via the through electrodes 34 and 91, and temporarily accumulates charges generated in the photoelectric conversion layer 83. be able to. Furthermore, the readout electrode 81A is electrically connected to the amplifier transistor AMP and the like provided on the semiconductor substrate 30 through the through electrodes 34 and 91 .
  • FIG. 16A schematically illustrates a cross-sectional configuration of an imaging device 1D according to Modification 3 of the present disclosure.
  • FIG. 16B schematically shows an example of the planar configuration of the imaging element 1D shown in FIG. 16A
  • FIG. 16A shows a cross section taken along line II-II shown in FIG. 16B.
  • the imaging device 1D is, for example, a stacked imaging device in which a photoelectric conversion region 32 and a photoelectric conversion unit 60 are stacked.
  • a pixel unit 100A of an imaging device for example, an imaging device 100
  • a pixel unit 1a composed of four pixels arranged in two rows and two columns, for example, as shown in FIG. 16B. It becomes a repeating unit, and is repeatedly arranged in an array formed in the row direction and the column direction.
  • a color filter 55 that selectively transmits red light (R), green light (G), and blue light (B) is provided above the photoelectric conversion unit 60 (light incident side S1). , are provided for each unit pixel P, respectively.
  • the pixel unit 1a composed of four pixels arranged in two rows and two columns, two color filters for selectively transmitting green light (G) are arranged diagonally, and red light (R ) and blue light (B) are arranged on orthogonal diagonal lines one by one.
  • the unit pixel (Pr, Pg, Pb) provided with each color filter for example, the corresponding color light is detected in the photoelectric conversion section 60 . That is, in the pixel section 100A, pixels (Pr, Pg, Pb) for detecting red light (R), green light (G), and blue light (B) are arranged in a Bayer pattern.
  • the photoelectric conversion unit 60 generates excitons (electron-hole pairs) by absorbing light corresponding to part or all of the wavelengths in the visible light region of, for example, 400 nm or more and less than 750 nm.
  • An insulating layer (interlayer insulating layer 67), a semiconductor layer 68, a hole blocking layer 62 (first layer 62A and second layer 62B), a photoelectric conversion layer 63, an electron blocking layer 64, a work function adjusting layer 65 and an upper electrode 66 are They are stacked in this order.
  • Lower electrode 61, interlayer insulating layer 67, semiconductor layer 68, hole blocking layer 62 (first layer 62A and second layer 62B), photoelectric conversion layer 63, electron blocking layer 64, work function adjusting layer 65 and upper electrode 66 are , respectively, the lower electrode 11, the insulating layer 17, the semiconductor layer 18, the hole blocking layer 12, the photoelectric conversion layer 13, the electron blocking layer 14, the work function adjusting layer 15 and the upper electrode 16 of the imaging device 1A in the above embodiment. It has a similar configuration.
  • the lower electrode 61 has, for example, a readout electrode 61A and a storage electrode 61B that are independent of each other, and the readout electrode 61A is shared by, for example, four pixels. Note that the semiconductor layer 68 may be omitted.
  • the photoelectric conversion region 32 detects, for example, an infrared region of 750 nm or more and 1300 nm or less.
  • the light in the visible light region (red light (R), green light (G), and blue light (B)) is provided with each color filter.
  • the infrared light (IR) transmitted through the photoelectric conversion unit 60 is detected in the photoelectric conversion regions 32 of the unit pixels Pr, Pg, and Pb, and the unit pixels Pr, Pg, and Pb correspond to the infrared light (IR).
  • a signal charge is generated. That is, the imaging device 100 including the imaging device 1D can generate both a visible light image and an infrared light image at the same time.
  • the imaging device 100 including the imaging device 1D, a visible light image and an infrared light image can be obtained at the same position in the XZ plane direction. Therefore, it becomes possible to realize high integration in the XZ plane direction.
  • FIG. 17A schematically illustrates a cross-sectional configuration of an imaging device 1E according to Modification 4 of the present disclosure.
  • FIG. 17B schematically shows an example of the planar configuration of the imaging element 1E shown in FIG. 17A
  • FIG. 17A shows a cross section taken along line III-III shown in FIG. 17B.
  • the color filter 55 has a photoelectric conversion area, for example, as shown in FIG. 17A. 32 and the photoelectric conversion section 60 may be provided.
  • the color filter 55 is a color filter (color filter 55R) that selectively transmits at least red light (R) and selectively transmits at least blue light (B) in the pixel unit 1a. It has a configuration in which color filters (color filters 55B) are arranged diagonally to each other.
  • the photoelectric conversion section 60 (photoelectric conversion layer 63) is configured to selectively absorb light having a wavelength corresponding to, for example, green light (G).
  • the photoelectric conversion region 32R selectively absorbs light having a wavelength corresponding to red light (R), and the photoelectric conversion region 32B selectively absorbs light having a wavelength corresponding to blue light (B).
  • red light (R), green light (G), or blue light (B) is generated in the photoelectric conversion regions 32 (photoelectric conversion regions 32R and 32B) arranged below the photoelectric conversion section 60 and the color filters 55R and 55B, respectively. It is possible to acquire a signal corresponding to In the imaging device 1E of this modified example, the area of each of the photoelectric conversion units for RGB can be increased compared to a photoelectric conversion device having a general Bayer array, so the S/N ratio can be improved.
  • FIG. 18 illustrates another example (imaging device 1F) of the cross-sectional configuration of the imaging device 1C of modification 2 according to another modification of the present disclosure.
  • FIG. 19A schematically illustrates another example (imaging device 1G) of the cross-sectional configuration of the imaging device 1D of modification 3 according to another modification of the present disclosure.
  • FIG. 19B schematically shows an example of the planar configuration of the imaging element 1G shown in FIG. 19A.
  • FIG. 20A schematically illustrates another example (imaging device 1H) of the cross-sectional configuration of the imaging device 1E of modification 4 according to another modification of the present disclosure.
  • FIG. 20B schematically shows an example of the planar configuration of the imaging element 1H shown in FIG. 20A.
  • Modifications 2 to 4 above show examples in which the lower electrodes 11, 61, 81 constituting the photoelectric conversion units 60, 80 are composed of a plurality of electrodes (readout electrodes 11A, 61A, 81A and storage electrodes 11B, 61B, 81B). However, it is not limited to this.
  • the imaging devices 1C, 1D, and 1E according to Modifications 2 to 4 can be applied even when the lower electrode is composed of one electrode for each unit pixel P, as in Modification 1 above. A similar effect can be obtained.
  • FIG. 21 illustrates an example of the overall configuration of an imaging device (imaging device 100) including the imaging device (for example, the imaging device 1A) shown in FIG. 3 and the like.
  • the imaging device 100 is, for example, a CMOS image sensor, takes in incident light (image light) from a subject through an optical lens system (not shown), and measures the amount of incident light formed on an imaging surface. The electric signal is converted into an electric signal on a pixel-by-pixel basis and output as a pixel signal.
  • the image pickup device 100 has a pixel section 100A as an image pickup area on a semiconductor substrate 30. In the peripheral region of the pixel section 100A, for example, a vertical drive circuit 111, a column signal processing circuit 112, a horizontal drive circuit 113, an output It has a circuit 114 , a control circuit 115 and an input/output terminal 116 .
  • the pixel section 100A has, for example, a plurality of unit pixels P arranged two-dimensionally in a matrix.
  • a pixel drive line Lread (specifically, a row selection line and a reset control line) is wired for each pixel row, and a vertical signal line Lsig is wired for each pixel column.
  • the pixel drive line Lread transmits drive signals for reading signals from pixels.
  • One end of the pixel drive line Lread is connected to an output terminal corresponding to each row of the vertical drive circuit 111 .
  • the vertical driving circuit 111 is a pixel driving section configured by a shift register, an address decoder, and the like, and drives each unit pixel P of the pixel section 100A, for example, in units of rows.
  • a signal output from each unit pixel P in a pixel row selectively scanned by the vertical drive circuit 111 is supplied to the column signal processing circuit 112 through each vertical signal line Lsig.
  • the column signal processing circuit 112 is composed of amplifiers, horizontal selection switches, and the like provided for each vertical signal line Lsig.
  • the horizontal drive circuit 113 is composed of a shift register, an address decoder, etc., and sequentially drives the horizontal selection switches of the column signal processing circuit 112 while scanning them. By selective scanning by the horizontal drive circuit 113, the signals of the pixels transmitted through the vertical signal lines Lsig are sequentially output to the horizontal signal line 121 and transmitted to the outside of the semiconductor substrate 30 through the horizontal signal line 121. .
  • the output circuit 114 performs signal processing on signals sequentially supplied from each of the column signal processing circuits 112 via the horizontal signal line 121 and outputs the processed signals.
  • the output circuit 114 may perform only buffering, or may perform black level adjustment, column variation correction, various digital signal processing, and the like.
  • a circuit portion consisting of the vertical drive circuit 111, the column signal processing circuit 112, the horizontal drive circuit 113, the horizontal signal line 121 and the output circuit 114 may be formed directly on the semiconductor substrate 30, or may be formed on the external control IC. It may be arranged. Moreover, those circuit portions may be formed on another substrate connected by a cable or the like.
  • the control circuit 115 receives a clock given from the outside of the semiconductor substrate 30, data instructing an operation mode, etc., and outputs data such as internal information of the imaging device 100.
  • the control circuit 115 further has a timing generator that generates various timing signals, and controls the vertical drive circuit 111, the column signal processing circuit 112, the horizontal drive circuit 113, etc. based on the various timing signals generated by the timing generator. It controls driving of peripheral circuits.
  • the input/output terminal 116 exchanges signals with the outside.
  • the imaging apparatus 100 as described above is applied to various electronic devices such as imaging systems such as digital still cameras and digital video cameras, mobile phones with imaging functions, and other devices with imaging functions. can do.
  • FIG. 22 is a block diagram showing an example of the configuration of the electronic device 1000. As shown in FIG. 22
  • an electronic device 1000 includes an optical system 1001, an imaging device 100, and a DSP (Digital Signal Processor) 1002. , an operation system 1006 and a power supply system 1007 are connected to each other, so that still images and moving images can be captured.
  • DSP Digital Signal Processor
  • the optical system 1001 is configured with one or more lenses, takes in incident light (image light) from a subject, and forms an image on the imaging surface of the imaging device 100 .
  • the imaging device 100 As the imaging device 100, the imaging device 100 described above is applied.
  • the image capturing apparatus 100 converts the amount of incident light imaged on the image capturing surface by the optical system 1001 into an electric signal for each pixel, and supplies the electric signal to the DSP 1002 as a pixel signal.
  • the DSP 1002 acquires an image by performing various signal processing on the signal from the imaging device 100 and temporarily stores the image data in the memory 1003 .
  • the image data stored in the memory 1003 is recorded in the recording device 1005 or supplied to the display device 1004 to display the image.
  • An operation system 1006 receives various operations by a user and supplies an operation signal to each block of the electronic device 1000 , and a power supply system 1007 supplies electric power necessary for driving each block of the electronic device 1000 .
  • FIG. 23A schematically illustrates an example of the overall configuration of a photodetection system 2000 including the imaging device 100.
  • FIG. FIG. 23B shows an example of the circuit configuration of the photodetection system 2000.
  • a light detection system 2000 includes a light emitting device 2001 as a light source section that emits infrared light L2, and a light detection device 2002 as a light receiving section having a photoelectric conversion element.
  • the imaging device 100 described above can be used.
  • the light detection system 2000 may further include a system control section 2003 , a light source drive section 2004 , a sensor control section 2005 , a light source side optical system 2006 and a camera side optical system 2007 .
  • the photodetector 2002 can detect the light L1 and the light L2.
  • the light L1 is the ambient light from the outside reflected by the object (measurement object) 2100 (FIG. 23A).
  • Light L2 is light emitted by the light emitting device 2001 and then reflected by the subject 2100 .
  • the light L1 is, for example, visible light
  • the light L2 is, for example, infrared light.
  • the light L1 can be detected in the photoelectric conversion portion of the photodetector 2002, and the light L2 can be detected in the photoelectric conversion region of the photodetector 2002.
  • FIG. Image information of the object 2100 can be obtained from the light L1, and distance information between the object 2100 and the light detection system 2000 can be obtained from the light L2.
  • the light detection system 2000 can be mounted on, for example, electronic devices such as smartphones and moving bodies such as cars.
  • the light emitting device 2001 can be composed of, for example, a semiconductor laser, a surface emitting semiconductor laser, or a vertical cavity surface emitting laser (VCSEL).
  • VCSEL vertical cavity surface emitting laser
  • the photoelectric conversion unit can measure the distance to the subject 2100 by, for example, time-of-flight (TOF).
  • a structured light method or a stereo vision method can be adopted as a method for detecting the light L2 emitted from the light emitting device 2001 by the photodetector 2002.
  • the distance between the photodetection system 2000 and the subject 2100 can be measured by projecting a predetermined pattern of light onto the subject 2100 and analyzing the degree of distortion of the pattern.
  • the stereo vision method for example, two or more cameras are used to obtain two or more images of the subject 2100 viewed from two or more different viewpoints, thereby measuring the distance between the photodetection system 2000 and the subject. can.
  • the light emitting device 2001 and the photodetector 2002 can be synchronously controlled by the system control unit 2003 .
  • FIG. 24 is a diagram showing an example of a schematic configuration of an endoscopic surgery system to which the technology according to the present disclosure (this technology) can be applied.
  • FIG. 24 shows how an operator (physician) 11131 is performing surgery on a patient 11132 on a patient bed 11133 using an endoscopic surgery system 11000 .
  • an endoscopic surgery system 11000 includes an endoscope 11100, other surgical instruments 11110 such as a pneumoperitoneum tube 11111 and an energy treatment instrument 11112, and a support arm device 11120 for supporting the endoscope 11100. , and a cart 11200 loaded with various devices for endoscopic surgery.
  • An endoscope 11100 is composed of a lens barrel 11101 whose distal end is inserted into the body cavity of a patient 11132 and a camera head 11102 connected to the proximal end of the lens barrel 11101 .
  • an endoscope 11100 configured as a so-called rigid scope having a rigid lens barrel 11101 is illustrated, but the endoscope 11100 may be configured as a so-called flexible scope having a flexible lens barrel. good.
  • the tip of the lens barrel 11101 is provided with an opening into which the objective lens is fitted.
  • a light source device 11203 is connected to the endoscope 11100, and light generated by the light source device 11203 is guided to the tip of the lens barrel 11101 by a light guide extending inside the lens barrel 11101, where it reaches the objective. Through the lens, the light is irradiated toward the observation object inside the body cavity of the patient 11132 .
  • the endoscope 11100 may be a straight scope, a perspective scope, or a side scope.
  • An optical system and an imaging element are provided inside the camera head 11102, and the reflected light (observation light) from the observation target is focused on the imaging element by the optical system.
  • the imaging device photoelectrically converts the observation light to generate an electrical signal corresponding to the observation light, that is, an image signal corresponding to the observation image.
  • the image signal is transmitted to a camera control unit (CCU: Camera Control Unit) 11201 as RAW data.
  • CCU Camera Control Unit
  • the CCU 11201 includes a CPU (Central Processing Unit), a GPU (Graphics Processing Unit), etc., and controls the operations of the endoscope 11100 and the display device 11202 in an integrated manner. Further, the CCU 11201 receives an image signal from the camera head 11102 and performs various image processing such as development processing (demosaicing) for displaying an image based on the image signal.
  • CPU Central Processing Unit
  • GPU Graphics Processing Unit
  • the display device 11202 displays an image based on an image signal subjected to image processing by the CCU 11201 under the control of the CCU 11201 .
  • the light source device 11203 is composed of a light source such as an LED (light emitting diode), for example, and supplies the endoscope 11100 with irradiation light for imaging a surgical site or the like.
  • a light source such as an LED (light emitting diode)
  • LED light emitting diode
  • the input device 11204 is an input interface for the endoscopic surgery system 11000.
  • the user can input various information and instructions to the endoscopic surgery system 11000 via the input device 11204 .
  • the user inputs an instruction or the like to change the imaging conditions (type of irradiation light, magnification, focal length, etc.) by the endoscope 11100 .
  • the treatment instrument control device 11205 controls driving of the energy treatment instrument 11112 for tissue cauterization, incision, blood vessel sealing, or the like.
  • the pneumoperitoneum device 11206 inflates the body cavity of the patient 11132 for the purpose of securing the visual field of the endoscope 11100 and securing the operator's working space, and injects gas into the body cavity through the pneumoperitoneum tube 11111. send in.
  • the recorder 11207 is a device capable of recording various types of information regarding surgery.
  • the printer 11208 is a device capable of printing various types of information regarding surgery in various formats such as text, images, and graphs.
  • the light source device 11203 that supplies the endoscope 11100 with irradiation light for photographing the surgical site can be composed of, for example, a white light source composed of an LED, a laser light source, or a combination thereof.
  • a white light source is configured by a combination of RGB laser light sources
  • the output intensity and output timing of each color (each wavelength) can be controlled with high accuracy. It can be carried out.
  • the observation target is irradiated with laser light from each of the RGB laser light sources in a time-division manner, and by controlling the drive of the imaging element of the camera head 11102 in synchronization with the irradiation timing, each of RGB can be handled. It is also possible to pick up images by time division. According to this method, a color image can be obtained without providing a color filter in the imaging device.
  • the driving of the light source device 11203 may be controlled so as to change the intensity of the output light every predetermined time.
  • the drive of the imaging device of the camera head 11102 in synchronism with the timing of the change in the intensity of the light to obtain an image in a time-division manner and synthesizing the images, a high dynamic A range of images can be generated.
  • the light source device 11203 may be configured to be capable of supplying light in a predetermined wavelength range corresponding to special light observation.
  • special light observation for example, the wavelength dependence of light absorption in body tissues is used to irradiate a narrower band of light than the irradiation light (i.e., white light) used during normal observation, thereby observing the mucosal surface layer.
  • irradiation light i.e., white light
  • Narrow Band Imaging in which a predetermined tissue such as a blood vessel is imaged with high contrast, is performed.
  • fluorescence observation may be performed in which an image is obtained from fluorescence generated by irradiation with excitation light.
  • the body tissue is irradiated with excitation light and the fluorescence from the body tissue is observed (autofluorescence observation), or a reagent such as indocyanine green (ICG) is locally injected into the body tissue and the body tissue is examined.
  • a fluorescence image can be obtained by irradiating excitation light corresponding to the fluorescence wavelength of the reagent.
  • the light source device 11203 can be configured to be able to supply narrowband light and/or excitation light corresponding to such special light observation.
  • FIG. 25 is a block diagram showing an example of functional configurations of the camera head 11102 and CCU 11201 shown in FIG.
  • the camera head 11102 has a lens unit 11401, an imaging section 11402, a drive section 11403, a communication section 11404, and a camera head control section 11405.
  • the CCU 11201 has a communication section 11411 , an image processing section 11412 and a control section 11413 .
  • the camera head 11102 and the CCU 11201 are communicably connected to each other via a transmission cable 11400 .
  • a lens unit 11401 is an optical system provided at a connection with the lens barrel 11101 . Observation light captured from the tip of the lens barrel 11101 is guided to the camera head 11102 and enters the lens unit 11401 .
  • a lens unit 11401 is configured by combining a plurality of lenses including a zoom lens and a focus lens.
  • the number of imaging elements constituting the imaging unit 11402 may be one (so-called single-plate type) or plural (so-called multi-plate type).
  • image signals corresponding to RGB may be generated by each image pickup element, and a color image may be obtained by synthesizing the image signals.
  • the imaging unit 11402 may be configured to have a pair of imaging elements for respectively acquiring right-eye and left-eye image signals corresponding to 3D (dimensional) display.
  • the 3D display enables the operator 11131 to more accurately grasp the depth of the living tissue in the surgical site.
  • a plurality of systems of lens units 11401 may be provided corresponding to each imaging element.
  • the imaging unit 11402 does not necessarily have to be provided in the camera head 11102 .
  • the imaging unit 11402 may be provided inside the lens barrel 11101 immediately after the objective lens.
  • the drive unit 11403 is configured by an actuator, and moves the zoom lens and focus lens of the lens unit 11401 by a predetermined distance along the optical axis under control from the camera head control unit 11405 . Thereby, the magnification and focus of the image captured by the imaging unit 11402 can be appropriately adjusted.
  • the communication unit 11404 is composed of a communication device for transmitting and receiving various information to and from the CCU 11201.
  • the communication unit 11404 transmits the image signal obtained from the imaging unit 11402 as RAW data to the CCU 11201 via the transmission cable 11400 .
  • the communication unit 11404 receives a control signal for controlling driving of the camera head 11102 from the CCU 11201 and supplies it to the camera head control unit 11405 .
  • the control signal includes, for example, information to specify the frame rate of the captured image, information to specify the exposure value at the time of imaging, and/or information to specify the magnification and focus of the captured image. Contains information about conditions.
  • the imaging conditions such as the frame rate, exposure value, magnification, and focus may be appropriately designated by the user, or may be automatically set by the control unit 11413 of the CCU 11201 based on the acquired image signal. good.
  • the endoscope 11100 is equipped with so-called AE (Auto Exposure) function, AF (Auto Focus) function, and AWB (Auto White Balance) function.
  • the camera head control unit 11405 controls driving of the camera head 11102 based on the control signal from the CCU 11201 received via the communication unit 11404.
  • the communication unit 11411 is composed of a communication device for transmitting and receiving various information to and from the camera head 11102 .
  • the communication unit 11411 receives image signals transmitted from the camera head 11102 via the transmission cable 11400 .
  • the communication unit 11411 transmits a control signal for controlling driving of the camera head 11102 to the camera head 11102 .
  • Image signals and control signals can be transmitted by electric communication, optical communication, or the like.
  • the image processing unit 11412 performs various types of image processing on the image signal, which is RAW data transmitted from the camera head 11102 .
  • the control unit 11413 performs various controls related to imaging of the surgical site and the like by the endoscope 11100 and display of the captured image obtained by imaging the surgical site and the like. For example, the control unit 11413 generates control signals for controlling driving of the camera head 11102 .
  • control unit 11413 causes the display device 11202 to display a captured image showing the surgical site and the like based on the image signal that has undergone image processing by the image processing unit 11412 .
  • the control unit 11413 may recognize various objects in the captured image using various image recognition techniques. For example, the control unit 11413 detects the shape, color, and the like of the edges of objects included in the captured image, thereby detecting surgical instruments such as forceps, specific body parts, bleeding, mist during use of the energy treatment instrument 11112, and the like. can recognize.
  • the control unit 11413 may use the recognition result to display various types of surgical assistance information superimposed on the image of the surgical site. By superimposing and presenting the surgery support information to the operator 11131, the burden on the operator 11131 can be reduced and the operator 11131 can proceed with the surgery reliably.
  • a transmission cable 11400 connecting the camera head 11102 and the CCU 11201 is an electrical signal cable compatible with electrical signal communication, an optical fiber compatible with optical communication, or a composite cable of these.
  • wired communication is performed using the transmission cable 11400, but communication between the camera head 11102 and the CCU 11201 may be performed wirelessly.
  • the technology according to the present disclosure can be applied to the imaging unit 11402 among the configurations described above. By applying the technology according to the present disclosure to the imaging unit 11402, detection accuracy is improved.
  • the technology according to the present disclosure may also be applied to, for example, a microsurgery system.
  • the technology according to the present disclosure can be applied to various products.
  • the technology according to the present disclosure can be applied to any type of movement such as automobiles, electric vehicles, hybrid electric vehicles, motorcycles, bicycles, personal mobility, airplanes, drones, ships, robots, construction machinery, agricultural machinery (tractors), etc. It may also be implemented as a body-mounted device.
  • FIG. 26 is a block diagram showing a schematic configuration example of a vehicle control system, which is an example of a mobile control system to which the technology according to the present disclosure can be applied.
  • a vehicle control system 12000 includes a plurality of electronic control units connected via a communication network 12001.
  • the vehicle control system 12000 includes a drive system control unit 12010, a body system control unit 12020, an exterior information detection unit 12030, an interior information detection unit 12040, and an integrated control unit 12050.
  • a microcomputer 12051, an audio/image output section 12052, and an in-vehicle network I/F (interface) 12053 are illustrated.
  • the drive system control unit 12010 controls the operation of devices related to the drive system of the vehicle according to various programs.
  • the driving system control unit 12010 includes a driving force generator for generating driving force of the vehicle such as an internal combustion engine or a driving motor, a driving force transmission mechanism for transmitting the driving force to the wheels, and a steering angle of the vehicle. It functions as a control device such as a steering mechanism to adjust and a brake device to generate braking force of the vehicle.
  • the body system control unit 12020 controls the operation of various devices equipped on the vehicle body according to various programs.
  • the body system control unit 12020 functions as a keyless entry system, a smart key system, a power window device, or a control device for various lamps such as headlamps, back lamps, brake lamps, winkers or fog lamps.
  • the body system control unit 12020 can receive radio waves transmitted from a portable device that substitutes for a key or signals from various switches.
  • the body system control unit 12020 receives the input of these radio waves or signals and controls the door lock device, power window device, lamps, etc. of the vehicle.
  • the vehicle exterior information detection unit 12030 detects information outside the vehicle in which the vehicle control system 12000 is installed.
  • the vehicle exterior information detection unit 12030 is connected with an imaging section 12031 .
  • the vehicle exterior information detection unit 12030 causes the imaging unit 12031 to capture an image of the exterior of the vehicle, and receives the captured image.
  • the vehicle exterior information detection unit 12030 may perform object detection processing or distance detection processing such as people, vehicles, obstacles, signs, or characters on the road surface based on the received image.
  • the imaging unit 12031 is an optical sensor that receives light and outputs an electrical signal according to the amount of received light.
  • the imaging unit 12031 can output the electric signal as an image, and can also output it as distance measurement information.
  • the light received by the imaging unit 12031 may be visible light or non-visible light such as infrared rays.
  • the in-vehicle information detection unit 12040 detects in-vehicle information.
  • the in-vehicle information detection unit 12040 is connected to, for example, a driver state detection section 12041 that detects the state of the driver.
  • the driver state detection unit 12041 includes, for example, a camera that captures an image of the driver, and the in-vehicle information detection unit 12040 detects the degree of fatigue or concentration of the driver based on the detection information input from the driver state detection unit 12041. It may be calculated, or it may be determined whether the driver is dozing off.
  • the microcomputer 12051 calculates control target values for the driving force generator, the steering mechanism, or the braking device based on the information inside and outside the vehicle acquired by the vehicle exterior information detection unit 12030 or the vehicle interior information detection unit 12040, and controls the drive system control unit.
  • a control command can be output to 12010 .
  • the microcomputer 12051 realizes the functions of ADAS (Advanced Driver Assistance System) including collision avoidance or shock mitigation of vehicles, follow-up driving based on inter-vehicle distance, vehicle speed maintenance driving, vehicle collision warning, vehicle lane deviation warning, etc. Cooperative control can be performed for the purpose of ADAS (Advanced Driver Assistance System) including collision avoidance or shock mitigation of vehicles, follow-up driving based on inter-vehicle distance, vehicle speed maintenance driving, vehicle collision warning, vehicle lane deviation warning, etc. Cooperative control can be performed for the purpose of ADAS (Advanced Driver Assistance System) including collision avoidance or shock mitigation of vehicles, follow-up driving based on inter-vehicle distance, vehicle speed maintenance driving
  • the microcomputer 12051 controls the driving force generator, the steering mechanism, the braking device, etc. based on the information about the vehicle surroundings acquired by the vehicle exterior information detection unit 12030 or the vehicle interior information detection unit 12040, so that the driver's Cooperative control can be performed for the purpose of autonomous driving, etc., in which vehicles autonomously travel without depending on operation.
  • the microcomputer 12051 can output a control command to the body system control unit 12020 based on the information outside the vehicle acquired by the information detection unit 12030 outside the vehicle.
  • the microcomputer 12051 controls the headlamps according to the position of the preceding vehicle or the oncoming vehicle detected by the vehicle exterior information detection unit 12030, and performs cooperative control aimed at anti-glare such as switching from high beam to low beam. It can be carried out.
  • the audio/image output unit 12052 transmits at least one of audio and/or image output signals to an output device capable of visually or audibly notifying the passengers of the vehicle or the outside of the vehicle.
  • an audio speaker 12061, a display unit 12062 and an instrument panel 12063 are illustrated as output devices.
  • the display unit 12062 may include at least one of an on-board display and a head-up display, for example.
  • FIG. 27 is a diagram showing an example of the installation position of the imaging unit 12031.
  • the imaging unit 12031 has imaging units 12101, 12102, 12103, 12104, and 12105.
  • the imaging units 12101, 12102, 12103, 12104, and 12105 are provided at positions such as the front nose of the vehicle 12100, the side mirrors, the rear bumper, the back door, and the upper part of the windshield in the vehicle interior, for example.
  • An image pickup unit 12101 provided in the front nose and an image pickup unit 12105 provided above the windshield in the passenger compartment mainly acquire images in front of the vehicle 12100 .
  • Imaging units 12102 and 12103 provided in the side mirrors mainly acquire side images of the vehicle 12100 .
  • An imaging unit 12104 provided in the rear bumper or back door mainly acquires an image behind the vehicle 12100 .
  • the imaging unit 12105 provided above the windshield in the passenger compartment is mainly used for detecting preceding vehicles, pedestrians, obstacles, traffic lights, traffic signs, lanes, and the like.
  • FIG. 27 shows an example of the imaging range of the imaging units 12101 to 12104.
  • the imaging range 12111 indicates the imaging range of the imaging unit 12101 provided in the front nose
  • the imaging ranges 12112 and 12113 indicate the imaging ranges of the imaging units 12102 and 12103 provided in the side mirrors, respectively
  • the imaging range 12114 The imaging range of an imaging unit 12104 provided on the rear bumper or back door is shown. For example, by superimposing the image data captured by the imaging units 12101 to 12104, a bird's-eye view image of the vehicle 12100 viewed from above can be obtained.
  • At least one of the imaging units 12101 to 12104 may have a function of acquiring distance information.
  • at least one of the imaging units 12101 to 12104 may be a stereo camera composed of a plurality of imaging elements, or may be an imaging element having pixels for phase difference detection.
  • the microcomputer 12051 determines the distance to each three-dimensional object within the imaging ranges 12111 to 12114 and changes in this distance over time (relative velocity with respect to the vehicle 12100). , it is possible to extract, as the preceding vehicle, the closest three-dimensional object on the course of the vehicle 12100, which runs at a predetermined speed (for example, 0 km/h or more) in substantially the same direction as the vehicle 12100. can. Furthermore, the microcomputer 12051 can set the inter-vehicle distance to be secured in advance in front of the preceding vehicle, and perform automatic brake control (including following stop control) and automatic acceleration control (including following start control). In this way, cooperative control can be performed for the purpose of automatic driving in which the vehicle runs autonomously without relying on the operation of the driver.
  • automatic brake control including following stop control
  • automatic acceleration control including following start control
  • the microcomputer 12051 converts three-dimensional object data related to three-dimensional objects to other three-dimensional objects such as motorcycles, ordinary vehicles, large vehicles, pedestrians, and utility poles. It can be classified and extracted and used for automatic avoidance of obstacles. For example, the microcomputer 12051 distinguishes obstacles around the vehicle 12100 into those that are visible to the driver of the vehicle 12100 and those that are difficult to see. Then, the microcomputer 12051 judges the collision risk indicating the degree of danger of collision with each obstacle, and when the collision risk is equal to or higher than the set value and there is a possibility of collision, an audio speaker 12061 and a display unit 12062 are displayed. By outputting an alarm to the driver via the drive system control unit 12010 and performing forced deceleration and avoidance steering via the drive system control unit 12010, driving support for collision avoidance can be performed.
  • At least one of the imaging units 12101 to 12104 may be an infrared camera that detects infrared rays.
  • the microcomputer 12051 can recognize a pedestrian by determining whether or not the pedestrian exists in the captured images of the imaging units 12101 to 12104 .
  • recognition of a pedestrian is performed by, for example, a procedure for extracting feature points in images captured by the imaging units 12101 to 12104 as infrared cameras, and performing pattern matching processing on a series of feature points indicating the outline of an object to determine whether or not the pedestrian is a pedestrian.
  • the audio image output unit 12052 outputs a rectangular outline for emphasis to the recognized pedestrian. is superimposed on the display unit 12062 . Also, the audio/image output unit 12052 may control the display unit 12062 to display an icon or the like indicating a pedestrian at a desired position.
  • the technology according to the present disclosure can be applied to the imaging unit 12031 among the configurations described above.
  • the imaging device for example, the imaging device 1A
  • its modification can be applied to the imaging unit 12031 .
  • Example 1-1 First, an ITO film having a thickness of 100 nm was formed on a silicon substrate using a sputtering device. This was processed by photolithography and etching to form the lower electrode 11 . Next, an insulating film was formed on the silicon substrate and the lower electrode 11, and a 1 mm square opening through which the lower electrode 11 was exposed was formed by lithography and etching. Subsequently, after cleaning the silicon substrate by UV/ozone treatment, the silicon substrate was transferred to a vacuum deposition apparatus, and while the pressure in the deposition tank was reduced to 1 ⁇ 10 ⁇ 5 Pa or less, the substrate holder was rotated while lower electrode 11 was removed.
  • a hole blocking layer 12 (a first layer 12A and a second layer 12B), a photoelectric conversion layer 13, an electron blocking layer 14 and a work function adjusting layer 15 were sequentially formed thereon.
  • the naphthalene diimide (NDI) derivative represented by the above formula (1-27) was deposited at a substrate temperature of 40° C. to a thickness of 10 nm, which was used as the first layer 12A.
  • the subphthalocyanine derivative represented by the above formula (3-5) and the fullerene C60 represented by the formula (2) were heated at a substrate temperature of 40° C. at 1.0 ⁇ /sec and 0.250 ⁇ /sec, respectively.
  • HAT-CN represented by the following formula (6) was deposited so as to have a thickness of 10 nm, and this was used as the work function adjusting layer 15 .
  • the silicon substrate was transferred to a sputtering apparatus, and an ITO film with a thickness of 50 nm was formed on the work function adjusting layer 15, which was used as the upper electrode 16.
  • the silicon substrate was annealed at 150° C. for 210 minutes in a nitrogen atmosphere, and this was used as an evaluation element.
  • Example 1-2 A device for evaluation was fabricated in the same manner as in Experimental Example 1-1, except that the second layer 12B formed in Experimental Example 1-1 was omitted.
  • Example 1-3 A device for evaluation was produced in the same manner as in Experimental Example 1-1, except that the first layer 12A formed in Experimental Example 1-1 was omitted.
  • the wavelength of the light emitted from the green LED light source to the evaluation element through the band-pass filter was 560 nm, the light intensity was 1.62 ⁇ W/cm 2 , and the bias voltage applied between the electrodes of the evaluation element was measured using a semiconductor parameter analyzer. , and sweeping the voltage applied to the lower electrode 11 with respect to the upper electrode 16 to obtain a current-voltage curve.
  • the dark current value and the bright current value in the reverse bias applied state voltage applied state of +2.6 V
  • the wavelength of the light emitted from the green LED light source to the photoelectric conversion element through the bandpass filter was 560 nm, the light intensity was 162 ⁇ W/cm 2 , the voltage applied to the LED driver was controlled by the function generator, and the pulse width was 100 ms. was irradiated from the upper electrode 16 side.
  • a bias voltage of +2.6 V was applied to the lower electrode 11 with respect to the upper electrode 16, which was applied between the electrodes of the device for evaluation. .
  • the amount of coulombs in the process of current attenuation was measured 110 ms after the end of light pulse irradiation, and this was used as an index of the amount of afterimage.
  • a lower afterimage amount means a faster photoresponsivity.
  • Table 1 summarizes the configurations and device characteristics (dark current, EQE, amount of afterimage) of the hole blocking layers 12 of Experimental Examples 1-1 to 1-3.
  • the values of dark current, EQE, and amount of afterimage summarized in Table 1 are shown as relative values when the characteristic value of Experimental Example 1-1 is taken as a reference value (1.0).
  • Experimental Example 1-1 showed a lower dark current, equivalent EQE, and a smaller afterimage amount than Experimental Example 1-2.
  • Experimental Example 1-2 as compared with Experimental Example 1-1, the suppression of dark current generation at the interface between the hole blocking layer 1 (first layer 12A) and the photoelectric conversion layer 13 is insufficient. It is thought that it showed the electric current.
  • Experimental Example 1-2 it is considered that the afterimage amount increased because the suppression of interface traps between the hole blocking layer 1 and the photoelectric conversion layer 13 was insufficient as compared with Experimental Example 1-1.
  • Experimental Example 1-1 Compared to Experimental Example 1-3, Experimental Example 1-1 exhibited a lower dark current, superior EQE, and an equivalent afterimage amount. This is because in Experimental Example 1-3, the HOMO of the hole block is 0.9 eV shallower than the work function of the lower electrode 11 compared to Experimental Example 1-1, which is not sufficient to suppress hole injection from the lower electrode 11. , which is thought to have exhibited a high dark current. Also, in Experimental Example 1-3, compared with Experimental Example 1-1, it is considered that the EQE was lowered due to the presence of an electron barrier at the interface between the lower electrode 11 and the hole block.
  • the reason why the electron barrier at the interface between the lower electrode 11 and the hole blocking layer 1 is reduced by arranging the hole blocking layer 1 on the side in contact with the lower electrode 11 is that the hole blocking layer 1 11, the interface dipole is generated, the Fermi level of the lower electrode 11 shifts in the direction of the positive potential, and the potential gradient at the time of voltage application becomes advantageous for electron extraction. It is considered that the electron barrier from the LUMO of the hole blocking layer 1 to the Fermi level of the lower electrode 11 became smaller.
  • Example 2 In Experiment 2, dark current characteristics, external quantum efficiency and afterimage characteristics were evaluated when the second layer 12B of the hole blocking layer 12 was formed as a single layer film of fullerene (fullerene C 60 ). Note that the applied voltage was changed from Experiment 1 to Experiment 2. FIG. Specifically, the dark current characteristics were acquired at ⁇ 2.6 V, the external quantum efficiency at 0 V, and the afterimage characteristics at ⁇ 2.6 V applied.
  • Example 2-1 an ITO film having a thickness of 100 nm was formed on a silicon substrate using a sputtering device. This was processed by photolithography and etching to form the lower electrode 11 . Next, an insulating film was formed on the silicon substrate and the lower electrode 11, and a 1 mm square opening through which the lower electrode 11 was exposed was formed by lithography and etching. Subsequently, after cleaning the silicon substrate by UV/ozone treatment, the silicon substrate was transferred to a vacuum deposition apparatus, and while the pressure in the deposition tank was reduced to 1 ⁇ 10 ⁇ 5 Pa or less, the substrate holder was rotated while lower electrode 11 was removed.
  • An electron blocking layer 14, a photoelectric conversion layer 13, and a hole blocking layer 12 were sequentially formed thereon.
  • the PC-IC represented by the above formula (5) was deposited at a substrate temperature of 0.degree.
  • the subphthalocyanine derivative represented by the above formula (3-5), the DPh-BTBT represented by the above formula (4), and the fullerene C 60 represented by the formula (2) are combined at a substrate temperature of 40 ° C. Films were formed to a thickness of 230 nm at film formation rates of 0.50 ⁇ /sec, 0.50 ⁇ /sec, and 0.25 ⁇ /sec, respectively.
  • fullerene C 60 represented by the formula (2) was deposited at a substrate temperature of 0° C. to a thickness of 10 nm, and this was used as the second layer 12B.
  • a naphthalene diimide (NDI) derivative represented by the above formula (1-23) was deposited at a substrate temperature of 0° C. to a thickness of 10 nm to form the first layer 12A.
  • the silicon substrate was transferred to a sputtering apparatus, and an ITO film having a thickness of 50 nm was formed on the first layer 12A, which was used as the upper electrode 16.
  • the silicon substrate was annealed at 150° C. for 210 minutes in a nitrogen atmosphere, and this was used as an evaluation element.
  • Example 2-2 A device for evaluation was fabricated in the same manner as in Experimental Example 2-1, except that the second layer 12B formed in Experimental Example 2-1 was omitted.
  • Example 2-4 A device for evaluation was fabricated in the same manner as in Experimental Example 2-3, except that the second layer 12B formed in Experimental Example 2-3 was omitted.
  • Table 2 summarizes the configurations and device characteristics (dark current, EQE, afterimage amount) of the hole blocking layers 12 of Experimental Examples 2-1 to 2-4.
  • the values of dark current, EQE, and afterimage amount summarized in Table 1 are relative values when the characteristic values of Experimental Examples 2-1 and 2-3 are taken as a reference value (1.0). is.
  • Experimental Example 2-1 exhibited a lower dark current, a higher EQE, and a smaller afterimage amount than Experimental Example 2-2.
  • Experimental Example 2-2 as compared with Experimental Example 2-1, the suppression of dark current generation at the interface between the hole blocking layer 1 (first layer 12A) and the photoelectric conversion layer 13 is insufficient. It is thought that it showed the electric current.
  • the EQE was lower in Experimental Example 2-2 than in Experimental Example 2-1 because an electron barrier was present at the interface between the hole blocking layer 1 and the photoelectric conversion layer 13 .
  • Experimental Example 2-2 as compared with Experimental Example 2-1, it is considered that the suppression of interface traps between the hole blocking layer 1 and the photoelectric conversion layer 13 is insufficient, resulting in an increase in the afterimage amount.
  • Experimental Example 2-3 showed a lower dark current, a higher EQE, and a smaller afterimage amount than Experimental Example 2-4.
  • Experimental Example 2-4 compared with Experimental Example 2-3, dark current generation at the interface between the hole-blocking layer 1 and the photoelectric conversion layer 13 was insufficiently suppressed, so that the dark current was high.
  • the EQE was lower in Experimental Example 2-4 than in Experimental Example 2-3 due to the presence of an electron barrier at the interface between the hole blocking layer 1 and the photoelectric conversion layer 13 .
  • Experimental Example 2-4 as compared with Experimental Example 2-3, suppression of interface traps between the hole-blocking layer 1 and the photoelectric conversion layer 13 was insufficient, and thus the afterimage amount increased.
  • the work function adjusting layer 15 and the electron blocking layer 14 are laminated in this order from the lower electrode 11 side, and between the upper electrode 16 and the photoelectric conversion layer 13 A first layer 12A and a second layer 12B, which constitute the hole blocking layer 12, are formed in this order from the upper electrode 16 side.
  • the work function adjustment layer 15 may be omitted in this configuration.
  • the photoelectric conversion portion 10 using an organic material for detecting green light (G) and the photoelectric conversion regions for detecting blue light (B) and red light (R), respectively 32B and the photoelectric conversion region 32R are laminated
  • the content of the present disclosure is not limited to such a structure. That is, red light (R) or blue light (B) may be detected in a photoelectric conversion portion using an organic material, and green light (G) may be detected in a photoelectric conversion region made of an inorganic material.
  • the number and ratio of the photoelectric conversion portions using these organic materials and the photoelectric conversion regions made of inorganic materials are not limited.
  • the structure is not limited to the structure in which the photoelectric conversion portion using an organic material and the photoelectric conversion region made of an inorganic material are stacked vertically, and they may be arranged side by side along the substrate surface.
  • the configuration of the back-illuminated imaging device was exemplified, but the content of the present disclosure can also be applied to a front-illuminated imaging device.
  • the photoelectric conversion element 10, the imaging element 1A, etc., and the imaging apparatus 100 of the present disclosure do not need to include all of the constituent elements described in the above embodiments, and conversely, may include other constituent elements.
  • the imaging device 100 may be provided with a shutter for controlling the incidence of light on the imaging device 1A, or may be provided with an optical cut filter according to the purpose of the imaging device 100 .
  • the array of pixels (Pr, Pg, Pb) for detecting red light (R), green light (G), and blue light (B) may be an interline array, a G-stripe RB checkered array, or a Bayer array.
  • G-stripe RB complete checkered arrangement, checkered complementary color arrangement, stripe arrangement, diagonal stripe arrangement, primary color difference arrangement, field color difference sequential arrangement, frame color difference sequential arrangement, MOS type arrangement, improved MOS type arrangement, frame interleaved arrangement, field interleaved arrangement good.
  • the photoelectric conversion element 10 as an imaging element, but the photoelectric conversion element 10 of the present disclosure may be applied to a solar cell.
  • the photoelectric conversion layer is preferably designed to broadly absorb wavelengths of, for example, 400 nm to 800 nm.
  • the present technology can also have the following configuration.
  • a HOMO level 1 eV or more deep with respect to the work function of the first electrode and a LUMO level of 3.7 eV or more and 4.8 eV or less are provided between the first electrode and the photoelectric conversion layer.
  • a second charge blocking layer containing fullerene or a fullerene derivative are provided in this order from the first electrode side. This reduces the electron barrier at the interface with the first electrode while suppressing the injection of charges from the first electrode.
  • the generation of interface traps with the photoelectric conversion layer is reduced. Therefore, it is possible to improve device characteristics.
  • a first electrode (1) a first electrode; a second electrode arranged opposite to the first electrode; a photoelectric conversion layer provided between the first electrode and the second electrode and containing a fullerene or a fullerene derivative; an organic material provided between the first electrode and the photoelectric conversion layer and having a HOMO level 1 eV or more deep with respect to the work function of the first electrode and a LUMO level of 3.7 eV or more and 4.8 eV or less; a first charge blocking layer comprising;
  • a photoelectric conversion device comprising: a second charge blocking layer provided between the first charge blocking layer and the photoelectric conversion layer and containing the fullerene or fullerene derivative.
  • the first electrode has a work function of 4.0 eV or more and 5.5 eV or less and has a work function deeper than the LUMO level of the organic material. or the photoelectric conversion element according to one.
  • the total state density in the gap level at the interface between the second charge blocking layer and the photoelectric conversion layer is smaller than the total state density in the gap level in the photoelectric conversion layer, The photoelectric conversion element according to any one of 1) to (6).
  • the second charge blocking layer contains the fullerene or fullerene derivative and the material of the first charge blocking layer.
  • the photoelectric conversion layer further includes a dye material that absorbs light in a predetermined wavelength range and transmits light in other wavelength ranges,
  • a plurality of pixels each provided with an imaging device having one or more photoelectric conversion units The photoelectric conversion unit is a first electrode; a second electrode arranged opposite to the first electrode; a photoelectric conversion layer provided between the first electrode and the second electrode and containing a fullerene or a fullerene derivative; an organic material provided between the first electrode and the photoelectric conversion layer and having a HOMO level 1 eV or more deep with respect to the work function of the first electrode and a LUMO level of 3.7 eV or more and 4.8 eV or less; a first charge blocking layer comprising; and a second charge blocking layer provided between the first charge blocking layer and the photoelectric conversion layer and containing the fullerene or fullerene derivative.
  • the imaging element further includes one or more photoelectric conversion regions that perform photoelectric conversion in a wavelength band different from that of the one or more photoelectric conversion units.
  • the one or more photoelectric conversion regions are embedded in a semiconductor substrate, The imaging device according to (16), wherein the one or more photoelectric conversion units are arranged on the light incident surface side of the semiconductor substrate.
  • a multilayer wiring layer is formed on the surface of the semiconductor substrate opposite to the light incident surface.

Landscapes

  • Physics & Mathematics (AREA)
  • Electromagnetism (AREA)
  • Chemical & Material Sciences (AREA)
  • Engineering & Computer Science (AREA)
  • Materials Engineering (AREA)
  • Nanotechnology (AREA)
  • Solid State Image Pick-Up Elements (AREA)
  • Light Receiving Elements (AREA)
PCT/JP2022/007406 2021-05-26 2022-02-22 光電変換素子および撮像装置 Ceased WO2022249595A1 (ja)

Priority Applications (2)

Application Number Priority Date Filing Date Title
US18/559,178 US20240260284A1 (en) 2021-05-26 2022-02-22 Photoelectric conversion device and imaging machine
JP2023523997A JPWO2022249595A1 (enExample) 2021-05-26 2022-02-22

Applications Claiming Priority (2)

Application Number Priority Date Filing Date Title
JP2021088808 2021-05-26
JP2021-088808 2021-05-26

Publications (1)

Publication Number Publication Date
WO2022249595A1 true WO2022249595A1 (ja) 2022-12-01

Family

ID=84229783

Family Applications (1)

Application Number Title Priority Date Filing Date
PCT/JP2022/007406 Ceased WO2022249595A1 (ja) 2021-05-26 2022-02-22 光電変換素子および撮像装置

Country Status (3)

Country Link
US (1) US20240260284A1 (enExample)
JP (1) JPWO2022249595A1 (enExample)
WO (1) WO2022249595A1 (enExample)

Cited By (2)

* Cited by examiner, † Cited by third party
Publication number Priority date Publication date Assignee Title
WO2024171854A1 (ja) * 2023-02-15 2024-08-22 ソニーセミコンダクタソリューションズ株式会社 光電変換素子および光検出装置ならびに電子機器
WO2025018087A1 (ja) * 2023-07-14 2025-01-23 ソニーセミコンダクタソリューションズ株式会社 光検出装置

Citations (4)

* Cited by examiner, † Cited by third party
Publication number Priority date Publication date Assignee Title
JP2009231610A (ja) * 2008-03-24 2009-10-08 Pioneer Electronic Corp 有機太陽電池及び有機太陽電池の製造方法
US20150060775A1 (en) * 2013-08-28 2015-03-05 Taiwan Semiconductor Manufacturing Company, Ltd. Organic photo diode with dual electron blocking layers
JP2018113489A (ja) * 2015-11-12 2018-07-19 パナソニックIpマネジメント株式会社 光センサ
WO2020027081A1 (ja) * 2018-07-30 2020-02-06 ソニー株式会社 撮像素子および撮像装置

Patent Citations (4)

* Cited by examiner, † Cited by third party
Publication number Priority date Publication date Assignee Title
JP2009231610A (ja) * 2008-03-24 2009-10-08 Pioneer Electronic Corp 有機太陽電池及び有機太陽電池の製造方法
US20150060775A1 (en) * 2013-08-28 2015-03-05 Taiwan Semiconductor Manufacturing Company, Ltd. Organic photo diode with dual electron blocking layers
JP2018113489A (ja) * 2015-11-12 2018-07-19 パナソニックIpマネジメント株式会社 光センサ
WO2020027081A1 (ja) * 2018-07-30 2020-02-06 ソニー株式会社 撮像素子および撮像装置

Cited By (2)

* Cited by examiner, † Cited by third party
Publication number Priority date Publication date Assignee Title
WO2024171854A1 (ja) * 2023-02-15 2024-08-22 ソニーセミコンダクタソリューションズ株式会社 光電変換素子および光検出装置ならびに電子機器
WO2025018087A1 (ja) * 2023-07-14 2025-01-23 ソニーセミコンダクタソリューションズ株式会社 光検出装置

Also Published As

Publication number Publication date
JPWO2022249595A1 (enExample) 2022-12-01
US20240260284A1 (en) 2024-08-01

Similar Documents

Publication Publication Date Title
US20240313013A1 (en) Solid-state imaging element and manufacturing method thereof
JP7117110B2 (ja) 光電変換素子および撮像装置
KR102776688B1 (ko) 촬상 소자 및 촬상 장치
US20240292641A1 (en) Semiconductor element and semiconductor device
US20230276641A1 (en) Photoelectric conversion element and imaging device
US20250040333A1 (en) Photoelectric conversion element and imaging device
US20240260284A1 (en) Photoelectric conversion device and imaging machine
WO2024171854A1 (ja) 光電変換素子および光検出装置ならびに電子機器
US20250194332A1 (en) Photoelectric conversion element and photodetector
US20240365574A1 (en) Imaging element and imaging device
US20240355842A1 (en) Imaging element and imaging device
US20250169268A1 (en) Photoelectric conversion element, photodetector, and electronic apparatus
US20250344565A1 (en) Photoelectric conversion element, imaging device, and electronic apparatus
US20250255083A1 (en) Organic semiconductor film, photoelectric conversion element, and imaging device
US20240347554A1 (en) Imaging element and imaging device
US20250169267A1 (en) Photoelectric conversion element, photodetector, and photodetection system
WO2025121007A1 (ja) 光検出装置
WO2025052890A1 (ja) 光検出装置および電子機器
WO2025018087A1 (ja) 光検出装置
WO2025100109A1 (ja) 光検出素子および光検出装置
WO2025142509A1 (ja) 半導体素子、光検出素子、および半導体素子の製造方法
WO2023223801A1 (ja) 光電変換素子および光検出装置ならびに電子機器
WO2025126671A1 (ja) 光検出装置および電子機器

Legal Events

Date Code Title Description
121 Ep: the epo has been informed by wipo that ep was designated in this application

Ref document number: 22810876

Country of ref document: EP

Kind code of ref document: A1

WWE Wipo information: entry into national phase

Ref document number: 2023523997

Country of ref document: JP

WWE Wipo information: entry into national phase

Ref document number: 18559178

Country of ref document: US

NENP Non-entry into the national phase

Ref country code: DE

122 Ep: pct application non-entry in european phase

Ref document number: 22810876

Country of ref document: EP

Kind code of ref document: A1