WO2022009504A1 - 情報検索装置 - Google Patents

情報検索装置 Download PDF

Info

Publication number
WO2022009504A1
WO2022009504A1 PCT/JP2021/016110 JP2021016110W WO2022009504A1 WO 2022009504 A1 WO2022009504 A1 WO 2022009504A1 JP 2021016110 W JP2021016110 W JP 2021016110W WO 2022009504 A1 WO2022009504 A1 WO 2022009504A1
Authority
WO
WIPO (PCT)
Prior art keywords
information
unit
retrieval device
user
linguistic
Prior art date
Legal status (The legal status is an assumption and is not a legal conclusion. Google has not performed a legal analysis and makes no representation as to the accuracy of the status listed.)
Ceased
Application number
PCT/JP2021/016110
Other languages
English (en)
French (fr)
Japanese (ja)
Inventor
健太郎 佐野
敦 牧
佑人 小松
梓 網野
卓男 姚
佐知 田中
昭義 大平
Current Assignee (The listed assignees may be inaccurate. Google has not performed a legal analysis and makes no representation or warranty as to the accuracy of the list.)
Hitachi Ltd
Original Assignee
Hitachi Ltd
Priority date (The priority date is an assumption and is not a legal conclusion. Google has not performed a legal analysis and makes no representation as to the accuracy of the date listed.)
Filing date
Publication date
Application filed by Hitachi Ltd filed Critical Hitachi Ltd
Priority to US18/008,343 priority Critical patent/US20230297611A1/en
Priority to CN202180039469.4A priority patent/CN115917581A/zh
Publication of WO2022009504A1 publication Critical patent/WO2022009504A1/ja
Anticipated expiration legal-status Critical
Ceased legal-status Critical Current

Links

Images

Classifications

    • GPHYSICS
    • G06COMPUTING OR CALCULATING; COUNTING
    • G06FELECTRIC DIGITAL DATA PROCESSING
    • G06F16/00Information retrieval; Database structures therefor; File system structures therefor
    • G06F16/20Information retrieval; Database structures therefor; File system structures therefor of structured data, e.g. relational data
    • G06F16/24Querying
    • G06F16/242Query formulation
    • G06F16/243Natural language query formulation
    • GPHYSICS
    • G06COMPUTING OR CALCULATING; COUNTING
    • G06FELECTRIC DIGITAL DATA PROCESSING
    • G06F16/00Information retrieval; Database structures therefor; File system structures therefor
    • G06F16/60Information retrieval; Database structures therefor; File system structures therefor of audio data
    • G06F16/63Querying
    • G06F16/632Query formulation
    • GPHYSICS
    • G06COMPUTING OR CALCULATING; COUNTING
    • G06FELECTRIC DIGITAL DATA PROCESSING
    • G06F16/00Information retrieval; Database structures therefor; File system structures therefor
    • G06F16/60Information retrieval; Database structures therefor; File system structures therefor of audio data
    • G06F16/63Querying
    • G06F16/638Presentation of query results
    • GPHYSICS
    • G06COMPUTING OR CALCULATING; COUNTING
    • G06FELECTRIC DIGITAL DATA PROCESSING
    • G06F40/00Handling natural language data
    • G06F40/20Natural language analysis
    • GPHYSICS
    • G06COMPUTING OR CALCULATING; COUNTING
    • G06FELECTRIC DIGITAL DATA PROCESSING
    • G06F40/00Handling natural language data
    • G06F40/40Processing or translation of natural language
    • GPHYSICS
    • G06COMPUTING OR CALCULATING; COUNTING
    • G06QINFORMATION AND COMMUNICATION TECHNOLOGY [ICT] SPECIALLY ADAPTED FOR ADMINISTRATIVE, COMMERCIAL, FINANCIAL, MANAGERIAL OR SUPERVISORY PURPOSES; SYSTEMS OR METHODS SPECIALLY ADAPTED FOR ADMINISTRATIVE, COMMERCIAL, FINANCIAL, MANAGERIAL OR SUPERVISORY PURPOSES, NOT OTHERWISE PROVIDED FOR
    • G06Q50/00Information and communication technology [ICT] specially adapted for implementation of business processes of specific business sectors, e.g. utilities or tourism
    • G06Q50/10Services

Definitions

  • the present invention relates to an information retrieval device.
  • Patent Document 1 is a background technology in this technical field.
  • Patent Document 1 includes a behavioral knowledge-based storage unit that describes in linguistic information a combination of a person's behavior and a thing, place, situation, time, etc. that is the target of the behavior.
  • the detected value related to the target is acquired from the sensor, the acquired detected value is analyzed, the detected values obtained at the same time are integrated, and then the converted target is converted into the linguistic information representing the target.
  • the linguistic information representing the corresponding behavior is searched from the above-mentioned behavioral knowledge base storage unit, the one having the highest appearance probability is selected from the searched linguistic information, and the text is output. ".
  • Patent Document 2 As another background technique, there is Patent Document 2.
  • the biometric information of the user at the time of imaging and the subject information in the captured image are stored in association with the captured image data.
  • the biological information and the subject information are used to generate search conditions.
  • the biological information of the viewer at the time of the search is also used to generate the search condition.
  • the subject information in the captured image is, for example, information about the image of a person captured in the captured image, that is, captured.
  • the image is selected and displayed as appropriate for the user, subject to the emotions of the person and the facial expression of the person who was the subject, and also taking into account the emotions of the user at the time of searching.
  • There is. According to this method it is possible to easily and appropriately search for a captured image from a large amount of captured image data (see summary).
  • the combination of objects, places, situations, times, etc. that are the targets of human behavior is verbalized from sensor information, the behavioral knowledge base is searched in that language, and the behavior corresponding to the target is performed. You can search for the language information that represents it.
  • a sufficient type of sensor is provided in advance. It is not easy to install.
  • the existing behavioral knowledge base is used, it is difficult to provide information that reflects individual hobbies, tastes, and tendencies.
  • the captured image data, the biological information at the time of imaging by the user, and the subject information as the analysis result of the captured image data are acquired, and these are associated and used as a recording medium.
  • the search process can be executed using the biological information and the subject information.
  • biometric information and subject information are unsuitable as search keywords because the format of the processing result differs depending on the type of information to be sensed, the algorithm to be processed, the sensor to be used, the person in charge, and the like.
  • the information retrieval device of the present invention includes an information acquisition unit that acquires sensor information, an information verbalization unit that verbalizes the sensor information acquired by the information acquisition unit, and various types of linguistic information.
  • the general-purpose knowledge database stored in association with the information and the general-purpose knowledge database searched based on the linguistic information verbalized by the information verbalization department are searched and similar to the linguistic information and the linguistic information. It is characterized by including a search unit that outputs the various information associated with the language information. Other means will be described in the form for carrying out the invention.
  • FIG. 1 is a block diagram showing a network configuration centered on the information retrieval device 1 according to the present embodiment.
  • the information retrieval device 1 is a server device connected to a network such as the Internet 101.
  • the user can communicate with the information retrieval device 1 via the Internet 101 by the terminal device 102 owned by the user.
  • the terminal device 102 is various information terminal devices such as smartphones, tablets, and personal computers.
  • the terminal device 102 When the terminal device 102 is a smartphone or the like, the terminal device 102 communicates with the information retrieval device 1 via the base station 105 of the mobile communication network 104 connected to the Internet 101 via the gateway 103.
  • the terminal device 102 can also communicate with the information retrieval device 1 on the Internet 101 without going through the mobile communication network 104.
  • the terminal device 102 is a tablet or a personal computer
  • the terminal device 102 can communicate with the information retrieval device 1 on the Internet 101 without going through the mobile communication network 104.
  • the terminal device 102 can also communicate with the information retrieval device 1 via the mobile communication network 104 by using a wireless LAN (Local Area Network) compatible device.
  • a wireless LAN Local Area Network
  • FIG. 2 is a block diagram showing the configuration of the information retrieval device 1.
  • the information retrieval device 1 includes a CPU (Central Processing Unit) 11, a RAM (Random Access Memory) 12, a ROM (Read Only Memory) 13, and a large-capacity storage unit 14.
  • the information retrieval device 1 includes a communication control unit 15, a recording medium reading unit 17, an input unit 18, a display unit 19, and an action estimation calculation unit 29, each of which is connected to the CPU 11 via a bus. There is.
  • the CPU 11 is a processor that performs various operations and centrally controls each part of the information retrieval device 1.
  • the RAM 12 is a volatile memory and functions as a work area of the CPU 11.
  • the ROM 13 is a non-volatile memory, and stores, for example, a BIOS (Basic Input Output System) or the like.
  • the large-capacity storage unit 14 is a non-volatile storage device that stores various data, such as a hard disk.
  • the information retrieval program 20 is set up in the large-capacity storage unit 14.
  • the information retrieval program 20 is downloaded from the Internet 101 or the like and set up in the large-capacity storage unit 14.
  • the setup program of the information retrieval program 20 may be stored in the recording medium 16 described later.
  • the recording medium reading unit 17 reads the setup program of the information retrieval program 20 from the recording medium 16 and sets it up in the large-capacity storage unit 14.
  • the communication control unit 15 is, for example, a NIC (Network Interface Card) or the like, and has a function of communicating with another device via the Internet 101 or the like.
  • the recording medium reading unit 17 is, for example, an optical disk device or the like, and has a function of reading data of a recording medium 16 such as a DVD (Digital Versatile Disc) or a CD (Compact Disc).
  • the input unit 18 is, for example, a keyboard, a mouse, or the like, and has a function of inputting information such as a key code and position coordinates.
  • the display unit 19 is, for example, a liquid crystal display, an organic EL (Electro-Luminescence) display, or the like, and has a function of displaying characters, figures, and images.
  • the behavior estimation calculation unit 29 is a calculation processing unit such as a graphic card or a TPU (Tensor processing unit), and has a function of executing machine learning such as deep learning.
  • FIG. 3 is a block diagram showing the configuration of the terminal device 102.
  • This terminal device 102 is an example of a smartphone.
  • the terminal device 102 includes a CPU 111, a RAM 112, and a non-volatile storage unit 113, which are connected to the CPU 111 via a bus.
  • the terminal device 102 further includes a communication control unit 114, a display unit 115, an input unit 116, a GPS (Global Positioning System) unit 117, a speaker 118, and a microphone 119, which also have a CPU 111 and a bus. It is connected via.
  • GPS Global Positioning System
  • the CPU 111 has a function of performing various operations and centrally controlling each part of the terminal device 102.
  • the RAM 112 is a volatile memory and functions as a work area of the CPU 111.
  • the non-volatile storage unit 113 is composed of a semiconductor storage device, a magnetic storage device, or the like, and stores various data and programs.
  • a predetermined application program 120 is set up in the non-volatile storage unit 113. When the CPU 111 executes the application program 120, the information to be searched is input to the information retrieval device 1, and the search result is displayed by the information retrieval device 1.
  • the communication control unit 114 has a function of communicating with other devices via the mobile communication network 104 or the like.
  • the CPU 111 communicates with the information retrieval device 1 by the communication control unit 114.
  • the display unit 115 is, for example, a liquid crystal display, an organic EL display, or the like, and has a function of displaying characters, figures, images, and moving images.
  • the input unit 116 is, for example, a button, a touch panel, or the like, and has a function of inputting information.
  • the touch panel constituting the input unit 116 may be laminated on the surface of the display unit 115.
  • the user can input information to the input unit 116 by touching the touch panel provided on the upper layer of the display unit 115 with a finger.
  • the GPS unit 117 has a function of detecting the current position of the terminal device 102 based on the radio wave received from the positioning satellite.
  • the speaker 118 converts an electric signal into voice.
  • the microphone 119 records voice and converts it into an electric signal.
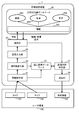
  • FIG. 4 is a functional block diagram of the information retrieval device 1. This functional block diagram illustrates the contents of the process executed by the information retrieval device 1 based on the information retrieval program 20.
  • the information acquisition unit 21 acquires sensor information from a certain user environment 130. Further, the information acquisition unit 21 acquires a request regarding a service requested by a certain user, attribute information related to the user, and the like from the terminal device 102.
  • the information verbalization unit 22 verbalizes the sensor information acquired by the information acquisition unit 21.
  • the information verbalization unit 22 further associates the resulting words with the sensor information related to the words and stores them in the personal history database 23.
  • the information retrieval device 1 can present the result of comparing the past behavior and the current behavior of the user.
  • the information acquisition unit 21 newly acquires the sensor information from the user environment 130
  • the information verbalization unit 22 verbalizes the sensor information again.
  • the search unit 25 searches the general-purpose knowledge database 26 using the information such as words as a result, and outputs various information associated with the information such as words and similar information.
  • the information acquisition unit 21 acquires various types of sensor information from the user environment 130 by various means.
  • the means for acquiring sensor information from the user environment 130 is, for example, a sensing device including a camera, a microphone, or various sensors.
  • the sensor information acquired from the user environment 130 includes electrical signals converted from biological information such as brain waves, weather information and human flow information via the Internet 101, information on diseases, economic information, environmental information, and information from other knowledge databases. And so on.
  • the format of the sensor information acquired from the user environment 130 is a text format such as CSV (Comma-Separated Values) or JSON (JavaScript Object Notation), audio data, image data, voltage, digital signal, coordinate value, sensor indicated value, and features. It is one of the quantity and the like.
  • the information verbalization unit 22 receives the sensor information output from the information acquisition unit 21 and verbalizes it.
  • FIG. 5 is a block diagram showing the configuration of the information verbalization unit 22.
  • the information verbalization unit 22 includes a reception unit 22a, a conversion unit 22b, an output unit 22c, and a conversion policy determination unit 22d.
  • the receiving unit 22a receives the sensor information output from the information acquisition unit 21.
  • the operation method of the receiving unit 22a may be such that the receiving state may be maintained at all times, or the information acquisition unit 21 may confirm with another signal that the information has been transmitted and shift to the receiving state.
  • the information acquisition unit 21 may be inquired from the unit 22a whether or not there is information. Further, the receiving unit 22a may have a function that allows the user to register the output format each time a new sensing device is used.
  • the conversion unit 22b converts the sensor information received by the reception unit 22a into information such as words.
  • information such as words converted by the conversion unit 22b may be referred to as "language information”.
  • the policy that the conversion unit 22b converts the sensor information into information such as words is stored in the conversion policy determination unit 22d.
  • the conversion unit 22b operates according to the policy.
  • the conversion policy determination unit 22d is prepared in advance with a plurality of conversion policy options.
  • the conversion policy includes, for example, converting images and emotions of the subject obtained by analyzing them into words, converting numerical values into information that can be understood by machines, converting voice into codes, and deep learning of odors and scents. There are such things as converting to feature quantities.
  • the user can arbitrarily select one from a plurality of conversion policies.
  • the conversion policy determination unit 22d may be prepared in advance as options for a plurality of types of sensor information and a plurality of information formats such as words after conversion. As a result, the user can select a combination of the type of sensor information stored in the conversion policy determination unit 22d and the format of information such as words after conversion.
  • the output unit 22c outputs information such as words, which is the result of verbalization by the conversion unit 22b, to the language input unit 24. Information such as words output by the output unit 22c is coded in some way.
  • the search unit 25 can search the general-purpose knowledge database 26 using information such as words.
  • the language input unit 24 inputs information such as words that is the output result of the information verbalization unit 22, the language input unit 24 outputs the information such as words to the search unit 25.
  • the search unit 25 uses information such as words as a search keyword.
  • the language input unit 24 may change the timing of inputting information such as words into the search unit 25 according to the load of the search. Further, the language input unit 24 acquires attribute information such as a user's name, gender, age, etc. other than the language, information presented to this user by the information retrieval device 1 in the past, etc. from the personal history database 23, and searches the search range. It may be entered as one of the limiting conditions.
  • the personal history database 23 stores conditions, settings, personal information, information presented by the information retrieval device 1 to the user in the past, etc. when the user used the information retrieval device 1 in the past, and is the same from the next time onward. This is a database that can be referred to when the user uses the information retrieval device 1.
  • the personal history database 23 can provide information according to an individual's hobbies and tastes.
  • the search unit 25 searches the general-purpose knowledge database 26 based on the information such as words input from the language input unit 24 and the information input from the personal history database 23, and associates it with the information such as the input words. Various stored information is output to the transmission content determination unit 27.
  • the search unit 25 executes a search using the similarity of information such as words as an index. If a condition for limiting the search range is entered, the search range is limited based on the condition.
  • the similarity of words may be defined based on the meaning of the language, for example, synonyms have a high degree of similarity and antonyms have a low degree of similarity.
  • a word vector corresponding to the relationship with surrounding words in a sentence is generated by a means using deep learning or the like represented by CBOW (Continuous Bag-of-Words) in the BERT (Bidirectional Encoder Representations from Transformers) algorithm.
  • CBOW Continuous Bag-of-Words
  • BERT Bidirectional Encoder Representations from Transformers
  • the similarity may be defined based on the distance between the vectors.
  • the distance between the vectors is not limited as long as it is an index capable of measuring similarity, such as a cosine distance, a Manhattan distance, an Euclidean distance, and a
  • the transmission content determination unit 27 receives various information associated with information such as words output by the search unit 25, refers to the personal history database 23, and selects the information to be output to the transmission unit 28.
  • the information acquisition unit 21 receives the video information of the user practicing golf
  • the video information is transmitted to the transmission content determination unit 27 via the personal history database 23.
  • a plurality of information associated with the word "golf" is output from the search unit 25.
  • the transmission content determination unit 27 selects, for example, only information related to the golf form based on the moving image information of the golf practice, and outputs the information to the transmission unit 28.
  • the transmission unit 28 provides the received information to the user.
  • devices such as personal computers, smartphones, tablets, methods for stimulating the five senses such as voice, smell, and taste, virtual reality (VR: Virtual Reality), augmented reality (AR: Augmented Reality), etc.
  • VR Virtual Reality
  • AR Augmented Reality
  • the result verbalized by the information verbalization unit 22 may be described together to facilitate the user's understanding of the presented information.
  • FIG. 6 is a functional block diagram of the information retrieval device 1 of the second embodiment.
  • the second embodiment is characterized in that at least a part of the general-purpose knowledge database 26 exists in another system.
  • the general-purpose knowledge database 26 may exist not only in another system of the company but also in a system of another company, a cloud environment, or the like.
  • FIG. 7 is a functional block diagram of the information retrieval device 1 according to the third embodiment.
  • the feature of the information retrieval apparatus 1 of the third embodiment is that the information acquisition unit 21 and the information verbalization unit 22 are included in the user environment 130.
  • the information acquisition unit 21 and the information verbalization unit 22 may be executed by the edge terminal. Further, the information such as words verbalized in the edge terminal may be filtered when transmitted to the outside of the user environment 130, and the transmitted content may be restricted according to the security level. This can protect the privacy of the user.
  • FIGS. 8A and 8B are flowcharts illustrating the operation of the system including the information retrieval device 1.
  • the user is in the user environment 130 in which the sensing device or the like is installed, or is in a state where the sensing device is attached to the body.
  • the user is further provided with a user interface with the information retrieval device 1 by means such as a display unit 115 of a terminal device 102 such as a computer, a tablet, or a smartphone, virtual reality, or augmented reality.
  • the sensing device collects user and its environmental information.
  • This sensing device includes various sensors that detect temperature, humidity, atmospheric pressure, acceleration, illuminance, carbon dioxide concentration, human sensation, sitting, distance, odor, taste, tactile sensation, voice devices such as microphones and smart speakers, and cameras.
  • Such as an imaging device Such as an imaging device.
  • the information acquisition unit 21 acquires sensor information related to the user environment 130 from the sensing device. (S10).
  • the information verbalization unit 22 verbalizes the sensor information collected by the sensing device (S11).
  • teacher data consisting of a combination of sensor information and words collected by a sensing device by machine learning or the like is learned in advance, and the sensor information collected by the sensing device is stored in a trained neural network. There is a way to enter.
  • the information converted by the information verbalization unit 22 is not necessarily limited to words used by human beings such as Japanese and English for communication. It may be understandable code information, visual symbol information represented by a sign or the like, color information, voice information, numerical information, olfactory information, feature quantities extracted by an auto encoder for deep learning, vector information, and the like.
  • the information converted by the information verbalization unit 22 is not limited as long as it has a specific meaning for a person, a machine, or an algorithm.
  • the information acquisition unit 21 acquires this request from the terminal device 102 (S12).
  • the request acquired by the information acquisition unit 21 is a request expected from the output of the information retrieval device 1, such as presentation of a video of a model motion, presentation of a difference from one's own action in the past, and analysis of one's current action. be.
  • the information acquisition unit 21 provides information on the surrounding environment such as the date, time, weather, temperature, fashion, congestion, and transportation of the day, or emotions such as gender, religion, companion, pleasure, discomfort, and emotions. You may acquire various attribute information about the person and the environment such as the health condition such as breathing, pulse, brain wave, injury, and illness, and the target value of the behavior on the day.
  • the information acquisition unit 21 stores the user's settings and actions based on the acquired requests and attribute information in the personal history database 23.
  • the personal history database 23 By analyzing the personal history database 23, it is possible to extract the contents set frequently by the user, the tendency of the user's behavior, and the like.
  • the search unit 25 searches the general-purpose knowledge database 26 using information such as words converted by the information verbalization unit 22 (S13).
  • the general-purpose knowledge database 26 stores various information such as moving image information, words, voice information, odor information, taste information, and tactile information associated with information such as words. This makes it possible to provide information that appeals to the five human senses. Further, the general-purpose knowledge database 26 stores information including expressions expressing emotions. As a result, it is possible to provide information according to the user's emotions.
  • the search unit 25 acquires the information associated with the information such as the searched word and the information associated with the information having a meaning close to the information such as the searched word from the general-purpose knowledge database 26, and causes the transmission content determination unit 27 to obtain the information. Output (S14).
  • the transmission content determination unit 27 analyzes the personal history database 23 to extract high-frequency requests, user behavioral tendencies, hobbies, preferences, and the like (S15). Further, the transmission content determination unit 27 integrates various information obtained by searching the general-purpose knowledge database 26, frequent requests of the user, tendency of the user's behavior, hobbies, tastes, etc., and presents the information to the user. Select (S16).
  • the criteria for selecting the presentation information by the transmission content determination unit 27 are, for example, presentation information that has been highly evaluated by the user in the past, presentation information that is slightly different from the information that the user frequently requests, and presentation information that gives a new viewpoint. Various criteria may be set such as presentation information that predicts future behavior, presentation information that the user has not touched in the last few times, and presentation information that is desirable for human health management.
  • the transmission content determination unit 27 determines whether or not the information has already been presented in response to the user's request (S17). If the transmission content determination unit 27 has already presented the information in response to the user's request (Yes), the transmission content determination unit 27 extracts the information presented in response to the user's request from the personal history database 23, and the user's behavior this time. (S18), the user evaluates how the presented information is reflected in the behavior, and the evaluation result is reflected in the present presentation information (S19). If the transmission content determination unit 27 has not yet presented the information in response to the user's request (No), the process proceeds to the process of step S20.
  • the information retrieval device 1 presents information to a certain user that "it is better to raise the arm a little more", and this user raises his arm by 5 cm in this action.
  • the transmission content determination unit 27 of the information retrieval device 1 accumulates in the personal history database 23 that the word "a little" for this user means about 5 cm.
  • the information retrieval device 1 may store the relationship between words and objective numerical values for each user in the personal history database 23. Further, if the information previously presented to a certain user is not reflected by this user, the information retrieval device 1 may also present the information.
  • step S20 the transmission unit 28 transmits the finally selected presentation information to the terminal device 102.
  • the terminal device 102 displays the presented information via the display unit 115.
  • the user can further deepen the understanding of the presented information.
  • the user can feed back the evaluation of the presented information via the input unit 116.
  • the evaluation input via the input unit 116 is transmitted to the information retrieval device 1 by the communication control unit 114.
  • the information acquisition unit 21 acquires the user's evaluation of the presented information from the terminal device 102 (S21) and stores it in the personal history database 23 (S22), the processing of FIG. 9 ends.
  • the information retrieval apparatus 1 can select and provide information having a high user evaluation. For example, when the information on the angle of the arm is provided in the rehabilitation, but the evaluation of the user is low, it is preferable to provide the information from another viewpoint such as the information on walking in the rehabilitation.
  • FIG. 9 is a specific example of the processing executed by the information retrieval apparatus 1 according to the present embodiment.
  • the user moves to the user environment 130 in which the sensing device including the sensor and the camera, the microphone, etc. is installed, or wears the sensor on the body.
  • This sensor is a small sensor having a function of, for example, a pedometer, a pulse meter, a thermometer, an accelerometer, and the like, and may have a function of transmitting data wirelessly.
  • the user inputs a desired operation mode to the information retrieval device 1 by means such as a terminal device 102 such as a computer, a tablet, or a smartphone, virtual reality, and augmented reality.
  • a terminal device 102 such as a computer, a tablet, or a smartphone, virtual reality, and augmented reality.
  • FIG. 10 is a diagram showing an operation mode selection screen 51 displayed on the display unit 115 of the terminal device 102.
  • "model action” 511, “comparison with past own action” 512, and "new proposal” 513 are displayed on the spin control.
  • the operation mode selection screen 51 functions as a user interface for inputting user requests and attribute information.
  • Model action 511 is a presentation of model action by a professional or another person of the same level.
  • “Comparison with one's own behavior in the past” 512 is a display of the difference from one's own behavior in the past.
  • “New proposal” 513 is a new proposal from a new perspective.
  • FIG. 9 is referred to as appropriate.
  • the user who has completed the above-mentioned advance preparation selects, for example, "model action" 511 on the operation mode selection screen 51.
  • the swing speed acquired by the sensor 122 and the sensing device 123 the speed of the launched ball, the swing posture, the facial expression, the hitting sound, the tool used, and the temperature of the surrounding environment.
  • Sensor information such as humidity, time, breathing, and heart rate is transmitted to the information acquisition unit 21 of the information retrieval device 1.
  • the information verbalization unit 22 verbalizes the current behavior from these sensor information into the word "golf”.
  • the search unit 25 uses the word "golf” to search the general-purpose knowledge database 26, and professional video information, hitting sounds, image photographs, rules, etc. associated with the word "golf”. Extract various information such as the role played in human relations, the effect on health maintenance, the competitive population, history, and costs.
  • the general-purpose knowledge database 26 is configured to include information 261 including words and various information such as moving images 262, words 263, and voices 264 associated with the information 261.
  • the transmission content determination unit 27 determines the professional video information as the model action by combining the information extracted by the search unit 25 and the request for the user's model action.
  • the transmission content determination unit 27 compares the user's behavior with the professional behavior and generates advice for bringing the user's behavior closer to the model behavior. Further, the transmission content determination unit 27 also stores this presentation information in the personal history database 23.
  • the transmission unit 28 transmits this presentation information to the terminal device 102.
  • the terminal device 102 displays this presentation information on the display unit 115.
  • FIG. 11 is a diagram showing a model action screen 52 displayed on the display unit 115 of the terminal device 102.
  • the model action screen 52 is displayed on the display unit 115 of the terminal device 102.
  • the word "golf" converted by the information verbalization unit 22, the model video 521 related to golf, and the information 522 related to the model video 521 such as the name, occupation, and age of the subject are simultaneously displayed. Will be done.
  • the model action screen 52 further displays advice 523 for bringing the user's action closer to the model action.
  • This advice 523 is generated by comparing the user's behavior with the model video.
  • the advice 523 is further optimized for each individual by calculating from the data of the personal history database 23 how much the behavior of the user has changed in response to the information presented to the same user in the past.
  • the evaluation button 528 inputs the user's evaluation for the presented content. When you tap the evaluation button 528, another screen opens, and you can freely write the evaluation sentence there.
  • the "select from 1 to 10" button 529 inputs the user's evaluation for the presented content in 10 steps from 1 to 10.
  • the information retrieval device 1 presents information with the word "shake a little more arm” in the past, and in order to express that if the user swings his arm 5 cm more, he swings his arm 10 cm more, this time, "more". You may choose the word. Since the distance indicated by the word "a little more" differs depending on the user, the relationship between the word and the objective numerical value may be accumulated in the personal history database 23 for each user.
  • FIG. 9 is referred to as appropriate. Similar to the first embodiment, the user who has completed the preparation selects, for example, "Compare with his / her past behavior" 512 on the operation mode selection screen 51 shown in FIG.
  • the information verbalization unit 22 converts the acquired sensor information into the words "(personal name)" and "rehabilitation".
  • the search unit 25 searches the general-purpose knowledge database 26 using these words, and searches for various information associated with the words "(personal name)” and "rehabilitation".
  • the transmission content determination unit 27 determines that it is appropriate to present the user's past behavior data to the user this time in response to the user's request for "comparison with his / her past behavior".
  • the transmission content determination unit 27 extracts behavioral information (video information, etc.) related to past rehabilitation from the personal history database 23 based on the words "(individual name)" and "rehabilitation”, and this behavioral information and current video information. To determine the information to be presented by comparing with.
  • the transmission content determination unit 27 searches for information on rehabilitation from the personal history database 23, and rehabilitation start date, past behavior information (sensor information), past user evaluation, visit date with relatives, personality, nationality, etc. Information such as religion, age, height, and weight may be extracted.
  • the transmission content determination unit 27 also stores this presentation information in the personal history database 23.
  • This presented information is displayed by the transmission unit 28 on the display unit 115 of the terminal device 102, for example, in the format shown in FIG.
  • FIG. 12 is a diagram showing a “comparison with past own actions” screen 53 displayed on the display unit 115 of the terminal device 102.
  • the words "(personal name)” and “rehabilitation”, which are the results of verbalization by the information verbalization unit 22, and the "past self” image 531, which is the presented information are displayed.
  • the date and time 532, the "current self” image 533, and the date and time 534 are displayed, and the words “arms are now raised by +30 degrees” are displayed.
  • the evaluation button 538 inputs the user's evaluation for the presented content. When you tap the evaluation button 538, another screen opens, and you can freely write the evaluation sentence there.
  • the "select from 1 to 10" button 539 inputs the user's evaluation for the presented content in 10 steps from 1 to 10.
  • the sensor 122 and the sensing device 123 acquire the sensor information.
  • the information verbalization unit 22 converts this sensor information into the words "(personal name)" and "coffee”.
  • the search unit 25 searches the general-purpose knowledge database 26 with the converted words, and the intake interval, intake amount, taste preference, and fragrance associated with the words "(personal name)” and "coffee”. It extracts various information such as tastes, tastes of side dishes, tastes of BGM (BackGroundMusic), and tastes of ingestion places.
  • the transmission content determination unit 27 combines various information extracted by the search unit 25 with the user's request for a new proposal, and this time, among the new coffee products, the coffee whose taste, aroma, and garnish match the user's taste. Is determined to be appropriate to present to the user.
  • the method of selecting a new product to be presented is, for example, to save the conversion vector representing the relationship between the word "coffee" and the taste and aroma of the favorite coffee for each user, and to select the new product from the coffee of the new product. Select a product that has a conversion vector close to the conversion vector that represents the user's preference.
  • the transmission content determination unit 27 selects a new product that is in line with the user's preference but contains some new elements by perturbing the transformation vector representing the user's preference in a minute amount using a normal distribution or the like. It is also possible. Further, it is expected that the transmission content determination unit 27 intentionally inverts at least one component of the conversion vector representing the user's preference, so that the user does not usually experience it while leaving a portion in line with the user's preference. You may propose coffee that contains the elements.
  • this presentation information is also accumulated in the personal history database 23.
  • This presented information is displayed on the recommended screen 54 by the transmission unit 28, for example, in the format shown in FIG.
  • FIG. 13 is a diagram showing a recommended screen 54 displayed on the display unit 115 of the terminal device 102.
  • the recommended screen 54 is displayed on the display unit 115, and the proposal information is shown together with the words “(personal name)” and “coffee” which are the results of the verbalization by the information verbalization unit 22.
  • Image 541 is a recommended image of coffee beans.
  • Information 542 shows the origin, taste, aroma, and evaluation of other users of coffee beans.
  • Image 543 is an image of coffee brewed in a cup.
  • Information 544 specifically describes the recommended way of drinking.
  • the evaluation button 548 inputs the user's evaluation for the presented content. When you tap the evaluation button 548, another screen opens, and you can freely write the evaluation sentence there.
  • the "select from 1 to 10" button 549 inputs the user's evaluation for the presented content in 10 steps from 1 to 10.
  • the present invention is not limited to the above-described embodiment, and includes various modifications.
  • the above-described embodiment has been described in detail in order to explain the present invention in an easy-to-understand manner, and is not necessarily limited to the one including all the described configurations. It is possible to replace a part of the configuration of one embodiment with the configuration of another embodiment, and it is also possible to add the configuration of another embodiment to the configuration of one embodiment. Further, it is also possible to add / delete / replace a part of the configuration of each embodiment with another configuration.
  • Each of the above configurations, functions, processing units, processing means, and the like may be partially or wholly realized by hardware such as an integrated circuit.
  • Each of the above configurations, functions, and the like may be realized by software by the processor interpreting and executing a program that realizes each function.
  • Information such as programs, tables, and files that realize each function can be placed in a recording device such as a memory, hard disk, SSD (Solid State Drive), or a recording medium such as a flash memory card or DVD (Digital Versatile Disk). can.
  • the control lines and information lines indicate what is considered necessary for explanation, and do not necessarily indicate all the control lines and information lines in the product. In practice, it may be considered that almost all configurations are interconnected.

Landscapes

  • Engineering & Computer Science (AREA)
  • Theoretical Computer Science (AREA)
  • Physics & Mathematics (AREA)
  • General Physics & Mathematics (AREA)
  • General Engineering & Computer Science (AREA)
  • Artificial Intelligence (AREA)
  • Health & Medical Sciences (AREA)
  • Computational Linguistics (AREA)
  • General Health & Medical Sciences (AREA)
  • Databases & Information Systems (AREA)
  • Data Mining & Analysis (AREA)
  • Mathematical Physics (AREA)
  • Audiology, Speech & Language Pathology (AREA)
  • Business, Economics & Management (AREA)
  • Multimedia (AREA)
  • Tourism & Hospitality (AREA)
  • Human Resources & Organizations (AREA)
  • Marketing (AREA)
  • Primary Health Care (AREA)
  • Strategic Management (AREA)
  • General Business, Economics & Management (AREA)
  • Economics (AREA)
  • Information Retrieval, Db Structures And Fs Structures Therefor (AREA)
  • Management, Administration, Business Operations System, And Electronic Commerce (AREA)
PCT/JP2021/016110 2020-07-06 2021-04-21 情報検索装置 Ceased WO2022009504A1 (ja)

Priority Applications (2)

Application Number Priority Date Filing Date Title
US18/008,343 US20230297611A1 (en) 2020-07-06 2021-04-21 Information search device
CN202180039469.4A CN115917581A (zh) 2020-07-06 2021-04-21 信息检索装置

Applications Claiming Priority (2)

Application Number Priority Date Filing Date Title
JP2020116165A JP7478610B2 (ja) 2020-07-06 2020-07-06 情報検索装置
JP2020-116165 2020-07-06

Publications (1)

Publication Number Publication Date
WO2022009504A1 true WO2022009504A1 (ja) 2022-01-13

Family

ID=79552898

Family Applications (1)

Application Number Title Priority Date Filing Date
PCT/JP2021/016110 Ceased WO2022009504A1 (ja) 2020-07-06 2021-04-21 情報検索装置

Country Status (4)

Country Link
US (1) US20230297611A1 (enExample)
JP (1) JP7478610B2 (enExample)
CN (1) CN115917581A (enExample)
WO (1) WO2022009504A1 (enExample)

Families Citing this family (2)

* Cited by examiner, † Cited by third party
Publication number Priority date Publication date Assignee Title
JP7180940B1 (ja) 2022-05-31 2022-11-30 株式会社エヌアンドエヌ 情報伝達システムと情報伝達プログラム
JP2024176933A (ja) * 2023-06-09 2024-12-19 株式会社日立製作所 行動分析装置及び行動分析方法

Citations (3)

* Cited by examiner, † Cited by third party
Publication number Priority date Publication date Assignee Title
JP2002108918A (ja) * 2000-09-27 2002-04-12 Nec Corp 嗜好学習装置、嗜好学習システム、嗜好学習方法および記録媒体
JP2007041923A (ja) * 2005-08-04 2007-02-15 Ntt Docomo Inc ユーザ行動推定システム、ユーザ行動推定方法
JP2016126569A (ja) * 2015-01-05 2016-07-11 日本電信電話株式会社 行動認識装置、方法およびプログラム

Family Cites Families (5)

* Cited by examiner, † Cited by third party
Publication number Priority date Publication date Assignee Title
US7120626B2 (en) * 2002-11-15 2006-10-10 Koninklijke Philips Electronics N.V. Content retrieval based on semantic association
US8909624B2 (en) * 2011-05-31 2014-12-09 Cisco Technology, Inc. System and method for evaluating results of a search query in a network environment
US10839440B2 (en) * 2012-05-07 2020-11-17 Hannah Elizabeth Amin Mobile communications device with electronic nose
KR102353486B1 (ko) * 2017-07-18 2022-01-20 엘지전자 주식회사 이동 단말기 및 그 제어 방법
KR20200115695A (ko) * 2019-03-07 2020-10-08 삼성전자주식회사 전자 장치 및 이의 제어 방법

Patent Citations (3)

* Cited by examiner, † Cited by third party
Publication number Priority date Publication date Assignee Title
JP2002108918A (ja) * 2000-09-27 2002-04-12 Nec Corp 嗜好学習装置、嗜好学習システム、嗜好学習方法および記録媒体
JP2007041923A (ja) * 2005-08-04 2007-02-15 Ntt Docomo Inc ユーザ行動推定システム、ユーザ行動推定方法
JP2016126569A (ja) * 2015-01-05 2016-07-11 日本電信電話株式会社 行動認識装置、方法およびプログラム

Also Published As

Publication number Publication date
JP7478610B2 (ja) 2024-05-07
CN115917581A (zh) 2023-04-04
JP2022014034A (ja) 2022-01-19
US20230297611A1 (en) 2023-09-21

Similar Documents

Publication Publication Date Title
JP6777201B2 (ja) 情報処理装置、情報処理方法及びプログラム
US10951602B2 (en) Server based methods and systems for conducting personalized, interactive and intelligent searches
US9965553B2 (en) User agent with personality
CN110998725B (zh) 在对话中生成响应
US20150261775A1 (en) Content management method and cloud server therefor
JP2011215964A (ja) サーバ装置、クライアント装置、コンテンツ推薦方法及びプログラム
JP6631628B2 (ja) 情報処理装置、情報処理方法、およびプログラム
US12411542B2 (en) Electronic devices using object recognition and/or voice recognition to provide personal and health assistance to users
US20210160230A1 (en) Methods and systems for conducting multi-user personalized, interactive and intelligent searches
CN111949773A (zh) 一种阅读设备、服务器以及数据处理的方法
KR20200039365A (ko) 전자 장치 및 이의 제어 방법
JP2023536813A (ja) 環境信号に基づくプライバシーに配慮したクエリ活動を提示するための方法およびシステム
WO2022009504A1 (ja) 情報検索装置
JP2021026261A (ja) 情報処理システム、方法およびプログラム
US20250299672A1 (en) Determination device and determination method
KR102760502B1 (ko) 활력 지수 획득 장치 및 방법
KR20230081584A (ko) 자동 및 멀티 모달리티 정보 입력을 활용하는 일상 추적 시스템을 위한 인공지능 기반의 상황 추론 장치 및 방법
JP2025094675A (ja) 情報提供システム、情報提供方法、プログラム
KR20240016815A (ko) 얼굴 인식 기반 상호작용 상대방에 대한 사용자의 관계 감정 지수를 측정하는 시스템 및 방법

Legal Events

Date Code Title Description
121 Ep: the epo has been informed by wipo that ep was designated in this application

Ref document number: 21837122

Country of ref document: EP

Kind code of ref document: A1

NENP Non-entry into the national phase

Ref country code: DE

122 Ep: pct application non-entry in european phase

Ref document number: 21837122

Country of ref document: EP

Kind code of ref document: A1