WO2020217691A1 - 通信装置及びその制御方法及びコンピュータプログラム - Google Patents

通信装置及びその制御方法及びコンピュータプログラム Download PDF

Info

Publication number
WO2020217691A1
WO2020217691A1 PCT/JP2020/007316 JP2020007316W WO2020217691A1 WO 2020217691 A1 WO2020217691 A1 WO 2020217691A1 JP 2020007316 W JP2020007316 W JP 2020007316W WO 2020217691 A1 WO2020217691 A1 WO 2020217691A1
Authority
WO
WIPO (PCT)
Prior art keywords
eht
frame
communication device
synchronization
ltf
Prior art date
Legal status (The legal status is an assumption and is not a legal conclusion. Google has not performed a legal analysis and makes no representation as to the accuracy of the status listed.)
Ceased
Application number
PCT/JP2020/007316
Other languages
English (en)
French (fr)
Japanese (ja)
Inventor
誠 梅原
Current Assignee (The listed assignees may be inaccurate. Google has not performed a legal analysis and makes no representation or warranty as to the accuracy of the list.)
Canon Inc
Original Assignee
Canon Inc
Priority date (The priority date is an assumption and is not a legal conclusion. Google has not performed a legal analysis and makes no representation as to the accuracy of the date listed.)
Filing date
Publication date
Application filed by Canon Inc filed Critical Canon Inc
Priority to CN202510106549.7A priority Critical patent/CN119922562A/zh
Priority to CN202080031279.3A priority patent/CN113748702A/zh
Priority to EP20795162.5A priority patent/EP3962146A4/en
Publication of WO2020217691A1 publication Critical patent/WO2020217691A1/ja
Priority to US17/508,777 priority patent/US12184359B2/en
Anticipated expiration legal-status Critical
Ceased legal-status Critical Current

Links

Images

Classifications

    • HELECTRICITY
    • H04ELECTRIC COMMUNICATION TECHNIQUE
    • H04BTRANSMISSION
    • H04B7/00Radio transmission systems, i.e. using radiation field
    • H04B7/02Diversity systems; Multi-antenna system, i.e. transmission or reception using multiple antennas
    • H04B7/022Site diversity; Macro-diversity
    • H04B7/024Co-operative use of antennas of several sites, e.g. in co-ordinated multipoint or co-operative multiple-input multiple-output [MIMO] systems
    • HELECTRICITY
    • H04ELECTRIC COMMUNICATION TECHNIQUE
    • H04BTRANSMISSION
    • H04B7/00Radio transmission systems, i.e. using radiation field
    • H04B7/02Diversity systems; Multi-antenna system, i.e. transmission or reception using multiple antennas
    • H04B7/04Diversity systems; Multi-antenna system, i.e. transmission or reception using multiple antennas using two or more spaced independent antennas
    • H04B7/0413MIMO systems
    • HELECTRICITY
    • H04ELECTRIC COMMUNICATION TECHNIQUE
    • H04BTRANSMISSION
    • H04B7/00Radio transmission systems, i.e. using radiation field
    • H04B7/24Radio transmission systems, i.e. using radiation field for communication between two or more posts
    • H04B7/26Radio transmission systems, i.e. using radiation field for communication between two or more posts at least one of which is mobile
    • H04B7/2643Radio transmission systems, i.e. using radiation field for communication between two or more posts at least one of which is mobile using time-division multiple access [TDMA]
    • H04B7/2656Radio transmission systems, i.e. using radiation field for communication between two or more posts at least one of which is mobile using time-division multiple access [TDMA] for structure of frame, burst
    • HELECTRICITY
    • H04ELECTRIC COMMUNICATION TECHNIQUE
    • H04BTRANSMISSION
    • H04B7/00Radio transmission systems, i.e. using radiation field
    • H04B7/24Radio transmission systems, i.e. using radiation field for communication between two or more posts
    • H04B7/26Radio transmission systems, i.e. using radiation field for communication between two or more posts at least one of which is mobile
    • H04B7/2662Arrangements for Wireless System Synchronisation
    • H04B7/2671Arrangements for Wireless Time-Division Multiple Access [TDMA] System Synchronisation
    • H04B7/2678Time synchronisation
    • H04B7/2687Inter base stations synchronisation
    • HELECTRICITY
    • H04ELECTRIC COMMUNICATION TECHNIQUE
    • H04LTRANSMISSION OF DIGITAL INFORMATION, e.g. TELEGRAPHIC COMMUNICATION
    • H04L5/00Arrangements affording multiple use of the transmission path
    • H04L5/003Arrangements for allocating sub-channels of the transmission path
    • H04L5/0048Allocation of pilot signals, i.e. of signals known to the receiver
    • HELECTRICITY
    • H04ELECTRIC COMMUNICATION TECHNIQUE
    • H04WWIRELESS COMMUNICATION NETWORKS
    • H04W16/00Network planning, e.g. coverage or traffic planning tools; Network deployment, e.g. resource partitioning or cells structures
    • H04W16/24Cell structures
    • H04W16/28Cell structures using beam steering
    • HELECTRICITY
    • H04ELECTRIC COMMUNICATION TECHNIQUE
    • H04WWIRELESS COMMUNICATION NETWORKS
    • H04W28/00Network traffic management; Network resource management
    • H04W28/16Central resource management; Negotiation of resources or communication parameters, e.g. negotiating bandwidth or QoS [Quality of Service]
    • HELECTRICITY
    • H04ELECTRIC COMMUNICATION TECHNIQUE
    • H04WWIRELESS COMMUNICATION NETWORKS
    • H04W56/00Synchronisation arrangements
    • H04W56/001Synchronization between nodes
    • H04W56/0015Synchronization between nodes one node acting as a reference for the others
    • HELECTRICITY
    • H04ELECTRIC COMMUNICATION TECHNIQUE
    • H04WWIRELESS COMMUNICATION NETWORKS
    • H04W84/00Network topologies
    • H04W84/02Hierarchically pre-organised networks, e.g. paging networks, cellular networks, WLAN [Wireless Local Area Network] or WLL [Wireless Local Loop]
    • H04W84/10Small scale networks; Flat hierarchical networks
    • H04W84/12WLAN [Wireless Local Area Networks]
    • YGENERAL TAGGING OF NEW TECHNOLOGICAL DEVELOPMENTS; GENERAL TAGGING OF CROSS-SECTIONAL TECHNOLOGIES SPANNING OVER SEVERAL SECTIONS OF THE IPC; TECHNICAL SUBJECTS COVERED BY FORMER USPC CROSS-REFERENCE ART COLLECTIONS [XRACs] AND DIGESTS
    • Y02TECHNOLOGIES OR APPLICATIONS FOR MITIGATION OR ADAPTATION AGAINST CLIMATE CHANGE
    • Y02DCLIMATE CHANGE MITIGATION TECHNOLOGIES IN INFORMATION AND COMMUNICATION TECHNOLOGIES [ICT], I.E. INFORMATION AND COMMUNICATION TECHNOLOGIES AIMING AT THE REDUCTION OF THEIR OWN ENERGY USE
    • Y02D30/00Reducing energy consumption in communication networks
    • Y02D30/70Reducing energy consumption in communication networks in wireless communication networks

Definitions

  • the present invention relates to a communication device, a control method thereof, and a computer program.
  • wireless local area network wireless LAN
  • wireless LAN wireless local area network
  • the wireless LAN communication standard is known as the IEEE802.11 standard, and there are standards such as IEEE802.11n / a / b / g / ac or IEEE802.11ax.
  • IEEE802.11ax OFDMA (Orthogonal Frequency-Division Multiple Access) realizes high peak throughput of up to 9.6 gigabits per second (Gbps) and improvement of communication speed under congestion (Patent Document 1). ..
  • IEEE802.11 EHT Extremely High Throughput
  • IEEE802.11ax the Study Group called IEEE802.11 EHT (Extremely High Throughput) has been launched as a successor standard to IEEE802.11ax.
  • Distributed MIMO is being considered as one of the throughput improvement measures that EHT is aiming for.
  • the feature of Distributed MIMO is that multiple APs cooperate with each other, and it is expected that the communication speed will be improved by increasing the number of available antennas.
  • a method of realizing Distributed MIMO a method of synchronizing a plurality of APs by using a frame called a slave trigger has been proposed. In this method, the slave AP detects the frequency error for the slave trigger transmitted from the master AP, and performs frequency correction so as to synchronize with the master AP.
  • the slave AP detects the frequency error for the slave trigger transmitted from the master AP, and performs frequency correction so as to synchronize with the master AP.
  • This frequency correction process is performed by using the preamble signal included in the slave trigger.
  • the synchronization accuracy between APs is lowered due to the residual frequency error due to the influence of thermal noise and the like, and the communication performance is lowered.
  • the present invention has been made in view of the above problems, and an object of the present invention is to provide a technique capable of improving the synchronization accuracy between APs in Distributed MIMO more than ever before.
  • the communication device of the present invention has the following configuration. That is, A communication device that forms a wireless network in cooperation with other communication devices.
  • the transmission means for transmitting a frame for synchronization to the other communication device is provided.
  • the transmission means A setting means for setting a value exceeding 4 as the number of repetitions of the EHT Long Training Field (EHT-LTF) at a preset position of the EHT Signal Field (EHT-SIG-A) in the frame for synchronization.
  • the transmitting means is characterized in that the generated frame for synchronization is transmitted to the other communication device.
  • the synchronization accuracy between APs in Distributed MIMO can be improved more than ever.
  • the accompanying drawings are included in the specification and are used to form a part thereof, show embodiments of the present invention, and explain the principles of the present invention together with the description thereof.
  • the figure which shows the hardware configuration example of AP. A flowchart showing the processing executed by the master AP.
  • the figure which shows the example of the structure of the frequency error detection part The figure which shows the example of the PHY frame structure of EHT SU PPDU.
  • FIG. 1 shows an example of a network configuration according to the first embodiment.
  • the wireless communication system of FIG. 1 is a wireless network including a plurality of APs (base stations; Access Points) 103 and 104 and a plurality of STAs (Stations) 105 and 106.
  • APs base stations; Access Points
  • STAs Stations
  • AP103, 104 and STA105, 106 communicate according to the wireless communication method of the IEEE802.11 EHT standard.
  • the range reached by the signal transmitted by the AP 103 is indicated by the circle 101
  • the range reached by the signal transmitted by the AP 104 is indicated by the circle 102.
  • both AP103 and 104 can communicate with STA105 and 106.
  • AP103 and AP104 can communicate in the same manner.
  • AP103 and AP104 can execute Distributed MIMO (hereinafter referred to as D-MIMO) communication. That is, AP103 and AP104 cooperate with each other and can communicate with STA105 and 106.
  • D-MIMO Distributed MIMO
  • the APs 103 and 104 are connected by a backhaul line so that they can communicate with each other for cooperative operation, and are controlled by the AP control device 107.
  • the AP control device 107 any one of the plurality of APs may have the function.
  • the AP 103 operates as the master AP and the AP 104 operates as the slave AP, but which AP operates as the master AP is set in advance by the AP control device 107, or is determined for each AP.
  • the setting method is not particularly limited, such as setting by operating a switch (not shown) provided.
  • the configuration of the wireless communication network shown in FIG. 1 is merely an example for explanation, and for example, communication according to a large number of EHT devices and legacy devices (IEEE802.11a / b / g / n / ax standard) in a wider area.
  • a network including the device) may be configured.
  • the following discussion can be applied not only to the arrangement of each communication device shown in FIG. 1 but also to the positional relationship of various communication devices.
  • EHT may be understood as an abbreviation for Extreme High Throughput.
  • FIG. 2 is a functional block diagram of AP103 and 104.
  • the AP 103 and 104 have a wireless LAN control unit 201, a frame generation unit 202, a frame control unit 203, and a UI (user interface) control unit 204 as an example of the functional configuration thereof.
  • the wireless LAN control unit 201 may be configured to include one or more antennas 205 and circuits for transmitting and receiving wireless signals (wireless frames) to and from other wireless LAN devices, and a program for controlling them.
  • the wireless LAN control unit 201 executes wireless LAN communication control based on the frame generated by the frame generation unit 202 in accordance with the standard of the IEEE802.11 series.
  • the frame generation unit 202 generates a frame to be transmitted by the wireless LAN control unit 201 based on the instruction of the frame control unit 203.
  • the details will be clarified from the explanation described later, but when the frame to be transmitted is a slave trigger for D-MIMO, the frame control unit 203 of the master AP 103 has the following with respect to the frame generation unit 202.
  • EHT-LTF EHT Long Training Field
  • EHT-SIG-A EHT Signal Field
  • the frame generation unit 202 generates a slave trigger for D-MIMO according to this instruction.
  • the frame generation unit 202 may create a frame without being based on the instruction of the frame control unit 203.
  • the UI control unit 204 receives an operation on the input unit 304 (FIG. 3) by a user (not shown) of the AP 103 and 104, and controls to transmit a control signal corresponding to the operation to each component, and an output unit 305. Output (including display, etc.) control for (Fig. 3) is performed.
  • FIG. 3 shows the hardware configurations of AP103 and 104 in this embodiment.
  • the AP 103 and 104 have a storage unit 301, a control unit 302, a functional unit 303, an input unit 304, an output unit 305, a communication unit 306, and one or more antennas 205 as an example of the hardware configuration thereof.
  • the storage unit 301 is composed of ROM, RAM, or one of them, and stores various information such as a program for performing various operations described later and communication parameters for wireless communication.
  • storage unit 301 in addition to memories such as ROM and RAM, storage media such as flexible disks, hard disks, optical disks, magneto-optical disks, CD-ROMs, CD-Rs, magnetic tapes, non-volatile memory cards, and DVDs. May be used.
  • the control unit 302 is composed of, for example, a processor such as a CPU or MPU, an ASIC (application specific integrated circuit), a DSP (digital signal processor), an FPGA (field programmable gate array), or the like.
  • CPU is an acronym for Central Processing Unit
  • MPU is an acronym for Micro Processing Unit.
  • the control unit 302 controls the entire AP 103 and 104 by executing the program stored in the storage unit 301.
  • the control unit 302 may control the entire AP103 and 104 in cooperation with the program stored in the storage unit 301 and the OS (Operating System).
  • the control unit 302 controls the function unit 303 to execute predetermined processing such as imaging, printing, and projection.
  • the functional unit 303 is hardware for AP103 and 104 to execute a predetermined process.
  • the functional unit 303 is an imaging unit and performs imaging processing.
  • the functional unit 303 is a printing unit and performs printing processing.
  • the functional unit 303 is a projection unit and performs projection processing.
  • the data processed by the functional unit 303 may be data stored in the storage unit 301, or may be data communicated with the STA or another AP via the communication unit 306 described later.
  • the input unit 304 accepts various operations from the user.
  • the output unit 305 outputs various outputs to the user.
  • the output by the output unit 305 includes at least one of a display on the screen, an audio output by the speaker, a vibration output, and the like. It should be noted that both the input unit 304 and the output unit 305 may be realized by one module like a touch panel.
  • the communication unit 306 controls wireless communication conforming to the IEEE 802.11 EHT standard, wireless communication conforming to Wi-Fi, and IP (Internet Protocol) communication (including modulation and coding processing). ). Further, the communication unit 306 controls one or more antennas 205 to transmit and receive wireless signals for wireless communication. In that case, MIMO (Multi Input Multi Output) communication using a spatial stream becomes possible.
  • the AP 103 and 104 communicate content such as image data, document data, and video data with another communication device via the communication unit 306.
  • the functions of the components shown in FIG. 3 may be partially implemented by software.
  • each of the STAs 105 and 106 has a wireless LAN control unit 201, a frame generation unit 202, a frame control unit 203, and a UI control unit 204 as functional configurations, and the storage unit 301 and the control unit 302 as hardware configurations. It may be configured to include a functional unit 303, an input unit 304, an output unit 305, a communication unit 306, and one or more antennas 205.
  • FIG. 4 and 5 show flowcharts showing the processes executed by AP103 and 104, respectively.
  • the flowcharts shown in FIGS. 4 and 5 are realized by the control units 302 of AP 103 and 104 executing the control program stored in the storage unit 301 to calculate and process information and control each hardware. Can be done.
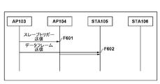
  • FIG. 6 shows a sequence chart of processes executed in the wireless communication system.
  • AP103 and 104 transmit data frames by D-MIMO.
  • AP104 which is a slave AP
  • the AP 103 transmits a slave trigger to the AP 104 before transmitting the data frame.
  • the slave trigger is transmitted based on the trigger frame of the IEEE802.11ax standard, but the present invention is not limited thereto. It is assumed that the CSI (Channel State Information) for AP103 and 104 to transmit D-MIMO to STA105 has been acquired in advance.
  • CSI Channel State Information
  • AP103 which is the master, transmits a slave trigger to AP104 (S401, F601).
  • AP104 which is a slave, detects a frequency error from the received slave trigger and corrects the frequency so as to synchronize with AP103 (S501).
  • FIG. 7 is a block diagram showing a configuration example of the frequency error detection unit 701.
  • the frequency error detection unit 701 is included in the wireless LAN control unit 201.
  • the frequency error detection unit 701 detects the frequency error by using the repeated signal section included in the received signal.
  • STF Short Training Field
  • LTF Long Training Field
  • the communication unit 306 of the AP 104 generates an in-phase detection axis signal (hereinafter, I signal) and an orthogonal detection axis signal (hereinafter, Q signal) by orthogonally demodulating the radio signal received via the antenna 205, and generates a frequency.
  • I signal an in-phase detection axis signal
  • Q signal an orthogonal detection axis signal
  • the frequency error detection unit 701 supplies the input signal P (t) to the multiplication unit 702 and the delay unit 703.
  • P (t) can be expressed by the following equation (1).
  • P (t) I (t) + j ⁇ Q (t) ⁇ exp (j ⁇ 2 ⁇ ⁇ ⁇ (f ⁇ f) ⁇ t)... (1)
  • the delay unit 703 repeatedly generates a delay signal P (tT) in which the input signal P (t) is delayed by the signal period T, and outputs the delay signal P (tT) to the complex conjugate unit 704.
  • the complex conjugate unit 704 generates the complex conjugate signal P * (tT) of the delay signal P (tT) and outputs it to the multiplication unit 702.
  • the multiplication unit 702 complex-multiplies the input signal P (t) and the complex conjugate signal P * (t-T), and outputs the multiplication result to the frequency error calculation unit 705.
  • the multiplication result is expressed by the equation (3).
  • the frequency error calculation unit 705 calculates this ⁇ by performing an ARCTAN calculation on the input multiplication result, and obtains the frequency error ⁇ f.
  • the communication unit 306 corrects the frequency in the subsequent transmission / reception processing based on the ⁇ f obtained by the frequency error detection unit 701.
  • This frequency correction method can be realized by multiplying the I signal and the Q signal by exp (j ⁇ 2 ⁇ ⁇ ⁇ ⁇ f ⁇ t).
  • the oscillation source may be configured by a variable control oscillator, and its frequency may be corrected by ⁇ f.
  • the obtained frequency error ⁇ f has a noise component due to the influence of thermal noise and the like. An averaging process is effective in suppressing this noise component.
  • the noise component can be suppressed by finding the average within the range of the repeating signal period T. Further, by increasing the number of repetitions of the repetition signal and obtaining the average of the plurality of repetition signals, it is possible to further suppress the noise component. As will be described later, in the present embodiment, in the slave trigger for D-MIMO transmission that requires highly accurate synchronization, the synchronization accuracy is improved by increasing the number of LTFs.
  • AP103 and AP104 transmit data frames to STA105 by D-MIMO at the synchronized timing (S402, S502, F602).
  • PDU Physical Layer (PHY) Protocol Data Unit
  • the slave trigger is transmitted in any of the PHY frames shown in FIGS. 8 and 9, but the PHY frame for the slave trigger may be specified separately.
  • FIG. 8 shows an example of the PHY frame structure of the EHT SU PPDU, which is a PPDU for single user (SU) communication (between the AP and a single AP / STA).
  • FIG. 9 shows an example of the PHY frame structure of the EHT ER PPDU, which is a PPDU for communication in the extended range (extended range).
  • the EHT ER PPDU is used for communication between an AP and a single AP / STA.
  • the head of the PPDU has L (Legacy) -STF801, L-LTF802, and L-SIG803 that are backward compatible with the IEEE802.11a / b / g / n / ax standard. .. Further, EHT-SIG-A805, EHT-STF806, and EHT-LTF807 for the EHT standard are commonly included in each PPDU.
  • L-STF801 is used for detection of PHY frame signals, automatic gain control (AGC: automatic gain control), timing detection, and the like.
  • the L-LTF802 arranged immediately after the L-STF801 is used for high-precision frequency / time synchronization, CSI acquisition, and the like.
  • the L-SIG 803 arranged immediately after the L-LTF 802 is used to transmit control information including information on the data transmission rate and the PHY frame length.
  • Legacy devices that comply with the IEEE802.11a / b / g / n / ax standard can decode the data in the various legacy fields (L-STF801, L-LTF802, L-SIG803).
  • the various legacy fields are also included in the PPDU shown in FIG.
  • the frame of the EHT SU PPDU shown in FIG. 8 is the above-mentioned L-STF801, L-LTF802, L-SIG803, followed by RL-SIG804, EHT-SIG-A805, EHT-STF806, EHT-LTF807, data field 808, It has a Packet extension 809. Of these, RL-SIG804 may not be present.
  • the EHT-SIG-A805 is placed after the L-SIG 803, the EHT-STF806 is placed immediately after the EHT-SIG-A805, and the EHT-LTF807 is placed immediately after the EHT-STF806.
  • preambles The fields up to L-STF801, L-LTF802, L-SIG803, RL-SIG804, EHT-SIG-A805, EHT-STF806, and EHT-LTF807 are referred to as "preambles".
  • the EHT-SIG-A805 contains information such as EHT-SIG-A1 and EHT-SIG-A2 necessary for receiving the PPDU.
  • FIG. 10 shows a group of subfields constituting EHT-SIG-A1 included in EHT-SIG-A805, and
  • FIG. 11 shows a group of subfields constituting EHT-SIG-A2.
  • EHT-STF806 following EHT-SIG-A805 is an abbreviation for EHT Short Training Field, and its main purpose is to improve automatic gain control in MIMO transmission.
  • EHT-LTF807 is an abbreviation for EHT Long Training Field, and is used for the frequency error correction described above and also for estimating the propagation channel.
  • the data field 808 includes various data modulated according to the modulation method shown in the above-mentioned EHT-SIG-A1.
  • the number of repetitions of EHT-LTF can be set, and the number of repetitions larger than 4 ⁇ EHT-LTF can be set.
  • 6 ⁇ EHT-LTF or 8 ⁇ EHT-LTF can be set in FIG. 10
  • the present invention is not limited to this, and 5 ⁇ EHT-LTF and 16 ⁇ EHT-LTF can be set. It may be settable.
  • the number of repetitions of EHT-LTF is set to a number exceeding 4, in order to improve the synchronization accuracy by suppressing noise by averaging.
  • the EHT ER PPDU shown in FIG. 9 is a PPDU used when it is desired to extend the communication distance as described above, and is used for communication between an AP and a single AP / STA.
  • the EHT ER PPDU has L-STF901, L-LTF902, L-SIG903, RL-SIG904, EHT-SIG-A905, EHT-STF906, EHT-LTF907, data field 908, and Packet extension 909.
  • RL-SIG904 may not be present.
  • L-LTF902 is placed immediately after L-STF901
  • L-SIG903 is placed immediately after L-LTF902
  • EHT-SIG-A905 is placed after L-SIG903
  • EHT-STF906 is placed after EHT-SIG-A905.
  • the EHT-LTF907 is placed immediately after the EHT-STF906.
  • the fields up to L-STF901, L-LTF902, L-SIG903, RL-SIG904, EHT-SIG-A905, EHT-STF906, and EHT-LTF907 are called preambles. Since the information included in each field has the same contents as the EHT SU PPDU shown in FIG. 8, the description thereof will be omitted.
  • EHT-SIG-A905 similarly to ETH SU PPDU in FIG. 8, it is possible to set a number of repetitions larger than 4 ⁇ EHT-LTF in GI + LTF Size in EHT-SIG-A1. Further, the EHT-LTF907 includes the set number of times of EHT-LTF.
  • EHT LTD can be transmitted with a number of repetitions exceeding 4. That is, the synchronization accuracy can be improved and the communication performance in D-MIMO transmission can be improved by setting a large number of EHT LTF repetitions at the time of slave trigger transmission.
  • FIGS 8 and 9 show a frame structure that is backward compatible with the IEEE802.11a / b / g / n / ax standard, but if it is not necessary to ensure backward compatibility, L -STF and L-LTG fields may be omitted. Instead, EHT-STF or EHT-LTF may be inserted.
  • the number of EHT LTF repetitions of the slave trigger is increased, but the present invention is not limited to this, and the number of repetitions at an arbitrary frame in a transmission mode in which high-precision synchronization is required. May be increased.
  • high multi-value modulation such as 1048QAM
  • a transmission error due to a frequency error is likely to occur. Therefore, the number of EHT LTF repetitions of the high-multi-value modulation data frame may be set large.
  • FIG. 12 shows the processing procedure of the master AP103 (control unit 302) in this case. This will be described below with reference to the same figure.
  • the control unit 302 determines whether or not the slave trigger of D-MIMO is to be transmitted. When the determination in S1201 is Yes, the control unit 302 proceeds to S1202 and generates a slave trigger in which the number of repetitions of LTF exceeds 4 (may be 6 or 8). If the determination of S1201 is No (the frame to be transmitted is other than the slave trigger), the control unit 302 proceeds to S1203, and sets the number of LTF repetitions to an arbitrary number that can be set in the GI + LTF Size subfield. Generate. Then, in S1204, the control unit 32 controls the communication unit 306 to transmit the generated frame.
  • the number of repetitions of the slave trigger LTF may be set to a value larger than that of other frames.
  • the number of LTF repetitions of the slave trigger is set to 6, while the number of LTF repetitions of other frames that do not require synchronization accuracy is set to 2. In this way, the number of LTF repetitions of each frame may be flexibly set according to the required synchronization accuracy.
  • the present invention supplies a program that realizes one or more functions of the above-described embodiment to a system or device via a network or storage medium, and one or more processors in the computer of the system or device reads and executes the program. It can also be realized by the processing to be performed. It can also be realized by a circuit (for example, ASIC) that realizes one or more functions.
  • a circuit for example, ASIC

Landscapes

  • Engineering & Computer Science (AREA)
  • Signal Processing (AREA)
  • Computer Networks & Wireless Communication (AREA)
  • Quality & Reliability (AREA)
  • Mobile Radio Communication Systems (AREA)
  • Radio Transmission System (AREA)
PCT/JP2020/007316 2019-04-26 2020-02-25 通信装置及びその制御方法及びコンピュータプログラム Ceased WO2020217691A1 (ja)

Priority Applications (4)

Application Number Priority Date Filing Date Title
CN202510106549.7A CN119922562A (zh) 2019-04-26 2020-02-25 通信设备及其控制方法和存储介质
CN202080031279.3A CN113748702A (zh) 2019-04-26 2020-02-25 通信设备及其控制方法和计算机程序
EP20795162.5A EP3962146A4 (en) 2019-04-26 2020-02-25 COMMUNICATION DEVICE, METHOD FOR CONTROL THEREOF AND COMPUTER PROGRAM
US17/508,777 US12184359B2 (en) 2019-04-26 2021-10-22 Communication device and method for controlling same and non-transitory computer-readable storage medium

Applications Claiming Priority (2)

Application Number Priority Date Filing Date Title
JP2019085799A JP7292091B2 (ja) 2019-04-26 2019-04-26 通信装置及びその制御方法及びプログラム
JP2019-085799 2019-04-26

Related Child Applications (1)

Application Number Title Priority Date Filing Date
US17/508,777 Continuation US12184359B2 (en) 2019-04-26 2021-10-22 Communication device and method for controlling same and non-transitory computer-readable storage medium

Publications (1)

Publication Number Publication Date
WO2020217691A1 true WO2020217691A1 (ja) 2020-10-29

Family

ID=72942413

Family Applications (1)

Application Number Title Priority Date Filing Date
PCT/JP2020/007316 Ceased WO2020217691A1 (ja) 2019-04-26 2020-02-25 通信装置及びその制御方法及びコンピュータプログラム

Country Status (5)

Country Link
US (2) US12184359B2 (enExample)
EP (1) EP3962146A4 (enExample)
JP (2) JP7292091B2 (enExample)
CN (2) CN119922562A (enExample)
WO (1) WO2020217691A1 (enExample)

Citations (3)

* Cited by examiner, † Cited by third party
Publication number Priority date Publication date Assignee Title
JP2016530776A (ja) * 2013-07-17 2016-09-29 クゥアルコム・インコーポレイテッドQualcomm Incorporated ワイヤレスローカルエリアネットワーク(wlan)システムにおけるアップリンク(ul)マルチユーザ多入力多出力(mu−mimo)のための物理レイヤ設計
JP2018050133A (ja) 2016-09-20 2018-03-29 キヤノン株式会社 通信装置、制御方法、及びプログラム
JP2019085799A (ja) 2017-11-09 2019-06-06 有限会社スタッツ パネル材及びパネル材製造方法

Family Cites Families (9)

* Cited by examiner, † Cited by third party
Publication number Priority date Publication date Assignee Title
KR20110082685A (ko) * 2010-01-12 2011-07-20 삼성전자주식회사 다중 사용자 다중 입출력 시스템의 프리엠블 생성 방법 및 상기 방법이 채용된 데이터 전송 장치와 단말
US9326158B2 (en) 2011-08-20 2016-04-26 Qualcomm Incorporated Method and apparatus for communicating with extended range in a wireless network
KR101874124B1 (ko) * 2011-11-09 2018-07-03 한국전자통신연구원 통신 시스템에서 데이터 송수신 장치 및 방법
EP2816740B1 (en) * 2012-02-14 2019-07-24 LG Electronics Inc. Method for transmitting data units in wireless lan systems and apparatus for supporting same
US9826532B1 (en) * 2015-02-09 2017-11-21 Marvell International Ltd. Orthogonal frequency division multiple access resource request
CN105120520B (zh) * 2015-07-17 2019-04-19 魅族科技(中国)有限公司 无线局域网络中数据传输的方法和设备
WO2019045708A1 (en) * 2017-08-30 2019-03-07 Intel IP Corporation METHODS AND SYSTEMS FOR NEW GENERATION WI-FI
US11363549B2 (en) * 2018-08-29 2022-06-14 Avago Technologies International Sales Pte. Limited Frame formats for distributed MIMO
WO2020149717A1 (ko) * 2019-01-18 2020-07-23 엘지전자 주식회사 무선랜 시스템에서 복수의 ap를 이용한 신호 송신

Patent Citations (3)

* Cited by examiner, † Cited by third party
Publication number Priority date Publication date Assignee Title
JP2016530776A (ja) * 2013-07-17 2016-09-29 クゥアルコム・インコーポレイテッドQualcomm Incorporated ワイヤレスローカルエリアネットワーク(wlan)システムにおけるアップリンク(ul)マルチユーザ多入力多出力(mu−mimo)のための物理レイヤ設計
JP2018050133A (ja) 2016-09-20 2018-03-29 キヤノン株式会社 通信装置、制御方法、及びプログラム
JP2019085799A (ja) 2017-11-09 2019-06-06 有限会社スタッツ パネル材及びパネル材製造方法

Non-Patent Citations (3)

* Cited by examiner, † Cited by third party
Title
EUNSUNG PARK , LIM DONGGUK, KIM JINMIN, YUN SUNWOONG, KIM JEONGKI, KIM SUHWOOK, PARK SUNGJIN, JANG INSUN, CHOI JINSOO: "Overview of PHY Features for EHT", 12 November 2018 (2018-11-12), pages 1 - 22, XP055758607, Retrieved from the Internet <URL:https://mentor.ieee.org/802.11/dcn/18/11-18-1967-00-Oeht-overview-of-phy-features-for-eht.pptx> [retrieved on 20200406] *
RON PORAT , SRINATH PUDUCHERI: "Initial Distributed MU MIMO Simulations", 12 November 2018 (2018-11-12), XP055758605, Retrieved from the Internet <URL:https://mentor.ieee.org/802.11/dcn/18/11-18-1962-00-Oeht-distributed-mu-mimo-simulations.pptx> [retrieved on 20200406] *
See also references of EP3962146A4

Also Published As

Publication number Publication date
US20250088222A1 (en) 2025-03-13
JP2023105051A (ja) 2023-07-28
CN113748702A (zh) 2021-12-03
US20220045724A1 (en) 2022-02-10
JP2020182181A (ja) 2020-11-05
EP3962146A4 (en) 2023-01-18
CN119922562A (zh) 2025-05-02
US12184359B2 (en) 2024-12-31
JP7292091B2 (ja) 2023-06-16
JP7493654B2 (ja) 2024-05-31
EP3962146A1 (en) 2022-03-02

Similar Documents

Publication Publication Date Title
CN113303027B (zh) 用于wlan中的联合多ap传输的方法和装置
JP7695318B2 (ja) 通信装置、通信方法、及び、プログラム
JP7308623B2 (ja) 情報処理装置並びにその制御方法、及び、プログラム
JP7379100B2 (ja) 通信装置、通信方法、およびプログラム
CN113615243B (zh) 通信设备、控制方法及计算机可读存储介质
JP2020141309A (ja) 通信装置、通信方法、及び、プログラム
CN113519181B (zh) 通信设备、通信方法及计算机可读存储介质
JP2018196154A (ja) 高効率wlanのための応答時間緩和
EP3689051B1 (en) Device and method for use in wireless communications
JP7493654B2 (ja) 通信装置及びその制御方法及びプログラム
JP2020141308A (ja) 通信装置並びにその通信方法、情報処理装置並びにその制御方法、及び、プログラム

Legal Events

Date Code Title Description
121 Ep: the epo has been informed by wipo that ep was designated in this application

Ref document number: 20795162

Country of ref document: EP

Kind code of ref document: A1

NENP Non-entry into the national phase

Ref country code: DE

ENP Entry into the national phase

Ref document number: 2020795162

Country of ref document: EP

Effective date: 20211126