WO2020158584A1 - 動植物育成用のled照明シート、動植物育成用のled照明モジュール、動植物の育成棚用の棚板、動植物の育成棚、及び動植物育成工場 - Google Patents

動植物育成用のled照明シート、動植物育成用のled照明モジュール、動植物の育成棚用の棚板、動植物の育成棚、及び動植物育成工場 Download PDF

Info

Publication number
WO2020158584A1
WO2020158584A1 PCT/JP2020/002422 JP2020002422W WO2020158584A1 WO 2020158584 A1 WO2020158584 A1 WO 2020158584A1 JP 2020002422 W JP2020002422 W JP 2020002422W WO 2020158584 A1 WO2020158584 A1 WO 2020158584A1
Authority
WO
WIPO (PCT)
Prior art keywords
plants
led lighting
animals
led
growing
Prior art date
Legal status (The legal status is an assumption and is not a legal conclusion. Google has not performed a legal analysis and makes no representation as to the accuracy of the status listed.)
Ceased
Application number
PCT/JP2020/002422
Other languages
English (en)
French (fr)
Japanese (ja)
Inventor
大 塚田
亀川 直人
大介 後藤
Current Assignee (The listed assignees may be inaccurate. Google has not performed a legal analysis and makes no representation or warranty as to the accuracy of the list.)
Dai Nippon Printing Co Ltd
Original Assignee
Dai Nippon Printing Co Ltd
Priority date (The priority date is an assumption and is not a legal conclusion. Google has not performed a legal analysis and makes no representation as to the accuracy of the date listed.)
Filing date
Publication date
Application filed by Dai Nippon Printing Co Ltd filed Critical Dai Nippon Printing Co Ltd
Priority to US17/427,758 priority Critical patent/US11892144B2/en
Priority to EP20749373.5A priority patent/EP3918907A4/en
Publication of WO2020158584A1 publication Critical patent/WO2020158584A1/ja
Anticipated expiration legal-status Critical
Ceased legal-status Critical Current

Links

Images

Classifications

    • AHUMAN NECESSITIES
    • A01AGRICULTURE; FORESTRY; ANIMAL HUSBANDRY; HUNTING; TRAPPING; FISHING
    • A01GHORTICULTURE; CULTIVATION OF VEGETABLES, FLOWERS, RICE, FRUIT, VINES, HOPS OR SEAWEED; FORESTRY; WATERING
    • A01G9/00Cultivation in receptacles, forcing-frames or greenhouses; Edging for beds, lawn or the like
    • A01G9/24Devices or systems for heating, ventilating, regulating temperature, illuminating, or watering, in greenhouses, forcing-frames, or the like
    • A01G9/249Lighting means
    • FMECHANICAL ENGINEERING; LIGHTING; HEATING; WEAPONS; BLASTING
    • F21LIGHTING
    • F21VFUNCTIONAL FEATURES OR DETAILS OF LIGHTING DEVICES OR SYSTEMS THEREOF; STRUCTURAL COMBINATIONS OF LIGHTING DEVICES WITH OTHER ARTICLES, NOT OTHERWISE PROVIDED FOR
    • F21V19/00Fastening of light sources or lamp holders
    • F21V19/001Fastening of light sources or lamp holders the light sources being semiconductors devices, e.g. LEDs
    • F21V19/003Fastening of light source holders, e.g. of circuit boards or substrates holding light sources
    • AHUMAN NECESSITIES
    • A01AGRICULTURE; FORESTRY; ANIMAL HUSBANDRY; HUNTING; TRAPPING; FISHING
    • A01GHORTICULTURE; CULTIVATION OF VEGETABLES, FLOWERS, RICE, FRUIT, VINES, HOPS OR SEAWEED; FORESTRY; WATERING
    • A01G7/00Botany in general
    • A01G7/04Electric or magnetic or acoustic treatment of plants for promoting growth
    • A01G7/045Electric or magnetic or acoustic treatment of plants for promoting growth with electric lighting
    • AHUMAN NECESSITIES
    • A01AGRICULTURE; FORESTRY; ANIMAL HUSBANDRY; HUNTING; TRAPPING; FISHING
    • A01KANIMAL HUSBANDRY; AVICULTURE; APICULTURE; PISCICULTURE; FISHING; REARING OR BREEDING ANIMALS, NOT OTHERWISE PROVIDED FOR; NEW BREEDS OF ANIMALS
    • A01K29/00Other apparatus for animal husbandry
    • FMECHANICAL ENGINEERING; LIGHTING; HEATING; WEAPONS; BLASTING
    • F21LIGHTING
    • F21VFUNCTIONAL FEATURES OR DETAILS OF LIGHTING DEVICES OR SYSTEMS THEREOF; STRUCTURAL COMBINATIONS OF LIGHTING DEVICES WITH OTHER ARTICLES, NOT OTHERWISE PROVIDED FOR
    • F21V23/00Arrangement of electric circuit elements in or on lighting devices
    • F21V23/003Arrangement of electric circuit elements in or on lighting devices the elements being electronics drivers or controllers for operating the light source, e.g. for a LED array
    • HELECTRICITY
    • H01ELECTRIC ELEMENTS
    • H01LSEMICONDUCTOR DEVICES NOT COVERED BY CLASS H10
    • H01L25/00Assemblies consisting of a plurality of semiconductor or other solid state devices
    • H01L25/03Assemblies consisting of a plurality of semiconductor or other solid state devices all the devices being of a type provided for in a single subclass of subclasses H10B, H10D, H10F, H10H, H10K or H10N, e.g. assemblies of rectifier diodes
    • H01L25/04Assemblies consisting of a plurality of semiconductor or other solid state devices all the devices being of a type provided for in a single subclass of subclasses H10B, H10D, H10F, H10H, H10K or H10N, e.g. assemblies of rectifier diodes the devices not having separate containers
    • H01L25/075Assemblies consisting of a plurality of semiconductor or other solid state devices all the devices being of a type provided for in a single subclass of subclasses H10B, H10D, H10F, H10H, H10K or H10N, e.g. assemblies of rectifier diodes the devices not having separate containers the devices being of a type provided for in group H10H20/00
    • H01L25/0753Assemblies consisting of a plurality of semiconductor or other solid state devices all the devices being of a type provided for in a single subclass of subclasses H10B, H10D, H10F, H10H, H10K or H10N, e.g. assemblies of rectifier diodes the devices not having separate containers the devices being of a type provided for in group H10H20/00 the devices being arranged next to each other
    • FMECHANICAL ENGINEERING; LIGHTING; HEATING; WEAPONS; BLASTING
    • F21LIGHTING
    • F21YINDEXING SCHEME ASSOCIATED WITH SUBCLASSES F21K, F21L, F21S and F21V, RELATING TO THE FORM OR THE KIND OF THE LIGHT SOURCES OR OF THE COLOUR OF THE LIGHT EMITTED
    • F21Y2105/00Planar light sources
    • F21Y2105/10Planar light sources comprising a two-dimensional array of point-like light-generating elements
    • FMECHANICAL ENGINEERING; LIGHTING; HEATING; WEAPONS; BLASTING
    • F21LIGHTING
    • F21YINDEXING SCHEME ASSOCIATED WITH SUBCLASSES F21K, F21L, F21S and F21V, RELATING TO THE FORM OR THE KIND OF THE LIGHT SOURCES OR OF THE COLOUR OF THE LIGHT EMITTED
    • F21Y2115/00Light-generating elements of semiconductor light sources
    • F21Y2115/10Light-emitting diodes [LED]
    • HELECTRICITY
    • H10SEMICONDUCTOR DEVICES; ELECTRIC SOLID-STATE DEVICES NOT OTHERWISE PROVIDED FOR
    • H10HINORGANIC LIGHT-EMITTING SEMICONDUCTOR DEVICES HAVING POTENTIAL BARRIERS
    • H10H20/00Individual inorganic light-emitting semiconductor devices having potential barriers, e.g. light-emitting diodes [LED]
    • H10H20/80Constructional details
    • H10H20/84Coatings, e.g. passivation layers or antireflective coatings
    • HELECTRICITY
    • H10SEMICONDUCTOR DEVICES; ELECTRIC SOLID-STATE DEVICES NOT OTHERWISE PROVIDED FOR
    • H10HINORGANIC LIGHT-EMITTING SEMICONDUCTOR DEVICES HAVING POTENTIAL BARRIERS
    • H10H20/00Individual inorganic light-emitting semiconductor devices having potential barriers, e.g. light-emitting diodes [LED]
    • H10H20/80Constructional details
    • H10H20/85Packages
    • H10H20/852Encapsulations
    • H10H20/854Encapsulations characterised by their material, e.g. epoxy or silicone resins
    • HELECTRICITY
    • H10SEMICONDUCTOR DEVICES; ELECTRIC SOLID-STATE DEVICES NOT OTHERWISE PROVIDED FOR
    • H10HINORGANIC LIGHT-EMITTING SEMICONDUCTOR DEVICES HAVING POTENTIAL BARRIERS
    • H10H20/00Individual inorganic light-emitting semiconductor devices having potential barriers, e.g. light-emitting diodes [LED]
    • H10H20/80Constructional details
    • H10H20/85Packages
    • H10H20/857Interconnections, e.g. lead-frames, bond wires or solder balls
    • HELECTRICITY
    • H10SEMICONDUCTOR DEVICES; ELECTRIC SOLID-STATE DEVICES NOT OTHERWISE PROVIDED FOR
    • H10HINORGANIC LIGHT-EMITTING SEMICONDUCTOR DEVICES HAVING POTENTIAL BARRIERS
    • H10H20/00Individual inorganic light-emitting semiconductor devices having potential barriers, e.g. light-emitting diodes [LED]
    • H10H20/80Constructional details
    • H10H20/85Packages
    • H10H20/858Means for heat extraction or cooling
    • H10H20/8585Means for heat extraction or cooling being an interconnection

Definitions

  • the present disclosure relates to an LED lighting sheet for growing plants and animals, an LED lighting module for growing plants and animals, a shelf board for growing shelves of plants and animals, a shelf for growing plants and animals, and a plant for growing plants and animals.
  • a plant cultivation device in which a plurality of straight tube type plant growing lights having LEDs as a light source are arranged on a shelf plate of a plant cultivation shelf. (For example, refer to Patent Document 1).
  • the present disclosure provides an LED lighting sheet for growing animals and plants, an LED lighting module for growing animals and plants, and a shelf for growing shelves of animals and plants, which makes it possible to uniformly grow animals and plants in a plane and obtain animals and plants in good yield.
  • the LED lighting sheet for growing animals and plants is an LED lighting sheet for growing animals and plants, in which a plurality of LED chips are arranged, and the LED chips in the lower region of the LED lighting sheet for growing animals and plants.
  • the input power is converted and the value normalized by the average value of the lower region is 0.2 or more, and among the lower region of the LED lighting sheet for growing animals and plants.
  • the variation of the photosynthetic photon flux density measured at a position 50 mm away from the LED chip is 0.5 or less in standard deviation when normalized by an average value.
  • 10 or more of the LED chips may be arranged in series, and 4 or more rows of the LED chips may be arranged in parallel.
  • the LED chip may be covered with a transparent protective film.
  • a substrate film and a metal wiring portion formed on the surface of the substrate film are provided, and the plurality of LED chips are mounted on the metal wiring portion. Good.
  • the thickest portion may have a thickness of 5 mm or less.
  • An LED lighting module for growing animals and plants according to the present embodiment is an LED lighting module for growing animals and plants, wherein the LED lighting sheet for growing animals and plants according to the present embodiment and the LED lighting sheet for growing animals and plants are electrically connected. And a control unit connected electrically.
  • the shelf plate for growing shelves of animals and plants according to the present embodiment is a substrate, and the LED lighting sheet for growing animals and plants according to the present embodiment attached to the substrate or the LED for growing animals and plants according to the present embodiment. And a lighting module.
  • the animal and plant growing shelf according to the present embodiment is an animal and plant growing shelf, and includes a shelf board, and the shelf board is attached to the lower surface side of the substrate, and the LED lighting for growing animals and plants according to the present embodiment.
  • a sheet or the LED lighting module for growing the animals and plants according to the present embodiment is provided.
  • a light reflecting sheet may be arranged on the side surface side of the shelf board.
  • the animal and plant growing plant according to the present embodiment includes a building and the animal and plant growing shelf according to the present embodiment, which is arranged inside the building.
  • FIG. 1 is a schematic diagram showing an LED lighting module according to one embodiment.
  • FIG. 2 is a plan view showing an LED lighting sheet according to one embodiment.
  • FIG. 3 is a plan view showing a modified example of the LED lighting sheet.
  • FIG. 4 is a schematic perspective view showing a state in which light is emitted downward from the LED lighting sheet.
  • FIG. 5A is a graph showing the relationship between time and voltage when a constant voltage is applied from the control unit to the LED lighting sheet
  • FIG. 5B is a comparative example, in which a pulse is applied to the LED lighting sheet. It is a graph which shows the relationship between time and voltage in the case of being.
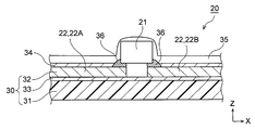
  • FIG. 6 is a sectional view (a sectional view taken along the line VV in FIG. 2) showing the LED lighting sheet according to the embodiment.
  • FIG. 7A to 7H are cross-sectional views showing a method for manufacturing an LED lighting sheet according to one embodiment.
  • FIG. 8 is a schematic perspective view showing a plant growing factory according to one embodiment.
  • FIG. 9 is a schematic perspective view showing a plant growth shelf according to one embodiment.
  • FIGS. 10A and 10B are views showing a modified example of the plant growth shelf.
  • FIG. 11 is a figure which shows the modification of the growing shelf of a plant.
  • FIG. 12A is a schematic view showing a state in which light is emitted downward from the LED lighting sheet according to the embodiment
  • FIG. 12B is a plurality of straight tube types as comparative examples. It is a schematic diagram showing a state where light is emitted downward from an LED bar light in which LEDs are arranged.
  • the LED lighting sheet for growing animals and plants is an LED lighting sheet for growing animals and plants, in which a plurality of LED chips are arranged, and the LED chips in the lower region of the LED lighting sheet for growing animals and plants.
  • the input power is converted and the value normalized by the average value of the lower region is 0.2 or more, and among the lower region of the LED lighting sheet for growing animals and plants.
  • the variation of the photosynthetic photon flux density measured at a position 50 mm away from the LED chip is 0.5 or less in standard deviation when normalized by an average value.
  • the LED lighting sheet for growing animals and plants is a sheet-shaped LED lighting device, the overall thickness can be made thinner than an LED bar light in which a plurality of straight tube LEDs are arranged. Therefore, the vertical spacing between the shelves of the animal and plant growing shelf can be narrowed to improve the yield of the animals and plants to be grown per floor area of the animal and plant growing factory.
  • the LED lighting sheet since the thickness of the LED chip is smaller than the thickness of the LED straight tube, the LED lighting sheet has an LED straight tube with a height difference between a portion where the LED chip is arranged and a portion where the LED chip is not arranged. It can be made smaller than the height difference between the place where the LED straight tube is placed and the place where the LED straight tube is not placed.
  • the shadow on the side of the LED chip is less likely to occur, so that even when the animal or plant grows and comes close to the LED lighting sheet, it is possible to suppress the variation in the light irradiating the animal or plant.
  • the LED lighting device for growing animals and plants it is important to suppress variations in the light that irradiates the animals and plants, because it reduces the size and quality of the animals and plants to be grown within a certain standard range and reduces nonconforming products. is there.
  • the growth of animals and plants it is important to control the light and heat applied to the animals and plants at the latter stage of growth when the animals and plants grow and photosynthesis becomes active.
  • the LED lighting sheet for growing animals and plants according to the present embodiment can suppress variations in relatively strong light emitted to the animals and plants when the animals and plants are close to each other.
  • a photosynthetic photon flux density PPFD photosynthetic photon flux density
  • PPFD photosynthetic photon flux density
  • Yield may decrease. According to the sheet-like LED lighting device according to the present embodiment, even if the light is PPFD converted into input power and the value normalized by the average value of the lower region is 0.2, variation is suppressed and good yield is obtained. Is obtained.
  • the photosynthetic photon flux density PPFD of the light emitted from the LED chip in the plant and animal growing plant in order to grow the plant and animal more quickly.
  • simply increasing the PPFD of the light emitted from the LED chip causes variations in the growth speed of a plurality of animals and plants arranged in the plane.
  • the growth speed of the plants and animals fluctuates in the latter stage, and some plants and animals do not grow sufficiently, and some plants and animals have a failure to grow called chip burn. was found to increase.
  • the variation of the photosynthetic photon flux density measured at a position 50 mm away from the LED chip in the lower region of the LED lighting sheet for growing plants and animals is the standard deviation when normalized by the average value. It is 0.5 or less.
  • the amount of light is made uniform below the LED lighting sheet and at a position close to the LED chip.
  • the irradiation amount of the light from the LED chip becomes uniform in the plane, and it is possible to eliminate a place where the irradiation amount of the light is insufficient in the lower region of the LED lighting sheet.
  • the growth speed of animals and plants in the latter half of the growth of animals and plants can be made uniform in the plane.
  • the amount of light emitted from the LED chip becomes excessive, it is possible to prevent the growth failure called chip burn from occurring in animals and plants.
  • the LED lighting module for growing animals and plants according to the present embodiment includes the LED lighting sheet for growing animals and plants according to the present embodiment, and a control unit electrically connected to the LED lighting sheet. Therefore, the growth speed of animals and plants can be made uniform in the plane, and animals and plants can be obtained in good yield. Since the shelf plate for animal and plant growing shelves according to the present embodiment, the animal and plant growing shelf, and the animal and plant growing factory are provided with the LED lighting sheet or module for animal and plant growing according to the present embodiment, the speed of growing animals and plants can be increased. It can be homogenized in-plane, and animals and plants can be obtained in good yield.
  • an animal or plant means an animal and/or a plant.
  • a case of growing (cultivating) a plant with an LED lighting module will be described as an example, but the present invention can also be applied to a case of growing an animal within a range where no contradiction occurs.
  • the LED lighting module 10 for plant cultivation according to the present embodiment (hereinafter also referred to as the LED lighting module 10) shown in FIG. 1 is provided in a plant cultivation factory 90 (FIG. 8) using artificial light as described later. It is installed and grows plants.
  • Such an LED lighting module 10 includes an LED lighting sheet 20 for plant growth (hereinafter, also referred to as an LED lighting sheet 20) and a control unit 40 electrically connected to the LED lighting sheet 20.
  • the LED lighting sheet 20 has a plurality of LED chips 21 arranged on the light emitting surface side (the side facing the plant direction when used) of the sheet surface.
  • the LED lighting sheet 20 of the direct type as described above, the irradiation light from the LED chip 21 directly passes through the light emitting surface and reaches the plant directly below, so that the amount of light is increased to promote the growth of the plant.
  • FIG. 2 shows an example of the direct type LED lighting sheet 20, the present invention is not limited to this, and an edge type LED lighting sheet having a light guide plate or the like may be used.
  • the edge type LED lighting sheet easily suppresses the variation in the amount of light from the light emitting surface.
  • the LED illumination sheet 20 of FIG. 2 includes a flexible wiring board 30 and a plurality of LED chips 21 regularly arranged on the flexible wiring board 30. By using such a flexible wiring board 30, the LED lighting sheet 20 having a relatively large sheet surface area can be obtained.
  • a plurality of LED lighting sheets 20 are arranged and used. However, if the positions of the adjacent LED lighting sheets 20 vary, the light quantity varies and the yield of plants increases. May decrease.
  • the LED lighting sheet 20 having a relatively large sheet surface area can reduce the number of LED lighting sheets 20 to be used, so that it is possible to suppress variations in the light amount due to the arrangement of the plurality of LED lighting sheets 20.
  • FIG. 2 shows an example of the LED lighting sheet 20 including the flexible wiring board 30, the present invention is not limited to this, and an LED lighting sheet including a rigid wiring board may be used.
  • the LED lighting sheet provided with the rigid wiring board has high resistance to stress and is not easily damaged. Note that, in FIG. 2, the display of the light-reflective insulating protective film 34 and the transparent protective film 35 described later is omitted.
  • the LED chips 21 are arranged in the flexible wiring board 30 in a grid pattern in a plan view. That is, the LED chips 21 are arranged in a matrix form in multiple stages and multiple rows, and the rows R of M LED chips 21 connected in series are arranged in N rows.
  • the LED chips 21 are connected in series along the first array direction (X direction) of the LED chips 21.
  • the number of LED chips 21 arranged is not limited to this.
  • 10 or more and 14 or less (14 ⁇ M ⁇ 10) LED chips 21 are arranged in series in the first array direction (X direction), and this row R is the second array of the LED chips 21. It is preferable to arrange them in parallel in the direction (Y direction) from 4 rows to 10 rows (10 ⁇ N ⁇ 4).
  • the LED chips 21 can be arranged at short intervals along the first arrangement direction (X direction), and the in-plane variation of the illuminance of the LED lighting sheet 20 can be reduced. It is possible to suppress, and it is possible to suppress variations in the light that irradiates the plant.
  • 14 or less LED chips 21 in series power consumption can be reduced and running costs such as utility costs in the plant growing factory 90 can be reduced.
  • the LED chips 21 are arranged in parallel in four rows or more in the second arrangement direction (Y direction) of the LED chips 21, even if a specific LED chip 21 is damaged, the LED chips 21 of the other rows are arranged. Therefore, it is possible to prevent the illuminance of the entire LED lighting sheet 20 from extremely decreasing. Further, by limiting the range in which the illuminance of the LED lighting sheet 20 is reduced, the range in which an incompatible product may be generated is limited, and the reduction in yield can be suppressed. In order to make the LED lighting sheet 20 that irradiates light with a total luminous flux of 3000 lm or more, it is necessary to improve the performance of the LED chip 21.
  • the LED lighting sheet 20 has a plurality of metal wiring portions 22, and the plurality of metal wiring portions 22 are arranged along the first arrangement direction (X direction).
  • the plurality of metal wiring portions 22 arranged along the first arrangement direction (X direction) correspond to the respective columns R of the LED chips 21.
  • the LED chips 21 are arranged so as to straddle a pair of metal wiring portions 22 adjacent to each other in the X direction.
  • Each terminal (not shown) of the LED chip 21 is electrically connected to the pair of metal wiring portions 22.
  • the plurality of metal wiring portions 22 form a power feeding portion to the LED chips 21, and when the power is supplied to the plurality of metal wiring portions 22, all the LED chips 21 arranged in the row R are turned on. ..
  • the plurality of metal wiring portions 22 form a part of the metal wiring portion 32 described later.
  • the distance Px between the LED chips 21 in the first arrangement direction (X direction) is preferably 37 mm or more and 50 mm or less.
  • the interval Py between the LED chips 21 in the second arrangement direction (Y direction) is preferably 37 mm or more and 100 mm or less.
  • the thickness of the thickest part of the LED lighting sheet 20 is preferably 5 mm or less.
  • the arrangement of the LED chips 21 is not limited to the lattice points in plan view, but may be arranged in a staggered pattern in plan view as shown in FIG. 3(a). Further, the LED chips 21 do not have to be evenly arranged in the plane of the LED lighting sheet 20. For example, the density of the LED chips 21 may be increased in the peripheral portion of the LED lighting sheet 20. Specifically, as shown in FIG. 3B, the LED chips 21 are arranged in a grid pattern at the center of the LED lighting sheet 20 (the lower part of FIG. 3B), and the peripheral edge of the LED lighting sheet 20 is arranged. The LED chips 21 may be arranged in a staggered manner (in the upper part of FIG. 3B). Accordingly, it is possible to suppress a decrease in the brightness of the LED lighting sheet 20 in the peripheral portion of the LED lighting sheet 20, make the brightness of the LED lighting sheet 20 uniform in the plane, and suppress the variation of the light that illuminates the plant. ..
  • the overall shape of the LED lighting sheet 20 is a rectangular shape in plan view, but the size and the planar shape of the LED lighting sheet 20 are not particularly limited. Since the LED illumination sheet 20 has a high degree of freedom in processing the size and shape, it is possible to flexibly meet various demands in this regard. Further, by utilizing its flexibility, it is possible to attach to not only a flat installation surface but also various shapes of installation surfaces.
  • the length Lx of the LED lighting sheet 20 in the first arrangement direction (X direction) is preferably 500 mm or more and 700 mm or less, and more preferably 550 mm or more and 650 mm or less.
  • the length Ly of the LED lighting sheet 20 in the second arrangement direction (Y direction) is preferably 300 mm or more and 500 mm or less, and more preferably 350 mm or more and 450 mm or less.
  • each LED lighting sheet 20 is not excessively large, it is possible to minimize the influence on other LED chips 21 when a specific LED chip 21 is damaged, and the entire shelf board. It is possible to prevent the illuminance from falling extremely and to limit the range in which the illuminance drops.
  • the photosynthetic photon flux density PPFD photosynthetic photon flux density
  • the value normalized by the average value of the lower region is preferably 0.3 or more, more preferably 0.4 or more.
  • the lower region of the LED lighting sheet 20 refers to a region A1 included inside the LED lighting sheet 20 when viewed from above in the vertical direction of the LED lighting sheet 20, as shown in FIG.
  • the PPFD converted into the input power is the power (W) applied to the LED illumination sheet 20 by each measured value ( ⁇ mol ⁇ m ⁇ 2 ⁇ s ⁇ 1 ) of the photosynthetic photon flux density PPFD from the LED illumination sheet 20.
  • the value normalized by the average value of the lower region is a value obtained by dividing the value of PPFD converted into input power at each position in the lower region by the average value of PPFD converted into input power at a plurality of positions in the lower region.
  • the PPFD can be measured by a measuring device such as a photon meter (for example, photon sensor LI-190R and light meter LI-250A manufactured by LI-COR, USA).
  • a photon meter for example, photon sensor LI-190R and light meter LI-250A manufactured by LI-COR, USA.
  • the photon sensors LI-190R are arranged so as to be horizontal with respect to the cultivation surface (or light source), and are arranged discretely in a matrix according to the cultivation area, and the numerical value is read in a state in which the numerical value indicating the amount of light is stable. Numerical values are read with the light meter calibrated to the unique value of the sensor. In the present embodiment, the numerical value of PPFD is expressed by the numerical value measured in the above matrix.
  • the photosynthetic photon flux density PPFD photosynthetic photon flux density
  • the dispersion of the photosynthetic photon flux density (PPFD) measured at a plurality of positions 50 mm apart from the LED chip 21 in the lower region of the LED lighting sheet 20 is normalized by an average value.
  • the standard deviation is preferably 0.5 or less, more preferably 0.4 or less.
  • the dispersion of PPFD means a value which is standardized by taking the quotient with the average value of PPFD (after conversion of input power) measured in that range and expressed by standard deviation.
  • the PPFD has a maximum value immediately below the LED chips 21 and a minimum value at an intermediate position between adjacent LED chips 21.
  • the chip array region of the LED lighting sheet 20 means a region A2 surrounded by the outermost LED chips 21 when viewed from above in the vertical direction of the LED lighting sheet 20, as shown in FIG. Say.
  • the amount of light from the LED chip 21 below the LED lighting sheet 20 can be made uniform. ..
  • the variation in PPFD the irradiation amount of light from the LED chip 21 becomes uniform in the plane, and it is possible to eliminate the place where the irradiation amount of light is insufficient in the region below the LED lighting sheet 20. .. Thereby, the growing speed of the plant can be made uniform in the plane.
  • the amount of light emitted from the LED chip 21 becomes excessive it is possible to suppress the occurrence of a growth disorder called chip burn in the plant. As a result, variations in plant growth are less likely to occur, and a decrease in plant yield can be suppressed.
  • the control unit 40 supplies electric power to the LED lighting sheet 20 and controls light emission and the like of the LED lighting sheet 20.
  • the control unit 40 is detachably connected to the LED lighting sheet 20 via a first connector 44A provided on the LED lighting sheet 20. That is, the control unit 40 is configured separately from the LED lighting sheet 20, and is externally connected to the LED lighting sheet 20. That is, the control unit 40 is not integrated with the LED lighting sheet 20.
  • the control unit 40 serving as a heat source can be separated from the LED lighting sheet 20, and the heat from the control unit 40 can be prevented from affecting the growth of plants.
  • the control unit 40 also includes a power input unit 41, an AC/DC converter (driver) 42, and a PWM control unit 43.
  • the power input unit 41 is supplied with an alternating voltage having an arbitrary voltage of 100 V to 240 V, for example.
  • the AC/DC converter 42 converts an AC voltage of 100V to 240V into a DC voltage of a constant pressure (for example, 44V).
  • the PWM control unit 43 controls the LED chip 21 of the LED lighting sheet 20 by arbitrarily changing the pulse width of the constant voltage waveform from the AC/DC converter 42. That is, the PWM control unit 43 also serves as a dimming control unit that controls dimming of the LED lighting sheet 20.
  • the constant voltage output from the PWM control unit 43 is applied to the LED lighting sheet 20 via the first connector 44A.
  • the PWM control unit 43 can arbitrarily control the illuminance of the LED chip 21 by appropriately changing the duty ratio of the DC voltage from the AC/DC converter 42. For example, as shown in FIG. 5A, the PWM control unit 43 suppresses the duty ratio of the constant voltage from the AC/DC converter 42 from 100% (solid line) to 50% (dotted line), so that the LED chip 21 The illuminance of can be reduced.
  • the illuminance of the LED lighting sheet 20 can be adjusted according to the growth stage of the plant, and the degree of growth of the plant can be adjusted. For example, the illuminance of the LED lighting sheet 20 may be lowered in the early stage of growth of small plant leaves, and the illuminance of the LED lighting sheet 20 may be increased in the latter stage of growth of large plant leaves. Alternatively, since the distance between the plant and the LED chip 21 is large in the early growth stage when the plant is short, the illuminance of the LED lighting sheet 20 is increased, and in the latter growth stage when the plant is large in height, the plant and the LED chip 21 are long.
  • the illuminance of the LED illumination sheet 20 may be lowered because the distance from the LED illumination sheet 20 becomes shorter.
  • the illuminance may be increased when the type of plant requires high illuminance, and the illuminance may be decreased when the type of plant that can be grown with low illuminance.
  • the illuminance may be increased when the shipping time is desired to be advanced, and the illuminance may be decreased when the shipping time is desired to be delayed.
  • the LED illumination sheet 20 that irradiates light with a total luminous flux of 3000 lm or more has a wide range in which the illuminance can be adjusted, and thus has a great advantage that the dimming of the LED chip 21 can be controlled. In the case of the LED lighting sheet 20 having a low light quantity, even if the LED lighting sheet 20 is provided with a dimming function, it is eventually used at an illuminance near the maximum, and the advantage of having the dimming function was small.
  • the integrated light amount when the constant voltage is applied to the LED lighting sheet 20 (the area of the shaded portion of FIG. 5A) is compared with the integrated light amount when the voltage is applied by a pulse as a comparative example (see FIG. The area of the shaded portion 5(b)) can be made larger.
  • the light emission efficiency of the light from the LED lighting sheet 20 can be increased and the plant growth efficiency can be improved.
  • the LED lighting sheet 20 is provided with a regulator 45.
  • the regulators 45 are provided corresponding to the respective columns of the LED chips 21, and specifically, the ten regulators 45 are provided corresponding to the 10 columns of the LED chips 21. ..
  • the regulator 45 plays a role of maintaining a constant current flowing through the plurality of LED chips 21 in each column. Accordingly, even if one LED chip 21 is damaged, it is possible to prevent an excessive current from flowing to the LED chips 21 in the other columns and prevent the LED chips 21 in the other columns from being damaged. As a result, it is possible to prevent the illuminance of the entire LED lighting sheet 20 from being extremely reduced, and it is possible to suppress variations in the light that illuminates the plants.
  • the regulator 45 can control the amount of current controlled for each column by the resistance value to be connected. For example, by changing the control resistance value of the first column and the last column, only the peripheral column output is performed. I can give you. Thus, normally, the aim is to ensure uniformity by laying the LED lighting sheets 20 together without any gaps, but from the viewpoint of cost and ensuring air permeability, it is assumed that the LED lighting sheets 20 are separated by about 5 cm to 10 cm. However, the effect that the seam can be erased can be expected.
  • the LED lighting sheet 20 is provided with a power supply line 46 branching from the first connector 44A.
  • a second connector 44B is provided on the LED lighting sheet 20.
  • the power supply line 46 is not electrically connected to the LED chip 21 of the LED lighting sheet 20, but is electrically connected to the wiring of another LED lighting sheet 200 having the same configuration as the LED lighting sheet 20. Connected. That is, the power supply line 46 is detachably connected to the wiring of the LED lighting sheet 200 via the second connector 44B and the other first connector 44A provided on the other LED lighting sheet 200.
  • the other connector 44A is connected to another LED lighting sheet 20 having the same configuration. The current from the power supply line 46 is supplied to the other LED lighting sheet 20 via the second connector 44B and the other first connector 44A.
  • the two LED lighting sheets 20 can be connected and the two LED lighting sheets 20 and 200 can be controlled simultaneously by the single control unit 40. Since it is possible to control a plurality of LED lighting sheets 20 and 200 at the same time by one control unit 40, the number of control units 40 that are heat generation sources can be reduced. Variation in growth is less likely to occur, and a decrease in yield can be suppressed.
  • the LED lighting sheet 20 includes a flexible wiring board 30 and a plurality of LED chips 21 arranged on the flexible wiring board 30.
  • the flexible wiring board 30 has a flexible substrate film 31 and a metal wiring portion 32 formed on the surface (the surface on the light emitting surface side) of the substrate film 31.
  • the metal wiring portion 32 is laminated on the substrate film 31 via the adhesive layer 33.
  • Each LED chip 21 is mounted on the metal wiring part 32 in a conductive manner.
  • the LED chips 21 are mounted on the flexible wiring board 30, so that the plurality of LED chips 21 can be arranged at a desired high density.
  • a light-reflective insulating protective film 34 is formed on the LED lighting sheet 20 so as to cover a region except the region where the LED chip 21, the regulator 45, the connectors 44A and 44B are provided and the peripheral region thereof.
  • the light-reflective insulating protective film 34 is arranged so as to cover the metal wiring portion 32.
  • the light-reflective insulating protective film 34 is a layer that has both an insulating function that contributes to the improvement of the migration resistance of the LED lighting sheet 20 and a light reflecting function that contributes to the improvement of the light environment created by the LED lighting sheet 20. This layer is formed of an insulating resin composition containing a white pigment.
  • a structure without the light-reflective insulating protective film 34 is also possible when the migration resistance and the light reflection function are obtained only by the metal wiring portion 32 and the transparent protective film 35 described later.
  • a transparent protective film 35 is formed so as to cover the light reflective insulating protective film 34 and the LED chip 21.
  • the transparent protective film 35 is a resin film mainly formed on the outermost surface (the surface located closest to the light emitting surface side) of the LED lighting sheet 20 in order to ensure waterproofness.
  • a solder part 36 is provided on the metal wiring part 32.
  • Each LED chip 21 is electrically connected to the metal wiring portion 32 via the solder portion 36.
  • a resin film having flexibility can be used as the substrate film 31.
  • “having flexibility” means that “the radius of curvature can be bent to at least 1 m, preferably 50 cm, more preferably 30 cm, further preferably 10 cm, and particularly preferably 5 cm. That means.
  • thermoplastic resin having high heat resistance and high insulation may be used as the material of the substrate film 31 .
  • a resin a polyimide resin (PI) or polyethylene naphthalate (PEN), which has excellent heat resistance, dimensional stability upon heating, mechanical strength, and durability, can be used.
  • PI polyimide resin
  • PEN polyethylene naphthalate
  • PET polyethylene terephthalate
  • PET polyethylene terephthalate
  • the thickness of the substrate film 31 is not particularly limited, but from the viewpoint of not becoming a bottleneck as a heat dissipation path, having heat resistance and insulation, and a balance of manufacturing cost, it is generally 10 ⁇ m or more and 500 ⁇ m or more. Hereafter, it is preferably 50 ⁇ m or more and 250 ⁇ m or less. The thickness is preferably within the above range from the viewpoint of maintaining good productivity when the roll-to-roll method is used.
  • Adhesive layer As the adhesive forming the adhesive layer 33, a known resin-based adhesive can be appropriately used. Among these resin adhesives, urethane-based, polycarbonate-based, silicone-based, ester-based or epoxy-based adhesives can be particularly preferably used. An acrylic pressure-sensitive adhesive may be used as the adhesive forming the adhesive layer 33.
  • the metal wiring portion 32 is a wiring pattern formed of a conductive base material such as a metal foil on the surface (light emitting surface side) of the substrate film 31.
  • the metal wiring portion 32 is preferably formed on the surface of the substrate film 31 via the adhesive layer 33 by a dry laminating method.
  • the metal wiring part 32 includes the plurality of metal wiring parts 22 described above.
  • the plurality of metal wiring portions 22 include a first metal wiring portion 22A and a second metal wiring portion 22B arranged apart from the first metal wiring portion 22A.
  • the LED chip 21 is mounted on the first metal wiring portion 22A and the second metal wiring portion 22B, and the LED chip 21 is electrically connected to the first metal wiring portion 22A and the second metal wiring portion 22B. Has been done.
  • the LED chip 21 is turned on by the electric power supplied to the first metal wiring portion 22A and the second metal wiring portion 22B.
  • the metal wiring part 32 preferably has both high heat dissipation and high electrical conductivity, and for example, copper foil can be used.
  • the heat dissipation from the LED chips 21 is stable and an increase in electrical resistance can be prevented, so that the variation in light emission between the LED chips 21 is reduced and stable light emission is possible.
  • the life of the LED chip 21 is extended. Further, deterioration of peripheral members such as the substrate film 31 due to heat can be prevented, so that the product life of the LED lighting sheet 20 can be extended.
  • Examples of the metal forming the metal wiring portion 32 include metals such as aluminum, gold, and silver in addition to the above copper.
  • the thickness of the metal wiring portion 32 may be appropriately set according to the magnitude of withstand current required for the flexible wiring board 30.
  • the thickness of the metal wiring portion 32 is preferably 10 ⁇ m or more in order to suppress the warpage due to the heat shrinkage of the substrate film 31 during the soldering process by the reflow method or the like.
  • the thickness of the metal wiring portion 32 is preferably 50 ⁇ m or less, whereby the flexibility of the flexible wiring substrate 30 can be maintained, and deterioration of handling property due to an increase in weight can be suppressed. be able to.
  • solder part The solder portion 36 joins the metal wiring portion 32 and the LED chip 21.
  • the soldering can be performed by either a reflow method or a laser method.
  • the LED chip 21 is a light emitting element that utilizes light emission at a PN junction portion in which a P-type semiconductor and an N-type semiconductor are joined.
  • the LED chip 21 may have a structure in which a P-type electrode and an N-type electrode are provided on the upper surface and the lower surface of the element, respectively, and a structure in which both the P-type electrode and the N-type electrode are provided on one surface of the element. May be.
  • each LED chip 21 has a large luminous flux.
  • the LED chip 21 having a luminous flux of 30 lm or more is preferably used, and the LED chip having a luminous flux of 35 lm or more is more preferably used.
  • the LED chip 21 it is preferable to use one having a luminous efficiency of 150 lm/W or more, and further preferable to use one having a luminous efficiency of 180 lm/W or more.
  • the number of mounted (density) LED chips 21 can be reduced, and the heat generated by the Joule heat from the LED chips 21 can be reduced. As a result, it is possible to suppress variation in plant growth due to the above, and to suppress a decrease in yield.
  • the LED lighting sheet 20 is one in which the LED chip 21 is directly mounted on the metal wiring portion 32 capable of exhibiting high heat dissipation.
  • the LED chips 21 are arranged at a high density, excessive heat generated when the LED chips 21 are turned on is quickly diffused through the metal wiring portion 32, and the outside of the LED lighting sheet 20 through the substrate film 31.
  • the heat can be sufficiently radiated to the plant, variation in plant growth due to the heat from the LED chip 21 is less likely to occur, and a decrease in yield can be suppressed.
  • the light-reflective insulating protective film 34 is a layer formed in a region except the region where the LED chip 21 is provided and the peripheral region thereof.
  • the light-reflective insulating protective film 34 is a so-called resist layer that improves the migration resistance of the flexible wiring board 30 by having a sufficient insulating property, and contributes to the improvement of the light environment created by the LED lighting sheet 20. It is a light-reflecting layer having a light-reflecting property.
  • the light-reflective insulating protective film 34 can be formed of various resin compositions containing urethane resin as a base resin and further containing a white pigment made of an inorganic filler such as titanium oxide.
  • a base resin of the resin composition used for forming the light-reflective insulating protective film 34 an acrylic urethane-based resin, a polyester-based resin, a phenol-based resin, or the like can be appropriately used in addition to the urethane-based resin.
  • As the base resin of the resin composition forming the light-reflective insulating protective film 34 it is more preferable to use the same or similar resin as the resin composition forming the transparent protective film 35.
  • the transparent protective film 35 it is preferable to use an acrylic urethane resin as the main material resin, as described later. From this, when the base resin of the resin composition forming the transparent protective film 35 is an acrylic urethane resin, the base resin of the resin composition for forming the light-reflective insulating protective film 34 is a urethane resin or It is more preferable to use an acrylic urethane resin.
  • the inorganic filler to be contained as a white pigment in the resin composition forming the light-reflective insulating protective film 34 besides titanium oxide, alumina, barium sulfate, magnesia, aluminum nitride, boron nitride, barium titanate, kaolin, At least one selected from talc, calcium carbonate, zinc oxide, silica, mica powder, powder glass, powder nickel and powder aluminum can be used.
  • the thickness of the light-reflective insulating protective film 34 is 5 ⁇ m or more and 50 ⁇ m or less, and more preferably 7 ⁇ m or more and 20 ⁇ m or less.
  • the thickness of the light-reflective insulating protective film 34 is less than 5 ⁇ m, the light-reflective insulating protective film becomes thin particularly at the edge portion of the metal wiring portion 32, and when the metal wiring cannot be covered and is exposed. The risk that insulation cannot be maintained increases.
  • the thickness of the light-reflective insulating protective film 34 is preferably 50 ⁇ m or less from the viewpoint of holding the light-reflective insulating protective film 34 from the curvature of the substrate during handling and transportation.
  • the light-reflecting insulating protective film 34 has a light ray average reflectance at a wavelength of 400 nm to 780 nm both of preferably 65% or more, more preferably 70% or more, and more preferably 80% or more. Is more preferable.
  • titanium oxide is contained in an amount of 20 parts by mass or more with respect to 100 parts by mass of the urethane-based or acrylic urethane-based base resin, so that the thickness of the light-reflecting insulating protective film 34 is set to 8 ⁇ m. In this case, the light reflectance of the same layer can be 75% or more.
  • the transparent protective film 35 is formed on the outermost surface of the LED lighting sheet 20 so as to cover the LED chip 21.
  • the transparent protective film 35 has waterproofness and transparency.
  • the waterproof property of the transparent protective film 35 can prevent water from entering the inside of the device when the LED lighting sheet 20 is used as a light source for growing plants.
  • the LED lighting sheet 20 that irradiates light with a total luminous flux amount of 3000 lm or more, it is necessary to improve the performance of the LED chip 21, and the influence when the specific LED chip 21 is damaged becomes large. Therefore, it is important from the viewpoint of risk management to prevent the LED chip 21 from being damaged as much as possible.
  • the transparent protective film 35 can be formed of various resin compositions having an acrylic urethane resin or the like as a base resin.
  • urethane-based resin, polyester-based resin, phenol-based resin, and the like can be appropriately used in addition to the acrylic urethane-based resin.
  • the base resin of the resin composition forming the transparent protective film 35 it is preferable to use the same or similar resin as the resin composition forming the light-reflective insulating protective film 34 as the base resin.
  • a preferred specific combination is a combination in which the base resin of the resin composition forming the light-reflective insulating protective film 34 is a urethane resin and the resin forming the transparent protective film 35 is an acrylic urethane resin. it can.
  • the thickness of the transparent protective film 35 is 10 ⁇ m or more and 40 ⁇ m or less, preferably 15 ⁇ m or more and 30 ⁇ m or less, and more preferably 20 ⁇ m or more and 25 ⁇ m or less.
  • Water resistance of the LED lighting sheet 20 by the transparent protective film 35 is such that deterioration of the LED chip 21 can be suppressed when water for growing plants is sprayed on the LED lighting sheet 20. It is not particularly limited. Such water resistance is preferably IPX4 or higher in the waterproof/dustproof protection standard established by the IEC (International Electrotechnical Commission). The waterproof property of IPX4 or higher is such that water droplets from all directions do not have a harmful effect on the LED chip 21. Specifically, when water is sprayed from the water spray nozzle at a water amount of 10 L/min for 5 minutes in the entire range of ⁇ 180° with respect to the normal direction of the LED lighting sheet 20, the LED chip 21 is adversely affected. It is said that it is not done.
  • the substrate film 31 is prepared (Fig. 7(a)).
  • a metal foil 32A such as a copper foil, which is a material of the metal wiring portion 32, is laminated on the surface of the substrate film 31 (FIGS. 7B and 7B).
  • the metal foil 32A is adhered to the surface of the substrate film 31 by an adhesive layer 33 such as a urethane-based adhesive agent.
  • the metal foil 32A may be directly formed on the surface of the substrate film 31 by an electrolytic plating method or a vapor deposition method (sputtering, ion plating, electron beam vapor deposition, vacuum vapor deposition, chemical vapor deposition, etc.).
  • the substrate film 31 may be directly welded to the metal foil 32A.
  • the etching mask 37 patterned into the shape required for the metal wiring portion 32 is formed on the surface of the metal foil 32A (FIG. 7C).
  • the etching mask 37 is provided so that the portion corresponding to the wiring pattern of the metal foil 32A to be the metal wiring portion 32 will not be corroded by the etching liquid.
  • the method of forming the etching mask 37 is not particularly limited, and for example, it may be formed by exposing a photoresist or a dry film through a photomask and then developing it. An etching mask may be formed on the surface.
  • the metal foil 32A located at a portion not covered with the etching mask 37 is removed with an immersion liquid (FIG. 7(d)). As a result, the portion of the metal foil 32A other than the portion that becomes the metal wiring portion 32 is removed.
  • the etching mask 37 is removed using an alkaline stripping solution. As a result, the etching mask 37 is removed from the surface of the metal wiring portion 32 (FIG. 7E).
  • a light-reflecting insulating protective film 34 is laminated on the metal wiring portion 32 (FIG. 7(f)).
  • the formation of the light-reflective insulating protective film 34 is not particularly limited as long as it is a coating means capable of uniformly coating the material resin composition forming the light-reflective insulating protective film 34, and examples thereof include screen printing, offset printing, A method such as a dip coater or brush coating can be used.
  • the light-reflective insulating protective film 34 may be formed by applying an insulating protective film material having photosensitivity to the entire surface, exposing only a required portion through a photomask, and then developing.
  • the LED chip 21, the regulator 45 and the connectors 44A and 44B are mounted on the metal wiring part 32 (FIG. 7(g)).
  • the LED chip 21 is joined to the metal wiring portion 32 by soldering via the solder portion 36.
  • the joining by the soldering process can be performed by a reflow method, a laser method, or a conductive resin.
  • the transparent protective film 35 is formed so as to cover the light reflective insulating protective film 34, the LED chip 21, the regulator 45 and the connectors 44A and 44B (FIG. 7(h)).
  • This transparent protective film 35 is preferably formed by a method of spraying a transparent resin composition by spraying (hereinafter referred to as “spray coating method”) or a method of forming by a curtain coating method.
  • the transparent protective film 35 is formed by the spray coating method, for example, by spraying a coating liquid for spray coating treatment containing an acrylic polyurethane resin onto a desired area on the flexible wiring board 30 by a spray coating machine. Can be formed.
  • the transparent protective film 35 is formed by the curtain coating method by, for example, applying a coating liquid for curtain coating treatment containing an acrylic polyurethane resin to a desired area on the flexible wiring substrate 30 by a curtain coating machine to form a coating film. Can be formed.
  • the LED lighting sheet 20 according to the present embodiment is not limited to the above-described method, but is a known publicly known flexible wiring board for LED chips and various publicly known LED modules mounted with LED chips mounted thereon. It can also be produced by a method.
  • FIG. 8 is a figure which shows typically the structure of the plant cultivation factory 90 using the LED lighting sheet 20 by this Embodiment.
  • the plant growing factory 90 includes a building 91 and a plurality of plant growing shelves 80 arranged inside the building 91.
  • the plant growth shelf 80 has a plurality of (four) columns 82, and a plurality of substrates 81 arranged along the columns 82 at intervals in the vertical direction. ..
  • a medium region for cultivating the plant PL is provided on the upper surface of each substrate 81 except the uppermost substrate 81.
  • the lower surface of each substrate 81 except the lowermost substrate 81 constitutes a ceiling surface with respect to the substrate 81 located below the substrate 81, and the LED lighting sheets 20 are arranged in parallel.
  • the control unit 40 is arranged at a place sufficiently distant from the LED lighting sheet 20.
  • the substrate 81 and the LED lighting sheet 20 attached to the lower surface side of the substrate 81 constitute a shelf plate 83 for growing shelves of plants.
  • the substrate 81 and the LED lighting module 10 attached to the lower surface side of the substrate 81 constitute a shelf plate 83 for a plant growing shelf.
  • the LED lighting sheet 20 according to the present embodiment is flexible and lightweight, the LED lighting sheet 20 can be attached to the lower surface of each substrate 81 more easily than the conventional straight tube type lighting device. Can be done. Furthermore, since the LED lighting sheet 20 has flexibility, the LED lighting sheet 20 can be attached to the ceiling surface having various sizes and shapes. As a result, the LED lighting sheet 20 according to the present embodiment can be applied to various plant growing shelves 80 and plant growing factories 90.
  • the LED lighting sheet 20 is made thinner than the conventional straight tube type lighting device. Thereby, the space
  • the LED lighting sheet 20 may be arranged not only on the lower surface of the substrate 81 but also on the side surface side of the substrate 81.
  • the LED lighting sheet 20 on the side surface is hung from the board 81 located above to the board 81 located below the board 81.
  • the LED lighting sheet 20 may reach the substrate 81 located below.
  • the LED lighting sheet 20 may cover only the upper side of the space located between the upper and lower substrates 81 without reaching the substrate 81 located below.
  • the LED lighting sheet 20 by further disposing the LED lighting sheet 20 on the side surface side of the substrate 81, the amount of light at the peripheral edge of the substrate 81 where the illuminance tends to be weakened is compensated, and the brightness of the LED lighting sheet 20 is made uniform within the surface. be able to. As a result, the growth of plants can be made uniform in the plane, and the yield of plants to be grown can be improved.
  • the light reflection sheet 84 may be arranged on the side surface of the shelf plate 83.
  • the light-reflecting sheet 84 includes a light-reflecting material such as an aluminum sheet at least on the inner side (the side facing the plant).
  • the light reflection sheet 84 is hung from the shelf plate 83 located above to the shelf plate 83 located below the shelf plate 83.
  • the amount of light at the peripheral edge of the shelf plate 83 where the illuminance tends to be weakened is compensated for, and the brightness of the LED lighting sheet 20 is made more uniform in the plane. Therefore, it is possible to improve the yield of the plant to be grown.
  • the power input unit 41 (see FIG. 2) of the LED lighting module 10 is connected to a power source, and the power input unit 41 is supplied with an alternating current having an arbitrary voltage of 100 V to 240 V, for example.
  • the AC/DC converter 42 converts the current input to the power input unit 41 into a constant-voltage (for example, 44 V) DC voltage.
  • the DC voltage from the AC/DC converter 42 is adjusted by the PWM control unit 43 so that the pulse width of the constant voltage waveform is adjusted so that the LED chip 21 has a predetermined luminous flux amount.
  • the constant voltage from the PWM control unit 43 is supplied to the LED lighting sheet 20, and the LED chip 21 is turned on.
  • the light from the LED chip 21 of the LED lighting sheet 20 reaches the plants arranged on the shelf plate 83 and promotes the growth of the plants.
  • the inventors of the present application have found that simply increasing the brightness of the LED lighting sheet causes the growth speed to fluctuate, especially at the latter stage of the growth of the plant, and rather causes poor growth.
  • some plants may not be sufficiently grown, or some plants may have a growth disorder called chip burn. This is because in the latter stage of growing the plant, the leaves of the plant approach the upper LED lighting sheet, so that a large amount of light is supplied to the plant near the LED chip, while the light is supplied to the plant far from the LED chip. It is considered that this is because the plants are not sufficiently supplied, and there is a difference in the growing speed between these plants.
  • the standard deviation when the PPFD variation measured at a plurality of positions 50 mm apart from the LED chip 21 in the lower region of the LED lighting sheet 20 is standardized by an average value. It is set to 0.5 or less. In this way, the amount of light from the LED chip 21 below the LED lighting sheet 20 is made uniform by reducing the variation in PPFD at a position close to the LED chip 21 (that is, at a position 50 mm away from the LED chip 21).
  • the irradiation amount of the light from the LED chip 21 becomes uniform in the plane, and the irradiation of the light is performed in the lower region of the LED lighting sheet 20.
  • a place where the amount is insufficient can be eliminated (see FIG. 12(a)). That is, in the present embodiment, since the arrangement of the LED chips 21 of the LED lighting sheet 20 is substantially uniform in the plane, it is possible to make the plant growing speed particularly uniform in the latter stage of the plant growing. it can. Further, since there is no place where the irradiation amount of light from the LED chip 21 becomes excessive, it is possible to suppress the occurrence of growth failure called chip burn in plants.
  • the LED bar light 120 in which the straight tube type LEDs are arranged when used (see FIG. 12(b)), the brightness varies in the plane below the LED bar light 120, and thus the plant growing speed. May vary within the plane. That is, in the LED bar lights 120 in which the straight tube LEDs are arranged, the LED bar lights 120 are separated from each other, and thus the PPFD variation tends to increase as the distance from the light source to the plant decreases. For example, in a region between the LED bar lights 120 and close to the LED bar lights 120, a region D having insufficient brightness exists. In this case, some plants are present in the region D where the brightness is insufficient at the latter stage of growing the plants.
  • ten or more LED chips 21 are arranged in series, and four or more LED chips 21 are arranged in parallel.
  • the LED chips 21 can be evenly arranged in the plane, the arrays of the LED chips 21 can be arranged in parallel, and the risk when the LED chips 21 are damaged can be dispersed.
  • the LED chip 21 is covered with the transparent protective film 35, it is possible to protect the LED chip 21 from the water splashed when growing the plant.
  • the thickest part of the LED lighting sheet 20 has a thickness of 5 mm or less, the distance between the upper and lower substrates 81 of the plant growth shelf 80 is reduced and the number of the substrates 81 is increased. , Can increase the yield of plants per unit area.
  • Example 1 A copper foil (thickness: 35 ⁇ m) for forming a metal wiring portion is laminated on one surface of a 560 mm ⁇ 390 mm size film substrate (polyethylene naphthalate, thickness: 50 ⁇ m), and then a copper foil for metal wiring is formed. Etching was performed to form metal wiring portions having the same pattern in all the examples and comparative examples. Then, a urethane resin is used as a base resin on the substrate film and the metal wiring portion, and an insulating ink obtained by adding titanium oxide at a ratio of 20% by mass to the base resin is screen-printed to a thickness of 10 ⁇ m. The light-reflective insulating protective film of was formed.
  • a plurality of LED chips (“NFSW757G-V2” (manufactured by Nichia Corporation)) were arranged in 10 rows of 14 rows with a pitch of 40 mm in the X direction and a pitch of 35 mm in the Y direction. It was mounted by soldering. Further, the insulating protective film and the transparent protective film that covers the LED chip were formed by a spray coating method. In the LED lighting sheet manufactured as described above, the total luminous flux was 3950 lm, the total input power was 72 W, and the color temperature of the light emitted from the LED chip was 5000K. Two of these LED lighting sheets were arranged on the lower surface of the substrate of the growing shelf to obtain the growing shelf of Example 1.
  • Example 2 The growing shelf prepared in the same manner as in Example 1 except that the light reflecting sheet (see FIG. 11) was provided on the side surface of the shelf plate was used as the growing shelf in Example 2.
  • Comparative Example 1 Two LED bar lights (“TECO-L40N1-50NH-T8” (manufactured by Toshin Electric Co., Ltd.)) in which commercially available straight tube type LEDs are arranged are arranged on the lower surface of the substrate of the growing shelf to grow Comparative Example 1. It was a shelf. In this case, in the LED bar light, the total luminous flux was 2300 lm, the input power was 46 W, and the color temperature of the emitted light was 5000K.
  • Comparative example 2 The growing shelf prepared in the same manner as in Comparative Example 1 except that the light reflecting sheet (see FIG. 11) was provided on the side surface of the shelf plate was used as the growing shelf in Comparative Example 2.
  • Photosynthetic photon flux density was measured for each of the growing shelves of Examples 1 and 2 and Comparative Examples 1 and 2.
  • the total input power was adjusted by the light control device so as to be equal to that of Comparative Examples 1 and 2, and a plurality of locations (total 24 locations) included in the lower region of the LED lighting sheet, respectively.
  • PPFD was measured at.
  • PPFD was measured at a plurality of locations (total of 24 locations) included in the same region as in Examples 1 and 2.
  • the photosynthetic photon flux density was measured by a photon meter (photoquantum sensor LI-190R and light meter LI-250A, manufactured by LI-COR, USA).
  • PPFD photoquantum sensor LI-190R and light meter LI-250A, manufactured by LI-COR, USA.
  • PPFD was measured at a location 50 mm away from the LED chip and at a location 200 mm away from each, and the average value of the lower region was calculated after converting the input power.
  • the normalized values were calculated respectively.
  • the PPFD measurement values were standardized with an average value for each of the location 50 mm away from the LED chip and the location 200 mm away from the LED chip, and the standard deviation was calculated as the PPFD variation.
  • the plants were actually cultivated using the growing shelves of Examples 1 and 2 and Comparative Examples 1 and 2.
  • the living weight (g/m 2 ) was measured as the growth amount of the grown plant, and this was divided by the input power to calculate the living weight per input power (g/m 2 /W).
  • This fresh weight is measured by measuring the above-ground fresh weight for each cultivation panel and calculating it as the weight per square meter in the form of removing the tip burn (leaf tip) part from the appearance evaluation of lettuce after cultivation. It was calculated. Table 1 shows the above evaluation results.

Landscapes

  • Engineering & Computer Science (AREA)
  • Life Sciences & Earth Sciences (AREA)
  • Microelectronics & Electronic Packaging (AREA)
  • Environmental Sciences (AREA)
  • Power Engineering (AREA)
  • General Engineering & Computer Science (AREA)
  • Biodiversity & Conservation Biology (AREA)
  • Computer Hardware Design (AREA)
  • General Physics & Mathematics (AREA)
  • Condensed Matter Physics & Semiconductors (AREA)
  • Physics & Mathematics (AREA)
  • Animal Husbandry (AREA)
  • Ecology (AREA)
  • Forests & Forestry (AREA)
  • Botany (AREA)
  • Cultivation Of Plants (AREA)
  • Non-Portable Lighting Devices Or Systems Thereof (AREA)
  • Led Device Packages (AREA)
  • Fastening Of Light Sources Or Lamp Holders (AREA)
  • Planar Illumination Modules (AREA)
  • Housing For Livestock And Birds (AREA)
  • Cultivation Of Seaweed (AREA)
PCT/JP2020/002422 2019-02-01 2020-01-23 動植物育成用のled照明シート、動植物育成用のled照明モジュール、動植物の育成棚用の棚板、動植物の育成棚、及び動植物育成工場 Ceased WO2020158584A1 (ja)

Priority Applications (2)

Application Number Priority Date Filing Date Title
US17/427,758 US11892144B2 (en) 2019-02-01 2020-01-23 LED lighting sheet for animal/plant growth, LED lighting module for animal/plant growth, shelf for animal/plant growth rack, animal/plant growth rack, and animal/plant growth factory
EP20749373.5A EP3918907A4 (en) 2019-02-01 2020-01-23 LED ANIMAL AND PLANT GROWTH EXPOSURE FILM, LED ANIMAL AND PLANT GROWTH EXPOSURE MODULE, SHELF BOARD FOR ANIMAL AND PLANT GROWTH SHELF, ANIMAL AND PLANT GROWTH SHELF AND ANIMAL AND PLANT GROWTH FACTORY

Applications Claiming Priority (2)

Application Number Priority Date Filing Date Title
JP2019017453A JP6953461B2 (ja) 2019-02-01 2019-02-01 動植物育成用のled照明シート、動植物育成用のled照明モジュール、動植物の育成棚用の棚板、動植物の育成棚、及び動植物育成工場
JP2019-017453 2019-02-01

Publications (1)

Publication Number Publication Date
WO2020158584A1 true WO2020158584A1 (ja) 2020-08-06

Family

ID=71842198

Family Applications (1)

Application Number Title Priority Date Filing Date
PCT/JP2020/002422 Ceased WO2020158584A1 (ja) 2019-02-01 2020-01-23 動植物育成用のled照明シート、動植物育成用のled照明モジュール、動植物の育成棚用の棚板、動植物の育成棚、及び動植物育成工場

Country Status (5)

Country Link
US (1) US11892144B2 (enExample)
EP (1) EP3918907A4 (enExample)
JP (1) JP6953461B2 (enExample)
TW (2) TWI864707B (enExample)
WO (1) WO2020158584A1 (enExample)

Families Citing this family (2)

* Cited by examiner, † Cited by third party
Publication number Priority date Publication date Assignee Title
US20230003369A1 (en) * 2020-02-18 2023-01-05 DemeGrow, Inc Contolled grow-light container systems
US20230292678A1 (en) * 2022-03-18 2023-09-21 Global Garden LLC Uniformity of light dispersion

Citations (4)

* Cited by examiner, † Cited by third party
Publication number Priority date Publication date Assignee Title
JP2008091459A (ja) * 2006-09-29 2008-04-17 Rohm Co Ltd Led照明装置及びその製造方法
JP2008118957A (ja) 2006-11-15 2008-05-29 Shokubutsu Kojo Kaihatsu:Kk 完全制御型有機栽培式植物工場
JP2013251230A (ja) 2012-06-04 2013-12-12 Yamato Kogyo Kk 照明装置及び照明システム
US20180206411A1 (en) * 2015-10-14 2018-07-26 Starlight Led Inc. Led flip chip plant grow light

Family Cites Families (12)

* Cited by examiner, † Cited by third party
Publication number Priority date Publication date Assignee Title
US5012609A (en) * 1988-12-12 1991-05-07 Automated Agriculture Associates, Inc. Method and apparatus for irradiation of plants using optoelectronic devices
US20120113650A1 (en) * 2010-11-10 2012-05-10 E.I. Du Pont De Nemours And Company Insulating white glass paste for forming insulating reflective layer
JP6230777B2 (ja) * 2012-01-30 2017-11-15 新光電気工業株式会社 配線基板、配線基板の製造方法、及び発光装置
JP2014122296A (ja) * 2012-12-21 2014-07-03 Konica Minolta Inc 発光装置用封止材前駆体溶液、これを用いた発光装置用封止材、led装置、並びにled装置の製造方法
JP2015138902A (ja) 2014-01-23 2015-07-30 シチズンホールディングス株式会社 発光装置
KR101502960B1 (ko) * 2014-10-29 2015-03-17 농업회사법인 주식회사 퓨쳐그린 식물의 초기 생장 효율을 최적화한 led 조명모듈과 이를 탑재한 led 조명장치
WO2017059124A1 (en) * 2015-09-29 2017-04-06 Cabatech, Llc Horticulture grow lights
US10165735B1 (en) * 2016-06-29 2019-01-01 Full Spectrum Industries Corp. Dynamic plant lighting systems and methods
JP6955918B2 (ja) 2017-07-03 2021-10-27 株式会社ディスコ 基板の加工方法
JP2019016631A (ja) * 2017-07-03 2019-01-31 大日本印刷株式会社 Ledモジュールの製造方法
EP3915360B1 (en) * 2019-01-24 2024-04-10 Dai Nippon Printing Co., Ltd. Led illumination unit for animal and plant growth, led illumination module for animal and plant growth, shelf for an animals and plants growth rack, animals and plants growth rack, animal and plant growth factory
WO2020186002A1 (en) * 2019-03-13 2020-09-17 Current Lighting Solutions, Llc Horticulture lighting devices

Patent Citations (4)

* Cited by examiner, † Cited by third party
Publication number Priority date Publication date Assignee Title
JP2008091459A (ja) * 2006-09-29 2008-04-17 Rohm Co Ltd Led照明装置及びその製造方法
JP2008118957A (ja) 2006-11-15 2008-05-29 Shokubutsu Kojo Kaihatsu:Kk 完全制御型有機栽培式植物工場
JP2013251230A (ja) 2012-06-04 2013-12-12 Yamato Kogyo Kk 照明装置及び照明システム
US20180206411A1 (en) * 2015-10-14 2018-07-26 Starlight Led Inc. Led flip chip plant grow light

Non-Patent Citations (1)

* Cited by examiner, † Cited by third party
Title
ANONYMOUS: "Launched thin and light sheet-type surface emitting LED lighting for plant factories", DNP, 6 December 2018 (2018-12-06), pages 1 - 2, XP055833116, Retrieved from the Internet <URL:https://www.dnp.co.jp/news/detail/1190662_1587.html> *

Also Published As

Publication number Publication date
US20220243901A1 (en) 2022-08-04
TWI802782B (zh) 2023-05-21
TWI864707B (zh) 2024-12-01
TW202038703A (zh) 2020-11-01
JP6953461B2 (ja) 2021-10-27
EP3918907A1 (en) 2021-12-08
JP2020124132A (ja) 2020-08-20
EP3918907A4 (en) 2022-10-19
TW202332864A (zh) 2023-08-16
US11892144B2 (en) 2024-02-06

Similar Documents

Publication Publication Date Title
TWI875522B (zh) 動植物育成用之led照明片、動植物育成用之led照明模組、動植物之育成棚用之棚板、動植物之育成棚及動植物育成工廠
JP7051725B2 (ja) 動植物育成用のled照明シート、動植物育成用のled照明モジュール、動植物の育成棚用の棚板、動植物の育成棚、及び動植物育成工場
JP6969657B2 (ja) 動植物育成用のled照明シート、動植物育成用のled照明モジュール、動植物の育成棚用の棚板、動植物の育成棚、及び動植物育成工場
JP6780715B2 (ja) 動植物育成用のled照明装置、動植物育成用のled照明モジュール、動植物の育成棚用の棚板、動植物の育成棚、及び動植物育成工場
WO2020158584A1 (ja) 動植物育成用のled照明シート、動植物育成用のled照明モジュール、動植物の育成棚用の棚板、動植物の育成棚、及び動植物育成工場
JP7404769B2 (ja) 動植物の育成棚用のled照明シート組合体、動植物の育成棚及び動植物育成工場
JP7711499B2 (ja) Ledシート、動植物の育成棚用の棚板、動植物の育成棚及び動植物育成工場
JP7385832B2 (ja) 動植物育成用のled照明シート、動植物育成用のled照明モジュール、動植物の育成棚用の棚板、動植物の育成棚、及び動植物育成工場
JP7465459B2 (ja) 動植物育成用のled照明モジュール、動植物の育成棚、及び動植物育成工場
JP7535252B2 (ja) 動植物の育成装置
JP7118904B2 (ja) 動植物育成用のled照明シート、動植物育成用のled照明モジュール、動植物の育成棚用の棚板、動植物の育成棚、及び動植物育成工場
JP7051732B2 (ja) 動植物育成用のled照明モジュール、動植物の育成棚、及び動植物育成工場
JP2021022572A (ja) 動植物育成用のled照明装置、動植物育成用のled照明モジュール、動植物の育成棚用の棚板、動植物の育成棚、及び動植物育成工場
JP2022021922A (ja) 動植物育成用のled照明モジュール、動植物の育成棚及び動植物育成工場
JP7745162B2 (ja) 動植物育成用のled照明シート、動植物育成用のled照明モジュール、動植物の育成棚用の棚板、動植物の育成棚、及び動植物育成工場
JP7340166B2 (ja) 動植物育成用のled照明シート、動植物育成用のled照明モジュール、動植物の育成棚用の棚板、動植物の育成棚、及び動植物育成工場
JP2024168271A (ja) Ledシート、動植物の育成棚用の棚板、動植物の育成棚及び動植物育成工場

Legal Events

Date Code Title Description
121 Ep: the epo has been informed by wipo that ep was designated in this application

Ref document number: 20749373

Country of ref document: EP

Kind code of ref document: A1

NENP Non-entry into the national phase

Ref country code: DE

ENP Entry into the national phase

Ref document number: 2020749373

Country of ref document: EP

Effective date: 20210901