WO2019139049A1 - 端末装置、基地局装置、および、通信方法 - Google Patents

端末装置、基地局装置、および、通信方法 Download PDF

Info

Publication number
WO2019139049A1
WO2019139049A1 PCT/JP2019/000387 JP2019000387W WO2019139049A1 WO 2019139049 A1 WO2019139049 A1 WO 2019139049A1 JP 2019000387 W JP2019000387 W JP 2019000387W WO 2019139049 A1 WO2019139049 A1 WO 2019139049A1
Authority
WO
WIPO (PCT)
Prior art keywords
harq
pdsch
pdcch
dci format
pucch
Prior art date
Legal status (The legal status is an assumption and is not a legal conclusion. Google has not performed a legal analysis and makes no representation as to the accuracy of the status listed.)
Ceased
Application number
PCT/JP2019/000387
Other languages
English (en)
French (fr)
Japanese (ja)
Inventor
友樹 吉村
翔一 鈴木
渉 大内
麗清 劉
李 泰雨
Current Assignee (The listed assignees may be inaccurate. Google has not performed a legal analysis and makes no representation or warranty as to the accuracy of the list.)
Sharp Corp
Original Assignee
Sharp Corp
Priority date (The priority date is an assumption and is not a legal conclusion. Google has not performed a legal analysis and makes no representation as to the accuracy of the date listed.)
Filing date
Publication date
Application filed by Sharp Corp filed Critical Sharp Corp
Priority to CN201980007695.7A priority Critical patent/CN111670551B/zh
Priority to MX2020007379A priority patent/MX2020007379A/es
Priority to EP19737973.8A priority patent/EP3739783A4/en
Priority to US16/960,561 priority patent/US11445533B2/en
Publication of WO2019139049A1 publication Critical patent/WO2019139049A1/ja
Anticipated expiration legal-status Critical
Priority to CONC2020/0008553A priority patent/CO2020008553A2/es
Ceased legal-status Critical Current

Links

Images

Classifications

    • HELECTRICITY
    • H04ELECTRIC COMMUNICATION TECHNIQUE
    • H04WWIRELESS COMMUNICATION NETWORKS
    • H04W72/00Local resource management
    • H04W72/12Wireless traffic scheduling
    • H04W72/1263Mapping of traffic onto schedule, e.g. scheduled allocation or multiplexing of flows
    • H04W72/1273Mapping of traffic onto schedule, e.g. scheduled allocation or multiplexing of flows of downlink data flows
    • HELECTRICITY
    • H04ELECTRIC COMMUNICATION TECHNIQUE
    • H04LTRANSMISSION OF DIGITAL INFORMATION, e.g. TELEGRAPHIC COMMUNICATION
    • H04L5/00Arrangements affording multiple use of the transmission path
    • H04L5/003Arrangements for allocating sub-channels of the transmission path
    • H04L5/0053Allocation of signalling, i.e. of overhead other than pilot signals
    • H04L5/0055Physical resource allocation for ACK/NACK
    • HELECTRICITY
    • H04ELECTRIC COMMUNICATION TECHNIQUE
    • H04LTRANSMISSION OF DIGITAL INFORMATION, e.g. TELEGRAPHIC COMMUNICATION
    • H04L1/00Arrangements for detecting or preventing errors in the information received
    • H04L1/12Arrangements for detecting or preventing errors in the information received by using return channel
    • H04L1/16Arrangements for detecting or preventing errors in the information received by using return channel in which the return channel carries supervisory signals, e.g. repetition request signals
    • H04L1/1607Details of the supervisory signal
    • H04L1/1671Details of the supervisory signal the supervisory signal being transmitted together with control information
    • HELECTRICITY
    • H04ELECTRIC COMMUNICATION TECHNIQUE
    • H04LTRANSMISSION OF DIGITAL INFORMATION, e.g. TELEGRAPHIC COMMUNICATION
    • H04L1/00Arrangements for detecting or preventing errors in the information received
    • H04L1/12Arrangements for detecting or preventing errors in the information received by using return channel
    • H04L1/16Arrangements for detecting or preventing errors in the information received by using return channel in which the return channel carries supervisory signals, e.g. repetition request signals
    • H04L1/1607Details of the supervisory signal
    • H04L1/1671Details of the supervisory signal the supervisory signal being transmitted together with control information
    • H04L1/1678Details of the supervisory signal the supervisory signal being transmitted together with control information where the control information is for timing, e.g. time stamps
    • HELECTRICITY
    • H04ELECTRIC COMMUNICATION TECHNIQUE
    • H04LTRANSMISSION OF DIGITAL INFORMATION, e.g. TELEGRAPHIC COMMUNICATION
    • H04L1/00Arrangements for detecting or preventing errors in the information received
    • H04L1/12Arrangements for detecting or preventing errors in the information received by using return channel
    • H04L1/16Arrangements for detecting or preventing errors in the information received by using return channel in which the return channel carries supervisory signals, e.g. repetition request signals
    • H04L1/18Automatic repetition systems, e.g. Van Duuren systems
    • H04L1/1829Arrangements specially adapted for the receiver end
    • H04L1/1854Scheduling and prioritising arrangements
    • HELECTRICITY
    • H04ELECTRIC COMMUNICATION TECHNIQUE
    • H04LTRANSMISSION OF DIGITAL INFORMATION, e.g. TELEGRAPHIC COMMUNICATION
    • H04L1/00Arrangements for detecting or preventing errors in the information received
    • H04L1/12Arrangements for detecting or preventing errors in the information received by using return channel
    • H04L1/16Arrangements for detecting or preventing errors in the information received by using return channel in which the return channel carries supervisory signals, e.g. repetition request signals
    • H04L1/18Automatic repetition systems, e.g. Van Duuren systems
    • H04L1/1829Arrangements specially adapted for the receiver end
    • H04L1/1864ARQ related signaling
    • HELECTRICITY
    • H04ELECTRIC COMMUNICATION TECHNIQUE
    • H04LTRANSMISSION OF DIGITAL INFORMATION, e.g. TELEGRAPHIC COMMUNICATION
    • H04L1/00Arrangements for detecting or preventing errors in the information received
    • H04L1/12Arrangements for detecting or preventing errors in the information received by using return channel
    • H04L1/16Arrangements for detecting or preventing errors in the information received by using return channel in which the return channel carries supervisory signals, e.g. repetition request signals
    • H04L1/18Automatic repetition systems, e.g. Van Duuren systems
    • H04L1/1867Arrangements specially adapted for the transmitter end
    • H04L1/1896ARQ related signaling
    • HELECTRICITY
    • H04ELECTRIC COMMUNICATION TECHNIQUE
    • H04WWIRELESS COMMUNICATION NETWORKS
    • H04W72/00Local resource management
    • H04W72/20Control channels or signalling for resource management
    • H04W72/23Control channels or signalling for resource management in the downlink direction of a wireless link, i.e. towards a terminal
    • HELECTRICITY
    • H04ELECTRIC COMMUNICATION TECHNIQUE
    • H04LTRANSMISSION OF DIGITAL INFORMATION, e.g. TELEGRAPHIC COMMUNICATION
    • H04L1/00Arrangements for detecting or preventing errors in the information received
    • H04L1/12Arrangements for detecting or preventing errors in the information received by using return channel
    • H04L1/16Arrangements for detecting or preventing errors in the information received by using return channel in which the return channel carries supervisory signals, e.g. repetition request signals
    • H04L1/18Automatic repetition systems, e.g. Van Duuren systems
    • H04L1/1812Hybrid protocols; Hybrid automatic repeat request [HARQ]
    • HELECTRICITY
    • H04ELECTRIC COMMUNICATION TECHNIQUE
    • H04LTRANSMISSION OF DIGITAL INFORMATION, e.g. TELEGRAPHIC COMMUNICATION
    • H04L5/00Arrangements affording multiple use of the transmission path
    • H04L5/0001Arrangements for dividing the transmission path
    • H04L5/0003Two-dimensional division
    • H04L5/0005Time-frequency
    • H04L5/0007Time-frequency the frequencies being orthogonal, e.g. OFDM(A) or DMT
    • HELECTRICITY
    • H04ELECTRIC COMMUNICATION TECHNIQUE
    • H04WWIRELESS COMMUNICATION NETWORKS
    • H04W72/00Local resource management
    • H04W72/04Wireless resource allocation
    • H04W72/044Wireless resource allocation based on the type of the allocated resource
    • H04W72/0446Resources in time domain, e.g. slots or frames

Definitions

  • One aspect of the present invention relates to a terminal device, a base station device, and a communication method.
  • This application claims the benefit of priority over Japanese Patent Application No. 2018-001724 filed on Jan. 10, 2018, the contents of which are incorporated herein by reference. All are included in the present application.
  • LTE Long Term Evolution
  • EUTRA Evolved Universal Terrestrial Radio Access is a third generation partnership project (3GPP: 3 rd Generation It is considered in the Partnership Project.
  • 3GPP 3 rd Generation It is considered in the Partnership Project.
  • a base station apparatus is also referred to as an eNodeB (evolved NodeB), and a terminal apparatus is also referred to as a UE (User Equipment).
  • LTE is a cellular communication system in which a plurality of areas covered by a base station apparatus are arranged in a cell. A single base station apparatus may manage multiple serving cells.
  • Non-Patent Document 1 In the framework of a single technology, NR is required to meet the requirements that assume three scenarios: Enhanced Mobile Broad Band (eMBB), Massive Machine Type Communication (mMTC), and Ultra Reliable and Low Latency Communication (URLLC). There is.
  • eMBB Enhanced Mobile Broad Band
  • mMTC Massive Machine Type Communication
  • URLLC Ultra Reliable and Low Latency Communication
  • One aspect of the present invention provides a terminal apparatus that efficiently communicates, a communication method used for the terminal apparatus, a base station apparatus that efficiently communicates, and a communication method used for the base station apparatus.
  • a first aspect of the present invention is a terminal apparatus, comprising: a reception unit that monitors PDCCH including a DCI format; and a transmission unit that transmits HARQ-ACK on PUCCH, and is scheduled according to the DCI format A first transport block included in the second PDSCH, and the HARQ-ACK receives a first HARQ-ACK bit corresponding to the first transport block and a second corresponding to the second transport block.
  • the transmission unit is provided based on at least HARQ-ACK bits, and 1) the transmission unit includes at least one monitoring opportunity of a search region set in which monitoring of the DCI format is configured in at least one serving cell in M PDCCH monitoring opportunities And / or 2) above Whether or not the upper layer parameter Number-MCS-HARQ-DL-DCI is set to a predetermined value for at least one serving cell, 3) the value of the upper layer parameter HARQ-ACK-spatial-bundling-PUCCH Generating the second HARQ-ACK bit based at least in part or all of
  • a second aspect of the present invention is a base station apparatus, comprising: a transmitter configured to transmit a PDCCH including a DCI format; and a receiver configured to receive an HARQ-ACK on a PUCCH;
  • the first transport block included in the PDSCH to be scheduled is transmitted, and the HARQ-ACK is configured to correspond to a first HARQ-ACK bit corresponding to the first transport block and a second transport block.
  • the receiver unit Given based on at least two HARQ-ACK bits, and the receiver unit 1) at least one monitoring opportunity of a search region set in which monitoring of DCI format is configured in at least one serving cell in M PDCCH monitoring opportunities Whether or not it is included and / or 2) Whether or not the upper layer parameter Number-MCS-HARQ-DL-DCI is set to a predetermined value for any one serving cell, 3) the value of the upper layer parameter HARQ-ACK-spatial-bundling-PUCCH
  • the HARQ-ACK is received based at least in part or in whole.
  • a third aspect of the present invention is a communication method used for a terminal device, comprising the steps of: monitoring PDCCH including a DCI format; transmitting HARQ-ACK on PUCCH; and scheduling according to the DCI format Receiving a first transport block included in the PDSCH to be transmitted, and the HARQ-ACK corresponds to a first HARQ-ACK bit corresponding to the first transport block and a second transport block 1) including at least one monitoring opportunity of a search region set in which monitoring of the DCI format is configured in at least one serving cell in M PDCCH monitoring opportunities; Whether or not And / or 2) whether the upper layer parameter Number-MCS-HARQ-DL-DCI is set to a predetermined value for the at least one serving cell, 3) the upper layer parameter HARQ-ACK-spatial Generating the second HARQ-ACK bit based at least in part or all of the values of bundling-PUCCH.
  • a fourth aspect of the present invention is a communication method used for a base station apparatus, comprising the steps of: transmitting a PDCCH including a DCI format; receiving HARQ-ACK on a PUCCH; and Transmitting a first transport block included in the PDSCH to be scheduled, and the HARQ-ACK corresponds to a first HARQ-ACK bit and a second transport block corresponding to the first transport block
  • Monitoring the DCI format in at least one serving cell in M PDCCH monitoring opportunities at least one monitoring opportunity of the search region set is set based on at least the second HARQ-ACK bit Whether or not included And / or 2) whether the upper layer parameter Number-MCS-HARQ-DL-DCI is set to a predetermined value for the at least one serving cell, 3) upper layer parameter HARQ-ACK-spatial Receiving the HARQ-ACK based at least in part or all of the values of the bundling-PUCCH.
  • a fifth aspect of the present invention is a terminal apparatus, comprising: a receiver configured to receive a PDCCH including a DCI format; and a transmitter configured to transmit a PUCCH, wherein the DCI format schedules a PDSCH, And, if the last OFDM symbol of the PDSCH is mapped to the first slot, the PUCCH is transmitted in the second slot, and the number of slots from the first slot to the second slot is PDSCH The length of each of the slots is given based on the setting of the subcarrier spacing of the PUCCH, based on the -to-HARQ-timing-indicator field.
  • a sixth aspect of the present invention is a base station apparatus, comprising: a transmitter configured to transmit a PDCCH including a DCI format; and a receiver configured to receive a PUCCH, wherein the DCI format schedules a PDSCH. And, if the last OFDM symbol of the PDSCH is mapped to the first slot, the PUCCH is transmitted in the second slot, and the number of slots from the first slot to the second slot is The length of each of the slots is given based on the setting of the subcarrier spacing of the PUCCH, based on the PDSCH-to-HARQ-timing-indicator field.
  • a seventh aspect of the present invention is a communication method used for a terminal device, comprising the steps of: receiving PDCCH including a DCI format; and transmitting PUCCH, wherein the DCI format is PDSCH.
  • the DCI format is PDSCH.
  • the PUCCH is transmitted in the second slot, and the number of slots from the first slot to the second slot Is given based on the PDSCH-to-HARQ-timing-indicator field, and the length of each of the slots is given based on the setting of the subcarrier spacing of the PUCCH.
  • An eighth aspect of the present invention is a communication method used for a base station apparatus, comprising the steps of: transmitting PDCCH including a DCI format; and receiving PUCCH, wherein the DCI format is PDSCH And if the last OFDM symbol of the PDSCH is mapped to the first slot, the PUCCH is transmitted in the second slot and the slots from the first slot to the second slot.
  • the number is given based on the PDSCH-to-HARQ-timing-indicator field, and the length of each of the slots is given based on the setting of the subcarrier spacing of the PUCCH.
  • the terminal device can communicate efficiently. Also, the base station apparatus can communicate efficiently.
  • FIG. 1 is a conceptual diagram of a wireless communication system according to an aspect of the present embodiment.
  • the wireless communication system includes terminal devices 1A to 1C and a base station device 3.
  • the terminal devices 1A to 1C are also referred to as the terminal device 1.
  • At least OFDM Orthogonal Frequency Division Multiplex
  • An OFDM symbol is a unit of time domain of OFDM.
  • the OFDM symbol includes at least one or more subcarriers.
  • the OFDM symbols are converted to time-continuous signals in baseband signal generation.
  • the subcarrier spacing configuration ⁇ may be set to any of 0, 1, 2, 3, 4 and / or 5.
  • the setting ⁇ of subcarrier spacing may be given by upper layer parameters for a certain carrier band part (CBP).
  • a time unit T c is used to represent the length of the time domain.
  • ⁇ f max may be the maximum value of subcarrier spacing supported in the wireless communication system according to an aspect of the present embodiment.
  • ⁇ f ref may be 15 kHz.
  • N f, ref may be 2048.
  • the constant ⁇ may be a value indicating the relationship between the reference subcarrier interval and T c .
  • the constant ⁇ may be used for subframe length.
  • the number of slots included in the subframe may be given based at least on the constant ⁇ .
  • ⁇ f ref is a reference subcarrier interval
  • N f, ref is a value corresponding to the reference subcarrier interval.
  • Transmission on the downlink and / or transmission on the uplink is made up of 10 ms frames.
  • a frame is configured to include ten subframes.
  • the subframe length is 1 ms.
  • the length of the frame may be given regardless of the subcarrier spacing ⁇ f. That is, the setting of the frame may be given regardless of ⁇ .
  • the subframe length may be given regardless of the subcarrier interval ⁇ f. That is, the setting of subframes may be given regardless of ⁇ .
  • the number of slots included in a subframe and the index may be given.
  • the first slot numbers n ⁇ s may be given in ascending order in the range of 0 to N subframe, ⁇ slot ⁇ 1 in a subframe .
  • the number and the index of slots included in a frame may be given.
  • the second slot numbers n ⁇ s, f may be given in ascending order in the range of 0 to N frame, ⁇ slot ⁇ 1 in a frame .
  • Consecutive N slot symb OFDM symbols may be included in one slot.
  • the N slot symb may be provided based at least on part or all of a slot configuration and / or a CP (Cyclic Prefix) configuration.
  • the slot configuration may be given by the upper layer parameter slot_configuration.
  • the CP settings may be given based at least on the upper layer parameters.
  • CP configuration may be provided based at least on dedicated RRC signaling.
  • the first slot number and the second slot number are also referred to as a slot number (slot index).
  • FIG. 2 is an example showing the relationship between N slot symb , setting of subcarrier spacing ⁇ , slot setting, and CP setting according to an aspect of the present embodiment.
  • the subcarrier interval setting ⁇ 2
  • the CP setting is normal CP (normal cyclic prefix)
  • the CP setting is extended CP (extended cyclic prefix)
  • N slot symb in slot setting 0 may correspond to twice N slot symb in slot setting 1.
  • An antenna port is defined by the channel on which symbols are transmitted on one antenna port can be estimated from the channel on which other symbols are transmitted on the same antenna port.
  • Two antenna ports may be QCL (Quasi Co-Located) if the large scale property of the channel in which the symbol is transmitted at one antenna port can be deduced from the channel in which the symbol is transmitted at the other antenna port It is called).
  • the large-scale feature may include at least a long-term feature of the channel. Large-scale features include delay spread, Doppler spread, Doppler shift, average gain, average delay, and beam parameters (spatial Rx parameters). It may contain at least part or all.
  • the receiving beam assumed by the receiving side with respect to the first antenna port and the receiving beam assumed by the receiving side with respect to the second antenna port And may be identical. If the first antenna port and the second antenna port are QCL in terms of beam parameters, then the transmit beam assumed by the receiver for the first antenna port and the transmit beam assumed by the receiver for the second antenna port And may be identical.
  • the terminal device 1 assumes that the two antenna ports are QCL when the large-scale characteristic of the channel through which the symbol is transmitted in one antenna port can be estimated from the channel through which the symbol is transmitted in the other antenna port It may be done. That the two antenna ports are QCLs may be assumed that the two antenna ports are QCLs.
  • N ⁇ RB, x may indicate the number of resource blocks given for setting ⁇ of the subcarrier spacing for carrier x.
  • N ⁇ RB, x may be the maximum number of resource blocks given for setting ⁇ of subcarrier spacing for carrier x.
  • Carrier x indicates either a downlink carrier or an uplink carrier. That is, x is "DL" or "UL".
  • N ⁇ RB is a designation including N ⁇ RB, DL and / or N ⁇ RB, UL .
  • N RB sc may indicate the number of subcarriers included in one resource block.
  • At least one resource grid may be provided per antenna port p and / or per subcarrier spacing setting ⁇ and / or per transmission direction setting.
  • the transmission direction includes at least downlink (DL: DownLink) and uplink (UL: UpLink).
  • DL: DownLink downlink
  • UL: UpLink uplink
  • a set of parameters including at least a part or all of the setting of the antenna port p, the subcarrier spacing setting ⁇ , and the setting of the transmission direction is also referred to as a first wireless parameter set. That is, one resource grid may be provided for each first radio parameter set.
  • downlink carriers carriers included in the serving cell are referred to as downlink carriers (or downlink component carriers).
  • uplink carriers uplink component carriers
  • the downlink component carrier and the uplink component carrier are collectively referred to as a component carrier (or carrier).
  • Each element in the resource grid provided for each first radio parameter set is referred to as a resource element.
  • a resource element is identified by an index k sc in the frequency domain and an index l in the time domain.
  • the resource element is identified by an index k sc in the frequency domain and an index l in the time domain.
  • the resource element identified by the index k sc in the frequency domain and the index l in the time domain is also referred to as a resource element (k sc , l).
  • the index k sc in the frequency domain indicates any value from 0 to N ⁇ RB N RB sc -1.
  • N ⁇ RB may be the number of resource blocks given for setting ⁇ of the subcarrier spacing.
  • the frequency domain index k sc may correspond to the subcarrier index k sc .
  • the time domain index l may correspond to the OFDM symbol index l.
  • FIG. 3 is a schematic view showing an example of a resource grid in a subframe according to an aspect of the present embodiment.
  • the horizontal axis is the index l in the time domain
  • the vertical axis is the index k sc in the frequency domain.
  • the frequency domain of the resource grid includes N ⁇ RB N RB sc subcarriers.
  • the time domain resource grid may include a 14 ⁇ 2 mu OFDM symbols.
  • a resource block is configured to include N RB sc subcarriers.
  • the time domain of the resource block may correspond to one OFDM symbol.
  • the time domain of the resource block may correspond to 14 OFDM symbols.
  • the time domain of the resource block may correspond to one or more slots.
  • the time domain of the resource block may correspond to one subframe.
  • the terminal device 1 may be instructed to perform transmission and reception using only a subset of the resource grid.
  • the subset of resource grids is also referred to as carrier band part, and the carrier band part may be given based at least on upper layer parameters and / or part or all of DCI.
  • the carrier band part is also referred to as a band part (BP: bandwidth part). That is, the terminal device 1 may not be instructed to perform transmission and reception using all the sets of resource grids. That is, the terminal device 1 may be instructed to perform transmission and reception using a part of frequency resources in the resource grid.
  • One carrier band part may be composed of a plurality of resource blocks in the frequency domain.
  • One carrier band part may be composed of a plurality of continuous resource blocks in the frequency domain.
  • the carrier band part is also called BWP (Band Width Part).
  • BWP Band Width Part
  • the carrier band part set for the downlink carrier is also referred to as a downlink carrier band part.
  • the carrier band part set for the uplink carrier is also referred to as an uplink carrier band part.
  • a set of downlink carrier band parts may be configured for each of the serving cells.
  • the set of downlink carrier band parts may include one or more downlink carrier band parts.
  • a set of uplink carrier band parts may be configured for each of the serving cells.
  • the set of uplink carrier band parts may include one or more uplink carrier band parts.
  • the upper layer parameters are parameters included in the upper layer signal.
  • the signal of the upper layer may be RRC (Radio Resource Control) signaling or may be MAC CE (Medium Access Control Control Element).
  • the upper layer signal may be an RRC layer signal or a MAC layer signal.
  • the higher layer signal may be common RRC signaling.
  • the common RRC signaling may include at least part or all of the following features C1 to C3. It is mapped to feature C1) BCCH logical channel, or feature C2 mapped to CCCH logical channel, and feature C3) PBCH including at least a radioResourceConfigCommon information element
  • the radioResourceConfigCommon information element may include information indicating a configuration commonly used in the serving cell.
  • the configuration commonly used in the serving cell may include at least the configuration of the PRACH.
  • the configuration of the PRACH may at least indicate one or more random access preamble indexes.
  • the configuration of the PRACH may at least indicate time / frequency resources of the PRACH.
  • the higher layer signal may be dedicated RRC signaling.
  • Dedicated RRC signaling may at least include some or all of the following features D1 to D2.
  • Feature D1) At least feature D2 mapped to DCCH logical channel)
  • radioResourceConfigDedicated information element at least
  • the radioResourceConfigDedicated information element may include at least information indicating a setting unique to the terminal device 1.
  • the radioResourceConfigDedicated information element may include at least information indicating the setting of the carrier band part.
  • the setting of the carrier band part may at least indicate the frequency resource of the carrier band part.
  • the MIB, the first system information, and the second system information may be included in common RRC signaling.
  • upper layer messages mapped to the DCCH logical channel and including at least radioResourceConfigCommon may be included in common RRC signaling.
  • upper layer messages mapped to the DCCH logical channel and not including the radioResourceConfigCommon information element may be included in dedicated RRC signaling.
  • upper layer messages mapped to the DCCH logical channel and including at least the radioResourceConfigDedicated information element may be included in dedicated RRC signaling.
  • the first system information may at least indicate a time index of a synchronization signal (SS) block.
  • the SS block (SS block) is also referred to as an SS / PBCH block (SS / PBCH block).
  • the first system information may at least include information related to the PRACH resource.
  • the first system information may include at least information related to setting of an initial connection.
  • the second system information may be system information other than the first system information.
  • the radioResourceConfigDedicated information element may at least include information related to the PRACH resource.
  • the radioResourceConfigDedicated information element may include at least information related to initial connection setup.
  • the uplink physical channel may correspond to a set of resource elements that carry information generated in the upper layer.
  • the uplink physical channel is a physical channel used in the uplink carrier. In the wireless communication system according to one aspect of the present embodiment, at least part or all of the following uplink physical channels are used.
  • -PUCCH Physical Uplink Control CHannel
  • PUSCH Physical Uplink Shared CHannel
  • PRACH Physical Random Access CHannel
  • Uplink control information includes channel state information (CSI), scheduling request (SR: scheduling request), transport block (TB: Transport block, MAC PDU: Medium Access Control Protocol Data Unit, DL-SCH: Downlink) -Shared Channel, PDSCH: A part or all of Hybrid Automatic Repeat request ACKnowledgement (HARQ-ACK) corresponding to Physical Downlink Shared Channel (PDCCH) is included.
  • CSI channel state information
  • SR scheduling request
  • TB Transport block
  • MAC PDU Medium Access Control Protocol Data Unit
  • DL-SCH Downlink
  • MAC PDU Medium Access Control Protocol Data Unit
  • DL-SCH Downlink
  • MAC PDU Medium Access Control Protocol Data Unit
  • DL-SCH Downlink
  • MAC PDU Medium Access Control Protocol Data Unit
  • DL-SCH Downlink
  • MAC PDU Medium Access Control Protocol Data Unit
  • DL-SCH Downlink
  • MAC PDU Medium Access Control Protocol Data Unit
  • DL-SCH Downlink
  • MAC PDU Medium Access Control Protocol Data Unit
  • DL-SCH Down
  • the HARQ-ACK may include at least HARQ-ACK bits corresponding to at least one transport block.
  • the HARQ-ACK bit may indicate ACK (acknowledgement) or NACK (negative-acknowledgement) corresponding to one or more transport blocks.
  • the HARQ-ACK may include at least a HARQ-ACK codebook including one or more HARQ-ACK bits. That the HARQ-ACK bit corresponds to one or more transport blocks may be that the HARQ-ACK bit corresponds to a PDSCH including the one or more transport blocks.
  • the HARQ-ACK bit may indicate ACK or NACK corresponding to one CBG (Code Block Group) included in the transport block.
  • the HARQ-ACK is also referred to as HARQ feedback, HARQ information, or HARQ control information.
  • a PUCCH including HARQ-ACK bits corresponding to each of a plurality of transport blocks may be transmitted in slot #n.
  • the k n may be given based at least on the PDSCH-to-HARQ-timing-indicator field.
  • the k n is referred to as a first PDSCH processing time.
  • the DCI format may correspond to the first PDSCH processing time.
  • the correspondence of the first PDSCH processing time to the DCI format may be that the first PDSCH processing time is given based at least on a PDSCH-to-HARQ-timing-indicator field included in the DCI format. .
  • the PDSCH is scheduled according to a DCI format not including the PDSCH-to-HARQ-timing-indicator field and the last OFDM symbol to which the PDSCH is mapped is included in the slot # n-k a, it is included in the PDSCH
  • a PUCCH including HARQ-ACK bits corresponding to each of one or more transport blocks may be transmitted in slot n.
  • the k a may be given regardless of the PDSCH-to-HARQ-timing- indicator field.
  • the k a is referred to as second PDSCH processing time.
  • the second PDSCH processing time may correspond to the DCI format.
  • the first PDSCH processing time and the second PDSCH processing time are also referred to as PDSCH processing time.
  • the first PDSCH processing time set corresponding to the DCI format is configured to include the first PDSCH processing time corresponding to each of the values indicated by the PDSCH-to-HARQ-timing-indicator field included in the DCI format. It may be done.
  • the SPS release is indicated by the DCI format including the PDSCH-to-HARQ-timing-indicator field, and the last OFDM symbol to which the PDCCH is mapped is included in the slot # n-k n , correspond to the SPS release
  • the PUCCH including the HARQ-ACK bit to be transmitted may be transmitted in slot #n.
  • the k n may be given based at least on the PDSCH-to-HARQ-timing-indicator field.
  • the DCI format may correspond to the first PDSCH processing time.
  • the SPS release may at least be used to release Configured grants in higher layers.
  • the DCI format indicating the SPS release may not be used for PDSCH scheduling.
  • the SPS release may be indicated by setting predetermined fields included in the DCI format to predetermined values.
  • the predetermined field may include at least a PDSCH-to-HARQ-timing-indicator field.
  • the predetermined field may include at least a Time-domain PDSCH resource field.
  • the predetermined field may include at least an NDI indication information field.
  • the predetermined field may at least include an RV information field.
  • the scheduling request may at least be used to request PUSCH resources for initial transmission.
  • the channel state information may include at least part or all of a channel quality indicator (CQI), a precoder matrix indicator (PMI), and a rank indicator (RI).
  • CQI is an indicator related to channel quality (eg, propagation strength)
  • PMI is an indicator indicating a precoder.
  • the RI is an indicator that indicates a transmission rank (or the number of transmission layers).
  • the PUSCH is at least used to transmit transport blocks (TB, MAC PDU, UL-SCH, PUSCH).
  • the PUSCH may be used to transmit at least some or all of the transport block, HARQ-ACK, channel state information, and scheduling request.
  • PUSCH is at least used to transmit random access message 3.
  • the PRACH is at least used to transmit a random access preamble (random access message 1).
  • the PRACH is part or all of the request for resources for initial connection establishment procedure, handover procedure, connection re-establishment procedure, synchronization for PUSCH transmission (timing adjustment), and PUSCH. May be used at least to indicate.
  • the random access preamble may be used to notify the base station device 3 of an index (random access preamble index) given by the upper layer of the terminal device 1.
  • the random access preamble may be given by cyclic shift of the Zadoff-Chu sequence corresponding to the physical root sequence index u.
  • the Zadoff-Chu sequence may be generated based on the physical root sequence index u.
  • Multiple random access preambles may be defined in one serving cell.
  • the random access preamble may be identified based at least on the index of the random access preamble. Different random access preambles corresponding to different indexes of random access preamble may correspond to different combinations of physical root sequence index u and cyclic shift.
  • Physical route sequence index u and cyclic shift may be given based at least on information included in system information.
  • the physical route sequence index u may be an index that identifies a sequence included in a random access preamble.
  • the random access preamble may be identified based at least on the physical root sequence index u.
  • the uplink physical signal may not be used to transmit the information output from the upper layer, but is used by the physical layer.
  • -UL DMRS UpLink Demodulation Reference Signal
  • SRS Sounding Reference Signal
  • -UL PTRS UpLink Phase Tracking Reference Signal
  • UL DMRS relates to PUSCH and / or PUCCH transmission.
  • UL DMRS is multiplexed with PUSCH or PUCCH.
  • the base station apparatus 3 may use UL DMRS to perform PUSCH or PUCCH channel correction.
  • transmitting together the PUSCH and the UL DMRS associated with the PUSCH is simply referred to as transmitting the PUSCH.
  • transmitting together the PUCCH and the UL DMRS associated with the PUCCH is simply referred to as transmitting the PUCCH.
  • the UL DMRS associated with PUSCH is also referred to as UL DMRS for PUSCH.
  • the UL DMRS associated with PUCCH is also referred to as UL DMRS for PUCCH.
  • the SRS may not be associated with PUSCH or PUCCH transmission.
  • the base station apparatus 3 may use SRS for channel state measurement.
  • the SRS may be transmitted in a predetermined number of OFDM symbols from the end of the subframe in the uplink slot or from the end.
  • the UL PTRS may be a reference signal used at least for phase tracking.
  • the UL PTRS may be associated with a UL DMRS group including at least antenna ports used for one or more UL DMRSs.
  • the association between the UL PTRS and the UL DMRS group may be that the antenna port of the UL PTRS and part or all of the antenna ports included in the UL DMRS group are at least QCL.
  • the UL DMRS group may be identified based at least on the antenna port with the lowest index in UL DMRSs included in the UL DMRS group.
  • the UL PTRS may be mapped to the antenna port with the lowest index at one or more antenna ports to which one codeword is mapped.
  • the UL PTRS may be mapped to the first layer if one codeword is at least mapped to the first layer and the second layer.
  • the UL PTRS may not be mapped to the second layer.
  • the index of the antenna port to which the UL PTRS is mapped may be given based at least on the downlink control information.
  • the following downlink physical channels are used.
  • the downlink physical channel is used by the physical layer to transmit information output from higher layers.
  • ⁇ PBCH Physical Broadcast Channel
  • PDCCH Physical Downlink Control Channel
  • PDSCH Physical Downlink Shared Channel
  • the PBCH is at least used to transmit a master information block (MIB: Master Information Block, BCH, Broadcast Channel).
  • the PBCH may be transmitted based on a predetermined transmission interval.
  • the PBCH may be sent at 80 ms intervals.
  • the PBCH may be transmitted at intervals of 160 ms.
  • the content of the information contained in the PBCH may be updated every 80 ms. Some or all of the information included in the PBCH may be updated every 160 ms.
  • the PBCH may be composed of 288 subcarriers.
  • the PBCH may be configured to include two, three or four OFDM symbols.
  • the MIB may include information related to a synchronization signal identifier (index).
  • the MIB may include information indicating a slot number in which the PBCH is transmitted, a subframe number, and / or at least a portion of a radio frame number.
  • the PDCCH is at least used for transmission of downlink control information (DCI).
  • the PDCCH may be transmitted including at least downlink control information.
  • Downlink control information is also referred to as DCI format.
  • the downlink control information may include at least either a downlink grant or an uplink grant.
  • the DCI format used for PDSCH scheduling is also referred to as downlink grant.
  • the DCI format used for PUSCH scheduling is also referred to as uplink grant.
  • the downlink grant is also referred to as downlink assignment or downlink allocation.
  • the DCI format is a TBS information field mapped to an information bit indicating at least a transport block size (TBS: Transport Block Size) of a transport block included in PDSCH scheduled according to the DCI format, and the PDSCH in the frequency domain Resource allocation information field (Resource allocation field) mapped to information bits indicating at least a set of mapped resource blocks, MCS information field mapped to information bits indicating at least a modulation scheme for the PDSCH, the transport HARQ process number information field mapped to an information bit indicating at least a HARQ process number corresponding to the block, an NDI corresponding to the transport block (New A part or all of an NDI indication information field mapped to an information bit indicating at least a Data Indicator, and an RV information field mapped to an information bit indicating at least a Redundancy Version (RV) for the transport block. May be included at least.
  • TBS Transport Block Size
  • RSV Redundancy Version
  • One or more information fields included in the DCI format may be mapped to information bits provided by joint coding of multiple indication information.
  • the DCI format may include an MCS information field mapped to information bits provided based at least on joint coding of information related to TBS and information indicating modulation scheme of PDSCH.
  • the number of resource blocks indicates the number of resource blocks in the frequency domain, unless otherwise stated.
  • the downlink grant is at least used for scheduling of one PDSCH in one serving cell.
  • the uplink grant is used at least for scheduling of one PUSCH in one serving cell.
  • One physical channel may be mapped to one serving cell.
  • One physical channel may be mapped to one carrier band part set to one carrier included in one serving cell.
  • the terminal device 1 has one or more control resource sets (CORESET: COntrol REsource SET) set.
  • the terminal device 1 monitors the PDCCH in one or more control resource sets (monitor).
  • the control resource set may indicate a time frequency domain in which one or more PDCCHs may be mapped.
  • the control resource set may be an area in which the terminal device 1 monitors the PDCCH.
  • the control resource set may be configured by continuous resources (Localized resources).
  • the control resource set may be configured by non-consecutive resources (distributed resources).
  • the unit of control resource set mapping may be a resource block.
  • the unit of mapping of control resource sets may be six resource blocks.
  • the unit of mapping of control resource sets may be OFDM symbols.
  • the unit of mapping of control resource sets may be one OFDM symbol.
  • the frequency domain of the control resource set may be provided based at least on the upper layer signal and / or the downlink control information.
  • the time domain of the control resource set may be provided based at least on upper layer signaling and / or downlink control information.
  • One control resource set may be a common control resource set.
  • the common control resource set may be a control resource set commonly set for a plurality of terminal devices 1.
  • the common control resource set may be provided based at least on the MIB, the first system information, the second system information, the common RRC signaling, and part or all of the cell IDs.
  • time resources and / or frequency resources of a control resource set configured to monitor PDCCH used for scheduling of first system information may be provided based at least on the MIB.
  • One control resource set may be a dedicated control resource set.
  • the dedicated control resource set may be a control resource set configured to be dedicated for the terminal device 1.
  • the dedicated control resource set may be provided based at least on dedicated RRC signaling and some or all of the C-RNTI values.
  • the set of PDCCH candidates monitored by the terminal device 1 may be defined in terms of a search area. That is, the set of PDCCH candidates monitored by the terminal device 1 may be given by the search region.
  • the search region may be configured to include one or more PDCCH candidates at one or more aggregation levels (Aggregation level).
  • the aggregation level of the PDCCH candidate may indicate the number of CCEs configuring the PDCCH.
  • the terminal device 1 may monitor at least one or more search areas in a slot in which DRX (Discontinuous reception) is not set. DRX may be given based at least on upper layer parameters. The terminal device 1 may monitor at least one or more search space sets in a slot in which DRX is not set.
  • the search area set may include at least one or more search areas.
  • the search area set may include at least a part or all of a type 0 PDCCH common search area (common search space), a type 1 PDCCH common search area, and / or a UE specific search area.
  • Each of the search area sets may be associated with one control resource set. Each of the search area sets may be included in one control resource set. For each of the search area sets, an index of a control resource set associated with the search area set may be provided.
  • At least the DCI format included in the monitored PDCCH may be configured for each of the search region sets. For a certain type 0 common search area, at least monitoring of PDCCHs including the first DCI format may be configured. For a certain type 1 PDCCH common search area, at least monitoring of PDCCH including the first DCI format may be configured. At least monitoring of the first DCI format and / or the second DCI format may be configured for a certain UE-specific search area.
  • the first DCI format and the second DCI format are also referred to as DCI format.
  • the first DCI format may not include at least a field indicating an index of a carrier band part to which PDSCH scheduled according to the first DCI format is transmitted.
  • the second DCI format may include at least a field indicating an index of a carrier band part to which PDSCH scheduled according to the second DCI format is transmitted.
  • the first DCI format is a DCI format in which two transport blocks are not included in the PDSCH scheduled by the first DCI format regardless of the value of the parameter Number-MCS-HARQ-DL-DCI of the upper layer It may be. Regardless of the value of the upper layer parameter Number-MCS-HARQ-DL-DCI, the first DCI format may include an MCS field corresponding to the first transport block. The first DCI format may not include the MCS field corresponding to the second transport block regardless of the value of the upper layer parameter Number-MCS-HARQ-DL-DCI.
  • the second DCI format is based at least on the value of the parameter Number-MCS-HARQ-DL-DCI of the upper layer, and whether or not two transport blocks are included in the PDSCH scheduled by the second DCI format It may be a given DCI format.
  • the first DCI format includes an MCS field corresponding to the first transport block and an MCS field corresponding to the second transport block, based at least on the value of the parameter of the upper layer Number-MCS-HARQ-DL-DCI May be.
  • a monitoring period of the search area set may be set for each of the search area sets.
  • the monitoring interval of the search area set may at least indicate an interval of slots in which the terminal apparatus 1 monitors the search area set.
  • Upper layer parameters indicating at least monitoring intervals of the search area set may be provided for each search area set.
  • a monitoring offset of the search area set may be set for each of the search area sets.
  • the monitoring offset of the search area set may at least indicate an offset from a reference index (for example, slot # 0) of an index of a slot in which the terminal apparatus 1 monitors the search area set.
  • Upper layer parameters indicating at least the monitoring offset of the search area set may be provided for each search area set.
  • a monitoring pattern of the search area set may be set for each of the search area sets.
  • the monitoring pattern of the search area set may indicate a leading OFDM symbol for the search area set to be monitored.
  • the monitoring pattern of the search area set may be given by a bitmap indicating the leading OFDM symbol in one or more slots.
  • Upper layer parameters indicating at least a monitoring pattern of the search area set may be given to each search area set.
  • Monitoring occasions of the search area set are provided based at least on the search interval of the search area set, the monitoring offset of the search area set, the monitoring pattern of the search area set, and / or some or all of the DRX settings. May be
  • FIG. 4 is a diagram showing an example of monitoring opportunities of a search region set and PDCCH monitoring opportunities according to an aspect of the present embodiment.
  • a search area set 91 and a search area set 92 are set in the primary cell 301
  • a search area set 93 is set in the secondary cell 302
  • a search area set 94 is set in the secondary cell 303.
  • blocks indicated by grid lines indicate a search area set 91
  • blocks indicated by an upper right diagonal line indicate a search area set 92
  • blocks indicated by an upper left diagonal line indicate a search area set 93, indicated by horizontal lines.
  • the block shown indicates a search area set 94.
  • the monitoring interval of the search area set 91 is set to 1 slot
  • the monitoring offset of the search area set 91 is set to 0 slot
  • the monitoring pattern of the search area set 91 is [1, 0, 0, 0, 0, 0, It is set to 0, 1, 0, 0, 0, 0, 0, 0]. That is, the monitoring opportunities for the search area set 91 are the first OFDM symbol (OFDM symbol # 0) and the eighth OFDM symbol (OFDM symbol # 7) in each of the slots.
  • the monitoring interval of the search area set 92 is set to 2 slots, the monitoring offset of the search area set 92 is set to 0 slots, and the monitoring pattern of the search area set 92 is [1, 0, 0, 0, 0, 0, It is set to 0, 0, 0, 0, 0, 0, 0, 0]. That is, the monitoring opportunity of the search area set 92 is the leading OFDM symbol (OFDM symbol # 0) in each of the even slots.
  • the monitoring interval of the search area set 93 is set to 2 slots
  • the monitoring offset of the search area set 93 is set to 0 slots
  • the monitoring pattern of the search area set 93 is [0, 0, 0, 0, 0, 0, It is set to 0, 1, 0, 0, 0, 0, 0, 0]. That is, the monitoring opportunity of the search area set 93 is the eighth OFDM symbol (OFDM symbol # 7) in each of the even slots.
  • the monitoring interval of search area set 94 is set to 2 slots, the monitoring offset of search area set 94 is set to 1 slot, and the monitoring pattern of search area set 94 is [1, 0, 0, 0, 0, 0, It is set to 0, 0, 0, 0, 0, 0, 0, 0]. That is, the monitoring opportunity of the search area set 94 is the leading OFDM symbol (OFDM symbol # 0) in each of the odd slots.
  • the number of opportunities for monitoring the PDCCH is eight.
  • the number of PDCCH monitoring opportunities may be given by the sum and / or the union of the monitoring region set monitoring opportunities set for the serving cell set for the terminal device 1.
  • the PDCCH monitoring opportunity in slot # 0 to slot # 3 in FIG. 4 is the OFDM symbol # 0 in slot # 0, slot # 0. OFDM symbol # 7, OFDM symbol # 0 in slot # 1, OFDM symbol # 7 in slot # 1, OFDM symbol # 0 in slot # 2, OFDM symbol # 7 in slot # 2, OFDM symbol # 0 in slot # 3 , And OFDM symbol # 7 of slot # 3. That is, when the search area set 91 and the search area set 92 are set in the primary cell 301, the number of PDCCH monitoring opportunities in slot # 0 to slot # 3 in FIG. 4 is eight.
  • the PDCCH monitoring opportunity in slot # 0 to slot # 3 in FIG. 4 is slot # 0. OFDM symbol # 0, OFDM symbol # 7 in slot # 0, OFDM symbol # 0 in slot # 2, and OFDM symbol # 7 in slot # 2. That is, when search area set 92 is set in primary cell 301 and search area set 93 is set in secondary cell 302, the number of PDCCH monitoring opportunities in slot # 0 to slot # 3 in FIG. 4 is four. is there.
  • the type 0 PDCCH common search region may be used at least for DCI format with a CRC sequence scrambled by System Information-Radio Network Temporary Identifier (SI-RNTI).
  • SI-RNTI System Information-Radio Network Temporary Identifier
  • the configuration of the control resource set at least associated with the type 0 PDCCH common search region may be given based at least on the upper layer parameter RMSI-PDCCH-Config.
  • the upper layer parameter RMSI-PDCCH-Config may be included in the MIB.
  • the upper layer parameter RMSI-PDCCH-Config also indicates at least one or both of the number of resource blocks included in the control resource set associated with at least the type 0 PDCCH common search region, and the number of OFDM symbols included in the control resource set. Good.
  • the upper layer parameter RMSI-PDCCH-Config may be indicated by an information field included in the MIB.
  • the type 1 PDCCH common search region is a CRC sequence scrambled by Random Access-Radio Network Temporary Identifier (RA-RNTI), a CRC sequence scrambled by Temporarily Common-Radio Network Temporary Identifier (TC-RNTI), and / or C -At least for DCI format with CRC sequence scrambled by RNTI (Common-Radio Network Temporary Identifier).
  • the RA-RNTI may be given based at least on time / frequency resources of the random access preamble transmitted by the terminal device 1.
  • the TC-RNTI may be provided by PDSCH (also referred to as Message 2 or Random Access Response Grant) scheduled according to DCI format with CRC sequence scrambled by RA-RNTI.
  • the C-RNTI may be provided at least based on PDSCH (also referred to as message 4 or also contention resolution) scheduled according to DCI format with a CRC sequence scrambled by TC-RNTI.
  • the UE specific search region may be at least used for DCI format with CRC sequence scrambled by C-RNTI.
  • the common control resource set may include at least one or both of CSS and USS.
  • the dedicated control resource set may include at least one or both of CSS and USS.
  • Physical resources of the search area are configured by control channel elements (CCEs).
  • CCE is configured by a predetermined number of resource element groups (REGs).
  • REGs resource element groups
  • CCE may be configured by six REGs.
  • the REG may be configured by one OFDM symbol of one PRB (Physical Resource Block). That is, the REG may be configured to include 12 resource elements (RE: Resource Element).
  • PRBs are also simply referred to as RBs (Resource Blocks).
  • the PDSCH is at least used to transmit a transport block.
  • the PDSCH may be at least used to transmit random access message 2 (random access response).
  • the PDSCH may be at least used to transmit system information including parameters used for initial access.
  • a PDSCH is scheduled according to a DCI format including a Time-domain PDSCH resource field, and a PDCCH including the DCI format is transmitted in slot # n-j n , the PDSCH may be transmitted in slot #n.
  • the j n may be given based at least on the Time-domain PDSCH resource field.
  • the j n is also referred to as a first PDCCH processing time.
  • the first PDCCH processing time may correspond to the DCI format.
  • the correspondence of the first PDCCH processing time to the DCI format may be that the first PDCCH processing time is given based at least on a Time-domain PDSCH resource field included in the DCI format.
  • the first PDCCH processing time set corresponding to the DCI format is configured to include at least the first PDCCH processing time corresponding to each of the values indicated by the Time-domain PDSCH resource field included in the DCI format. Good.
  • the PDSCH may be transmitted in slot #n .
  • the j a may be given regardless of the Time-domain PDSCH resource field.
  • the j a is referred to as a second PDCCH processing time.
  • the second PDCCH processing time may correspond to the DCI format.
  • the first PDCCH processing time and the second PDCCH processing time are also referred to as PDCCH processing time.
  • the correspondence of the PDSCH to the PDCCH may be that the PDSCH is scheduled according to the DCI format included in the PDCCH.
  • the first PDCCH-PUCCH processing time is the DCI format It is assumed that the PDSCH scheduled by the format is transmitted in slot #n, and / or given based at least on part or all of the PDSCH-to-HARQ-timing-indicator field included in the DCI format. May be j n may be given based at least on the Time-domain PDSCH resource field.
  • the first PDCCH processing time may correspond to the DCI format. Details of the first PDCCH-PUCCH processing time will be described later.
  • the first PDCCH-PUCCH processing time is the DCI format It is assumed that the PDSCH scheduled by the format is transmitted in slot #n, and / or given based at least on part or all of the PDSCH-to-HARQ-timing-indicator field included in the DCI format. May be
  • the j x is also referred to as SPS release processing time.
  • the j x may be given regardless of the Time-domain PDSCH resource field.
  • the j x may be given based at least on upper layer parameters.
  • the j x may be set to zero.
  • the j x may be set to a predetermined value.
  • the first PDCCH processing time set corresponding to the DCI format is configured to include at least the first PDCCH processing time corresponding to each of the values indicated by the Time-domain PDSCH resource field included in the DCI format. Good.
  • the second PDCCH-PUCCH processing time is It may be assumed that the PDSCH is transmitted in slot #n, and / or may be provided based at least on part or all of the PDSCH-to-HARQ-timing-indicator field included in the DCI format.
  • the j a may be given regardless of the Time-domain PDSCH resource field.
  • the j a may be set to a predetermined value.
  • the j a may be set to zero.
  • the second PDCCH processing time may correspond to the DCI format.
  • the indication of the SPS release by the DCI format may be the indication of the SPS release by the PDCCH including the DCI format.
  • the indication of the SPS release may be that the SPS release is activated.
  • a PDCCH-PUCCH processing time indicating a time (or a slot) from a slot in which PDCCH is transmitted to a slot in which a PUCCH including HARQ-ACK corresponding to the PDCCH is transmitted is a first PDCCH processing time, a second It may be given based at least on part or all of the PDCCH processing time, the first PDSCH processing time, and / or the second PDSCH processing time.
  • the PDCCH-PUCCH processing time may be defined by the number of slots.
  • the length of the slot may be given at least based on the maximum value and / or the minimum value of the setting ⁇ of the subcarrier interval set for each of the serving cells set in the terminal device 1.
  • the length of the slot may be given at least based on the setting ⁇ of the subcarrier interval set in the serving cell where the PUCCH is transmitted.
  • the length of the slot is at least the maximum value and / or the minimum value among the setting ⁇ of the subcarrier interval set in each of the carrier band parts set in each of the serving cells set in the terminal device 1 It may be given on the basis of The length of the slot may be given based at least on the setting ⁇ of the subcarrier spacing set in the carrier band part in which the PUCCH is transmitted.
  • the HARQ-ACK corresponding to the PDCCH may be an HARQ-ACK corresponding to each of one or more transport blocks included in the PDSCH included in the PDSCH scheduled by the DCI format included in the PDCCH.
  • the HARQ-ACK corresponding to the PDCCH may be a HARQ-ACK corresponding to the SPS release indicated by the DCI format included in the PDCCH.
  • the first PDCCH-PUCCH processing time in the case where a PDSCH is scheduled by a DCI format including a Time-domain PDSCH resource field and a PDSCH-to-HARQ-timing-indicator field is a first corresponding to the DCI format. It may be provided based on at least part or all of the PDCCH processing time and / or the first PDSCH processing time corresponding to the DCI format.
  • the first set of PDCCH-PUCCH processing times corresponding to the DCI format is each of the first PDCCH processing times included in the first set of PDCCH processing times corresponding to the DCI format and / or the DCI It may be configured to include a first PDCCH-PUCCH processing time given based at least in part or all of each of the first PDSCH processing times included in the first PDSCH processing time set corresponding to the format.
  • the first PDCCH-PUCCH processing time when the SPS release is indicated by a DCI format including a Time-domain PDSCH resource field and a PDSCH-to-HARQ-timing-indicator field is a first corresponding to the DCI format. It may be given at least based on PDCCH processing time, SPS release processing time, and / or part or all of the first PDSCH processing time corresponding to the DCI format.
  • the first set of PDCCH-PUCCH processing times corresponding to the DCI format is a first PDCCH processing time included in the first set of PDCCH processing times corresponding to the DCI format, an SPS release processing time, and And / or including a first PDCCH-PUCCH processing time provided based at least in part or all of each of the first PDSCH processing times included in the first PDSCH processing time set corresponding to the DCI format It may be done.
  • the second PDCCH-PUCCH processing time in the case where the PDSCH is scheduled by a DCI format that includes a Time-domain PDSCH resource field and does not include a PDSCH-to-HARQ-timing-indicator field is a first corresponding to the DCI format. And / or a part or all of a second PDSCH processing time corresponding to the DCI format.
  • the second set of PDCCH-PUCCH processing times corresponding to the DCI format is each of the first PDCCH processing times included in the first set of PDCCH processing times corresponding to the DCI format and / or the DCI
  • a first PDCCH-PUCCH processing time may be configured to be provided based at least on part or all of the second PDSCH processing time corresponding to the format.
  • the second PDCCH-PUCCH processing time when the SPS release is indicated by a DCI format that includes the Time-domain PDSCH resource field and does not include the PDSCH-to-HARQ-timing-indicator field is the first corresponding to the DCI format.
  • the second set of PDCCH-PUCCH processing times corresponding to the DCI format is a first PDCCH processing time included in the first set of PDCCH processing times corresponding to the DCI format, an SPS release processing time, and And / or may be configured to include a first PDCCH-PUCCH processing time given based at least on part or all of a second PDSCH processing time corresponding to the DCI format.
  • the third PDCCH-PUCCH processing time in the case where the PDSCH is scheduled by the DCI format including the PDSCH-to-HARQ-timing-indicator field without including the Time-domain PDSCH resource field is the second corresponding to the DCI format. And / or a part or all of the first PDSCH processing time corresponding to the DCI format.
  • the third set of PDCCH-PUCCH processing times corresponding to the DCI format is the second PDCCH processing time corresponding to the DCI format and / or the first set of PDSCH processing times corresponding to the DCI format
  • a third PDCCH-PUCCH processing time may be configured to be provided based on at least a part or all of the respective first PDSCH processing times included.
  • the third PDCCH-PUCCH processing time when the SPS release is indicated by the DCI format including the PDSCH-to-HARQ-timing-indicator field without including the Time-domain PDSCH resource field is a second corresponding to the DCI format. And / or a part or all of the first PDSCH processing time corresponding to the DCI format.
  • the third set of PDCCH-PUCCH processing times corresponding to the DCI format is the second PDCCH processing time corresponding to the DCI format and / or the first set of PDSCH processing times corresponding to the DCI format
  • a third PDCCH-PUCCH processing time may be configured to be provided based on at least a part or all of the respective first PDSCH processing times included.
  • the fourth PDCCH-PUCCH processing time in the case where the PDSCH is scheduled by a DCI format that does not include the Time-domain PDSCH resource field and does not include the PDSCH-to-HARQ-timing-indicator field corresponds to the DCI format corresponding to the DCI format. It may be given at least based on at least part or all of the PDCCH processing time of 2 and / or a second PDSCH processing time corresponding to the DCI format.
  • the set of fourth PDCCH-PUCCH processing times corresponding to the DCI format may be a second PDCCH processing time corresponding to the DCI format and / or a portion of a second PDSCH processing time corresponding to the DCI format Or, it may be configured to include a fourth PDCCH-PUCCH processing time given based at least on all.
  • the fourth PDCCH-PUCCH processing time when the SPS release is indicated by a DCI format that does not include the Time-domain PDSCH resource field and does not include the PDSCH-to-HARQ-timing-indicator field is the It may be given at least based on at least part or all of the PDCCH processing time of 2 and / or a second PDSCH processing time corresponding to the DCI format.
  • the set of fourth PDCCH-PUCCH processing times corresponding to the DCI format may be a second PDCCH processing time corresponding to the DCI format and / or a portion of a second PDSCH processing time corresponding to the DCI format Or, it may be configured to include a fourth PDCCH-PUCCH processing time given based at least on all.
  • the first PDCCH-PUCCH processing time, the second PDCCH-PUCCH processing time, the third PDCCH-PUCCH processing time, and the fourth PDCCH-PUCCH processing time are also referred to as PDCCH-PUCCH processing time.
  • the first set of PDCCH-PUCCH processing times, the second set of PDCCH-PUCCH processing times, the third set of PDCCH-PUCCH processing times, and the fourth set of PDCCH-PUCCH processing times are PDCCH-PUCCH Also referred to as a set of processing times.
  • the following downlink physical signals are used in downlink radio communication.
  • the downlink physical signal may not be used to transmit the information output from the upper layer, but is used by the physical layer.
  • SS Synchronization signal
  • DL DMRS DownLink DeModulation Reference Signal
  • CSI-RS Channel State Information-Reference Signal
  • DL PTRS DownLink Phase Tracking Reference Signal
  • TRS Track Reference Signal
  • the synchronization signal is used by the terminal device 1 to synchronize in the downlink frequency domain and / or time domain.
  • the synchronization signal includes PSS (Primary Synchronization Signal) and SSS (Secondary Synchronization Signal).
  • the SS block includes at least part or all of PSS, SSS, and PBCH.
  • Each antenna port of PSS, SSS, and part or all of PBCH included in the SS block may be identical.
  • Some or all of PSS, SSS, and PBCH included in the SS block may be mapped to consecutive OFDM symbols.
  • the CP settings of part or all of PSS, SSS, and part or all of PBCH included in the SS block may be identical.
  • the setting ⁇ of the respective subcarrier spacings of part or all of PSS, SSS, and PBCH included in the SS block may be identical.
  • the DL DMRS relates to the transmission of PBCH, PDCCH, and / or PDSCH.
  • the DL DMRSs are multiplexed to the PBCH, the PDCCH, and / or the PDSCH.
  • the terminal device 1 may use the PBCH, the PDCCH, or the DL DMRS corresponding to the PDSCH to perform channel correction of the PBCH, the PDCCH, or the PDSCH.
  • transmission of the PBCH and the DL DMRS associated with the PBCH together is referred to as transmission of the PBCH.
  • that the PDCCH and the DL DMRS associated with the PDCCH are transmitted together is referred to as simply transmitting the PDCCH.
  • transmission of the PDSCH and the DL DMRS associated with the PDSCH together is simply referred to as transmission of the PDSCH.
  • DL DMRSs associated with PBCH are also referred to as DL DMRSs for PBCH.
  • DL DMRS associated with PDSCH is also referred to as DL DMRS for PDSCH.
  • the DL DMRS associated with the PDCCH is also referred to as the DL DMRS associated with the PDCCH.
  • the DL DMRS may be a reference signal individually set in the terminal device 1.
  • the sequence of DL DMRS may be given based at least on parameters individually set in the terminal device 1.
  • the sequence of DL DMRS may be provided based at least on UE specific values (eg, C-RNTI, etc.).
  • the DL DMRS may be transmitted separately for PDCCH and / or PDSCH.
  • the CSI-RS may be at least a signal used to calculate channel state information.
  • the pattern of CSI-RS assumed by the terminal apparatus may be given at least by the parameters of the upper layer.
  • the PTRS may be a signal used at least for compensation of phase noise.
  • the pattern of PTRS assumed by the terminal device may be given based at least on the upper layer parameter and / or DCI.
  • the DL PTRS may be associated with a DL DMRS group including at least antenna ports used for one or more DL DMRSs.
  • the association between the DL PTRS and the DL DMRS group may be that at least some or all of the antenna ports of the DL PTRS and the antenna ports included in the DL DMRS group are QCLs.
  • the DL DMRS group may be identified based at least on the antenna port with the lowest index in the DL DMRS included in the DL DMRS group.
  • the TRS may be a signal that is at least used for time and / or frequency synchronization.
  • the pattern of TRS assumed by the terminal device may be given based at least on the upper layer parameter and / or DCI.
  • Downlink physical channels and downlink physical signals are also referred to as downlink signals.
  • Uplink physical channels and uplink physical signals are also referred to as uplink signals.
  • the downlink and uplink signals are also collectively referred to as physical signals.
  • the downlink and uplink signals are also collectively referred to as signals.
  • the downlink physical channel and the uplink physical channel are collectively referred to as a physical channel.
  • Downlink physical signals and uplink physical signals are collectively referred to as physical signals.
  • BCH Broadcast CHannel
  • UL-SCH Uplink-Shared CHannel
  • DL-SCH Downlink-Shared CHannel
  • a channel used in a medium access control (MAC) layer is called a transport channel.
  • the unit of transport channel used in the MAC layer is also referred to as transport block (TB) or MAC PDU.
  • control of HARQ Hybrid Automatic Repeat request
  • the transport block is a unit of data delivered by the MAC layer to the physical layer.
  • transport blocks are mapped to codewords and modulation processing is performed for each codeword.
  • the base station device 3 and the terminal device 1 exchange (transmit and receive) signals of the upper layer in the higher layer.
  • the base station device 3 and the terminal device 1 may transmit and receive RRC signaling (RRC message: Radio Resource Control message, RRC information: Radio Resource Control information) in a Radio Resource Control (RRC) layer.
  • RRC signaling RRC message: Radio Resource Control message
  • RRC information Radio Resource Control information
  • the base station apparatus 3 and the terminal apparatus 1 may transmit and receive MAC CE (Control Element) in the MAC layer.
  • RRC signaling and / or MAC CE are also referred to as higher layer signaling.
  • PUSCH and PDSCH may be at least used to transmit RRC signaling and / or MAC CE.
  • RRC signaling transmitted on the PDSCH from the base station device 3 may be signaling common to a plurality of terminal devices 1 in the serving cell.
  • the signaling common to a plurality of terminal devices 1 in the serving cell is also referred to as common RRC signaling.
  • RRC signaling transmitted on the PDSCH from the base station device 3 may be dedicated signaling (also referred to as dedicated signaling or UE specific signaling) for a certain terminal device 1.
  • Signaling dedicated to the terminal device 1 is also referred to as dedicated RRC signaling.
  • the upper layer parameters unique to the serving cell may be transmitted using common signaling to a plurality of terminal devices 1 in the serving cell or dedicated signaling to a certain terminal device 1.
  • the UE-specific upper layer parameters may be transmitted to a certain terminal device 1 using dedicated signaling.
  • BCCH Broadcast Control CHannel
  • CCCH Common Control CHannel
  • DCCH Dedicated Control CHannel
  • BCCH is an upper layer channel used to transmit the MIB.
  • CCCH Common Control CHannel
  • DCCH is an upper layer channel used to transmit common information in a plurality of terminal devices 1.
  • CCCH may be used for the terminal device 1 which is not connected by RRC, for example.
  • DCCH Dedicated Control CHannel
  • DCCH Dedicated Control CHannel
  • the DCCH may be used, for example, for the terminal device 1 that is RRC connected.
  • the BCCH in the logical channel may be mapped to the BCH, DL-SCH or UL-SCH in the transport channel.
  • the CCCH in the logical channel may be mapped to the DL-SCH or UL-SCH in the transport channel.
  • the DCCH in the logical channel may be mapped to the DL-SCH or UL-SCH in the transport channel.
  • the UL-SCH in transport channel may be mapped to PUSCH in physical channel.
  • the DL-SCH in the transport channel may be mapped to the PDSCH in the physical channel.
  • the BCH in the transport channel may be mapped to the PBCH in the physical channel.
  • composition of terminal unit 1 concerning one mode of this embodiment is explained.
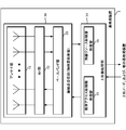
  • FIG. 5 is a schematic block diagram showing the configuration of the terminal device 1 according to an aspect of the present embodiment.
  • the terminal device 1 includes a wireless transmission / reception unit 10 and an upper layer processing unit 14.
  • the wireless transmission / reception unit 10 is configured to include at least a part or all of the antenna unit 11, an RF (Radio Frequency) unit 12, and a baseband unit 13.
  • the upper layer processing unit 14 includes at least a part of or all of the medium access control layer processing unit 15 and the radio resource control layer processing unit 16.
  • the wireless transmission / reception unit 10 is also referred to as a transmission unit, a reception unit, or a physical layer processing unit.
  • the upper layer processing unit 14 outputs, to the radio transmission / reception unit 10, uplink data (transport block) generated by a user operation or the like.
  • the upper layer processing unit 14 performs processing of a MAC layer, a packet data convergence protocol (PDCP) layer, a radio link control (RLC) layer, and an RRC layer.
  • PDCP packet data convergence protocol
  • RLC radio link control
  • the medium access control layer processing unit 15 included in the upper layer processing unit 14 performs processing of the MAC layer.
  • the radio resource control layer processing unit 16 included in the upper layer processing unit 14 performs the process of the RRC layer.
  • the radio resource control layer processing unit 16 manages various setting information / parameters of its own device.
  • the radio resource control layer processing unit 16 sets various setting information / parameters based on the signal of the upper layer received from the base station apparatus 3. That is, the radio resource control layer processing unit 16 sets various setting information / parameters based on information indicating various setting information / parameters received from the base station apparatus 3.
  • the parameter may be an upper layer parameter.
  • the wireless transmission / reception unit 10 performs physical layer processing such as modulation, demodulation, coding, and decoding.
  • the wireless transmission and reception unit 10 separates, demodulates and decodes the received physical signal, and outputs the decoded information to the upper layer processing unit 14.
  • the radio transmission / reception unit 10 generates a physical signal by modulating and encoding data and baseband signal generation (conversion to a time continuous signal), and transmits the physical signal to the base station device 3.
  • the RF unit 12 converts the signal received via the antenna unit 11 into a baseband signal by orthogonal demodulation (down conversion: down cover), and removes unnecessary frequency components.
  • the RF unit 12 outputs the processed analog signal to the baseband unit.
  • the baseband unit 13 converts an analog signal input from the RF unit 12 into a digital signal.
  • the baseband unit 13 removes a portion corresponding to CP (Cyclic Prefix) from the converted digital signal, performs fast Fourier transform (FFT) on the signal from which the CP has been removed, and outputs the signal in the frequency domain. Extract.
  • CP Cyclic Prefix
  • FFT fast Fourier transform
  • the baseband unit 13 performs Inverse Fast Fourier Transform (IFFT) on the data to generate an OFDM symbol, adds a CP to the generated OFDM symbol, generates a baseband digital signal, and generates a base. Convert band digital signals into analog signals. The baseband unit 13 outputs the converted analog signal to the RF unit 12.
  • IFFT Inverse Fast Fourier Transform
  • the RF unit 12 removes extra frequency components from the analog signal input from the baseband unit 13 using a low pass filter, up-converts the analog signal to a carrier frequency, and transmits it via the antenna unit 11 Do. Also, the RF unit 12 amplifies the power. Also, the RF unit 12 may have a function of controlling transmission power.
  • the RF unit 12 is also referred to as a transmission power control unit.
  • FIG. 6 is a schematic block diagram showing the configuration of the base station device 3 according to an aspect of the present embodiment.
  • the base station device 3 is configured to include a wireless transmission / reception unit 30 and an upper layer processing unit 34.
  • the wireless transmission and reception unit 30 includes an antenna unit 31, an RF unit 32, and a baseband unit 33.
  • the upper layer processing unit 34 includes a medium access control layer processing unit 35 and a radio resource control layer processing unit 36.
  • the wireless transmission / reception unit 30 is also referred to as a transmission unit, a reception unit, or a physical layer processing unit.
  • the upper layer processing unit 34 performs processing of the MAC layer, the PDCP layer, the RLC layer, and the RRC layer.
  • the medium access control layer processing unit 35 included in the upper layer processing unit 34 performs processing of the MAC layer.
  • the radio resource control layer processing unit 36 included in the upper layer processing unit 34 performs the process of the RRC layer.
  • the radio resource control layer processing unit 36 generates downlink data (transport block), system information, RRC message, MAC CE, etc. arranged in the PDSCH, or acquires it from the upper node and outputs it to the radio transmission / reception unit 30. .
  • the radio resource control layer processing unit 36 manages various setting information / parameters of each of the terminal devices 1.
  • the radio resource control layer processing unit 36 may set various setting information / parameters for each of the terminal devices 1 via the upper layer signal. That is, the radio resource control layer processing unit 36 transmits / broadcasts information indicating various setting information / parameters.
  • the function of the wireless transmission / reception unit 30 is the same as that of the wireless transmission / reception unit 10, and thus the description thereof is omitted.
  • Each of the units denoted by reference numerals 10 to 16 included in the terminal device 1 may be configured as a circuit.
  • Each of the units from 30 to 36 included in the base station apparatus 3 may be configured as a circuit.
  • the serving cell group 100 may be a set of serving cells set in the terminal device 1.
  • the serving cell group 100 may include one or more serving cells included in a master cell group (MCG).
  • MCG may be configured to include at least a primary cell (Primary cell).
  • Primary cell may be a serving cell used at least for initial access.
  • the setting ⁇ of the subcarrier interval set in the serving cell group 100 may be the same.
  • the serving cell group 100 is one or more of the one or more included in the SCG. May include the serving cell of The SCG may be configured not to include at least a primary cell.
  • the SCG may be configured to include at least a Primary Secondary Cell (PSCell).
  • the PRACH resource may be set in the primary and secondary cells.
  • a PUCCH resource may be set in the primary and secondary cells.
  • serving cell group 100 is the PUCCH.
  • the one or more serving cells included in the group may be included.
  • a PUCCH resource may be set in PUCCH-SCell.
  • a HARQ-ACK codebook may be generated that includes at least HARQ-ACK bits.
  • the HARQ-ACK codebook may be transmitted on a PUCCH on an uplink carrier included in the serving cell group 100.
  • the uplink carrier on which the PUCCH is transmitted may be included in a primary cell.
  • the serving cell group 100 is an MCG
  • the uplink carrier on which the PUCCH is transmitted may be included in a primary cell included in the MCG.
  • an uplink carrier to which the PUCCH is transmitted may be included in a primary secondary cell included in the SCG.
  • the serving cell group 100 is a PUCCH group
  • the uplink carrier to which the PUCCH is transmitted may be included in the PUCCH-SCell included in the PUCCH group.
  • FIG. 7 is a diagram showing an example of a transmission procedure of the HARQ-ACK codebook 1000 according to an aspect of the present embodiment.
  • M PDCCH monitoring opportunities 1001 M PDCCH monitoring occasions 1001 related to the HARQ-ACK codebook 1000 of FIG. 7
  • the PDCCH 1002 a, the PDCCH 1002 b, and the PDCCH 1002 c are also referred to as a PDCCH 1002.
  • a description of the M PDCCH monitoring opportunities 1001 associated with the HARQ-ACK codebook 1000 is provided below.
  • the PDCCH 1002 a includes a DCI format 1003 a.
  • the PDCCH 1002 b includes a DCI format 1003 b.
  • the PDCCH 1002 c includes a DCI format 1003 c.
  • the DCI format 1003a schedules the PDSCH 1004a.
  • the DCI format 1003b schedules the PDSCH 1004b.
  • the DCI format 1003c indicates the SPS release 1005.
  • the DCI format 1003a, the DCI format 1003b, and the DCI format 1003 are also referred to as a DCI format 1003.
  • the PDSCH 1004a and the PDSCH 1004b are also referred to as PDSCH 1004.
  • the DCI format 1003 may include the DCI format detected at the M PDCCH monitoring opportunities 1001 associated with the HARQ-ACK codebook 1000.
  • HARQ-ACK codebook 1000 is a part or all of HARQ-ACK bit 1006 corresponding to each of one or more transport blocks included in PDSCH 1004, and / or HARQ-ACK bit 1007 corresponding to SPS release 1005. It comprises at least.
  • the HARQ-ACK codebook 1000 is included in PUCCH 1008 and transmitted.
  • the sth bit of the sequence of the HARQ-ACK codebook 1000 is given by o ACK a (s-1).
  • the length of the sequence of HARQ-ACK codebook 1000 is O ACK . That is, s is an integer value in the range of 0 to O ACK -1.
  • the serving cell index c is set to zero.
  • the serving cell index may be provided based on at least upper layer parameters for each serving cell.
  • m 0 is set.
  • m may indicate an index of a PDCCH monitoring opportunity including at least one or both of a first DCI format (first DCI format) and / or a second DCI format (second DCI format).
  • the PDCCH monitoring opportunity index may be used to identify a monitoring opportunity among M PDCCH monitoring opportunities 1001 associated with the HARQ-ACK codebook 1000.
  • the lower index corresponds to the earlier of the PDCCH monitoring opportunities including at least one or both of the first DCI format and / or the second DCI format It is also good.
  • a lower index is a PDCCH monitoring opportunity including at least one or both of a first DCI format and / or a second DCI format in M PDCCH monitoring opportunities 1001. It may correspond to the earlier one.
  • step A3 j may be set to 0.
  • V temp may be set to zero.
  • V temp2 may be set to 0.
  • V s may be set to ⁇ . ⁇ indicates an empty set.
  • N DL cells may be set to the number of serving cells .
  • the number of serving cells may be the number of serving cells included in the serving cell group 100.
  • the number of serving cells may be the number of serving cells set in the terminal device 1.
  • the number of serving cells is included in the SCG It may be the number of serving cells.
  • the number of serving cells is the number of serving cells included in the MCG.
  • the number of serving cells is the PUCCH group May be the number of serving cells included in.
  • M may be set to the number M of PDCCH monitoring opportunities 1001 associated with the HARQ-ACK codebook 1000.
  • the number M of PDCCH monitoring opportunities 1001 related to the HARQ-ACK codebook 1000 is part or all of HARQ-ACK (HARQ-ACK 1006 and / or HARQ-ACK 1007) included in the HARQ-ACK codebook 1000. May be configured to include at least a monitoring opportunity of the PDCCH for which is detected.
  • the number M of PDCCH monitoring opportunities associated with the HARQ-ACK codebook 1000 may be the number of PDCCH monitoring opportunities included in the range from the first slot to the second slot.
  • the first slot is a maximum value of a set of PDCCH-PUCCH processing time corresponding to each of the DCI format 1003, a monitoring region set monitoring opportunity in which each of the DCI format 1003 is set, and / or the PUCCH 1008 is transmitted It may be given based at least in part or all of the slot index of the slot being played.
  • the second slot is a minimum value of a set of PDCCH-PUCCH processing time corresponding to each of DCI formats 1003, a monitoring region set monitoring opportunity where each of the DCI formats 1003 is set, and / or PUCCH 1008 is transmitted It may be given based at least in part or all of the index of the slot being played.
  • the maximum value of the set of PDCCH-PUCCH processing times is part of the maximum value of the set of PDCCH processing times corresponding to the DCI format and / or the maximum value of the set of PDSCH processing times corresponding to the DCI format Or may be given at least on the whole.
  • the minimum value of the set of PDCCH-PUCCH processing times is a minimum value of the set of PDCCH processing times corresponding to the DCI format and / or a portion of the minimum values of the set of PDSCH processing times corresponding to the DCI format Or may be given at least on the whole.
  • the first slot may be provided based at least on part or all of the PDCCH-PUCCH processing time corresponding to each of the DCI formats 1003.
  • the first slot may be provided based at least on the maximum value of PDCCH-PUCCH processing time corresponding to each of the DCI formats 1003. That is, the first slot is the maximum value of PDCCH-PUCCH processing time corresponding to each or part of the DCI format detected at M PDCCH monitoring opportunities 1001 associated with the HARQ-ACK codebook 1000. May be given based at least on
  • the second slot may be provided based at least on part or all of the PDCCH-PUCCH processing time corresponding to each of the DCI formats 1003.
  • the second slot may be provided based at least on the minimum value of PDCCH-PUCCH processing time corresponding to each of the DCI formats 1003. That is, the second slot is the minimum value of PDCCH-PUCCH processing time corresponding to each or part of the DCI format detected at M PDCCH monitoring opportunities 1001 associated with the HARQ-ACK codebook 1000. May be given based at least on
  • step A9 the first evaluation formula m ⁇ M is evaluated.
  • Step A10 may be performed when the first evaluation formula is true. If the first evaluation expression is false, step A34 may be performed.
  • step A10 the second evaluation formula c ⁇ N DL cells is evaluated.
  • Step A11 may be performed if the second evaluation formula is true. If the second evaluation equation is false, step A32 may be performed.
  • step A11 when PDCCH 1002 including DCI format 1003 scheduling PDSCH 1004 is received in PDCCH monitoring opportunity m in serving cell c, and / or DCI format indicating SPS release 1005 in PDCCH monitoring opportunity m in serving cell c
  • step A12 may be performed.
  • Step A11 if PDCCH 1002 including DCI format 1003 scheduling PDSCH 1004 in PDCCH monitoring opportunity m in serving cell c is not received, or PDCCH 1002 including DCI format 1003 indicating SPS release 1005 in PDCCH monitoring opportunity m in serving cell c Is not received, step A30 may be performed.
  • step A12 a third evaluation formula V DL C-DAI, c, m ⁇ V temp is evaluated. If the third evaluation formula is true, step A13 may be performed. If the third evaluation expression is false, step A14 may be performed.
  • the counter DAI Downlink Assingment Index
  • the counter DAI may be included in the first DCI format.
  • the counter DAI may not be included in the first DCI format.
  • the counter DAI may be included in the second DCI format.
  • the counter DAI is a cumulative number (or at least a value related to the cumulative number of PDCCHs 1002 detected by the monitoring opportunity m of the PDCCH in the serving cell c in the M PDCCH monitoring opportunities 1001 related to the HARQ-ACK codebook 1000). May be displayed.
  • the index of the PDCCH 1002 detected in M monitoring opportunities 1001 related to the HARQ-ACK codebook 1000 is given a serving cell index c first and a PDCCH monitoring opportunity m second. May be That is, the index of PDCCH 1002 detected in M monitoring opportunities 1001 related to HARQ-ACK codebook 1000 may be mapped first in the order of serving cell index c and then mapped in the order of monitoring opportunity m of PDCCH (Serving cell index first, PDCCH monitoring occasion second mapping).
  • j may be set to j + 1.
  • Step A14 may indicate the completion of the operation based on the third evaluation equation in step A12.
  • V temp may be set to V DL C-DAI, c, m .
  • V DL T-DAI m is a value of total DAI given based at least on PDCCH detected at monitoring opportunity m of PDCCH in serving cell c.
  • Total DAI may be included in the first DCI format.
  • the total DAI may not be included in the first DCI format.
  • Total DAI may be included in the second DCI format.
  • the total DAI is a cumulative number (or a value at least associated with the cumulative number of PDCCHs 1002 detected by the monitoring opportunity m of the PDCCH in the M PDCCH monitoring opportunities 1001 related to the HARQ-ACK codebook 1000). Is also good).
  • V temp2 may be set to V DL C-DAI, c, m .
  • step A18 step A19 may be performed.
  • V temp2 may be set to V DL T-DAI, m .
  • step A20 1) at least one of M PDCCH monitoring opportunities 1001 related to the HARQ-ACK codebook 1000 is not set to 2) the upper layer parameter HARQ-ACK-spatial-bundling-PUCCH is set to true At least one monitoring opportunity of the search area set for which monitoring of the second DCI format is set in the serving cell is included, and / or 3) upper layer parameter Number-MCS-HARQ-DL-DCI is the at least one.
  • Step A21 may be performed if it is set to indicate that two transport blocks are included in one PDSCH in the serving cell.
  • That the upper layer parameter HARQ-ACK-spatial-bundling-PUCCH is not set to true may be that the upper layer parameter HARQ-ACK-spatial-bundling-PUCCH is set to false.
  • o ACK a (8j + 2 (V DL C-DAI, c, m -1)) may be set to a first value of HARQ-ACK bits corresponding to the transport block of the serving cell c.
  • a value of 1 for the HARQ-ACK bit may indicate an ACK.
  • a value of 0 for the HARQ-ACK bit may indicate a NACK.
  • the first transport block of the serving cell c is the first transport block included in the PDSCH 1004 scheduled by the DCI format included in the PDCCH 1002 detected in the monitoring opportunity m of the PDCCH in the serving cell c. It is also good.
  • o ACK a (8j + 2 (V DL C-DAI, c, m -1) +1) may be set to a second value of the HARQ-ACK bits corresponding to the transport block of the serving cell c.
  • the second transport block of the serving cell c is the second transport block included in the PDSCH 1004 scheduled by the DCI format included in the PDCCH 1002 detected in the monitoring opportunity m of the PDCCH in the serving cell c. It is also good.
  • ACK a (8 j + 2 (V DL C-DAI, c, m- 1) + 1) is set is 1) in M PDCCH monitoring opportunities 1001 related to the HARQ-ACK codebook 1000 Whether at least one monitoring opportunity of a search area set for which monitoring of the second DCI format is set in at least one serving cell is included, 2) upper layer parameter Number-MCS-HARQ-DL-DCI is less Whether or not it is set to indicate that two transport blocks are included in one PDSCH in one serving cell, and / or 3) upper layer parameter HARQ-ACK-spatial-bundling-PUCCH is true It may be given at least based on whether or not it is set.
  • o ACK a (8j + 2 ( V DL C-DAI, c
  • That the PDSCH 1004 includes the first transport block and the PDSCH 1004 does not include the second transport block may be that the PDSCH 1004 includes one transport block.
  • step A22 1) PDSCH 1004 scheduled by DCI format 1003 included in PDCCH 1002 detected in PDCCH monitoring opportunity m in serving cell c includes the first transport block, and 2) the PDSCH 1004 is the second transport If it does not contain a block, then the second HARQ-ACK bit for the second transport block is set to NACK and the second HARQ-ACK bit is o ACK a (8 j + 2 (V DL C-DAI, It may be set to c, m -1) +1).
  • PDSCH 1004 scheduled by DCI format 1003 included in PDCCH 1002 detected in monitoring opportunity m of PDCCH in serving cell c includes the first transport block, and 2) the PDSCH 1004 transmits the second transport block. 3) including at least one monitoring region set monitoring opportunity where monitoring of the second DCI format is configured in at least one serving cell in M PDCCH monitoring opportunities 1001 related to the HARQ-ACK codebook 1000 4) that the upper layer parameter Number-MCS-HARQ-DL-DCI includes two transport blocks in one PDSCH in the at least one serving cell. And / or 5) a second HARQ for the second transport block, if the upper layer parameter HARQ-ACK-spatial-bundling-PUCCH is not set to true.
  • the ACK bit may be set to NACK and the second HARQ-ACK bit may be set to o ACK a (8j + 2 (V DL C-DAI, c, m ⁇ 1) +1).
  • V s may be set to V s ⁇ ⁇ 8 j + 2 (V DL C-DAI, c, m- 1), 8 j + 2 (V DL C- D AI , c, m- 1) + 1 ⁇ .
  • Y ⁇ Z may indicate the union of the set Y and the set Z.
  • ⁇ * ⁇ May be a set including *.
  • step A24 1) at least one of the M PDCCH monitoring opportunities 1001 associated with the HARQ-ACK codebook 1000 is set 1) the upper layer parameter HARQ-ACK-spatial-bundling-PUCCH is set to true At least one monitoring opportunity of the search area set for which monitoring of the second DCI format is set in the serving cell is included, and / or 3) upper layer parameter Number-MCS-HARQ-DL-DCI is the at least one.
  • Step A25 may be performed when it is indicated that one transport channel is included in one PDSCH in the serving cell.
  • a first HARQ-ACK bit corresponding to a first transport block of the serving cell c, o ACK a (4j + V DL C-DAI, c, m -1), and a second transport of the serving cell c It may be set to a value given by a binary AND operation of a second HARQ-ACK bit corresponding to the block.
  • step A25 1) PDSCH 1004 scheduled by DCI format 1003 included in PDCCH 1002 detected in PDCCH monitoring opportunity m in serving cell c includes the first transport block, and 2) the PDSCH 1004 is the second transport
  • the second HARQ-ACK bit for the second transport block is set to ACK if it does not contain a block, and the logical product of the first HARQ-ACK bit and the second HARQ-ACK bit the results o ACK a (4j + V DL C-DAI, c, m -1) may be set to.
  • PDSCH 1004 scheduled by DCI format 1003 included in PDCCH 1002 detected in monitoring opportunity m of PDCCH in serving cell c includes the first transport block
  • the PDSCH 1004 transmits the second transport block.
  • the second HARQ for the second transport block if the upper layer parameter HARQ-ACK-spatial-bundling-PUCCH is set to true.
  • the ACK bit is set to ACK, and the result of the logical product of the first HARQ-ACK bit and the second HARQ-ACK bit is set to o ACK a (4j + V DL C-DAI, c, m -1). May be
  • step A25 1) PDSCH 1004 scheduled by DCI format 1003 included in PDCCH 1002 detected in PDCCH monitoring opportunity m in serving cell c includes the first transport block, and 2) the PDSCH 1004 is the second transport Block and / or 3) the first HARQ-ACK bit and the second HARQ-ACK bit corresponding to the first transport block, with the value of o ACK a (4 j + V DL C-DAI, c, m -1)
  • the second HARQ-ACK bit may be set to ACK if given by the conjunction of the HARQ-ACK bits of
  • the logical product of the first HARQ-ACK bit and the second HARQ-ACK bit whose value of o ACK a (4j + V DL C-DAI, c, m -1) corresponds to the first transport block What is given by may be that spatial bundling is applied.
  • PDSCH 1004 scheduled by DCI format 1003 included in PDCCH 1002 detected in monitoring opportunity m of PDCCH in serving cell c includes the first transport block, and 2) the PDSCH 1004 transmits the second transport block.
  • the upper layer parameter Number-MCS-HARQ-DL-DCI indicates that one PDSCH in the at least one serving cell includes two transport blocks; Beauty / or, 5) o ACK a (4j + V DL C-DAI, c, first HARQ-ACK bits and the second HARQ-ACK bits the value of m -1) corresponds to a transport block of the first
  • the second HARQ-ACK bit may be set to ACK if given by the conjunction of
  • PDSCH 1004 scheduled by the DCI format 1003 included in the PDCCH 1002 detected in the PDCCH monitoring opportunity m in the serving cell c includes the first transport block
  • the PDSCH 1004 selects the second transport block 3) At least one monitoring opportunity for a search area set in which monitoring of the second DCI format is configured in at least one serving cell in M PDCCH monitoring opportunities 1001 related to the HARQ-ACK codebook 1000 4) whether the upper layer parameter Number-MCS-HARQ-DL-DCI is one transport block in one PDSCH in the at least one serving cell And / or 5) based at least on some or all of whether the upper layer parameter HARQ-ACK-spatial-bundling-PUCCH is set to true.
  • Te, o ACK a (8j + 2 (V DL C-DAI, c, m -1) +1) may be set to the ACK or NACK.
  • the PDSCH 1004 scheduled by the DCI format 1003 included in the PDCCH 1002 detected in the PDCCH monitoring opportunity m in the serving cell c includes the first transport block, and 2) the PDSCH 1004 does not include the second transport block 3) at least one monitoring opportunity of a search region set in which monitoring of the second DCI format is configured in at least one serving cell in M PDCCH monitoring opportunities 1001 related to the HARQ-ACK codebook 1000; 4)
  • the upper layer parameter Number-MCS-HARQ-DL-DCI indicates that one PDSCH in the at least one serving cell includes two transport blocks.
  • o ACK a (8j + 2 (V DL C-DAI, c, m -1) +1) may be set to ACK or NACK.
  • the PDSCH 1004 scheduled by the DCI format 1003 included in the PDCCH 1002 detected in the PDCCH monitoring opportunity m in the serving cell c includes the first transport block, and 2) the PDSCH 1004 does not include the second transport block 3) at least one monitoring opportunity of a search region set in which monitoring of the second DCI format is configured in at least one serving cell in M PDCCH monitoring opportunities 1001 related to the HARQ-ACK codebook 1000; 4)
  • the upper layer parameter Number-MCS-HARQ-DL-DCI indicates that one PDSCH in the at least one serving cell includes two transport blocks.
  • o ACK a (8j + 2 (V DL C-DAI, c, m -1 )) May be set to NACK.
  • the PDSCH 1004 scheduled by the DCI format 1003 included in the PDCCH 1002 detected in the PDCCH monitoring opportunity m in the serving cell c includes the first transport block, 2) The PDSCH 1004 selects the second transport block 3) At least one monitoring opportunity for a search area set in which monitoring of the second DCI format is configured in at least one serving cell in M PDCCH monitoring opportunities 1001 related to the HARQ-ACK codebook 1000 4) whether the upper layer parameter Number-MCS-HARQ-DL-DCI is used in two transport blocks in one PDSCH in the at least one serving cell.
  • the upper layer parameter HARQ-ACK-spatial-bundling-PUCCH is at least partially based on at least some or all of whether it is set to true. Then, the second HARQ-ACK bit may be set to ACK or NACK.
  • the PDSCH 1004 scheduled by the DCI format 1003 included in the PDCCH 1002 detected in the PDCCH monitoring opportunity m in the serving cell c includes the first transport block, and 2) the PDSCH 1004 does not include the second transport block 3) at least one monitoring opportunity of a search region set in which monitoring of the second DCI format is configured in at least one serving cell in M PDCCH monitoring opportunities 1001 related to the HARQ-ACK codebook 1000; 4) Upper layer parameter Number-MCS-HARQ-DL-DCI indicates that one PDSCH in the at least one serving cell includes two transport blocks If it is urchin set, parameters HARQ-ACK-spatial-bundling-PUCCH upper layer is based on whether they are set to true, the second HARQ-ACK bits may be set to the ACK or NACK.
  • the PDSCH 1004 scheduled by the DCI format 1003 included in the PDCCH 1002 detected in the PDCCH monitoring opportunity m in the serving cell c includes the first transport block, and 2) the PDSCH 1004 does not include the second transport block 3) at least one monitoring opportunity of a search region set in which monitoring of the second DCI format is configured in at least one serving cell in M PDCCH monitoring opportunities 1001 related to the HARQ-ACK codebook 1000; 4) Upper layer parameter Number-MCS-HARQ-DL-DCI indicates that one PDSCH in the at least one serving cell includes two transport blocks Is urchin set, and / or, 5) if the parameter HARQ-ACK-spatial-bundling-PUCCH upper layer is not set to true, the second HARQ-ACK bits may be set to NACK.
  • V s may be set to V s ⁇ ⁇ 4j + V DL C ⁇ DAI, c, m ⁇ 1 ⁇ .
  • step A27 at least M PDCCH monitoring opportunities 1001 associated with the HARQ-ACK codebook 1000 do not include monitoring region set monitoring opportunities for which the second DCI format monitoring is configured in any serving cell.
  • step A28 may be performed.
  • step A27 a monitoring opportunity of a search area set for which monitoring of the second DCI format is configured in at least one serving cell in at least M PDCCH monitoring opportunities 1001 associated with the HARQ-ACK codebook 1000 is included, and And / or step A28 if at least the upper layer parameter Number-MCS-HARQ-DL-DCI is not set to indicate reception of two transport blocks in one PDSCH in the at least one serving cell It may be performed.
  • o ACK a (4j + V DL C-DAI, c, m -1) may be set to a first value of HARQ-ACK bits corresponding to the first transport block of the serving cell c.
  • o ACK a (4j + V DL C-DAI, c, m -1) may be set to the value of the HARQ-ACK bits of the serving cell c.
  • V s may be set to V s ⁇ ⁇ 4j + V DL C ⁇ DAI, c, m ⁇ 1 ⁇ .
  • Step A30 may indicate the completion of the operation of step A11.
  • c may be set to c + 1.
  • step A32 step A10 may be performed.
  • m may be set to m + 1.
  • step A34 step A9 may be performed.
  • Each of a first HARQ-ACK bit corresponding to a first transport block included in PDSCH 1004 and a second HARQ-ACK bit corresponding to a second transport block included in the PDSCH is a HARQ-ACK codebook Whether or not it is included in 1000 is 1) whether or not the upper layer parameter HARQ-ACK-spatial-bundling-PUCCH is set to true; 2) M PDCCHs associated with the HARQ-ACK codebook 1000 Whether at least one monitoring opportunity of a search area set for which monitoring of the second DCI format is set in at least one serving cell in the monitoring opportunity 1001 is included and / or 3) upper layer parameter Number-MCS- HA Q-DL-DCI is whether it is set as shown to receive two transport blocks in one PDSCH in one serving the at least, may be based at least on given to some or all of the.
  • the value given by the logical product of the first HARQ-ACK bit corresponding to the first transport block included in PDSCH 1004 and the second HARQ-ACK bit corresponding to the second transport block included in PDSCH 1004 is 1) whether or not the upper layer parameter HARQ-ACK-spatial-bundling-PUCCH is set to true; 2) related to the HARQ-ACK codebook 1000 Whether at least one monitoring opportunity of a search area set for which monitoring of the second DCI format is configured in at least one serving cell in M PDCCH monitoring opportunities 1001 is included and / or 3) upper layer Parameter N mber-MCS-HARQ-DL-DCI is provided based at least in part or all on whether or not it is set to indicate receiving two transport blocks in one PDSCH in the at least one serving cell. May be
  • step A35 the fifth evaluation formula V temp2 ⁇ V temp may be executed. If the fifth evaluation formula is true, step A36 may be performed. If the fifth evaluation expression is false, step A37 may be performed.
  • step A36 j may be set to j + 1.
  • Step A37 may be a step indicating the completion of step A35.
  • step A38 1) at least one of M PDCCH monitoring opportunities 1001 related to the HARQ-ACK codebook 1000 is not set to 2) the upper layer parameter HARQ-ACK-spatial-bundling-PUCCH is set to true At least one monitoring opportunity of the search area set for which monitoring of the second DCI format is set in the serving cell is included, and / or 3) upper layer parameter Number-MCS-HARQ-DL-DCI is the at least one.
  • Step A39 may be performed if it is set to indicate that one transport channel is included in one PDSCH in the serving cell.
  • O ACK may be set to 2 (4 j + V temp2 ).
  • step 41 may be performed if at least the upper layer parameter HARQ-ACK-spatial-bundling-PUCCH is set to true.
  • step A40 if there is no monitoring opportunity set for the search area set for which monitoring of the second DCI format is configured in the serving cell in at least M PDCCH monitoring opportunities 1001 related to the HARQ-ACK codebook 1000.
  • A41 may be executed.
  • step A40 a monitoring opportunity of a search area set for which monitoring of the second DCI format is configured in at least one serving cell in M PDCCH monitoring opportunities 1001 associated with the HARQ-ACK codebook 1000 is included, and / Or 3) if the upper layer parameter Number-MCS-HARQ-DL-DCI is not set to indicate that two transport blocks are included in one PDSCH in the at least one serving cell, step A42 May be performed.
  • O ACK may be set to 4j + V temp2.
  • the length O ACK of the sequence of HARQ-ACK codebook 1000 is 1) whether or not the upper layer parameter HARQ-ACK-spatial-bundling-PUCCH is set to true, 2) related to HARQ-ACK codebook 1000 Whether or not at least one monitoring opportunity of a search area set is set in which monitoring of the second DCI format is configured in at least one serving cell in M PDCCH monitoring opportunities 1001, and / or 3) upper layer
  • the parameter Number-MCS-HARQ-DL-DCI is given based at least in part or all on whether or not it is set to indicate that two transport blocks are to be received in one PDSCH in the serving cell. Too Yes.
  • the upper layer parameter Number-MCS-HARQ-DL-DCI is set to indicate that it will receive two transport blocks in one PDSCH in the serving cell, in the second DCI format It may mean that the MCS field for transport block is included.
  • the upper layer parameter Number-MCS-HARQ-DL-DCI being set to indicate that it receives two transport blocks in one PDSCH in the serving cell corresponds to the first transport block
  • a second HARQ-ACK corresponding to the first HARQ-ACK and the second transport block may be generated on the PUCCH.
  • the upper layer parameter Number-MCS-HARQ-DL-DCI indicates whether the second DCI format includes an MCS field for the second transport block.
  • the second DCI format includes an MCS field for the second transport block. If the upper layer parameter Number-MCS-HARQ-DL-DCI is not set to the third predetermined value, the second DCI format does not include the MCS field for the second transport block.
  • i N ⁇ ⁇ 0, 1,. . .
  • o ACK a (i N) may be set to a value of NACK.
  • V ⁇ W may indicate a set obtained by subtracting the elements included in the set W from the set V.
  • V ⁇ W may be a difference set with respect to W of V.
  • step A43 a PDSCH (SPS PDSCH) scheduled by a grant set in one or more slots in M PDCCH monitoring opportunities 1001 related to the HARQ-ACK codebook 1000 is set to be received, And, when transmission of the SPS PDSCH is activated, step A44 may be performed.
  • SPS PDSCH SPS PDSCH
  • O ACK may be set to O ACK +1.
  • O ACK may be set to O ACK + N SPS.
  • the N SPS may be the number of SPS PDSCHs configured to be received at the M PDCCH monitoring opportunities 1001 associated with the HARQ-ACK codebook 1000.
  • o ACK a (o ACK a -1) may be set to the value of the HARQ-ACK bit corresponding to the transport block included in the SPS PDSCH.
  • o ACK a (o ACK a- i SPS ) may be set to the value of the HARQ-ACK bit corresponding to the transport block included in the SPS PDSCH.
  • the i SPS is i SPS ⁇ ⁇ 0, 1,. . . , N SPS -1 ⁇ may be satisfied.
  • one or more SPS PDSCHs each configured to receive o ACK a (o ACK a -1) at M PDCCH monitoring opportunities 1001 associated with the HARQ-ACK codebook 1000 It may be set to the value given by the logical product of the HARQ-ACK bits corresponding to the transport block included in.
  • Step A46 may indicate the completion of the operation of step A43.
  • the first to fifth evaluation formulas are also referred to as evaluation formulas. That the evaluation expression is true may be that the evaluation expression is satisfied. The fact that the evaluation expression is false may mean that the evaluation expression is not true. The fact that the evaluation expression is false may mean that the evaluation expression is not satisfied.
  • a first aspect of the present invention is a terminal apparatus, comprising: a reception unit that monitors PDCCH including a DCI format; and a transmission unit that transmits HARQ-ACK on PUCCH, and the HARQ-ACK HARQ -Ack Codebook Size O Ack 1) At least one monitoring region set monitoring opportunity where DCI format monitoring is configured in at least one serving cell in M PDCCH monitoring opportunities related to the HARQ-ACK codebook Whether one is included and / or 2) a part of whether the upper layer parameter Number-MCS-HARQ-DL-DCI is set to a predetermined value for the at least one serving cell Or at least based on all.
  • the predetermined value may be set to indicate that one PDSCH in the at least one serving cell includes two transport blocks.
  • the one PDSCH may be scheduled according to the DCI format.
  • the size O ACK is further given based on at least whether upper layer parameter HARQ-ACK-spatial-bundling-PUCCH is set to true or not.
  • the receiving unit receives the first transport block and the second transport block included in the PDSCH scheduled by the PDCCH, and the upper layer parameter HARQ-ACK-spatial-bundling-PUCCH is set to true.
  • the HARQ-ACK codebook includes a first HARQ-ACK bit corresponding to the first transport block and a second HARQ-ACK bit corresponding to the second transport block, Previous If the upper layer parameter HARQ-ACK-spatial-bundling-PUCCH is set to true, the HARQ-ACK codebook may include the first HARQ-ACK bit corresponding to the first transport block. And a bit provided by a binary AND operation of the second HARQ-ACK bit corresponding to the second transport block.
  • a second aspect of the present invention is a base station apparatus, comprising: a transmitter configured to transmit a PDCCH including a DCI format; and a receiver configured to receive HARQ-ACK on a PUCCH;
  • HARQ-ACK codebook size O ACK of -ACK is 1) the HARQ-ACK in at least one serving cell in the M PDCCH monitoring opportunities related to the codebook search area set to monitor the DCI format is set Whether at least one monitoring opportunity is included and / or 2) whether the upper layer parameter Number-MCS-HARQ-DL-DCI is set to a predetermined value for the at least one serving cell , At least based on part or all of.
  • the predetermined value may be set to indicate that one PDSCH in the at least one serving cell includes two transport blocks.
  • the one PDSCH may be scheduled according to the DCI format.
  • the size O ACK is further given based on at least whether upper layer parameter HARQ-ACK-spatial-bundling-PUCCH is set to true or not.
  • the transmitting unit transmits the first transport block and the second transport block included in the PDSCH scheduled by the PDCCH, and the upper layer parameter HARQ-ACK-spatial-bundling-PUCCH is set to true.
  • the HARQ-ACK codebook includes a first HARQ-ACK bit corresponding to the first transport block and a second HARQ-ACK bit corresponding to the second transport block, Previous If the upper layer parameter HARQ-ACK-spatial-bundling-PUCCH is set to true, the HARQ-ACK codebook may include the first HARQ-ACK bit corresponding to the first transport block. And a bit provided by a binary AND operation of the second HARQ-ACK bit corresponding to the second transport block.
  • a terminal apparatus comprising: a receiving unit that monitors PDCCH including a DCI format; and a transmitting unit that transmits HARQ-ACK on PUCCH,
  • the first transport block included in the PDSCH to be scheduled is received, and the HARQ-ACK is a first HARQ-ACK bit corresponding to the first transport block and a first corresponding to a second transport block.
  • the transmission unit is provided based on at least two HARQ-ACK bits, and the transmission unit 1) at least one monitoring opportunity of a search region set in which monitoring of DCI format is configured in at least one serving cell in M PDCCH monitoring opportunities Included or not and / or 2) at least Whether the upper layer parameter Number-MCS-HARQ-DL-DCI is set to a predetermined value for one serving cell, 3) one of the values of the upper layer parameter HARQ-ACK-spatial-bundling-PUCCH
  • the second HARQ-ACK bit is generated based at least on part or all.
  • the transmitting unit 1) monitoring opportunity of a search area set in which monitoring of DCI format is set in the at least one serving cell in the M PDCCH monitoring opportunities. And 2) the upper layer parameter Number-MCS-HARQ-DL-DCI is set to the predetermined value for the at least one serving cell, and 3) for the upper layer.
  • An ACK is generated as the second HARQ-ACK bit if the parameter HARQ-ACK-spatial-bundling-PUCCH is set to a second predetermined value.
  • a fourth aspect of the present invention is a base station apparatus, comprising: a transmitter configured to transmit a PDCCH including a DCI format; and a receiver configured to receive HARQ-ACK on a PUCCH, Transmitting a first transport block included in the PDSCH scheduled by the transmitting unit, and the HARQ-ACK corresponds to a first HARQ-ACK bit corresponding to the first transport block and a second transport block
  • the receiving unit is provided based on at least a second HARQ-ACK bit, and the receiving unit is configured to: 1) at least one monitoring opportunity of a search region set in which monitoring of a DCI format is configured in at least one serving cell in M PDCCH monitoring opportunities One or not and / or 2) less Also, whether the upper layer parameter Number-MCS-HARQ-DL-DCI is set to a predetermined value for one serving cell, 3) the value of the upper layer parameter HARQ-ACK-spatial-bundling-PUCCH
  • the HARQ-ACK is received based at least
  • the receiving unit 1) monitoring opportunity of a search area set in which monitoring of DCI format is set in the at least one serving cell in the M PDCCH monitoring opportunities. And 2) the upper layer parameter Number-MCS-HARQ-DL-DCI is set to the predetermined value for the at least one serving cell, and 3) for the upper layer.
  • the parameter HARQ-ACK-spatial-bundling-PUCCH is set to a second predetermined value, the HARQ-ACK is received based on the generation of an ACK as the second HARQ-ACK bit.
  • the 5th aspect of this invention is a terminal device, Comprising: The receiving part which receives PDCCH containing a DCI format, The transmission part which transmits PUCCH, The said DCI format schedules PDSCH And if the last OFDM symbol of the PDSCH is mapped to a first slot, the PUCCH is transmitted in a second slot, and the number of slots from the first slot to the second slot is The PDSCH-to-HARQ-timing-indicator field is given, and the length of each of the slots is given based on the setting of the subcarrier spacing of the PUCCH.
  • the setting of the subcarrier interval of the PUCCH is a setting of a subcarrier interval set in a band in which the PUCCH is transmitted.
  • a sixth aspect of the present invention is a base station apparatus, comprising: a transmitter configured to transmit a PDCCH including a DCI format; and a receiver configured to receive a PUCCH, wherein the DCI format is PDSCH.
  • the PUCCH is transmitted in the second slot, and the number of slots from the first slot to the second slot Is given based on the PDSCH-to-HARQ-timing-indicator field, and the length of each of the slots is given based on the setting of the subcarrier spacing of the PUCCH.
  • the setting of the subcarrier interval of the PUCCH is a setting of a subcarrier interval set in a band in which the PUCCH is transmitted.
  • a seventh aspect of the present invention is a communication method used for a terminal device, comprising the steps of: receiving PDCCH including a DCI format; and transmitting PUCCH, wherein the DCI format is The PUCCH is transmitted in the second slot and the slot from the first slot to the second slot, if scheduling the PDSCH and the last OFDM symbol of the PDSCH is mapped to the first slot Is given based on the PDSCH-to-HARQ-timing-indicator field, and the length of each of the slots is given based on the setting of the subcarrier spacing of the PUCCH.
  • an eighth aspect of the present invention is a communication method used for a base station apparatus, comprising the steps of: transmitting PDCCH including a DCI format; and receiving PUCCH, wherein the DCI format
  • the PUCCH is transmitted in a second slot and the first slot to the second slot if the PDSCH is scheduled and the last OFDM symbol of the PDSCH is mapped to the first slot.
  • the number of slots is given based on the PDSCH-to-HARQ-timing-indicator field, and the length of each of the slots is given based on the setting of the subcarrier spacing of the PUCCH.
  • the base station device 3 according to an aspect of the present invention and a program operating on the terminal device 1 control a central processing unit (CPU) or the like so as to realize the functions of the above embodiments according to the aspect of the present invention. It may be a program (a program that causes a computer to function). Then, information handled by these devices is temporarily stored in RAM (Random Access Memory) at the time of processing, and then stored in various ROMs such as Flash ROM (Read Only Memory) and HDD (Hard Disk Drive). The CPU reads, corrects and writes as needed.
  • RAM Random Access Memory
  • ROMs Read Only Memory
  • HDD Hard Disk Drive
  • the terminal device 1 and a part of the base station device 3 in the above-described embodiment may be realized by a computer.
  • a program for realizing the control function may be recorded in a computer readable recording medium, and the computer system may read and execute the program recorded in the recording medium.
  • the “computer system” is a computer system built in the terminal device 1 or the base station device 3 and includes an OS and hardware such as peripheral devices.
  • the “computer-readable recording medium” means a portable medium such as a flexible disk, a magneto-optical disk, a ROM, a CD-ROM, or a storage device such as a hard disk built in a computer system.
  • the “computer-readable recording medium” is one that holds a program dynamically for a short time, like a communication line in the case of transmitting a program via a network such as the Internet or a communication line such as a telephone line.
  • a volatile memory in a computer system serving as a server or a client may be included, which holds a program for a predetermined time.
  • the program may be for realizing a part of the functions described above, or may be realized in combination with the program already recorded in the computer system.
  • the base station apparatus 3 in embodiment mentioned above can also be implement
  • Each of the devices forming the device group may include all or part of each function or each functional block of the base station device 3 according to the above-described embodiment. It is sufficient to have one function or each functional block of the base station apparatus 3 as an apparatus group.
  • the terminal device 1 in connection with the embodiment described above can also communicate with the base station device as an aggregate.
  • the base station device 3 in the above-described embodiment may be Evolved Universal Terrestrial Radio Access Network (EUTRAN) and / or NG-RAN (Next Gen RAN, NR RAN). Also, the base station device 3 in the above-described embodiment may have some or all of the functions of the upper node with respect to the eNodeB and / or the gNB.
  • EUTRAN Evolved Universal Terrestrial Radio Access Network
  • NG-RAN Next Gen RAN, NR RAN
  • the base station device 3 in the above-described embodiment may have some or all of the functions of the upper node with respect to the eNodeB and / or the gNB.
  • a part or all of the terminal device 1 and the base station device 3 in the above-described embodiment may be realized as an LSI, which is typically an integrated circuit, or may be realized as a chip set.
  • Each functional block of the terminal device 1 and the base station device 3 may be chiped individually, or a part or all of the functional blocks may be integrated and chipped.
  • the method of circuit integration is not limited to LSI's, and implementation using dedicated circuitry or general purpose processors is also possible. In the case where an integrated circuit technology comes out to replace LSI's as a result of the advancement of semiconductor technology, it is also possible to use an integrated circuit according to such technology.
  • the terminal device is described as an example of the communication device, but the present invention is not limited to this, and a stationary or non-movable electronic device installed indoors and outdoors,
  • the present invention can be applied to terminal devices or communication devices such as AV devices, kitchen devices, cleaning and washing devices, air conditioners, office devices, vending machines, and other home appliances.

Landscapes

  • Engineering & Computer Science (AREA)
  • Signal Processing (AREA)
  • Computer Networks & Wireless Communication (AREA)
  • Mobile Radio Communication Systems (AREA)
  • Detection And Prevention Of Errors In Transmission (AREA)
PCT/JP2019/000387 2018-01-10 2019-01-09 端末装置、基地局装置、および、通信方法 Ceased WO2019139049A1 (ja)

Priority Applications (5)

Application Number Priority Date Filing Date Title
CN201980007695.7A CN111670551B (zh) 2018-01-10 2019-01-09 终端装置、基站装置以及通信方法
MX2020007379A MX2020007379A (es) 2018-01-10 2019-01-09 Aparato terminal, aparato de estacion base y metodo de comunicacion.
EP19737973.8A EP3739783A4 (en) 2018-01-10 2019-01-09 TERMINAL DEVICE, BASE STATION DEVICE AND COMMUNICATION PROCEDURES
US16/960,561 US11445533B2 (en) 2018-01-10 2019-01-09 PUCCH timing for terminal apparatus, base station apparatus, and communication method in a wireless communication system
CONC2020/0008553A CO2020008553A2 (es) 2018-01-10 2020-07-13 Aparato terminal, aparato de estación base y método de comunicación

Applications Claiming Priority (2)

Application Number Priority Date Filing Date Title
JP2018001724A JP2019121978A (ja) 2018-01-10 2018-01-10 端末装置、基地局装置、および、通信方法
JP2018-001724 2018-01-10

Publications (1)

Publication Number Publication Date
WO2019139049A1 true WO2019139049A1 (ja) 2019-07-18

Family

ID=67219226

Family Applications (1)

Application Number Title Priority Date Filing Date
PCT/JP2019/000387 Ceased WO2019139049A1 (ja) 2018-01-10 2019-01-09 端末装置、基地局装置、および、通信方法

Country Status (8)

Country Link
US (1) US11445533B2 (enExample)
EP (1) EP3739783A4 (enExample)
JP (1) JP2019121978A (enExample)
CN (1) CN111670551B (enExample)
CL (1) CL2020001834A1 (enExample)
CO (1) CO2020008553A2 (enExample)
MX (1) MX2020007379A (enExample)
WO (1) WO2019139049A1 (enExample)

Cited By (3)

* Cited by examiner, † Cited by third party
Publication number Priority date Publication date Assignee Title
WO2021205609A1 (ja) * 2020-04-09 2021-10-14 株式会社Nttドコモ 端末、無線通信方法及び基地局
US11445533B2 (en) 2018-01-10 2022-09-13 Sharp Kabushiki Kaisha PUCCH timing for terminal apparatus, base station apparatus, and communication method in a wireless communication system
CN116326032A (zh) * 2020-09-30 2023-06-23 日本电气株式会社 用于通信的方法、设备和计算机存储介质

Families Citing this family (15)

* Cited by examiner, † Cited by third party
Publication number Priority date Publication date Assignee Title
WO2019138516A1 (ja) * 2018-01-11 2019-07-18 株式会社Nttドコモ ユーザ端末及び無線通信方法
WO2019191929A1 (zh) * 2018-04-04 2019-10-10 Oppo广东移动通信有限公司 传输上行控制信息的方法、终端设备和网络设备
EP3799492A4 (en) * 2018-05-21 2022-01-26 Ntt Docomo, Inc. USER DEVICE
JP7286288B2 (ja) * 2018-09-21 2023-06-05 シャープ株式会社 基地局装置、端末装置、通信方法、および、集積回路
US11825418B2 (en) * 2018-10-17 2023-11-21 Apple Inc. Enhanced physical uplink control channel (PUCCH) power control
EP3909361A4 (en) * 2019-01-10 2022-10-12 Sharp Kabushiki Kaisha CONFIGURATION OF A URLLC UPLINK PHYSICAL CONTROL CHANNEL (PUCCH) WITH SUB-SLOT STRUCTURE
US12004185B2 (en) * 2019-04-19 2024-06-04 Telefonaktiebolaget Lm Ericsson (Publ) Setting HARQ timing for PDSCH with pending PDSCH-to-HARQ-timing-indicator
WO2021007823A1 (zh) * 2019-07-17 2021-01-21 北京小米移动软件有限公司 信息指示、确定方法及装置、通信设备及存储介质
JP7344713B2 (ja) * 2019-08-08 2023-09-14 シャープ株式会社 端末装置および通信方法
CN113300789B (zh) * 2020-02-21 2022-09-23 大唐移动通信设备有限公司 信道监听及其控制方法及装置
WO2021189366A1 (zh) * 2020-03-26 2021-09-30 Oppo广东移动通信有限公司 物理信道监测方法和终端设备
JP7510003B2 (ja) * 2020-10-08 2024-07-02 アップル インコーポレイテッド サブキャリア間隔に基づく新無線(nr)における受信および送信
CN114765884A (zh) * 2021-01-13 2022-07-19 北京三星通信技术研究有限公司 一种信号的传输方法和设备
CN114765867A (zh) 2021-01-14 2022-07-19 北京三星通信技术研究有限公司 一种信号的传输方法和设备
EP4266763A4 (en) * 2021-01-18 2024-03-06 Huawei Technologies Co., Ltd. COMMUNICATION METHOD AND APPARATUS

Citations (1)

* Cited by examiner, † Cited by third party
Publication number Priority date Publication date Assignee Title
JP2018001724A (ja) 2016-07-08 2018-01-11 富士ゼロックス株式会社 3次元データ生成装置、造形装置、造形物の製造方法及びプログラム

Family Cites Families (14)

* Cited by examiner, † Cited by third party
Publication number Priority date Publication date Assignee Title
HUE033080T2 (en) * 2012-09-27 2017-11-28 ERICSSON TELEFON AB L M (publ) Procedures and Systems for TDD PUCCH HARQ Resource Allocation for Extended Physical Downlink Control Channel (EPDCCH)
US9565640B2 (en) 2013-04-19 2017-02-07 Lg Electronics Inc. Power control method and apparatus in wireless access system
JP6584958B2 (ja) * 2013-12-26 2019-10-02 シャープ株式会社 端末装置、基地局装置および通信方法
JP6592445B2 (ja) 2014-09-03 2019-10-16 シャープ株式会社 端末、および、基地局
JP6721577B2 (ja) * 2015-05-15 2020-07-15 シャープ株式会社 端末装置、基地局装置、および通信方法
KR20180046358A (ko) * 2016-10-27 2018-05-08 주식회사 케이티 차세대 무선 액세스망을 위한 스케줄링 방법 및 장치
CN110169164B (zh) * 2016-11-01 2023-06-20 株式会社Ntt都科摩 用户终端及无线通信方法
CN111903170B (zh) * 2017-03-23 2022-11-29 苹果公司 用于新空口载波聚合的调度和混合自动重传请求操作以及码本设计
US10548096B2 (en) * 2017-04-21 2020-01-28 Samsung Electronics Co., Ltd. Information type multiplexing and power control
US20180367262A1 (en) * 2017-06-14 2018-12-20 Mediatek Inc. Techniques of transmitting harq-ack feedback by user equipment
EP3639492B1 (en) * 2017-06-15 2024-04-03 Nec Corporation Method and device for cross-numerology scheduling
US10306669B2 (en) * 2017-10-26 2019-05-28 Telefonaktiebolaget Lm Ericsson (Publ) Physical uplink control channel (PUCCH) resource allocation
US10666480B2 (en) * 2017-11-16 2020-05-26 Ofinno, Llc Bandwidth part slot format indication
JP2019121978A (ja) 2018-01-10 2019-07-22 シャープ株式会社 端末装置、基地局装置、および、通信方法

Patent Citations (1)

* Cited by examiner, † Cited by third party
Publication number Priority date Publication date Assignee Title
JP2018001724A (ja) 2016-07-08 2018-01-11 富士ゼロックス株式会社 3次元データ生成装置、造形装置、造形物の製造方法及びプログラム

Non-Patent Citations (4)

* Cited by examiner, † Cited by third party
Title
"3rd Generation Partnership Project; Technical Specification Group Radio Access Network; NR; Physical layer procedures for control (Release 15)", 3GPP TS 38.213, vol. 30, no. 31, 12 December 2017 (2017-12-12), pages 1 - 21, XP051391905, Retrieved from the Internet <URL:http://www.3gpp.org/ftp/Specs/archive/38_series/38.213/38213-f00.zip> [retrieved on 20190131] *
ERICSSON: "Outcome of offline discussion on DCI content", 3GPP TSG-RAN WG1 #91 RL-1721642, 1 December 2017 (2017-12-01), XP051370665, Retrieved from the Internet <URL:http://www.3gpp.org/ftp/tsg_ran/WG1_RL1/TSGR1_91/Docs/R1-1721642.zip> [retrieved on 20190131] *
NTT DOCOMO: "New SID proposal: Study on New Radio Access Technology", RP-160671, March 2016 (2016-03-01)
See also references of EP3739783A4

Cited By (6)

* Cited by examiner, † Cited by third party
Publication number Priority date Publication date Assignee Title
US11445533B2 (en) 2018-01-10 2022-09-13 Sharp Kabushiki Kaisha PUCCH timing for terminal apparatus, base station apparatus, and communication method in a wireless communication system
WO2021205609A1 (ja) * 2020-04-09 2021-10-14 株式会社Nttドコモ 端末、無線通信方法及び基地局
CN115699937A (zh) * 2020-04-09 2023-02-03 株式会社Ntt都科摩 终端、无线通信方法以及基站
JP7481433B2 (ja) 2020-04-09 2024-05-10 株式会社Nttドコモ 端末、無線通信方法、基地局及びシステム
CN116326032A (zh) * 2020-09-30 2023-06-23 日本电气株式会社 用于通信的方法、设备和计算机存储介质
CN116326032B (zh) * 2020-09-30 2025-09-05 日本电气株式会社 用于通信的方法、设备和计算机存储介质

Also Published As

Publication number Publication date
CO2020008553A2 (es) 2020-10-30
EP3739783A1 (en) 2020-11-18
CN111670551B (zh) 2024-06-11
JP2019121978A (ja) 2019-07-22
MX2020007379A (es) 2020-09-03
US20200337077A1 (en) 2020-10-22
US11445533B2 (en) 2022-09-13
CN111670551A (zh) 2020-09-15
CL2020001834A1 (es) 2020-10-23
EP3739783A4 (en) 2021-08-18

Similar Documents

Publication Publication Date Title
CN111670551B (zh) 终端装置、基站装置以及通信方法
CN111670552B (zh) 终端装置、基站装置以及通信方法
CN112997527B (zh) 终端装置、基站装置以及通信方法
JP7156887B2 (ja) 端末装置、基地局装置、および、通信方法
WO2019216430A1 (ja) 端末装置、基地局装置、および、通信方法
WO2019151051A1 (ja) 端末装置、基地局装置、および、通信方法
WO2019088254A1 (ja) 端末装置、基地局装置、および、通信方法
US20220132620A1 (en) Terminal apparatus, base station apparatus, and communication method
WO2020059671A1 (ja) 端末装置、基地局装置、および、通信方法
WO2020145306A1 (ja) 端末装置、基地局装置、および、通信方法
WO2020004627A1 (ja) 端末装置、基地局装置、および、通信方法
WO2020090367A1 (ja) 端末装置、基地局装置、および、通信方法
WO2020031699A1 (ja) 端末装置、基地局装置、および、通信方法
CN113455074B (zh) 终端装置、基站装置以及方法
JP7303225B2 (ja) 端末装置、基地局装置、および、通信方法
WO2020137735A1 (ja) 基地局装置、および、通信方法
WO2020170913A1 (ja) 端末装置、基地局装置、および、通信方法

Legal Events

Date Code Title Description
121 Ep: the epo has been informed by wipo that ep was designated in this application

Ref document number: 19737973

Country of ref document: EP

Kind code of ref document: A1

NENP Non-entry into the national phase

Ref country code: DE

WWE Wipo information: entry into national phase

Ref document number: NC2020/0008553

Country of ref document: CO

ENP Entry into the national phase

Ref document number: 2019737973

Country of ref document: EP

Effective date: 20200810

WWP Wipo information: published in national office

Ref document number: NC2020/0008553

Country of ref document: CO

WWW Wipo information: withdrawn in national office

Ref document number: 2019737973

Country of ref document: EP