WO2018207581A1 - Client apparatus, client apparatus processing method, server, and server processing method - Google Patents

Client apparatus, client apparatus processing method, server, and server processing method Download PDF

Info

Publication number
WO2018207581A1
WO2018207581A1 PCT/JP2018/016067 JP2018016067W WO2018207581A1 WO 2018207581 A1 WO2018207581 A1 WO 2018207581A1 JP 2018016067 W JP2018016067 W JP 2018016067W WO 2018207581 A1 WO2018207581 A1 WO 2018207581A1
Authority
WO
WIPO (PCT)
Prior art keywords
image
information
client
avatar
representative image
Prior art date
Legal status (The legal status is an assumption and is not a legal conclusion. Google has not performed a legal analysis and makes no representation as to the accuracy of the status listed.)
Ceased
Application number
PCT/JP2018/016067
Other languages
English (en)
French (fr)
Inventor
Ikuo Tsukagoshi
Current Assignee (The listed assignees may be inaccurate. Google has not performed a legal analysis and makes no representation or warranty as to the accuracy of the list.)
Sony Corp
Original Assignee
Sony Corp
Priority date (The priority date is an assumption and is not a legal conclusion. Google has not performed a legal analysis and makes no representation as to the accuracy of the date listed.)
Filing date
Publication date
Application filed by Sony Corp filed Critical Sony Corp
Priority to EP18722749.1A priority Critical patent/EP3622715A1/en
Priority to US16/499,475 priority patent/US11240480B2/en
Priority to CN201880029282.4A priority patent/CN110583022B/zh
Publication of WO2018207581A1 publication Critical patent/WO2018207581A1/en
Anticipated expiration legal-status Critical
Ceased legal-status Critical Current

Links

Images

Classifications

    • HELECTRICITY
    • H04ELECTRIC COMMUNICATION TECHNIQUE
    • H04NPICTORIAL COMMUNICATION, e.g. TELEVISION
    • H04N21/00Selective content distribution, e.g. interactive television or video on demand [VOD]
    • H04N21/20Servers specifically adapted for the distribution of content, e.g. VOD servers; Operations thereof
    • H04N21/23Processing of content or additional data; Elementary server operations; Server middleware
    • H04N21/234Processing of video elementary streams, e.g. splicing of video streams or manipulating encoded video stream scene graphs
    • H04N21/2343Processing of video elementary streams, e.g. splicing of video streams or manipulating encoded video stream scene graphs involving reformatting operations of video signals for distribution or compliance with end-user requests or end-user device requirements
    • H04N21/234318Processing of video elementary streams, e.g. splicing of video streams or manipulating encoded video stream scene graphs involving reformatting operations of video signals for distribution or compliance with end-user requests or end-user device requirements by decomposing into objects, e.g. MPEG-4 objects
    • HELECTRICITY
    • H04ELECTRIC COMMUNICATION TECHNIQUE
    • H04LTRANSMISSION OF DIGITAL INFORMATION, e.g. TELEGRAPHIC COMMUNICATION
    • H04L65/00Network arrangements, protocols or services for supporting real-time applications in data packet communication
    • H04L65/60Network streaming of media packets
    • H04L65/70Media network packetisation
    • HELECTRICITY
    • H04ELECTRIC COMMUNICATION TECHNIQUE
    • H04LTRANSMISSION OF DIGITAL INFORMATION, e.g. TELEGRAPHIC COMMUNICATION
    • H04L65/00Network arrangements, protocols or services for supporting real-time applications in data packet communication
    • H04L65/60Network streaming of media packets
    • H04L65/75Media network packet handling
    • H04L65/756Media network packet handling adapting media to device capabilities
    • HELECTRICITY
    • H04ELECTRIC COMMUNICATION TECHNIQUE
    • H04NPICTORIAL COMMUNICATION, e.g. TELEVISION
    • H04N13/00Stereoscopic video systems; Multi-view video systems; Details thereof
    • H04N13/10Processing, recording or transmission of stereoscopic or multi-view image signals
    • H04N13/106Processing image signals
    • H04N13/161Encoding, multiplexing or demultiplexing different image signal components
    • HELECTRICITY
    • H04ELECTRIC COMMUNICATION TECHNIQUE
    • H04NPICTORIAL COMMUNICATION, e.g. TELEVISION
    • H04N13/00Stereoscopic video systems; Multi-view video systems; Details thereof
    • H04N13/10Processing, recording or transmission of stereoscopic or multi-view image signals
    • H04N13/106Processing image signals
    • H04N13/172Processing image signals image signals comprising non-image signal components, e.g. headers or format information
    • H04N13/178Metadata, e.g. disparity information
    • HELECTRICITY
    • H04ELECTRIC COMMUNICATION TECHNIQUE
    • H04NPICTORIAL COMMUNICATION, e.g. TELEVISION
    • H04N21/00Selective content distribution, e.g. interactive television or video on demand [VOD]
    • H04N21/40Client devices specifically adapted for the reception of or interaction with content, e.g. set-top-box [STB]; Operations thereof
    • H04N21/43Processing of content or additional data, e.g. demultiplexing additional data from a digital video stream; Elementary client operations, e.g. monitoring of home network or synchronising decoder's clock; Client middleware
    • H04N21/44Processing of video elementary streams, e.g. splicing a video clip retrieved from local storage with an incoming video stream or rendering scenes according to encoded video stream scene graphs
    • H04N21/44012Processing of video elementary streams, e.g. splicing a video clip retrieved from local storage with an incoming video stream or rendering scenes according to encoded video stream scene graphs involving rendering scenes according to scene graphs, e.g. MPEG-4 scene graphs
    • HELECTRICITY
    • H04ELECTRIC COMMUNICATION TECHNIQUE
    • H04NPICTORIAL COMMUNICATION, e.g. TELEVISION
    • H04N21/00Selective content distribution, e.g. interactive television or video on demand [VOD]
    • H04N21/40Client devices specifically adapted for the reception of or interaction with content, e.g. set-top-box [STB]; Operations thereof
    • H04N21/47End-user applications
    • H04N21/472End-user interface for requesting content, additional data or services; End-user interface for interacting with content, e.g. for content reservation or setting reminders, for requesting event notification, for manipulating displayed content
    • H04N21/47205End-user interface for requesting content, additional data or services; End-user interface for interacting with content, e.g. for content reservation or setting reminders, for requesting event notification, for manipulating displayed content for manipulating displayed content, e.g. interacting with MPEG-4 objects, editing locally
    • HELECTRICITY
    • H04ELECTRIC COMMUNICATION TECHNIQUE
    • H04NPICTORIAL COMMUNICATION, e.g. TELEVISION
    • H04N21/00Selective content distribution, e.g. interactive television or video on demand [VOD]
    • H04N21/40Client devices specifically adapted for the reception of or interaction with content, e.g. set-top-box [STB]; Operations thereof
    • H04N21/47End-user applications
    • H04N21/478Supplemental services, e.g. displaying phone caller identification, shopping application
    • H04N21/4788Supplemental services, e.g. displaying phone caller identification, shopping application communicating with other users, e.g. chatting
    • HELECTRICITY
    • H04ELECTRIC COMMUNICATION TECHNIQUE
    • H04NPICTORIAL COMMUNICATION, e.g. TELEVISION
    • H04N13/00Stereoscopic video systems; Multi-view video systems; Details thereof
    • H04N2013/0074Stereoscopic image analysis
    • H04N2013/0088Synthesising a monoscopic image signal from stereoscopic images, e.g. synthesising a panoramic or high resolution monoscopic image

Definitions

  • the present technology relates to a client apparatus, a client apparatus processing method, a server, and a server processing method. More particularly, the technology relates to a client apparatus that performs a process in which a proxy image (or representative image) such as an avatar of each client is synthesized on a background image (or transmitted image that is transmitted) from the server.
  • a proxy image or representative image
  • a background image or transmitted image that is transmitted
  • HMD head-mounted displays
  • VR virtual reality
  • An objective of the present technology is to allow multiple clients (viewers) to share their VR spaces for communicating with one another.
  • a client apparatus including: a reception section configured to receive from a server a server-distributed stream including a video stream obtained by encoding a background image, the receiving section further receiving from another client apparatus a client-transmitted stream including proxy image meta information for displaying a proxy image of the other client; and a control section configured to control a decoding process of decoding the video stream to obtain the background image, a proxy image data generation process of generating the proxy image on the basis of the proxy image meta information, and an image data synthesis process of synthesizing the proxy image on the background image.
  • the reception section receives from the server the server-distributed stream including the video stream obtained by encoding the background image, the receiving section further receiving from another client apparatus a client-transmitted stream including the proxy image meta information for displaying the proxy image of the other client.
  • the proxy image is an avatar or a symbol recognizable as a character, for example.
  • the control section controls the decoding process, proxy image data generation process, and image data synthesis process.
  • the decoding process involves decoding the video stream to obtain the background image.
  • the proxy image data generation process involves generating the proxy image on the basis of the proxy image meta information.
  • the image data synthesis process involves synthesizing the proxy image on the background image.
  • information indicating an allowable synthesis range for the proxy image in the background image may be inserted in a layer of the video stream and/or in a layer of the server-distributed stream.
  • the control section may control the synthesis process in such a manner that the proxy image is placed inside the allowable synthesis range in the background image.
  • the proxy image meta information may include synthesis position information indicating a synthesis position in the allowable synthesis range for the proxy image.
  • the control section may control the synthesis process in such a manner that the proxy image is synthesized at the synthesis position indicated by the synthesis position information.
  • the proxy image meta information may include size information indicating a size of the proxy image. The control section may control the synthesis process in such a manner that the proxy image is synthesized on the background image as per the size indicated by the size information.
  • the proxy image is generated in the background image on the basis of the proxy image meta information.
  • the proxy image is synthesized on the background image. This allows each client to recognize the proxy image of another client being synthesized on a common background image. The clients may thus share their VR spaces for agreeably communicating with one another.
  • the client-transmitted stream may include audio data corresponding to the proxy image meta information together with object metadata.
  • the control section may further perform an audio output process in which a rendering process corresponding to the object metadata is carried out on the audio data to obtain audio output data of which a sound image position coincides with the synthesis position of the proxy image.
  • the client-transmitted stream may include subtitle (or text) data corresponding to the proxy image meta information together with display position information.
  • the control section may further control a subtitle synthesis process to synthesize, on the background image, subtitle display data on the basis of the display position information in such a manner that subtitles represented by the subtitle data are displayed at a position corresponding to the synthesis position of the proxy image. This allows each client to recognize the subtitles from the proxy image of another client at a position corresponding to the synthesis position of the proxy image of the other client in the background image.
  • the client apparatus may further include a transmission section configured to transmit to another client apparatus a client-transmitted stream including proxy image meta information for displaying a proxy image of the own client.
  • the proxy image data generation process may further generate the proxy image of the own client on the basis of the proxy image meta information for displaying the proxy image of the own client. This makes it possible to synthesize not only the proxy image of the other client but also the proxy image of the own client on the background image.
  • the background image may be a wide viewing angle image, where the wide viewing angle is at a 180 degree, or larger, image.
  • the control section may further control an image clipping process of clipping a portion of the background image to obtain display image data.
  • the image derived from the display image data may be displayed on the HMD, with the clipping range determined by the attitude of the head detected by sensors mounted on the HMD.
  • a server including: an imaging section configured to image a subject to obtain a background image; and a transmission section configured to transmit to a client apparatus a server-distributed stream including a video stream obtained by encoding the background image; in which information indicating an allowable synthesis range for a proxy image in the background image is inserted in a layer of the video stream and/or in a layer of the server-distributed stream.
  • the imaging section images a subject to obtain the background image.
  • the background image may be the image data of a wide viewing angle image, for example.
  • the transmission section transmits to a client apparatus the server-distributed stream including the video stream obtained by encoding the background image.
  • the information indicating the allowable synthesis range for a proxy image in the background image is inserted in a layer of the video stream and/or in a layer of the server-distributed stream.
  • the information indicating the allowable synthesis range for the proxy image in the background image is inserted in a layer of the video stream and/or in a layer of the server-distributed stream when transmitted. This makes it easy for the client apparatus to place the proxy image of each client in the background image within a range intended by the server on the basis of the information indicating the allowable synthesis range.
  • the present technology allows multiple clients to share their own VR spaces for communication with one another. Note that the advantageous effects outlined above are not limitative of the present disclosure. Further advantages of the disclosure will become apparent from the ensuing description.
  • Fig. 1 is a block diagram depicting a typical configuration of a space-sharing display system embodying the present technology.
  • Fig. 2 is a schematic diagram depicting typical relations between a server and multiple client apparatuses transmitting and receiving streams therebetween.
  • Fig. 3 is a block diagram depicting a typical configuration of the server.
  • Fig. 4 is a tabular diagram depicting a typical structure of a video attribute information SEI message.
  • Fig. 5 is a tabular diagram depicting the content of major information in the typical structure of the video attribute information SEI message.
  • Fig. 6 is a set of schematic diagrams explaining information about camera status.
  • Fig. 7 is a tabular diagram depicting typical information held in a video attribute information box.
  • Fig. 1 is a block diagram depicting a typical configuration of a space-sharing display system embodying the present technology.
  • Fig. 2 is a schematic diagram depicting typical relations between a server and multiple client apparatuses transmitting and receiving streams therebetween.
  • Fig. 8 is a block diagram depicting a typical configuration of the transmission system of a client apparatus.
  • Fig. 9 is a set of tabular diagrams depicting a typical structure of avatar rendering control information and the content of major information in that typical structure.
  • Fig. 10 is a set of tabular diagrams depicting a typical structure of avatar database selection information and the content of major information in that typical structure.
  • Fig. 11 is a set of tabular diagrams depicting a typical structure of voice object rendering information as object metadata about each object and the content of major information in that typical structure.
  • Fig. 12 is a schematic diagram explaining how to obtain values of "azimuth,” “radius,” and “elevation.”
  • Fig. 13 is a set of tabular diagrams explaining a TTML structure and a typical structure of metadata.
  • Fig. 14 is a block diagram depicting a typical configuration of the reception system of a client apparatus.
  • Fig. 15 is a block diagram depicting a typical configuration of a reception module.
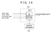
  • Fig. 16 is a block diagram depicting a typical configuration of an avatar database selecting section.
  • Fig. 17 is a tabular diagram depicting a typical list of an avatar database.
  • Fig. 18 is a schematic diagram outlining a rendering process performed by a renderer.
  • Fig. 19 is a schematic diagram outlining sound pressure control through remapping performed by the renderer.
  • Fig. 20 is a schematic diagram depicting a typical background image.
  • Fig. 21 is a schematic diagram depicting a typical state in which avatars and subtitles are synthesized in an allowable synthesis range (sy_window) of the background image.
  • Embodiment Space-sharing display system Fig. 1 depicts a typical configuration of a space-sharing display system 10 embodying the present technology.
  • the space-sharing display system 10 is configured with a server 100 connected with multiple client apparatuses 200 via a network 300 such as the Internet.
  • the server 100 transmits to each client apparatus 200 a server-distributed stream including a video stream obtained by encoding a background image acquired by capturing a subject, the stream being transmitted via the network 300.
  • the image data of the background image is the image data of a wide viewing angle image, such as 180 degrees or more.
  • Information indicating an allowable synthesis range for a proxy image in the background image is inserted in a layer of the video stream and/or in a layer of the server-distributed stream (container).
  • the proxy image is an avatar or a symbol recognizable as a character, for example.
  • avatars are assumed to be the proxy image. The ensuing description will be made on the assumption that the proxy image is an avatar.
  • the client apparatus 200 receives the server-distributed stream transmitted from the server 100 over the network 300.
  • the client apparatus 200 obtains the background image by decoding the video stream included in the server-distributed stream.
  • the client apparatus 200 receives from another client apparatus 200 a client-transmitted frame (container) including avatar meta information for displaying the avatar of the other client, the frame being transmitted via the network 300.
  • a client-transmitted frame (container) including avatar meta information for displaying the avatar of the other client, the frame being transmitted via the network 300.
  • the client apparatus 200 generates the image data of the avatar on the basis of the avatar meta information, and synthesizes the avatar image data on the background image data.
  • the client apparatus 200 places the avatar within the allowable synthesis range of the background image on the basis of information indicative of the allowable synthesis range for avatars in the background image, the information being inserted in a layer of the video stream and/or in a layer of the server-distributed stream.
  • the avatar meta information includes synthesis position information indicating the synthesis position in the allowable synthesis range for avatars.
  • the client apparatus 200 synthesizes the avatar at the synthesis position indicated by the synthesis position information.
  • the avatar meta information includes size information indicative of an avatar size.
  • the client apparatus 200 synthesizes the avatar on the background image as per the size indicated by the size information.
  • the client apparatus 200 further transmits a client-transmitted stream (container) including the avatar meta information for displaying the own avatar to the other client apparatuses 200 via the network 300.
  • the client apparatus 200 generates the image data of its own avatar on the basis of the avatar meta information for displaying the own avatar, and synthesizes the avatar image data on the image data of the background image data.
  • client apparatuses 200 may not have the capability to transmit to the other client apparatuses 200 a client-transmitted stream (container) including the avatar meta information for displaying the own avatar.
  • the client apparatus 200 transmits the image data of the background image on which the avatar image data is synthesized as unmodified display image data to an HMD 400A serving as a display device.
  • the client apparatus 200 obtains display image data by clipping a portion of the image data of the background image on which the avatar image data is synthesized, and transmits the obtained display image data to the HMD 400A serving as the display device.
  • the clipping range is determined in accordance with the attitude of the head detected by sensors mounted on the HMD, for example.
  • the client-transmitted stream from another client apparatus 200 includes audio data corresponding to the avatar meta information together with object metadata. Further, there also exists, along with the object metadata, audio data corresponding to the avatar meta information for displaying the own avatar.
  • the client apparatus 200 performs a rendering process on the audio data in accordance with the object metadata to obtain audio output data of which the sound image position coincides with the avatar synthesis position.
  • the client apparatus 200 transmits the obtained audio output data to headphones (HP) 400B serving as an audio output device.
  • the client-transmitted stream from another client apparatus 200 also includes subtitle data corresponding to the avatar meta information together with display position information.
  • subtitle data corresponding to the avatar meta information for displaying the own avatar.
  • the client apparatus 200 synthesizes subtitle display data on the image data of the background image in accordance with the display position information in such a manner that the subtitles on the basis of the subtitle data are displayed at the position corresponding to the synthesis position of the avatar.
  • Fig. 2 depicts typical relations between the server 100 and multiple client apparatuses 200 transmitting and receiving streams therebetween. Note that, in this illustrated example, there are three client apparatuses 200, with every client apparatus 200 transmitting a client-transmitted frame to the other client apparatuses 200.
  • the client-transmitted frame includes avatar meta information, voice data, and text data (subtitle data).
  • Configuration of the server Fig. 3 depicts a typical configuration of the server 100.
  • the server 100 includes a control section 101, a locator 102, a video capture device 103, a format conversion processing section 104, a video encoder 105, an audio capture device 106, an audio encoder 108, a container encoder 109, and a network interface 110. These components are interconnected via a bus 111.
  • the control section 101 controls the operations of the respective components in the server 100.
  • the control section 101 is connected with a user operation section 101a.
  • the locator 101 receives radio waves from GPS satellites to obtain position information (longitude, latitude and elevation).
  • the video capture device 103 is a camera (imaging section) that images a subject and obtains image data of a background image.
  • the video capture device 103 acquires wide viewing angle image data or image data of multiple images for obtaining the wide viewing angle image data.
  • the format conversion processing section 104 performs mapping processes (e.g., deforming of wide viewing angle image, synthesizing of multiple images, etc.) on the image data obtained by the video capture device 103, thereby acquiring the image data in an image format for input to the encoders.
  • the video encoder 105 obtains encoded image data by performing an encoding process such as HEVC on the image data acquired by the format conversion processing section 104.
  • the video encoder 105 then generates a video stream that includes the encoded image data.
  • the video encoder 105 places a video attribute information SEI message (Video_attribute_information SEI message) in an SEI message group "SEIs" for an access unit (AU).
  • Inserted in the SEI message are capture information indicating the capture status of the camera (imaging section), position information (GPS data) indicating the camera position (capture position), and information indicating the allowable synthesis range for avatars in the background image.
  • Fig. 4 depicts a typical structure (syntax) of the video attribute information SEI message.
  • Fig. 5 depicts the content (semantics) of major information in that typical structure.
  • An eight-bit field "message_id” indicates identification information identifying the video attribute information SEI message.
  • An eight-bit field “byte_length” indicates the number of subsequent bytes as the size of this video attribute information SEI message.
  • An eight-bit field “target_content_id” indicates identification information identifying video content.
  • a field “capture_position()” indicates a capture position.
  • a 16-bit field “position_latitude” indicates the capture position (in latitude).
  • a 16-bit field “position_longitude” indicates the capture position (in longitude).
  • a 16-bit field “position_elevation” indicates the capture position (in elevation).
  • a 16-bit field "camera_direction” indicates the direction in which the camera is oriented at the time of capture. For example, as depicted in Subfigure (a) of Fig. 6, this field indicates the direction such as east, west, north, or south in which the camera is oriented.
  • a 16-bit field “camera_V_angle” indicates the angle of the camera relative to the horizontal direction at the time of capture, as depicted in Subfigure (b) of Fig. 6.
  • a field “sy_window()" indicates the allowable synthesis range for avatars in the background image.
  • a 16-bit field “sy_window_x_start” indicates the start position of the allowable synthesis range (horizontal position).
  • a 16-bit field “sy_window_y_start” indicates the start position of the allowable synthesis range (vertical position).
  • a 16-bit field “sy_window_x_end” indicates the end position of the allowable synthesis range (horizontal position).
  • a 16-bit field “sy_window_y_end” indicates the end position of the allowable synthesis range (vertical position).
  • the audio capture device 106 is a microphone that captures the voice (audio) corresponding to the subject imaged by the video capture device 103 so as to obtain audio data of at least two channels, such as 5.1-channel audio data.
  • the audio encoder 108 performs an encoding process such as MPEG-H Audio or AC4 on the audio data obtained by the audio capture device 106 so as to generate an audio data stream.
  • the container encoder 109 generates as a server-distributed stream a container that includes the video stream obtained by the video encoder 105 and the audio stream acquired by the audio encoder 108, the container being an MP4 stream in this example.
  • the container encoder 109 defines a video attribute information box ("vaib" box) in an "udta” box defined in an initialization segment (IS) or in a "moof” box.
  • the capture information indicating the capture status of the camera imaging section
  • position information GPS data
  • camera position camera position
  • information indicating the allowable synthesis range for avatars in the background image Note that it is not mandatory to insert both the video attribute information box and the video attribute information SEI message in the video attribute information box; only either of the two may be inserted instead.
  • Fig. 7 depicts typical information held in the "vaib” box.
  • a field “position_latitude” stands for the capture position (in latitude), “position_longitude” for the capture position (in longitude), and “position_elevation” for the capture position (in elevation).
  • a field “camera_direction” indicates the direction in which the camera is oriented at the time of capture, the direction being relative to the north.
  • a field “camera_V_angle” indicates the angle of the camera relative to the horizontal direction at the time of capture.
  • a field “sy_window_x_start” stands for the start position (horizontal position) of the allowable synthesis range, “sy_window_y_start” for the start position (vertical position) of the allowable synthesis range, “sy_window_x_end” for the end position (horizontal position) of the allowable synthesis range, and “sy_window_y_end” for the end position (vertical position) of the allowable synthesis range.
  • the network interface 110 communicates with the client apparatuses 200 via the network 300.
  • the network interface 110 transmits the server-distributed stream obtained by the container encoder 109 to the client apparatuses 200 via the network 300.
  • the video capture device 103 images the subject to obtain wide viewing angle image data or image data of multiple images for acquiring wide viewing angle image data.
  • the image data obtained by the video capture device 103 is supplied to the format conversion processing section 104.
  • the format conversion processing section 104 performs mapping processes (e.g., deforming of wide viewing angle image, synthesizing of multiple images, etc.) on the image data supplied from the video capture device 103 so as to acquire the image data in an image format for input to the encoders.
  • the image data obtained by the format conversion processing section 104 is supplied to the video encoder 105.
  • the video encoder 105 obtains encoded image data by performing an encoding process such as HEVC on the image data from the format conversion processing section 104.
  • the video encoder 105 thus generates a video stream that includes the encoded image data.
  • the video encoder 105 places a video attribute information SEI message (see Fig. 4) in the SEI message group "SEIs" for the access unit (AU). Inserted in the SEI message are the capture information indicating the capture status of the camera (imaging section), position information (GPS data) indicating the camera position (capture position), and information indicating the allowable synthesis range for avatars in the background image.
  • the audio capture device 106 captures the voice (audio) corresponding to the subject imaged by the video capture device 103 so as to obtain audio data of at least two channels.
  • the audio data of each channel is supplied to the audio encoder 108.
  • the audio encoder 108 performs an encoding process such as MPEG-H Audio or AC4 on the audio data obtained by the audio capture device 106 in order to generate an audio data stream.
  • the video stream obtained by the video encoder 105 and the audio stream acquired by the audio encoder 108 are supplied to the container decoder 109.
  • the container encoder 109 generates a container including the video stream and the audio stream as a server-distributed stream, which is an MP4 stream in this case.
  • the container encoder 109 newly defines a video attribute information box (see Fig. 7) in the "udta” box defined in the initialization section (IS) or in the "moof” box. Inserted in the newly defined box are the capture information indicating the capture status of the camera (imaging section), position information (GPS data) indicating the camera position (capture position), and information indicating the allowable synthesis range for avatars in the background image.
  • the server-distributed stream obtained by the container encoder 109 is supplied to the network interface 110.
  • the network interface 110 transmits the server-distributed stream to the client apparatuses 200 via the network 300.
  • Fig. 8 depicts a typical configuration of a transmission system 200T of the client apparatus 200.
  • the transmission system 200T includes a control section 201, a metadata generator 202, an audio capture device 203, an object information generating section 204, an audio encoder 205, a character generating section 206, a subtitle encoder 207, a container encoder 208, and a network interface 209. These components are interconnected via a bus 210.
  • the control section 201 controls the client apparatus 200, i.e., the respective components of the transmission system 200T.
  • the control section 201 is connected with a user operation section 201a.
  • the metadata generator 202 generates avatar meta information.
  • the avatar meta information includes avatar rendering control information (avator_rendering_control_information) and avatar database selection information (avator_database_selection).
  • the avatar rendering control information includes information indicating the synthesis position for avatars in the allowable synthesis range of the background image, and information indicating the size of the avatar.
  • Subfigure (a) in Fig. 9 indicates a typical structure (syntax) of the avatar rendering control information
  • Subfigure (b) in Fig. 9 depicts the content (semantics) of major information in that typical structure.
  • An eight-bit field “message_id” indicates identification information identifying the avatar rendering control information.
  • An eight-bit field “byte_length” indicates the number of subsequent bytes as the size of this avatar rendering control information.
  • An eight-bit field “client_id” indicates identification information identifying the client (client apparatus 200) transmitting this avatar meta information.
  • An eight-bit field “target_content_id” indicates identification information identifying the video content (background image) targeted for synthesis.
  • An eight-bit field “number_of_client_objects” indicates the number of objects, i.e., the number of avatars, transmitted from the clients.
  • client_object_id There exist as many “client_object_id” fields, “avator_center_position_x” fields, “avator_center_position_y” fields, and “avator_rendering_size” fields each as the number of objects.
  • client_object_id indicates identification information identifying the object (avatar) transmitted from the client.
  • the 16-bit field "avator_center_position_x” indicates the x-coordinate (horizontal position) of the center coordinates representing the avatar synthesis position in the allowable synthesis range (sy_window).
  • the 16-bit field “avator_center_position_y” indicates the y-coordinate (vertical position) of the center coordinates representing the avatar synthesis position in the allowable synthesis range (sy_window).
  • the 16-bit field “avator_rendering_size” indicates the dimensions (i.e., size) of the avatar to be synthesized. Note that the size is obtained using the diagonal line of a rectangle starting from the center coordinates of the avatar synthesis position. With the original aspect ratio of the avatar image in the database kept intact, the size is converted in a manner proportionate with the size of the avatar to be synthesized.
  • the avatar database selection information includes selection information for obtaining the avatar image data from the avatar database.
  • Subfigure (a) in Fig. 10 depicts a typical structure (syntax) of the avatar database selection information
  • Subfigure (b) in Fig. 10 depicts the content (semantics) of major information in that typical structure.
  • An eight-bit field “message_id” indicates identification information identifying the avatar database selection information.
  • An eight-bit field “byte_length” indicates the number of subsequent bytes representing the size of the avatar database selection information.
  • An eight-bit field “client_id” indicates identification information identifying the client (client apparatus 200) transmitting this avatar database selection information.
  • An eight-bit field “target_content_id” indicates identification information identifying the video content (background image) targeted for synthesis.
  • An eight-bit field “number_of_client_objects” indicates the number of objects transmitted from the clients, i.e., the number of avatars. There exist as many “client_object_id” fields, “body_type” fields, “body_angle” fields, “emotional_type” fields, and “face_angle” fields each as the number of objects.
  • the eight-bit field “client_object_id” indicates identification information identifying the object (avatar) transmitted from the client.
  • the 16-bit field “body_type” indicates the entire body type of the avatar.
  • the 16-bit field “body_angle” indicates the angle attribute of the avatar image oriented relative to the front.
  • the 16-bit field “emotional_type” indicates the type of the facial expression or emotion of the avatar.
  • the 16-bit field “face_angle” indicates the face angle of the avatar.
  • the audio capture device 203 is a microphone that captures the voice (audio) of each object, i.e., each avatar, to obtain audio data.
  • the object information generating section 204 generates object metadata about each object on the basis of avatar synthesis position information, so as to output object encoded data about each object (encoded sample data, object metadata).
  • Subfigure (a) in Fig. 11 depicts a typical structure of voice object rendering information (Voice_object_rendering_information) as the object metadata about each object (avatar), and Subfigure (b) in Fig. 11 depicts the content (semantics) of major information in that typical structure.
  • An eight-bit field “message_id” indicates identification information identifying the voice object rendering information.
  • An eight-bit field “byte_length” indicates the number of subsequent bytes as the size of this avatar database selection information.
  • An eight-bit field “client_id” indicates identification information identifying the client (client apparatus 200) transmitting the audio data.
  • An eight-bit field "target_content_id” indicates identification information identifying the video content (background image) targeted for synthesis.
  • An eight-bit field “number_of_client_objects” indicates the number of objects transmitted from the clients, i.e., the number of avatars. There exist as many “client_object_id” fields, “Azimuth” fields, “Radius” fields, and “Elevation” fields each as the number of objects.
  • the eight-bit field “client_object_id” indicates identification information identifying the object (avatar) transmitted from the client.
  • the 16-bit field "Azimuth” indicates the azimuth as position information about the avatar as the object.
  • the 16-bit field “Radius” indicates the radius as another position information about the avatar as the object.
  • the 16-bit field “Elevation” indicates the elevation as another position information about the avatar as the object.
  • a point P denotes the center coordinates of the avatar synthesis position in the image expanded on the HMD 400A.
  • the position where the avatar is synthesized is within the allowable synthesis range for avatars in the background image.
  • the avatar synthesis position is identified by avatar synthesis position information ("avator_center_position_x", “avator_center_position_y").
  • the allowable synthesis range for avatars in the background image is set corresponding to the image range expanded on the HMD 400A. This permits identification of the coordinates of the point P in the image expanded on the HMD 400A in accordance with the avatar synthesis position information. Also with this embodiment, in the default display state, the range of the image expanded on the HMD 400A corresponds to the allowable synthesis range for avatars in the background image.
  • the values of "Azimuth”, “Radius”, and “Elevation” as the synthesis position information about the object (avatar) are included in the voice object rendering information (see Fig. 11) when the latter information is transmitted. On the receiving side, these values may be input unmodified to a renderer as the object metadata.
  • the avatar synthesis position information (“avator_center_position_x”, “avator_center_position_y”) included in the avatar rendering control information (see Fig. 9) allows the coordinates of the point P to be identified.
  • the point P and the point Q as the center of the presumed viewing position may also be used to obtain the values of "Azimuth”, “Radius”, and “Elevation” (see Fig. 12).
  • the obtained values may be input to the renderer as the object metadata.
  • transmitting the values of "Radius” allows the server 100 to inform the client apparatuses 200 of an appropriate depth position of each object (avatar) at the position where the object is synthesized.
  • the fields "Azimuth”, “Radius”, and “Elevation” inserted in the voice object rendering information (see Fig. 11) as the synthesis position information about each object (avatar) are set with invalid values, for example.
  • the audio encoder 205 obtains MPEG-H 3D Audio encoded audio data by encoding the object encoded data (encoded sample data, object metadata) about each object acquired by the object information generating section 107.
  • the encoded audio data constitutes the audio data corresponding to the avatar meta information.
  • the character inputting section 206 generates as needed the subtitle text data (character codes) DT corresponding to each object, i.e., to each avatar.
  • the subtitle encoder 207 receives input of the text data DT to obtain subtitle text information in a predetermined format, which is Timed Text Markup Language (TTML) for this embodiment.
  • TTML constitutes the subtitle data corresponding to the avatar meta information.
  • Subfigure (a) in Fig. 13 depicts the TTML structure.
  • the TTML is described on XML basis.
  • the TTML includes a header and a body.
  • the header includes such respective elements as metadata, styling, and layout.
  • the metadata includes metadata title information and copyright information, among others.
  • the styling includes such information as color, font (fontFamily), size (fontSize), and alignment (textAlign) in addition to an identifier (id).
  • the layout includes such information as range (extent), offset (padding), background color (backgroundColor), and alignment (displayAlign), in addition to an identifier (id) identifying the region in which the subtitles are placed.
  • the body includes subtitle text information, among others.
  • subtitle object rendering information is inserted in the TTML.
  • Subfigure (b) in Fig. 13 depicts a typical structure of metadata (TTM: TTML Metadata).
  • the structure includes such information as "target_content_id”, “client_id”, and “client_object_id”.
  • the information "target_content_id” indicates identification information identifying the video content (background image) targeted for synthesis.
  • the information “client_id” indicates identification information identifying the client (client apparatus 200) transmitting the subtitle data.
  • client_object_id indicates identification information identifying the object (avatar) transmitted from the client. Note that the information about the subtitle display position is included in the body.
  • the container encoder 208 generates as a client-transmitted stream a container that includes the avatar meta information generated by the metadata generator 202, 3D Audio encoded audio data generated by the audio encoder 205, and TTML as the subtitle text information obtained by the subtitle encoder 207, the container being an MP4 stream in this case.
  • the network interface 209 communicates with the other client apparatuses 200 via the network 300.
  • the network interface 209 transmits the client-transmitted stream obtained by the container encoder 208 to the other client apparatuses 200 via the network 300.
  • the metadata generator 202 generates avatar meta information in accordance with the user’s operations on the user operation section 201a.
  • the avatar meta information includes the avatar rendering control information (see Fig. 9) and the avatar database selection information (see Fig. 10).
  • the avatar rendering control information includes both information indicating the avatar synthesis position in the allowable synthesis range in the background image and information indicating the size of the avatar.
  • the avatar database selection information includes selection information for obtaining the image data of the avatar from an avatar database.
  • the audio capture device 203 obtains audio data by capturing the voice (audio) of each object, i.e., each avatar.
  • the audio data about each object (avatar) is supplied to the object information generating section 204.
  • the object information generating section 204 is also supplied with the synthesis position information about each object (avatar) in the background image.
  • the object information generating section 204 generates object metadata about each object on the basis of the object synthesis position information so as to obtain the object encoded data (encoded sample data, object metadata) about each object.
  • the object encoded data includes the voice object rendering information (see Fig. 11) as the object metadata about each object (avatar).
  • the voice object rendering information includes the position information ( ⁇ , ⁇ , r) about each object (avatar).
  • the object encoded data (encoded sample data, object metadata) obtained by the object information generating section 204 about each object is supplied to the audio encoder 205.
  • the audio encoder 205 encodes the object encoded data about each object so as to obtain MPEG-H 3D Audio encoded audio data.
  • the character inputting section 206 generates as needed the subtitle text data (character codes) DT corresponding to each object, i.e., each avatar.
  • the text data DT is supplied to the subtitle encoder 207.
  • the subtitle encoder 207 is also supplied with the display position information about the subtitles corresponding to each object (avatar).
  • the subtitle encoder 207 obtains TTML as text information about the subtitles on the basis of the text data DT.
  • the rendering information is inserted into the metadata of the TTML, for example (see Fig. 13). Note that the information associated with the display position of the subtitles is included in the head.
  • the avatar rendering information may be included alternatively in the layout under the head, along with such information as "origin” and "extent” other than the metadata.
  • the container encoder 208 is supplied with the avatar meta information generated by the metadata generator 202, with 3D Audio encoded audio data obtained by the audio encoder 205, and with the TTML as the subtitle text information acquired by the subtitle encoder 207.
  • the container encoder 208 generates as a client-transmitted stream an MP4 stream that includes the avatar meta information, the encoded audio data, and the TTML.
  • the client-transmitted stream obtained by the container encoder 208 is supplied to the network interface 209.
  • the network interface 209 transmits the client-distributed stream to the other client apparatuses 200 via the network 300.
  • Fig. 14 depicts a typical configuration of a reception system 200R of the client apparatus 200.
  • the reception system 200R includes a control section 201, a network interface 211, a container decoder 212, a video decoder 213, a plane converter 214, reception modules 215 and 215A, an audio decoder 216, a mixer 218, and a synthesis section 219. These components are interconnected via a bus 210.
  • the control section 201 controls the operation of the client apparatus 200, i.e., the operations of the respective components in the reception system 200R.
  • the control section 201 is connected with the user operation section 201a.
  • the network interface 211 communicates with the server 100 and with the other client apparatuses 200 via the network 300.
  • the network interface 211 receives the above-described server-distributed stream from the server 100.
  • the network interface 211 also receives the above-mentioned client-transmitted streams from the other client apparatuses 200.
  • the container decoder 212 extracts the video stream and the audio stream from the server-distributed stream (MP4 stream) received by the network interface 211. In this case, the container decoder 212 extracts the video attribute information box ("vaib" box) from the "udta” box defined in the initialization segment (IS) or in the "moof” box. The container decoder 212 transmits the extracted "vaib” box to the control section 201. This allows the control section 201 to recognize the capture information indicating the capture status of the camera, position information (GPS data) indicating the camera position (capture position), and information indicating the allowable synthesis range for avatars in the background image.
  • GPS data position information
  • the allowable synthesis range for avatars in the background image information indicating the allowable synthesis range for avatars in the background image.
  • the video decoder 213 obtains the image data of the background image by performing a decoding process on the video stream extracted by the container decoder 212.
  • the video decoder 213 further extracts a parameter set and an SEI message inserted in the video stream, and transmits the extracted information to the control section 201.
  • the extracted information also includes the above-mentioned video attribute information SEI message (see Fig. 4). This allows the control section 201 to recognize the capture information indicating the capture status of the camera, position information (GPS data) indicating the camera position (capture position), and information indicating the allowable synthesis range for avatars in the background image.
  • position information GPS data
  • allowable synthesis range for avatars in the background image information indicating the allowable synthesis range for avatars in the background image.
  • the plane converter 214 converts the nonlinear image data to linear image data. Further, if the image data of the background image is the image data of a wide viewing angle image, the plane converter 214 clips from the image data only a portion corresponding to the display viewing angle of the HMD 400A to obtain the display image data.
  • the size of the allowable synthesis range for avatars in the background image is set corresponding to the display viewing angle of the HMD 400A.
  • the plane converter 214 clips the image data corresponding to the allowable synthesis range to obtain the display image data. Thereafter, the plane converter 214 changes the clipping range in accordance with the attitude of the head detected by sensors mounted on the HMD, for example.
  • the audio decoder 216 performs a decoding process on the audio stream extracted by the container decoder 212 so as to obtain two-channel audio data for audio reproduction by the headphones (HP) 400B. Note that where multichannel audio data such as 5.1-channel audio data is acquired through the decoding process, the audio decoder 216 down-mixes the multichannel data to two-channel audio data.
  • the reception module 215 processes the client-transmitted stream received through the network interface 214 to obtain the image data of the avatar, synthesis position information about the avatar, subtitle display data corresponding to the avatar, display position information about the subtitles, and two-channel audio data corresponding to the avatar.
  • the reception module 215A processes the client-transmitted stream generated by the transmission system 200T (see Fig. 8) of the own client apparatus 200 to obtain the image data of the avatar, synthesis position information about the avatar, subtitle display data corresponding to the avatar, display position information about the subtitles, and two-channel audio data corresponding to the avatar.
  • the reception module 215A is installed to synthesize the own avatar on the background image. Note that, if the own client apparatus 200 is not equipped with the transmission system 200T (see Fig. 8), there is no need for the reception module 215A in the reception system 200R (see Fig. 14).
  • Fig. 15 depicts a typical configuration of the reception module 215 (215A).
  • the reception module 215 (215A) includes a container decoder 221, a meta information analyzing section 222, an avatar database selecting section 223, an avatar database 224, a size converting section 225, an audio decoder 226, a renderer 227, a subtitle decoder 228, and a font expanding section 229.
  • the container decoder 221 extracts avatar meta information, 3D Audio encoded audio data, and TTML as subtitle text information from the client-transmitted stream.
  • the meta information analyzing section 222 analyzes the avatar meta information obtained by the container decoder 221.
  • the meta information analyzing section 222 obtains the selection information for acquiring from the avatar database 224 the image data of the avatar on the basis of the avatar database selection information (see Fig. 10).
  • the selection information includes each piece of information "body_type” associated with the entire body type of the avatar, information “body_angle” associated with the angle of the avatar oriented relative to the front, information “emotional_type” associated with the type of the facial expression or emotion of the avatar, and information "face_angle” associated with the face angle of the avatar.
  • the meta information analyzing section 222 obtains information "avator_center_position_x" and “avator_center_position_y” associated with the avatar synthesis position in the allowable synthesis range in the background image and information "avator_rendering_size” associated with the size of the avatar.
  • the avatar database selecting section 223 obtains the image data of the avatar on the basis of avatar configuration data acquired from the avatar database 224 by referencing the selection information obtained by the meta information analyzing section 222.
  • Fig. 16 depicts a typical configuration of the avatar database selecting section 223.
  • the avatar database selecting section 223 includes a database mapping section 223a.
  • the database mapping section 223a receives input of the information "body_type” associated with the entire body type of the avatar, information “body_angle” associated with the angle of the avatar oriented relative to the front, information “emotional_type” associated with the type of the facial expression or emotion of the avatar, and information "face_angle” associated with the face angle of the avatar.
  • the database mapping section 223a acquires the avatar configuration data from the avatar database 224 and maps the acquired data to obtain the avatar image data.
  • Fig. 17 depicts a typical list of the avatar database 224.
  • three states "standing upright”, “sitting” and “lying", are held as the configuration data in the information "body_type” associated with the entire body type of the avatar.
  • six states are held: “facing forward”, “facing backward”, “facing right”, “facing left”, “facing upward” and “facing downward”, for example.
  • the configuration data in the information "emotional_type” associated with the type of the facial expression or emotion of the avatar four states are held: “expressionless”, “smiling", “crying” and “angry”, for example.
  • two states are held: “facing straight forward” and “downcast”.
  • the size converting section 225 performs a size conversion process on the avatar image data acquired by the avatar database selecting section 223 on the basis of the size information obtained by the meta information analyzing section 222, thereby acquiring the avatar image data converted in size.
  • the audio decoder 226 performs a decoding process on the audio encoded data obtained by the container decoder 221 to acquire the encoded sample data and the object metadata (voice object rendering information) as the object encoded data.
  • the renderer 227 performs a rendering process on the encoded sample data and the object metadata obtained by the audio decoder 226 to acquire channel data for each speaker in such a manner that the avatar synthesis position in the background image coincides with the sound image position.
  • Fig. 18 outlines a rendering process performed by the renderer 227.
  • the parts corresponding to those in Fig. 12 are designated by the same reference characters.
  • the avatar position information ( ⁇ , ⁇ , r) included in the object metadata corresponds to the point P as the center coordinates of the avatar synthesis position in the image expanded on the HMD 400A.
  • the client apparatus 200 identifies the coordinates of the point P using the avatar synthesis position information ("avator_center_position_x”, “avator_center_position_y”) included in the avatar rendering control information (see Fig. 9).
  • the point P and the point Q as the center of the presumed viewing position may then be used to obtain the values of "Azimuth”, “Radius”, and "Elevation” for use by the renderer 227 (see Fig. 12).
  • the value of "Radius” may be acquired either from the “Radius” value inserted in the voice object rendering information (see Fig. 11) transmitted from the server 100 or from the “Radius” value obtained with adjustment as per the size of the object (avatar) on the basis of the information "avator_rendering_size” included in the avatar rendering control information (see Fig. 9).
  • the acquired value makes it possible to set the appropriate depth position of the avatar synthesis position.
  • the point P is projected to vectors r_LT, r_LB, r_RT and r_RB on axes Q-LT, Q-LB, Q-RT and Q-RB extended from the point Q as the center viewing position to the positions of the respective speakers.
  • the sound pressure level of the channel data for each speaker is considered to correspond with the vector quantities of the four vectors.
  • Fig. 18 is a case in which the image expanded on the HMD 400A is in the default state, i.e., the expanded image on the HMD 400A corresponds to the allowable synthesis range for avatars in the background image.
  • the clipping range of the plane converter 214 is changed in accordance with the attitude of the head detected by sensors mounted on the HMD.
  • the position of the point P in the image expanded on the HMD 400A is changed accordingly.
  • the point P may be positioned outside the image expanded on the HMD 400A. If that is the case, the renderer 227 sets the sound pressure level of the channel data for each speaker not on the basis of the position of the point P obtained from the avatar position information ( ⁇ , ⁇ , r) but in accordance with the changed position of the point P.
  • the renderer 227 performs sound pressure control through remapping on the channel data for each speaker as mentioned above to convert the data into two-channel audio data for reproduction by the headphones 400B, before outputting the converted data to the latter. Note that, if audio output on the client side is performed not by the headphones 400B but by the speakers LT, LB, RT and RB, the sound pressure control through remapping is omitted.
  • Fig. 19 outlines sound pressure control through remapping performed by the renderer 227.
  • Reference characters D_LT, D_LB, D_RT and D_RB denote the channel data output to the speakers LT, LB, RT and RB, respectively.
  • Indications "Left ear” and "Right ear” stand for two-channel audio data for reproduction by the headphones 400B.
  • the sound pressure control through remapping involves superposing on the data for each channel the transfer characteristics of the sound being transferred from the speakers to the left and right ears, which is known as the head related transfer function (HRTF), before combining and down-mixing the data into the two-channel audio data.
  • HRTF head related transfer function
  • the subtitle decoder 228 obtains subtitle text data and control codes from the TTML acquired by the container decoder 221. Display position information is also obtained as one of the control codes.
  • the font expanding section 229 obtains subtitle display data (bit map data) by expanding the font on the basis of the subtitle text data and control codes acquired by the subtitle decoder 228.
  • a client-transmitted stream is supplied to the container decoder 221. From the client-transmitted stream, the container decoder 221 extracts the avatar meta information, 3D Audio encoded audio data, and TTML as the subtitle text information.
  • the avatar meta information extracted by the container decoder 221 is supplied to the meta information analyzing section 222.
  • the meta information analyzing section 222 acquires selection information for obtaining the avatar image data from the avatar database 224.
  • the selection information includes each piece of information "body_type” associated with the entire body type of the avatar, information “body_angle” associated with the angle of the avatar oriented relative to the front, information “emotional_type” associated with the type of the facial expression or emotion of the avatar, and information "face_angle” associated with the face angle of the avatar.
  • the meta information analyzing section 222 acquires the information "avator_center_position_x" and “avator_center_position_y” associated with the avatar synthesis position in the allowable synthesis range in the background image and the information "avator_rendering_size” associated with the size of the avatar.
  • the selection information acquired by the meta information analyzing section 222 is supplied to the avatar database selecting section 223.
  • the avatar database selecting section 223 obtains the avatar configuration data from the avatar database 224 on the basis of the selection information.
  • the avatar database selecting section 223 maps the obtained data on the basis of the avatar configuration data to acquire the avatar image data.
  • the avatar image data acquired by the avatar database selecting section 223 is supplied to the size converting section 225.
  • the size converting section 225 is also supplied with the avatar size information obtained by the meta information analyzing section 222.
  • the size converting section 225 performs a size conversion process on the avatar image data supplied from the avatar database selecting section 223 so as to obtain the avatar image data converted in size.
  • the avatar image data thus obtained by the size converting section 225 is output from the reception module 215 (215A) together with the avatar synthesis position information acquired by the meta information analyzing section 222.
  • the encoded audio data extracted by the container decoder 221 is supplied to the audio decoder 226.
  • the audio decoder 226 performs a decoding process on the encoded audio data to obtain the encoded sample data and the object metadata (voice object rendering information) as the object encoded data.
  • the object encoded data is supplied to the renderer 227.
  • the renderer 227 performs a rendering process on the object encoded data (encoded sample data and object metadata) obtained by the audio decoder 226 so as to generate channel data for the virtual speakers (see Fig. 18) placed at the top left, top right, bottom right, and bottom left of the image expanded on the HMD 400A, for example, in such a manner that the avatar synthesis position in the background image coincides with the position of the sound image.
  • the renderer 227 performs sound pressure control through remapping on the four-channel data using the head related transfer function (HRTF) so as to generate the two-channel audio data for reproduction by the headphones 400B (see Fig. 19).
  • the two-channel audio data thus obtained by the renderer 227 is output from the reception module 215 (215A).
  • the TTML extracted by the container decoder 221 is supplied to the subtitle decoder 228.
  • the subtitle decoder 228 obtains subtitle text data and control codes from the TTML. Display position information is also acquired as one of the control codes.
  • the subtitle text data and control codes obtained by the subtitle decoder 228 are supplied to the font expanding section 229. Based on the subtitle text data and control codes, the font expanding section 229 expands the font to acquire subtitle display data (bit map data).
  • the subtitle display data thus obtained by the font expanding section 229 is output from the reception module 215 (215A) together with the subtitle display position information acquired by the subtitle decoder 228.
  • the mixer 218 synthesizes the two-channel audio data obtained by the audio decoder 216 with the two-channel audio data acquired by the reception modules 215 and 215A (see Fig. 15) to obtain the two-channel audio data to be output to the headphones (HP) 400B.
  • the synthesis section 219 synthesizes the avatar image data obtained by the reception modules 215 and 215A on the display image data acquired by the plane converter 214 in such a manner that the avatar is placed at a specific position in the allowable synthesis range for avatars in the background image on the basis of the synthesis position information. Also, the synthesis section 219 synthesizes the subtitle display data obtained by the reception modules 215 and 215A as per the display position information so as to acquire the display image data to be output to the HMD 400A.
  • the typical configuration of the reception system 200R depicted in Fig. 14 is an example that includes the reception module 215A for processing the client-transmitted stream generated by the transmission system 200T (see Fig. 8) of the own client apparatus 200.
  • the reception module 215A may be replaced with a module that processes the avatar meta information, encoded audio data, and TTML generated by the transmission system 200T (see Fig. 8) of the own client apparatus 200 (i.e., the configuration excluding the container decoder 221 of the reception module 215A depicted in Fig. 15), or with a module that receives input of other data or information corresponding to the avatar meta information, encoded audio data, and TTML to obtain the similar output.
  • the network interface 211 receives the server-distributed stream from the server 100 via the network 300.
  • the network interface 211 also receives the client-transmitted streams from the other client apparatuses 200 via the network 300.
  • the server-distributed stream received by the network interface 211 is supplied to the container decoder 212.
  • the container decoder 212 extracts the video stream and audio stream from the server-distributed stream (MP4 stream).
  • the container decoder 212 extracts the video attribute information box from the "udta" box defined in the initialization segment (IS) or in the "moof” box. The extracted box is forwarded to the control section 201. This allows the control section 201 to recognize the capture information indicating the capture status of the camera, position information (GPS data) indicating the camera position (capture position), and information indicating the allowable synthesis range for avatars in the background image.
  • the video stream extracted by the container decoder 212 is supplied to the video decoder 213.
  • the video decoder 213 performs a decoding process on the video stream to obtain the image data of the background image.
  • the video decoder 213 extracts the parameter set and the SEI message inserted in the video stream and forwards the extracted information to the control section 201.
  • the extracted information also includes the video attribute information SEI message (see Fig. 4). This allows the control section 201 to recognize the capture information indicating the capture status of the camera, position information (GPS data) indicating the camera position (capture position), and information indicating the allowable synthesis range for avatars in the background image.
  • the image data of the background image obtained by the video decoder 213 is supplied to the plane converter 214. If the image data of the background image is nonlinear image data, the plane converter 214 converts the nonlinear image data to linear image data. Further, from the image data of the background image, the plane converter 214 clips only a portion corresponding to the display viewing angle of the HMD 400A to obtain the display image data.
  • the size of the allowable synthesis range for avatars in the background image is set corresponding to the display viewing angle of the HMD 400A.
  • the image data corresponding to the allowable synthesis range is clipped to obtain the display image data. Thereafter, the clipping range is changed in accordance with the attitude of the head detected by sensors mounted on the HMD, for example.
  • the audio stream extracted by the container decoder 212 is supplied to the audio decoder 216.
  • the audio decoder 216 performs a decoding process on the audio stream to obtain the two-channel audio data for audio reproduction by the headphones (HP) 400B. Note that, if multichannel audio data such as 5.1-channel audio data is obtained through the decoding process, the audio decoder 216 down-mixes the multichannel audio data to the two-channel audio data.
  • the client-transmitted stream received by the network interface 211 from another client apparatus 200 is supplied to the reception module 215.
  • the reception module 215 processes the client-transmitted stream to obtain the image data of the avatar, synthesis position information about the avatar, subtitle display data corresponding to the avatar, display position information about the subtitles, and two-channel audio data corresponding to the avatar (see Fig. 15).
  • the client-transmitted stream generated by the transmission system 200T (see Fig. 8) of the own client apparatus 200 is supplied to the reception module 215A.
  • the reception module 215A processes the client-transmitted stream to obtain the image data of the avatar, synthesis position information about the avatar, subtitle display data corresponding to the avatar, display position information about the subtitles, and two-channel audio data corresponding to the avatar (see Fig. 15).
  • the two-channel audio data obtained by the audio decoder 216 is supplied to the mixer 218.
  • the mixer 218 is also supplied with the two-channel audio data acquired by the reception modules 215 and 215A.
  • the mixer 218 synthesizes the two-channel audio data obtained by the audio decoder 216 with the two-channel audio data acquired by the reception modules 215 and 215A to obtain the two-channel audio data to be output to the headphones (HP) 400B.
  • the display image data obtained by the plane converter 214 is supplied to the synthesis section 219.
  • the synthesis section 219 is also supplied with the avatar image data, avatar synthesis position information, subtitle display data, and display position information acquired by the reception modules 215 and 215A.
  • the synthesis section 219 synthesizes the avatar image data obtained by the reception modules 215 and 215A on the display image data acquired by the plane converter 214 on the basis of the synthesis position information in such a manner that the avatar is placed at a specific position in the allowable synthesis range for avatars in the background image.
  • the synthesis section 219 synthesizes the subtitle display data obtained by the reception modules 215 and 215A on the basis of the display position information, thereby acquiring the display image data to be output to the HMD 400A.
  • Fig. 20 depicts a typical background image.
  • a broken-line rectangular frame represents the allowable synthesis range (sy_window) for avatars.
  • the center of this background image (indicated by a character “+”) denotes the position corresponding to the information "camera_direction” and "camera_V_angle” in the video attribute information SEI message (see Fig. 4) or in the video attribute information box (see Fig. 7).
  • Fig. 21 depicts a typical state in which avatars and subtitles are synthesized in the allowable synthesis range (sy_window) in the background image.
  • three avatars A1, A2 and A3 and two rows of subtitles are presented synthesized.
  • the avatar A1 and the subtitles associated therewith are from the client (client apparatus 200) whose information "client_id" is given as "0xA1".
  • the avatar A2 is from the client whose information "client_id" is "0xA2".
  • the avatar A3 and the subtitles associated therewith are from the client (client apparatus 200) whose information "client_id" is "0xA3".
  • the client apparatuses 200 each generate the avatar image data in the image data of the background image on the basis of the avatar meta information, and synthesizes the generated avatar image data on the image data of the background image.
  • each client can recognize the avatar of the other clients synthesized on a common background image. This allows the clients to share their VR spaces in agreeably communicating with one another.
  • the audio data corresponding to the avatar meta information is included in the client-transmitted stream along with the object metadata.
  • the client apparatus 200 may perform a rendering process on the audio data in a manner reflecting the object metadata to obtain the audio output data having the avatar synthesis position coinciding with the sound image position. This allows each client to recognize as if each avatar synthesized at its synthesis position in the background image emits voice of the client represented by the avatar.
  • the subtitle data corresponding to the avatar meta information is included in the client-transmitted stream along with the display position information.
  • the client apparatus 200 may synthesize the subtitle display data on the image data of the background image on the basis of the display position information in such a manner that the subtitles stemming from the subtitle data are displayed at a position corresponding to the avatar synthesis position. This allows each client to recognize the subtitles from the client represented by each avatar at a position corresponding to the synthesis position of the avatar in the background image.
  • the information indicating the allowable synthesis range for avatars in the background image is transmitted inserted in a layer of the video stream obtained by encoding the image data of the background image and/or in a layer of the server-distributed stream including the video stream. This makes it easy for the client apparatus 200 to place the avatar of each client in the background image on the basis of the information indicating the allowable synthesis range and in a manner intended by the server 100.
  • each client apparatus 200 is provided apart from the HMD 400A for example.
  • the HMD 400A and the client apparatus 200 may be integrally configured.
  • a photographed image can be used as an avatar.
  • the container is an MP4 stream (ISOBMFF) for example.
  • ISOBMFF MP4 stream
  • the container may alternatively be in any suitable format such as MPEG-2 or MMT besides MP4.
  • a client apparatus including: a reception section configured to receive from a server a server-distributed stream including a video stream obtained by encoding a background image, the receiving section further receiving from another client apparatus a client-transmitted stream including proxy image meta information for displaying a proxy image of the other client; and a control section configured to control a decoding process of decoding the video stream to obtain the background image, a proxy image data generation process of generating the proxy image on the basis of the proxy image meta information, and an image data synthesis process of synthesizing the proxy image bases on the background image.
  • the proxy image meta information includes size information indicating a size of the proxy image; and the control section controls the synthesis process in such a manner that the proxy image is synthesized on the background image as per the size indicated by the size information.
  • the client-transmitted stream includes audio data corresponding to the proxy image meta information together with object metadata; and the control section further performs an audio output process in which a rendering process corresponding to the object metadata is carried out on the audio data to obtain audio output data of which a sound image position coincides with the synthesis position of the proxy image.
  • the client-transmitted stream includes subtitle data corresponding to the proxy image meta information together with display position information; and the control section further controls a subtitle synthesis process to synthesize, on the background image, subtitle display data on the basis of the display position information in such a manner that subtitles represented by the subtitle data are displayed at a position corresponding to the synthesis position of the proxy image.
  • the client apparatus as stated in any one of paragraphs (1) to (6) above, further including a transmission section configured to transmit to another client apparatus a client-transmitted stream including proxy image meta information for displaying a proxy image of the own client; in which the proxy image data generation process further generates the proxy image of the own client on the basis of the proxy image meta information for displaying the proxy image of the own client.
  • the background image is the image data of a wide viewing angle image; the control section further controls an image clipping process of clipping a portion of the background image to obtain display image data.
  • a client apparatus processing method including: a reception step of causing a reception section to receive from a server a server-distributed stream including a video stream obtained by encoding a background image, and also to receive from another client apparatus a client-transmitted stream including proxy image meta information for displaying a proxy image of the other client; and a controlling step of causing a control section to control a decoding process of decoding the video stream to obtain the background image, a proxy image data generation process of generating the proxy image on the basis of the proxy image meta information, and an image data synthesis process of synthesizing the proxy image on the background image.
  • a server including: an imaging section configured to image a subject to obtain a background image; and a transmission section configured to transmit to a client apparatus a server-distributed stream including a video stream obtained by encoding the background image; in which information indicating an allowable synthesis range for a proxy image in the background image is inserted in a layer of the video stream and/or in a layer of the server-distributed stream.
  • the background image is the image data of a wide viewing angle image.
  • a server processing method including: an imaging step of causing an imaging section to image a subject to obtain a background image; and a transmission step of causing a transmission section to transmit to a client apparatus a server-distributed stream including a video stream obtained by encoding the background image; in which information indicating an allowable synthesis range for a proxy image in the background image is inserted in a layer of the video stream and/or in a layer of the server-distributed stream.
  • a client apparatus including: a receiver configured to receive from a server a server-distributed stream including a video stream obtained by encoding a background image, the background image having a viewing angle of at least 180 degrees, the receiver further configured to receive from another client apparatus a client-transmitted stream including representative image meta information corresponding to a representative image of the another client; and a controller configured to control a decoding process of decoding the video stream to obtain the background image, a representative image data generation process of generating the representative image on the basis of the representative image meta information, and an image data synthesis process of synthesizing the representative image based on the background image.
  • the client apparatus wherein the representative image meta information includes size information indicating a size of the representative image; and the controller is configured to control the synthesis process so the representative image is synthesized on the background image as per the size indicated by the size information.
  • the client-transmitted stream includes audio data corresponding to the representative image meta information together with object metadata; and the controller is further configured to perform an audio output process in which a rendering process corresponding to the object metadata is carried out on the audio data to obtain audio output data of which a sound image position coincides with the synthesis position of the representative image.
  • the client apparatus includes text data corresponding to the representative image meta information together with display position information; and the controller is further configured to control a text synthesis process to synthesize, on the background image, text display data on the basis of the display position information so text represented by the text data is displayed at a position corresponding to the synthesis position of the representative image.
  • the client apparatus further comprising a transmitter configured to transmit to the another client apparatus a client-transmitted stream including representative image meta information for displaying a representative image of the another client; wherein the representative image data generation process further generates the representative image of the another client on the basis of the representative image meta information for displaying the representative image of the another client.
  • a client apparatus processing method including: receiving with a receiver a server-distributed stream from a server that includes a video stream obtained by encoding a background image, the transmitter image having a viewing angle of at least 180 degrees, and also receiving from another client apparatus a client-transmitted stream including representative image meta information for displaying a representative image of the another client; and controlling with controller a decoding process of decoding the video stream to obtain the background image, a representative image data generation process of generating the representative image on the basis of the representative image meta information, and an image data synthesis process of synthesizing the representative image based on the background image.
  • a server including: an imaging device configured to capture an image of a subject to obtain a background image, the background image having a viewing angle of at least 180 degrees,; and a transmitter configured to transmit to a client apparatus a server-distributed stream including a video stream obtained by encoding the background image; wherein information indicating an allowable synthesis range for a representative image in the background image is inserted in a layer of the video stream and/or in a layer of the server-distributed stream.
  • a non-transitory computer readable medium having computer readable instructions that when executed by a processor perform a method, the method including: receiving with a receiver a server-distributed stream from a server that includes a video stream obtained by encoding a background image, the transmitter image having a viewing angle of at least 180 degrees, and also receiving from another client apparatus a client-transmitted stream including representative image meta information for displaying a representative image of the another client; and controlling with controller a decoding process of decoding the video stream to obtain the background image, a representative image data generation process of generating the representative image on the basis of the representative image meta information, and an image data synthesis process of synthesizing the representative image based on the background image.
  • a major feature of the present technology is that the avatar meta information is included in the client-transmitted stream from another client apparatus.
  • the image data of the avatar generated as per the avatar meta information is synthesized on the background image. This allows each client to recognize the avatars of the other clients synthesized on a common background image. The clients can thus share their VR spaces in agreeably communicating with one another (see Figs. 2 and 21).
  • Space-sharing display system 100 Server 101 Control section 101a User operation section 102 Locator 103 Video capture device 104 Format converting section 105 Video encoder 106 Audio capture device 108 Audio encoder 109 Container encoder 110 Network interface 111 Bus 200 Client apparatus 200T Transmission system 200R Reception system 201 Control section 201a User operation section 202 Metadata generator 203 Audio capture device 204 Object information generating section 205 Audio encoder 206 Character generating section 207 Subtitle encoder 208 Container encoder 209 Network interface 210 Bus 211 Network interface 212 Container decoder 213 Video decoder 214 Plane converter 215, 215A Reception module 216 Audio decoder 218 Mixer 219 Synthesis section 221 Container encoder 222 Meta information analyzing section 223 Avatar database selecting section 223a Database mapping section 224 Avatar database 225 Size converting section 226 Audio decoder 227 Renderer 228 Subtitle decoder 229 Font expanding section 300 Network 400A Head-mounted display (HMD) 400B Headphones (HP)

Landscapes

  • Engineering & Computer Science (AREA)
  • Multimedia (AREA)
  • Signal Processing (AREA)
  • Computer Networks & Wireless Communication (AREA)
  • Library & Information Science (AREA)
  • Databases & Information Systems (AREA)
  • Human Computer Interaction (AREA)
  • General Engineering & Computer Science (AREA)
  • Two-Way Televisions, Distribution Of Moving Picture Or The Like (AREA)
  • Information Transfer Between Computers (AREA)
  • Controls And Circuits For Display Device (AREA)
  • User Interface Of Digital Computer (AREA)
PCT/JP2018/016067 2017-05-09 2018-04-19 Client apparatus, client apparatus processing method, server, and server processing method Ceased WO2018207581A1 (en)

Priority Applications (3)

Application Number Priority Date Filing Date Title
EP18722749.1A EP3622715A1 (en) 2017-05-09 2018-04-19 Client apparatus, client apparatus processing method, server, and server processing method
US16/499,475 US11240480B2 (en) 2017-05-09 2018-04-19 Client apparatus, client apparatus processing method, server, and server processing method
CN201880029282.4A CN110583022B (zh) 2017-05-09 2018-04-19 客户端设备、客户端设备处理方法、服务器以及服务器处理方法

Applications Claiming Priority (2)

Application Number Priority Date Filing Date Title
JP2017-093436 2017-05-09
JP2017093436A JP6946724B2 (ja) 2017-05-09 2017-05-09 クライアント装置、クライアント装置の処理方法、サーバおよびサーバの処理方法

Publications (1)

Publication Number Publication Date
WO2018207581A1 true WO2018207581A1 (en) 2018-11-15

Family

ID=62116524

Family Applications (1)

Application Number Title Priority Date Filing Date
PCT/JP2018/016067 Ceased WO2018207581A1 (en) 2017-05-09 2018-04-19 Client apparatus, client apparatus processing method, server, and server processing method

Country Status (5)

Country Link
US (1) US11240480B2 (enExample)
EP (1) EP3622715A1 (enExample)
JP (1) JP6946724B2 (enExample)
CN (1) CN110583022B (enExample)
WO (1) WO2018207581A1 (enExample)

Cited By (2)

* Cited by examiner, † Cited by third party
Publication number Priority date Publication date Assignee Title
CN111372112A (zh) * 2018-12-26 2020-07-03 华为技术有限公司 一种视频同步显示的方法、装置及系统
CN111405142A (zh) * 2020-03-30 2020-07-10 咪咕视讯科技有限公司 一种图像处理方法、设备及计算机可读存储介质

Families Citing this family (6)

* Cited by examiner, † Cited by third party
Publication number Priority date Publication date Assignee Title
CN111935491B (zh) * 2020-06-28 2023-04-07 百度在线网络技术(北京)有限公司 直播的特效处理方法、装置以及服务器
CN111800653B (zh) * 2020-07-29 2021-06-11 北京大学深圳研究生院 视频解码方法、系统、设备及计算机可读存储介质
JP6980150B1 (ja) * 2020-11-06 2021-12-15 株式会社メタリアル 3次元仮想現実空間提供サーバ、3次元仮想現実空間提供方法、3次元仮想現実空間提供プログラム、3次元仮想現実空間表示制御装置、3次元仮想現実空間表示制御方法、3次元仮想現実空間表示制御プログラムおよび3次元仮想現実空間提供システム
JP7406704B2 (ja) * 2020-12-25 2023-12-28 三菱電機株式会社 情報処理装置、制御方法、及び制御プログラム
JP2023079043A (ja) * 2021-11-26 2023-06-07 キヤノン株式会社 撮像装置、情報処理方法、およびプログラム
US20250184511A1 (en) * 2023-12-04 2025-06-05 Tencent America LLC Copyright sei messages

Citations (2)

* Cited by examiner, † Cited by third party
Publication number Priority date Publication date Assignee Title
US20010044725A1 (en) * 1996-11-19 2001-11-22 Koichi Matsuda Information processing apparatus, an information processing method, and a medium for use in a three-dimensional virtual reality space sharing system
JP2016025633A (ja) 2014-07-24 2016-02-08 ソニー株式会社 情報処理装置、管理装置、情報処理方法、およびプログラム

Family Cites Families (10)

* Cited by examiner, † Cited by third party
Publication number Priority date Publication date Assignee Title
JPH10207684A (ja) * 1996-11-19 1998-08-07 Sony Corp 3次元仮想現実空間共有システムにおける情報処理装置、情報処理方法および媒体
JPH1125016A (ja) * 1997-07-09 1999-01-29 Matsushita Electric Ind Co Ltd アバターを使用した通信方法およびそのプログラムを記録した記録媒体
JP2004515175A (ja) 2000-12-01 2004-05-20 コーニンクレッカ フィリップス エレクトロニクス エヌ ヴィ 種々のデータからのビデオシーンのコンポジションの方法及び装置
US20080151786A1 (en) * 2006-12-21 2008-06-26 Motorola, Inc. Method and apparatus for hybrid audio-visual communication
US8375397B1 (en) * 2007-11-06 2013-02-12 Google Inc. Snapshot view of multi-dimensional virtual environment
EP2216963A1 (en) * 2009-02-04 2010-08-11 Nec Corporation Method for transmitting virtualized data in cloud computing environment
CN108525299B (zh) * 2012-11-16 2021-09-21 索尼互动娱乐美国有限责任公司 一种用于增强远程服务的计算机应用的系统和方法
EP3061241A4 (en) * 2013-08-20 2017-04-05 Smarter TV Ltd. System and method for real-time processing of ultra-high resolution digital video
CN106210865A (zh) 2016-07-08 2016-12-07 中霆云计算科技(上海)有限公司 一种基于远程桌面呈现协议的视频重定向方法及系统
US10873733B2 (en) * 2017-06-23 2020-12-22 Mediatek Inc. Methods and apparatus for deriving composite tracks

Patent Citations (2)

* Cited by examiner, † Cited by third party
Publication number Priority date Publication date Assignee Title
US20010044725A1 (en) * 1996-11-19 2001-11-22 Koichi Matsuda Information processing apparatus, an information processing method, and a medium for use in a three-dimensional virtual reality space sharing system
JP2016025633A (ja) 2014-07-24 2016-02-08 ソニー株式会社 情報処理装置、管理装置、情報処理方法、およびプログラム

Non-Patent Citations (1)

* Cited by examiner, † Cited by third party
Title
See also references of EP3622715A1

Cited By (4)

* Cited by examiner, † Cited by third party
Publication number Priority date Publication date Assignee Title
CN111372112A (zh) * 2018-12-26 2020-07-03 华为技术有限公司 一种视频同步显示的方法、装置及系统
CN111372112B (zh) * 2018-12-26 2022-06-07 华为技术有限公司 一种视频同步显示的方法、装置及系统
US11868674B2 (en) 2018-12-26 2024-01-09 Huawei Technologies Co., Ltd. Method, apparatus and system for video synchronous display
CN111405142A (zh) * 2020-03-30 2020-07-10 咪咕视讯科技有限公司 一种图像处理方法、设备及计算机可读存储介质

Also Published As

Publication number Publication date
JP2018191186A (ja) 2018-11-29
EP3622715A1 (en) 2020-03-18
CN110583022A (zh) 2019-12-17
US11240480B2 (en) 2022-02-01
CN110583022B (zh) 2022-04-19
JP6946724B2 (ja) 2021-10-06
US20210112232A1 (en) 2021-04-15

Similar Documents

Publication Publication Date Title
US11240480B2 (en) Client apparatus, client apparatus processing method, server, and server processing method
CN111466124B (zh) 用于渲染用户的视听记录的方法,处理器系统和计算机可读介质
JP6622388B2 (ja) ビデオ画像に関連付けられているオーディオ信号を処理する方法および装置
US11435977B2 (en) Method for transmitting and receiving audio data related to transition effect and device therefor
US20120098928A1 (en) Stereoscopic content service system and method
CN101651841A (zh) 一种立体视频通讯的实现方法、系统和设备
KR100576544B1 (ko) 엠펙-4 객체기술자 정보 및 구조를 이용한 3차원 동영상처리 장치 및 그 방법
EP4372530B1 (en) Six degrees of freedom and three degrees of freedom backward compatibility
GB2565140A (en) Virtual reality video processing
US11086587B2 (en) Sound outputting apparatus and method for head-mounted display to enhance realistic feeling of augmented or mixed reality space
WO2017141511A1 (ja) 情報処理装置、情報処理システム、および情報処理方法、並びにプログラム
WO2019187430A1 (ja) 情報処理装置、方法、及びプログラム
JP7457525B2 (ja) 受信装置、コンテンツ伝送システム、及びプログラム
WO2019187442A1 (ja) 情報処理装置、方法、及びプログラム
CN115883871B (zh) 媒体文件封装与解封装方法、装置、设备及存储介质
JP7173249B2 (ja) クライアント装置、表示システム、クライアント装置の処理方法およびプログラム
WO2019155930A1 (ja) 送信装置、送信方法、処理装置および処理方法
JP5813542B2 (ja) 画像コミュニケーションシステム、AR(AugmentedReality)動画生成装置及びプログラム
JP5894505B2 (ja) 画像コミュニケーションシステム、画像生成装置及びプログラム
KR101856632B1 (ko) 화자의 위치를 기반으로 한 자막 디스플레이 방법 및 이러한 방법을 수행하는 장치
US20160330430A1 (en) Embedding calibration metadata into stereoscopic video files
KR102380183B1 (ko) 온라인 쇼핑몰에 vr 기술을 적용시킨 서버
RU2826074C2 (ru) Способ, энергонезависимый машиночитаемый носитель и декодер MPEG-H 3D Audio для расширения трех степеней свободы MPEG-H 3D Audio
JPWO2023174504A5 (enExample)
KR20170111010A (ko) 가상 이미지를 이용한 영상 통화 시스템 및 방법과 이를 수행하기 위한 영상 통화 중계 서버

Legal Events

Date Code Title Description
121 Ep: the epo has been informed by wipo that ep was designated in this application

Ref document number: 18722749

Country of ref document: EP

Kind code of ref document: A1

NENP Non-entry into the national phase

Ref country code: DE

ENP Entry into the national phase

Ref document number: 2018722749

Country of ref document: EP

Effective date: 20191209