WO2018198676A1 - 情報処理システム - Google Patents

情報処理システム Download PDF

Info

Publication number
WO2018198676A1
WO2018198676A1 PCT/JP2018/013972 JP2018013972W WO2018198676A1 WO 2018198676 A1 WO2018198676 A1 WO 2018198676A1 JP 2018013972 W JP2018013972 W JP 2018013972W WO 2018198676 A1 WO2018198676 A1 WO 2018198676A1
Authority
WO
WIPO (PCT)
Prior art keywords
information
individual
person
processing system
metadata
Prior art date
Legal status (The legal status is an assumption and is not a legal conclusion. Google has not performed a legal analysis and makes no representation as to the accuracy of the status listed.)
Ceased
Application number
PCT/JP2018/013972
Other languages
English (en)
French (fr)
Japanese (ja)
Inventor
鍵和田 芳光
Current Assignee (The listed assignees may be inaccurate. Google has not performed a legal analysis and makes no representation or warranty as to the accuracy of the list.)
Keysoft Inc
Original Assignee
Keysoft Inc
Priority date (The priority date is an assumption and is not a legal conclusion. Google has not performed a legal analysis and makes no representation as to the accuracy of the date listed.)
Filing date
Publication date
Application filed by Keysoft Inc filed Critical Keysoft Inc
Priority to US16/609,171 priority Critical patent/US20200089911A1/en
Priority to JP2019515184A priority patent/JP7256500B2/ja
Publication of WO2018198676A1 publication Critical patent/WO2018198676A1/ja
Anticipated expiration legal-status Critical
Priority to JP2023046790A priority patent/JP7510636B2/ja
Priority to JP2024096023A priority patent/JP7702096B2/ja
Priority to JP2025098531A priority patent/JP2025131821A/ja
Ceased legal-status Critical Current

Links

Images

Classifications

    • GPHYSICS
    • G06COMPUTING OR CALCULATING; COUNTING
    • G06FELECTRIC DIGITAL DATA PROCESSING
    • G06F21/00Security arrangements for protecting computers, components thereof, programs or data against unauthorised activity
    • G06F21/60Protecting data
    • G06F21/62Protecting access to data via a platform, e.g. using keys or access control rules
    • G06F21/6218Protecting access to data via a platform, e.g. using keys or access control rules to a system of files or objects, e.g. local or distributed file system or database
    • G06F21/6245Protecting personal data, e.g. for financial or medical purposes
    • GPHYSICS
    • G06COMPUTING OR CALCULATING; COUNTING
    • G06FELECTRIC DIGITAL DATA PROCESSING
    • G06F16/00Information retrieval; Database structures therefor; File system structures therefor
    • G06F16/90Details of database functions independent of the retrieved data types
    • G06F16/903Querying
    • G06F16/9035Filtering based on additional data, e.g. user or group profiles
    • GPHYSICS
    • G06COMPUTING OR CALCULATING; COUNTING
    • G06FELECTRIC DIGITAL DATA PROCESSING
    • G06F21/00Security arrangements for protecting computers, components thereof, programs or data against unauthorised activity
    • G06F21/30Authentication, i.e. establishing the identity or authorisation of security principals
    • G06F21/31User authentication
    • GPHYSICS
    • G06COMPUTING OR CALCULATING; COUNTING
    • G06FELECTRIC DIGITAL DATA PROCESSING
    • G06F21/00Security arrangements for protecting computers, components thereof, programs or data against unauthorised activity
    • G06F21/60Protecting data
    • G06F21/604Tools and structures for managing or administering access control systems
    • GPHYSICS
    • G06COMPUTING OR CALCULATING; COUNTING
    • G06QINFORMATION AND COMMUNICATION TECHNOLOGY [ICT] SPECIALLY ADAPTED FOR ADMINISTRATIVE, COMMERCIAL, FINANCIAL, MANAGERIAL OR SUPERVISORY PURPOSES; SYSTEMS OR METHODS SPECIALLY ADAPTED FOR ADMINISTRATIVE, COMMERCIAL, FINANCIAL, MANAGERIAL OR SUPERVISORY PURPOSES, NOT OTHERWISE PROVIDED FOR
    • G06Q50/00Information and communication technology [ICT] specially adapted for implementation of business processes of specific business sectors, e.g. utilities or tourism
    • GPHYSICS
    • G16INFORMATION AND COMMUNICATION TECHNOLOGY [ICT] SPECIALLY ADAPTED FOR SPECIFIC APPLICATION FIELDS
    • G16HHEALTHCARE INFORMATICS, i.e. INFORMATION AND COMMUNICATION TECHNOLOGY [ICT] SPECIALLY ADAPTED FOR THE HANDLING OR PROCESSING OF MEDICAL OR HEALTHCARE DATA
    • G16H10/00ICT specially adapted for the handling or processing of patient-related medical or healthcare data
    • G16H10/60ICT specially adapted for the handling or processing of patient-related medical or healthcare data for patient-specific data, e.g. for electronic patient records

Definitions

  • the present invention relates to an information processing system, and relates to an information processing system that processes information about an individual.
  • Big data is unstructured data / atypical data that includes various types and formats, and is a collection of data that accumulates and increases daily.
  • a data group that has been overlooked without being able to manage the enormous amount of data is being recorded, stored, immediately analyzed, and effectively used for business or the like.
  • SNS social networking service
  • FACEBOOK registered trademark
  • TWITTER registered trademark
  • diagnosis records and prescriptions of medical examinees and patients in hospitals and other medical institutions will be used as big data. If information such as diagnostic records and prescriptions can be used as big data, pharmaceutical companies can develop products that meet market needs.
  • the SNS discloses information to the Internet so that only specific people who form a community can access, or so that unspecified people can access. Information published so that only a specific person can access it is difficult to use as big data because access from outside is limited. Information published so that it can be accessed by unspecified people can be used as big data.
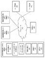
  • FIG. 1 is a diagram showing a schematic configuration of an SNS information processing system.
  • FIG. 1 shows a network 190 such as the Internet to which the SNS information processing system 100 is connected, user terminals 160 and 162 and a search server 180 connected to the SNS information processing system 100 via the network 190. Yes.
  • the SNS information processing system 100 includes a processor such as a CPU, a semiconductor memory, a magnetic or optical memory, a wired or wireless communication device, an input device such as a keyboard, an input pad, a mouse pointer, and a microphone, It can be composed of one or a plurality of computers provided with an output device such as a display, a printer, and a speaker.
  • a processor such as a CPU, a semiconductor memory, a magnetic or optical memory, a wired or wireless communication device, an input device such as a keyboard, an input pad, a mouse pointer, and a microphone, It can be composed of one or a plurality of computers provided with an output device such as a display, a printer, and a speaker.
  • the SNS information processing system 100 includes a database (DB) 102, an information disclosure server 104, a communication server 106, and an authentication server 108.
  • DB database
  • the SNS information processing system 100 includes a database (DB) 102, an information disclosure server 104, a communication server 106, and an authentication server 108.
  • the database 102 is a database that stores information for each user of the SNS information processing system 100.
  • the database 102 is held in a memory, and information is written / read in response to a request.
  • FIG. 2 is a diagram illustrating an example of user information stored in the database 102.
  • the database 102 includes authentication information 202 (user ID, password), registration information 204 (name / name, date of birth, address, telephone number, e-mail address, gender), public information 206 (profiles 1, 2, blog articles, etc.). including.
  • the database 102 may include a contact list 208 (names / names of other users, email addresses, telephone numbers, etc.).
  • information input / set by the user AAA from the user terminal 160 is stored.
  • the information disclosure server 104 is implemented by causing a processor to execute a program such as an HTML (HyperTextHMarkup Language) server.
  • the information disclosure server 104 can publish user information stored in the database 102 at a predetermined address.
  • FIG. 3 is a diagram illustrating an example of user information disclosed by the information disclosure server 104.
  • FIG. 3 illustrates a state where the public information 206 of the user AAA stored in the database 102 illustrated in FIG. 2 is arranged and published in the blog format.
  • the blog of the user AAA can be accessed from the user terminal 162 of another user (for example, the user BBB in the contact list of the user AAA) by specifying an address aaa on the Internet. Further, the search can be performed using the search server 180.
  • the blog displays an area that can be activated (button) for sending a message such as an email to AAA and an area that can be activated for writing a comment on the blog article (button). Has been.
  • the user BBB accesses the user AAA blog published from the user terminal 162 and activates the message button, so that the user interface for sending a message to the AAA mail address (ID1 @ xxx) is the user.
  • the user BBB activates the comment button, whereby a user interface UI for creating a comment is presented on the user terminal 162, and a comment can be written on the public information.
  • the communication server 106 is implemented by, for example, a processor that executes a program that supports Internet Protocol (IP) communication and a communication device.
  • IP Internet Protocol
  • the communication server 106 is a server that executes a mail server program using a protocol such as POP (Post Office Protocol) / SMTP (Simple Mail Transfer Protocol) or IMAP (Internet Message Access Protocol), or a short message service SMS program. It comes out.
  • the communication server 106 may be a file server that executes a file transfer program using a protocol such as FTP (File Transfer Protocol).
  • the communication server 106 can communicate with the user terminals 160 and 162, the search server 180, the information disclosure server 104, the authentication server 108, or another mail server or SNS server, or another file server.
  • the authentication server 108 provides a function of authenticating the user of the information disclosure server 104 (for example, password verification), and an access control function for information stored in the database 102.
  • the present invention has been made in view of such problems, and an object of the present invention is to provide an information processing system that discloses information related to an individual so that the individual cannot be identified.
  • an information processing system is connected to the outside via a network, and stores storage means for storing information related to an individual, information disclosure means, and person metadata generation.
  • the storage means is configured to store each piece of information about the individual with a flag indicating whether or not to disclose the individual so that the individual cannot be identified.
  • the information publishing means is configured to publish the person metadata so that it can be accessed over the network. It is configured.
  • an information processing system that discloses information related to an individual so that the individual cannot be identified.
  • FIG. 4 is a diagram illustrating an example of user information stored in a database 102.
  • FIG. It is a figure which shows the example of the user's information published by the information disclosure server 104.
  • FIG. shows schematic structure of the SNS information processing system which concerns on one Embodiment of this invention.
  • FIG. 9A It is a figure which shows the person metadata which concerns on one Embodiment of this invention, and is a figure which shows the person metadata corresponding to FIG. 9B. It is a figure which shows the person metadata which concerns on one Embodiment of this invention, and is a figure which shows the person metadata corresponding to FIG. 9C. It is a figure which shows the person metadata which concerns on one Embodiment of this invention, and is a figure which shows the person metadata corresponding to FIG. 9D. It is a figure which shows the processing flow in the information processing system of this invention.
  • An information processing system is an information processing system connected to the outside through a network, and includes a memory that stores information about an individual, an information disclosure server (SV), and a person metadata generation unit.
  • the memory stores each piece of information related to an individual with a flag indicating whether the information is disclosed so that the individual cannot be identified.
  • the person metadata generation unit generates person metadata based on information about the person indicated to be disclosed so that the person cannot be identified by the flag.
  • the information disclosure server publishes information about an individual that is not indicated to be disclosed so that the individual cannot be identified by a flag and person metadata separately so that they can be accessed via the network.
  • Person metadata includes all or part of a person's back data.
  • the back data of a person includes personal information of the person representing the person's properties, such as a person's personality, hobbies, blood type, height, weight, atopy, medical history, career, contact information, and the like.
  • Person metadata can be used to express more detailed characteristics of a person, in addition to information that usually identifies the person, such as the person's personal number, name, and address.
  • Data hereinafter also referred to as main data
  • main data for identifying a person such as a personal number, name, and address may be separately configured and person metadata may be associated with each other.
  • the personal number may be included in the main data
  • the name and address may be included in the person metadata along with other information elements.
  • information that identifies a person such as a name and address is usually person metadata that is not disclosed.
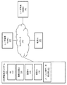
  • FIG. 4 is a diagram showing a schematic configuration of an SNS information processing system according to an embodiment of the present invention.
  • the SNS information processing system 400 can be connected to the user terminals 160 and 162 and the search server 180 via the network 190.
  • the SNS information processing system 400 shown in FIG. 4 includes a processor such as a CPU, a semiconductor memory, a magnetic or optical memory, a wired or wireless communication device, a keyboard, an input pad, a mouse pointer, a microphone, and the like. It can be composed of one or a plurality of computers including an input device and an output device such as a display, a printer, and a speaker.
  • the SNS information processing system 400 includes a database 102, an information disclosure server 104, a communication server 106, and an authentication server 108, as in FIG. As shown in FIG. 4, the SNS information processing system 400 of this embodiment further includes a person metadata generation unit 402.
  • the database 102 is data for storing information about each individual user of the SNS system.
  • the database 102 is held in a memory.
  • FIG. 5 is a diagram showing an example of user information stored in the database 102 according to the present embodiment. Similar to FIG. 2, the database 102 includes authentication information 202 (user ID, password), registration information 204 (name / name, date of birth, address, telephone number, mail address, gender), public information 206 (profile 1, 2 and blog articles). The database 102 may include a contact list 208 (names / names of other users, email addresses, telephone numbers, etc.). As shown in FIG. 5, the database 102 according to the present embodiment includes a flag 502.
  • the flag 502 indicates whether each piece of information related to an individual stored in the database 102 is disclosed so that the individual cannot be specified. For example, information whose flag is set to “1” (for example, profiles 1 and 2) indicates that the person metadata, that is, information identifying an individual is disclosed as confidential information as will be described later. Information in which the flag is set to “0” (for example, a blog article) is released in a conventional form. Information in which the flag is set to “1” (for example, profiles 1 and 2) is disclosed separately from information in which the flag is set to “0”. For example, published in different designs / formats, on different servers or addresses, respectively. Information with the flag set to “1” and information with the flag set to “0” are not provided with or associated with the other when accessing one of these.
  • the profile to be disclosed is associated with the flag “1”, but another information category may be associated.
  • “1” is associated with “medical data” to be disclosed
  • “2” is associated with “hobby”
  • “3” is associated with “food preference”, and so on. May be. By doing so, it becomes possible to organize and search published information.
  • the flag may identify whether to publish and identify who should be allowed access (subject to publication).
  • a flag is set in the registration information stored in the database 102 as shown in Table 1.
  • Table 2 each of the flag values “0” to “5” shown in Table 1 is associated in advance with whether or not to make it public and who is permitted to access (publication target).
  • e-mail, food preferences (likes), and color preferences can be accessed by medical personnel, food manufacturers, and sports equipment manufacturers, publishers, health food manufacturers, and others Person metadata is created and published so that is not accessible.
  • Person metadata is created and published so that is not accessible.
  • the information disclosure server 104 publishes the registration information shown in Table 1, it is determined which flag the accessor corresponds to (the access authority for which registration information is It may be determined whether the information is allocated), and the registered information may be accessed according to the determined flag.
  • the access person who accesses the information provides information (for example, information indicating the type of occupation, type of business, etc.) for determining the access right from the user terminals 160 and 162 to the search server 180 or the information disclosure server 104.
  • the search server 180 provides information for determining the access right from the user terminal to the information disclosure server 104.
  • the information disclosure server 104 determines whether the information disclosure server 104 is an email, a profile 1, and a color.
  • the color preference (dislike) and information registered as color preference may be provided, and the name, address, and information registered as profile 2 may be provided as masked.
  • examples of medical personnel, food manufacturer personnel, etc. are shown, but the flag does not necessarily represent the type of occupation or industry, but represents the authority and distinction of the person accessing the data. Can do.
  • information to be disclosed may be identified so that an individual cannot be specified without using a flag.
  • a specific data item of a database record is determined in advance as information to be disclosed so that an individual cannot be specified, and a person metadata generation unit generates person metadata including the contents of the data item, and information is disclosed
  • the server may make it public.
  • a method of setting them in advance on the program may be adopted.
  • all items except name, address, telephone number, e-mail address, etc. can be determined as public data.
  • the original data can be seen as items, but the contents such as name, address, telephone number, e-mail address etc. are hidden A way to do this is conceivable.
  • main data including data items that specify a person such as a personal number, name, and address, and person metadata that can be used to express more detailed properties of a person are separated. They may be configured and associated with each other. For example, when a person's personal number is 0001, an identifier A001 is assigned to the person's main data, an identifier B001 is assigned to the person metadata, and the information is stored in the database 102. Only the assigned person metadata may be disclosed. At this time, only the personal metadata contents of B001 are disclosed, and the personal number 0001 included in the main data of A001 may be made private.
  • main data and person metadata are stored separately and associated with each other, other methods may be used.
  • main data and person metadata are stored separately in a tabular format, and data in different tabular formats that associate the two tabular main data and person metadata with the same person's information is stored. You may create and store it.
  • identifier A001 and identifier B001 may be concatenated and stored, and information of a person having a series of identifiers may be identified.
  • the tabular data and the series of identifiers are like a kind of map showing the data storage location.
  • a flag indicating whether or not to release the person metadata may be included in another table format data or a series of identifiers. Accordingly, the disclosure or non-disclosure of the person metadata can be indicated by data in a different table format or a series of identifiers instead of the person metadata.
  • FIG. 6 is a diagram showing an example of user information stored in the database 102 according to the embodiment of the present invention.
  • information with the flag set to “0” is disclosed as an address that is a combination of the server address “aaa” and the user AAA user ID “ID1”, and the flag is set to “1”.
  • An example is shown in which information (for example, profiles 1 and 2) is disclosed at different addresses.
  • the information publishing server 104 or other element is configured to determine the server and address that publishes information with the flag set to “1”.
  • the information disclosure server 104 or other element refers to a list of servers and addresses (lists stored in memory) that publish person metadata, and a server that publishes each person metadata at random from the list. The address may be determined.
  • Such a list may store a theme or classification of the contents of the person metadata published by each server in association with each other.
  • the information disclosure server 104 or other elements can analyze the content of the person metadata to be disclosed through analysis (for example, morphological analysis) and determination (for example, determination based on statistical determination and / or learning model) or A classification may be determined, and a server and an address matching the classification may be selected from the list.
  • analysis for example, morphological analysis
  • determination for example, determination based on statistical determination and / or learning model
  • a classification may be determined, and a server and an address matching the classification may be selected from the list.
  • person metadata of the same or similar theme or classification of multiple users (multiple individuals) at the same server and address. Aggregated and published.
  • the person metadata generation unit 402 can be implemented by a processor that executes a program stored in a memory.
  • the person metadata generation unit 402 generates person metadata based on information about the person indicated to be disclosed so that the person cannot be specified by the flag.
  • FIG. 7 is a diagram illustrating an example of user information published by the information disclosure server 104 according to an embodiment of the present invention.
  • person metadata 702 and 704 generated from information whose flag is set to “1” are disclosed at different servers and addresses (“bbb” and “ccc”), respectively.
  • the user BBB registered in the contact list of the user AAA can access the person metadata 702 and 704 and the blog information from the user terminal 162.
  • the user BBB can recognize that the blog is information of the user AAA, but the person metadata 702 and 704 cannot recognize who the information is.
  • the information disclosure server 104 transmits the person metadata to the user terminals 160 and 162 (laptop PC, tablet PC, portable terminal, mobile phone, smartphone) of the user who has accessed the person metadata 702 and 704.
  • Publish person metadata 702, 704 along with areas (buttons) that can be activated to present a user interface UI for creating messages or comments. Without identifying the address information of the user (individual) who provided the information from which the person metadata originated, or identifying address information that is not that individual (eg, a dedicated address for sending messages) A UI is displayed on the user terminal so that a comment can be created.
  • a message including the address where the person metadata is disclosed is received by the communication server 106 of the SNS information processing system 400, and the comment is a person as log information in the server (bbb or ccc) that publishes the person metadata.
  • the communication server 106 may use the address information of the individual registered in the database 102 to notify the individual who has been made incapable of specifying the message or comment regarding the person metadata from the person metadata.
  • the SNS information processing system 100 may include the search server 180.
  • a specific area stored in the database 102 may be designated in advance to generate person metadata.
  • the area that can be activated to present the above user interface is replaced with an address for sending a message or comment (address information that is not for the individual (for example, a dedicated address for sending a message)). It may be displayed.
  • an SNS information processing system that discloses information about an individual so that the individual cannot be identified. Since information about an individual can be disclosed so that the individual cannot be specified, for example, information on physical characteristics such as constitution or information on health and medical history can be easily disclosed. For example, if you want to know information about medical history or special hobbies, you have to inform your partner that you have a medical history or special hobbies, and tell others that you have such medical history or special hobbies. However, according to the SNS information processing system of this embodiment, such a problem is improved by publishing it as person metadata. In other words, it is easy to disclose information and it can be expected to be used as big data. In addition, since it is possible to send a message or provide a comment to the public person metadata, it can be expected that it will be easier to obtain feedback on information related to medical history and special hobbies.
  • the present invention is not limited to the SNS information processing system, and can be used in many other embodiments as long as the person metadata can be stored separately.
  • the present invention can be implemented as an information system related to medical care or nursing care.
  • the example which implements this invention also as an information processing system (it is called a hospital information processing system in this specification) relevant to a hospital is explained.
  • FIG. 8 is a diagram showing a schematic configuration of a hospital information processing system according to an embodiment of the present invention.
  • the hospital information processing system 800 can be connected to the user terminals 160 and 162 and the search server 180 via the network 190.
  • the hospital information processing system 800 includes a processor such as a CPU, a semiconductor memory, a magnetic or optical memory, a wired or wireless communication device, an input device such as a keyboard, an input pad, a mouse pointer, and a microphone, It can be composed of one or a plurality of computers provided with an output device such as a display, a printer, and a speaker.
  • the hospital information processing system 800 includes an information disclosure server 104, a communication server 106, and an authentication server 108.
  • the hospital information processing system 800 includes a patient information database 802, a person metadata generation unit 804, and a person metadata database 806.
  • the patient information database 802 is a database that stores patient information.
  • the patient information database 802 is held in a memory.
  • FIGS. 9B to 9D are diagrams showing examples of patient information stored in the patient information database 802.
  • FIG. 9A is a diagram showing an example of diagnostic record information 901.
  • FIGS. 9B to 9D are related to the diagnostic record information 901.
  • 6 is a diagram showing prescription information 902 to 904.
  • the diagnostic record information 901 stores diagnostic record information and prescription information about a patient who is an individual with a flag indicating whether the individual is disclosed so that the individual cannot be specified.
  • the information of the patient whose flag is set to “1” indicates that it is disclosed as person metadata, that is, information concealing information for identifying an individual.
  • the diagnostic record information 901 includes the address of the patient's information disclosure destination and the patient's contact information (for example, e-mail address) to be notified of the presence of a message or comment on the disclosed person metadata.
  • the person metadata generation unit 804 can be implemented by a processor that executes a program stored in a memory.
  • the person metadata generation unit 804 generates person metadata based on information (patient diagnosis record information 901 and prescription information 902 to 904) related to the individual indicated to be disclosed so that the individual cannot be specified by the flag.
  • the person metadata generation unit 804 can generate person metadata by deleting information (name, date of birth, mail address) identifying an individual from patient information.
  • the person metadata generation unit 804 can also generate person metadata by replacing information (name) identifying an individual with an alphanumeric character string.
  • the person metadata database 806 stores the generated person metadata.
  • the person metadata database 806 is held in memory.
  • FIGS. 10A to 10D are diagrams showing person metadata according to an embodiment of the present invention.
  • FIGS. 10A to 10D correspond to the diagnostic record information 901 in FIG. 9A and the prescription information 902 to 904 in FIGS. 9B to 9D, respectively.
  • the person metadata 1001 in FIG. 10A deletes information identifying an individual (patient) by deleting the date of birth of the diagnostic record information 901 and replacing the name with a number.
  • the person metadata shown in FIGS. 10B to 10D is person metadata corresponding to the prescription information 902 to 904 shown in FIGS. 9B to 9D, respectively.
  • the person metadata of FIGS. 10B to 10D also deletes the information specifying the individual (patient) by deleting the date of birth of the prescription information of FIGS.
  • the information disclosure server 104 of the hospital information processing system 800 can publish the person metadata 1001 to 1004.
  • Person metadata 1001-1004 may be published along with areas (buttons) that can be activated to present a user interface for creating a message or comment on the person metadata to the accessing user's user terminal.
  • the pharmaceutical company can access the person metadata 1001 to 1004 as a search result by the search server 180 from the user terminal 162.
  • address information of the patient (individual) who provided the patient information that is the basis of the person metadata is not specified, or address information not belonging to the patient (for example, for message transmission of the hospital information processing system 800
  • the user interface is displayed on the user terminal 162 of the pharmaceutical company so that a message or comment can be created.
  • the pharmaceutical company can create a message or comment on the metadata.
  • a message including a person metadata disclosure address http: // ccc
  • a comment is a server (ccc) that publishes the person metadata.
  • the communication server 106 of the hospital information processing system uses the patient address information (ID1 @ xxx) registered in the patient information database 802 so that the presence of a message or comment on the person metadata cannot be identified from the person metadata. May be notified to the individual
  • the patient can access and view messages or comments on the person metadata from the user terminal 160, for example.
  • the information disclosure server 104 or other elements can analyze the contents of the person metadata 1001 to 1004 to be disclosed through analysis (for example, morphological analysis) and determination (hard decision or soft decision).
  • the classification may be determined, and a server and an address that match the classification may be selected from the list.
  • person metadata of the same or similar theme or classification of a plurality of users a plurality of individuals
  • person metadata related to atopy is aggregated in the server (ccc).
  • the search server 180 can access person metadata published by a plurality of hospital information processing systems 800, 812, and 814, and can search these person metadata in a cross-sectional manner. it can.
  • the search server 180 may be provided in at least one of the plurality of hospital information processing systems 800, 812, and 814.
  • the hospital information processing systems 800, 812, and 814 are each provided with the person metadata database 806.
  • the external search server 180 is provided with the person metadata database 806, and the person meta information of each hospital information processing system is provided.
  • the data generation unit 804 may store the generated person metadata in the person metadata database 806 of the external search server 180.
  • the hospital information processing system 800, 812, 814 can store the contact information (email address) together so that the notification regarding the provided metadata can be received from the external search server 180.
  • the external search server 180 provides a search service for the person metadata database 806 and provides person metadata as a search result.
  • the external search server 180 can acquire the contact information stored together with the person metadata and notify the hospital information processing system.
  • the notification may include an identification number included in the person metadata.
  • the notification may include a message or comment and may include a procedure for accessing the message or comment.
  • the communication server 106 of the corresponding hospital information processing system acquires the contact information (for example, e-mail address) of the patient who is the source of the person metadata from the patient information database 802, and the presence of a message or comment on the person metadata to the corresponding patient. Can be notified.
  • the person metadata generation unit 804 of each hospital information processing system can store the generated person metadata in the person metadata database 806 of the external search server 180.
  • Each hospital information processing system may include a search server 180, and the person metadata generation unit 804 may store the person metadata in different spaces within the search server.
  • the person metadata includes an identifier for identifying the theme or classification of the data item, whether to permit publication, and an identifier for identifying the object to be published. May be added together and stored together.
  • the search server 180 can use the additional information as an alternative or combination of the above-described flags.
  • the registration information and the additional information corresponding to the flag in Table 1 are set as follows: A: Taro Yamada: 0; B: Kanagawa Prefecture: 0; B: a @ bbb.
  • a to G are examples of identifiers for identifying a theme or classification, A is an identifier corresponding to a name, B is an identifier corresponding to contact information, C is an identifier corresponding to a hobby, and D is an identifier. It is an identifier corresponding to the constitution, and EG are identifiers corresponding to likes / dislikes.
  • the string “D: Atopy: 34” in the additional information indicates that the theme or classification of the third data item in the data record corresponds to the constitution, the data value is “Atopy”, “ ”And“ health food related persons ”. In the case where it is allowed to disclose the information on the theme or classification related to the constitution only to medical personnel, the string in the additional information corresponding to the third data item in the data record is “D: Atopy: 1”. do it.
  • an address (pointer) in the recording medium in which the data value is stored may be stored.
  • the system eg, hospital information management system 800, 812, 814, search server 180
  • the person metadata database 806 storing the person metadata
  • the content is not a data value but an address (pointer) in the recording medium in which the data value is stored, so that it is safer.
  • a hospital information processing system that discloses information on a patient (individual) so that the patient cannot be identified. Since patient information can be disclosed so that patients cannot be identified, it can be expected to be used as big data. Moreover, since it is possible to send a message or provide a comment to the public person metadata, it can be expected that feedback to the patient can be easily obtained.
  • main data for specifying a person such as a name
  • person metadata data item that can be used for more detailed expression of the person.
  • Main data and person metadata may be configured separately and associated with each other.
  • the main data and the person metadata are separately stored in a table format, and the two tabular main data and the person metadata are associated with the same person information. You may create and store tabular data.
  • the identifier of the main data and the identifier of the person metadata may be concatenated and stored so as to identify information of a person having a series of identifiers.
  • FIG. 11 is a diagram showing a processing flow in the information processing system of the present invention.
  • the information processing method shown in FIG. 11 can be implemented by an information processing system including the SNS information processing system 400 or the hospital information processing system 800 described above.
  • the user terminal 160 is a terminal used by a user who publishes personal information as person metadata, for example.
  • the user terminal 162 is a terminal used by a user who accesses metadata.
  • the information processing system receives and stores the input data.
  • the SNS information processing system 400 communicates with the user terminal 160 operated by the user, and receives the input profile data and flag settings for the profile.
  • the hospital information processing system 800 communicates with the user terminal 160 operated by the doctor and receives the input patient information (diagnosis record information and prescription information). It also receives flag settings as needed.
  • the information processing system (person metadata generation unit) generates person metadata based on the input data.
  • the information processing system (information disclosure server) publishes the generated person metadata.
  • step S1107 the user terminal transmits a search request to the search server.
  • step S1109 the search server executes the requested search.
  • step S1111 the search server returns a search result to the user terminal.
  • step S1113 the user terminal accesses the person metadata, generates a message or a comment via the user interface presented to the terminal, and transmits the message or comment.
  • the information processing system extracts the address of the provider of the input data corresponding to the person metadata to which the message or comment is transmitted.
  • the extraction of the address of the provider of the input data is performed when the information processing system (communication server or other element) receives a message transmitted to the address of the information processing system or receives a comment from the server that publishes the person metadata. This can be done in response to detecting that it has been recorded as a log.
  • the information processing system (communication server) notifies that a message or comment is available.
  • the user terminal accesses a message or comment addressed to the person metadata.
  • the information processing system may execute authentication of the user associated with the request in response to receiving the access request to the public person metadata.
  • the user authentication can be, for example, authentication by an authenticator including password authentication and biometric authentication.
  • the authenticator can be associated in advance with information indicating the type of occupation, industry, etc. as described above.
  • the search server may perform authentication of the user associated with the search request before executing the requested search.
  • the present invention can also be implemented as an information processing method for disclosing information related to an individual so that the individual cannot be identified.
  • the present invention can also be implemented as a computer program that causes a computer to execute this information processing method.

Landscapes

  • Engineering & Computer Science (AREA)
  • Theoretical Computer Science (AREA)
  • General Health & Medical Sciences (AREA)
  • Health & Medical Sciences (AREA)
  • Physics & Mathematics (AREA)
  • General Physics & Mathematics (AREA)
  • Computer Security & Cryptography (AREA)
  • General Engineering & Computer Science (AREA)
  • Bioethics (AREA)
  • Software Systems (AREA)
  • Computer Hardware Design (AREA)
  • Databases & Information Systems (AREA)
  • Medical Informatics (AREA)
  • Primary Health Care (AREA)
  • Public Health (AREA)
  • Epidemiology (AREA)
  • Business, Economics & Management (AREA)
  • Data Mining & Analysis (AREA)
  • Computational Linguistics (AREA)
  • Automation & Control Theory (AREA)
  • Economics (AREA)
  • Human Resources & Organizations (AREA)
  • Marketing (AREA)
  • Strategic Management (AREA)
  • Tourism & Hospitality (AREA)
  • General Business, Economics & Management (AREA)
  • Information Retrieval, Db Structures And Fs Structures Therefor (AREA)
  • Management, Administration, Business Operations System, And Electronic Commerce (AREA)
  • Medical Treatment And Welfare Office Work (AREA)
PCT/JP2018/013972 2017-04-28 2018-03-30 情報処理システム Ceased WO2018198676A1 (ja)

Priority Applications (5)

Application Number Priority Date Filing Date Title
US16/609,171 US20200089911A1 (en) 2017-04-28 2018-03-30 Information processing system
JP2019515184A JP7256500B2 (ja) 2017-04-28 2018-03-30 情報処理システム
JP2023046790A JP7510636B2 (ja) 2017-04-28 2023-03-23 情報処理システム
JP2024096023A JP7702096B2 (ja) 2017-04-28 2024-06-13 情報処理システム
JP2025098531A JP2025131821A (ja) 2017-04-28 2025-06-12 情報処理システム

Applications Claiming Priority (2)

Application Number Priority Date Filing Date Title
JP2017090532 2017-04-28
JP2017-090532 2017-04-28

Publications (1)

Publication Number Publication Date
WO2018198676A1 true WO2018198676A1 (ja) 2018-11-01

Family

ID=63918327

Family Applications (1)

Application Number Title Priority Date Filing Date
PCT/JP2018/013972 Ceased WO2018198676A1 (ja) 2017-04-28 2018-03-30 情報処理システム

Country Status (3)

Country Link
US (1) US20200089911A1 (enExample)
JP (4) JP7256500B2 (enExample)
WO (1) WO2018198676A1 (enExample)

Families Citing this family (2)

* Cited by examiner, † Cited by third party
Publication number Priority date Publication date Assignee Title
US11145404B1 (en) 2020-06-12 2021-10-12 Omniscient Neurotechnology Pty Limited Face reattachment to brain imaging data
CN117312634B (zh) * 2023-11-29 2024-02-20 大文传媒集团(山东)有限公司 人工智能数据整合传播处理系统

Citations (4)

* Cited by examiner, † Cited by third party
Publication number Priority date Publication date Assignee Title
JP2008527520A (ja) * 2005-01-10 2008-07-24 インターナショナル・ビジネス・マシーンズ・コーポレーション 安全なデータ交換、収集、監視及び/または警告のためのプライバシー資格プロトコル
JP2014062917A (ja) * 2013-12-25 2014-04-10 Sysmex Corp 検体検査装置及び検査情報出力方法
WO2016147402A1 (ja) * 2015-03-19 2016-09-22 三菱電機株式会社 コントローラ、画面生成方法、及び、プログラム
JP2017058800A (ja) * 2015-09-15 2017-03-23 富士ゼロックス株式会社 情報処理装置及びプログラム

Family Cites Families (9)

* Cited by examiner, † Cited by third party
Publication number Priority date Publication date Assignee Title
JP2001312565A (ja) * 2000-04-27 2001-11-09 Hitachi Ltd 情報提供方法
JP4429619B2 (ja) * 2003-04-15 2010-03-10 三菱電機株式会社 情報提供装置
JP2008083847A (ja) * 2006-09-26 2008-04-10 Fuji Xerox Co Ltd 医療情報処理システムおよび医療情報処理プログラム
JP5382599B2 (ja) * 2009-12-11 2014-01-08 敦志 田代 秘匿化アドレスマッチング処理システム
KR101064634B1 (ko) * 2010-12-28 2011-09-15 주식회사 네오패드 유저 맞춤형 컨텐츠 제공 방법 및 시스템
JP2014048934A (ja) * 2012-08-31 2014-03-17 Hitachi Systems Ltd サービス提供システムにおける情報開示制御装置及び情報開示制御方法、並びにサービス基盤事業者装置
US9298941B2 (en) * 2012-11-12 2016-03-29 EPI-USE Systems, Ltd. Secure data copying
JP6456162B2 (ja) * 2015-01-27 2019-01-23 株式会社エヌ・ティ・ティ ピー・シー コミュニケーションズ 匿名化処理装置、匿名化処理方法及びプログラム
JP6360803B2 (ja) * 2015-03-10 2018-07-18 富士フイルム株式会社 診療データ管理装置、その作動方法及び作動プログラム

Patent Citations (4)

* Cited by examiner, † Cited by third party
Publication number Priority date Publication date Assignee Title
JP2008527520A (ja) * 2005-01-10 2008-07-24 インターナショナル・ビジネス・マシーンズ・コーポレーション 安全なデータ交換、収集、監視及び/または警告のためのプライバシー資格プロトコル
JP2014062917A (ja) * 2013-12-25 2014-04-10 Sysmex Corp 検体検査装置及び検査情報出力方法
WO2016147402A1 (ja) * 2015-03-19 2016-09-22 三菱電機株式会社 コントローラ、画面生成方法、及び、プログラム
JP2017058800A (ja) * 2015-09-15 2017-03-23 富士ゼロックス株式会社 情報処理装置及びプログラム

Also Published As

Publication number Publication date
JP2024116345A (ja) 2024-08-27
JPWO2018198676A1 (ja) 2020-03-05
JP7510636B2 (ja) 2024-07-04
JP7256500B2 (ja) 2023-04-12
JP2025131821A (ja) 2025-09-09
JP7702096B2 (ja) 2025-07-03
US20200089911A1 (en) 2020-03-19
JP2023078393A (ja) 2023-06-06

Similar Documents

Publication Publication Date Title
Wyatt et al. eHealth and the future: promise or peril?
JP7702096B2 (ja) 情報処理システム
Ammar et al. Using a personal health library–enabled mHealth recommender system for self-management of diabetes among underserved populations: use case for knowledge graphs and linked data
Griffiths et al. The impact of online social networks on health and health systems: a scoping review and case studies
Sampat et al. Privacy risks and security threats in mHealth apps
Lewis et al. Social media and oncology: The past, present, and future of electronic communication between physician and patient
Gesselman et al. Mobile sex-tech apps: How use differs across global areas of high and low gender equality
JP2016170733A (ja) メッセージ表示プログラム、メッセージ表示方法、および情報処理装置
US9870579B2 (en) Managing shareable content in a social network
Wilkinson How mental health services are adapting to provide care in the pandemic
US20160224733A1 (en) Social media dissemination of health information via hybrid architecture
Lyons Morality, responsibility and risk: The importance of alternative perspectives in vaccination research
Patel et al. Examining the Integration of Responsible AI Principles in Social Media Marketing for Digital Health: A Theoretical Analysis
Prasanna et al. Online social networking: a primer for radiology
Steers et al. Ethical tipping point: Nurses' presence on social media
Das et al. Assessment of Artificial Intelligence Chatbot Attitudes Toward LGBTQ+ Individuals
Boston The Coronavirus Pandemic: Some Lessons I've Learned.
Gibson You've Been Hacked.
Bickham et al. 54. Environmental and Behavioral Patterns in Patients with Problematic Interactive Media Use
Young et al. Increasing capacity for family care: A research opportunity
Qattan et al. Social Media Influence, Role, Challenges, and Effect on Medicine
Galanes Do We Need to Tell Our Son That His Dad Has Coronavirus?
Jones Patient access to records must be acceptable to both parties
Salisbury Helen Salisbury: A chronic problem with language
Johnson Leaders Change the World

Legal Events

Date Code Title Description
121 Ep: the epo has been informed by wipo that ep was designated in this application

Ref document number: 18791456

Country of ref document: EP

Kind code of ref document: A1

ENP Entry into the national phase

Ref document number: 2019515184

Country of ref document: JP

Kind code of ref document: A

NENP Non-entry into the national phase

Ref country code: DE

122 Ep: pct application non-entry in european phase

Ref document number: 18791456

Country of ref document: EP

Kind code of ref document: A1