WO2015190061A1 - Information processor, information processing method, and program - Google Patents

Information processor, information processing method, and program Download PDF

Info

Publication number
WO2015190061A1
WO2015190061A1 PCT/JP2015/002766 JP2015002766W WO2015190061A1 WO 2015190061 A1 WO2015190061 A1 WO 2015190061A1 JP 2015002766 W JP2015002766 W JP 2015002766W WO 2015190061 A1 WO2015190061 A1 WO 2015190061A1
Authority
WO
WIPO (PCT)
Prior art keywords
information
moving image
frame
processor according
information processor
Prior art date
Legal status (The legal status is an assumption and is not a legal conclusion. Google has not performed a legal analysis and makes no representation as to the accuracy of the status listed.)
Ceased
Application number
PCT/JP2015/002766
Other languages
English (en)
French (fr)
Inventor
Shigefumi Tamura
Itaru Shimizu
Ryosuke Nomura
Current Assignee (The listed assignees may be inaccurate. Google has not performed a legal analysis and makes no representation or warranty as to the accuracy of the list.)
Sony Corp
Original Assignee
Sony Corp
Priority date (The priority date is an assumption and is not a legal conclusion. Google has not performed a legal analysis and makes no representation as to the accuracy of the date listed.)
Filing date
Publication date
Application filed by Sony Corp filed Critical Sony Corp
Priority to US15/305,886 priority Critical patent/US10181337B2/en
Priority to CN201580029545.8A priority patent/CN106463155A/zh
Priority to EP15729247.5A priority patent/EP3152896A1/en
Publication of WO2015190061A1 publication Critical patent/WO2015190061A1/en
Anticipated expiration legal-status Critical
Priority to US16/220,606 priority patent/US10541006B2/en
Ceased legal-status Critical Current

Links

Images

Classifications

    • GPHYSICS
    • G11INFORMATION STORAGE
    • G11BINFORMATION STORAGE BASED ON RELATIVE MOVEMENT BETWEEN RECORD CARRIER AND TRANSDUCER
    • G11B27/00Editing; Indexing; Addressing; Timing or synchronising; Monitoring; Measuring tape travel
    • G11B27/10Indexing; Addressing; Timing or synchronising; Measuring tape travel
    • G11B27/19Indexing; Addressing; Timing or synchronising; Measuring tape travel by using information detectable on the record carrier
    • G11B27/28Indexing; Addressing; Timing or synchronising; Measuring tape travel by using information detectable on the record carrier by using information signals recorded by the same method as the main recording
    • G11B27/32Indexing; Addressing; Timing or synchronising; Measuring tape travel by using information detectable on the record carrier by using information signals recorded by the same method as the main recording on separate auxiliary tracks of the same or an auxiliary record carrier
    • GPHYSICS
    • G11INFORMATION STORAGE
    • G11BINFORMATION STORAGE BASED ON RELATIVE MOVEMENT BETWEEN RECORD CARRIER AND TRANSDUCER
    • G11B27/00Editing; Indexing; Addressing; Timing or synchronising; Monitoring; Measuring tape travel
    • G11B27/10Indexing; Addressing; Timing or synchronising; Measuring tape travel
    • G11B27/19Indexing; Addressing; Timing or synchronising; Measuring tape travel by using information detectable on the record carrier
    • G11B27/28Indexing; Addressing; Timing or synchronising; Measuring tape travel by using information detectable on the record carrier by using information signals recorded by the same method as the main recording
    • G11B27/32Indexing; Addressing; Timing or synchronising; Measuring tape travel by using information detectable on the record carrier by using information signals recorded by the same method as the main recording on separate auxiliary tracks of the same or an auxiliary record carrier
    • G11B27/322Indexing; Addressing; Timing or synchronising; Measuring tape travel by using information detectable on the record carrier by using information signals recorded by the same method as the main recording on separate auxiliary tracks of the same or an auxiliary record carrier used signal is digitally coded
    • GPHYSICS
    • G11INFORMATION STORAGE
    • G11BINFORMATION STORAGE BASED ON RELATIVE MOVEMENT BETWEEN RECORD CARRIER AND TRANSDUCER
    • G11B27/00Editing; Indexing; Addressing; Timing or synchronising; Monitoring; Measuring tape travel
    • G11B27/10Indexing; Addressing; Timing or synchronising; Measuring tape travel
    • G11B27/34Indicating arrangements 
    • GPHYSICS
    • G11INFORMATION STORAGE
    • G11BINFORMATION STORAGE BASED ON RELATIVE MOVEMENT BETWEEN RECORD CARRIER AND TRANSDUCER
    • G11B31/00Arrangements for the associated working of recording or reproducing apparatus with related apparatus
    • G11B31/006Arrangements for the associated working of recording or reproducing apparatus with related apparatus with video camera or receiver
    • HELECTRICITY
    • H04ELECTRIC COMMUNICATION TECHNIQUE
    • H04NPICTORIAL COMMUNICATION, e.g. TELEVISION
    • H04N5/00Details of television systems
    • H04N5/76Television signal recording
    • H04N5/765Interface circuits between an apparatus for recording and another apparatus
    • H04N5/77Interface circuits between an apparatus for recording and another apparatus between a recording apparatus and a television camera
    • HELECTRICITY
    • H04ELECTRIC COMMUNICATION TECHNIQUE
    • H04NPICTORIAL COMMUNICATION, e.g. TELEVISION
    • H04N5/00Details of television systems
    • H04N5/76Television signal recording
    • H04N5/91Television signal processing therefor
    • H04N5/92Transformation of the television signal for recording, e.g. modulation, frequency changing; Inverse transformation for playback
    • H04N5/9201Transformation of the television signal for recording, e.g. modulation, frequency changing; Inverse transformation for playback involving the multiplexing of an additional signal and the video signal
    • H04N5/9202Transformation of the television signal for recording, e.g. modulation, frequency changing; Inverse transformation for playback involving the multiplexing of an additional signal and the video signal the additional signal being a sound signal
    • GPHYSICS
    • G06COMPUTING OR CALCULATING; COUNTING
    • G06FELECTRIC DIGITAL DATA PROCESSING
    • G06F1/00Details not covered by groups G06F3/00 - G06F13/00 and G06F21/00
    • G06F1/16Constructional details or arrangements
    • G06F1/1613Constructional details or arrangements for portable computers
    • G06F1/163Wearable computers, e.g. on a belt

Definitions

  • the present disclosure relates to an information processor, an information processing method, and a program.
  • wearable terminals are becoming widely used.
  • shooting with a wearable terminal can be performed easily at any time, shooting is anticipated to be performed for a long period of time.
  • it is difficult to sufficiently provide a functional unit for inputting operation in the wearable terminal Accordingly, when a lengthy moving image is viewed, it is anticipated that operation of specifying a desired moving image will be difficult. Accordingly, in wearable terminals and the like as well, a technique enabling the user to easily specify the desired image is awaited.
  • an information processor including circuitry configured to identify a part of a moving image in response to an audible sound input of a user, wherein the moving image is generated by a capturing of an imaging unit which is attached to the user.
  • an information processing method including: generating a moving image by a capturing of an imaging unit which is attached to a user; and identifying a part of the moving image in response to an audible sound input of the user.
  • a non-transitory computer-readable medium having embodied thereon a program, which when executed by a computer causes the computer to execute a method, the method including: generating a moving image by a capturing of an imaging unit which is attached to a user; and identifying a part of the moving image in response to an audible sound input of the user.
  • the user by adding frame specifying information to a frame that has a high correlation with specific command information that has been set on the basis of a vocal sound and by recording the frame, the user can easily specify the desired image by using the frame specifying information.
  • the present disclosure enables the user to easily specify the desired image.
  • the effects described above are not necessarily limited, and along with or instead of the effects, any effect that is desired to be introduced in the present specification or other effects that can be expected from the present specification may be exhibited.
  • FIG. 1 is an explanatory drawing illustrating an exemplary state of a user shooting a moving image.
  • FIG. 2 is a schematic perspective view illustrating an exemplary configuration of an imaging terminal that is held by the user to shoot a moving image.
  • FIG. 3 is a schematic perspective view illustrating an exemplary configuration of an imaging terminal that is worn by the user to shoot a moving image.
  • FIG. 4 is a functional block diagram illustrating a functional configuration of an imaging terminal and a server according to a first embodiment of the present disclosure.
  • FIG. 5 is a functional block diagram illustrating a functional configuration of a calculation unit of the server according to the first embodiment.
  • FIG. 6 is an explanatory drawing illustrating examples of the information recorded in the storage unit.
  • FIG. 1 is an explanatory drawing illustrating an exemplary state of a user shooting a moving image.
  • FIG. 2 is a schematic perspective view illustrating an exemplary configuration of an imaging terminal that is held by the user to shoot a moving image.
  • FIG. 3 is a schematic perspective
  • FIG. 7 is a flow chart illustrating specific frame information addition processing according to the first embodiment performed on a moving image by using vocal sound.
  • FIG. 8 is an explanatory drawing illustrating examples of specific commands and the contents that are extracted from image data with the specific commands.
  • FIG. 9 is an explanatory drawing for describing frame extraction processing performed with a specific command.
  • FIG. 10 is an explanatory drawing for describing location and person specification processing performed on a frame of the image data.
  • FIG. 11 is a flow chart illustrating specific frame information addition processing according to a second embodiment of the present disclosure performed on a moving image by using vocal sound.
  • FIG. 12 is an explanatory drawing illustrating specific command information and examples of the specific examples of the specific command information.
  • FIG. 13 is an explanatory drawing illustrating an example of a main window indicating an image that the user is viewing and a frame checking window according to a third embodiment of the present disclosure.
  • FIG. 14 is an explanatory drawing illustrating an exemplary configuration of the frame checking window.
  • FIG. 15 is an explanatory drawing illustrating a screen content when a starting point of a frame extraction is determined in the frame checking window.
  • FIG. 16 is an explanatory drawing illustrating a screen content when an ending point of the frame extraction is determined in the frame checking window.
  • FIG. 17 is an explanatory drawing illustrating specific actions taken when commanding with specific commands.
  • FIG. 18 is an explanatory drawing, continued from FIG. 17, illustrating the specific actions taken when commanding with the specific commands.
  • FIG. 19 is an explanatory drawing illustrating specific actions taken when commanding by vocal sound other than the specific command.
  • FIG. 20 is a hardware configuration diagram illustrating an example of a hardware configuration of the imaging terminal according to embodiments of the present disclosure.
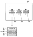
  • FIG. 21 is an explanatory drawing illustrating an exemplary case in which the specific command information is set using a GUI.
  • the information processor according to the present embodiment is a device that extracts, on the basis of specific command information that has been set on the basis of a vocal sound that has been input, a single or a plurality of frames that have a high correlation with specific command information that has been set in the moving image. Then, the information processor adds information (hereinafter, also referred to as "frame specifying information") serving as a tag to the extracted frame so that the frame can be easily specified later on.
  • frame specifying information information serving as a tag to the extracted frame so that the frame can be easily specified later on.
  • the specific command information is set on the basis of the input vocal sound.
  • the specific command information includes a preset specific command and information obtained by analyzing a freely spoken vocal sound.
  • a specific command when a specific command is set as the specific command information, the technique can be assumed to be used in the following circumstances a1) Shooting a moving image with an imagining terminal. b1) A user vocalizing a specific command (for example, "Record that"/"Record if XX"). c1) A frame that corresponds to a specific command is extracted with the information processor (for example, extracting a frame that is a predetermined time back from when the specific command has been vocalized/extracting a frame of a scene in which Mr./Ms. XX has appeared). d1) Adding frame specifying information to the extracted frame with the information processor and recording the frame. e1) While editing the moving image or while creating a list of the scenes as a reminder, when the user wants to call the specified frame at a later time, the user uses the frame specifying information.
  • the information processor for example, extracting a frame that is a predetermined time back from when the specific command has been vocalized/extracting a frame of a
  • the technique can be assumed to be used in the following circumstances.
  • a2) Shooting a moving image with an imagining terminal.
  • the user speaks (for example, "By the way, that that was there just now was great!”).
  • c2) Extracting a frame, which corresponds to the input vocal sound, with the information processor (for example, specifying the relevant frame by interpreting words and phrases that indicate a content associated with time; place; and person, object, and the like that are concrete, such as “just now", "there", “that”, and the like).
  • d2) Adding the frame specifying information to the extracted frame with the information processor and recording the frame.
  • e2) While editing the moving image or while creating a list of the scenes as a reminder, when the user wants to call the specified frame at a later time, the user uses the frame specifying information.
  • FIG. 1 is an explanatory drawing illustrating an exemplary state of a user shooting a moving image.
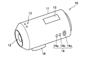
  • FIG. 2 is a schematic perspective view illustrating an exemplary configuration of an imaging terminal 10 that is held by a user to shoot a moving image.
  • FIG. 3 is a schematic perspective view illustrating an exemplary configuration of an imaging terminal 20 that is worn by a user to shoot a moving image.
  • the moving image that is processed by the device having the function of the information processor according to the present disclosure is not limited to a particular moving image, and in a case in which a lengthy moving image acquired by continuously and randomly taking a moving image with the imaging terminal is processed, the frame specifying information can be used more effectively.
  • the user illustrated in FIG. 1 is shooting a moving image by holding a first imaging terminal 10 in the hand and is also shooting a moving image by wearing a second imaging terminal 20 on the head.
  • the user is shooting a moving image by attaching a third imaging terminal 30 to a bag on the back, and a camera 40 is provided on an eyewear worn by the user.
  • the first imaging terminal 10 includes, for example, an operation section 14 having a first button 14a, a second button 14b, and a power button 14c for operating the terminal; a display 15; a connection 16 for connecting the first image terminal 10 to other devices; and a communication unit (not shown) that transmits and receives information.
  • the second imaging terminal 20 includes, for example, a power button 24, a connection 26 for connecting the second image terminal 20 to other devices, and a communication unit (not shown) that transmits and receives information.
  • the third imaging terminal 30 may have a configuration similar to that of the first imaging terminal 10 or the second imaging terminal 20, or may be have a configuration different from the first imaging terminal 10 and the second imaging terminal 20. Furthermore, control of the terminals may be performed per terminal or may be performed through a server or another terminal that is communicatively connected to the terminals.
  • the user can shoot moving images simultaneously with the plurality of imaging terminals 10 to 30 and the camera 40. Furthermore, since the second imaging terminal 20, the third imaging terminal 30, and the camera 40 are used while being worn by the user, the user can, for example, keep on shooting moving images without directing any attention in operating the imaging terminals.
  • the imaging terminal 100 is, for example, either one of the imaging terminals 10 to 30 and the camera 40 that are illustrated in FIG. 1. As illustrated in FIG. 4, the imaging terminal 100 includes an imaging unit 110, a vocal sound acquisition unit 120, a display 130, a controller 140, a calculation unit 150, a communication unit 160, a storage unit 170, and a battery 180. The imaging terminal 100 is supplied with drive power from the battery 180 and functions each of the functional units.
  • the imaging unit 110 is a functional unit that acquires image data and includes an imaging element, a lens, and the like.
  • the imaging element for example, a charge coupled device (CCD) image sensor or a complementary metal oxide semiconductor (CMOS) image sensor may be used.
  • CMOS complementary metal oxide semiconductor
  • the controller 140 records, in the storage unit 170, the image data acquired with the imaging element and through the lens.
  • the vocal sound acquisition unit 120 is a functional unit that acquires vocal sound data and, for example, a microphone or the like may be used.
  • the vocal sound acquisition unit 120 is controlled by the controller 140 so as function in an interlocked manner with the imaging unit 110; accordingly, vocal sound data corresponding to the image data acquired by the imaging unit 110 can be acquired.
  • the vocal sound acquisition unit 120 can function alone and, in such a case, the imaging terminal 100 only acquires vocal sound data.
  • the controller 140 records, in the storage unit 170, the vocal sound data acquired with the vocal sound acquisition unit 120.
  • the display 130 is a functional unit that displays information and, for example, a liquid crystal display or an organic EL display may be used. Display of the display 130 is controlled by the controller 140 and the acquired image data, various setting screens of the imaging terminal 100, and the like are displayed on the display 130.
  • the controller 140 is a functional unit that controls the overall functions of the imaging terminal 100.
  • the controller 140 controls the imaging unit 110 and the vocal sound acquisition unit 120 and acquires image data and vocal sound data, and records the acquired image data and vocal sound data in the storage unit 170. Furthermore, the controller 140 transmits the image data and the vocal sound data recorded in the storage unit 170 to the server 200 through the communication unit 160. Furthermore, the controller 140 executes arithmetic processing to add frame specifying information to the image data, other various kinds of arithmetic processing, management of the battery 180, and the like.
  • Various pieces of information processed by the controller 140 may be transmitted to the server 200 after being buffered in the storage unit 170 of the imaging terminal 100. Furthermore, the controller 140 may have the image data be transmitted to the server as necessary when the image data is a moving image. In such a case, the controller 140 may, among the image data stored in the storage unit 170, delete the recorded contents taken before a predetermined period of time set in advance. With the above, cases in which the recording capacity of the storage unit 170 of the imaging terminal 100 is compromised can be reduced.
  • the calculation unit 150 is a functional unit that performs various kinds of arithmetic processing in the imaging terminal 100. Receiving a command from the controller 140, the calculation unit 150 executes arithmetic processing and returns a calculation result to the controller 140. At this point, the calculation unit 150 of the imaging terminal 100 according to the present embodiment executes arithmetic processing for adding frame specifying information to the image data. Accordingly, as illustrated in FIG. 5, the calculation unit 150 includes a specific command information extraction unit 152, a frame extraction unit 154, and the frame specifying information addition unit 156.
  • the specific command information extraction unit 152 analyzes the vocal sound data and extracts specific command information.
  • the specific command information is information used to extract an image (frame) in the image data that the user would like to check later on.
  • a preset specific command is extracted as the specific command information.
  • the specific command is, for example, pre-stored in the storage unit 170.
  • the specific command information extraction unit 152 extracts the specific command from the vocal sound data and outputs the vocal sound data to the frame extraction unit 154.
  • the frame extraction unit 154 extracts a single or a plurality of frames correlated with the specific command information from the image data.
  • the frame correlated with the specific command information is, for example, a frame that is 10 minutes long when a vocal sound command "10 minutes before" is input as the specific command information.
  • the frame extraction unit 154 may quantify the degree of correlation of the location and the person. In such a case, the frame extraction unit 154 can determine how high the correlation is on the basis of a predetermined threshold set in advance.
  • the frame extraction unit 154 extracts, from the image data, a frame that has a strong relationship with the content that has been designated by the specific command serving as the specific command information and outputs the frame to the frame specifying information addition unit 156.
  • the frame specifying information addition unit 156 adds the frame specifying information to the frame, which has been extracted by the frame extraction unit 154, for specifying the frame.
  • the frame specifying information is information that specifies the time position of the image (the frame), which the user would like to check later on, in the image data.
  • the controller 140 records, in the storage unit 170, the image data to which the frame specifying information has been added by the frame specifying information addition unit 156.
  • the controller 140 and the calculation unit 150 are functional units that have the function of the information processor according to an embodiment of the present disclosure and are each implemented with a CPU, for example.
  • the communication unit 160 is a functional unit that transmits and receives information to and from a server or the like that is communicatively connected thereto via, for example, a network or a cable.
  • the communication unit 160 of the imaging terminal 100 transmits image data and vocal sound data that have been recorded in the storage unit 170 to the server 200. Furthermore, the imaging terminal 100 may receive various kinds of information from the server 200 through the communication unit 160.
  • the storage unit 170 stores image data and vocal sound data that have been acquired by the imaging unit 110 and the vocal sound acquisition unit 120.
  • the image data and the vocal sound data are stored while being associated with each other.
  • the information recorded in the storage unit 170 includes a metadata file, frame specifying information, external information, and the like.
  • the metadata file includes information at the time when the image data had been acquired such as GPS positional information and the recording time, scene information acquired by analyzing the image data, information related to the content of the image data such as face recognition information, and the like.
  • the frame specifying information is information added for specifying a predetermined frame in the image data and includes, for example, marking information indicating that the frame is a specified frame, mark command time information that is the clock time in which the marking information had been added, and the like.
  • the frame specifying information may include accuracy information that indicates the degree of interest the user has towards the content of the frame and information indicating the degree of correlation between the specific command information and the specified frame.
  • information acquired through external services such as check-in information and the like provided by an SNS service may be stored as external information.
  • the storage unit 170 stores, in the calculation unit 150, data and the like that are necessary for adding the frame specifying information to the image data.
  • Data used by the calculation unit 150 includes the specified command and the like.
  • the specific command is information that is pre-stored in the storage unit 170; however, the specific command may be updated as necessary. Note that the image data and the vocal data, and pre-stored information such as the specific command may be stored in a separate storage medium.
  • the data stored in the storage unit 170 may be transmitted to the server 200 with the controller 140 through the communication unit 160.
  • the server 200 is an information processor that manages image data acquired with the imaging terminal 100 and holds the image data and the vocal sound data received from the imaging terminal 100. As illustrated in FIG. 4, the server 200 includes a communication unit 210, a controller 220, a calculation unit 230, and a storage unit 240.
  • the communication unit 210 is a functional unit that transmits and receives information to and from the imaging terminal 100 and the like that is communicatively connected thereto via, for example, a network or a cable.
  • the communication unit 210 of the server 200 receives image data and vocal sound data from the imaging terminal 100 and notifies the controller 220. Furthermore, the server 200 may transmit various kinds of information to the imaging terminal 100 through the communication unit 210.
  • the controller 220 is a functional unit that controls the overall functions of the server 200.
  • the controller 220 records the image data and the vocal sound data received from the imaging terminal 100 in the storage unit 240, for example. Furthermore, the controller 220 makes the calculation unit 230 execute various kinds of arithmetic processing.
  • the calculation unit 230 is a functional unit that performs various kinds of arithmetic processing in the server 200. Receiving a command from the controller 220, the calculation unit 230 executes arithmetic processing and returns a calculation result to the controller 220.
  • the controller 220 and the calculation unit 230 are functional units and are each implemented with a CPU, for example. Note that when the server 200 side includes the functional units having the functions of the information processor according to an embodiment of the present disclosure, the calculation unit 230 will include the specific command information extraction unit, the frame extraction unit, and the frame specifying information addition unit that are described above.
  • the storage unit 240 stores image data and vocal sound data.
  • server 200 side includes the functional units having the functions of the information processor according to an embodiment of the present disclosure
  • data, such as the specific command, necessary to add frame specifying information to the image data in the calculation unit 230 is stored in the storage unit 240 as well.
  • FIGS. 6 to 9 Specific frame information addition processing on the moving image by using vocal sound
  • FIG. 6 is an explanatory drawing illustrating examples of the information recorded in the storage unit.
  • FIG. 7 is a flow chart illustrating the specific frame information addition processing according to the present embodiment performed on a moving image by using vocal sound.
  • FIG. 8 is an explanatory drawing illustrating examples of specific commands and the contents that are extracted from the image data with the specific commands.
  • FIG. 9 is an explanatory drawing for describing frame extraction processing performed with a specific command.
  • the timing to start the specific frame information addition processing performed on a moving image by using vocal sound is when acquisition of the moving image is performed with the imaging terminal 100, for example.
  • the calculation unit 150 receives a command from the controller 140, analyzes the vocal sound data with the specific command information extraction unit 152, and extracts a specific command (S100).
  • the specific command information extraction unit 152 extracts a specific command that is stored in the storage unit 170 from the vocal sound data.
  • Examples of the specific commands are illustrated in FIG. 8.
  • the specific command information extraction unit 152 checks at least the content of the vocal sound succeeding "Record" and recognizes, from the image data, the content that has been designated by the relevant specific command.
  • specific commands such as "Stop record” that stops the preceding specific command.
  • the specific commands may include commands relating to the manner in which the frame is specified, the operation of the device, and the like, such as "Capture”, “Reproduce”, “Move”, and "Select”.
  • the specific command information extraction unit 152 continues the analysis of the vocal sound data until a specific command is extracted from the vocal sound data (S110). Then, when a specific command is extracted, a frame including information that is correlated to the specific command is extracted from the image data by the frame extraction unit 154 (S120).
  • the frame extraction unit 154 performs frame extraction from the present point to an earlier point or performs frame extraction of the earlier point.
  • the frame extraction unit 154 while having a predetermined time, which corresponds to the "earlier point” set in advance, as a base point, the frame extraction unit 154 extracts a frame of a predetermined time (period A) from before the base point to after the base point or a frame having a period (period B) from after the base point to the present.
  • the predetermined time corresponding to the "earlier point” is 10 minutes and the time before and after the base point serving as a reference is 10 minutes
  • 10 minutes before the issuance of the specific command is set as the base point
  • a frame having a period from 5 minutes before to 5 minutes after the base point or a frame having a period from 10 minutes before to the present is extracted.
  • the frame extraction unit 154 may continuously set the frame after the base point as an extraction target (period C) until there is a command.
  • the predetermined time corresponding to the "earlier point” and the time before and after the base point serving as a reference may be set optionally.
  • the frame extraction unit 154 extracts a frame on the basis of additional information added to the image data in advance, estimated information obtained as a result of machine learning, or the like.
  • the additional information added to the image data in advance includes, for example, positional information (GPS positional information when the moving image had been acquired, check-in information provided from an SNS service, and the like) and person information matched with a preregistered face image.
  • positional information GPS positional information when the moving image had been acquired, check-in information provided from an SNS service, and the like
  • person information matched with a preregistered face image By using such additional information, a frame of the image data that includes locations or a photographic subject designated by the user can be extracted.
  • the additional information may be information that has been acquired from another device or a service and that has been synchronized.
  • the frame extraction unit 154 extracts a frame having high correlation with Gotanda station by performing recognition of the character information included in the signboard 310 of Gotanda station in the image data or by performing a matching process with the preregistered image information of Gotanda station.
  • the frame extraction unit 154 may extract a frame that has a correlation with Gotanda station in accordance with the distance with Gotanda station.
  • the degree of correlation is expressed by a distance with the designated subject.
  • the frame extraction unit 154 determines that the frame that has been acquired within a predetermined range with respect to Gotanda station is a frame that has a correlation with Gotanda station, and extracts the frame.
  • the frame extraction unit 154 preforms matching between a face image of Mr./Ms. XX that has been registered in advance and the face images that has been recognized in the each of the frames of the image data and, as illustrated in FIG. 10, specifies the frame including a face image 320 of Mr./Ms. XX.
  • the additional information information such as schedule information, activity information related to the action of the user that has been collected with a log collection terminal, and action recognition information obtained by performing action recognition processing on the activity information may be used.
  • scene (environment) information while taking a moving image during shopping and while going for a drive may be added to the image data as the additional information.
  • Scene information is information that is generated while determining the possibility of change in the scene on the basis of, for example, change in the moving image that has been taken and change in the additional information.
  • the scene information allows, for example, extraction of a frame of a specific scene designated by the vocal sound and extraction of a frame in a case in which the scene has changed.
  • a frame that is to be extracted may be specified by a gesture of the user. For example, when a photographic subject that is the present shooting object is recorded, upon confirming that the user has performed a gesture of pointing a finger to the photographic object, the frame extraction unit 154 extracts a frame including the photographic subject.
  • the frame specifying information addition unit 156 adds frame specifying information to the extracted frame (S130).
  • the frame specifying information is information that is recorded while being associated with the image data to facilitate specification of the extracted frame performed subsequently.
  • the addition of the frame specifying information allows the user will to easily specify the desired frame subsequently using the frame specifying information.
  • the frame specifying information includes information of a frame that is to be specified and, for example, includes information such as marking information indicating that the frame is a specified frame and mark command time information that is the time when the marking information has been added.
  • the marking information may be information such as a flag that is represented by "0" or "1", for example. Note that the frame specifying information does not have to be recorded at the same time as the recording of the frame.
  • the frame to which the frame specifying information is added is the frame that has been estimated and extracted in the processing in step S120.
  • Accuracy information indicating the degree of interest the user has on the extracted frame in other words, the extent to which the user would like to view the information of the frame later on, may be included in the frame specifying information.
  • the accuracy information may be determined on the basis of the correlation between the vocal sound command and each of the frames of the moving image, for example. By including the accuracy information in the frame specifying information, only the frames to which the user showed strong interest may be specified with the accuracy information when the user subsequently searches the desired frame using the frame specifying information.
  • step S110 to S130 is repeatedly performed, for example, until shooting performed by the imaging unit 110 ends (S140).
  • the controller 140 stops shooting performed by the imaging unit 110 the controller also ends the processing of adding the frame specifying information to the image data.
  • the specific frame information adding processing according to the first embodiment performed on a moving image by using vocal sound has been described above.
  • the specific command is specified from the vocal sound data as the specific command information
  • the frame that has high correlation with the information designated by the specific command is extracted from the image data
  • the frame specifying information is added to the frame.
  • the user can, later on, easily specify the desired frame by using the frame specifying information. For example, the user can specify, playback, and view the frame corresponding to the frame specifying information or the frame a predetermined time before and after the frame corresponding to the frame specifying information.
  • Second Embodiment> Referring next to FIGS. 11 to 12, specific frame information addition processing according to a second embodiment of the present disclosure performed on a moving image by using vocal sound will be described.
  • the processing according to the present embodiment is different from that of the first embodiment in that the specific command information used to extract a frame is set based on vocal sound data spoken freely by the user.
  • the specific frame information adding processing according to the second embodiment performed on a moving image by using vocal sound will be described, mainly on the differences with the first embodiment. Note that the configurations of the imaging terminal 100 and the server 200 are similar to those illustrated in FIG. 4; accordingly, the description thereof are omitted herein.
  • FIGS. 11 and 12 the specific frame information addition processing performed on a moving image by using vocal sound
  • FIG. 11 is a flow chart illustrating the specific frame information addition processing according to the present embodiment performed on a moving image by using vocal sound
  • FIG. 12 is an explanatory drawing illustrating specific command information and examples of the specific examples of the specific command information.
  • the timing to start the specific frame information addition processing according to the present embodiment performed on a moving image by using vocal sound is also when acquisition of the moving image is performed with the imaging terminal 100, for example.
  • the calculation unit 150 receives a command from the controller 140, analyzes the vocal sound data with the specific command information extraction unit 152, and extracts the specific command information (S200).
  • the specific command information extraction unit 152 analyzes the speech content of the user that has been acquired as vocal sound data, ambient sound, and the like and extracts a vocal sound content that is to become the specific command information.
  • the specific command information includes, for example, time, location, photographic subject, action, circumstance, and vocal sound that becomes a trigger.
  • time includes quantitative information such as "x minutes ago" and non-quantitative information such as "just now”.
  • non-quantitative information a predetermined time width may be preset to the non-quantitative information and the frame to be extracted may be designated on the basis the predetermined time width.
  • corresponding explicit information may be set in advance for the non-quantitative information.
  • the image data may be analyzed by also referring to the additional information, such as “walked”, “ran”, “on a train”, and “slept", to extract vocal sound content that indicates a recognizable behavior.
  • vocal sound content that indicates a circumstance that can be specified is extracted from, for example, the scene information, such as “rain is falling", and “having a meal”.
  • the specific command information also includes start determination information for determining "whether to start specifying the frame".
  • the start determination information is information that sets, in a binary manner (should, should not), whether to perform processing of specifying the frame upon receiving a vocal sound, such as those illustrated in FIG. 12, for example, that becomes a trigger.
  • the specific command information extraction unit 152 makes the frame extraction unit 154 execute the frame specifying processing only when a speech of the user that is associated with the information "should start specification of the frame" is detected.
  • the specific command information extraction unit 152 extracts such vocal sound as specific command information because the frame extraction unit 154 starts specification of the frame after determining that the user has interest on the basis of vocal sound that becomes a trigger.
  • Such vocal sound contents that are extracted with the specific command information extraction unit 152 are preset in the storage unit 170.
  • the specific command information extraction unit 152 continues analyzing the vocal sound data until a vocal sound content that becomes specific command information is extracted from the vocal sound data (S210). Then, when a vocal sound content that becomes specific command information is extracted, the specific command information extraction unit 152 sets a specific extraction target that is designated by the vocal sound content (S220). As described above, since non-quantitative information is also included in the vocal sound content, the vocal sound content as it is does not allow the frame corresponding to the vocal sound content to be appropriately specified from the image data.
  • the specific command information extraction unit 152 acquires explicit information corresponding to the preset non-quantitative information from the storage unit 170 so as to make the extraction target explicit.
  • a frame including information corresponding to the vocal sound content is extracted from the image data with the frame extraction unit 154 (S230).
  • the frame extraction unit 154 starts specification of the frame.
  • the vocal sound that becomes a trigger that has been extracted in step S200 or a behavior estimation result of the user such as, for example, the user coming to a stop or the user gazing for a certain time, may be used.
  • the frame extraction unit 154 determining that the user has interest on the basis of the behavior estimation result of the user may start specification of the frame. Similar to the first embodiment, the extraction of the frame including information corresponding to the vocal sound content is performed by analyzing the image data. Furthermore, the additional information added to the image data may be referred to as necessary to extract the frame from the image data.
  • the frame specifying information addition unit 156 adds the frame specifying information to the extracted frame (S240).
  • the addition of the frame specifying information allows the user to, later on, easily specify the desired frame by using the frame specifying information.
  • the accuracy information may be included in the frame specifying information.
  • step S210 to S240 is repeatedly performed, for example, until shooting performed by the imaging unit 110 ends (S250).
  • the controller 140 stops shooting performed by the imaging unit 110 the controller also ends the processing of adding the frame specifying information to the image data.
  • the specific frame information adding processing according to the second embodiment performed on a moving image by using vocal sound has been described above.
  • the speech content of the user included in the vocal sound data and the predetermined vocal sound content included in the ambient vocal sound are specified as the specific command information
  • the frame that has high correlation with the information designated by the vocal sound content is extracted from the image data
  • the frame specifying information is added to the frame.
  • FIG. 13 is an explanatory drawing illustrating an example of a main window 400 indicating an image that the user is viewing and a frame checking window 500.
  • FIGS. 14 to 16 are explanatory drawings illustrating the frame specification processing performed by the user using the frame checking window 500.
  • a wearable terminal such as a head mounted display
  • the through image is recorded as well.
  • the processing according to the embodiment described above by speaking a specific command or the like, the user will be able to add frame specifying information to the image data of the through image being recorded.
  • a screen for setting the frame to which the frame specifying information is added may be displayed so as to allow the user to set the frame.
  • the controller 140 receiving a command from the user displays the frame checking window 500 in a portion of the main window 400 on which the through image is displayed.
  • the user may use the specific commands illustrated in FIG. 8, for example, when issuing a command that displays the frame checking window 500 through the vocal sound of the user.
  • the frame checking window 500 is, as illustrated in FIG. 13, displayed in a partial area on the upper left of the main window 400, for example.
  • the frame checking window 500 is displayed with a size that does not greatly disturb display of the through image, for example.
  • the user commands, for example, through vocal sound, display of candidate scenes including the frames to which the frame specifying information is to be added.
  • the controller 140 receiving the command from the user makes the calculation unit 150 extract relevant candidate scenes from the image data and displays some of the frames included in the candidate scenes in the frame checking window 500 of a display 160. For example, when the user commands display of a scene 10 minutes before the present, for example, as illustrated in FIG. 14, a scene within a predetermined time having 10 minutes before the present as the base point is specified from the image data. Then, a thumbnail group 520 formed of thumbnails 52A to 52C of the representative frames of the scenes are displayed in the frame checking window 500.
  • the thumbnails displayed in the frame checking window 500 may be, other than the representative frames in the scene, a plurality of thumbnails generated by time division of the scene, thumbnails of the starting point and the ending point of the scene, or the like.
  • a timeline indicator 510 and a selection operation object 530, and the like are displayed in the frame checking window 500.
  • a timeline 512 indicating the time base and a bar 514 indicating the position of the scene in the overall image data are displayed in the timeline indicator 510.
  • the selection operation object 530 includes a first object 532 for moving the specific scene to the past, a second object 534 for moving the specific scene towards the present, and an addition object 536 for adding frame specifying information.
  • the user is capable of changing the position of the specific scene and the length of the specific scene, for example, by the "Move" command described above or by operating the selection operation object 530 by the line of sight. For example, when an operation of moving to a scene of the past from the scene specified in FIG. 14 is performed, as illustrated in FIG. 15, a scene that has been shot a predetermined time further in the past is specified, and the thumbnails 52D to 52F of the specified scene are displayed.
  • the frame specifying information is added to the frame corresponding to the thumbnails.
  • the thumbnail 52D is selected, and, at this time, a selection frame is added to the thumbnail 52D so that the selected state can be seen.
  • the addition object 536 is selected in the above state, the frame specifying information is added to the frame corresponding to the thumbnail 52D.
  • a message for selecting the starting point of the scene may be displayed to make the user select whether a frame of a predetermined period including a certain scene is to be selected.
  • the displayed content of the thumbnail constituting the thumbnail group 520 is also changed in accordance with the length of the newly set specific scene.
  • the thumbnails 52D 1 to 52D 3 constituting the thumbnail group 520 can be displayed in detail as if advanced frame-by-frame.
  • the controller 140 associates the frame specifying information with the image data and records the frame in the storage unit 170.
  • the frame specification processing according to the third embodiment performed by the user using a display has been described above.
  • the user can accurately add the frame specifying information to the intended frame.
  • the frame specification processing according to the present embodiment performed by the user using a display may be applied while being combined with the processing of the first embodiment or the second embodiment described above.
  • the user can perform correction on the basis of the frame that has been specified automatically to which frame specifying information is to be added; accordingly, the operation load of the user is reduced.
  • the calculation unit 150 automatically detects a scene based on 15 minutes before, which has been set as a predetermined time corresponding to "that", and displays the representative thumbnails 52A to 52C on the frame checking window 500. Note that the number of thumbnails displayed can be set optionally.
  • the user inputs a specific command "Move back 10 minutes” by vocal sound.
  • the calculation unit 150 displays the representative thumbnails 52D to 52F of the scene 10 minutes further back.
  • the calculation unit 150 having the extracted vocal sound content as specific command information specifies a scene that includes the content from the image data.
  • the specification of the scene is performed by setting the specific command information as the following extraction conditions, for example.
  • thumbnails 52A to 52C are displayed in the frame checking window 500.
  • the calculation unit 150 adds the frame specifying information to the frame corresponding to the selected thumbnail and records the frame.
  • FIG. 20 is a hardware configuration diagram illustrating a hardware configuration of the imaging terminal 100 according to embodiments.
  • the imaging terminal 100 can be implemented with a processing device such as a computer.
  • the imaging terminal 100 includes a central processing unit (CPU) 901, read only memory (ROM) 902, random access memory (RAM) 903, and a host bus 904a.
  • the imaging terminal 100 includes a bridge 904, an external bus 904b, an interface 905, an input device 906, an output device 907, a storage device 908, a drive 909, a connection port 911, and a communication device 913.
  • the CPU 901 functions as an arithmetic processing unit and a controller and controls the overall operation in the imaging terminal 100 according to various programs. Furthermore, the CPU 901 may be a microprocessor.
  • the ROM 902 stores programs, operation parameters, and the like that the CPU 901 uses.
  • the RAM 903 temporarily stores programs used in the execution of the CPU 901 and the parameters and the like that appropriately changes during the execution. The above are interconnected with a host bus 904a constituted by a CPU bus.
  • the host bus 904a is connected to the external bus 904b, such as a peripheral component interconnect/interface (PCI) bus, through the bridge 904.
  • PCI peripheral component interconnect/interface
  • the host bus 904a, the bridge 904, and the external bus 904b do not have to be configured separately and the functions thereof may be implemented in a single bus.
  • the input device 906 includes input devices for the user to input information, such as a mouse, a keyboard, a touch panel, a button, a microphone, a switch, and a lever, and an input control circuit that generates an input signal on the basis of the input performed by the user and that outputs the input signal to the CPU 901.
  • the output device 907 includes, for example, a display device, such as a liquid crystal display (LCD) device, an organic light emitting diode (OLED) device, or a lamp, and speech output device, such as a speaker.
  • LCD liquid crystal display
  • OLED organic light emitting diode
  • the storage device 908 is an example of the storage unit of the imaging terminal 100 and is a device for storing data.
  • the storage device 908 may include a recording medium, a recording device that records data in the recording medium, a readout device that reads out data from the recording medium, and a deletion device that deletes data recoded in the recording medium.
  • the storage device 908 drives the hard disk and stores therein programs that the CPU 901 executes and various kinds of data.
  • the drive 909 is a reader/writer for a recording medium and is built-in the imaging terminal 100 or is externally attached.
  • the driver 909 reads out information recorded in a magnetic disk, an optical disk, or a magneto-optical disc that is mounted thereto or a removable storage medium such as a semiconductor memory and outputs the information to the RAM 903.
  • the connection port 911 is an interface connected to an external device and is a port for connecting an external device that is capable of data transmission through, for example, a universal serial bus (USB).
  • the communication device 913 is a communication interface constituted by, for example, a communication device or the like for connecting to a communication network.
  • the communication device 913 may be a communication device corresponding to a local area network (LAN), a communication device corresponding to a wireless USB, or a wired communication device that communicates through wire.
  • the present technique is not limited to such an example and the analysis processing and the addition processing may be performed on the server 200 side.
  • the data is transmitted to the server 200 at a predetermined timing.
  • the timing of the data transmission may be, for example, when the imaging terminal 100 is connected to the server 200 by the users operation or may be a predetermined time interval.
  • data may be transmitted from the imaging terminal 100 to the server 200 in real time.
  • the controller 220 commands the calculation unit 230 to execute processing of adding specific frame information to the image data.
  • the specific command information is set on the basis of the input vocal sound; however, when input through vocal sound is not allowed, the specific command information may be allowed to be set using a GUI displayed on the display, for example.
  • selection tabs 610, 620, and 630 having a fixed form associated with the time information, the location information, the person information may be displayed so that the user can selectively set the specific command information.
  • the time selection tab 610 there are a "one hour before” tab 611, a "30 minutes before” tab 612, a "10 minutes before” tab 613, a "five minutes before” tab 614, and a "one minute before” tab 615. The user selects either one and sets the specific command information related to time.
  • Settings using such a GUI may be used solely for setting the specific command information and may be used as an aid for the vocal sound command such as commanding the large frame such as time and location before the vocal sound command and presentation of the candidate scenes (for example, presenting a plurality of thumbnails, or the like) after the vocal sound command.
  • processing on the image data after addition of the frame specifying information is not mentioned in particular; however, for example, the frames other than the frame corresponding to the frame specifying information or the frame within a predetermined time before and after the frame corresponding to the frame specifying information may be deleted when a predetermined time has passed after the shooting of the moving image.
  • An information processor including: circuitry configured to identify a part of a moving image in response to an audible sound input of a user, wherein the moving image is generated by a capturing of an imaging unit which is attached to the user.
  • the information processor according to (1) wherein the circuitry is further configured to identify the part of the moving image on the basis of command information, and the command information is determined based on the audible sound.
  • the information processor according to (1) or (2) wherein the command information is determined by analyzing the audible sound that has been input.
  • the information processor according to any of (1) to (3), wherein the audible sound is a vocalized sound that is acquired together with an acquisition of the moving image.
  • the command information includes a preset specific command.
  • the circuitry is further configured to analyze a correlation between each of the parts of the moving image and the command information.
  • the additional information includes at least one of positional information at a time when the moving image has been acquired, person information that has been matched with a preregistered face image, and scene information.
  • the circuitry identifies the part of the moving image correlated with the command information on the basis of estimated information obtained as a result of performing machine learning on the moving image.
  • the circuitry is further configured to initiate a displaying of information indicating a correlation between the part of the moving image that has been extracted and information based on the audible sound.
  • the circuitry is further configured to identify the part of the moving image that has been extracted on the basis of activity information related to an action of the user.
  • the information processor further includes the imaging unit.
  • the circuitry is further configured to identify an end point for making a recording, based on the audible sound.
  • the information processor according to any of (1) to (25), wherein the circuitry is further configured to initiate a storage into a storage unit of specifying information that specifies the part of the moving image that has been identified in response to the audible sound.
  • An information processing method including: generating a moving image by a capturing of an imaging unit which is attached to a user; and identifying a part of the moving image in response to an audible sound input of the user.
  • An information processor including: a processing unit configured to extract a single or a plurality of frames of a moving image on the basis of specific command information set in accordance with a vocal sound that has been input, and configured to cause a storage unit to store frame specifying information that specifies the single or the plurality of frames that have been extracted.
  • a processing unit configured to extract a single or a plurality of frames of a moving image on the basis of specific command information set in accordance with a vocal sound that has been input, and configured to cause a storage unit to store frame specifying information that specifies the single or the plurality of frames that have been extracted.
  • the processing unit extracts, from the moving image, a single or a plurality of frames that are correlated with the specific command information on the basis of estimated information obtained as a result of performing machine learning on the moving image.
  • the processing unit displays on a display a single or a plurality of frames that have been extracted on the basis of the specific command information.
  • an imaging unit configured to acquire a moving image.
  • the processing unit causes the storage unit to record information indicating a degree of correlation between each of the single or the plurality of frames of the moving image and the specific command information together with the frame specifying information.
  • the processing unit presents the single or the plurality of frames that have been extracted on the display as a candidate frame.
  • An information processing method including: extracting a single or a plurality of frames of a moving image on the basis of specific command information set in accordance with a vocal sound that has been input; and causing a storage unit to store frame specifying information that specifies the single or the plurality of frames that have been extracted.
  • imaging terminal 110 imaging unit 120 vocal sound acquisition unit 130 display 140, 220 controller 150, 230 calculation unit 152 specific command information extraction unit 154 frame extraction unit 156 frame specifying information addition unit 160, 210 communication unit 170, 240 storage unit 180 battery 200 server

Landscapes

  • Engineering & Computer Science (AREA)
  • Multimedia (AREA)
  • Signal Processing (AREA)
  • Studio Devices (AREA)
  • Television Signal Processing For Recording (AREA)
  • User Interface Of Digital Computer (AREA)
PCT/JP2015/002766 2014-06-09 2015-06-01 Information processor, information processing method, and program Ceased WO2015190061A1 (en)

Priority Applications (4)

Application Number Priority Date Filing Date Title
US15/305,886 US10181337B2 (en) 2014-06-09 2015-06-01 Information processor, information processing method, and program
CN201580029545.8A CN106463155A (zh) 2014-06-09 2015-06-01 信息处理器、信息处理方法以及程序
EP15729247.5A EP3152896A1 (en) 2014-06-09 2015-06-01 Information processor, information processing method, and program
US16/220,606 US10541006B2 (en) 2014-06-09 2018-12-14 Information processor, information processing method, and program

Applications Claiming Priority (2)

Application Number Priority Date Filing Date Title
JP2014118607A JP2015233188A (ja) 2014-06-09 2014-06-09 情報処理装置、情報処理方法およびプログラム
JP2014-118607 2014-06-09

Related Child Applications (2)

Application Number Title Priority Date Filing Date
US15/305,886 A-371-Of-International US10181337B2 (en) 2014-06-09 2015-06-01 Information processor, information processing method, and program
US16/220,606 Continuation US10541006B2 (en) 2014-06-09 2018-12-14 Information processor, information processing method, and program

Publications (1)

Publication Number Publication Date
WO2015190061A1 true WO2015190061A1 (en) 2015-12-17

Family

ID=53398166

Family Applications (1)

Application Number Title Priority Date Filing Date
PCT/JP2015/002766 Ceased WO2015190061A1 (en) 2014-06-09 2015-06-01 Information processor, information processing method, and program

Country Status (5)

Country Link
US (2) US10181337B2 (enExample)
EP (1) EP3152896A1 (enExample)
JP (1) JP2015233188A (enExample)
CN (1) CN106463155A (enExample)
WO (1) WO2015190061A1 (enExample)

Families Citing this family (3)

* Cited by examiner, † Cited by third party
Publication number Priority date Publication date Assignee Title
WO2017208352A1 (ja) * 2016-05-31 2017-12-07 株式会社オプティム 録画画像共有システム、方法及びプログラム
JP7790229B2 (ja) * 2022-03-23 2025-12-23 富士フイルムビジネスイノベーション株式会社 情報処理装置、情報処理システム、およびプログラム
WO2025238781A1 (ja) * 2024-05-16 2025-11-20 マクセル株式会社 連携撮影システムおよび連携撮影方法

Citations (3)

* Cited by examiner, † Cited by third party
Publication number Priority date Publication date Assignee Title
US6563532B1 (en) * 1999-01-05 2003-05-13 Internal Research Corporation Low attention recording unit for use by vigorously active recorder
US20090175599A1 (en) * 2008-01-03 2009-07-09 International Business Machines Corporation Digital Life Recorder with Selective Playback of Digital Video
US20130044042A1 (en) 2011-08-18 2013-02-21 Google Inc. Wearable device with input and output structures

Family Cites Families (11)

* Cited by examiner, † Cited by third party
Publication number Priority date Publication date Assignee Title
US7035091B2 (en) * 2002-02-28 2006-04-25 Accenture Global Services Gmbh Wearable computer system and modes of operating the system
JP2004260304A (ja) * 2003-02-24 2004-09-16 Fuji Photo Film Co Ltd 画像管理システム
JP2004287063A (ja) * 2003-03-20 2004-10-14 Miyota Kk ヘッドマウントディスプレイ
US8207936B2 (en) * 2006-06-30 2012-06-26 Sony Ericsson Mobile Communications Ab Voice remote control
US9159151B2 (en) * 2009-07-13 2015-10-13 Microsoft Technology Licensing, Llc Bringing a visual representation to life via learned input from the user
JP2012175468A (ja) * 2011-02-22 2012-09-10 Sony Corp 情報処理装置、情報処理方法、及びプログラム
WO2013106013A1 (en) * 2011-03-31 2013-07-18 Noah Spitzer-Williams Bookmarking moments in a recorded video using a recorded human action
US8643746B2 (en) * 2011-05-18 2014-02-04 Intellectual Ventures Fund 83 Llc Video summary including a particular person
US9223136B1 (en) * 2013-02-04 2015-12-29 Google Inc. Preparation of image capture device in response to pre-image-capture signal
US20140247368A1 (en) * 2013-03-04 2014-09-04 Colby Labs, Llc Ready click camera control
KR20150129143A (ko) * 2014-05-08 2015-11-19 삼성디스플레이 주식회사 벽면 디스플레이 시스템

Patent Citations (3)

* Cited by examiner, † Cited by third party
Publication number Priority date Publication date Assignee Title
US6563532B1 (en) * 1999-01-05 2003-05-13 Internal Research Corporation Low attention recording unit for use by vigorously active recorder
US20090175599A1 (en) * 2008-01-03 2009-07-09 International Business Machines Corporation Digital Life Recorder with Selective Playback of Digital Video
US20130044042A1 (en) 2011-08-18 2013-02-21 Google Inc. Wearable device with input and output structures

Non-Patent Citations (1)

* Cited by examiner, † Cited by third party
Title
ASLANDOGAN Y A ET AL: "Techniques and systems for image and video retrieval", IEEE TRANSACTIONS ON KNOWLEDGE AND DATA ENGINEERING, IEEE SERVICE CENTER, LOS ALAMITOS, CA, US, vol. 11, no. 1, 1 January 1999 (1999-01-01), pages 56 - 63, XP009094168, ISSN: 1041-4347, DOI: 10.1109/69.755615 *

Also Published As

Publication number Publication date
EP3152896A1 (en) 2017-04-12
US10541006B2 (en) 2020-01-21
CN106463155A (zh) 2017-02-22
US20170047095A1 (en) 2017-02-16
JP2015233188A (ja) 2015-12-24
US10181337B2 (en) 2019-01-15
US20190130944A1 (en) 2019-05-02

Similar Documents

Publication Publication Date Title
US10971188B2 (en) Apparatus and method for editing content
EP3467707A1 (en) System and method for deep learning based hand gesture recognition in first person view
US10062133B1 (en) Image retrieval for computing devices
US10191616B2 (en) Method and system for tagging information about image, apparatus and computer-readable recording medium thereof
US20160203360A1 (en) Systems and methods for performing actions in response to user gestures in captured images
EP3195601B1 (en) Method of providing visual sound image and electronic device implementing the same
US9953221B2 (en) Multimedia presentation method and apparatus
EP3258423A1 (en) Handwriting recognition method and apparatus
US20160026870A1 (en) Wearable apparatus and method for selectively processing image data
KR102127351B1 (ko) 사용자 단말 장치 및 그 제어 방법
US10838460B2 (en) Monitoring video analysis system and monitoring video analysis method
US11782572B2 (en) Prioritization for presentation of media based on sensor data collected by wearable sensor devices
JP6096654B2 (ja) 画像の記録方法、電子機器およびコンピュータ・プログラム
WO2021031733A1 (zh) 视频特效生成方法及终端
US10541006B2 (en) Information processor, information processing method, and program
JP5153478B2 (ja) 画像処理装置及び画像処理方法
WO2021159729A1 (zh) 图像文本播报方法及其设备、电子电路和存储介质
KR102693272B1 (ko) 콘텐츠와 관련된 시각적 객체를 표시하는 방법 및 이를 지원하는 전자 장치
US12432443B2 (en) System and method for detecting a user intent to start a video recording
US20160050387A1 (en) Image recording device and image recording method
CN107851129A (zh) 信息处理装置、信息处理方法和程序
JP2015103968A (ja) 画像処理装置、画像処理方法及び画像処理プログラム
US20140195917A1 (en) Determining start and end points of a video clip based on a single click
KR102446194B1 (ko) 단말기, 이의 제어 방법 및 상기 방법을 구현하기 위한 프로그램을 기록한 기록 매체
CN119094858B (zh) 视频剪辑方法、装置、设备、存储介质及计算机程序

Legal Events

Date Code Title Description
121 Ep: the epo has been informed by wipo that ep was designated in this application

Ref document number: 15729247

Country of ref document: EP

Kind code of ref document: A1

WWE Wipo information: entry into national phase

Ref document number: 15305886

Country of ref document: US

REEP Request for entry into the european phase

Ref document number: 2015729247

Country of ref document: EP

WWE Wipo information: entry into national phase

Ref document number: 2015729247

Country of ref document: EP

NENP Non-entry into the national phase

Ref country code: DE