WO2014147929A1 - Systems and methods for establishing multiple radio connections - Google Patents

Systems and methods for establishing multiple radio connections Download PDF

Info

Publication number
WO2014147929A1
WO2014147929A1 PCT/JP2014/000254 JP2014000254W WO2014147929A1 WO 2014147929 A1 WO2014147929 A1 WO 2014147929A1 JP 2014000254 W JP2014000254 W JP 2014000254W WO 2014147929 A1 WO2014147929 A1 WO 2014147929A1
Authority
WO
WIPO (PCT)
Prior art keywords
rnti
cell
connection
enb
pdcch
Prior art date
Legal status (The legal status is an assumption and is not a legal conclusion. Google has not performed a legal analysis and makes no representation as to the accuracy of the status listed.)
Ceased
Application number
PCT/JP2014/000254
Other languages
English (en)
French (fr)
Inventor
Shohei Yamada
Current Assignee (The listed assignees may be inaccurate. Google has not performed a legal analysis and makes no representation or warranty as to the accuracy of the list.)
Sharp Corp
Original Assignee
Sharp Corp
Priority date (The priority date is an assumption and is not a legal conclusion. Google has not performed a legal analysis and makes no representation as to the accuracy of the date listed.)
Filing date
Publication date
Application filed by Sharp Corp filed Critical Sharp Corp
Priority to JP2015546365A priority Critical patent/JP6605329B2/ja
Priority to CN201480017173.2A priority patent/CN105075365B/zh
Publication of WO2014147929A1 publication Critical patent/WO2014147929A1/en
Anticipated expiration legal-status Critical
Ceased legal-status Critical Current

Links

Images

Classifications

    • HELECTRICITY
    • H04ELECTRIC COMMUNICATION TECHNIQUE
    • H04WWIRELESS COMMUNICATION NETWORKS
    • H04W76/00Connection management
    • H04W76/20Manipulation of established connections
    • H04W76/27Transitions between radio resource control [RRC] states
    • HELECTRICITY
    • H04ELECTRIC COMMUNICATION TECHNIQUE
    • H04WWIRELESS COMMUNICATION NETWORKS
    • H04W12/00Security arrangements; Authentication; Protecting privacy or anonymity
    • H04W12/08Access security
    • HELECTRICITY
    • H04ELECTRIC COMMUNICATION TECHNIQUE
    • H04WWIRELESS COMMUNICATION NETWORKS
    • H04W72/00Local resource management
    • H04W72/20Control channels or signalling for resource management
    • H04W72/23Control channels or signalling for resource management in the downlink direction of a wireless link, i.e. towards a terminal
    • HELECTRICITY
    • H04ELECTRIC COMMUNICATION TECHNIQUE
    • H04WWIRELESS COMMUNICATION NETWORKS
    • H04W74/00Wireless channel access
    • H04W74/08Non-scheduled access, e.g. ALOHA
    • HELECTRICITY
    • H04ELECTRIC COMMUNICATION TECHNIQUE
    • H04WWIRELESS COMMUNICATION NETWORKS
    • H04W76/00Connection management
    • H04W76/10Connection setup
    • H04W76/15Setup of multiple wireless link connections
    • HELECTRICITY
    • H04ELECTRIC COMMUNICATION TECHNIQUE
    • H04WWIRELESS COMMUNICATION NETWORKS
    • H04W76/00Connection management
    • H04W76/10Connection setup
    • H04W76/15Setup of multiple wireless link connections
    • H04W76/16Involving different core network technologies, e.g. a packet-switched [PS] bearer in combination with a circuit-switched [CS] bearer
    • HELECTRICITY
    • H03ELECTRONIC CIRCUITRY
    • H03MCODING; DECODING; CODE CONVERSION IN GENERAL
    • H03M13/00Coding, decoding or code conversion, for error detection or error correction; Coding theory basic assumptions; Coding bounds; Error probability evaluation methods; Channel models; Simulation or testing of codes
    • H03M13/03Error detection or forward error correction by redundancy in data representation, i.e. code words containing more digits than the source words
    • H03M13/05Error detection or forward error correction by redundancy in data representation, i.e. code words containing more digits than the source words using block codes, i.e. a predetermined number of check bits joined to a predetermined number of information bits
    • H03M13/09Error detection only, e.g. using cyclic redundancy check [CRC] codes or single parity bit
    • HELECTRICITY
    • H04ELECTRIC COMMUNICATION TECHNIQUE
    • H04WWIRELESS COMMUNICATION NETWORKS
    • H04W74/00Wireless channel access
    • H04W74/08Non-scheduled access, e.g. ALOHA
    • H04W74/0808Non-scheduled access, e.g. ALOHA using carrier sensing, e.g. carrier sense multiple access [CSMA]
    • HELECTRICITY
    • H04ELECTRIC COMMUNICATION TECHNIQUE
    • H04WWIRELESS COMMUNICATION NETWORKS
    • H04W84/00Network topologies
    • H04W84/02Hierarchically pre-organised networks, e.g. paging networks, cellular networks, WLAN [Wireless Local Area Network] or WLL [Wireless Local Loop]
    • H04W84/04Large scale networks; Deep hierarchical networks
    • H04W84/042Public Land Mobile systems, e.g. cellular systems

Definitions

  • the present disclosure relates generally to communication systems. More specifically, the present disclosure relates to systems and methods for establishing multiple radio connections.
  • a wireless communication system may provide communication for a number of wireless communication devices, each of which may be serviced by a base station.
  • a base station may be a device that communicates with wireless communication devices.
  • wireless communication devices may communicate with one or more devices using a communication structure.
  • the communication structure used may offer limited flexibility and efficiency.
  • systems and methods that improve communication flexibility and efficiency may be beneficial.
  • One embodiment of the present invention discloses a method by a user equipment (UE), comprising: receiving a first physical downlink control channel (PDCCH) that includes a first cyclic redundancy check (CRC) scrambled by a first cell radio network temporary identifier (C-RNTI) in a first set of cell(s); decoding the first PDCCH; receiving a second PDCCH that includes a second CRC scrambled by a second C-RNTI in a second set of cell(s); and decoding the second PDCCH.
  • PDCCH physical downlink control channel
  • CRC cyclic redundancy check
  • C-RNTI cell radio network temporary identifier
  • Another embodiment of the present invention discloses a method by an evolved Node B (eNB), comprising: assigning a second cell radio network temporary identifier (C-RNTI) for a second set of cell(s) to a user equipment (UE) that has a first C-RNTI for a first set of cell(s); and transmitting a second physical downlink control channel (PDCCH) that includes a second cyclic redundancy check (CRC) scrambled by the second C-RNTI in the second set of cell(s).
  • C-RNTI cell radio network temporary identifier
  • UE user equipment
  • UE user equipment
  • CRC cyclic redundancy check
  • a user equipment comprising: a processor; memory in electronic communication with the processor, wherein instructions stored in the memory are executable to: receive a first physical downlink control channel (PDCCH) that includes a first cyclic redundancy check (CRC) scrambled by a first cell radio network temporary identifier (C-RNTI) in a first set of cell(s); decode the first PDCCH; receive a second PDCCH that includes a second CRC scrambled by a second C-RNTI in a second set of cell(s); and decode the second PDCCH.
  • PDCCH physical downlink control channel
  • CRC cell radio network temporary identifier
  • an evolved Node B comprising: a processor; memory in electronic communication with the processor, wherein instructions stored in the memory are executable to: assign a second cell radio network temporary identifier (C-RNTI) for a second set of cell(s) to a user equipment (UE) that has a first C-RNTI for first set of cell(s); and transmit a second physical downlink control channel (PDCCH) that includes a second cyclic redundancy check scrambled by the second C-RNTI in a second set of cell(s).
  • C-RNTI cell radio network temporary identifier
  • UE user equipment
  • PDCCH physical downlink control channel
  • Figure 1 is a block diagram illustrating one configuration of one or more evolved Node Bs (eNBs) and one or more user equipments (UEs) in which systems and methods for establishing multiple radio connections may be implemented.
  • Figure 2 is a flow diagram illustrating one configuration of a method for establishing multiple radio connections by a UE.
  • Figure 3 is a flow diagram illustrating one configuration of a method for establishing multiple radio connections by an eNB.
  • Figure 4 is a thread diagram illustrating one configuration of a non-contention based random access procedure.
  • Figure 5 is a thread diagram illustrating one configuration of a contention-based random access procedure.
  • Figure 6 is a flow diagram illustrating another configuration of a method for establishing multiple radio connections by a UE.
  • Figure 7 is a flow diagram illustrating another configuration of a method for establishing multiple radio connections by an eNB.
  • Figure 8 is a block diagram illustrating one configuration of an Evolved Universal Terrestrial Radio Access Network (E-UTRAN) architecture in which systems and methods for establishing multiple radio connections may be implemented.
  • Figure 9 is a block diagram illustrating one configuration of a user plane protocol stack.
  • Figure 10 is a block diagram illustrating one configuration of a control plane protocol stack.
  • Figure 11 is a block diagram illustrating a carrier aggregation configuration in which a first cell and a second cell are co-located, overlaid and have approximately equal coverage.
  • E-UTRAN Evolved Universal Terrestrial Radio Access Network
  • Figure 12 is a block diagram illustrating a carrier aggregation configuration in which a first cell and a second cell are co-located and overlaid, but the second cell has smaller coverage.
  • Figure 13 is a block diagram illustrating a carrier aggregation configuration in which a first cell and a second cell are co-located, but the second cell antennas are directed to the cell boundaries of the first cell.
  • Figure 14 is a block diagram illustrating a carrier aggregation configuration in which a first cell provides macro coverage and in which remote radio heads (RRH) on a second cell are used to improve throughput at hotspots.
  • RRH remote radio heads
  • Figure 15 is a block diagram illustrating a carrier aggregation configuration in which frequency selective repeaters are deployed.
  • Figure 16 is a block diagram illustrating multiple coverage scenarios for small cells with and without macro coverage.
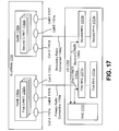
  • Figure 17 is a block diagram illustrating one configuration of an E-UTRAN and a UE in which systems and methods for establishing multiple radio connections may be implemented.
  • Figure 18 is a thread diagram illustrating one configuration of eNBs and a UE in which systems and methods for establishing multiple radio connections may be implemented.
  • Figure 19 is a thread diagram illustrating another configuration of eNBS and a UE in which systems and methods for establishing multiple radio connections may be implemented.
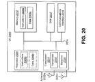
  • Figure 20 illustrates various components that may be utilized in a UE.
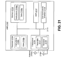
  • Figure 21 illustrates various components that may be utilized in an eNB.
  • Figure 22 is a block diagram illustrating one configuration of a UE in which systems and methods for establishing multiple radio connections may be implemented.
  • Figure 23 is a block diagram illustrating one configuration of an eNB in which systems and methods for establishing multiple radio connections may be implemented.
  • a method for establishing multiple radio connections by a UE includes receiving a first physical downlink control channel (PDCCH) that includes a first cyclic redundancy check (CRC) scrambled by a first C-RNTI in a primary radio connection.
  • the method also includes decoding the first PDCCH.
  • the method also includes receiving a second PDCCH that includes a second CRC scrambled by a second C-RNTI in a secondary radio connection.
  • the method also includes decoding the second PDCCH.
  • the UE may be configured with a primary radio connection and at least one secondary radio connection.
  • the method may include at least one of receiving an assigned C-RNTI and updating a C-RNTI.
  • the second C-RNTI may be included in a connection control message.
  • the second C-RNTI may be included in a RRC connection reconfiguration message.
  • a method for establishing multiple radio connections by an eNB includes assigning a second C-RNTI for a secondary radio connection to a UE that has a first C-RNTI for a primary radio connection.
  • the method also includes transmitting a second PDCCH that includes a second CRC scrambled by the second C-RNTI in a secondary radio connection.
  • the method may include storing at least one C-RNTI corresponding to at least one UE.
  • the method may also include managing the at least one C-RNTI.
  • the at least one C-RNTI may include at least one of a C-RNTI for a UE connected as a primary radio connection and a C-RNTI for a UE connected as a secondary radio connection.
  • the second C-RNTI may be included in a connection control message.
  • the second C-RNTI may be included in a RRC connection reconfiguration message.
  • a UE for establishing multiple radio connections includes a processor and memory in electronic communication with the processor. Instructions stored in the memory are executable to receive a first PDCCH that includes a first CRC scrambled by a first C-RNTI in a primary radio connection. The instructions are also executable to decode the first PDCCH. The instructions are also executable to receive a second PDCCH that includes a second CRC scrambled by a second C-RNTI in a secondary radio connection. The instructions are further executable to decode the second PDCCH.
  • the eNB includes a processor and memory in electronic communication with the processor. Instructions stored in the memory are executable to assign a second C-RNTI for a secondary radio connection to a UE that has a first C-RNTI for a primary radio connection. The instructions are also executable to transmit a second PDCCH that includes a second CRC scrambled by the second C-RNTI in a secondary radio connection.
  • the 3rd Generation Partnership Project also referred to as "3GPP," is a collaboration agreement that aims to define globally applicable technical specifications and technical reports for third and fourth generation wireless communication systems.
  • the 3GPP may define specifications for next generation mobile networks, systems and devices.
  • 3GPP Long Term Evolution is the name given to a project to improve the Universal Mobile Telecommunications System (UMTS) mobile phone or device standard to cope with future requirements.
  • UMTS has been modified to provide support and specification for the Evolved Universal Terrestrial Radio Access (E-UTRA) and E-UTRAN.
  • E-UTRA Evolved Universal Terrestrial Radio Access
  • At least some aspects of the systems and methods disclosed herein may be described in relation to the 3GPP LTE, LTE-Advanced (LTE-A) and other standards (e.g., 3GPP Releases 8, 9, 10, 11 and/or 12). However, the scope of the present disclosure should not be limited in this regard. At least some aspects of the systems and methods disclosed herein may be utilized in other types of wireless communication systems.
  • LTE LTE-Advanced
  • other standards e.g., 3GPP Releases 8, 9, 10, 11 and/or 12
  • a wireless communication device may be an electronic device used to communicate voice and/or data to a base station, which in turn may communicate with a network of devices (e.g., a public switched telephone network (PSTN), the Internet, etc.).
  • a wireless communication device may alternatively be referred to as a mobile station, a UE, an access terminal, a subscriber station, a mobile terminal, a remote station, a user terminal, a terminal, a subscriber unit, a mobile device, etc.
  • Examples of wireless communication devices include cellular phones, smart phones, personal digital assistants (PDAs), laptop computers, netbooks, e-readers, wireless modems, etc.
  • a wireless communication device In 3GPP specifications, a wireless communication device is typically referred to as a UE. However, as the scope of the present disclosure should not be limited to the 3GPP standards, the terms “UE” and “wireless communication device” may be used interchangeably herein to mean the more general term “wireless communication device.”
  • a base station In 3GPP specifications, a base station is typically referred to as a Node B, an eNB, a home enhanced or evolved Node B (HeNB) or some other similar terminology.
  • the terms “base station,” “Node B,” “eNB,” and “HeNB” may be used interchangeably herein to mean the more general term “base station.”
  • a “base station” is an access point.
  • An access point may be an electronic device that provides access to a network (e.g., Local Area Network (LAN), the Internet, etc.) for wireless communication devices.
  • the term “communication device” may be used to denote both a wireless communication device and/or a base station.
  • a "cell” may be any communication channel that is specified by standardization or regulatory bodies to be used for International Mobile Telecommunications-Advanced (IMT-Advanced) and all of it or a subset of it may be adopted by 3GPP as licensed bands (e.g., frequency bands) to be used for communication between an eNB and a UE.
  • Configured cells are those cells of which the UE is aware and is allowed by an eNB to transmit or receive information.
  • Configured cell(s) may be serving cell(s). The UE may receive system information and perform the required measurements on all configured cells.
  • Configured cell(s) may consist of a primary cell and no, one, or more secondary cell(s).
  • activated cells are those configured cells on which the UE is transmitting and receiving. That is, activated cells are those cells for which the UE monitors the PDCCH and in the case of a downlink transmission, those cells for which the UE decodes a physical downlink shared channel (PDSCH).
  • Deactivated cells are those configured cells that the UE is not monitoring the transmission PDCCH. It should be noted that a “cell” may be described in terms of differing dimensions. For example, a "cell” may have temporal, spatial (e.g., geographical) and frequency characteristics.
  • connection may refer to a communication link between a UE and an E-UTRAN.
  • connection may refer to a communication link between a UE and an E-UTRAN.
  • connection may refer to a communication link between a UE and an E-UTRAN.
  • connection may refer to a communication link between a UE and an E-UTRAN.
  • connection may refer to a communication link between a UE and an E-UTRAN.
  • connection may be used interchangeably.
  • the systems and methods disclosed herein describe devices for establishing multiple radio connections. This may be done in the context of an E-UTRAN.
  • the systems and methods disclosed herein may establish multiple radio connections between a UE and two or more eNBs on an E-UTRAN. In one configuration, the two or more eNBs may have different schedulers.
  • carrier aggregation two or more component carriers may be aggregated in order to support wider transmission bandwidths (e.g., up to 100 megahertz (MHz)).
  • carrier aggregation may be used to increase the effective bandwidth available to a UE.
  • a single eNB may be assumed to provide multiple serving cells for a UE. Even in scenarios where two or more cells may be aggregated (e.g., a macro cell aggregated with remote radio head (RRH) cells), the cells may be controlled (e.g., scheduled) by a single eNB.
  • RRH remote radio head
  • each node e.g., eNB, RRH, etc.
  • each node may have its own independent scheduler.
  • a UE may connect to two or more nodes that have different schedulers.
  • multi-connectivity between the UE and the E-UTRAN may be utilized.
  • a UE operating according to the Rel-12 standard may be configured with multi-connectivity (which may be referred to as dual connectivity, inter-eNB carrier aggregation, multi-flow, multi-cell cluster, multi-Uu, etc.).
  • the UE may connect to the E-UTRAN with multiple Uu interfaces, if configured to do so.
  • the UE may be configured to establish one or more additional radio interfaces (e.g., radio connections) by using one radio interface (e.g., radio connection).
  • one node may be called a primary eNB (PeNB) and another node may be called a secondary eNB (SeNB).
  • PeNB primary eNB
  • SeNB secondary eNB
  • radio resource management functionality may be located in each node of the E-UTRAN. Accordingly, one node may have some freedom on how to configure the UE. For example, resources (e.g., scheduling, random access resource and C-RNTIs) for a node may need to be able to be managed by the node. Establishing multiple radio connections, as described in the systems and methods disclosed herein, may utilize radio resources of both nodes efficiently.
  • resources e.g., scheduling, random access resource and C-RNTIs
  • Figure 1 is a block diagram illustrating one configuration of one or more evolved Node Bs (eNBs) 160 and one or more user equipments (UEs) 102 in which systems and methods for establishing multiple connections may be implemented.
  • the one or more UEs 102 may communicate with one or more eNBs 160 using one or more antennas 122a-n.
  • a UE 102 may transmit electromagnetic signals to the eNB 160 and may receive electromagnetic signals from the eNB 160 using the one or more antennas 122a-n.
  • the eNB 160 may communicate with the UE 102 using one or more antennas 180a-n. It should be noted that one or more of the UEs described herein may be implemented in a single device in some configurations.
  • one or more of the eNBs 160 described herein may be implemented in a single device in some configurations.
  • a single device may include one or more UEs 102 in accordance with the systems and methods described herein.
  • one or more eNBs 160 in accordance with the systems and methods described herein may be implemented as a single device or multiple devices.
  • the UE 102 and the eNB 160 may use one or more channels 119, 121 to communicate with each other.
  • a UE 102 may transmit information or data to the eNB 160 using one or more uplink channels 121.
  • uplink channels 121 include a physical uplink control channel (PUCCH) and a physical uplink shared channel (PUSCH), etc.
  • the one or more eNBs 160 may also transmit information or data to the one or more UEs 102 using one or more downlink channels 119, for instance.
  • Examples of downlink channels 119 include a PDCCH, a PDSCH, etc. Other kinds of channels may be used.
  • Each of the one or more UEs 102 may include one or more transceivers 118, one or more demodulators 114, one or more decoders 108, one or more encoders 150, one or more modulators 154, a data buffer 104 and a UE operations module 124.
  • one or more reception and/or transmission paths may be implemented in the UE 102.
  • only a single transceiver 118, decoder 108, demodulator 114, encoder 150 and modulator 154 are illustrated in the UE 102, though multiple parallel elements (e.g., transceivers 118, decoders 108, demodulators 114, encoders 150 and modulators 154) may be implemented.
  • the transceiver 118 may include one or more receivers 120 and one or more transmitters 158.
  • the one or more receivers 120 may receive signals from the eNB 160 using one or more antennas 122a-n.
  • the receiver 120 may receive and downconvert signals to produce one or more received signals 116.
  • the one or more received signals 116 may be provided to a demodulator 114.
  • the one or more transmitters 158 may transmit signals to the eNB 160 using one or more antennas 122a-n.
  • the one or more transmitters 158 may upconvert and transmit one or more modulated signals 156.
  • the demodulator 114 may demodulate the one or more received signals 116 to produce one or more demodulated signals 112.
  • the one or more demodulated signals 112 may be provided to the decoder 108.
  • the UE 102 may use the decoder 108 to decode signals.
  • the decoder 108 may produce one or more decoded signals 106, 110.
  • a first UE-decoded signal 106 may comprise received payload data, which may be stored in a data buffer 104.
  • a second UE-decoded signal 110 may comprise overhead data and/or control data.
  • the second UE-decoded signal 110 may provide data that may be used by the UE operations module 124 to perform one or more operations.
  • module may mean that a particular element or component may be implemented in hardware, software or a combination of hardware and software. However, it should be noted that any element denoted as a “module” herein may alternatively be implemented in hardware.
  • the eNB operations module 182 may be implemented in hardware, software or a combination of both.
  • the UE operations module 124 may enable the UE 102 to communicate with the one or more eNBs 160.
  • the UE operations module 124 may include one or more of a UE radio communication determination module 128, a random access procedure module 126 and a C-RNTI interpreter 130.
  • the UE radio connection determination module 128 may establish a primary radio connection between the UE 102 and a first point on an E-UTRAN.
  • the first point may include a first eNB 160 belonging to the E-UTRAN.
  • the first eNB 160 may be a PeNB.
  • the first point e.g., the first eNB 160
  • the UE radio connection determination module 128 may connect to the first point (e.g., the first eNB 160) with a Uu interface.
  • the Uu interface may also be referred to as a primary Uu interface.
  • the Uu interface may be a radio connection between the UE 102 and the PeNB.
  • the UE 102 may be configured to establish a second radio connection between the UE 102 and a second point on the E-UTRAN.
  • the second point may include a second eNB 160 belonging to the E-UTRAN.
  • the second eNB 160 may be a SeNB, when the UE 102 is adding a connection, for example.
  • the first point e.g., the first eNB 160
  • the second point e.g., the second eNB 160
  • the UE radio connection determination module 128 may connect to the second eNB 160 with a Uux interface.
  • the Uux interface may also be referred to as a secondary Uu interface.
  • certain procedures may be performed during a handover procedure between cell(s) in a source SeNB and cell(s) in a target SeNB.
  • the UE 102 may first connect to the cell(s) in the source SeNB as a second point. After successfully accessing (via a random access, for example) the cell(s) in the target SeNB, connection with the target SeNB may be complete.
  • the UE 102 may connect to the cell(s) in the target SeNB as the second point.
  • the UE 102 may complete a connection to the cell(s) in the target SeNB as the second point. In some implementations, this may be a handover in a secondary radio connection. In these implementations, a point may not be added, but rather replaced.
  • a secondary radio connection There may be several types of handover procedures for a secondary radio connection.
  • One example is an intra-cell handover, where a cell in a SeNB may be updated by a handover procedure to the same cell.
  • Another example is an intra-SeNB handover, where a cell in a SeNB may switch to another cell in the SeNB.
  • Yet another example is an inter-SeNB handover, where a cell in a SeNB may switch to another cell in another SeNB. Accordingly, the target SeNB may or may not be the same with the source SeNB.
  • the UE 102 may not be required to be aware of the PeNB and the SeNB, as long as the UE 102 is aware of the multiple Uu interfaces with the E-UTRAN.
  • the UE 102 may see an eNB 160 as a point on the E-UTRAN.
  • the UE 102 may see the multiple Uu interfaces with the E-UTRAN as connections with multiple points on the E-UTRAN.
  • the E-UTRAN may provide multiple Uu interfaces with the same or different eNBs 160.
  • the PeNB and the SeNB may be the same eNB 160.
  • the multiple Uu interfaces (e.g., multi-connectivity) may be achieved by a single eNB 160.
  • the systems and methods described herein may be achieved by a single eNB 160 or a single scheduler.
  • the UE 102 may be able to connect more than one Uux interface (e.g., Uu1, Uu2, Uu3, etc.). Each Uu interface may be used to perform carrier aggregation. Accordingly, the UE 102 may be configured with more than one set of serving cells in a carrier aggregation scenario.
  • a radio interface may be defined as an interface between the UE 102 and the E-UTRAN.
  • the interface may not be an interface between the UE 102 and the eNB 160.
  • one radio interface may be defined as an interface between the UE 102 and the E-UTRAN with multi-connectivity.
  • the Uu interface and the Uux interface discussed above may be considered as different characteristics of cells.
  • the Uu interface may be a first set of cell(s) and the Uux interface may be a second set of cell(s).
  • the first radio interface may be rephrased as a first set of cell(s) and the second radio interface may be rephrased as a second set of cell(s).
  • the random access procedure module 126 may perform a random access procedure for a radio connection.
  • the random access procedure module 126 may perform a random access procedure for a secondary radio connection.
  • multiple random access procedures may be triggered.
  • the random access procedure for a radio connection may be a random access procedure for another radio connection in parallel or concurrently.
  • the random access procedure may be performed for a cell of a radio connection.
  • the UE 102 may be up to the UE 102 to determine whether to continue with the ongoing random access procedure or start with the new random access procedure.
  • An example of a random access procedure may be accessing a target cell via a random access channel (RACH).
  • the random access procedure module 126 may perform different types of random access procedures.
  • the random access procedure module 126 may perform a non-contention-based random access procedure.
  • Performing a non-contention-based random access procedure may include utilizing a dedicated random access preamble via a random access channel to access a target cell.
  • the UE 102 may perform a contention-based random access procedure.
  • An example of a contention-based random access procedure may include accessing a target cell via a random access channel using a randomly selected preamble. More detail concerning non-contention-based random access procedures and contention-based random access procedures is given in connection with at least one of Figures 4 and 5.
  • whether the UE 102 performs a contention-based random access procedure or a non-contention-based random access procedure for a secondary radio connection may be based on a received message.
  • the UE 102 may receive a RRC connection reconfiguration message that may include a connection control message.
  • the connection control message may indicate whether a dedicated RACH preamble identity (e.g., a random access preamble identity) is included in the connection control message (e.g., whether a dedicated RACH preamble is indicated in the connection control message). If the connection control message includes a dedicated RACH preamble identity, the UE 102 may perform a non-contention-based random access procedure. By comparison, if the connection control message does not include a dedicated RACH preamble identity, the UE 102 may perform a contention-based random access procedure.
  • a dedicated RACH preamble identity e.g., a random access preamble identity
  • the UE 102 may perform a random access procedure.
  • the RRC connection reconfiguration message (e.g., RRCConnectionReconfiguration) may carry a handover command (e.g., MobilityControlInfo (mobility control information)).
  • the RRC connection reconfiguration message (e.g., RRCConnectionReconfiguration) may also carry a connection control message (e.g., ConnectionControlInfo (connection control information)).
  • the RRC connection reconfiguration message may have been used for many purposes, for example, physical layer parameters, media access control (MAC) layer control parameters, and one or more UE 102 configuration parameters, etc.
  • MAC media access control
  • the RRC connection reconfiguration message may be a legacy message.
  • the RRC connection reconfiguration message includes a handover command, a RACH may be triggered for a single connection.
  • the systems and methods described herein introduce a connection control message in addition to the behaviors of Rel-11 and before.
  • the UE 102 may perform a handover procedure.
  • a handover command e.g., MobilityControlInfo
  • the UE 102 may perform a handover procedure.
  • a dedicated RACH preamble may be included.
  • the UE 102 may perform a random access procedure.
  • the connection control message may be different from a handover command. For example, a handover command may be used for a handover for a single radio connection.
  • a connection control message may be used to add a secondary radio connection and/or a handover in the secondary radio connection.
  • an addition of a secondary cell may be signaled to the UE 102 by the RRC connection reconfiguration message.
  • the UE 102 may not trigger a random access procedure in response to the RRC connection reconfiguration message. If necessary, a random access order may be signaled to the UE 102 to achieve an uplink time alignment in the secondary cell.
  • it may be better to trigger a random access because a cell that is newly added may be managed by a different scheduler and is likely unsynchronized with a cell that is already configured for the UE 102.
  • the C-RNTI interpreter 130 may decode a PDCCH or an EPDCCH. Decoding a PDCCH (or an EPDCCH) may include interpreting the PDCCH (or the EPDCCH). An example is given as follows.
  • the UE 102 may receive a PDCCH that carries downlink control information (DCI). DCI in each PDCCH (or each EPDCCH) may use a DCI format that defines the fields of the DCI.
  • a Radio Network Temporary Identifier (e.g., a C-RNTI) may be included with the DCI.
  • a RNTI (e.g., a C-RNTI) may be used to identify the UE 102 and identify usage.
  • a RNTI may also be used in scheduling resources for a radio connection. For a UE configured for single connectivity with an E-UTRAN, it should be noted that the UE may use the same C-RNTI for all serving cells. In Rel-11 and before, a C-RNTI may be allocated to a UE 102.
  • a RNTI (a C-RNTI, for example) may have several usages. Table (1) presents various RNTI values. Table (2) presents various RNTI usages and associated transport channels and logical channels.
  • CRC cyclic redundancy check
  • Error detection may be provided on DCI transmissions through a CRC.
  • the C-RNTI may be implicitly encoded in the CRC.
  • the number of parity bits of the CRC may be 16.
  • the entire payload may be used to calculate the CRC parity bits.
  • the CRC parity bits may be scrambled with a corresponding RNTI (e.g., a C-RNTI). In other words, the CRC parity bits may be "XORed" with a RNTI.
  • the C-RNTI interpreter 130 may decode (and interpret) the PDCCH.
  • Interpreting the PDCCH may include separating the CRC parity bits from the C-RNTI.
  • a physical (PHY) layer of the UE 102 may be configured by a higher layer (e.g., a MAC sublayer or a radio resource control (RRC) sublayer) of the UE 102 to decode the PDCCH (or the EPDCCH) with a CRC scrambled by the C-RNTI.
  • the DCI may also transport downlink or uplink scheduling information, request aperiodic channel quality information (CQI) reports, send notifications of MCCH changes and send uplink power control commands for a cell and a RNTI.
  • CQI channel quality information
  • the C-RNTI interpreter 130 may decode multiple PDCCHs. For example, in Rel-11 and before, a UE may not have been configured to decode (and interpret) a first PDCCH (or a first EPDCCH) with a first CRC scrambled by a first C-RNTI and to decode (and interpret) a second PDCCH or (a second EPDCCH) with a second CRC scrambled by a second C-RNTI.
  • the UE 102 may be configured to decode (and interpret) a PDCCH with a CRC scrambled by a second C-RNTI.
  • a UE may have been configured to monitor or decode PDCCHs in a common search space of a primary cell (PCell) and a UE 102 specific search space of each serving cell (e.g., PCell and secondary cell(s) (SCell)).
  • a search space may be defined as a set of candidate PDCCHs (or EPDCCHs) to be decoded.
  • the UE may also be configured with kinds of DCI formats that should be monitored or decoded in the search spaces.
  • the UE may be further configured with kinds of RNTIs (corresponding to a DCI format) that should be monitored or decoded in the DCI with a DCI format in each PDCCH in the search spaces.
  • the UE 102 may be configured to monitor or decode a PDCCH with a CRC scrambled by a C-RNTI, to monitor or decode a PDCCH with a CRC scrambled by a Temporary C-RNTI, to monitor or decode a PDCCH with a CRC scrambled by a Semi-Persistent Scheduling C-RNTI, etc.
  • the UE decodes a PDCCH with a DCI format the UE may try to match several RNTIs that are configured to be decoded. The UE may then try to decode PDCCHs with the same or different DCI formats with those RNTIs, until the UE finishes checking all PDCCHs in the search space.
  • blind decoding This may be referred to as "blind decoding.”
  • only one C-RNTI may be configured for the UE and the C-RNTI may be used to decode PDCCHs with one or more DCI formats.
  • the UE 102 may be allocated a second C-RNTI for the secondary radio connection in addition to the first C-RNTI for the primary radio connection.
  • the UE 102 may be configured to decode each PDCCH with a CRC scrambled by a second C-RNTI in a common search space and a UE 102 specific search space of each serving cell of the secondary radio connection.
  • the UE operations module 124 may include one of the modules indicated in Figure 1.
  • the UE operations module 124 may include only the random access procedure module 126.
  • the UE operations module 124 may include only the C-RNTI interpreter 130.
  • the UE operations module 124 may include multiple modules indicated in Figure 1, and any combination thereof.
  • the UE 102 may include at least two of the random access procedure module 126, the C-RNTI interpreter 130 and the UE radio connection determination module 128.
  • the UE operations module 124 may provide information 148 to the one or more receivers 120. For example, the UE operations module 124 may inform the receiver(s) 120 when or when not to receive transmissions based on downlink scheduling information or a discontinuous reception (DRX) configuration, etc.
  • DRX discontinuous reception
  • the UE operations module 124 may provide information 138 to the demodulator 114. For example, the UE operations module 124 may inform the demodulator 114 of a modulation pattern anticipated for transmissions from the eNB 160.
  • the UE operations module 124 may provide information 136 to the decoder 108. For example, the UE operations module 124 may inform the decoder 108 of an anticipated encoding for transmissions from the eNB 160.
  • the UE operations module 124 may provide information 142 to the encoder 150.
  • the information 142 may include data to be encoded and/or instructions for encoding.
  • the UE operations module 124 may instruct the encoder 150 to encode transmission data 146 and/or other information 142.
  • the other information 142 may include RRC messages.
  • the encoder 150 may encode transmission data 146 and/or other information 142 provided by the UE operations module 124. For example, encoding the data 146 and/or other information 142 may involve error detection and/or correction coding, mapping data to space, time and/or frequency resources for transmission, multiplexing, etc.
  • the encoder 150 may provide encoded data 152 to the modulator 154.
  • the UE operations module 124 may provide information 144 to the modulator 154.
  • the UE operations module 124 may inform the modulator 154 of a modulation type (e.g., constellation mapping) to be used for transmissions to the eNB 160.
  • the modulator 154 may modulate the encoded data 152 to provide one or more modulated signals 156 to the one or more transmitters 158.
  • the UE operations module 124 may provide information 140 to the one or more transmitters 158.
  • This information 140 may include instructions for the one or more transmitters 158.
  • the UE operations module 124 may instruct the one or more transmitters 158 when to transmit a signal to the eNB 160.
  • the one or more transmitters 158 may upconvert and transmit the modulated signal(s) 156 to one or more eNBs 160.
  • the eNB 160 may include one or more transceivers 176, one or more demodulators 172, one or more decoders 166, one or more encoders 109, one or more modulators 113, a data buffer 162 and an eNB operations module 182.
  • one or more reception and/or transmission paths may be implemented in an eNB 160.
  • only a single transceiver 176, decoder 166, demodulator 172, encoder 109 and modulator 113 are illustrated in the eNB 160, though multiple parallel elements (e.g., transceivers 176, decoders 166, demodulators 172, encoders 109 and modulators 113) may be implemented.
  • the transceiver 176 may include one or more receivers 178 and one or more transmitters 117.
  • the one or more receivers 178 may receive signals from the UE 102 using one or more antennas 180a-n.
  • the receiver 178 may receive and downconvert signals to produce one or more received signals 174.
  • the one or more received signals 174 may be provided to a demodulator 172.
  • the one or more transmitters 117 may transmit signals to the UE 102 using one or more antennas 180a-n.
  • the one or more transmitters 117 may upconvert and transmit one or more modulated signals 115.
  • the demodulator 172 may demodulate the one or more received signals 174 to produce one or more demodulated signals 170.
  • the one or more demodulated signals 170 may be provided to the decoder 166.
  • the eNB 160 may use the decoder 166 to decode signals.
  • the decoder 166 may produce one or more decoded signals 164, 168.
  • a first eNB-decoded signal 164 may comprise received payload data, which may be stored in a data buffer 162.
  • a second eNB-decoded signal 168 may comprise overhead data and/or control data.
  • the second eNB-decoded signal 168 may provide data (e.g., PUSCH transmission data) that may be used by the eNB operations module 182 to perform one or more operations.
  • the eNB operations module 182 may enable the eNB 160 to communicate with the one or more UEs 102 and to communicate with one or more network nodes (e.g., a mobility management entity (MME), serving gateway (S-GW), eNBs).
  • the eNB operations module 182 may include one or more of a connection control message management module 194 and a C-RNTI management module 196.
  • the connection control message management module 194 may obtain a connection control message.
  • obtaining a connection control message may include receiving a connection control message.
  • a PeNB or a source SeNB
  • a connection control message may include connection control information for a secondary radio connection.
  • the message structure of the connection control message may be able to switch whether a dedicated RACH preamble identity is included or not.
  • the connection control message may direct the UE 102 to add a new connection or to perform a handover in a secondary radio connection.
  • the connection control message may be included in the RRC connection reconfiguration message.
  • connection control message management module 194 may generate a connection control message.
  • a SeNB (or a target SeNB) may generate the connection control message.
  • the SeNB (or target SeNB) may generate the connection control message based on received information.
  • the eNB operations module 182 may also generate a RRC connection reconfiguration message to be signaled to the UE 102.
  • the RRC connection reconfiguration message may or may not include a handover command and/or a connection control message.
  • the eNB 160 may receive the handover command and/or the connection control message from another eNB as a transparent container.
  • the eNB 160 may generate a RRC connection reconfiguration message that may include the received transparent container and may send the RRC connection reconfiguration message to the UE 102.
  • the C-RNTI management module 196 may obtain a C-RNTI.
  • the C-RNTI management module 196 may obtain a second C-RNTI that corresponds to a secondary radio connection.
  • the eNB 160 (a PeNB, for example) may receive the C-RNTI from another eNB 160 (a SeNB, for example).
  • the C-RNTI management module 196 may receive the C-RNTI from another device.
  • a SeNB may receive the C-RNTI from a network server.
  • the C-RNTI management module 196 may reserve a C-RNTI for a radio connection.
  • a SeNB may reserve the C-RNTI for a secondary radio connection.
  • the SeNB may then send the reserved C-RNTI in a connection control message.
  • the connection control message including the C-RNTI may be sent to the UE 102 via the RRC connection reconfiguration message.
  • the eNB operations module 182 may include one of the modules indicated in Figure 1.
  • the eNB operations module 182 may include only the connection control message management module 194.
  • the eNB operations module 182 may include only the C-RNTI management module 196.
  • the eNB operations module 182 may include multiple modules indicated in Figure 1.
  • the eNB operations module 182 may include the connection control message management module 194 and the C-RNTI management module 196.
  • the eNB operations module 182 may provide information 190 to the one or more receivers 178. For example, the eNB operations module 182 may inform the receiver(s) 178 when or when not to receive transmissions.
  • the eNB operations module 182 may provide information 188 to the demodulator 172. For example, the eNB operations module 182 may inform the demodulator 172 of a modulation pattern anticipated for transmissions from the UE(s) 102.
  • the eNB operations module 182 may provide information 186 to the decoder 166. For example, the eNB operations module 182 may inform the decoder 166 of an anticipated encoding for transmissions from the UE(s) 102.
  • the eNB operations module 182 may provide information 101 to the encoder 109.
  • the information 101 may include data to be encoded and/or instructions for encoding.
  • the eNB operations module 182 may instruct the encoder 109 to encode transmission data 105 and/or other information 101.
  • the other information 101 may include RRC messages.
  • the encoder 109 may encode transmission data 105 and/or other information 101 provided by the eNB operations module 182. For example, encoding the data 105 and/or other information 101 may involve error detection and/or correction coding, mapping data to space, time and/or frequency resources for transmission, multiplexing, etc.
  • the encoder 109 may provide encoded data 111 to the modulator 113.
  • the transmission data 105 may include network data to be relayed to the UE 102.
  • the eNB operations module 182 may provide information 103 to the modulator 113.
  • This information 103 may include instructions for the modulator 113.
  • the eNB operations module 182 may inform the modulator 113 of a modulation type (e.g., constellation mapping) to be used for transmissions to the UE(s) 102.
  • the modulator 113 may modulate the encoded data 111 to provide one or more modulated signals 115 to the one or more transmitters 117.
  • the eNB operations module 182 may provide information 192 to the one or more transmitters 117.
  • This information 192 may include instructions for the one or more transmitters 117.
  • the eNB operations module 182 may instruct the one or more transmitters 117 when to (or when not to) transmit a signal to the UE(s) 102.
  • the one or more transmitters 117 may upconvert and transmit the modulated signal(s) 115 to one or more UEs 102.
  • one or more of the elements or parts thereof included in the eNB(s) 160 and UE(s) 102 may be implemented in hardware.
  • one or more of these elements or parts thereof may be implemented as a chip, circuitry or hardware components, etc.
  • one or more of the functions or methods described herein may be implemented in and/or performed using hardware.
  • one or more of the methods described herein may be implemented in and/or realized using a chipset, an application-specific integrated circuit (ASIC), a large-scale integrated circuit (LSI) or integrated circuit, etc.
  • ASIC application-specific integrated circuit
  • LSI large-scale integrated circuit
  • FIG. 2 is a flow diagram illustrating one configuration of a method 200 for establishing multiple radio connections by a UE 102.
  • the UE 102 may establish 202 a primary radio connection between the UE 102 and a first point on an E-UTRAN.
  • a first eNB 160 (e.g., the first point) may belong to the E-UTRAN.
  • the first eNB 160 may be a PeNB.
  • the UE 102 may connect to the PeNB with a Uu interface.
  • the first eNB 160 may be a SeNB.
  • the UE 102 may receive 204 a connection control message.
  • the UE 102 may receive 204 a RRC connection reconfiguration message (e.g., RRCConnectionReconfiguration message) that may include the connection control message (e.g., connection control information).
  • the connection control message may be used as a connection control for a secondary radio connection.
  • the connection control information may include one or more of a radio bearer configuration for a radio connection, a C-RNTI for a radio connection, a physical cell identifier for a cell, a dedicated RACH preamble identity, a security algorithm identifier, access parameters, system information blocks (SIBs), etc.
  • the UE 102 may receive 204 the connection reconfiguration message from a first eNB 160 that may be either a PeNB or a source SeNB.
  • the connection control message may direct the UE 102 to perform at least one of an addition of connection (e.g., a secondary radio connection) and a handover in a radio connection.
  • the connection control message may direct the UE 102 to add a new connection between the UE 102 and the E-UTRAN.
  • Adding a connection may include receiving a C-RNTI assigned for the radio connection.
  • C-RNTI may be assigned in a MAC sublayer.
  • a Temporary C-RNTI may be assigned.
  • the Temporary C-RNTI may be included in a random access response message.
  • the Temporary C-RNTI may be promoted to a C-RNTI when the UE 102 detects random access success and does not already have a C-RNTI. The C-RNTI may then be dropped by others. If the UE 102 detects random access success and already has a C-RNTI, the UE 102 may resume using its C-RNTI. For example, when the purpose of the random access is initial access from an RRC_IDLE state or after a RRC connection re-establishment procedure, the UE 102 may not already have a C-RNTI. In this case, a Temporary C-RNTI may be promoted at the success of random access. This step may be performed in accordance with Rel-11 and before.
  • the RRC connection reconfiguration message that includes a handover command may direct the UE 102 to perform a handover in a radio connection.
  • Performing a handover may include updating a C-RNTI of the UE 102.
  • the C-RNTI may be changed (e.g., updated) at a handover procedure.
  • a new C-RNTI for a target PCell may be provided in a handover command (e.g., MobilityControlInfo) in a source PCell from the eNB 160 to the UE 102.
  • This C-RNTI assignment may be done in a RRC sublayer.
  • a connection control message included in the RRC connection reconfiguration message may include at least one of a C-RNTI for the second radio connection, a physical cell identifier for a target cell, a security algorithm identifier and a dedicated RACH preamble identity. This is a new procedure (for Rel-12 specifications, for example).
  • the UE 102 may perform a random access procedure for the secondary radio connection in response to receiving the connection control message.
  • the UE 102 may determine 206 if a dedicated RACH preamble is indicated in the connection control message.
  • the connection control message may include a parameter that indicates a dedicated RACH preamble.
  • the UE 102 may perform 208 a non-contention-based random access procedure for the secondary radio connection. For example, a UE 102 may access a target cell, via the RACH, using a contention-free procedure.
  • the UE 102 may perform 210 a contention-based random access procedure. For example, in response to the RRC connection configuration message that includes the connection control message, the UE 102 may perform a random access procedure.
  • Figure 3 is a flow diagram illustrating one configuration of a method 300 for establishing multiple radio connections by an eNB 160.
  • the eNB 160 may establish 302 a radio connection with the UE 102.
  • a first eNB 160 may belong to an E-UTRAN.
  • the first eNB 160 may be a PeNB.
  • the first eNB 160 may establish 302 a radio connection with the UE 102 using a Uu interface as described in connection with Figure 1.
  • the eNB 160 may obtain 304 a connection control message for a secondary radio connection.
  • the connection control message may indicate whether a dedicated RACH preamble is included in the connection control message.
  • the connection control message (included in an RRC connection reconfiguration message, for example) may also be able to switch whether a dedicated RACH preamble identity is included or not.
  • obtaining 304 a connection control message may include receiving a connection control message.
  • a PeNB may receive the connection control message from a SeNB.
  • the PeNB may send 306 the connection control message to the UE 102 (in a RRC connection reconfiguration message, for example).
  • RRC connection reconfiguration message for example
  • Another example of receiving a connection control message (in a RRC connection reconfiguration message, for example) is given as follows.
  • a PeNB or a source SeNB may receive the connection control message from a target SeNB.
  • the PeNB or the source SeNB may generate a RRC connection reconfiguration message including the connection control message.
  • the PeNB or the source SeNB may then send 306 the RRC connection reconfiguration message including the connection control message to the UE 102.
  • the connection control message may be used for a handover between cells in a secondary radio connection.
  • the PeNB or the source SeNB may receive a connection control message from the target SeNB (not described in this example because the connection control message received from the target SeNB can be exchanged or shared between the PeNB and source SeNB).
  • the PeNB or the source SeNB may send a RRC connection reconfiguration message (including the connection control message) to the UE 102 (not shown).
  • the connection control message may not be used. Instead, a handover command (e.g., MobilityControlInfo) may be used and the handover command in the secondary radio connection may be included in a secondary RRC connection reconfiguration message which is distinguished from the RRC connection reconfiguration message used in the primary radio connection.
  • a handover command e.g., MobilityControlInfo
  • a secondary RRC connection reconfiguration complete message may be sent from the UE 102 to the target SeNB as an acknowledgement to the secondary RRC connection reconfiguration message.
  • the secondary RRC connection reconfiguration complete message may be distinguished from the RRC connection reconfiguration complete message used in the primary radio connection.
  • obtaining 304 a connection control message may include generating a connection control message.
  • a SeNB may generate the connection control message.
  • the SeNB may generate the connection control message based on information received from another eNB (a PeNB, for example).
  • the SeNB may send 306 the connection control message to the PeNB.
  • the PeNB may then forward the connection control message to the UE 102 (in a RRC connection reconfiguration message, for example). Accordingly, the SeNB may send 306 the connection control message to the UE 102 via the PeNB.
  • a target SeNB may generate the connection control message.
  • the target SeNB may send 306 the connection control message to another eNB (e.g., a PeNB or a source SeNB).
  • the other eNB may then forward the connection control message to the UE 102.
  • the target SeNB may send 306 the connection control message to the UE 102 via another eNB.
  • Figure 4 is a thread diagram illustrating one configuration of a non-contention based random access procedure 400.
  • the eNB 460 may send 401 a random access preamble assignment.
  • the eNB 460 may assign the UE 402 a non-contention random access preamble (e.g., a random access preamble that may not be within a set sent in broadcast signaling).
  • the eNB 460 may assign 401 the random access preamble via a dedicated signaling in a downlink (via a dedicated RACH preamble identity, for example).
  • the UE 402 may then send 403 the assigned non-contention random access preamble to the eNB 460.
  • the UE 402 may send 403 the assigned non-contention random access preamble on a RACH in an uplink transmission.
  • the eNB 460 may then send 405 a random access response to the UE 402.
  • the random access response may be generated by MAC on DL-SCH.
  • the UE 402 may receive the random access response.
  • Figure 5 is a thread diagram illustrating one configuration of a contention-based random access procedure 500.
  • the UE 502 may select a random access preamble. For example, the UE 502 may select a random access preamble randomly from a set that may be informed in broadcast signaling. The UE 502 may then send 501 the randomly selected random access preamble to the eNB 560 (on a RACH in an uplink transmission, for example).
  • the eNB 560 may send 503 a random access response.
  • the UE 502 may receive the random access response.
  • the random access response may include a Temporary C-RNTI.
  • the random access response may be generated by MAC on DL-SCH.
  • the UE 502 may then send 505 a first scheduled uplink transmission on UL-SCH.
  • the UE 502 may send 505 an uplink transmission scheduled by the Temporary C-RNTI.
  • the eNB 560 may send 507 a contention resolution, which may be received by the UE 502.
  • the contention resolution may include information that confirms that the UE 502 is identified.
  • FIG. 6 is a flow diagram illustrating another configuration of a method 600 for establishing multiple radio connections by a UE 102.
  • the UE 102 may receive 602 a first PDCCH.
  • the first PDCCH may include a first CRC that may be scrambled by a first C-RNTI in a primary radio connection.
  • the term PDCCH may refer to a PDCCH or an EPDCCH.
  • an EPDCCH may be one example of a PDCCH.
  • the first PDCCH (or the first EPDCCH) may include a first RNTI (e.g., a first C-RNTI) that may be implicitly coded with the first CRC.
  • a first set of CRC parity bits may be scrambled by the first C-RNTI.
  • the UE 102 may then decode 604 the first PDCCH (or the first EPDCCH).
  • Decoding 604 the first PDCCH may include interpreting the first PDCCH as described in connection with Figure 1.
  • the first PDCCH may be transmitted from the eNB 160 to the UE 102 in a primary radio connection.
  • the UE 102 may receive 606 a second PDCCH.
  • the second PDCCH may include a second CRC that may be scrambled by a second C-RNTI in a secondary radio connection.
  • the second PDCCH (or the second EPDCCH) may include a second C-RNTI that may be implicitly coded with the second CRC. For example, a second set of CRC parity bits may be scrambled by the second C-RNTI.
  • the UE 102 may then decode 608 the second PDCCH (or the second EPDCCH).
  • Decoding 608 the second PDCCH may include interpreting the second PDCCH as described in connection with Figure 1.
  • the second PDCCH may be transmitted from the eNB 160 to the UE 102 in the secondary radio connection.
  • Figure 7 is a flow diagram illustrating another configuration of a method 700 for establishing multiple radio connections by an eNB 160.
  • the eNB 160 may establish 702 a radio connection with the UE 102. In some implementations, this may be performed as described in connection with Figure 3.
  • the eNB 160 may manage a second C-RNTI for a secondary radio connection. For example, the eNB 160 may assign 704 a second C-RNTI for a second radio connection to the UE 102 that has a first C-RNTI for a primary radio connection. Assigning a C-RNTI to each radio connection may allow for greater flexibility of radio resource management.
  • managing a second C-RNTI may include receiving the C-RNTI from another device (another eNB 160 (e.g., a SeNB) or a server, for example). For example, a PeNB may receive the second C-RNTI for a secondary radio connection from a SeNB that reserved the second C-RNTI.
  • the eNB 160 may send the second C-RNTI to a UE 102. It should be noted that the second C-RNTI may be included in a connection control message included in a RRC connection reconfiguration message from the eNB 160 to the UE 102.
  • managing a second C-RNTI may include generating the second C-RNTI.
  • Generating the second C-RNTI may include reserving a C-RNTI.
  • a SeNB may reserve a C-RNTI for the secondary radio connection.
  • the SeNB may send the second C-RNTI to another eNB (e.g., a PeNB or a source SeNB), for example.
  • the eNB 160 may then send the second C-RNTI to the UE 102.
  • the second C-RNTI may be included in a connection control message included in a RRC connection reconfiguration message from the eNB 160 to the UE 102.
  • the eNB 160 may transmit 706 a second PDCCH that includes a second CRC scrambled by the second C-RNTI in a secondary radio connection. For example, after the UE 102 is allocated the second C-RNTI by the connection control message, the UE 102 has the second C-RNTI. After the UE 102 has the second C-RNTI for the secondary radio connection, transmitting 706 the second C-RNTI may include scrambling a set of CRC parity bits based on the second C-RNTI, as described above. In this example, the eNB 160 may transmit 706 the C-RNTI (and the corresponding CRC) in a PDCCH (or an EPDCCH). It should be noted that the eNB 160 may send the C-RNTI to the UE 102 directly or indirectly (via another eNB, for example).
  • FIG 8 is a block diagram illustrating one configuration of an E-UTRAN architecture 823 in which systems and methods for establishing multiple radio connections may be implemented.
  • the UE 802 described in connection with Figure 8 may be implemented in accordance with the UE 102 described in connection with Figure 1.
  • the eNB 860 described in connection with Figure 8 may be implemented in accordance with the eNB 160 described in connection with Figure 1.
  • the E-UTRAN 835 may include one or more eNBs 860, providing the E-UTRA user plane (packet data convergence protocol (PDCP)/radio link control (RLC)/MAC/PHY) and control plane (RRC) protocol terminations toward the UE 802.
  • PDCP packet data convergence protocol
  • RLC radio link control
  • RRC control plane
  • the eNBs 860 may be interconnected with each other by an X2 interface (not shown in the figure).
  • the eNBs 860 may also be connected by the S1 interfaces 831, 833 to the evolved packet core (EPC) 825.
  • EPC evolved packet core
  • the eNBs 860 may be connected to a mobility management entity (MME) 827 by the S1-MME 831 interface and to the serving gateway (S-GW) 829 by the S1-U interface 833.
  • MME mobility management entity
  • S-GW serving gateway
  • the S1 interfaces 831, 833 may support a many-to-many relation between MMEs 827, S-GWs 829 and the eNBs 860.
  • the S1-MME interface 831 may be the S1 interface for the control plane and the S1-U interface 833 may be the S1 interface for the user plane.
  • the Uu interface 837 may be a radio interface between the UE 802 and the eNB 860 for the radio protocol of E-UTRAN 835.
  • the eNBs 860 may host a variety of functions.
  • the eNBs 860 may host functions for radio resource management (e.g., radio bearer control, radio admission control, connection mobility control, dynamic allocation of resources to UEs 802 in both uplink and downlink (scheduling)).
  • the eNBs 860 may also perform IP header compression and encryption of a user data stream, selection of an MME 827 at UE 802 attachment when no routing to an MME 827 can be determined from the information provided by the UE 802 and routing of user plane data towards the serving gateway 829.
  • the eNBs 860 may additionally perform scheduling and transmission of paging messages (originated from the MME 827); scheduling and transmission of broadcast information (originated from the MME 827 or operation and maintenance (O&M)); measurement and measurement reporting configuration for mobility and scheduling; and scheduling and transmission of the public warning system (PWS) (which may include the earthquake and tsunami warning system (ETWS) and commercial mobile alert system (CMAS)) messages (originated from the MME 827).
  • PWS public warning system
  • ETWS earthquake and tsunami warning system
  • CMAS commercial mobile alert system
  • the eNBs 860 may further perform closed subscriber group (CSG) handling and transport-level packet marking in the uplink.
  • CSG closed subscriber group
  • the MME 827 may host a variety of functions. For example, the MME 827 may perform Non-Access Stratum (NAS) signaling, NAS signaling security, access stratum (AS) security control, inter core network (CN) node signaling for mobility between 3GPP access networks, and idle mode UE Reachability (including control and execution of paging retransmission). The MME 827 may also perform tracking area list management (for a UE 802 in idle and active mode), packet data network gateway (PDN GW) and S-GW selection, MME 827 selection for handovers with MME 827 change and Serving GPRS Support Node (SGSN) selection for handovers to 2G or 3G 3GPP access networks. The MME 827 may additionally host roaming, authentication and bearer management functions (including dedicated bearer establishment). The MME 827 may provide support for PWS (which includes ETWS and CMAS) message transmission, and may optionally perform paging optimization.
  • PWS which includes ETWS and CMAS
  • the S-GW 829 may also host the following functions.
  • the S-GW 829 may host the local mobility anchor point for inter-eNB 860 handover.
  • the S-GW 829 may perform mobility anchoring for inter-3GPP mobility, E-UTRAN idle mode downlink packet buffering and initiation of network triggered service request procedure, lawful interception and packet routing and forwarding.
  • the S-GW 829 may also perform transport-level packet marking in the uplink and the downlink, accounting on user and QoS Class Identifier (QCI) granularity for inter-operator charging, and UL and DL charging per UE 802, packet data network (PDN) and QCI.
  • QCI QoS Class Identifier
  • SRBs Signaling Radio Bearers
  • RB Radio Bearers
  • Three SRBs are defined.
  • SRB0 may be used for RRC messages using the CCCH logical channel.
  • SRB1 may be used for RRC messages (which may include a piggybacked NAS message) as well as for NAS messages prior to the establishment of SRB2, all using the DCCH logical channel.
  • SRB2 may be used for RRC messages, which include logged measurement information as well as for NAS messages, all using the DCCH logical channel.
  • SRB2 has a lower priority than SRB1 and may be configured by the E-UTRAN 835 after security activation.
  • RRC connection establishment may involve the establishment of SRB1.
  • the E-UTRAN 835 may initiate the establishment of SRB2 and DRBs.
  • the E-UTRAN 835 may do this prior to receiving the confirmation of the initial security activation from the UE 802.
  • PDCP may be established for each SRB1, SRB2 and DRB.
  • RLC may be established for each SRB0, SRB1, SRB2 and DRB.
  • RRC may be responsible for the establishment, maintenance and release of an RRC connection between the UE 802 and the E-UTRAN 835, including allocation of temporary identifiers between the UE 802 and the E-UTRAN 835 and configuration of SRBs for RRC connection, etc.
  • RRC may be responsible for the establishment, configuration, maintenance and release of point-to-point RBs.
  • Figure 9 is a block diagram illustrating one configuration of a user plane protocol stack.
  • the UE 902 described in connection with Figure 9 may be implemented in accordance with the UE 102 described in connection with Figure 1.
  • the eNB 960 described in connection with Figure 9 may be implemented in accordance with the eNB 160 described in connection with Figure 1.
  • the user plane protocol stack for the UE 902 may include PDCP 939a, RLC 941a, MAC 943a and PHY 945a sublayers.
  • the user plane protocol stack for the eNB 960 may include corresponding PDCP 939b, RLC 941b, MAC 943b and PHY 945b sublayers.
  • the PDCP 939b, RLC 941b, MAC 943b and PHY 945b sublayers may perform functions (e.g., header compression, ciphering, scheduling, Automatic Repeat Request (ARQ) and Hybrid Automatic Repeat Request (HARQ)) for the user plane.
  • functions e.g., header compression, ciphering, scheduling, Automatic Repeat Request (ARQ) and Hybrid Automatic Repeat Request (HARQ)
  • ARQ Automatic Repeat Request
  • HARQ Hybrid Automatic Repeat Request
  • Different entities may be identified by the corresponding sublayer.
  • PDCP entities are located in the PDCP 939 sublayer
  • RLC entities are located in the RLC sublayer 941
  • MAC entities are located in the MAC sublayer 943
  • PHY entities are located in the PHY sublayer 945.
  • the UE 902 may have more than one PHY entity and more than one MAC entity.
  • One radio connection e.g., radio interface
  • a primary radio connection may include one PHY entity and one MAC entity and a secondary radio connection may include one PHY entity and one MAC entity.
  • a distinct C-RNTI may be assigned for each radio connection.
  • Figure 10 is a block diagram illustrating one configuration of a control plane protocol stack.
  • the UE 1002 described in connection with Figure 10 may be implemented in accordance with the UE 102 described in connection with Figure 1.
  • the eNB 1060 described in connection with Figure 10 may be implemented in accordance with the eNB 160 described in connection with Figure 1.
  • the MME 1027 described in connection with Figure 10 may be implemented in accordance with the MME 827 described in connection with Figure 8.
  • the control plane protocol stack for the UE 1002 may include PDCP 1039a, RLC 1041a, MAC 1043a and PHY 1045a sublayers.
  • the UE 1002 may also include a NAS 1047a and a RRC 1049a sublayer.
  • the control plane protocol stack for the eNB 1060 may include RRC 1049b, PDCP 1039b, RLC 1041b, MAC 1043b and PHY 1045b sublayers.
  • the MME 1027 may include a NAS 1047b sublayer.
  • the PDCP 1039b sublayer (terminated in eNB 1060 on the network side) may perform functions (e.g., ciphering and integrity protection) for the control plane.
  • the RLC 1041b and MAC 1043b sublayers may perform the same functions as for the user plane.
  • the RRC 1049b sublayer may perform the following functions.
  • the RRC 1049b sublayer may perform broadcast functions, paging, RRC 1049 connection management, radio bearer (RB) control, mobility functions, UE 1002 measurement reporting and control.
  • the NAS 1047 control protocol may perform, among other things, evolved packet system (EPS) bearer management, authentication, evolved packet system connection management (ECM)-IDLE mobility handling, paging origination in ECM-IDLE and security control.
  • EPS evolved packet system
  • ECM evolved packet system connection management
  • FIG. 11 is a block diagram illustrating a carrier aggregation configuration in which a first cell 1153 and a second cell 1155 are co-located, overlaid and have approximately equal coverage.
  • two or more component carriers may be aggregated to support wider transmission bandwidths (e.g., up to 100 MHz).
  • a UE 102 may simultaneously receive or transmit on one or multiple CCs depending on the capabilities of the UE 102. For example, according to Rel-10 and later, a UE 102 with reception and/or transmission capabilities for carrier aggregation may simultaneously receive and/or transmit on multiple CCs corresponding to multiple serving cells. According to Rel-8 and Rel-9, a UE 102 may receive on a single CC and transmit on a single CC corresponding to one serving cell.
  • the UE 102 may have one RRC connection with the network.
  • One radio interface may provide carrier aggregation.
  • one serving cell may provide NAS mobility information (e.g., a tracking area identity (TAI)).
  • TAI tracking area identity
  • one serving cell may provide a security input.
  • This cell may be referred to as the primary cell (PCell).
  • the component carrier corresponding to the PCell may be the downlink primary component carrier (DL PCC), while in the uplink it may be the uplink primary component carrier (UL PCC).
  • DL PCC downlink primary component carrier
  • UPCC uplink primary component carrier
  • one or more SCells may be configured to form together with the PCell a set of serving cells.
  • the component carrier corresponding to a SCell may be a downlink secondary component carrier (DL SCC), while in the uplink it may be an uplink secondary component carrier (UL SCC).
  • DL SCC downlink secondary component carrier
  • UL SCC uplink secondary component carrier
  • the configured set of serving cells for the UE 102 may consist of one PCell and one or more SCells.
  • the usage of uplink resources by the UE 102 (in addition to the downlink resources) may be configurable.
  • the number of DL SCCs configured may be larger than or equal to the number of UL SCCs and no SCell may be configured for usage of uplink resources only.
  • each uplink resource may belong to one serving cell.
  • the number of serving cells that may be configured depends on the aggregation capability of the UE 102.
  • the PCell may only be changed using a handover procedure (e.g., with a security key change and a RACH procedure).
  • the PCell may be used for transmission of the PUCCH.
  • the PCell may not be de-activated. Re-establishment may be triggered when the PCell experiences radio link failure (RLF), not when the SCells experience RLF.
  • NAS information may be taken from the PCell.
  • RRC may also add, remove or reconfigure SCells for usage with a target PCell.
  • dedicated RRC signaling may be used for sending all required system information of the SCell (e.g., while in connected mode, UEs 102 need not acquire broadcasted system information directly from the SCells).
  • one carrier aggregation deployment configuration may include frequency 1 (F1) cells 1153 and frequency 2 (F2) cells 1155 that are co-located and overlaid.
  • carrier aggregation scenarios e.g., deployment configurations
  • the eNBs 1160a-c described in connection with Figure 11 may be implemented in accordance with the eNB 160 described in connection with Figure 1. In this configuration, multiple eNBs 1160a-c may provide coverage for the F1 cells 1153 and the F2 cells 1155.
  • the systems and methods disclosed herein may be used to establish radio interfaces between the F1 cells 1153 and the F2 cells 1155.
  • the coverage of the F1 cells 1153 and the F2 cells 1155 may be the same or nearly the same. Both layers (e.g., frequency layers) may provide sufficient coverage and mobility may be supported on both layers.
  • a likely scenario for this configuration may be when the F1 cells 1153 and the F2 cells 1155 are of the same band (e.g., 2 gigahertz (GHz), 800 MHz, etc.). It is expected that carrier aggregation may be possible between the overlaid F1 cells 1153 and the F2 cells 1155.
  • GHz gigahertz
  • Figure 12 is a block diagram illustrating a carrier aggregation configuration in which a first cell 1253 and a second cell 1255 are co-located and overlaid, but the second cell 1255 has smaller coverage.
  • the eNBs 1260a-c described in connection with Figure 12 may be implemented in accordance with the eNB 160 described in connection with Figure 1. In this configuration, multiple eNBs 1260a-c may provide coverage for the F1 cells 1253 and the F2 cells 1255.
  • the systems and methods disclosed herein may be used to establish radio interfaces between the F1 cells 1253 and the F2 cells 1255.
  • the F1 cells 1253 and the F2 cells 1255 may be co-located and overlaid, but the F2 cells 1255 may have smaller coverage due to larger path loss. Only the F1 cells 1253 may provide sufficient coverage and the F2 cells 1255 may be used to improve throughput. Mobility may be performed based on F1 cell 1253 coverage.
  • a likely scenario for this configuration may be when the F1 cells 1253 and the F2 cells 1255 are of different bands. For example, the F1 cells 1253 may equal 800 MHz or 2 GHz and the F2 cells 1255 may equal 3.5 GHz, etc. It is expected that carrier aggregation may be possible between the overlaid F1 cells 1253 and the F2 cells 1255.
  • Figure 13 is a block diagram illustrating a carrier aggregation configuration in which a first cell 1353 and second cell 1355 are co-located, but the second cell 1355 antennas are directed to the cell boundaries of the first cell 1353.
  • the eNBs 1360a-c described in connection with Figure 13 may be implemented in accordance with the eNB 160 described in connection with Figure 1.
  • the systems and methods disclosed herein may be used to establish radio interfaces between the F1 cells 1353 and F2 cells 1355.
  • the F1 cells 1353 and the F2 cells 1355 may be co-located, but the F2 cell 1355 antennas may be directed to the cell boundaries of the F1 cell 1353 so that cell edge throughput may be increased.
  • the F1 cell 1353 may provide sufficient coverage, but the F2 cell 1353 may potentially have holes (e.g., due to larger path loss). Mobility may be based on F1 cell 1353 coverage.
  • a likely scenario for this configuration may be when the F1 cell 1353 and the F2 cell 1355 are of different bands. For example, the F1 cell 1353 may equal 800 MHz or 2 GHz and the F2 cell 1355 may equal 3.5 GHz, etc. It is expected that the F1 cell 1353 and the F2 cell 1355 of the same eNB 1360 may be aggregated where coverage overlaps.
  • Figure 14 is a block diagram illustrating a carrier aggregation configuration in which a first cell 1453 provides macro coverage and in which remote radio heads (RRH) 1457a-j on the second cell 1455 are used to improve throughput at hotspots.
  • the eNBs 1460a-c described in connection with Figure 14 may be implemented in accordance with the eNB 160 described in connection with Figure 1. In this configuration, multiple eNBs 1460a-c may provide macro coverage for a first cell 1453.
  • RRHs 1457a-j may be connected to the eNBs 1460a-c and may provide second cell 1455 coverage.
  • the systems and methods disclosed herein may be used to establish radio interfaces between the F1 cells 1453 and F2 cells 1455.
  • the F1 cells 1453 may provide macro coverage and the remote radio heads (RRH) 1457a-j on F2 cells 1455 may be used to improve throughput at hotspots. Mobility may be performed based on F1 cell 1453 coverage.
  • a likely scenario for this configuration may be when F1 cells 1453 and F2 cells 1455 are of different bands.
  • the F1 cell 1453 may equal 900 MHz or 2 GHz and the F2 cell 1455 may equal 3.5 GHz, etc. It is expected that the F2 RRH cells 1455 may be aggregated with the underlying F1 cell 1453 (e.g., the macro cells).
  • Figure 15 is a block diagram illustrating a carrier aggregation configuration in which frequency selective repeaters 1559a-c are deployed. This configuration may be similar to the configuration described in connection with Figure 10. The systems and methods disclosed herein may be used to establish radio interfaces between the F1 cells 1553 and the F2 cells 1555. In this configuration, frequency selective repeaters 1559a-c may be deployed so that coverage may be extended for one of the carrier frequencies.
  • the eNBs 1560a-c described in connection with Figure 15 may be implemented in accordance with the eNB 160 described in connection with Figure 1. Multiple eNBs 1560a-c may be associated with the F1 cells 1553. It is expected that an F1 cell 1553 and an F2 cell 1555 may be aggregated where coverage overlaps.
  • Figure 16 is a block diagram illustrating multiple coverage scenarios 1661a-d for small cells with and without macro coverage.
  • the eNBs 1660a-k described in connection with Figure 16 may be implemented in accordance with the eNB 160 described in connection with Figure 1.
  • the coverage scenarios 1661a-d may include indoor and outdoor scenarios using low-power nodes (e.g., eNBs 1660b-k). These low-power nodes may provide small cell coverage (e.g., F2 coverage 1655).
  • An eNB 1660a may provide macro cell coverage (e.g., F1 coverage 1653).
  • Small cell enhancements may target both scenarios in which macro coverage may or may not be present.
  • the systems and methods described herein may provide for establishing multiple connections in small cell deployment scenarios. These scenarios may include both outdoor and indoor small cell deployments and both ideal and non-ideal backhaul. Additionally, multiple connections may be established in both sparse and dense small cell deployments.
  • the E-UTRAN architecture may be able to achieve the system and mobility performance for small cell enhancement. For example, before the type of interface (connection) is determined, the E-UTRAN architecture may identify which kind of information may be needed (or may be beneficial) to be exchanged between nodes in order to get the desired improvements.
  • the systems and methods described herein may identify potential technologies in the protocol and architecture that may provide enhanced support of small cell deployment and operation. In some configurations, these potential technologies may be implemented in accordance with scenarios and requirements as described in TR 36.932.
  • the systems and methods described herein may identify and evaluate the benefits of UEs 102 having multi-connectivity to macro and small cell layers that may be served by different (or the same) carrier(s).
  • the systems and methods described herein may also identify and evaluate scenarios where multi-connectivity may be feasible and beneficial.
  • the systems and methods described herein may identify and evaluate potential architectures and protocol enhancements for different scenarios (such as those described in TR 36.392).
  • the different scenarios may include a scenario that implements multi-connectivity and that minimizes core network impacts.
  • the systems and methods described herein may provide the overall structure of a control plane and a user plane and their relation to each other.
  • the control plane and the user plane may be supported in different nodes, termination of different protocol layers, etc.
  • each node e.g., eNB 1660a-k
  • each node may have its own independent scheduler.
  • a UE 102 may connect to multiple nodes that have different schedulers.
  • multiple connections between the UE 102 and E-UTRAN 435 may be established.
  • the first coverage scenario 1661a illustrates a single small cell (e.g., the F2) with macro coverage (e.g., the F1).
  • F1 may be the carrier frequency for the macro layer
  • F2 may be the carrier frequency of the local-node layer.
  • the macro cell may overlap the small cell.
  • the second coverage scenario 1661b illustrates a single small cell without macro coverage.
  • the third coverage scenario 1661c illustrates multiple small cells with overlapping macro cell coverage.
  • the fourth coverage scenario 1661d illustrates multiple small cells without macro cell coverage.
  • Figure 17 is a block diagram illustrating one configuration of an E-UTRAN 1735 and a UE 1702 in which systems and methods for establishing multiple radio connections may be implemented.
  • the UE 1702 and the E-UTRAN 1735 described in connection with Figure 17 may be implemented in accordance with corresponding elements described in connection with at least one of Figures 1 and 6.
  • Figure 17 depicts one C-RNTI 1765a-b per radio connection 1769a-b.
  • Using one C-RNTI 1765a-b per radio connection 1769a-b may maintain flexibility in radio resource management.
  • a first C-RNTI 1765a may be allocated to the primary radio connection 1769a.
  • a second C-RNTI 1765b may be allocated to the secondary radio connection 1769b.
  • the first C-RNTI 1765a may be allocated in accordance with Rel-11.
  • the first C-RNTI 1765a may be assigned after a random access.
  • a random access may include initial access when the UE 1702 is in an RRC_IDLE state or when the UE 1702 has completed a RRC connection re-establishment procedure.
  • the first C-RNTI 1765a may be updated during a handover procedure.
  • the second C-RNTI 1765b (for the secondary radio connection 1769b) may be allocated by control signaling (e.g., RRC dedicated signaling) from the E-UTRAN 1735 (e.g., the PeNB 1760a or the SeNB 1760b) to the UE 1702.
  • control signaling e.g., RRC dedicated signaling
  • the usage of the first C-RNTI 1765a and the second C-RNTI 1765b may be in accordance with the usages described in connection with Table (2).
  • a C-RNTI 1765 may be unique for a cell. For example, for a certain cell, a value for a first C-RNTI 1765a (or a second C-RNTI 1765b) may be used for the UE 1702. In this example, the value should not be used for another C-RNTI 1765 in the cell.
  • the E-UTRAN 1735 may manage the allocation of a first C-RNTI 1765a and/or a second C-RNTI 1765b for each UE 1702 such that the C-RNTI values do not conflict with each other. Also, it should be noted that if the UE 1702 is configured with multiple serving cells in a radio connection 1769, the same C-RNTI 1765 may be allocated to the serving cells for each radio connection 1769.
  • the E-UTRAN 1735 may include a PeNB 1760a and a SeNB 1760b.
  • the UE 1702 may communicate with the PeNB 1760a via the primary radio connection 1769a.
  • the UE 1702 may communicate with the SeNB 1760b via the secondary radio connection 1769b. While Figure 17 depicts one primary radio connection 1769a and one secondary radio connection 1769b, the UE 1702 may be configured with one primary radio connection 1769a and one or more secondary radio connections 1769b.
  • the PeNB 1760a and SeNB 1760b may be implemented in accordance with the eNB 160 described in connection with Figure 1.
  • the PeNB 1760a may provide multiple cells 1767a-c for connection to one or more UEs 1702.
  • the PeNB 1760a may provide cell A 1767a, cell B 1767b and cell C 1767c.
  • the SeNB 1760b may provide multiple cells 1767d-f.
  • the UE 1702 may be configured to transmit/receive on one or more cells (e.g., cell A 1767a, cell B 1767b and cell C 1767c) for the primary radio connection 1769a (e.g., a primary Uu interface).
  • the UE 1702 may also be configured to transmit/receive on one or more other cells (e.g., cell D 1767d, cell E 1767e and cell F 1767f) for the secondary radio connection 1769b (e.g., a secondary Uu interface). If the UE 1702 is configured to transmit/receive on multiple cells 1767a-f for a radio connection 1769a-b, a carrier aggregation operation may be applied to the radio connection 1769a-b. In some implementations, another UE 1702 may be configured with cell A 1767a for the secondary radio connection 1769b and cell D 1767d for a primary radio connection 1769a. In this implementation, mapping cells to a radio connection 1769 may be a UE 1702 specific configuration.
  • other cells e.g., cell D 1767d, cell E 1767e and cell F 1767f
  • one MAC entity 1771a-b and one PHY entity 1773a-b may be mapped to one radio connection 1769a-b.
  • a first MAC entity 1771a and a first PHY entity 1773a may be mapped to the primary radio connection 1769a.
  • a second MAC entity 1771b and a second PHY entity 1773b may be mapped to the secondary radio connection 1769b.
  • the PeNB 1760a may manage and store at least one C-RNTI 1765 for each UE 1702 using the configured cells 1767a-c.
  • the PeNB 1760a may manage and store multiple first C-RNTIs 1765a corresponding to UEs 1702 that have a primary radio connection 1769a with the PeNB 1760a.
  • the SeNB 1760b may manage and store at least one C-RNTI 1765b for the secondary radio connection(s) 1769b for each UE 1702 using the configured cells 1767d-f.
  • the SeNB 1760b may manage and store multiple second C-RNTIs 1765b corresponding to UEs 1702 that have a secondary radio connection 1769b with the SeNB 1760b.
  • the PeNB 1760a may also store and manage multiple second C-RNTIs 1765b corresponding to UEs 1702 that have a secondary radio connection with the PeNB 1760a.
  • the eNB 1760a should (instead) be considered a SeNB.
  • an eNB may behave as both the PeNB 1760a and the SeNB 1760b.
  • the MAC entities 1771a-b may have an interface with an RRC entity 1775.
  • the RRC entity 1775 may provide the first C-RNTI 1765a to the first MAC entity 1771a and the second C-RNTI 1765b to the second MAC entity 1771b.
  • the RRC entity 1775 may receive RRC messages (e.g., RRC connection reconfiguration message, connection control message, handover command, etc.) from a RRC entity (not shown) of the E-UTRAN 1735.
  • the RRC entity 1775 may also transmit RRC messages (e.g. RRC connection reconfiguration complete message) to the RRC entity (not shown) of the E-UTRAN 1735.
  • the RRC entity 1775 may also store the first C-RNTI 1765a and the second C-RNTI 1765b.
  • the MAC entities 1771a-b may control the decoding of the PDCCH (or the EPDCCH) based on the C-RNTIs 1765.
  • Figure 18 is a thread diagram 1800 illustrating one configuration of eNBs 1860a-b and a UE 1802 in which systems and methods for establishing multiple radio connections may be implemented. Specifically, Figure 18 illustrates one example of procedures for adding a radio connection.
  • the eNBs 1860a-b and the UE 1802 described in connection with Figure 18 may be implemented in accordance with one or more corresponding elements described in connection with Figure 1.
  • the PeNB 1860a may configure UE 1802 measurement procedures via layer 3 (L3) signaling (e.g., an RRC message).
  • the UE 1802 measurement procedures may be based on area restriction information.
  • the measurements provided by the PeNB 1860a may assist in controlling the UE's 1802 connection mobility.
  • the PeNB 1860a may then send 1877 a measurement control to the UE 1802.
  • the PeNB 1860a may send 1879 an uplink allocation to the UE 1802 via layer 1 (L1)/layer 2 (L2) signaling (e.g., PDCCH, a MAC control element).
  • L1 layer 1
  • L2 layer 2
  • the measurement control may trigger the UE 1802 to send 1881 a measurement report to the PeNB 1860a.
  • the UE 1802 may be triggered to send 1881 the measurement report based on one or more rules (e.g., system information, a specification, etc.).
  • the PeNB 1860a may decide 1883 to add another connection to the UE 1802.
  • An example of other information may include radio resource management information.
  • the PeNB 1860a may then issue 1885 a connection request message to the SeNB 1860b.
  • the connection request message may be based on the measurement report and radio resource management information.
  • the connection request message may include necessary information that allows the SeNB 1860b to prepare the addition of connection.
  • the connection request message may include RRC context including the C-RNTI of the UE 1802 in the PeNB, QoS information, etc.
  • One or more of UE X2 and UE S1 signaling references may enable the SeNB 1860b to address the PeNB 1860a and the evolved packet core (EPC).
  • EPC evolved packet core
  • the SeNB 1860b may perform 1887 admission control.
  • the admission control may be based on the received QoS information.
  • the admission control may evaluate whether a required QoS may be achieved if the resources can be granted by the SeNB 1860b, in order to increase the likelihood of a successful connection control.
  • the SeNB 1860b may configure resources according to the received QoS information.
  • the SeNB 1860 may also reserve one or more of a C-RNTI, a cell and optionally, a RACH preamble identity.
  • the SeNB 1860b may prepare the addition of connection with one or more of L1 (PHY) and L2 (MAC) entities of the SeNB 1660b and may send 1889 a connection request acknowledge (Ack) to the PeNB 1860a.
  • the connection request Ack may include a transparent container to be sent to the UE 1802 (from the PeNB 1860a, for example) as a connection control message (in an RRC connection reconfiguration message, for example) that directs the UE 1802 to perform an addition of connection.
  • the container may include a new C-RNTI (e.g., a second C-RNTI), a physical cell identifier for a cell to be accessed (e.g., a target cell) in a secondary radio connection, SeNB 1860b security algorithm identifiers for the selected security algorithms and a dedicated RACH preamble identity.
  • the connection control message may also include other parameters (e.g., a radio bearer configuration, access parameters, SIBs, etc.) Specifically, the connection control message may indicate whether a dedicated RACH preamble identity is included or not.
  • the PeNB 1860a may generate the RRC connection reconfiguration message that includes instructions to perform the addition of connection (e.g., the RRCConnectionReconfiguration message including connection control message) to be sent to the UE 1802.
  • the connection control message (abbreviated as "RRC Conn. Reconf.” in Figure 18 for convenience)
  • the PeNB 1860a may send 1891 a downlink allocation to the UE 1802 via L1/L2 signaling.
  • the UE 1802 may receive the RRC connection reconfiguration message including the connection control message (e.g., the RRCConnectionReconfiguration message with the necessary parameters (C-RNTI for the secondary radio connection, SeNB 1860b security algorithm identifiers, and optionally a dedicated RACH preamble identity, SeNB 1860b SIBs, etc.)).
  • the PeNB 1860a may then command or direct the UE 1802 to perform the addition of connection.
  • the UE 1802 may synchronize 1895 (e.g., acquire synchronization signals) with the SeNB 1860b and may access (e.g., perform a random access procedure) the target cell via the RACH.
  • the UE 1802 may access the target cell following a contention-free random access procedure (e.g., non-contention-based random access procedure) if a dedicated RACH preamble was indicated in the connection control information (a dedicated RACH preamble identity was included in the connection control message, for example).
  • the UE 1802 may access the target cell following a contention-based random access procedure if no dedicated preamble was indicated.
  • the UE 1802 may derive SeNB 1860b specific keys and may configure the selected security algorithms to be used in the target cell.
  • the SeNB 1860b may respond to the random access by sending 1897 an uplink allocation and a timing advance to the UE 1802. Then, when the UE 1802 has successfully accessed the target cell, the UE 1802 may send 1899 a RRC connection reconfiguration complete message (e.g., the RRCConnectionReconfigurationComplete message), which may include the second C-RNTI, to confirm the addition of the connection. The UE 1802 may also send an uplink buffer status report to the SeNB 1860b to indicate that the connection addition procedure has been completed for the UE 1802. The SeNB 1860b may verify the second C-RNTI sent in the RRC connection reconfiguration complete message (e.g., the RRCConnectionReconfigurationComplete message). The SeNB 1860b may then begin sending data to the UE 1802.
  • a RRC connection reconfiguration complete message e.g., the RRCConnectionReconfigurationComplete message
  • sending 1877 a measurement control, sending 1881 a measurement report, sending 1885 a connection request, sending 1889 a connection request acknowledge, sending 1893 a connection control message, and sending 1899 a RRC connection reconfiguration complete message may be performed using L3 signaling.
  • sending 1879 an uplink allocation, sending 1891 a downlink allocation, synchronizing 1895 and sending 1897 an uplink allocation and timing advance may be performed using one or more of L1 and L2 signaling.
  • Figure 19 is a thread diagram 1900 illustrating one configuration of eNBs 1960a-b and a UE 1902 in which systems and methods for establishing multiple radio connections may be implemented.
  • Figure 19 illustrates an example of procedures for changing a cell in a radio connection (e.g., handover in the secondary radio connection).
  • information exchange between the PeNB and a source SeNB is omitted.
  • the eNBs 1960a-b and the UE 1902 described in connection with Figure 19 may be implemented in accordance with one or more corresponding elements described in connection with Figure 1.
  • the eNB 1960a may configure UE 1902 measurement procedures.
  • the UE 1902 measurement procedures may be based on area restriction information.
  • the measurements provided by the eNB 1960a may assist in controlling the UE's 1902 connection mobility.
  • the eNB 1960a may then send 1977 a measurement control to the UE 1902.
  • the eNB 1960a may send 1979 an uplink allocation to the UE 1902 via L1/L2 signaling (e.g., PDCCH, a MAC control element).
  • L1/L2 signaling e.g., PDCCH, a MAC control element
  • the measurement control may trigger the UE 1902 to send 1981 a measurement report to the eNB 1960a.
  • the UE 1902 may be triggered to send 1981 the measurement report based on one or more rules (e.g., system information, a specification, etc.).
  • the eNB 1960a may decide 1983 to change a cell to the UE 1902.
  • An example of other information may include radio resource management information.
  • the eNB 1960a may then issue 1985 a connection request message to the target SeNB 1660b.
  • the connection request message may be based on the measurement report and radio resource management information.
  • the connection request message may include necessary information that allows the target SeNB 1960b to prepare the handover in the secondary connection.
  • the connection request message may include RRC context including the C-RNTI of the UE 1902 in the source eNB, QoS information, etc.
  • One or more of the UE X2 and UE S1 signaling references may enable the target SeNB 1960b to address the eNB 1960a and the EPC.
  • the target SeNB 1960b may perform 1987 admission control.
  • the admission control may be based on the received QoS information.
  • the admission control may evaluate whether the required QoS may be achieved if the resources can be granted by the target SeNB 1760b, in order to increase the likelihood of a successful connection control.
  • the target SeNB 1960b may configure resources according to the received QoS information.
  • the target SeNB 1960b may also reserve at least one of a C-RNTI, a cell and optionally, a RACH preamble identity.
  • the target SeNB 1960b may prepare the handover in the secondary connection with one or more of L1 (PHY) and L2 (MAC) entities of the eNB 1760a and may send 1989 a connection request Ack to the eNB 1960a.
  • the connection request Ack may include a transparent container to be sent to the UE 1902 (from the eNB 1960a, for example) as a connection control message (in an RRC connection reconfiguration message, for example) that directs the UE 1902 to perform the handover in the secondary connection.
  • the container may include a new C-RNTI (e.g., a second C-RNTI), a physical cell identifier for a cell to be accessed (e.g., a target cell) in a secondary radio connection, target SeNB 1960b security algorithm identifiers for the selected security algorithms and a dedicated RACH preamble identity.
  • the connection control message may also include other parameters (e.g., access parameters, system information blocks (SIBs), etc.) Specifically, the connection control message may indicate whether a dedicated RACH preamble identity has been included or not.
  • SIBs system information blocks
  • the eNB 1960a may generate the RRC connection reconfiguration message to perform the handover (e.g., the RRCConnectionReconfiguration message including connection control information) to be sent to the UE 1902.
  • the connection control message (abbreviated as "RRC Conn. Reconf.” in Figure 19 for convenience)
  • the eNB 1960a may send 1991 a downlink allocation to the UE 1902.
  • the UE 1902 may receive the RRC connection reconfiguration message including the connection control message (e.g., the RRCConnectionReconfiguration message with necessary parameters (C-RNTI for the secondary radio connection, target SeNB 1960b security algorithm identifiers, and optionally dedicated RACH preamble identity, target SeNB 1960b SIBs, etc.)).
  • the eNB 1960a may then command or direct the UE 1902 to perform the handover in the secondary connection.
  • the UE 1902 may synchronize 1995 (e.g., acquire synchronization signals) with the target SeNB 1960b and may access (e.g., perform a random access procedure) the target cell via the RACH.
  • the UE 1902 may access the target cell following a contention-free random access procedure (e.g., non-contention-based random access procedure) if a dedicated RACH preamble was indicated in the connection control information (a dedicated RACH preamble identity was included in the connection control message, for example).
  • the UE 1902 may access the target cell following a contention-based random access procedure if no dedicated preamble was indicated.
  • the UE 1902 may derive target SeNB 1960b specific keys and may configure the selected security algorithms to be used in the target cell.
  • the target SeNB 1960b may respond to the random access by sending 1997 an uplink allocation and a timing advance to the UE 1902. Then, when the UE 1902 has successfully accessed the target cell, the UE 1902 may send 1999 a RRC connection reconfiguration complete message (e.g., the RRCConnectionReconfigurationComplete message), which may include the second C-RNTI, to confirm the addition of the connection. The UE 1902 may also send an uplink buffer status report to the target SeNB 1960b to indicate that the connection addition procedure has been completed for the UE 1902. The target SeNB 1960b may verify the second C-RNTI sent in the RRC connection reconfiguration complete message (e.g., the RRCConnectionReconfigurationComplete message). The target SeNB 1960b may then begin sending data to the UE 1902.
  • a RRC connection reconfiguration complete message e.g., the RRCConnectionReconfigurationComplete message
  • one or more of sending 1977 a measurement control, sending 1981 a measurement report, sending 1985 a connection request, sending 1989 a connection request acknowledge message, sending 1993 a connection control message, and sending 1999 a RRC connection reconfiguration complete message may be performed using L3 signaling.
  • one or more of sending 1979 an uplink allocation, sending 1991 a downlink allocation, synchronizing 1995 and sending 1997 an uplink allocation and timing advance may be performed using one or more of L1 and L2 signaling.
  • connection control information may have a similar structure as mobility control information used for handover for a single connection.
  • This connection control information may also be used for intra-SeNB handover (e.g., cell change in a SeNB) and self-handover (e.g., handover to the same cell).
  • a handover command (i.e., MobilityControlInfo) may be used.
  • the handover command in the secondary radio connection may be included in a secondary RRC connection reconfiguration message which is distinguished from the RRC connection reconfiguration message used in the primary radio connection.
  • the secondary RRC connection reconfiguration message is used to configure/reconfigure parameters of the secondary radio connection.
  • a secondary RRC connection reconfiguration complete message may be sent from the UE 102 to the target SeNB as an acknowledgement to the secondary RRC connection reconfiguration message.
  • the secondary RRC connection reconfiguration complete message may be distinguished from the RRC connection reconfiguration complete message used in the primary radio connection.
  • Figure 20 illustrates various components that may be utilized in a UE 2002.
  • the UE 2002 described in connection with Figure 20 may be implemented in accordance with the UE 102 described in connection with Figure 1.
  • the UE 2002 includes a processor 2004 that controls operation of the UE 2002.
  • the processor 2004 may also be referred to as a central processing unit (CPU).
  • Memory 2010, which may include read-only memory (ROM), random access memory (RAM), a combination of the two or any type of device that may store information, provides instructions 2006a and data 2008a to the processor 2004.
  • a portion of the memory 2010 may also include non-volatile random access memory (NVRAM). Instructions 2006b and data 2008b may also reside in the processor 2004.
  • NVRAM non-volatile random access memory
  • Instructions 2006b and/or data 2008b loaded into the processor 2004 may also include instructions 2006a and/or data 2008a from memory 2010 that were loaded for execution or processing by the processor 2004.
  • the instructions 2006b may be executed by the processor 2004 to implement one or more of the methods and procedures 200, 600, 1800 and 1900 described above.
  • the UE 2002 may also include a housing that contains one or more transmitters 2058 and one or more receivers 2020 to allow transmission and reception of data.
  • the transmitter(s) 2058 and receiver(s) 2020 may be combined into one or more transceivers 2018.
  • One or more antennas 2022a-n are attached to the housing and electrically coupled to the transceiver 2018.
  • the various components of the UE 2002 are coupled together by a bus system 2014, which may include a power bus, a control signal bus and a status signal bus, in addition to a data bus. However, for the sake of clarity, the various buses are illustrated in Figure 20 as the bus system 2014.
  • the UE 2002 may also include a digital signal processor (DSP) 2012 for use in processing signals.
  • DSP digital signal processor
  • the UE 2002 may also include a communications interface 2016 that provides user access to the functions of the UE 2002.
  • the UE 2002 illustrated in Figure 20 is a functional block diagram rather than a listing of specific components.
  • Figure 21 illustrates various components that may be utilized in an eNB 2160.
  • the eNB 2160 described in connection with Figure 21 may be implemented in accordance with the eNB 160 described in connection with Figure 1.
  • the eNB 2160 includes a processor 2104 that controls operation of the eNB 2160.
  • the processor 2104 may also be referred to as a central processing unit (CPU).
  • Memory 2110 which may include read-only memory (ROM), random access memory (RAM), a combination of the two or any type of device that may store information, provides instructions 2106a and data 2108a to the processor 2104.
  • a portion of the memory 2110 may also include non-volatile random access memory (NVRAM). Instructions 2106b and data 2108b may also reside in the processor 2104.
  • NVRAM non-volatile random access memory
  • Instructions 2106b and/or data 2108b loaded into the processor 2104 may also include instructions 2106a and/or data 2108a from memory 2110 that were loaded for execution or processing by the processor 2104.
  • the instructions 2106b may be executed by the processor 2104 to implement one or more of the methods and procedures 300, 700, 1800 and 1900 described above.
  • the eNB 2160 may also include a housing that contains one or more transmitters 2117 and one or more receivers 2178 to allow transmission and reception of data.
  • the transmitter(s) 2117 and receiver(s) 2178 may be combined into one or more transceivers 2176.
  • One or more antennas 2180a-n are attached to the housing and electrically coupled to the transceiver 2176.
  • the various components of the eNB 2160 are coupled together by a bus system 2114, which may include a power bus, a control signal bus and a status signal bus, in addition to a data bus. However, for the sake of clarity, the various buses are illustrated in Figure 21 as the bus system 2114.
  • the eNB 2160 may also include a digital signal processor (DSP) 2112 for use in processing signals.
  • DSP digital signal processor
  • the eNB 2160 may also include a communications interface 2116 that provides user access to the functions of the eNB 2160.
  • the eNB 2160 illustrated in Figure 21 is a functional block diagram rather than a listing of specific components.
  • Figure 22 is a block diagram illustrating one configuration of a UE 2202 in which systems and methods for establishing multiple radio connections may be implemented.
  • the UE 2202 includes transmit means 2258, receive means 2220 and control means 2224.
  • the transmit means 2258, receive means 2220 and control means 2224 may be configured to perform one or more of the functions described in connection with Figures 2, 6, 18 and 19 above.
  • Figure 20 above illustrates one example of a concrete apparatus structure of Figure 22.
  • Other various structures may be implemented to realize one or more of the functions of Figure 2, 6, 18 and 19.
  • a DSP may be realized by software.
  • Figure 23 is a block diagram illustrating one configuration of an eNB 2360 in which systems and methods for establishing multiple radio connections may be implemented.
  • the eNB 2360 includes transmit means 2317, receive means 2378 and control means 2382.
  • the transmit means 2317, receive means 2378 and control means 2382 may be configured to perform one or more of the functions described in connection with Figures 3, 7, 18 and 19 above.
  • Figure 21 above illustrates one example of a concrete apparatus structure of Figure 23.
  • Other various structures may be implemented to realize one or more of the functions of Figure 3, 7, 18 and 19.
  • a DSP may be realized by software.
  • computer-readable medium refers to any available medium that can be accessed by a computer or a processor.
  • computer-readable medium may denote a computer- and/or processor-readable medium that is non-transitory and tangible.
  • a computer-readable or processor-readable medium may comprise RAM, ROM, EEPROM, CD-ROM or other optical disk storage, magnetic disk storage or other magnetic storage devices, or any other medium that can be used to carry or store desired program code in the form of instructions or data structures and that can be accessed by a computer or processor.
  • Disk and disc includes compact disc (CD), laser disc, optical disc, digital versatile disc (DVD), floppy disk and Blu-ray (Registered trademark) disc where disks usually reproduce data magnetically, while discs reproduce data optically with lasers.
  • CD compact disc
  • DVD digital versatile disc
  • floppy disk floppy disk
  • Blu-ray Registered trademark
  • one or more of the methods described herein may be implemented in and/or performed using hardware.
  • one or more of the methods described herein may be implemented in and/or realized using a chipset, an application-specific integrated circuit (ASIC), a large-scale integrated circuit (LSI) or integrated circuit, etc.
  • ASIC application-specific integrated circuit
  • LSI large-scale integrated circuit
  • Each of the methods disclosed herein comprises one or more steps or actions for achieving the described method.
  • the method steps and/or actions may be interchanged with one another and/or combined into a single step without departing from the scope of the claims.
  • the order and/or use of specific steps and/or actions may be modified without departing from the scope of the claims.

Landscapes

  • Engineering & Computer Science (AREA)
  • Computer Networks & Wireless Communication (AREA)
  • Signal Processing (AREA)
  • Computer Security & Cryptography (AREA)
  • Mobile Radio Communication Systems (AREA)
PCT/JP2014/000254 2013-03-22 2014-01-20 Systems and methods for establishing multiple radio connections Ceased WO2014147929A1 (en)

Priority Applications (2)

Application Number Priority Date Filing Date Title
JP2015546365A JP6605329B2 (ja) 2013-03-22 2014-01-20 複数の無線接続を確立するためのシステムおよび方法
CN201480017173.2A CN105075365B (zh) 2013-03-22 2014-01-20 用户设备、演进节点b及其方法

Applications Claiming Priority (2)

Application Number Priority Date Filing Date Title
US13/849,410 US9078241B2 (en) 2013-03-22 2013-03-22 Systems and methods for establishing multiple radio connections
US13/849,410 2013-03-22

Publications (1)

Publication Number Publication Date
WO2014147929A1 true WO2014147929A1 (en) 2014-09-25

Family

ID=51569093

Family Applications (1)

Application Number Title Priority Date Filing Date
PCT/JP2014/000254 Ceased WO2014147929A1 (en) 2013-03-22 2014-01-20 Systems and methods for establishing multiple radio connections

Country Status (4)

Country Link
US (4) US9078241B2 (enExample)
JP (1) JP6605329B2 (enExample)
CN (1) CN105075365B (enExample)
WO (1) WO2014147929A1 (enExample)

Cited By (5)

* Cited by examiner, † Cited by third party
Publication number Priority date Publication date Assignee Title
US9357438B2 (en) 2013-02-22 2016-05-31 Htc Corporation Method for simultaneous communications with multiple base stations and related communication device
US9386619B2 (en) 2013-02-22 2016-07-05 Htc Corporation Method of handling a cell addition for dual connectivity and related communication device
US9456461B2 (en) 2013-08-09 2016-09-27 Htc Corporation Method of radio network temporary identifier allocation in dual connectivity
JP2017536035A (ja) * 2014-10-23 2017-11-30 華為技術有限公司Huawei Technologies Co.,Ltd. 無線リソース制御rrcメッセージ処理方法、装置、及びシステム
EP3361779A1 (en) * 2013-09-27 2018-08-15 Samsung Electronics Co., Ltd. Method and apparatus for transmitting and receiving data using plurality of carriers in mobile communication system

Families Citing this family (55)

* Cited by examiner, † Cited by third party
Publication number Priority date Publication date Assignee Title
EP2983405B1 (en) 2013-04-05 2018-01-03 Kyocera Corporation Transmissions between radio base stations and dual connectivity release
EP3383101B1 (en) * 2013-04-19 2019-10-30 LG Electronics Inc. Power control method and apparatus in wireless access system
WO2014172870A1 (zh) * 2013-04-25 2014-10-30 华为技术有限公司 下行控制信息的传输方法及设备
US9392635B2 (en) * 2013-05-08 2016-07-12 Lg Electronics Inc. Method and UE for network attachment
US20140335882A1 (en) * 2013-05-10 2014-11-13 Electronics & Telecommunications Research Institute Method for configuring dual connectivity
US9480067B2 (en) 2013-08-08 2016-10-25 Qualcomm Incorporated Techniques for allocating user equipment processing capability among multiple access nodes
EP2836049A1 (en) * 2013-08-09 2015-02-11 Alcatel Lucent Method, system and computer program product for managing cell radio network temporary identifiers
US20160057800A1 (en) * 2013-08-27 2016-02-25 Samsung Electronics Co., Ltd. Method and system for random access procedure and radio link failure in inter-enb carrier aggregation
RU2606967C1 (ru) * 2013-09-16 2017-01-10 Нек Корпорейшн Способы и устройство, относящиеся к межсистемной агрегации несущих fdd-tdd lte в усовершенствованных системах беспроводной связи
US9787458B2 (en) 2013-09-16 2017-10-10 Nec Corporation Methods and apparatus relating to LTE FDD-TDD inter-system carrier aggregation in advanced wireless communication systems
US20160242092A1 (en) * 2013-09-27 2016-08-18 Nokia Solutions And Networks Oy Methods and Apparatus for Small Cell Change
KR101802157B1 (ko) * 2013-10-28 2017-12-28 엘지전자 주식회사 이종 네트워크에서 이중 연결 동작을 수행하기 위한 방법 및 장치
US9756678B2 (en) * 2013-12-13 2017-09-05 Sharp Kabushiki Kaisha Systems and methods for multi-connectivity operation
EP3092864B1 (en) * 2014-01-08 2019-08-21 LG Electronics Inc. C-rnti collision in dual connectivity
EP3668044B1 (en) * 2014-01-28 2021-12-15 Huawei Technologies Co., Ltd. Security key change method, base station, and user equipment
US10038537B2 (en) * 2014-02-09 2018-07-31 Alcatel Lucent Common search space in secondary ENBS
US20150327156A1 (en) * 2014-05-06 2015-11-12 Qualcomm Incorporated Optimization of mbsfn decoding on scells when the pcell and scells belong to same mbsfn area
EP3141037B1 (en) * 2014-05-09 2019-04-24 Telefonaktiebolaget LM Ericsson (publ) Uplink reconfiguration for split bearer in dual connectivity
CN106538033B (zh) * 2014-07-18 2019-11-26 华为技术有限公司 用户装置、网络节点及其方法
WO2016008537A1 (en) * 2014-07-18 2016-01-21 Huawei Technologies Co.,Ltd User device, network node and methods thereof
US9538431B2 (en) 2014-09-24 2017-01-03 Intel Corporation Handover at spectrum release for licensed shared access
CN105659663B (zh) * 2014-09-28 2019-05-10 华为技术有限公司 双连接中服务小区的配置方法、用户设备和基站
US11581999B2 (en) * 2014-10-08 2023-02-14 Qualcomm Incorporated Reference signal design for wireless communications
GB2537181A (en) * 2015-04-10 2016-10-12 Nec Corp Communication system
CN106332233B (zh) 2015-06-30 2019-10-22 华为技术有限公司 一种终端、基站、小区接入方法和数据传输方法
CN111050343B (zh) * 2015-06-30 2022-07-22 华为技术有限公司 无线接入网设备、数据处理方法和ip报文处理方法
US10433328B2 (en) 2015-07-20 2019-10-01 Lg Electronics Inc. Method for receiving a signal in wireless communication system and a device therefor
KR102554638B1 (ko) * 2015-08-14 2023-07-12 한국전자통신연구원 면허 및 비면허 대역들을 지원하는 네트워크에서 통신 노드의 동작 방법
EP4033854B1 (en) 2015-11-26 2023-10-25 Huawei Technologies Co., Ltd. Rrc connection management method and apparatus, and device
EP3407674A4 (en) * 2016-01-22 2019-09-18 NTT DoCoMo, Inc. WIRELESS BASE STATION AND COMMUNICATION CONTROL METHOD
WO2017194115A1 (en) * 2016-05-12 2017-11-16 Nokia Solutions And Networks Oy Ran level coordination
WO2017219355A1 (zh) * 2016-06-24 2017-12-28 华为技术有限公司 多连接通信方法和设备
KR102502279B1 (ko) * 2016-07-08 2023-02-21 삼성전자 주식회사 무선 통신 시스템에 있어서 핸드오버를 수행하는 방법 및 장치
US10582523B2 (en) * 2016-08-13 2020-03-03 Qualcomm Incorporated Method and apparatus for secondary base station mobility
US10201030B2 (en) * 2016-10-28 2019-02-05 Htc Corporation Device and method of handling dual connectivity
KR102583326B1 (ko) * 2016-11-03 2023-10-05 코닌클리케 필립스 엔.브이. 강화된 sps 제어 및 핸드오버 이후 연속적인 sps를 제공하기 위한 사용자 장비, 기지국, 무선 통신 네트워크, 데이터 신호 및 방법
CN108076441B (zh) * 2016-11-17 2021-11-16 中兴通讯股份有限公司 一种寻呼方法及装置、系统
CN108206732B (zh) * 2016-12-19 2020-09-25 维沃移动通信有限公司 数据传输方法、资源指示信息的获取方法、终端及基站
US10925046B2 (en) 2017-01-05 2021-02-16 Huawei Technologies Co., Ltd. Signaling indication for flexible new radio (NR) long term evolution (LTE) coexistence
CN108616933A (zh) * 2017-01-24 2018-10-02 电信科学技术研究院 一种中央单元-分布式单元架构下的通信处理方法及装置
US10716157B2 (en) * 2017-02-09 2020-07-14 Apple Inc. 5G/LTE dual connectivity
CN110741698B (zh) * 2017-06-01 2023-06-02 上海诺基亚贝尔股份有限公司 用于循环冗余校验/奇偶分布式极化码的比特数目计算和加扰的方法和装置
US10368253B2 (en) * 2017-07-25 2019-07-30 At&T Intellectual Property I, L.P. System and method for managing dual connectivity with dynamic anchor cell selection
CN115802435A (zh) * 2017-08-02 2023-03-14 夏普株式会社 媒体接入控制层的重置方法和装置
CN109392050B (zh) * 2017-08-10 2020-07-07 华为技术有限公司 一种获取目标服务小区的跟踪区的标识信息的方法及设备
CN109413742B (zh) 2017-08-18 2021-07-09 华为技术有限公司 系统信息的传输方法和装置
WO2019036864A1 (en) 2017-08-21 2019-02-28 Qualcomm Incorporated USER EQUIPMENT IDENTIFIER INFORMATION
EP3738386A1 (en) * 2018-01-11 2020-11-18 Nokia Technologies Oy Performance indication of ultra-x graded carrier
US10681722B2 (en) 2018-04-17 2020-06-09 Huawei Technologies Co., Ltd. Method for communication and an apparatus thereof
JP7162080B2 (ja) * 2018-06-15 2022-10-27 鴻穎創新有限公司 超高信頼低遅延通信の設定
WO2019245329A1 (en) * 2018-06-21 2019-12-26 Lg Electronics Inc. Method and apparatus for performing conditional cell change in wireless communication system
CN108834178B (zh) * 2018-06-25 2021-07-20 东方通信股份有限公司 Pdt集群系统辅助控制信道设计方法
PL3869905T3 (pl) 2018-10-18 2024-04-02 Beijing Xiaomi Mobile Software Co., Ltd. Połączenie unicast i transmisja danych na podstawie bezpośredniego połączenia rzecz z rzeczą
WO2021062863A1 (en) * 2019-10-02 2021-04-08 Qualcomm Incorporated Parallel handover and failure handling
EP3927100B1 (en) 2020-06-15 2023-04-12 Nokia Technologies Oy Communication of user terminal having multiple subscription identities

Citations (3)

* Cited by examiner, † Cited by third party
Publication number Priority date Publication date Assignee Title
WO2011121774A1 (ja) * 2010-03-31 2011-10-06 富士通株式会社 無線通信方法、無線通信システムおよび無線通信装置
JP2013005130A (ja) * 2011-06-15 2013-01-07 Sharp Corp 移動局装置、基地局装置、通信システム、通信方法および集積回路
JP2013510539A (ja) * 2010-03-05 2013-03-21 エルジー エレクトロニクス インコーポレイティド 無線通信システムにおける非周期的サウンディング参照信号送信方法及び装置

Family Cites Families (30)

* Cited by examiner, † Cited by third party
Publication number Priority date Publication date Assignee Title
EP2136599B1 (en) * 2008-06-18 2017-02-22 LG Electronics Inc. Detection of failures of random access procedures
US20100215011A1 (en) * 2009-02-26 2010-08-26 Interdigital Patent Holdings, Inc. Method and apparatus for switching a resource assignment mode for a plurality of component carriers
KR101356525B1 (ko) * 2009-03-13 2014-01-29 엘지전자 주식회사 상하향링크 콤포넌트 반송파 설정을 고려한 핸드오버
US9386593B2 (en) 2009-06-19 2016-07-05 Sharp Kabushiki Kaisha Systems and methods for component carrier selection in a wireless communication system
KR101341527B1 (ko) * 2009-07-02 2014-01-06 엘지전자 주식회사 패킷 데이터 통신 시스템 내에서 단말의 핸드오프를 가능하게 하는 방법
GB2472789A (en) * 2009-08-17 2011-02-23 Nec Corp In a lte-advanced network a target enb sends a source enb information to indicate to the ue which of multiple component carriers is to be used for initail acc
EP2481180B1 (en) * 2009-09-25 2018-11-07 BlackBerry Limited Channel scrambling in multi-carrier communications networks
EP2672653B1 (en) * 2010-02-11 2019-04-24 Huawei Technologies Co., Ltd. Method, base station, user equipment, and system for sending and receiving pdcch signaling
US10439786B2 (en) * 2010-03-18 2019-10-08 Qualcomm Incorporated Methods of resolving PDCCH confusion in LTE
EP2373090B1 (en) * 2010-04-01 2016-11-09 Alcatel Lucent Optimized carrier aggregation for handover
US8627171B2 (en) * 2010-05-03 2014-01-07 Samsung Electronics Co., Ltd. Techniques for cyclic redundancy check encoding in communication system
KR101721015B1 (ko) * 2010-06-21 2017-03-29 삼성전자주식회사 이동 통신 시스템에서 블라인드 스케쥴링 장치 및 방법
CN102316509B (zh) * 2010-06-30 2016-03-02 中兴通讯股份有限公司 无线链路失败相关测量信息的上报方法及系统
CN102340886B (zh) * 2010-07-22 2014-04-16 大唐移动通信设备有限公司 一种重建立rrc连接的方法、装置及系统
CN102448053B (zh) 2010-09-30 2015-08-26 上海贝尔股份有限公司 在回程链路上执行多个mac pdu传递的方法和中继节点
WO2012041359A1 (en) * 2010-10-01 2012-04-05 Synthon B.V. Process for making fingolimod
US8867511B2 (en) * 2010-12-09 2014-10-21 Qualcomm Incorporated System and method for reducing resets during handovers in a single frequency dual carrier wireless communication system
US20130265984A1 (en) 2011-03-07 2013-10-10 Honggang Li Grouped machine-to-machine communications
WO2013009136A2 (ko) * 2011-07-14 2013-01-17 엘지전자 주식회사 캐리어 병합을 지원하는 무선접속시스템에서 하나 이상의 타이밍 어드밴스 그룹에 다중 전송 타이밍을 할당하는 방법 및 장치
US9949221B2 (en) * 2011-07-27 2018-04-17 Sharp Kabushiki Kaisha Devices for multi-cell communications
US9277398B2 (en) * 2011-08-22 2016-03-01 Sharp Kabushiki Kaisha User equipment capability signaling
CN108270540B (zh) * 2012-03-23 2021-03-09 寰发股份有限公司 多点载波聚合配置以及数据转发方法
US9210619B2 (en) * 2012-06-20 2015-12-08 Ofinno Technologies, Llc Signalling mechanisms for wireless device handover
US8913518B2 (en) * 2012-08-03 2014-12-16 Intel Corporation Enhanced node B, user equipment and methods for discontinuous reception in inter-ENB carrier aggregation
US8761109B2 (en) * 2012-08-03 2014-06-24 Motorola Mobility Llc Method and apparatus for receiving a control channel
CN104584633B (zh) * 2012-08-23 2018-12-18 交互数字专利控股公司 在无线系统中采用多个调度器进行操作
WO2014098444A1 (ko) * 2012-12-17 2014-06-26 엘지전자 주식회사 하향링크 신호 수신 방법 및 사용자기기와 하향링크 신호 전송 방법 및 기지국
US9923684B2 (en) * 2013-01-09 2018-03-20 Samsung Electronics Co., Ltd. Methods to support inter-eNodeB CoMP
US9445319B2 (en) * 2013-02-14 2016-09-13 Lg Electronics Inc. Method and apparatus for controlling and resolving a handover failure when a dynamic cell off is occurred in wireless access system
US10172177B2 (en) * 2013-04-16 2019-01-01 Qualcomm Incorporated UE initiated SCell connection establishment

Patent Citations (3)

* Cited by examiner, † Cited by third party
Publication number Priority date Publication date Assignee Title
JP2013510539A (ja) * 2010-03-05 2013-03-21 エルジー エレクトロニクス インコーポレイティド 無線通信システムにおける非周期的サウンディング参照信号送信方法及び装置
WO2011121774A1 (ja) * 2010-03-31 2011-10-06 富士通株式会社 無線通信方法、無線通信システムおよび無線通信装置
JP2013005130A (ja) * 2011-06-15 2013-01-07 Sharp Corp 移動局装置、基地局装置、通信システム、通信方法および集積回路

Cited By (19)

* Cited by examiner, † Cited by third party
Publication number Priority date Publication date Assignee Title
US9763163B2 (en) 2013-02-22 2017-09-12 Htc Corporation Method and device for simultaneous communications with multiple base stations and related communication device
US9386619B2 (en) 2013-02-22 2016-07-05 Htc Corporation Method of handling a cell addition for dual connectivity and related communication device
US9357438B2 (en) 2013-02-22 2016-05-31 Htc Corporation Method for simultaneous communications with multiple base stations and related communication device
US10015833B2 (en) 2013-08-09 2018-07-03 Htc Corporation Device of radio network temporary identifier allocation in dual connectivity
EP3193558A1 (en) * 2013-08-09 2017-07-19 HTC Corporation Method, device and network for radio network temporary identifier allocation in dual connectivity
EP3154307A1 (en) 2013-08-09 2017-04-12 HTC Corporation Method of radio network temporary identifier allocation in dual connectivity
EP2836050B1 (en) * 2013-08-09 2017-07-19 HTC Corporation Method, device and network for radio network temporary identifier allocation in dual connectivity
US9456461B2 (en) 2013-08-09 2016-09-27 Htc Corporation Method of radio network temporary identifier allocation in dual connectivity
EP3930382A1 (en) * 2013-09-27 2021-12-29 Samsung Electronics Co., Ltd. Method and apparatus for transmitting and receiving data using plurality of carriers in mobile communication system
EP3361779A1 (en) * 2013-09-27 2018-08-15 Samsung Electronics Co., Ltd. Method and apparatus for transmitting and receiving data using plurality of carriers in mobile communication system
US12108413B2 (en) 2013-09-27 2024-10-01 Samsung Electronics Co., Ltd. Method and apparatus for transmitting and receiving data using plurality of carriers in mobile communication system
US10314030B2 (en) 2013-09-27 2019-06-04 Samsung Electronics Co., Ltd. Method and apparatus for transmitting and receiving data using plurality of carriers in mobile communication system
US10841917B2 (en) 2013-09-27 2020-11-17 Samsung Electronics Co., Ltd. Method and apparatus for transmitting and receiving data using plurality of carriers in mobile communication system
EP3751902A1 (en) * 2013-09-27 2020-12-16 Samsung Electronics Co., Ltd. Method and apparatus for transmitting and receiving data using plurality of carriers in mobile communication system
US11576167B2 (en) 2013-09-27 2023-02-07 Samsung Electronics Co., Ltd. Method and apparatus for transmitting and receiving data using plurality of carriers in mobile communication system
JP2017536035A (ja) * 2014-10-23 2017-11-30 華為技術有限公司Huawei Technologies Co.,Ltd. 無線リソース制御rrcメッセージ処理方法、装置、及びシステム
US11076443B2 (en) 2014-10-23 2021-07-27 Huawei Technologies Co., Ltd. Radio resource control RRC message processing method, apparatus, and system
US11758609B2 (en) 2014-10-23 2023-09-12 Huawei Technologies Co., Ltd. Radio resource control RRC message processing method, apparatus, and system
US10257881B2 (en) 2014-10-23 2019-04-09 Huawei Technologies Co., Ltd. Radio resource control RRC message processing method, apparatus, and system

Also Published As

Publication number Publication date
JP6605329B2 (ja) 2019-11-13
US20170332437A1 (en) 2017-11-16
CN105075365A (zh) 2015-11-18
US20140286243A1 (en) 2014-09-25
US9730260B2 (en) 2017-08-08
US20150271866A1 (en) 2015-09-24
CN105075365B (zh) 2019-03-01
JP2016516312A (ja) 2016-06-02
US9433027B2 (en) 2016-08-30
US10039152B2 (en) 2018-07-31
US9078241B2 (en) 2015-07-07
US20160366719A1 (en) 2016-12-15

Similar Documents

Publication Publication Date Title
US10039152B2 (en) Systems and methods for establishing multiple radio connections
US9357460B2 (en) Systems and methods for establishing multiple radio connections
US11115806B2 (en) Devices and methods for establishing multiple connections
US11330482B2 (en) User equipment, method, and base station
US9756678B2 (en) Systems and methods for multi-connectivity operation
US9585134B2 (en) Systems and methods for multi-connectivity operation
US9538575B2 (en) Systems and methods for dual-connectivity operation

Legal Events

Date Code Title Description
WWE Wipo information: entry into national phase

Ref document number: 201480017173.2

Country of ref document: CN

121 Ep: the epo has been informed by wipo that ep was designated in this application

Ref document number: 14768764

Country of ref document: EP

Kind code of ref document: A1

ENP Entry into the national phase

Ref document number: 2015546365

Country of ref document: JP

Kind code of ref document: A

NENP Non-entry into the national phase

Ref country code: DE

122 Ep: pct application non-entry in european phase

Ref document number: 14768764

Country of ref document: EP

Kind code of ref document: A1