WO2014057521A1 - Storage apparatus and data management method - Google Patents

Storage apparatus and data management method Download PDF

Info

Publication number
WO2014057521A1
WO2014057521A1 PCT/JP2012/006548 JP2012006548W WO2014057521A1 WO 2014057521 A1 WO2014057521 A1 WO 2014057521A1 JP 2012006548 W JP2012006548 W JP 2012006548W WO 2014057521 A1 WO2014057521 A1 WO 2014057521A1
Authority
WO
WIPO (PCT)
Prior art keywords
storage device
tier
storage
area
storage area
Prior art date
Legal status (The legal status is an assumption and is not a legal conclusion. Google has not performed a legal analysis and makes no representation as to the accuracy of the status listed.)
Ceased
Application number
PCT/JP2012/006548
Other languages
English (en)
French (fr)
Inventor
Koji Iwamitsu
Hiroaki Akutsu
Daisuke Endo
Current Assignee (The listed assignees may be inaccurate. Google has not performed a legal analysis and makes no representation or warranty as to the accuracy of the list.)
Hitachi Ltd
Original Assignee
Hitachi Ltd
Priority date (The priority date is an assumption and is not a legal conclusion. Google has not performed a legal analysis and makes no representation as to the accuracy of the date listed.)
Filing date
Publication date
Application filed by Hitachi Ltd filed Critical Hitachi Ltd
Priority to CN201280075387.6A priority Critical patent/CN104583929A/zh
Priority to IN1544DEN2015 priority patent/IN2015DN01544A/en
Priority to EP12779175.4A priority patent/EP2880519A1/en
Priority to PCT/JP2012/006548 priority patent/WO2014057521A1/en
Priority to JP2015510536A priority patent/JP6118401B2/ja
Priority to US13/643,232 priority patent/US9235353B2/en
Priority to US14/199,302 priority patent/US8918609B2/en
Publication of WO2014057521A1 publication Critical patent/WO2014057521A1/en
Anticipated expiration legal-status Critical
Priority to US14/947,106 priority patent/US20160139855A1/en
Ceased legal-status Critical Current

Links

Images

Classifications

    • GPHYSICS
    • G06COMPUTING OR CALCULATING; COUNTING
    • G06FELECTRIC DIGITAL DATA PROCESSING
    • G06F3/00Input arrangements for transferring data to be processed into a form capable of being handled by the computer; Output arrangements for transferring data from processing unit to output unit, e.g. interface arrangements
    • G06F3/06Digital input from, or digital output to, record carriers, e.g. RAID, emulated record carriers or networked record carriers
    • G06F3/0601Interfaces specially adapted for storage systems
    • G06F3/0628Interfaces specially adapted for storage systems making use of a particular technique
    • G06F3/0655Vertical data movement, i.e. input-output transfer; data movement between one or more hosts and one or more storage devices
    • G06F3/0659Command handling arrangements, e.g. command buffers, queues, command scheduling
    • GPHYSICS
    • G06COMPUTING OR CALCULATING; COUNTING
    • G06FELECTRIC DIGITAL DATA PROCESSING
    • G06F13/00Interconnection of, or transfer of information or other signals between, memories, input/output devices or central processing units
    • G06F13/10Program control for peripheral devices
    • G06F13/102Program control for peripheral devices where the program performs an interfacing function, e.g. device driver
    • GPHYSICS
    • G06COMPUTING OR CALCULATING; COUNTING
    • G06FELECTRIC DIGITAL DATA PROCESSING
    • G06F3/00Input arrangements for transferring data to be processed into a form capable of being handled by the computer; Output arrangements for transferring data from processing unit to output unit, e.g. interface arrangements
    • G06F3/06Digital input from, or digital output to, record carriers, e.g. RAID, emulated record carriers or networked record carriers
    • G06F3/0601Interfaces specially adapted for storage systems
    • G06F3/0602Interfaces specially adapted for storage systems specifically adapted to achieve a particular effect
    • G06F3/0604Improving or facilitating administration, e.g. storage management
    • GPHYSICS
    • G06COMPUTING OR CALCULATING; COUNTING
    • G06FELECTRIC DIGITAL DATA PROCESSING
    • G06F3/00Input arrangements for transferring data to be processed into a form capable of being handled by the computer; Output arrangements for transferring data from processing unit to output unit, e.g. interface arrangements
    • G06F3/06Digital input from, or digital output to, record carriers, e.g. RAID, emulated record carriers or networked record carriers
    • G06F3/0601Interfaces specially adapted for storage systems
    • G06F3/0602Interfaces specially adapted for storage systems specifically adapted to achieve a particular effect
    • G06F3/061Improving I/O performance
    • G06F3/0611Improving I/O performance in relation to response time
    • GPHYSICS
    • G06COMPUTING OR CALCULATING; COUNTING
    • G06FELECTRIC DIGITAL DATA PROCESSING
    • G06F3/00Input arrangements for transferring data to be processed into a form capable of being handled by the computer; Output arrangements for transferring data from processing unit to output unit, e.g. interface arrangements
    • G06F3/06Digital input from, or digital output to, record carriers, e.g. RAID, emulated record carriers or networked record carriers
    • G06F3/0601Interfaces specially adapted for storage systems
    • G06F3/0602Interfaces specially adapted for storage systems specifically adapted to achieve a particular effect
    • G06F3/061Improving I/O performance
    • G06F3/0613Improving I/O performance in relation to throughput
    • GPHYSICS
    • G06COMPUTING OR CALCULATING; COUNTING
    • G06FELECTRIC DIGITAL DATA PROCESSING
    • G06F3/00Input arrangements for transferring data to be processed into a form capable of being handled by the computer; Output arrangements for transferring data from processing unit to output unit, e.g. interface arrangements
    • G06F3/06Digital input from, or digital output to, record carriers, e.g. RAID, emulated record carriers or networked record carriers
    • G06F3/0601Interfaces specially adapted for storage systems
    • G06F3/0628Interfaces specially adapted for storage systems making use of a particular technique
    • G06F3/0646Horizontal data movement in storage systems, i.e. moving data in between storage devices or systems
    • G06F3/0647Migration mechanisms
    • GPHYSICS
    • G06COMPUTING OR CALCULATING; COUNTING
    • G06FELECTRIC DIGITAL DATA PROCESSING
    • G06F3/00Input arrangements for transferring data to be processed into a form capable of being handled by the computer; Output arrangements for transferring data from processing unit to output unit, e.g. interface arrangements
    • G06F3/06Digital input from, or digital output to, record carriers, e.g. RAID, emulated record carriers or networked record carriers
    • G06F3/0601Interfaces specially adapted for storage systems
    • G06F3/0628Interfaces specially adapted for storage systems making use of a particular technique
    • G06F3/0646Horizontal data movement in storage systems, i.e. moving data in between storage devices or systems
    • G06F3/0647Migration mechanisms
    • G06F3/0649Lifecycle management
    • GPHYSICS
    • G06COMPUTING OR CALCULATING; COUNTING
    • G06FELECTRIC DIGITAL DATA PROCESSING
    • G06F3/00Input arrangements for transferring data to be processed into a form capable of being handled by the computer; Output arrangements for transferring data from processing unit to output unit, e.g. interface arrangements
    • G06F3/06Digital input from, or digital output to, record carriers, e.g. RAID, emulated record carriers or networked record carriers
    • G06F3/0601Interfaces specially adapted for storage systems
    • G06F3/0668Interfaces specially adapted for storage systems adopting a particular infrastructure
    • G06F3/067Distributed or networked storage systems, e.g. storage area networks [SAN], network attached storage [NAS]
    • GPHYSICS
    • G06COMPUTING OR CALCULATING; COUNTING
    • G06FELECTRIC DIGITAL DATA PROCESSING
    • G06F3/00Input arrangements for transferring data to be processed into a form capable of being handled by the computer; Output arrangements for transferring data from processing unit to output unit, e.g. interface arrangements
    • G06F3/06Digital input from, or digital output to, record carriers, e.g. RAID, emulated record carriers or networked record carriers
    • G06F3/0601Interfaces specially adapted for storage systems
    • G06F3/0668Interfaces specially adapted for storage systems adopting a particular infrastructure
    • G06F3/0671In-line storage system
    • G06F3/0673Single storage device
    • GPHYSICS
    • G06COMPUTING OR CALCULATING; COUNTING
    • G06FELECTRIC DIGITAL DATA PROCESSING
    • G06F3/00Input arrangements for transferring data to be processed into a form capable of being handled by the computer; Output arrangements for transferring data from processing unit to output unit, e.g. interface arrangements
    • G06F3/06Digital input from, or digital output to, record carriers, e.g. RAID, emulated record carriers or networked record carriers
    • G06F3/0601Interfaces specially adapted for storage systems
    • G06F3/0668Interfaces specially adapted for storage systems adopting a particular infrastructure
    • G06F3/0671In-line storage system
    • G06F3/0683Plurality of storage devices
    • G06F3/0685Hybrid storage combining heterogeneous device types, e.g. hierarchical storage, hybrid arrays

Definitions

  • the present invention relates to a storage apparatus and a data management method and is suited for use in, for example, a storage apparatus to which a hierarchical data management technique is applied.
  • a storage apparatus provides a host system with virtual logical volumes (hereinafter referred to as the virtual volumes).
  • the storage apparatus manages a storage area of a virtual volume by dividing it into a plurality of unit storage areas of a specified size (hereinafter referred to as the logical pages or the logical blocks).
  • the storage apparatus manages storage areas, which are provided by a plurality of types of storage drives with different performances, as one pool.
  • the storage apparatus further manages the storage areas in the relevant pool by dividing the storage areas into a plurality of storage tiers called tiers according to the performance of the storage drives providing by the relevant storage area, and sectioning each of these tiers into storage areas, each of which is of the same size as a logical page of a virtual volume (hereinafter referred to as the physical page).
  • the storage apparatus allocates a physical page from any of the storage tiers in a pool to a logical page at the data write location in the relevant virtual volume and stores write target data in the relevant physical page.
  • the storage apparatus manages the number of I/O accesses (access frequency) per unit time to each logical page of the virtual volume; and migrates data periodically by migrating data, which is stored in a logical page with a large number of I/O accesses, to a storage tier constituted from a high-performance storage drives and migrating data, which is stored in a logical page with a small number of I/O accesses, to a storage tier constituted from low-performance storage drives.
  • the storage apparatus described in PTL 1 executes processing on I/O received from a host, judgment processing for judging whether or not data should be migrated according to an access frequency, and migration processing for actually migrating data based on the above-described judgment processing, respectively on separate cycles.
  • an execution cycle of the judgment processing is longer than the execution cycle of the processing on I/O received from the host; and furthermore, the execution cycle of the migration processing is longer than the execution cycle of the judgment processing.
  • the present invention was devised in consideration of the above-described circumstances and aims at suggesting a storage apparatus capable of enhancing response performance on a real-time basis and a method for controlling such a storage apparatus.
  • a storage apparatus includes: a first storage device; a second storage device whose performance is better than that of the first storage device; and a controller for providing a virtual volume including a plurality of logical areas to a host system and allocating a storage area of the first storage device or a storage area of the second storage device to a logical area after receiving a write request; wherein when receiving a read request for a first logical area to which a first storage area of the first storage device in the virtual volume is allocated, the controller decides whether or not to migrate data, which is stored in the first storage area of the first storage device, to the storage area of the second storage device according to an access frequency to the first logical area in synchronization with the read request; and when it is decided that the data stored in the first storage area of the first storage device should be migrated to the storage area of the second storage device, the controller migrates the data in the first storage area of the first storage device to a second storage area of the second storage device and allocate
  • a data management method for a storage apparatus including a first storage device, a second storage device whose performance is better than that of the first storage device, and a controller for providing a virtual volume including a plurality of logical areas to a host system and allocating a storage area of the first storage device or a storage area of the second storage device to a logical area after receiving a write request
  • the data management method includes: a first step executed, when receiving a read request for a first logical area to which a first storage area of the first storage device in the virtual volume is allocated, by the controller deciding whether or not to migrate data, which is stored in the first storage area of the first storage device, to the storage area of the second storage device according to an access frequency to the first logical area in synchronization with the read request; and a second step executed when it is decided that the data stored in the first storage area of the first storage device should be migrated to the storage area of the second storage device, by the controller migrating the data in the first storage area of the first storage device to
  • the processing for judging whether or not it is necessary to migrate read target data from the first storage area of the first storage device to the second storage area of the second storage device and the data relocation processing can be executed in synchronization with read processing. Therefore, it is possible to realize a storage apparatus and data management method capable of enhancing response performance on a real-time basis.
  • Fig. 1 is a block diagram showing the overall configuration of a computer system according to this embodiment.
  • Fig. 2 is a conceptual diagram showing a logical structure of storage areas in a storage apparatus according to this embodiment.
  • Fig. 3 is a conceptual diagram for explaining a real-time monitoring function according to this embodiment.
  • Fig. 4 is a conceptual diagram for explaining a memory structure of the storage apparatus.
  • Fig. 5 is a conceptual diagram showing the structure of a virtual volume index table.
  • Fig. 6 is a conceptual diagram showing the structure of a RAID group index table.
  • Fig. 7 is a conceptual diagram showing the structure of a tier management table.
  • Fig. 8 is a conceptual diagram showing the structure of a pool index table.
  • Fig. 1 is a block diagram showing the overall configuration of a computer system according to this embodiment.
  • Fig. 2 is a conceptual diagram showing a logical structure of storage areas in a storage apparatus according to this embodiment.
  • Fig. 3 is a conceptual diagram
  • FIG. 9 is a conceptual diagram showing the structure of a page address table.
  • Fig. 10 is a conceptual diagram showing the structure of a counter value management table.
  • Fig. 11 is a conceptual diagram showing the structure of a page relocation execution management table.
  • Fig. 12 is a conceptual diagram showing the structure of a monitored value transition table.
  • Fig. 13 is a conceptual diagram showing the relationship between the tables.
  • Fig. 14 is a flowchart illustrating a processing sequence for read processing.
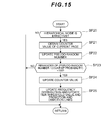
  • Fig. 15 is a flowchart illustrating a processing sequence for count processing.
  • Fig. 16 is a flowchart illustrating a processing sequence for promotion judgment processing.
  • Fig. 17 is a conceptual diagram for explaining LIFO.
  • Fig. 18 is a flowchart illustrating a processing sequence for emergency demotion processing.
  • Fig. 19 is a flowchart illustrating a processing sequence for page relocation processing.
  • Fig. 20 is a conceptual diagram for explaining the page relocation processing.
  • Fig. 21 is a conceptual diagram for explaining the page relocation processing.
  • Fig. 22 is a conceptual diagram for explaining the page relocation processing.
  • Fig. 23 is a flowchart illustrating a processing sequence for write processing.
  • Fig. 24 is a conceptual diagram for explaining chunk allocation processing.
  • Fig. 25 is a conceptual diagram for explaining the chunk allocation processing.
  • Fig. 26 is a conceptual diagram for explaining the chunk allocation processing.
  • Fig. 27 is a conceptual diagram for explaining the chunk allocation processing.
  • Fig. 28 is a flowchart illustrating a processing sequence for chunk allocation processing.
  • Fig. 20 is a conceptual diagram for explaining the page relocation processing.
  • Fig. 21 is a conceptual diagram for explaining the page relocation processing.
  • Fig. 22 is a conceptual diagram for explaining the page relocation processing.
  • Fig. 23 is a
  • FIG. 29 is a chart for explaining a tier threshold value calculation method according to this embodiment.
  • Fig. 30(A) to Fig. 30(C) are conceptual diagrams for explaining the tier threshold value calculation method according to this embodiment.
  • Fig. 31(A) and Fig. 31(B) are frequency distribution diagrams for explaining the tier threshold value calculation method according to this embodiment.
  • Fig. 32 is a flowchart illustrating a processing sequence for tier threshold value calculation processing.
  • Fig. 33 is a flowchart illustrating a processing sequence for allocated tier performance amount calculation processing.
  • Fig. 34 is a conceptual diagram showing the structure of a section I/O access management table.
  • Fig. 35 is a graph for explaining allocated tier performance amount calculation processing.
  • Fig. 30(A) to Fig. 30(C) are conceptual diagrams for explaining the tier threshold value calculation method according to this embodiment.
  • Fig. 31(A) and Fig. 31(B) are frequency distribution diagrams for explaining the tier threshold
  • FIG. 36 is a flowchart illustrating a processing sequence for tier threshold value calculation processing.
  • Fig. 37 is a graph for explaining promotion lines and demotion lines.
  • Fig. 38(A) to Fig. 38(C) are charts for explaining the promotion lines and the demotion lines.
  • Fig. 39 is a chart for explaining the promotion lines and the demotion lines.
  • Fig. 40(A) to Fig. 40(C) are charts for explaining the promotion lines and the demotion lines.
  • Fig. 41 is a graph for explaining the promotion lines and the demotion lines.
  • Fig. 42 is a flowchart illustrating a processing sequence for PD line calculation processing.
  • Fig. 43 is a flowchart illustrating a processing sequence for tier decision processing.
  • Fig. 44 is a flowchart illustrating a processing sequence for demotion judgment processing.
  • the reference numeral 1 represents a computer system according to a first embodiment as a whole.
  • This computer system 1 includes a plurality of host systems 2, a management apparatus 3, and a storage apparatus 4, which are connected via a network 5.
  • the host system 2 is a computer device executing I/O access (read access or write access) to the storage apparatus 4 and is composed of, for example, a personal computer, workstation, or mainframe.
  • the management apparatus 3 is a server device for managing the storage apparatus 4 and is composed of a general-purpose server device equipped with information processing resources such as a CPU (Central Processing Unit), a ROM (Read Only Memory), and a RAM (Random Access Memory).
  • the management apparatus 3 includes a display device for displaying a UI (User Interface) screen for making various settings to the storage apparatus 4 as well as various information, input devices such as a keyboard and a mouse for an operator to input various operations and various settings, and a communication device for communicating with the storage apparatus 4 via the network 5.
  • Various processing is executed for the management apparatus 3 as a whole by the CPU executing programs stored in, for example, the ROM in accordance with various commands input via the input devices.
  • the storage apparatus 4 includes a basic chassis 10 and one or more additional chassis 11.
  • the basic chassis 10 includes a plurality of storage drives 20 and two system-0 and system-1 controllers 21A, 21B for controlling data input to, or output from, the plurality of storage drives 20.
  • the storage drives 20 are composed of, for examples, hard disk devices such as SAS (Serial Attached SCSI) disks or SATA (Serial AT Attachment) disks or semiconductor memories such as SSDs (Solid State Drives). These storage drives 20 are operated by each of the system-0 controller 21A and the system-1 controller 21B according to a RAID (Redundant Arrays of Inexpensive Disks) system. Incidentally, there may be one controller 21A, 21B.
  • RAID Redundant Arrays of Inexpensive Disks
  • Each of the system-0 controller 21A and the system-1 controller 21B includes a communications interface unit 22A, 22B, a data transfer control unit 23A, 23B, a bridge 24A, 24B, a CPU (Central Processing Unit) 25A, 25B, a local memory 26A, 26B, a cache memory 27A, 27B, a drive interface unit 28A, 28B, and a switch 29A, 29B.
  • a communications interface unit 22A, 22B includes a communications interface unit 22A, 22B, a data transfer control unit 23A, 23B, a bridge 24A, 24B, a CPU (Central Processing Unit) 25A, 25B, a local memory 26A, 26B, a cache memory 27A, 27B, a drive interface unit 28A, 28B, and a switch 29A, 29B.
  • a communications interface unit 22A, 22B includes a communications interface unit 22A, 22B, a data transfer control unit 23A, 23B, a bridge 24A, 24B, a CPU (Central
  • the communications interface unit 22A, 22B is an interface with the network 5 and sends and/or receives data (write data or read data) or I/O commands to and/or from the host system 2 via the network 5.
  • the data transfer control unit 23A, 23B has a function switching between a data transfer source and a data transfer designation between the communications interface unit 22A, 22B, the bridge 24A, 24B, the cache memory 27A, 27B, and the drive interface unit 28A, 28B and is composed of, for example, a PCIe (PCI [Peripheral Component Interconnect] Express) switch. Furthermore, the data transfer control unit 23A, 23B is connected to the data transfer control unit 23B, 23A for the other system (system 1 or system 0) via a bus 30 and is designed to be capable of sending and/or receiving commands and data to and/or from the data transfer control unit 23B, 23A for the other system via this bus 30.
  • PCIe PCI [Peripheral Component Interconnect] Express
  • the bridge 24A, 24B is a relay device for connecting each of the CPU 25A, 25B and the local memory 26A, 26B of the local system to the data transfer control unit 23A, 23B of that local system, extracts only the corresponding data among data passing through the bus connecting the communications interface unit 22A, 22B, the data transfer control unit 23A, 23B, the cache memory 27A, 27B, and the drive interface unit 28A, 28B, and transfers it to the CPU 25A, 25B and the local memory 26A, 26B.
  • the CPU 25A, 25B is a processor controlling the operation of the entire storage apparatus 4 and controls, for example, input/output of data, commands, or management information sent and/or received via the communications interface unit 22A, 22B. Furthermore, the local memory 26A, 26B is mainly used to retain various control programs and various control data. Various processing as described later is executed in the storage apparatus 4 as a whole by the CPU 25A, 25B executing the control programs retained in the local memory 26A, 26B.
  • the cache memory 27A, 27B is mainly used to temporarily store and retain data read from, and/or data to be written to, the storage drives 20.
  • the drive interface unit 28A, 28B is an interface with the storage drives 20.
  • the CPU 25A, 25B reads read data from and/or writes write data to the corresponding address location in the relevant storage drive 20 by controlling the relevant storage drive 20 via the drive interface unit 28A, 28B based on an I/O command issued from the host system 2 via the communications interface unit 22A, 22B.
  • the switch 29A, 29B is a relay device for connecting the plurality of storage drives 20 to each of the system-0 controller 21A and the system-1 controller 21B and is composed of, for example, an expander. These switches 29A, 29B can be expanded and connected to each other by a tree-structure topology. Accordingly, each of the system-0 controller 21A and the system-1 controller 21B can control the large number of storage drives 20 via the plurality of switches 29A, 29B.
  • the additional chassis 11 includes a plurality of switches 31A, 31B, which are placed respectively corresponding to the switches 29A, 29B provided in the system-0 controller 21A and the system-1 controller 21B of the basic chassis 10, and a plurality of storage drives 20.
  • the same switches as used for the switches 29A, 29B of the basic chassis 10 are used for the switches 31A, 31B and the switches 31A, 31B are directly connected to these switches 29A, 29B or indirectly connected to the switches 29A, 29B via the corresponding switches 31A, 31B in an additional chassis 11 immediately preceding the relevant chassis.
  • Fig. 2 shows a logical structure of storage areas in the storage apparatus 4.
  • one or more storage drive 20 in the storage apparatus 4 constitutes one RAID group RG and storage areas provided by one or more RAID groups RG are managed as one pool PL.
  • the storage areas provided by a RAID group RG are managed by dividing them into a plurality of types of tiers (storage tiers) according to the performance of the storage drives 20 constituting that RAID group RG.
  • Each pool PL to which an operation mode to manage data by changing a page-based (or block-based) storage area, which is allocated to a virtual volume, between tiers (hereinafter referred to as the hierarchical mode) is set is composed of a plurality of tiers with different response performances.
  • the storage area of each pool PL is managed by dividing it into physical pages, each of which is of the same size as that of a logical page of a virtual volume VVOL.
  • Each pool PL is associated with one or more virtual volumes VVOL and these virtual volumes VVOL are provided to the host system 2.
  • Each virtual volume VVOL is assigned its unique identifier (hereinafter referred to as the volume number).
  • the inner area of each virtual volume VVOL is managed by using a storage area unit of a specified size called a logical block.
  • a virtual volume VVOL is divided into logical pages, each of which is of a specified size, and is managed by using these logical pages as units.
  • a logical page is composed of a plurality of logical blocks.
  • data reading and/or writing from the host system 2 to the virtual volume VVOL is performed by using a combination of the volume number of the relevant virtual volume VVOL and a unique number assigned to each logical block in the relevant virtual volume VVOL (hereinafter referred to as the LBA [Logical Block Address]) as a virtual address and designating the relevant virtual address.
  • LBA Logical Block Address
  • a data write command targeted at a virtual volume VVOL is received from the host system 2 and no storage area is allocated to a virtual address designated as a write location of the relevant data in the relevant virtual volume VVOL, a necessary amount of storage area is allocated in physical pages from a pool PL, which is associated with that virtual volume VVOL, to a logical page(s) including logical blocks at that virtual address. Then, the write data from the host system 2 is written to the physical pages allocated to these logical blocks.
  • Fig. 3 shows the outline of real-time monitoring processing executed in the storage apparatus 4 with respect to a pool PL whose hierarchical mode is set on based on the real-time monitoring function.
  • the storage apparatus 4 executes: host I/O processing (read processing or write processing) ST1 for processing an I/O request (read request or write request) from the host system 2 on a specified monitoring cycle with respect to a pool PL whose hierarchical mode is set on; and page relocation processing ST4 for migrating data, which is written to a logical page(s) of high or low access frequency among logical pages of each virtual volume VVOL, from a current physical page of the corresponding pool PL to a physical page belonging to a higher-level or lower-level tier than the tier where the relevant physical page belongs.
  • host I/O processing read processing or write processing
  • ST1 for processing an I/O request (read request or write request) from the host system 2 on a specified monitoring cycle with respect to a pool PL whose hierarchical mode is set on
  • page relocation processing ST4 for migrating data, which is written to a logical page(s) of high or low access frequency among logical pages of each virtual volume VVOL, from a current physical
  • the storage apparatus 4 executes, on specified cycles which are set for each of the following processing (ST1 and ST4 are separate cycles): tier threshold value calculation processing ST2 for calculating a threshold value serving as a judgment standard for judging whether to migrate data writing to a logical page to another tier (hereinafter referred to as the tier threshold value), with respect to each pool PL; and tier decision processing ST3 for deciding an optimum tier to store data which is stored in each logical page of each virtual volume VVOL.
  • tier threshold value calculation processing ST2 for calculating a threshold value serving as a judgment standard for judging whether to migrate data writing to a logical page to another tier (hereinafter referred to as the tier threshold value), with respect to each pool PL
  • tier decision processing ST3 for deciding an optimum tier to store data which is stored in each logical page of each virtual volume VVOL.
  • an execution cycle of the tier threshold value calculation processing ST2 is a few-minute cycle and an execution cycle of the tier decision processing ST3 is a few-second cycle, so that the execution cycles of the above-mentioned processing ST2 and ST3 are extremely slower than execution cycles (monitoring cycles) of the host I/O processing ST1 and the page relocation processing ST4, which are few-nanosecond (ns) cycles. Accordingly, due to time lags between the execution cycles of the tier threshold value calculation processing ST2 and the tier decision processing ST3 and the execution cycles of the host I/O processing ST1 and the page relocation processing ST4, data which should be migrated may not be sometimes migrated immediately to a physical page of an appropriate tier.
  • tier threshold value calculation processing ST2 and the tier decision processing ST3 are executed on the same cycles as the execution cycles of the host I/O processing ST1 and the page relocation processing ST4 in order to reduce the time lags; however, in that case, overhead for the tier threshold value calculation processing ST2 and the tier decision processing ST3 increases, which causes a problem of incapability to achieve response performance which could originally be expected.
  • this storage apparatus 4 executes promotion judgment processing on a virtual volume VVOL associated with the pool PL, whose hierarchical mode is set on, for judging whether or not data written to a logical page which is I/O-accessed from the host system 2 at the time of the host I/O processing ST1 should be migrated from a current physical page in the corresponding pool PL to a physical page belonging to a tier of a higher level than that of the relevant physical page (migration from the current physical page in a pool PL to a physical page belonging to a tier of an upper level than that of the current physical page will be hereinafter referred to as the promotion); and if it is determined that the promotion is necessary, the storage apparatus 4 executes page relocation processing for migrating the data to a physical page of an appropriate tier in the corresponding pool PL in synchronization with the host I/O processing.
  • the promotion executes page relocation processing for migrating the data to a physical page of an appropriate tier in the corresponding pool PL in synchronization with the
  • tiers which are set to a pool PL in the storage apparatus 4 have a three-tier structure composed of a first tier to a third tier; and the first tier (Tier1) is a storage area provided by a RAID group RG composed of the highest-performance storage drives 20 (for example, SSDs), the second tier (Tier2) is a storage area provided by a RAID group RG composed of the second-highest-performance storage drives 20 (for example, SAS disks), and the third tier (Tier3) is a storage area provided by a RAID group RG composed of the lowest-performance storage drives 20 (for example, NL-SAS and SATA disks).
  • the first tier is a storage area provided by a RAID group RG composed of the highest-performance storage drives 20 (for example, SSDs)
  • the second tier (Tier2) is a storage area provided by a RAID group RG composed of the second-highest-performance storage drives 20 (for example, SAS disks)
  • the local memory 26A, 26B for the storage apparatus 4 stores a virtual volume index table 40, a RAID group index table 41, a tier management table 42, a pool index table 43, a page address table 44, a counter value management table 45, a page relocation execution management table 46, and a counter value transition table 47 as shown in Fig. 4.
  • the virtual volume index table 40 among the above-described tables is a table for managing virtual volumes VVOL which are set in the storage apparatus 4; and the virtual volume index table 40 is constituted from a volume number field 40A, a total-number-of-pages field 40B, a number-of-allocated-pages field 40C, a number-of-allocated-chunks field 40D, an assigned pool field 40E, an I/O synchronization promotion field 40F, a last allocating RAID group number field 40G, and a hierarchical mode field 40H as shown in Fig. 5.
  • the volume number field 40A stores an identifier assigned to each virtual volume VVOL which is set in the storage apparatus 4 (hereinafter referred to as the volume number); and the total-number-of-pages field 40B stores the total number of logical pages which are set to the corresponding virtual volume VVOL.
  • the number-of-allocated-pages field 40C is constituted from a first tier field 40CA, a second tier field 40CB, and a third tier field 40CC; and each of the first tier field 40CA, the second tier field 40CB, and the third tier field 40CC stores the total number of physical pages allocated from physical pages belonging to the first to third tiers in the corresponding pool PL to the corresponding virtual volume VVOL.
  • the number-of-allocated-chunks field 40D is constituted from a first tier field 40DA, a second tier field 40DB, and a third tier field 40DC; and each of the first tier field 40DA, the second tier field 40DB, and the third tier field 40DC stores the total number of chunks allocated from physical pages belonging to the first to third tiers in the corresponding pool PL to the corresponding virtual volume VVOL.
  • the chunks herein used are storage area units secured at once in the pool PL in order to allocate them to the virtual volume VVOL and a chunk is composed of a specified number of physical pages (32 pages in this embodiment). The details of the chunks will be explained later.
  • the size of a physical chunk and the size of a physical page are the same in the first tier which is the SSD storage area.
  • the assigned pool field 40E stores an identifier of a pool PL associated with the corresponding virtual volume VVOL (hereinafter referred to as the pool number); and the I/O synchronization promotion field 40F stores information indicating whether or not an operation mode to execute processing for judging whether or not I/O target data should be migrated (or stored) to a physical page in an upper-level tier in the pool PL, and migrating (or storing) the I/O target data to the physical page in the higher-level tier in the corresponding pool PL in synchronization with the host I/O processing ST1 (Fig.
  • the I/O synchronization promotion mode (hereinafter referred to as the I/O synchronization promotion mode) is set (the I/O synchronization promotion field 40F stores "ON” if the I/O synchronization promotion mode is set; and the I/O synchronization promotion field 40F stores "OFF” if the I/O synchronization promotion mode is not set).
  • the last allocating RAID group number field 40G stores an identification number of a RAID group RG from which a physical page is allocated to the corresponding virtual volume VVOL last time (hereinafter referred to as the RAID group number); and the hierarchical mode field 40H stores information indicating whether or not a hierarchical mode is set to a pool PL associated with the relevant virtual volume VVOL (the hierarchical mode field 40H stores "ON” if the hierarchical mode is set; and the hierarchical mode field 40H stores "OFF” if the hierarchical mode is not set).
  • the hierarchical mode means an operation mode to manage data by means of the hierarchical data management technique as described earlier.
  • a pool to which this hierarchical mode is set is composed of a plurality of tiers and data written to the relevant logical page is migrated from a physical page then associated with that logical page to a physical page belonging to a higher-level or lower-level tier in the pool PL as necessary according to the access frequency to each logical page of the virtual volume VVOL.
  • the RAID group index table 41 is a table used to manage RAID groups RG defined in the storage apparatus 4; and is constituted from a RAID group number field 41A, a pool number field 41B, a total-number-of-chunks field 41C, a number-of-used-chunks field 41D, a drive type and tier field 41E, an assigned virtual volume field 41F, a chunk size field 41G, and a page size field 41H as shown in Fig. 6.
  • the RAID group number field 41A stores a RAID group number of each RAID group RG created in the storage apparatus 4; and the pool number field 41B stores a pool number of a pool PL to which the relevant RAID group RG belongs (or which the relevant RAID group RG constitutes).
  • the total-number-of-chunks field 41C stores the total number of chunks which are storage areas provided by the relevant RAID group RG; and the number-of-used-chunks field 41D stores the total number of chunks which are already allocated to any of virtual volumes VVOL among the total number of chunks.
  • the drive type and tier field 41E stores the type of the storage drives 20 (Fig. 1) constituting the relevant RAID group RG and the identification number of a tier to which a storage area provided by the relevant storage drive 20 (hereinafter referred to as the tier number); and the assigned virtual volume field 41F stores the volume number of a virtual volume VVOL to which a physical page(s) provided by the relevant RAID group RG are allocated.
  • the chunk size field 41G stores the size of chunks in the storage area provided by the relevant RAID group RG; and the page size field 41H stores the size of physical pages in the storage area provided by the relevant RAID group RG.
  • the tier management table 42 is a table created for each pool PL in order to manage each tier (first to third tiers) constituting the relevant pool PL; and is constituted from a tier index field 42A, a pool number field 42B, an assigned RAID group field 42C, a total capacity field 42D, a used capacity field 42E, a new allocation buffer ratio field 42F, and a relocation buffer ratio field 42G as shown in Fig. 7.
  • each pool field 42B stores the pool number of the corresponding pool PL.
  • the tier index field 42A stores the tier number of each tier (first to third tiers) constituting the relevant pool PL; and the assigned RAID group field 42C stores the RAID group numbers of all RAID groups RG providing storage areas of the corresponding tier.
  • the total capacity field 42D stores the total capacity of the corresponding tier; and the used capacity field 42E stores a capacity already allocated to any of the virtual volumes VVOL among the total capacity of the relevant tier.
  • the new allocation buffer ratio field 42F stores a ratio of storage capacity that should be secured as a buffer when allocating a new physical page to the relevant tier (a ratio to the total capacity; and hereinafter referred to as the new allocation buffer ratio).
  • the relocation buffer ratio field 42G stores a ratio of storage capacity that should be secured as a buffer when migrating data stored in a physical page(s) in the relevant tier to a physical page(s) in another tier (a ratio to the total capacity; and hereinafter referred to as the relocation buffer ratio).
  • the pool index table 43 is a table used to manage the pools PL which are set in the storage apparatus 4; and is constituted from a pool number field 43A, a hierarchical mode field 43B, an assigned RAID group field 43C, an assigned virtual volume field 43D, an execution status field 43E, a tier threshold value field 43F, a promotion line field (hereinafter sometimes referred to as the promotion threshold value) 43G, and a demotion line (hereinafter sometimes referred to as the demotion threshold value) field 43H as shown in Fig. 8.
  • the pool number field 43A stores the identification number (pool number) assigned to each pool PL created in the storage apparatus 4; and the hierarchical mode field 43B stores information indicating whether or not the hierarchical mode is set to the relevant pool PL (the hierarchical mode field 43B stores "ON” if the hierarchical mode is set; and the hierarchical mode field 43B stores "OFF” if the hierarchical mode is not set).
  • the assigned RAID group field 43C stores the RAID group number of a RAID group(s) RG belonging to the corresponding pool PL (or a RAID group(s) constituting that pool PL); and the assigned virtual volume field 43D stores the volume number of all virtual volumes VVOL associated with that pool PL.
  • the execution status field 43E stores information indicating whether or not the setting is made to count the number of accesses to individual logical pages in each virtual volume VVOL associated with that pool PL when the hierarchical mode is set to that pool PL (the execution status field 43E stores "Count” if the setting to count the number of accesses is set; and the execution status field 43E stores "Stop” if the setting to count the number of accesses is not set).
  • the tier threshold value field 43F is constituted from a first tier threshold value field 43FA and a second tier threshold value field 43FB. Then, the first tier threshold value field 43FA stores a tier threshold value serving as a judgment standard used when judging whether or not data written to a logical page in the corresponding virtual volume VVOL should be migrated (or demoted) from a physical page belonging to the first tier in the corresponding pool PL to a physical page belonging to the second tier, or whether or not the data should be migrated (or promoted) from the physical page belonging to the second tier to the physical page belonging to the first tier (hereinafter referred to as the first tier threshold value).
  • a tier threshold value serving as a judgment standard used when judging whether or not data written to a logical page in the corresponding virtual volume VVOL should be migrated (or demoted) from a physical page belonging to the first tier in the corresponding pool PL to a physical page belonging to the second tier, or whether or not the data
  • the second tier threshold value field 43FB stores a tier threshold value serving as a judgment standard used when judging whether or not data stored in a logical page in the relevant virtual volume VVOL should be migrated (or demoted) from a physical page belonging to the second tier in the relevant pool PL to a physical page belonging to the third tier, or whether or not the data should be migrated (or promoted) from the physical page belonging to the third tier to the physical page belonging to the second tier (hereinafter referred to as the second tier threshold value).
  • the details of these first and second tier threshold values will be explained later.
  • the promotion line field 43G is constituted from a T3-T1 promotion line field 43GA, a T2-T1 promotion line field 43GB, and a T3-T2 promotion line field 43GC.
  • the T3-T1 promotion line field 43GA stores a threshold value of access frequency to the relevant logical page (hereinafter referred to as the T3-T1 promotion line), which is used as a judgment standard together with the aforementioned first tier threshold value when judging whether or not data stored in a logical page of the corresponding virtual volume VVOL should be migrated (or promoted) from a physical page belonging to the third tier in the corresponding pool PL to a physical page belonging to the first tier.
  • the T3-T1 promotion line a threshold value of access frequency to the relevant logical page
  • the promotion from the physical page belonging to the third tier to the physical page belonging to the first tier is executed when the number of I/O accesses to the corresponding logical page of the corresponding virtual volume VVOL satisfies both a migration condition defined by the first tier threshold value (larger than the first tier threshold value) and a migration condition defined by the T3-T1 promotion line (larger than the T3-T1 promotion line).
  • the promotion from a physical page belonging to the third tier to a physical page belonging to the first tier may be executed without considering the first tier threshold value when the migration condition defined by the T3-T1 promotion line (larger than the T3-T1 promotion line) is satisfied.
  • the T2-T1 promotion line field 43GB stores a threshold value of access frequency to the relevant logical page (hereinafter referred to as the T2-T1 promotion line), which is used as a judgment standard together with the aforementioned first tier threshold value when judging whether or not data stored in a logical page in the relevant virtual volume VVOL should be migrated (or promoted) from a physical page belonging to the second tier in the relevant pool PL to a physical page belonging to the first tier.
  • the T2-T1 promotion line a threshold value of access frequency to the relevant logical page
  • the promotion from the physical page belonging to the second tier to the physical page belonging to the first tier is executed when the number of I/O accesses to the corresponding logical page of the corresponding virtual volume VVOL satisfies both the migration condition defined by the first tier threshold value (larger than the first tier threshold value) and a migration condition defined by the T2-T1 promotion line (larger than the T2-T1 promotion line).
  • the promotion from a physical page belonging to the second tier to a physical page belonging to the first tier may be executed without considering the first tier threshold value when the migration condition defined by the T2-T1 promotion line (larger than the T2-T1 promotion line) is satisfied.
  • the T3-T2 promotion line field 43GC stores a threshold value of access frequency to the relevant logical page (hereinafter referred to as the T3-T2 promotion line), which is used as a judgment standard together with the aforementioned second tier threshold value when judging whether or not data stored in a logical page in the relevant virtual volume VVOL should be migrated (or promoted) from a physical page belonging to the third tier in the relevant pool to a physical page belonging to the second tier.
  • the T3-T2 promotion line a threshold value of access frequency to the relevant logical page
  • the promotion from the physical page belonging to the third tier to the physical page belonging to the second tier is executed when the number of I/O accesses to the corresponding logical page of the corresponding virtual volume VVOL satisfies both a migration condition defined by the second tier threshold value (larger than the second tier threshold value) and a migration condition defined by the T3-T2 promotion line (larger than the T3-T2 promotion line).
  • the promotion from a physical page belonging to the third tier to a physical page belonging to the second tier may be executed without considering the second tier threshold value when the migration condition defined by the T3-T2 promotion line (larger than the T3-T2 promotion line) is satisfied.
  • the demotion line field 43H is constituted from a T1-T2 demotion line field 43HA, a T2-T3 demotion line field 43HB, and a T1-T3 demotion line field 43HC.
  • the T1-T2 demotion line field 43HA stores a threshold value of access frequency to the relevant logical page (hereinafter referred to as the T1-T2 demotion line), which is used as a judgment standard together with the aforementioned first tier threshold value when judging whether or not data stored in a logical page of the corresponding virtual volume VVOL should be migrated (or demoted) from a physical page belonging to the first tier in the corresponding pool PL to a physical page belonging to the second tier.
  • the T1-T2 demotion line a threshold value of access frequency to the relevant logical page
  • the demotion from the physical page belonging to the first tier to the physical page belonging to the second tier is executed when the number of I/O accesses to the corresponding logical page of the corresponding virtual volume VVOL satisfies both a migration condition defined by the first tier threshold value (smaller than the first tier threshold value) and a migration condition defined by the T1-T2 demotion line (smaller than the T1-T2 demotion line).
  • the demotion from a physical page belonging to the first tier to a physical page belonging to the second tier is executed.
  • the T2-T3 demotion line field 43HB stores a threshold value of access frequency to the relevant logical page (hereinafter referred to as the T2-T3 demotion line), which is used as a judgment standard together with the aforementioned second tier threshold value when judging whether or not data stored in a logical page in the relevant virtual volume VVOL should be migrated (or demoted) from a physical page belonging to the second tier in the relevant pool PL to a physical page belonging to the third tier.
  • the T2-T3 demotion line a threshold value of access frequency to the relevant logical page
  • the migration from the physical page belonging to the second tier to the physical page belonging to the third tier is executed when the number of I/O accesses to the corresponding logical page of the corresponding virtual volume VVOL satisfies both a migration condition defined by the second tier threshold value (smaller than the second tier threshold value) and a migration condition defined by the T2-T3 demotion line (smaller than the T2-T3 demotion line).
  • the demotion from a physical page belonging to the second tier to a physical page belonging to the third tier is executed.
  • the T1-T3 demotion line field 43HC stores a threshold value of access frequency to the relevant logical page (hereinafter referred to as the T1-T3 promotion line), which is used as a judgment standard together with the aforementioned second tier threshold value when judging whether or not data stored in a logical page in the relevant virtual volume VVOL should be relocated (or demoted) from a physical page belonging to the first tier in the relevant pool PL to a physical page belonging to the third tier.
  • the T1-T3 promotion line a threshold value of access frequency to the relevant logical page
  • the demotion from the physical page belonging to the first tier to the physical page belonging to the third tier is executed when the number of I/O accesses to the corresponding logical page of the corresponding virtual volume VVOL satisfies both the migration condition defined by the second tier threshold value (smaller than the second tier threshold value) and a migration condition defined by the T1-T3 demotion line (larger than the T1-T3 demotion line).
  • the demotion from a physical page belonging to the first tier to a physical page belonging to the third tier is executed.
  • the page address table 44 is a table indicating the status of allocation of virtual volumes of physical pages to logical pages.
  • This page address table 44 is constituted from a page number field 44A, a RAID group number field 44B, a page status field 44C, a volume number field 44D, a relocation status field 44E, a front queue pointer or virtual address field 44F, and a rear queue pointer field 44G as shown in Fig. 9.
  • the page number field 44A stores an identification number assigned to each of physical pages constituting the corresponding chunk (hereinafter referred to as the page number).
  • this page number is specific to the relevant physical page in the storage apparatus 4 and different page numbers are assigned to all the physical pages in the storage apparatus 4.
  • the RAID group number field 44B stores the RAID group number of a RAID group RG providing the corresponding physical page.
  • the page status field 44C stores information indicating whether or not the relevant physical page is already allocated to a logical page of any of the virtual volumes VVOL (the page status field 44B stores "Allocated” if the physical page is allocated; and the page status field 44B stores "Unallocated” if the physical page is not allocated).
  • the volume number field 44D stores the volume number of a virtual volume VVOL to which a physical page with the corresponding page number is allocated. Therefore, an unallocated physical page does not store the volume number of a virtual volume VVOL.
  • the relocation status field 44E stores the execution status of the page relocation processing for migrating data stored in the relevant physical page to another physical page.
  • the "execution status of the page relocation processing” includes: “Being Migrated” indicating that the page relocation processing is being executed; and “Standby” indicating that it has been decided to execute the page relocation processing, but the page relocation processing has not been executed, yet.
  • the front queue pointer or virtual address field 44V stores a virtual address where that physical page is allocated in the virtual volume VVOL; and if the corresponding physical page is not allocated to any of the virtual volumes VVOL, the front queue pointer or virtual address field 44V stores the page number of a physical page which is stored immediately before the relevant physical page in a queue for managing unallocated physical pages.
  • the rear queue pointer field 44G stores the page number of a physical page which is stored immediately after the relevant physical page in the queue for managing the unallocated physical pages.
  • the counter value management table 45 is a table used to manage the number of I/O accesses to individual logical pages in each virtual volume VVOL defined in the storage apparatus 4; and is constituted from a page address field 45A and a counter value field 45B as shown in Fig. 10.
  • the page address field 45A stores identification information of each logical page (page address), which is assigned to the relevant logical page; and the counter value field 45B stores a pseudo counter value of the number of I/O accesses to the corresponding logical page.
  • This counter value is limited to values within the range from "0" to "255"; and as the counter value becomes larger, the count-up probability decreases according to the number of I/O accesses. The details of this counter value will be explained later.
  • the page relocation execution management table 46 is a table used to manage the execution status of the page relocation processing; and is constituted from a volume number field 46A, a migration source page field 46B, a migration destination page field 46C, an execution status field 46D, and a migration destination tier field 46E as shown in Fig. 11.
  • the volume number field 46A stores the page number of a logical page which is a target of the page relocation processing. Furthermore, the migration source page field 46B stores the page number of a physical page where data of the relevant logical page is currently stored (hereinafter referred to as the migration source page); and the migration destination page field 46C stores the page number of a physical page which is a migration destination of the data (hereinafter referred to as the migration destination page).
  • the execution status field 46D stores the same information as information stored in the corresponding relocation status field 44E in the page address table 44 (Fig. 9). Furthermore, the migration destination tier field 46E stores the tier number of a tier to which the relevant migration destination page belongs.
  • the counter value transition table 47 is a table for managing the count-up probability when increasing the counter value stored in the counter value field 45B of the counter value management table 45 (Fig. 10) by one; and is constituted from a counter value field 47A and a count-up probability field 47B as shown in Fig. 12.
  • the counter value field 47A stores each counter value ("0" to "255") within a possible range of the counter value stored in the counter value field 45B of the counter value management table 45; and the count-up probability field 47B stores probability when increasing the corresponding counter value by "1" (hereinafter referred to as the count-up probability).
  • Fig. 13 shows the relationship between various tables including the virtual volume index table 40, the RAID group index table 41, the tier management table 42, the pool index table 43, the page address table 44, and the counter value management table 45 described above.
  • Vaddr Index used in the drawing represents a virtual address index table (its details are not shown in the drawing) that stores virtual addresses of the respective logical blocks in the corresponding virtual volume VVOL in an ascending order.
  • Vaddr Block represents a logical block management table (its details are not shown in the drawing) that stores page addresses of the respective logical pages constituting the corresponding logical block.
  • Chunk Index represents a chunk mapping table (its details are not shown in the drawing).
  • Fig. 14 shows a processing sequence for read processing executed in the host I/O processing ST1 shown in Fig. 3 by the CPU 25A, 25B of the storage apparatus 4 which has received a read command from the host system 2.
  • the CPU 25A, 25B After receiving the read command, the CPU 25A, 25B reads data from a logical page, which is designated as a read location by the relevant read command, in a virtual volume VVOL, which is designated as the read location by the read command, and transfers it to the host system 2, which is a sender of the relevant read command, in accordance with the processing sequence shown in Fig. 14 in the host I/O processing ST1 in Fig. 3.
  • the CPU 25A, 25B judges whether or not the relevant data should be migrated to a physical page belonging to an upper-level tier than the physical page currently storing the data in the corresponding pool PL and executes the page relocation processing for migrating the relevant data to a physical page belonging to a tier of a higher level than that of a tier to which a physical page currently storing the relevant data in the corresponding pool PL as the need arises.
  • the CPU 25A, 25B After receiving the read command, the CPU 25A, 25B starts read processing and generates a job to execute the read processing according to the received read command (hereinafter referred to as the read job) (SP1).
  • the CPU 25A, 25B executes the generated read job and judges whether or not the read target data exists in the cache memory 27A, 27B (Fig. 1) (SP2). Then, if the CPU 25A, 25B obtains an affirmative judgment result in this step, it proceeds to step SP9. Specifically speaking, in a case of a cache hit, for example, the count processing, the promotion judgment processing, and the page relocation processing are not executed in synchronization with the I/O processing.
  • the CPU 25A, 25B obtains a negative judgment result in step SP2, it executes count processing for updating the counter value stored in the counter value field 45B (Fig. 10) in the counter value management table 45, which was explained earlier with reference to Fig. 10, corresponding to the logical page where the relevant data is stored (SP3).
  • the counter value processing re-calculates the tier threshold value and the promotion and demotion lines as described later when the counter value is updated.
  • the CPU 25A, 25B refers to the corresponding I/O synchronization promotion field 40F in the virtual volume index table 40 explained earlier with reference to Fig. 5 and judges whether or not the I/O synchronization promotion mode is set on to the virtual volume VVOL designated as the read location by the read command (SP4).
  • the CPU 25A, 25B obtains a negative judgment result in this step, it has the cache memory 27A, 27B (Fig. 1) read the read target data from the storage drives 20 (Fig. 1) by controlling, for example, the data transfer control unit 23A, 23B (Fig. 1) and the drive interface unit 28A, 28B (Fig. 1) (SP8) and then proceeds to step SP9.
  • the cache memory 27A, 27B (Fig. 1) read the read target data from the storage drives 20 (Fig. 1) by controlling, for example, the data transfer control unit 23A, 23B (Fig. 1) and the drive interface unit 28A, 28B (Fig. 1) (SP8) and then proceeds to step SP9.
  • step SP4 if the CPU 25A, 25B obtains an affirmative judgment result in step SP4, it refers to the counter value management table 45 (Fig. 10) and executes the promotion judgment processing for judging whether or not it is necessary to promote the data designated as the read target by the read command (SP5).
  • the CPU 25A, 25B judges whether or not the promotion of the read target data is necessary, based on the processing result of the promotion judgment processing executed in step SP5 (SP6). This judgment is performed by judging whether a returned value of the promotion judgment processing, which will be explained later with reference to Fig. 16, is "Execution Required” or not, where possible returned values are “Execution Required” and “Execution Not Required.” The details of this returned value will be explained later. Then, if the CPU 25A, 25B obtains a negative judgment result in this step, it has the cache memory 27A, 27B read the read target data (SP8) and then proceeds to step SP9.
  • step SP7 if the CPU 25A, 25B obtains an affirmative judgment result in step SP7, it executes page relocation processing for migrating the read target data from the corresponding physical page in the corresponding pool PL to a physical page belonging to a higher-level tier (SP7). Then, the CPU 25A, 25B proceeds to step SP9.
  • step SP9 when the CPU 25A, 25B proceeds to step SP9, it sets a DMA (Direct Memory Access) transfer list for transferring the read target data, which is stored in the cache memory 27A, 27B, to the host system 2 which is a sender of the read command (SP9), and sends the created DMA transfer list to the data transfer control unit 23A, 23B (Fig. 1) (SP10).
  • DMA Direct Memory Access
  • the read target data is read from the cache memory 27A, 27B by the data transfer control unit 23A, 23B in accordance with this DMA transfer list and transferred to the host system 2 which is the sender of the read command.
  • the CPU 25A, 25B sends the status to that effect to the host system 2 (SP11) and then deletes the read job created in step SP1 (SP12). Subsequently, the CPU 25A, 25B terminates this read processing.
  • Count Processing Fig. 15 shows a specific processing sequence for the count processing executed by the CPU 25A, 25B in step SP3 of the read processing.
  • step SP3 of the read processing it starts the count processing shown in this Fig. 15; and firstly refers to the virtual volume index table 40 (Fig. 5) and judges whether or not the hierarchical mode of a pool PL associated with the virtual volume VVOL designated as the read location in the read command is set on (SP20). Then, if the CPU 25A, 25B obtains a negative judgment result in this step, it terminates this count processing and returns to the read processing.
  • step SP20 if the CPU 25A, 25B obtains an affirmative judgment result in step SP20, it obtains a counter value of a local page where the read target data is stored from the counter value management table 45 (Fig. 10) (SP21).
  • the CPU 25A, 25B updates a pseudo-random number necessary to change that counter value (SP22). Specifically speaking, the CPU 25A, 25B manages such a pseudo-random number as a global parameter on the basis of a pool PL. Then, the CPU 25A, 25B updates the pseudo-random number by simply adding "100" to the pre-update pseudo-random number. As a result, the pseudo-random number which is updated sequentially becomes a random number with respect to one logical page.
  • the CPU 25A, 25B refers to the counter value transition table 47 (Fig. 12), obtains the count-up probability which is set in advance for the counter value obtained in step SP21, and judges whether a value of a remainder when the pseudo-random number updated in step SP22 is divided by that count-up probability is smaller than "100" or not (SP23). Then, if the CPU 25A, 25B obtains a negative judgment result in this step, it terminates this count processing and returns to the read processing.
  • the CPU 25A, 25B obtains an affirmative judgment result in step SP23, it updates the counter value management table 45 (Fig. 10) to add the counter value obtained in step SP21 by one (SP24). Then, the CPU 25A, 25B changes a frequency distribution diagram described later with respect to Fig. 31, further updates the tier threshold values (first and second tier threshold values) and the promotion and demotion lines which will be described later (SP25), and then terminates this count processing and returns to the read processing.
  • FIG. 16 shows a specific processing sequence for the promotion judgment processing executed by the CPU 25A, 25B in step SP5 of the read processing (Fig. 14).
  • the CPU 25A, 25B judges whether the read target data should be promoted or not, in accordance with the processing sequence shown in Fig. 16. Therefore, during the processing executed in synchronization with the I/O processing, only the read target data is a target to be judged and other data are not considered to be targets to be judged.
  • step SP5 of the read processing when the CPU 25A, 25B proceeds to step SP5 of the read processing, it starts this promotion judgment processing; and firstly sets a tier of one level higher than that of the current tier as a promotion destination tier (SP30) and then judges whether or not the counter value obtained in step SP21 of the aforementioned count processing (Fig. 15) is larger than a tier threshold value (first or second tier threshold value) for relocating the data from the current tier to the tier which was set as the promotion destination in step SP30 (SP31). Then, if the CPU 25A, 25B obtains a negative judgment result in this step, it proceeds to step SP39. Incidentally, the comparison between the count value in SP31 and the tier threshold value can be omitted.
  • step SP31 judges whether or not the counter value obtained in step SP21 of the count processing (Fig. 15) is larger than a corresponding promotion line which is a threshold value for promoting the data from the current tier to the tier which was set as the promotion destination in step SP30 (SP32).
  • the CPU 25A, 25B judges whether or not the judgment to check if the read target data can be promoted has been performed on the tiers up to the highest-level tier (SP33). Then, if the CPU 25A, 25B obtains a negative judgment result in this step, it sets a tier of one level higher than that of the current tier as the promotion destination and then returns to step SP31. Subsequently, the CPU 25A, 25B executes the processing of step SP31 and subsequent steps in the same manner as described above.
  • the tier threshold value for promoting data from the current tier to the tier which was set as the promotion destination in step SP34 last time is used as a target to be compared with the above-described counter value in step SP31; and the promotion line for promoting data from the current tier to the tier which was set as the promotion destination in step SP34 last time is used as a target to be compared with the above-described counter value in step SP32.
  • the judgment processing of SP31 and SP32 is executed from a storage tier of one level higher than that of the current storage tier of the read target data to a storage area of the highest-level tier; on the contrary, the judgment processing of SP31 and SP32 may be executed from the storage area of the highest-level tier to the storage tier of one level higher than the current storage tier.
  • step SP33 the CPU 25A, 25B obtains an affirmative judgment result in step SP33 (this means that the judgment has been performed on all the tiers up to the highest-level tier, but the access frequency to the local page where the data is stored is not the access frequency for which the promotion should be performed), it sets "Execution Not Required,” which means it is unnecessary to execute the promotion, to the returned value (SP39) and then terminates this promotion judgment processing and returns to the read processing (Fig. 14).
  • a negative judgment result will be obtained in step SP6 of the read processing (Fig. 14) to be executed after this.
  • step SP32 if the CPU 25A, 25B obtains an affirmative judgment result in step SP32, it refers to the tier management table 42 (Fig. 7) and judges whether or not the tier which was set as the promotion destination in step SP30 or step SP34 executed last has enough unused capacity to promote the read target data (for example, 1% or more of the total capacity of that tier) (SP35).
  • the CPU 25A, 25B obtains an affirmative judgment result in this step, it sets "Execution Required,” which means that the promotion should be executed, to the returned value (SP38) and then terminates this promotion judgment processing and returns to the read processing.
  • "Execution Required” which means that the promotion should be executed
  • step SP35 if the CPU 25A, 25B obtains a negative judgment result in step SP35, it refers to the virtual volume index table 40 (Fig. 5) and judges whether or not the I/O synchronization promotion mode is set to the virtual volume VVOL designated as the read location of data in the read command (SP36).
  • step SP39 if the CPU 25A, 25B obtains a negative judgment result in this step, it proceeds to step SP39.
  • step SP36 the CPU 25A, 25B obtains an affirmative judgment result in step SP36, it executes the emergency demotion processing for demoting data, which can be migrated to a lower-level tier, from among data stored in the tier which was set as the promotion destination in step SP30 or step SP34 executed last (SP37). Then, the CPU 25A, 25B proceeds to step SP38 and executes the processing of the relevant step SP38. Subsequently, the CPU 25A, 25B terminates this promotion judgment processing and returns to the read processing.
  • the emergency demotion processing is processing executed to increase the unused capacity of the tier which is the relevant promotion destination when the then target data (the read target data in the above-mentioned example) needs to be promoted, but the promotion destination tier does not have enough unused capacity to promote the relevant data.
  • the storage apparatus 4 retains, for example, LIFO (Last In Fast Out) 50 as shown in Fig. 17 for each tier (each of the first to third tiers).
  • LIFO Last In Fast Out
  • FIFO FIFO
  • the tier threshold value is updated sequentially as described later, so that data which has been judged lately has less fluctuation and there is a high possibility that such data can be demoted.
  • Logical pages storing data which can be a demotion target from the viewpoint of the tier threshold value, but cannot be a demotion target from the viewpoint of the demotion line described later, from among logical pages in the corresponding virtual volume VVOL are registered in the LIFO 50 in step SP153 of the demotion judgment processing described later with reference to Fig. 44.
  • step SP35 of the promotion judgment processing (Fig. 16) that the promotion destination tier does not have enough unused capacity
  • the CPU 25A, 25B judges whether a logical page corresponding to the relevant entry can be the demotion target or not, with respect to each entry of the LIFO 50 associated with the promotion destination tier in the order starting from the recently registered entry as many as a specified number of entries. Then, if there is a logical page which can be the demotion target, data stored in that logical page is demoted to a lower-level tier.
  • the maximum number of entry checks in this case should be designed so that it can be changed by tuning.
  • each tier is retained in the local memory 26A, 26B (Fig. 1) for the system-0 controller 21A and the system-1 controller 21B (Fig. 1) in the storage apparatus 4. Since these LIFO's 50 are occupied and used by each core, no lock is necessary.
  • Each entry of the LIFO 50 stores the volume number of a virtual volume VVOL, to which the corresponding logical page is allocated, and a page offset number of a physical page allocated to the relevant logical page (8 [Bytes] in total). Also, each LIFO 50 retains an index pointer as a cyclic stack configuration.
  • Fig. 18 shows specific processing content of the emergency demotion processing.
  • the CPU 25A, 25B proceeds to step SP37 of the promotion judgment processing (Fig. 16), it starts the emergency demotion processing shown in Fig. 18 and firstly selects a target (a logical page which was registered last time at this stage) from among logical pages registered in the relevant the LIFO 50 from the corresponding LIFO 50 and obtains registered information (such as the volume number and the page offset number) about that logical page (SP40).
  • a target a logical page which was registered last time at this stage
  • registered information such as the volume number and the page offset number
  • the CPU 25A, 25B obtains the counter value of the logical page selected in step SP40 (hereinafter referred to as the target logical page) from the counter value management table 45 (Fig. 10) and judges whether or not the obtained counter value is smaller than the tier threshold value (the first or second tier threshold value) for the demotion from the tier, to which the physical page allocated to the target logical page belongs, to the tier which is set as the demotion destination (the tier of one level lower than that of the tier to which the physical page allocated to the target logical page belongs at this stage) (SP41).
  • the tier threshold value the first or second tier threshold value
  • the CPU 25A, 25B judges whether or not the judgment on all the tiers down to the lowest-level tier as the demotion destination tier has been completed or not (SP43). Then, if the CPU 25A, 25B obtains a negative judgment result in this step, it resets the demotion destination to a tier of one level lower than that of the tier which has been set as the demotion destination (SP44), and then executes the processing of step SP41 and subsequent steps in the same manner as described above.
  • step SP41 if the CPU 25A, 25B obtains an affirmative judgment result in step SP41, it refers to the tier management table 42 (Fig. 7) and judges whether the demotion destination has an unused capacity or not (SP42). Then, if the CPU 25A, 25B obtains a negative judgment result in this step, it proceeds to step SP43 and then executes the processing of step SP43 and subsequent steps in the same manner as described above.
  • step SP42 if the CPU 25A, 25B obtains an affirmative judgment result in step SP42 (this means that the counter value of the target logical page is smaller than the tier threshold value of the demotion destination tier and the demotion destination tier has an unused capacity), it executes the page relocation processing for migrating data stored in the target logical page to the tier which is set as the demotion destination of the relevant data (SP45).
  • the CPU 25A, 25B judges whether the execution of the processing from step SP40 to step SP45 on all the logical pages registered in the corresponding LIFO 50 has been completed or not (SP46). Then, if the CPU 25A, 25B obtains a negative judgment result in this step, it returns to step SP40 and then executes the processing of step SP40 and subsequent steps in the same manner as described above, while sequentially switching the target logical page to be selected in step SP40 to a logical page registered in the LIFO 50 immediately before the logical page which was set as the target logical page in the previous processing of step SP40 to step SP45.
  • step SP46 the CPU 25A, 25B obtains an affirmative judgment result in step SP46 by eventually finishing executing the processing of step SP40 to step SP45 on all the logical pages registered in the LIFO 50, it terminates this emergency demotion processing.
  • FIG. 19 shows a specific processing sequence of the page relocation processing executed by the CPU 25A, 25B in step SP7 of the read processing (Fig. 14).
  • the CPU 25A, 25B migrates (or promotes) the read target data, which was determined as the promotion target in step SP5 of the read processing, to an upper-level tier in accordance with the processing sequence shown in Fig. 19.
  • step SP7 of the read processing when the CPU 25A, 25B proceeds to step SP7 of the read processing, it starts this page relocation processing and firstly refers to the tier management table 42 (Fig. 7) and decides one RAID group RG which should be a migration destination of target data (hereinafter referred to as the migration destination RAID group), from among RAID groups RG providing storage areas to the migration destination tier of the then target data (which is the read target data decided during the promotion judgment processing (Fig. 16) in step SP5 of the read processing in this example and will be hereinafter referred to as the target data) by means of, for example, round robin scheduling (SP50).
  • SP50 round robin scheduling
  • the CPU 25A, 25B refers to the page address table 44 (Fig. 9) and decides and reserves a physical page, which should become the migration destination of the target data, from physical pages provided by the RAID group RG decided in step SP50 (SP51).
  • the CPU 25A, 25B generates a job (copy job) for migrating the target data to the physical page decided in step SP51 and registers necessary information about the migration of the target data in the page relocation execution management table 46 (Fig. 11) (SP52).
  • the CPU 25A, 25B judges whether the target data is not retained in the cache memory 27A, 27B (Fig. 1) (whether a cache miss or not) (SP53).
  • step SP53 of the page relocation processing executed in step SP7 of the read processing as it is apparent from Fig. 14 (see step SP2 of the read processing).
  • the CPU 25A, 25B issues an instruction to the data transfer control unit 23A, 23B (Fig. 1) and the drive interface unit 28A, 28B (Fig. 1) to read (or stage) the target data to the cache memory 27A, 27B (SP54).
  • the drive interface unit 28A, 28B reads the target data from the corresponding storage drive 20 (Fig. 1) and transfers the read target data to the data transfer control unit 23A, 23B. Having received this target data, the data transfer control unit 23A, 23B replaces a guarantee code, which is added to the relevant target data, with a guarantee code corresponding to a storage area of a relocation destination and then writes that target data to a write storage area (hereinafter referred to as the write-side storage area) 27C associated with the relocation destination tier in the cache memory 27A, 27B as shown in Fig. 20 (arrow a1 in Fig. 20).
  • the guarantee code is a logical address of a storage area of the relocation destination.
  • the CPU 25A, 25B gives an instruction to the data transfer control unit 23A, 23B to copy the target data, which has been read to the cache memory 27A, 27B in step SP54, from the corresponding write-side storage area 27C in the cache memory 27A, 27B to a read storage area (hereinafter referred to as the read-side storage area) 27D associated with the relocation destination tier in the relevant cache memory 27A, 27B (SP55).
  • the read-side storage area hereinafter referred to as the read-side storage area
  • the data transfer control unit 23A, 23B copies the target data, which was staged to the relevant write-side storage area 27C in the cache memory 27A, 27B, to the read-side storage area 27D associated with the migration destination tier in the cache memory 27A, 27B (arrow a2 in Fig. 20). Then, the CPU 25A, 25B proceeds to step SP57.
  • step SP53 of the page relocation processing executed in step SP81 of the write processing described later a negative judgment result will be always obtained in this step SP53 of the page relocation processing executed in step SP81 of the write processing described later (see step SP75 of the write processing).
  • the write data stored in the cache memory is used and is stored in a storage area of the migration destination tier.
  • step SP53 If the CPU 25A, 25B obtains a negative judgment result in step SP53, it gives an instruction to the data transfer control unit 23A, 23B to copy the target data retained in the cache memory 27A, 27B from the write-side storage area 27C associated with the tier in the cache memory 27A, 27B, where the relevant target data is stored, to the read-side storage area 27D associated with the migration destination tier in the cache memory 27A, 27B (SP56).
  • the data transfer control unit 23A, 23B copies the target data from the write-side storage area 27C associated with the tier in the cache memory 27A, 27B, where the target data is stored, to the read-side storage area 27D associated with the migration source tier in the cache memory 27A, 27B as shown in Fig. 21 (arrow 4 in Fig. 21). Furthermore, the data transfer control unit 23A, 23B replaces a guarantee code, which is attached to the relevant target data, with a guarantee code according to the storage area of the migration destination and copies the target data, which has been copied to the read-side storage area 27D, to the write-side storage area 27C associated with the migration destination tier in the cache memory 27A, 27B (arrow a5 in Fig. 21).
  • the data transfer control unit 23A, 23B copies the relevant target data from the write-side storage area 27C associated with the migration destination tier to the read-side storage area 27D associated with the migration destination tier in the cache memory 27A, 27B (arrow a6 in Fig. 21).
  • the CPU 25A, 25B judges whether copying of all pieces of the target data to the read-side storage area 27D associated with the migration destination tier in the cache memory 27A, 27B has been completed or not (SP57). Then, if the CPU 25A, 25B obtains a negative judgment result in this step, it returns to step SP53 and then repeats the processing from step SP53 to step SP57.
  • step SP57 if the CPU 25A, 25B obtains an affirmative judgment result in step SP57 by eventually finishing copying all the pieces of the target data to the read-side storage area 27D associated with the migration destination tier in the cache memory 27A, 27B, it issues an instruction to the data transfer control unit 23A, 23B and the drive interface unit 28A, 28B (Fig. 1) to write (or destage) the target data, which is stored in the relevant read-side storage area 27D, to the corresponding storage drive 20 (Fig. 1) (SP58).
  • the data transfer control unit 23A, 23B reads the target data from the read-side storage area 27D associated with the migration destination tier in the cache memory 27A, 27B and transfers it to the drive interface unit 28A, 28B as shown in Fig. 20 and Fig. 21. Furthermore, the drive interface unit 28A, 28B writes the target data, which it receives from the data transfer control unit 23A, 23B, to the corresponding storage drive 20 and writes the relevant target data to the physical page which is the migration destination decided in step SP51 (arrow a3 in Fig. 20 and arrow a7 in Fig. 21).
  • the CPU 25A, 25B updates the page address table 44 (Fig. 9) to switch a mapping destination of the logical page in the virtual volume VVOL where the aforementioned target data has been stored, as seen from the host system 2, to the physical page which is the migration destination (SP59). Specifically speaking, the CPU 25A, 25B changes the corresponding destination (mapping destination) of the relevant logical page in the relevant virtual volume VVOL in the page address table 44 from the physical page, which is the migration source of the target data, to the physical page which is the migration destination as shown in Fig. 22.
  • the CPU 25A, 25B executes format processing for formatting the physical page which is the migration source of the target data (SP60); and then terminates this page relocation processing.
  • FIG. 23 shows a processing sequence for the write processing executed by the CPU 25A, 25B of the storage apparatus 4, which has received a write command from the host system 2, during the host I/O processing ST1 in Fig. 3.
  • the CPU 25A, 25B After receiving the write command, the CPU 25A, 25B writes the write target data, which is transferred together with the relevant write command, to a logical page designated in the relevant write command in a virtual volume VVOL designated in the write command during the host I/O processing ST1 in Fig. 3 in accordance with the processing sequence shown in Fig. 23. Furthermore, if the I/O synchronization promotion mode of the relevant virtual volume VVOL is set on under this circumstance, the CPU 25A, 25B executes the page relocation processing for migrating the data to an upper-level tier as the need arises.
  • the CPU 25A, 25B After receiving the write command from the host system 2, the CPU 25A, 25B starts this write processing; and the CPU 25A, 25B refers to the page address table 44 (Fig. 9) and judges whether or not a physical page has already been allocated to the logical page designated as a write location in the write command in the virtual volume VVOL designated as the write location in the write command (SP70). Then, if the CPU 25A, 25B obtains an affirmative judgment result in this step, it proceeds to step SP74.
  • step SP70 judges whether or not a chunk having an unused physical page is allocated to the virtual volume VVOL designated as the write location in the received write command (SP71).
  • the chunk herein used is a chunk including a physical page which is allocated first to the logical page; and is a chunk belonging to the second tier in this embodiment. Then, if the CPU 25A, 25B obtains an affirmative judgment result in this step, it proceeds to step SP73.
  • step SP71 if the CPU 25A, 25B obtains a negative judgment result in step SP71, it executes chunk allocation processing for allocating a chunk to the virtual volume VVOL designated as the write location in the write command (SP72).
  • the CPU 25A, 25B executes the page allocation processing for allocating an unallocated physical page in the chunk, which is being used or was allocated in SP71, to the logical page designated as the write location in the write command in the virtual volume VVOL designated as the write location in the write command (SP73).
  • the CPU 25A, 25B executes the above-described allocation processing and proceeds to SP74.
  • the CPU 25A, 25B creates a DMA transfer list, which designates a storage area in the cache memory 27A, 27B (Fig. 1) where the write target data should be written; and sends the created DMA transfer list to the data transfer control unit 23A, 23B (SP74).
  • the CPU 25A, 25B requests the host system 2, which has transferred the write command, to start transferring the write target data (SP75).
  • the write target data transferred from the relevant host system 2 is stored by the data transfer control unit 23A, 23B, at an address location in the cache memory 27A, 27B, which is designated by the aforementioned DMA transfer list.
  • the CPU 25A, 25B eventually finishes storing all pieces of the write target data in the cache memory 27A, 27B, it sends the completion status of the write processing to the host system 2 which is the sender of the write command (SP76); and then executes the count processing described earlier with reference to Fig. 15 (SP77).
  • the CPU 25A, 25B refers to the virtual volume index table 40 (Fig. 5) and judges whether or not the I/O synchronization promotion mode of the virtual volume VVOL designated as the write location in the write command is set on (SP78).
  • the CPU 25A, 25B executes destage processing for writing the then-received write target data to the storage drive 20 (Fig. 1) which provides the physical page allocated to the logical page designed in the relevant write command in the virtual volume VVOL designed in the write command (SP82); and then terminates this write processing.
  • the destage processing in step SP82 does not have to be executed at this timing and may be executed asynchronously with this write processing.
  • step SP78 if the CPU 25A, 25B obtains an affirmative judgment result in step SP78, it executes the processing of step SP79 to step SP81 in the same manner as step SP5 to step SP7 of the read processing described earlier with reference to Fig. 14.
  • the write target data is migrated from the current tier to a physical page of an upper-level tier, as the need arises, by the processing of step SP79 to step SP81 in the same manner as in the read processing.
  • the CPU 25A, 25B terminates this write processing.
  • the processing from step SP5 to step SP7 is executed on the read target data, while the processing from step SP79 to step SP81 is executed on the write target data.
  • Fig. 24 shows the outline of a method of constituting one chunk from a plurality of physical pages (for example, 32 physical pages) in any of the first to third tiers and allocating a storage area(s) on a chunk basis to a virtual volume(s) VVOL.
  • the chunk allocation processing for allocating a chunk(s) to a tier needs to be executed after executing exclusion processing on the target chunk to be allocated. So, if the number of physical pages constituting one chunk is decreased, the number of times the chunk allocation processing is executed increases, thereby causing a problem of performance degradation due to overhead of the exclusion processing.
  • the storage drives 20 (Fig. 1) constituting the second tier or the third tier are not so expensive, so that there would be no problem if one chunk is constituted from a reasonable number of physical pages to prioritize the performance.
  • the storage drives 20 (SSD) constituting the first tier are expensive, so that not so many storage drives 20 can be mounted on the storage apparatus 4.
  • one chunk is constituted from 32 physical pages with respect to the second and the third tier, while one chunk is constituted from one physical page with respect to the first tier as shown in Fig. 25.
  • the same number of chunks (32 chunks) as the number of physical pages constituting one chunk for the second and the third tier are collectively secured during the chunk allocation processing and one chunk at a time is sequentially allocated from the secured chunks to the virtual volume VVOL.
  • some secured chunks are wasted; however, unused chunks may be collected regularly by garbage collection.
  • one chunk may be allocated to the virtual volume VVOL without executing the processing for securing 32 chunks.
  • Fig. 28 shows a specific processing sequence for the above-described chunk allocation processing according to this embodiment.
  • the CPU 25A, 25B allocates chunks to the corresponding tier in step SP71 of the write processing (Fig. 23) in accordance with the processing sequence shown in Fig. 28.
  • the CPU 25A, 25B starts step SP71 of the write processing, it starts this chunk allocation processing and firstly refers to the corresponding hierarchical mode field 43B (Fig. 8) in the pool index table 43 (Fig. 8) and judges whether or not the hierarchical mode is set to a pool PL associated with the virtual volume VVOL designated as the write location in the write command (SP90).
  • the CPU 25A, 25B judges whether or not the drive type of the storage drive 20 (Fig. 1) providing a physical page allocated to the logical page designated as the write location in the write command is the storage drive 20 which is set as the storage drive 20 constituting the first tier 20 (hereinafter referred to as the SSD) (SP91).
  • step SP92 judges whether or not there is any unused chunk which has been secured in the first tier. Then, if the CPU 25A, 25B obtains an affirmative judgment result in this step, it proceeds to step SP94. On the other hand, if the CPU 25A, 25B obtains a negative judgment result in step SP92, it secures the same number of chunks in the pool PL as the number of physical pages constituting one chunk in the second and third tiers (SP93).
  • the CPU 25A, 25B allocates the unused chunks secured for the first tier to the first tier (SP94) and then terminates this chunk allocation processing.
  • step SP90 if the CPU 25A, 25B obtains a negative judgment result in step SP90 or step SP91, it refers to the last allocating RAID group number field 40G (Fig. 5) in the virtual volume index table 40 (Fig. 5), selects the next RAID group RG by means of, for example, round robin scheduling, and secures only one chunk defined in the storage area provided by the relevant RAID group RG (SP95).
  • the CPU 25A, 25B updates the last allocating RAID group number field 40G in the virtual volume index table 40 to the group ID of the RAID group RG secured in step SP95 (SP96). Subsequently, the CPU 25A, 25B allocates the chunk secured in step SP95 to the corresponding tier (the second or third tier) (SP97) and then terminates this chunk allocation processing.
  • Tier Threshold Value Calculation Processing ST2 (3-2-1) Concept of Tier Threshold Values
  • the hierarchical data management system based on the real-time monitoring function according to this embodiment is intended to not only maximize throughput performance of the entire storage apparatus 4, but also minimize an average of response time (average response time) for each tier.
  • Fig. 29 shows policies of the hierarchical data management system according to this embodiment.
  • Such a hierarchical data management system can minimize the average response time at the time of the low load; and minimize the average response and maximize the throughput performance at the time of the high load. Also, hierarchical control is performed to increase the availability ratio of each tier so that as the load increases, the availability ratio of each tier will become 100% in a stepwise manner. As a result, it is possible to prevent the occurrence of abrupt demotion in response to an increase of the load.
  • the allocated capacity and allocated performance of each tier are considered.
  • the "allocated capacity" of the tier herein used means a limit count of physical pages which can be allocated from the relevant tier to the virtual volume VVOL.
  • the "allocated performance” of the tier means a limit count of the number of I/O accesses which can be processed within a unit time period (for example, one hour) in that tier. This allocated performance changes according to a ratio of the physical pages allocated to the virtual volume VVOL to the total number of physical pages in the relevant tier (hereinafter referred to as the tier availability ratio).
  • the time when the count of physical pages or the number of I/O accesses exceeds its limit count of either the allocated capacity or the allocated performance for a certain tier is decided as a tier threshold value (the first or second tier threshold value) between that tier and a tier of one level lower than that of the relevant tier.
  • Fig. 31(A) For example, with a frequency distribution diagram as shown in Fig. 31(A) in which its vertical axis represents the number of I/O accesses to one logical page and the number of I/O accesses to each logical page of the virtual volume VVOL associated with a certain pool PL is plotted in a horizontal axial direction, where the horizontal axis represents the number of pages (capacity) and the area between a graph and the horizontal axis represents the total sum of I/O accesses (performance).
  • the tiers are configured in a three-tier structure as in this embodiment, the first and second tier threshold values are calculated consecutively.
  • FIG. 32 shows a specific processing sequence for the tier threshold value calculation processing executed by the CPU 25A, 25B for each of the system-0 controller 21A and the system-1 controller 21B (Fig. 1) of the storage apparatus 4 during the tier threshold value calculation processing ST2 in Fig. 3.
  • the CPU 25A, 25B calculates optimum values of the aforementioned first and second tier threshold values at that point in time and optimum values of each promotion line (a T3-T1 promotion line, a T2-T1 promotion line, a T3-T2 promotion line) and each demotion line (a T1-T2 demotion line, a T2-T3 demotion line, and a T1-T3 demotion line), respectively, when performing calculation during the count processing (SP25 in Fig. 15) or by executing this tier threshold value calculation processing ST2 on a specified cycle (for example, on a cycle of several minutes).
  • the CPU 25A, 25B starts this tier threshold value calculation processing, it firstly refers to the tier management table 42 (Fig. 7) and calculates the total number of physical pages which can be allocated from each tier of the corresponding pool PL to the virtual volume VVOL associated with the relevant pool PL (hereinafter referred to as the allocated tier capacity amount) (SP100).
  • This allocated tier capacity amount can be calculated by subtracting a buffer capacity (the number of physical pages for buffering) which is required at the time of the data relocation processing or the physical page allocation processing, from the total capacity of the relevant tier (the total number of physical pages).
  • the CPU 25A, 25B calculates the number of I/O accesses per unit time to the corresponding pool PL at that time and calculates the number of I/O accesses to be assigned to each tier from among the calculated number of I/O accesses (hereinafter referred to as the allocated tier performance amount), respectively (SP101).
  • the CPU 25A, 25B refers to the counter value management table 45 (Fig. 10), creates the frequency distribution diagram described earlier with reference to Fig. 31 about the corresponding pool PL, and calculates the first and second tier threshold values based on the created frequency distribution diagram, the allocated tier capacity amount for each tier which was calculated in step SP100, and the allocated tier performance amount for each tier which was calculated in step SP101 (SP102).
  • This migrated amount parameter is a parameter for adjusting the data migration amount between tiers according to the progress of the tier decision processing ST3 described with reference to Fig. 3; and the larger this migrated amount parameter is, the larger the number of pages to be migrated between tiers becomes; and the smaller the relevant migrated amount parameter is, the smaller the number of pages to be migrated between tiers becomes.
  • the CPU 25A, 25B sets this migrated amount parameter according to the progress of the tier decision processing described later with reference to Fig. 43 so that the migrated amount parameter becomes larger as the load imposed upon data migration is heavier; and the migrated amount parameter becomes smaller as the load imposed upon data migration is lighter.
  • the CPU 25A, 25B calculates each of the above-described promotion lines (the T3-T1 promotion line, the T2-T1 promotion line, and the T3-T2 promotion line) and the above-described demotion line (the T1-T2 demotion line, the T2-T3 demotion line and the T1-T3 demotion line) based on the migrated amount parameter calculated in step SP103 (SP104) and then terminates this tier threshold value calculation processing.
  • FIG. 33 shows a specific processing sequence for the allocated tier performance amount calculation processing executed by the CPU 25A, 25B in step SP101 of the aforementioned tier threshold value calculation processing.
  • the CPU 25A, 25B calculates the allocated tier performance amount of each tier in accordance with the processing sequence shown in Fig. 33.
  • the CPU 25A, 25B proceeds to step SP101 of the tier threshold value calculation processing, it starts this allocated tier performance amount calculation processing and calculates the number of I/O accesses to each tier, which can be processed in that tier per unit time (hereinafter referred to as the tier performance potential) when the availability ratio of the tier (hereinafter referred to as the tier availability ratio of the tier) is 100% (SP110).
  • the tier availability ratio there are two types: a real-time tier availability ratio and a migration average tier availability ratio.
  • the real-time tier availability ratio is an availability ratio of each tier which is sampled on a specified cycle (for example, on a 1-minute cycle; and hereinafter referred to as the real-time tier availability ratio acquisition cycle) and is used for, for example, calculation of the promotion lines and the demotion lines described later.
  • the migration average tier availability ratio is an availability ratio obtained by calculating a migration average from the real-time tier availability ratio and is used to decide the tier performance potential.
  • the tier availability ratio that the CPU 25A, 25B obtains by its performance monitoring function is only the real-time tier availability ratio; and the migration average availability ratio is calculated by using a specified number of the real-time tier availability ratios obtained in the past (X times).
  • the CPU 25A, 25B calculates the migration average tier availability ratio AOR n ' according to the following formula where AOR n-1 represents the migration average tier availability ratio of the last time, AOR n represents the migration average tier availability ratio to be calculated this time, and ROR n represents the real-time tier availability ratio obtained this time. Then, the CPU 25A, 25B defines the larger of the migration average tier availability ratio AOR n ' calculated this time and the real-time tier availability ratio ROR n obtained this time as the migration average tier availability ratio AOR n of this time.
  • the purpose of calculation of the migration average tier availability ratio is to inhibit the occurrence of excessive fluctuations of the tier threshold value and the occurrence of wasteful data migration due to fluctuations of the tier performance potential attributable to fluctuations of the real-time tier availability ratio.
  • the tier performance potential P n can be calculated by using the migration average tier availability ratio AOR n of this time calculated as described above according to the following formula where AC I/O represents the total number of I/O accesses to the relevant tier during the real-time tier availability ratio acquisition cycle of this time.
  • the CPU 25A, 25B calculates the total number of I/O accesses to the then target pool PL per unit time (hereinafter referred to as the total number of pool I/O accesses) (SP111).
  • This total number of pool I/O accesses can be calculated by aggregating count values of all logical pages of the virtual volume VVOL, to which the physical pages are allocated from any of the tiers in the relevant pool PL, from among each of the counter values registered in the counter value management table 45 (Fig. 10).
  • the CPU 25A, 25B calculates the number of I/O accesses to each section (hereinafter referred to as the number of section I/O accesses) (SP112).
  • the hierarchical data management system is adopted for this storage apparatus 4 as explained earlier with reference to Fig. 30 so that physical pages of the higher-performance tier are allocated to logical pages as much as possible when the load on the entire storage apparatus 4 is low; and as the load becomes heavier, the availability ratio of each tier is increased to make the availability ratio of each tier become closer to 100% in a stepwise manner.
  • the storage apparatus 4 retains the section I/O access management table 60 for each pool PL as shown in Fig. 34 in the local memory 26A, 26B (Fig. 1).
  • This section I/O access management table 60 is constituted from a section number field 60A, a number-of-section-I/O-accesses field 60B, and a media-based availability ratio standard field 60C; and the section number field 60A stores the section number assigned to each section (step) corresponding to each "step" of "step-wise" mentioned above.
  • the media-based availability ratio standard field 60C is constituted from a plurality of availability ratio standard fields 60CA to 60CE associated with each drive type (such as SSD, SAS15K, and SATA) of the storage drives 20 (Fig. 1) belonging to the corresponding pool PL (or which provides the storage areas of that pool PL). Then, each availability ratio standard field 60CA to 60CE stores a predetermined standard of the availability ratio for the corresponding storage drive 20 in each corresponding section (hereinafter referred to as the availability ratio standard) on a permyriad basis.
  • This availability ratio standard is a numeric value as shown in Fig. 35 according to a set value that was set in advance by, for example, a system designer and indicates which storage drive 20 should be made to operate with respect to the total number of I/O accesses to the pool PL to what degree of the availability ratio.
  • Fig. 34 shows that the respective storage drives 20 of the drive types such as "SSD,” “SAS15K,” “SAS10K,” “NL-SAS” and “SATA” belong to the relevant pool PL and eight sections "0" to "7” are defined as the sections. Furthermore, Fig.
  • Fig. 34 shows that "SSD” is operated at the availability ratio of "8533" permyriad, "SAS15K” is operated at the availability ratio of "6930” permyriad, “SAS10K” is operated at the availability ratio of “6615” permyriad, “NL-SAS” is operated at the availability ratio of "6000” permyriad, and “SATA” is operated at the availability ratio of "3750” permyriad, respectively in section "5"; and “SSD” is operated at the availability ratio of "8667” permyriad, “SAS15K” is operated at the availability ratio of "7209” permyriad, “SAS10K” is operated at the availability ratio of "6923” permyriad, “NL-SAS” is operated at the availability ratio of “6364” permyriad, and “SATA” is operated at the availability ratio of "6000” permyriad, respectively, in section “6”; and all of “SSD,” “SAS15K,” “SAS10K,” “NL-SAS,” and “SATA”
  • the number-of-section-I/O-accesses field 60B stores the number of I/O accesses which can be processed as the entire pool PL (the number of section I/O accesses) when each storage drive 20 belonging to that pool PL is operated at the availability ratio standard specified in the media-based availability ratio standard field 60C in the corresponding section.
  • This number of section I/O accesses is calculated by multiplying, for each storage drive20, the tier performance potential of the tier, to which the relevant storage drive 20 belongs, by the availability ratio standard of the relevant storage drive in that section and adding up all the multiplication results of the respective storage drives 20.
  • step SP112 the number of section I/O accesses in each of such sections is calculated. Then, the obtained number of section I/O accesses for each section is stored in the corresponding number-of-section-I/O-accesses field 60B in the section I/O access management table 60.
  • the CPU 25A, 25B decides a section to which the total number of pool I/O accesses belongs at that time, based on the total number of pool I/O accesses calculated in step SP111 and the number of section I/O accesses for each section, which is stored in each number-of-section-I/O-accesses field 60B in the section I/O access management table 112 as calculated in step SP112 (SP113).
  • the section whose total number of pool I/O accesses does not exceed the number of section I/O accesses for that section and is equal to or more than the number of section I/O accesses for a section immediately below the relevant section is decided as the section for the total number of pool I/O accesses. Therefore, for example, if the total number of pool I/O accesses is within the range from "11362" to "11268" in the example of Fig. 34, the section for the total number of pool I/O accesses is decided as "3"; and if the total number of pool I/O accesses is within the range from "16000" to "12729,” the section for the total number of pool I/O accesses is decided as "7.”
  • This target tier availability ratio is the availability ratio of each tier when the storage drives 20 are operated at the availability ratio standard of each storage drive 20 for the section decided in step SP113 as specified in the section I/O access management table 60.
  • the CPU 25A, 25B calculates the allocated tier performance amount for each tier based on the target tier availability ratio of each tier as calculated in step SP114 (SP115). Specifically speaking, the CPU 25A, 25B calculates the allocated tier performance amount for each tier by multiplying the target tier availability ratio calculated in step SP114 by the corresponding tier performance potential calculated in step SP110. Then, the CPU 25A, 25B terminates this allocated tier performance amount calculation processing.
  • FIG. 36 shows a specific processing sequence for the tier threshold value calculation processing executed by the CPU 25A, 25B in step SP102 of the tier threshold value calculation processing (Fig. 32).
  • the CPU 25A, 25B calculates each tier threshold value (the first and second tier threshold values) for the relevant pool by executing the tier threshold value calculation processing shown in Fig. 36 on each pool.
  • the CPU 25A, 25B calculates an accumulated value of the number of I/O accesses and capacity (the number of physical pages) from the physical pages in descending order of the number of I/O accesses for each tier in accordance with this Fig. 36 and decides the accumulated value of the number of I/O accesses immediately before the accumulated value of the number of I/O accesses exceeds the allocated performance for that tier as explained earlier with reference to Fig. 31 (the limit count of the number of I/O accesses which can be processed within a unit time period in that tier), or the accumulated value of the number of I/O accesses immediately before the accumulated value of the capacity exceeds the allocated capacity of that tier as explained earlier with reference to Fig. 31 (the limit count of the physical pages which can be allocated from that tier to the virtual volume VVOL), to be the tier threshold value between the relevant tier and a tier of one level lower than that of the relevant tier.
  • step SP102 of the tier threshold value calculation processing when the CPU 25A, 25B proceeds to step SP102 of the tier threshold value calculation processing, it starts this tier threshold value calculation processing and firstly initializes each of the accumulated capacity value and the accumulated value of the number of I/O accesses which will be described later and are parameters used for the processing in step SP121 and subsequent steps (SP120).
  • the CPU 25A, 25B refers to the counter value management table 45 (Fig. 10) and obtains the number of I/O accesses to a logical page with the maximum number of I/O accesses from among logical pages to which physical pages are allocated from the then target pool PL; and calculates the accumulated capacity value, which is an accumulated value of the number of physical pages up to present, and the accumulated value of the number of I/O accesses, which is an accumulated value of the number of I/O accesses up to present, respectively (SP121).
  • the accumulated capacity value is "1" and the accumulated value of the number of I/O accesses is the same as the number of I/O accesses obtained in step SP121.
  • the CPU 25A, 25B judges whether the accumulated capacity value calculated in step SP121 is equal to or more than the allocated capacity (SP122).
  • the allocated capacity DC of the tier can be calculated according to the following formula where PP represents the tier performance potential calculated in step SP110 of the aforementioned allocated tier performance amount calculation processing (Fig. 33), AV I/O represents the estimated number of I/O accesses per unit time for as many as the number of physical pages excluded or reserved in the corresponding tier, and OR represents the target tier availability ratio for the relevant tier as calculated in step SP114 of the allocated tier performance amount calculation processing (Fig. 33). Therefore, in this step SP 122, the CPU 25A, 25B judges whether the accumulated capacity value calculated in step SP121 is equal to or more than the allocated capacity DC of the relevant tier as calculated according to the formula (3).
  • the CPU 25A, 25B obtains a negative judgment result in this step, it judges whether the accumulated value of the number of I/O accesses calculated in step SP121 is equal to or more than the allocated performance of the relevant tier (SP123).
  • the allocated performance DP of the tier can be calculated according to the following formula where TAP represents the total number of physical pages in that tier, MR 1 and MR 2 represent a new allocation buffer ratio and a relocation buffer ratio, respectively, which were described with reference to Fig. 7, and AP represents the number of physical pages excluded or reserved in that tier. Therefore, in this step SP123, the CPU 25A, 25B judges whether the accumulated value of the number of I/O accesses calculated in step SP121 is equal to or more than the allocated performance DP of that tier as calculated according to the formula (4).
  • step SP121 the CPU 25A, 25B thereafter calculates a new accumulated capacity value by adding "1" to the accumulated capacity value calculated in step SP121 last time.
  • the CPU 25A, 25B calculates a new accumulated value of the number of I/O accesses by adding the number of I/O accesses to a logical page with the second largest number of I/O accesses next to the target logical page in step SP121 last time from among logical pages, to which physical pages are allocated from the then target pool PL, to the accumulated value of the number of I/O accesses calculated in step SP121 last time.
  • step SP122 if the CPU 25A, 25B eventually obtains an affirmative judgment result in step SP122, it recalculates the allocated performance of the then target tier according to the formula (3) (SP124) and decides the tier threshold value between the relevant tier and a tier of one level lower than that of the relevant tier based on this calculation result (SP125).
  • the CPU 25A, 25B obtains an affirmative judgment result in step SP123, it decides the accumulated value of the number of I/O accesses at that time as the tier threshold value between the then target tier and a tier of one level lower than that of the relevant tier (SP125).
  • the CPU 25A, 25B judges whether all the tier threshold values have been decided or not (SP126); and if the CPU 25A, 25B obtains a negative judgment result, it returns to step SP120 and then executes step SP120 and subsequent steps in the same manner as described above. Incidentally, when this happens, the CPU 25A, 25B calculates the accumulated capacity value and the accumulated I/O access value in a newly targeted tier in step SP121.
  • step SP126 the CPU 25A, 25B obtains an affirmative judgment result in step SP126 by eventually calculating all the tier threshold values, it terminates this tier threshold value calculation processing and returns to the tier threshold value calculation processing in Fig. 32.
  • step SP103 of the aforementioned tier threshold value calculation processing (Fig. 32) the CPU 25A, 25B calculates the migrated amount parameter by the following method.
  • the CPU 25A, 25B calculates a ratio of the number of logical pages, which have been checked, CP to a total number of check target logical pages CAP (hereinafter referred to as the number-of-checked-page ratio) SR according to the following formula where CAP represents the total number of check target logical pages and CP represents the number of checked logical pages.
  • CAP represents the total number of check target logical pages
  • CP represents the number of checked logical pages.
  • "10000" is used as a multiplier on the right-hand side of the formula (5) in order to calculate the number of the relevant pages CP on a permyriad basis.
  • the CPU 25A, 25B calculates a ratio TR of elapsed time after the start of the current tier decision processing ST3 until present to a target cycle F of the tier decision processing ST3 (hereinafter referred to as the elapsed time ratio) according to the following formula where F represents the target cycle (for example, one hour) of the tier decision processing ST3 (Fig. 3) described later with reference to Fig. 43, T1 represents start time of one cycle of the tier decision processing ST3, and T2 represents the current time.
  • F represents the target cycle (for example, one hour) of the tier decision processing ST3 (Fig. 3) described later with reference to Fig. 43
  • T1 represents start time of one cycle of the tier decision processing ST3
  • T2 represents the current time.
  • "10" is used as a multiplier on the right-hand side of the formula (6) in order to make a unit of the formula (6) match a unit of the formula (5).
  • the CPU 25A, 25B compares the number-of-checked-page ratio SR with the elapsed time ratio TR, which were calculated as described above. Then, if the elapsed time ratio TR is larger than the number-of-checked-page ratio SR (migrated amount parameter: 0 to 254) as in the following formula, the CPU 25A, 25B calculates the migrated amount parameter to be a value obtained by adding 1 to the current value. If the number-of-checked-page ratio SR is equal to or more than the elapsed time ratio TR as in the following formula (the migrated amount parameter:1 to 255), the CPU 25A, 25B calculates the migrated amount parameter to be a value obtained by subtracting 1 from the current value.
  • PD Line Calculation Processing Fig. 37 shows the relationship between the first and second tier threshold values, each promotion line (the T3-T1 promotion line, the T2-T1 promotion line, and the T3-T2 promotion line) and each demotion line (the T1-T2 demotion line, the T2-T3 demotion line, and the T1-T3 demotion line).
  • the promotion lines and the demotion lines are threshold values of access frequency to logical pages, which are set for the purpose of improvement of response performance of each tier that can be achieved by promoting data, which is stored in the logical pages of the virtual volume VVOL, to an upper-level tier or demoting the data to a lower-level tier.
  • the promotion line is a threshold value of access frequency to logical pages, which is set for the purpose of improvement of response performance of each tier that can be achieved by promoting data, which is stored in the logical pages of the virtual volume VVOL, to an upper-level tier.
  • This promotion line is used together with the first and second tier threshold values when judging whether the data stored in the logical page of the virtual volume VVOL should be promoted or not. Incidentally, such judgment may be performed based on the promotion line without considering the first and second tier threshold values as described above.
  • a data amount to be promoted becomes a maximum; and if the relevant promotion line becomes more separated from the corresponding first or second tier threshold value, the data amount to be promoted decreases.
  • the promotion line becomes more separated from the corresponding first or second tier threshold value, there is a high tendency that a logical page which can achieve the higher advantageous effect (i.e., the improvement of the tier response performance, which will be hereinafter referred to as the migration effect) by promoting the data stored in that logical page will be selected.
  • the demotion line is a threshold value of access frequency to logical pages, which is set for the purpose of improvement of response performance of each tier that can be achieved by demoting data, which is stored in the logical pages of the virtual volume VVOL, to a lower-level tier.
  • This demotion line is used together with the first and second tier threshold values when judging whether the data stored in the logical page of the virtual volume VVOL should be demoted or not. This is because a physical page allocated to a logical page whose access frequency is smaller than the first and second tier threshold values and larger than the demotion line is set as the target to be migrated.
  • a data amount to be demoted becomes a minimum; and if the relevant demotion line becomes more separated from the corresponding first or second tier threshold value, the data amount to be demoted increases.
  • the demotion line becomes closer to the corresponding first or second tier threshold value, data with higher access frequency can be selected and demoted from among even the access frequency smaller than the first or second tier threshold value, so that data stored in a logical page capable of achieving the migration effect more can be demoted.
  • Fig. 37 shows just an example of the relationship between the first and second tier threshold values and each promotion line and each demotion line and all the promotion lines may be sometimes set above the first tier threshold value and all the demotion lines may be sometimes set below the second tier threshold value.
  • promotion lines or demotion lines are decided based on the tier threshold values (the first and second tier threshold values) and the response performance (response time) of the storage drives 20 constituting each tier which is always being monitored.
  • the migration effect obtained when data is promoted or demoted between tiers is firstly calculated with respect to all combinations of tiers based on the response performance of each tier.
  • this migration effect E(s,d) is calculated according to the following formula where Rsp(S) represents the response performance of the migration source tier, and Rsp(d) represents the response performance of the migration destination tier.
  • the migration effect is a value indicating how better (or shorter) the response performance (response time) of the migration destination tier (physical page) becomes as compared to the response performance (response time) of the migration source tier (physical page).
  • the first tier threshold value which is set between the first tier and the second tier is "100 IOPH (Input Output Per Hour)," and the second tier threshold value which is set between the second tier and the third tier is "10I OPH"; and as shown in Fig. 38(B), average drive response time of the storage drives 20 belonging to the first tier is "1 ms,” the average drive response time of the storage drives 20 belonging to the second tier is "9 ms,” and the average drive response time of the storage drives 20 belonging to the third tier is "12 ms.”
  • possible combinations of tiers are a combination of the first tier and the second tier, a combination of the first tier and the third tier, and a combination of the tier second and the third tier.
  • the migration effect of a case where data of the second tier is promoted to the first tier between the first tier and the second tier is calculated as "8 ms” obtained by subtracting the average response time "1 ms" of the storage drives 20 constituting the first tier from the average response time "9 ms" of the storage drives 20 constituting the second tier (see 1 st row of Fig. 38(C)).
  • the migration effect of a case where data of the third tier is promoted to the first tier between the first tier and the third tier is calculated as "11 ms” obtained by subtracting the average response time "1 ms" of the storage drives 20 constituting the first tier from the average response time "12 ms" of the storage drives 20 constituting the third tier (see 2 nd row of Fig. 38(C)).
  • the migration effect of a case where data of the third tier is promoted to the second tier between the second and the third tier is calculated as "3 ms” obtained by subtracting the average response time "9 ms" of the storage drives 20 constituting the second tier from the average response time "12 ms" of the storage drives 20 constituting the third tier (see 3 rd row of Fig. 38(C)).
  • the migration effect of a case where data of the first tier is demoted to the second tier between the first tier and the second tier is calculated as "-8 ms" obtained by subtracting the average response time "9 ms" of the storage drives 20 constituting the second tier from the average response time "1 ms" of the storage drives 20 constituting the first tier (see 4 th row of Fig. 38(C)).
  • the migration effect of a case where data of the first tier is demoted to the third tier between the first tier and the third tier is calculated as "-11 ms" obtained by subtracting the average response time "12 ms" of the storage drives 20 constituting the third tier from the average response time "1 ms" of the storage drives 20 constituting the first tier (see 5 th row of Fig. 38(C)).
  • the migration effect of a case where data of the second tier is demoted to the third tier between the second tier and the third tier is calculated as "-3 ms" obtained by subtracting the average response time "12 ms" of the storage drives 20 constituting the third tier from the average response time "9 ms" of the storage drives 20 constituting the second tier (see 6 th row of Fig. 38(C)).
  • the migration effect of the data promotion which is calculated as described above between each combination of tiers is a positive value (that is, if the migration effect can be obtained)
  • either a quotient obtained by dividing the migrated amount parameter by the migrated amount effect or the first or second tier threshold value, whichever is larger, is set as the promotion line for the relevant combination of tiers; and if the migration effect is a negative value (that is, if the migration effect cannot be obtained)
  • the maximum value (“255") of the count value for the number of I/O accesses to each logical page as managed by the counter value management table 45 (Fig. 10) is set as the promotion line for the relevant combination of tiers.
  • the promotion can be accelerated with respect to the combination of tiers for which the migration effect by the promotion can be obtained; and the promotion can be inhibited with respect to the combination of tiers for which the migration effect cannot be obtained.
  • the migration effect of the data demotion is a positive value (that is, if the migration effect can be obtained)
  • either a quotient obtained by dividing the migration effect parameter by the migration effect or the first or second tier threshold value, whichever is smaller, is set as the demotion line for the relevant combination of tiers; and if the migration effect is a negative value (that is, if the migration effect cannot be obtained), the first or second tier threshold value is set as the demotion line for the relevant combination of tiers.
  • the demotion can be accelerated with respect to the combination of tiers for which the migration effect by the demotion can be obtained; and the demotion can be inhibited with respect to the combination of tiers for which the migration effect cannot be obtained.
  • Fig. 38(C) shows an example of each promotion line and each demotion line when the migrated amount parameter is "2048" and there is no tier with concentrated accesses which might cause a performance bottleneck.
  • control is performed to use the first tier with higher performance as much as possible, because there is no tier with concentrated accesses which might cause the performance bottleneck.
  • the processing for promoting data from the third or second tier to the first tier is prioritized over the promotion of data from the third tier to the second tier. Therefore, the promotion line between the third tier and the second tier is set as a value separated from the second tier threshold value.
  • the distance between the promotion line between the third and first tiers and the first tier threshold value is shorter than the distance between the promotion line between the second and first tiers and the first tier threshold value. So, the promotion from the third tier to the first tier is performed more often than the promotion from the second tier to the first tier.
  • each demotion line matches the corresponding first or second tier threshold value, so that none of the demotion from the first tier to the second tier, the demotion from the first tier to the third tier, or the demotion from the second tier to the third tier will be performed.
  • the promotion from the second or third tier to the first tier is executed and prioritized over the promotion from the third tier to the second tier and the demotion will not be performed basically.
  • the demotion is executed as the emergency demotion processing (Fig. 18) only when the promotion destination has no unused capacity in step SP35 of the promotion judgment processing described earlier with reference to Fig. 16.
  • Fig. 40(C) shows an example of each promotion line and each demotion line when the migrated amount parameter is "2048" and accesses are concentrated on the second tier (Tier 2), thereby causing the performance bottleneck.
  • the difference between Fig. 38 and Fig. 40(C) is that the second tier is in a state of high load as shown in Fig. 40(B).
  • the high migration effect can be obtained by promoting data between the second tier and the first tier, so that the promotion line between the second tier and the first tier is also set to a value identical to the corresponding first tier threshold value as shown in Fig. 41. Therefore, the promotion between the second tier and the first tier will be performed very often.
  • the promotion line between the third tier and the first tier is slightly separated from the corresponding first tier threshold value as is also apparent from Fig. 41, so that the promotion between the third tier and the first tier will be performed less frequently.
  • the promotion from the second tier to the first tier will be executed and prioritized over the promotion from the third tier to the first tier.
  • the promotion line between the third tier and the second tier is "MAX" meaning the maximum possible value ("255") of the counter value in the counter value management table 45 (Fig. 10). So, such promotion will not be performed.
  • the demotion line between the first tier and the second tier and the demotion line between the first tier and the third tier match the corresponding first or second tier threshold value, respectively (see Fig. 41), so that neither the demotion from the first tier to the second tier nor the demotion from the first tier to the third tier will be performed.
  • the demotion line between the second tier and the third tier is slightly separated from the corresponding second tier threshold value (see Fig. 41), so that the demotion from the second tier to the third tier will be performed less frequently.
  • Fig. 42 shows a specific processing sequence for the PD line calculation processing executed by the CPU 25A, 25B in step SP104 of the aforementioned tier threshold value calculation processing (Fig. 32).
  • the CPU 25A, 25B calculates each promotion line and each demotion line in accordance with the processing sequence shown in Fig. 42.
  • step SP104 of the tier threshold value calculation processing it starts this PD line calculation processing and firstly calculates the average response time of each tier in the pool as the response performance of that tier based on response time of each storage drive 20 which is always being monitored (SP130).
  • the CPU 25A, 25B calculates the migration effect on each combination of tiers based on the then-calculated response performance of each tier in a case of the promotion between the relevant tiers and the migration effect in a case of the demotion, respectively, according to the formula (9) (SP131).
  • the CPU 25A, 25B sets the promotion line for each combination of tiers (SP132 to SP135).
  • the CPU 25A, 25B selects one combination of tiers and judges whether the migration effect in the case of the promotion of that combination of tiers as calculated in step SP131 is larger than "0" or not (SP132).
  • the CPU 25A, 25B obtains an affirmative judgment result in this step, it sets either a quotient obtained by dividing the migrated amount parameter by the migrated amount effect or the first or second tier threshold value, whichever is larger, as the promotion line for that combination of tiers (SP133).
  • the promotion line (T2->T1) is compared with the first tier threshold value
  • the promotion line (T3->T2) is compared with the second tier threshold value
  • the promotion line (T3->T1) is compared with the first tier threshold value.
  • step SP132 sets the maximum count value among count values of the number of I/O accesses to each logical page of virtual volumes VVOL managed in the counter value management table 45 (Fig. 10) as the promotion line for the relevant combination of tiers (SP134).
  • the CPU 25A, 25B judges whether or not the calculation of the promotion line has been completed for all combinations of tiers (SP135). Then, if the CPU 25A, 25B obtains a negative judgment result in this step, it returns to step SP132 and then repeats the processing from step SP132 to step SP135, while sequentially switching the target (combination of tiers) to be selected in step SP132 to an unprocessed combination of tiers.
  • step SP135 the CPU 25A, 25B obtains an affirmative judgment result in step SP135 by eventually finishing calculating the promotion line for all the combinations of tiers, it then sets the demotion line for each combination of tiers (SP136 to SP139).
  • the CPU 25A, 25B selects one combination of tiers and judges whether the migration effect in the case of the demotion for the relevant combination of tiers as calculated in step SP131 is larger than "0" or not (SP136).
  • the CPU 25A, 25B obtains an affirmative judgment result in this step, it sets either an quotient obtained by dividing the migrated amount parameter by the migrated amount effect or the first or second tier threshold value, whichever is smaller, as the promotion line for that combination of tiers (SP137).
  • the demotion line (T1->T2) is compared with the first tier threshold value
  • the demotion line (T2->T3) is compared with the second tier threshold value
  • the demotion line (T1->T3) is compared with the second tier threshold value.
  • step SP136 if the CPU 25A, 25B obtains a negative judgment result in step SP136, it sets the first or second threshold value among the count values of the number of I/O accesses to each logical page of virtual volumes VVOL managed in the counter value management table 45 (Fig. 10) as the demotion line for the relevant combination of tiers (SP138).
  • the CPU 25A, 25B judges whether or not the calculation of the demotion lines between all the tiers has been completed or not (SP139). Then, if the CPU 25A, 25B obtains a negative judgment result in this step, it returns to step SP136 and then repeats the processing from step SP136 to step SP139, while sequentially switching the target (combination of tiers) to be selected in step SP136 to an unprocessed combination of tiers.
  • step SP139 the CPU 25A, 25B obtains an affirmative judgment result in step SP139 by eventually finishing calculating the demotion lines between all the tiers, it terminates this PD line calculation processing and returns to the tier threshold value calculation processing.
  • Tier Decision Processing ST3 (3-3-1) Tier Decision Processing Fig. 43 shows a processing sequence for the tier decision processing ST3 (Fig. 3) executed by the CPU 25A, 25B for each of the system-0 controller 21A and the system-1 controller 21B of the storage apparatus 4 during the tier decision processing ST3 in Fig. 3.
  • the CPU 25A, 25B decides an optimum tier, to which a physical page allocated to the relevant logical page should belong, with respect to each of all logical pages in the storage apparatus 4 by executing this tier decision processing on a specified cycle (for example, every several seconds) by which all logical pages in all virtual volumes VVOL in the storage apparatus 4 can be checked in a predetermined specified time period (for example, in 60 minutes).
  • the CPU 25A, 25B when the CPU 25A, 25B starts this tier decision processing, it sets preset time to execute the tier decision processing to a countdown-type timer (SP140) and then selects a logical page which should be a target (SP141).
  • SP140 countdown-type timer
  • the CPU 25A, 25B executes the aforementioned promotion judgment processing (Fig. 16) on the logical page selected in step SP141 (SP142). Accordingly, if it is necessary to promote data, which is stored in the logical page selected in step SP141, to an upper-level tier, the CPU 25A, 25B sets "Execution Required” to the returned value. On the other hand, if it is not necessary to promote the relevant data to the upper-level tier, the CPU 25A, 25B sets "Execution Not Required" to the returned value.
  • step SP143 the CPU 25A, 25B judges whether or not "Execution Required" is set to the returned value of the promotion judgment processing executed in step SP142 (SP143). Then, if the CPU 25A, 25B obtains an affirmative judgment result in this step, it proceeds to step SP145.
  • step SP143 if the CPU 25A, 25B obtains a negative judgment result in step SP143, it executes demotion judgment processing (SP144) and then proceeds to SP145.
  • the CPU 25A, 25B judges whether the counter value of the timer has become "0" or not (SP145); and if the CPU 25A, 25B obtains a negative judgment result in this step, it returns to step SP141 and then repeats the processing from step SP141 to step SP145, while sequentially changing the logical page selected in step SP141 to another logical page by means of round robin scheduling.
  • step SP148 the CPU 25A, 25B obtains an affirmative judgment result in step SP148 as the counter value of the timer eventually becomes "0," it terminates this tier decision processing.
  • Fig. 44 shows a specific processing sequence for the demotion judgment processing executed by the CPU 25A, 25B in step SP144 of the tier judgment processing (Fig. 43).
  • the CPU 25A, 25B judges whether or not the data stored in the logical page selected in step SP141 last time of the tier judgment processing should be demoted to a lower-level tier in accordance with the processing sequence shown in Fig. 44.
  • step SP144 of the tier judgment processing when the CPU 25A, 25B proceeds to step SP144 of the tier judgment processing, it starts this demotion judgment processing and firstly sets a tier of one level lower than that of the current tier as a demotion destination tier (SP150).
  • the CPU 25A, 25B obtains the counter value of the relevant logical page from the counter value management table 45 (Fig. 10) and judges whether or not the obtained counter value is smaller than the tier threshold value (first or second tier threshold value) for demoting the data from the current tier to the tier which was set as the demotion destination in step SP150 (SP151). Then, if the CPU 25A, 25B obtains a negative judgment result in this step, it proceeds to step SP160.
  • the tier threshold value first or second tier threshold value
  • step SP151 judges whether or not if the counter value obtained from the counter value management table 45 in step SP151 is larger than the corresponding candidate demotion line (first to third demotion lines) for demoting data from the current tier to the tier which was set as the demotion destination in step SP150 (SP152).
  • the CPU 25A, 25B obtains a negative judgment result in this step, it registers that logical page in the LIFO 50 described earlier with reference to Fig. 17 (SP153) and then judges whether or not the judgment to check if the data of the relevant logical page can be demoted has been performed on all the tiers down to the lowest-level tier (SP154). Then, if the CPU 25A, 25B obtains a negative judgment result in this step, it sets a tier of one level lower than that of the current tier as the demotion destination (SP160). Then, the CPU 25A, 25B returns to step SP151 and subsequently executes the processing of step SP151 and subsequent steps in the same manner as described above.
  • the tier threshold value (first or second tier threshold value) for demoting data from the current tier to the tier which was set as the demotion destination in step SP155 last time is used as a target to be compared with the counter value of the logical page in step SP151; and the demotion line for demoting data from the current tier to the tier which was set as the demotion destination in step SP155 last time is used as a target to be compared with the above-described counter value in step SP152.
  • step SP154 the CPU 25A, 25B obtains an affirmative judgment result in step SP154 (this means that the judgment has been performed on all the tiers down to the lowest-level tier, but the access frequency to the local page where the data is stored is not the access frequency for which the demotion should be performed), it executes preferred relocation processing for demoting the data, which is stored in the physical page belonging to the tier set as the demotion destination in step SP150 or step SP155 executed last, to a lower-level tier than the level of the relevant tier (SP157).
  • Specific processing content of this preferred relocation processing is the same as step SP40 to step SP44 of the emergency demotion processing described earlier with reference to Fig. 18.
  • the CPU 25A, 25B judges whether the data of any of logical pages belonging to the tier which was set as the demotion destination in step SP150 or step SP155 executed last has been successfully demoted to a lower-level tier than the level of the relevant tier as a result of this preferred relocation processing (SP158).
  • the CPU 25A, 25B obtains an affirmative judgment result in this step, it sets "Execution Required" to the returned value (SP159) and then terminates this demotion judgment processing and returns to the tier decision processing (Fig. 43). Thus, in this case, an affirmative judgment result will be obtained in step SP145 of the tier decision processing to be executed after this.
  • step 158 If the CPU 25A, 25B obtains a negative judgment result in step 158, it sets "Execution Not Required" to the returned value and then terminates this demotion judgment processing and returns to the tier decision processing. Thus, in this case, a negative judgment result will be obtained in step SP145 of the tier decision processing to be executed after this.
  • step SP156 if the CPU 25A, 25B obtains an affirmative judgment result in step SP156, it refers to the tier management table 42 (Fig. 7) and judges whether or not the tier which was set as the demotion destination in step SP150 or step SP 155 executed last has enough unused capacity to demote the data of the then target page (SP156).
  • step SP157 If the CPU 25A, 25B obtains a negative judgment result in this step, it proceeds to step SP157 and then executes processing of step SP157 and subsequent steps in the same manner as described above. On the other hand, if the CPU 25A, 25B obtains an affirmative judgment result in step SP156, it sets "Execution Required" to the returned value (SP159) and then terminates this demotion judgment processing and returns to the tier judgment processing.
  • the computer system 1 executes, in synchronization with the host I/O processing (the read processing and the write processing), the tier judgment processing for judging whether or not it is necessary to migrate the write target data or the read target data to another tier, and the page relocation processing which is data migration processing when it is necessary to migrate the data. So, data of high access frequency can be immediately migrated to the high-performance tier. Therefore, the response performance of the entire storage apparatus 4 can be enhanced on a real-time basis.
  • the page relocation processing is executed in synchronization with the host I/O processing as described above, migration target data is always stored in the cache memory 26A, 26B particularly at the time of the write processing, so that it is unnecessary to stage the relevant data. Accordingly, it is possible to reduce the load on the storage apparatus 4 as compared to the case where the page relocation processing is executed asynchronously with the host I/O processing. As a result, degradation of the response performance due to the execution of the page relocation processing asynchronously with the host I/O processing can be prevented.
  • the aforementioned embodiment has described the case where SSD, SAS, SATA, and so on are used as the storage devices (the storage drives 20) in the storage apparatus 4; however, the present invention is not limited to this example and a wide variety of storage devices, for example, hard disk drives such as FC (Fibre Chanel) disks, disk media such as optical disks and magneto-optical disks, and semiconductor memories other than SDDs such as flash memories can be used as storage devices.
  • hard disk drives such as FC (Fibre Chanel) disks
  • disk media such as optical disks and magneto-optical disks
  • semiconductor memories other than SDDs such as flash memories
  • the present invention can be applied to a wide variety of storage apparatus having various configurations to which the hierarchical data management technique is applied.

Landscapes

  • Engineering & Computer Science (AREA)
  • Theoretical Computer Science (AREA)
  • Physics & Mathematics (AREA)
  • General Engineering & Computer Science (AREA)
  • General Physics & Mathematics (AREA)
  • Human Computer Interaction (AREA)
  • Information Retrieval, Db Structures And Fs Structures Therefor (AREA)
  • Memory System Of A Hierarchy Structure (AREA)
PCT/JP2012/006548 2012-10-12 2012-10-12 Storage apparatus and data management method Ceased WO2014057521A1 (en)

Priority Applications (8)

Application Number Priority Date Filing Date Title
CN201280075387.6A CN104583929A (zh) 2012-10-12 2012-10-12 存储装置和数据管理方法
IN1544DEN2015 IN2015DN01544A (enExample) 2012-10-12 2012-10-12
EP12779175.4A EP2880519A1 (en) 2012-10-12 2012-10-12 Storage apparatus and data management method
PCT/JP2012/006548 WO2014057521A1 (en) 2012-10-12 2012-10-12 Storage apparatus and data management method
JP2015510536A JP6118401B2 (ja) 2012-10-12 2012-10-12 ストレージ装置及びデータ管理方法
US13/643,232 US9235353B2 (en) 2012-10-12 2012-10-12 Storage apparatus and management method including determination of migration of data from one storage area to another based on access frequency
US14/199,302 US8918609B2 (en) 2012-10-12 2014-03-06 Storage apparatus and data management method to determine whether to migrate data from a first storage device to a second storage device based on an access frequency of a particular logical area
US14/947,106 US20160139855A1 (en) 2012-10-12 2015-11-20 Storage apparatus and data management method

Applications Claiming Priority (1)

Application Number Priority Date Filing Date Title
PCT/JP2012/006548 WO2014057521A1 (en) 2012-10-12 2012-10-12 Storage apparatus and data management method

Related Child Applications (3)

Application Number Title Priority Date Filing Date
US13/643,232 A-371-Of-International US9235353B2 (en) 2012-10-12 2012-10-12 Storage apparatus and management method including determination of migration of data from one storage area to another based on access frequency
US14/199,302 Continuation US8918609B2 (en) 2012-10-12 2014-03-06 Storage apparatus and data management method to determine whether to migrate data from a first storage device to a second storage device based on an access frequency of a particular logical area
US14/947,106 Continuation US20160139855A1 (en) 2012-10-12 2015-11-20 Storage apparatus and data management method

Publications (1)

Publication Number Publication Date
WO2014057521A1 true WO2014057521A1 (en) 2014-04-17

Family

ID=47089106

Family Applications (1)

Application Number Title Priority Date Filing Date
PCT/JP2012/006548 Ceased WO2014057521A1 (en) 2012-10-12 2012-10-12 Storage apparatus and data management method

Country Status (6)

Country Link
US (3) US9235353B2 (enExample)
EP (1) EP2880519A1 (enExample)
JP (1) JP6118401B2 (enExample)
CN (1) CN104583929A (enExample)
IN (1) IN2015DN01544A (enExample)
WO (1) WO2014057521A1 (enExample)

Families Citing this family (38)

* Cited by examiner, † Cited by third party
Publication number Priority date Publication date Assignee Title
CN106469029B (zh) * 2011-12-31 2019-07-23 华为数字技术(成都)有限公司 数据分层存储处理方法、装置和存储设备
JP5938968B2 (ja) * 2012-03-19 2016-06-22 富士通株式会社 情報処理装置、情報処理プログラム及び情報処理方法
US9104590B2 (en) * 2012-07-20 2015-08-11 Hitachi, Ltd. Storage system including multiple storage apparatuses and pool virtualization method
EP2880519A1 (en) * 2012-10-12 2015-06-10 Hitachi, Ltd. Storage apparatus and data management method
US8996751B2 (en) * 2013-01-11 2015-03-31 Dell Products, Lp Autonomously initiated information storage device parameter change notification
CN110825324B (zh) * 2013-11-27 2023-05-30 北京奥星贝斯科技有限公司 混合存储的控制方法及混合存储系统
US9825884B2 (en) 2013-12-30 2017-11-21 Cavium, Inc. Protocol independent programmable switch (PIPS) software defined data center networks
US10409920B1 (en) * 2014-05-23 2019-09-10 EMC IP Holding Company LLC Data services for tiered memory
JP6196383B2 (ja) * 2014-07-31 2017-09-13 株式会社東芝 階層化ストレージシステム
US9588690B2 (en) 2014-11-19 2017-03-07 International Business Machines Corporation Performance-based grouping of storage devices in a storage system
US9569118B2 (en) 2014-12-30 2017-02-14 International Business Machines Corporation Promoting consistent response times in a data storage system having multiple data retrieval mechanisms
US9940259B2 (en) * 2015-01-16 2018-04-10 International Business Machines Corporation Virtual disk alignment access
JP6443170B2 (ja) * 2015-03-26 2018-12-26 富士通株式会社 階層ストレージ装置,階層ストレージ制御装置,階層ストレージ制御プログラム及び階層ストレージ制御方法
US10616144B2 (en) * 2015-03-30 2020-04-07 Cavium, Llc Packet processing system, method and device having reduced static power consumption
US20170031600A1 (en) 2015-07-30 2017-02-02 Netapp Inc. Real-time analysis for dynamic storage
CN105183389A (zh) * 2015-09-15 2015-12-23 北京金山安全软件有限公司 一种数据分级管理方法、装置及电子设备
US9996463B2 (en) * 2015-11-10 2018-06-12 International Business Machines Corporation Selection and placement of volumes in a storage system using stripes
US10007638B2 (en) 2015-11-10 2018-06-26 Dell Products, Lp Asynchronous notification including parameter values in serial advanced technology attachment protocol
WO2017085792A1 (ja) * 2015-11-17 2017-05-26 株式会社日立製作所 ストレージシステム、及びストレージシステムの制御方法
US10387329B2 (en) * 2016-02-10 2019-08-20 Google Llc Profiling cache replacement
JP6680069B2 (ja) * 2016-05-10 2020-04-15 富士通株式会社 ストレージ制御装置、ストレージシステム及びストレージ装置制御プログラム
US10007434B1 (en) * 2016-06-28 2018-06-26 EMC IP Holding Company LLC Proactive release of high performance data storage resources when exceeding a service level objective
US10048874B1 (en) * 2016-06-29 2018-08-14 EMC IP Holding Company LLC Flow control with a dynamic window in a storage system with latency guarantees
US10922089B2 (en) 2016-09-22 2021-02-16 Groupon, Inc. Mobile service applications
CN107870916A (zh) * 2016-09-23 2018-04-03 伊姆西Ip控股有限责任公司 存储管理方法及设备
KR20180130140A (ko) * 2017-05-29 2018-12-07 에스케이하이닉스 주식회사 데이터 처리 시스템 및 데이터 처리 방법
US10437477B2 (en) 2017-07-20 2019-10-08 Dell Products, Lp System and method to detect storage controller workloads and to dynamically split a backplane
JP2019057172A (ja) * 2017-09-21 2019-04-11 東芝メモリ株式会社 メモリシステムおよび制御方法
JP7068573B2 (ja) * 2018-01-17 2022-05-17 富士通株式会社 データ処理装置、データ処理システムおよびデータ処理プログラム
CN110413545B (zh) * 2018-04-28 2023-06-20 伊姆西Ip控股有限责任公司 存储管理方法、电子设备和计算机程序产品
US10942670B2 (en) * 2018-12-06 2021-03-09 Vmware, Inc. Direct access flash transition layer
US11526290B2 (en) * 2019-06-29 2022-12-13 Intel Corporation System and method to track physical address accesses by a CPU or device
US11210010B2 (en) * 2019-07-30 2021-12-28 International Business Machines Corporation Data migration in a multi-tiered storage system
US11327793B2 (en) * 2020-02-18 2022-05-10 International Business Machines Corporation Garbage collection work stealing mechanism
US20220382478A1 (en) * 2021-06-01 2022-12-01 Samsung Electronics Co., Ltd. Systems, methods, and apparatus for page migration in memory systems
JP7319326B2 (ja) 2021-06-24 2023-08-01 株式会社日立製作所 ストレージシステム及びストレージシステムのファイル配置方法
US11989142B2 (en) 2021-12-10 2024-05-21 Samsung Electronics Co., Ltd. Efficient and concurrent model execution
US12197350B2 (en) 2021-12-10 2025-01-14 Samsung Electronics Co., Ltd. Low-latency input data staging to execute kernels

Citations (3)

* Cited by examiner, † Cited by third party
Publication number Priority date Publication date Assignee Title
US20080091638A1 (en) * 2006-10-17 2008-04-17 Hitachi, Ltd. Storage system operation management method and storage system
WO2011077489A1 (ja) 2009-12-24 2011-06-30 株式会社日立製作所 仮想ボリュームを提供するストレージシステム
US20110246739A1 (en) * 2009-12-24 2011-10-06 Hitachi, Ltd. Storage system providing virtual volumes

Family Cites Families (14)

* Cited by examiner, † Cited by third party
Publication number Priority date Publication date Assignee Title
JP4896593B2 (ja) * 2006-06-05 2012-03-14 株式会社日立製作所 性能監視方法、計算機及び計算機システム
JP4859595B2 (ja) * 2006-09-01 2012-01-25 株式会社日立製作所 記憶システム、そのデータ再配置方法、データ再配置プログラム
JP5192352B2 (ja) 2008-10-30 2013-05-08 株式会社日立製作所 記憶装置及びデータ格納領域管理方法
US8321645B2 (en) * 2009-04-29 2012-11-27 Netapp, Inc. Mechanisms for moving data in a hybrid aggregate
JP2011186561A (ja) * 2010-03-04 2011-09-22 Toshiba Corp メモリ管理装置
JP5241671B2 (ja) * 2009-10-05 2013-07-17 株式会社日立製作所 記憶装置のデータ移行制御方法
US8543778B2 (en) * 2010-01-28 2013-09-24 Hitachi, Ltd. Management system and methods of storage system comprising pool configured of actual area groups of different performances
US8560799B2 (en) * 2010-02-18 2013-10-15 Hitachi, Ltd. Performance management method for virtual volumes
WO2011104741A1 (en) * 2010-02-23 2011-09-01 Hitachi, Ltd. Management system for storage system and method for managing storage system
WO2011108027A1 (ja) * 2010-03-04 2011-09-09 株式会社日立製作所 計算機システム及びその制御方法
CN102521152B (zh) * 2011-11-29 2014-12-24 华为数字技术(成都)有限公司 一种分级存储方法及系统
JP5910213B2 (ja) * 2012-03-19 2016-04-27 富士通株式会社 ストレージシステム、ストレージ制御方法およびストレージ制御プログラム
JP5886963B2 (ja) 2012-03-21 2016-03-16 株式会社日立製作所 ストレージ装置及びデータ管理方法
EP2880519A1 (en) * 2012-10-12 2015-06-10 Hitachi, Ltd. Storage apparatus and data management method

Patent Citations (3)

* Cited by examiner, † Cited by third party
Publication number Priority date Publication date Assignee Title
US20080091638A1 (en) * 2006-10-17 2008-04-17 Hitachi, Ltd. Storage system operation management method and storage system
WO2011077489A1 (ja) 2009-12-24 2011-06-30 株式会社日立製作所 仮想ボリュームを提供するストレージシステム
US20110246739A1 (en) * 2009-12-24 2011-10-06 Hitachi, Ltd. Storage system providing virtual volumes

Non-Patent Citations (1)

* Cited by examiner, † Cited by third party
Title
See also references of EP2880519A1

Also Published As

Publication number Publication date
IN2015DN01544A (enExample) 2015-07-03
CN104583929A (zh) 2015-04-29
US9235353B2 (en) 2016-01-12
JP2015531089A (ja) 2015-10-29
EP2880519A1 (en) 2015-06-10
JP6118401B2 (ja) 2017-04-19
US20160139855A1 (en) 2016-05-19
US8918609B2 (en) 2014-12-23
US20140195760A1 (en) 2014-07-10
US20140108759A1 (en) 2014-04-17

Similar Documents

Publication Publication Date Title
WO2014057521A1 (en) Storage apparatus and data management method
JP5914305B2 (ja) データ位置の管理方法および装置
CN102449607B (zh) 具有多个闪存封装的存储系统
US9792073B2 (en) Method of LUN management in a solid state disk array
US8762639B2 (en) Storage system, storage apparatus, and optimization method of storage areas of storage system
US10120601B2 (en) Storage system and data processing method
CN103761053B (zh) 一种数据处理方法和装置
JP5816303B2 (ja) フラッシュメモリを含むストレージシステム、及び記憶制御方法
JP5706531B2 (ja) 計算機システム、及び情報管理方法
JP6340439B2 (ja) ストレージシステム
US8954658B1 (en) Method of LUN management in a solid state disk array
GB2536514A (en) Storage device and method for controlling storage device
US9519437B2 (en) Selecting first data sets in a first storage group to swap with second data sets in a second storage group
US7415573B2 (en) Storage system and storage control method
US20190243758A1 (en) Storage control device and storage control method
CN110968262B (zh) 存储装置和数据存储方法
JP5768118B2 (ja) 複数のフラッシュパッケージを有するストレージシステム
JP6138318B2 (ja) 複数のフラッシュパッケージを有するストレージシステム
JP5945040B2 (ja) 複数のフラッシュパッケージを有するストレージシステム
WO2016006072A1 (ja) 管理計算機およびストレージシステム

Legal Events

Date Code Title Description
WWE Wipo information: entry into national phase

Ref document number: 13643232

Country of ref document: US

121 Ep: the epo has been informed by wipo that ep was designated in this application

Ref document number: 12779175

Country of ref document: EP

Kind code of ref document: A1

ENP Entry into the national phase

Ref document number: 2015510536

Country of ref document: JP

Kind code of ref document: A

WWE Wipo information: entry into national phase

Ref document number: 2012779175

Country of ref document: EP

NENP Non-entry into the national phase

Ref country code: DE