WO2014030406A1 - 画像処理装置、画像処理方法、プログラム、及び情報記憶媒体 - Google Patents

画像処理装置、画像処理方法、プログラム、及び情報記憶媒体 Download PDF

Info

Publication number
WO2014030406A1
WO2014030406A1 PCT/JP2013/065115 JP2013065115W WO2014030406A1 WO 2014030406 A1 WO2014030406 A1 WO 2014030406A1 JP 2013065115 W JP2013065115 W JP 2013065115W WO 2014030406 A1 WO2014030406 A1 WO 2014030406A1
Authority
WO
WIPO (PCT)
Prior art keywords
area
character
region
image
super
Prior art date
Legal status (The legal status is an assumption and is not a legal conclusion. Google has not performed a legal analysis and makes no representation as to the accuracy of the status listed.)
Ceased
Application number
PCT/JP2013/065115
Other languages
English (en)
French (fr)
Japanese (ja)
Inventor
廣美 平野
誠 岡部
Current Assignee (The listed assignees may be inaccurate. Google has not performed a legal analysis and makes no representation or warranty as to the accuracy of the list.)
Rakuten Group Inc
Original Assignee
Rakuten Inc
Priority date (The priority date is an assumption and is not a legal conclusion. Google has not performed a legal analysis and makes no representation as to the accuracy of the date listed.)
Filing date
Publication date
Application filed by Rakuten Inc filed Critical Rakuten Inc
Priority to US14/423,437 priority Critical patent/US9619700B2/en
Publication of WO2014030406A1 publication Critical patent/WO2014030406A1/ja
Anticipated expiration legal-status Critical
Ceased legal-status Critical Current

Links

Images

Classifications

    • GPHYSICS
    • G06COMPUTING OR CALCULATING; COUNTING
    • G06VIMAGE OR VIDEO RECOGNITION OR UNDERSTANDING
    • G06V30/00Character recognition; Recognising digital ink; Document-oriented image-based pattern recognition
    • G06V30/10Character recognition
    • G06V30/14Image acquisition
    • G06V30/146Aligning or centring of the image pick-up or image-field
    • G06V30/1473Recognising objects as potential recognition candidates based on visual cues, e.g. shapes
    • GPHYSICS
    • G06COMPUTING OR CALCULATING; COUNTING
    • G06VIMAGE OR VIDEO RECOGNITION OR UNDERSTANDING
    • G06V10/00Arrangements for image or video recognition or understanding
    • G06V10/40Extraction of image or video features
    • G06V10/44Local feature extraction by analysis of parts of the pattern, e.g. by detecting edges, contours, loops, corners, strokes or intersections; Connectivity analysis, e.g. of connected components
    • GPHYSICS
    • G06COMPUTING OR CALCULATING; COUNTING
    • G06VIMAGE OR VIDEO RECOGNITION OR UNDERSTANDING
    • G06V20/00Scenes; Scene-specific elements
    • G06V20/60Type of objects
    • G06V20/62Text, e.g. of license plates, overlay texts or captions on TV images
    • GPHYSICS
    • G06COMPUTING OR CALCULATING; COUNTING
    • G06VIMAGE OR VIDEO RECOGNITION OR UNDERSTANDING
    • G06V30/00Character recognition; Recognising digital ink; Document-oriented image-based pattern recognition
    • G06V30/10Character recognition
    • G06V30/18Extraction of features or characteristics of the image
    • G06V30/18105Extraction of features or characteristics of the image related to colour
    • GPHYSICS
    • G06COMPUTING OR CALCULATING; COUNTING
    • G06VIMAGE OR VIDEO RECOGNITION OR UNDERSTANDING
    • G06V30/00Character recognition; Recognising digital ink; Document-oriented image-based pattern recognition
    • G06V30/40Document-oriented image-based pattern recognition
    • G06V30/41Analysis of document content
    • G06V30/413Classification of content, e.g. text, photographs or tables
    • HELECTRICITY
    • H04ELECTRIC COMMUNICATION TECHNIQUE
    • H04NPICTORIAL COMMUNICATION, e.g. TELEVISION
    • H04N1/00Scanning, transmission or reproduction of documents or the like, e.g. facsimile transmission; Details thereof
    • H04N1/40Picture signal circuits
    • H04N1/40062Discrimination between different image types, e.g. two-tone, continuous tone
    • GPHYSICS
    • G06COMPUTING OR CALCULATING; COUNTING
    • G06VIMAGE OR VIDEO RECOGNITION OR UNDERSTANDING
    • G06V30/00Character recognition; Recognising digital ink; Document-oriented image-based pattern recognition
    • G06V30/10Character recognition

Definitions

  • the present invention relates to an image processing apparatus, an image processing method, a program, and an information storage medium.
  • a product image in which a text such as “free shipping” or “Grand Prix” is not written out of product images posted by a plurality of stores opening in the virtual shopping mall In some cases, it is desirable to extract the product image and post the product image on the top page or the like. In such a case, it is necessary to determine whether or not a character area inserted by image editing is included in the product image.
  • Patent Document 1 discloses a technique for detecting a character area included in an image.
  • Patent Document 1 discloses a technique for detecting a character area of a folded leaflet in which characters and images are laid out (see paragraphs 0019, 0020, and FIG. 3).
  • a plurality of color image data is generated by separating image data for each color. Further, an edge portion is detected from the density of the image data, and an area where the edge amount is included less than a predetermined value is specified as a photographic area. Then, based on the photograph area, a character area is detected for each color image data.
  • the present invention has been made in view of the above problems, and an object of the present invention is to detect a character region included in an image even when there is a large difference in shading in a region other than the character region included in the image.
  • An image processing apparatus, an image processing method, a program, and an information storage medium are provided.
  • an image processing apparatus includes a feature point detection unit that detects a corner of an edge in a target image as a feature point, and a substantially straight line based on a detection result of the feature point detection unit.
  • a region acquisition unit that acquires a region including a plurality of feature points arranged on the top; and a character region detection unit that detects a character region in the target image based on the region acquired by the region acquisition unit. It is characterized by.
  • the image processing method includes a feature point detection step for detecting corners of edges in the target image as feature points, and a plurality of features arranged on a substantially straight line based on the detection result in the feature point detection step.
  • An area obtaining step for obtaining an area including a point, and a character area detecting step for detecting a character area in the target image based on the area obtained in the area obtaining step.
  • the program according to the present invention includes feature point detection means for detecting corners of edges in the target image as feature points, and a plurality of feature points arranged on a substantially straight line based on the detection result of the feature point detection means.
  • a program that causes a computer to function as a region acquisition unit that acquires a region, and a character region detection unit that detects a character region in the target image based on the region acquired by the region acquisition unit. is there.
  • the information storage medium according to the present invention is a computer-readable information storage medium recording the above program.
  • the character area detection unit may detect the character area based on areas close to each other among the areas acquired by the area acquisition unit.
  • the area acquisition means may acquire an area that includes a plurality of feature points arranged on a substantially straight line and having the same or similar color.
  • the character region detection unit detects the character region by combining regions adjacent to each other among the regions acquired by the region acquisition unit, and detects the character region.
  • the means includes the color of the feature point included in the first area and the second area. Even if the color of the feature point to be displayed is not the same or similar, the character area may be detected by combining the first area and the second area.
  • the feature point detection unit includes a first detection unit that detects a corner of an edge in the target image as a first feature point, and a reduced image obtained by reducing the target image.
  • Second detection means for detecting a corner of an edge as a second feature point
  • the region acquisition means includes a plurality of first feature points arranged on a substantially straight line based on a detection result of the first detection means.
  • First acquisition means for acquiring an area including the second acquisition means for acquiring an area including a plurality of second feature points arranged on a substantially straight line based on a detection result of the second detection means
  • the character area detection means may detect the character area in the target image based on the area acquired by the first acquisition means and the area acquired by the second acquisition means.
  • the detection by the second detection unit and the acquisition by the second acquisition unit may be repeatedly performed while gradually reducing the reduced image. That is, the detection by the second detection unit and the acquisition by the second acquisition unit may be repeatedly performed until the size of the reduced image becomes sufficiently small.
  • the character area detection means uses a graph cut method to extract an area included in the character area from areas acquired by the area acquisition means; And a means for detecting a character area in the target image based on the area extracted by the extracting means.
  • the present invention it is possible to detect a character region included in an image even when there is a large difference in shading in a region other than the character region included in the image. Further, according to the present invention, it is possible to prevent an area having a large shading difference from being erroneously detected as a character area for an image that does not include characters. That is, with respect to an image that does not include characters, it is possible to determine that characters are not included in the image even when the difference in density is large.
  • FIG. 1 shows an example of a hardware configuration of an image processing apparatus 10 according to an embodiment of the present invention.
  • the image processing apparatus 10 is realized by, for example, a server computer, a desktop computer, a laptop computer, or a tablet computer.
  • the image processing apparatus 10 includes a control unit 11, a storage unit 12, an optical disc drive unit 13, a communication interface unit 14, an operation unit 15, a display unit 16, and an audio output unit 17.
  • the control unit 11 includes, for example, one or a plurality of microprocessors, and executes information processing according to an operating system or a program stored in the storage unit 12.
  • the storage unit 12 includes, for example, a RAM, a hard disk, or a solid state drive.
  • the optical disk drive unit 13 reads programs and data stored on an optical disk (information storage medium).
  • the program and data are supplied to the storage unit 12 via the optical disc. That is, the program and data are read from the optical disk by the optical disk drive unit 13 and stored in the storage unit 12.
  • the image processing apparatus 10 may include a component for reading a program or data stored in an information storage medium (for example, a memory card) other than the optical disk. And a program and data may be supplied to the memory
  • the communication interface unit 14 is an interface for connecting the image processing apparatus 10 to a communication network.
  • the image processing apparatus 10 can exchange data with other apparatuses via a communication network.
  • the program and data may be supplied to the storage unit 12 via a communication network.
  • the operation unit 15 is for a user to perform an operation.
  • a keyboard, a mouse, a touch pad, a touch panel, a stick (lever), or the like corresponds to the operation unit 15.
  • the display unit 16 is, for example, a liquid crystal display or an organic EL display
  • the audio output unit 17 is, for example, a speaker or a headphone terminal.
  • the image processing apparatus 10 can access the database 20.
  • the database 20 may be realized in an apparatus (for example, a server) other than the image processing apparatus 10 or may be realized in the image processing apparatus 10.
  • Database 20 stores images. For example, a product image used in a virtual shopping mall site provided by a web server (not shown) is stored in the database 20. That is, the product image prepared by the person in charge at the store opening the virtual shopping street is stored in the database 20. For example, a product image in which text such as “free shipping” or “Grand Prix” is written in a database 20 by a person in charge of the store is stored in the database 20.
  • FIG. 2 shows an example of a product image stored in the database 20.
  • a text 32 (character string) indicating “Japan” in Chinese characters is written on a photographic image obtained by photographing a product (maneki-neko).
  • the text 32 is often written in a conspicuous color different from the color of the product itself.
  • the text 32 is often written in a single color and is often aligned in the vertical direction, the horizontal direction, or the diagonal direction.
  • FIG. 3 is a functional block diagram showing functional blocks related to the present invention among the functional blocks realized by the image processing apparatus 10.
  • the image processing apparatus 10 includes a feature point detection unit 40, a region acquisition unit 42, and a character region detection unit 44.
  • the functional blocks shown in FIG. 3 are realized by the control unit 11 of the image processing apparatus 10.
  • the feature point detection unit 40 detects a corner of an edge in the target image as a feature point.
  • the “edge corner” is an intersection of a plurality of edges in the target image.
  • the feature point detector 40 includes a first detector 40A and a second detector 40B.
  • the first detection unit 40A detects a corner of an edge in the target image as a first feature point.
  • the second detection unit 40B detects the corner of the edge in the reduced image obtained by reducing the target image as the second feature point.
  • the region acquisition unit 42 acquires a region including a plurality of feature points arranged on a substantially straight line based on the detection result of the feature point detection unit 40.
  • the area acquisition unit 42 includes a first acquisition unit 42A and a second acquisition unit 42B.
  • the first acquisition unit 42A acquires a region including a plurality of first feature points arranged on a substantially straight line based on the detection result of the first detection unit 40A.
  • the second acquisition unit 42B acquires a region including a plurality of second feature points arranged on a substantially straight line based on the detection result of the second detection unit 40B.
  • the character area detection unit 44 detects a character area in the target image based on the area acquired by the area acquisition unit 42.
  • the character region detection unit 44 detects a character region in the target image based on the region acquired by the first acquisition unit 42A and the region acquired by the second acquisition unit 42B.
  • the character area detection unit 44 determines whether the character area detection unit 44 includes an object image based on areas close to each other among the areas acquired by the area acquisition unit 42 (the first acquisition unit 42A and the second acquisition unit 42B). The character area of is detected.
  • the character area detection unit 44 combines the areas that are close to each other among the areas acquired by the area acquisition unit 42 (the first acquisition unit 42A and the second acquisition unit 42B), thereby detecting characters in the target image. Detect areas.
  • FIG. 4 is a flowchart showing an example of processing executed by the image processing apparatus 10 in order to realize the feature point detection unit 40, the region acquisition unit 42, and the character region detection unit 44.
  • the control unit 11 executes the processing shown in FIG. 4 according to the program, the control unit 11 functions as the feature point detection unit 40, the region acquisition unit 42, and the character region detection unit 44.
  • the feature point detection unit 40 the region acquisition unit 42, and the character region detection unit 44.
  • control unit 11 initializes the variable x to 100% (S101). This variable x is used in steps S107 and S108 described later.
  • control unit 11 acquires an image (for example, a product image 30) from the database 20, and sets the image as a processing target (S102).
  • image for example, a product image 30
  • control unit 11 detects the corner of the edge in the processing target image as a feature point (S103). That is, the control unit 11 detects an intersection of a plurality of shade edges as a feature point.
  • a known method is used as a method for detecting the feature point (corner).
  • FAST Features from Accelerated Segment Test
  • a method other than the FAST method may be used.
  • FIG. 5 is a diagram for explaining processing (FAST method) for determining whether or not a pixel corresponds to a corner.
  • the control unit 11 determines that the pixel P0 corresponds to a corner (more specifically, a point inside the corner).
  • the control unit 11 specifies a pixel on a circle having a predetermined radius centered on the pixel P0.
  • the pixels P1 to P16 correspond to the pixels on the circle. Further, the control unit 11 determines whether or not the difference between the value of the pixel P0 and each value of the pixels P1 to P16 is equal to or greater than a threshold value.
  • the control unit 11 determines that the pixel P0 corresponds to a corner. . Further, among the pixels P1 to P16, the control unit 11 also determines that the pixel P0 corresponds to a corner even when a predetermined number or more of pixels having a value smaller than the threshold value than the pixel P0 are consecutive. To do.
  • step S103 the control unit 11 acquires the FAST feature value of the processing target image by executing the process using the FAST method.
  • This FAST feature amount includes coordinates of a point corresponding to a corner (more specifically, a point inside the corner) and color information of the point.
  • FIG. 6 shows an example of the feature points detected in step S103 when the product image 30 shown in FIG. 2 is a processing target. Black circles and white circles shown in FIG. 6 indicate the feature points 50 detected in step S103. In FIG. 6, only the peripheral portion of the text 32 in the product image 30 is shown.
  • the kanji includes a line extending in the vertical direction, a line extending in the horizontal direction, and the like, and these lines intersect. Therefore, in FIG. 6, a point where the lines in the kanji indicating “Japan” intersect is a feature point 50. Has been detected. In FIG. 6, these feature points 50 are represented by black circles.
  • the product image 30 there may be a portion where a plurality of edges having different extending directions intersect even in a portion other than the portion where the text 32 (kanji) is described. Therefore, in FIG. 6, the text 32 (kanji) is described.
  • the feature points 50 are also detected in portions other than the portion that has been set. In FIG. 6, these feature points 50 are represented by white circles.
  • step S104 the control unit 11 (region acquisition unit 42, first acquisition unit 42A) acquires a super corner (S104).
  • a region including a plurality of feature points 50 arranged in a substantially straight line and including a plurality of feature points 50 having the same or similar color is referred to as a “super corner”.
  • the text 32 written on the product image 30 is often a single color and is often aligned in the vertical direction or the horizontal direction.
  • the feature points 50 included in the character region generally have the following features. (1) The feature points 50 are arranged on a straight line in the vertical direction or the horizontal direction orthogonal to each other. (2) The feature points 50 arranged on one straight line have the same or similar color.
  • step S104 a feature point group that satisfies all of the following conditions (A) to (D) is searched, and a rectangular area including the feature point group is acquired as a super corner.
  • a plurality of feature points 50 are arranged on a substantially straight line in the vertical, horizontal, or diagonal directions.
  • the plurality of feature points 50 have the same or similar colors.
  • C) The distance between adjacent feature points 50 is equal to or less than the first threshold value.
  • D The distance from the feature point 50 on one end side to the feature point 50 on the other end side is equal to or greater than a second threshold value (threshold value greater than the first threshold value).
  • condition (A) for example, when there are a plurality of feature points 50 whose distance from the straight line (that is, the length of the perpendicular to the straight line) is a threshold value (for example, several dots) or less, control is performed.
  • the part 11 considers that the plurality of feature points 50 are arranged on a substantially straight line.
  • condition (B) for example, when the colors of the plurality of feature points 50 belong to the same color group among predetermined N (for example, 32) color groups, the control unit 11 The colors of the plurality of feature points 50 are considered to be the same or similar.
  • the condition (C) is a condition provided to separate the feature points 50 included in the character region from the feature points 50 included in the region other than the character region as much as possible.
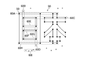
  • FIG. 7 shows an example of the super corner acquired in step S104.
  • super corners 60A to 60I are acquired.
  • a part of the super corner acquired in step S104 is shown, and actually, the super corner 60 other than the super corners 60A to 60I is also acquired.
  • the super corners 60A to 60I and the like are collectively referred to as “super corner 60”.
  • control unit 11 extracts the super corner 60 included in the character area from the super corner 60 acquired in step S104 (S105).
  • step S105 a process for extracting the super corners 60A to 60H included in the character area from the super corners 60A to 60I is executed.
  • the image processing apparatus 10 extracts the super corner 60 included in the character area from the super corner 60 acquired in step S104 by applying a known graph cut method.
  • the graph cut method is a known technique that is usually used to separate the foreground and background of an image, and is used, for example, to detect an object region in the image.
  • the graph cut method is used by regarding the character area as the foreground and the other area as the background. Normally, in the graph cut method, a surface (region) called “super pixel” is defined and used, but in step S105, a super corner 60 is used instead of “super pixel”.
  • FIG. 8 is a diagram for explaining the application of the graph cut method.
  • a terminal S corresponding to a source and a terminal T corresponding to a sink are set.
  • Each super corner 60 is set as a node.
  • an edge TL S is set between the terminal S and each node (super corner 60), and an edge TL T is set between the terminal T and each node (super corner 60).
  • FIG. 8 only the edge TLS between the terminal S and the super corners 60A, 60B, and 60C and the edge TL T between the terminal T and the super corners 60A, 60B, and 60C are shown for convenience of explanation.
  • the other edges TL S and TL T are omitted.
  • step S105 the super corner 60 having the energy amount on the edge TL T side larger than the energy amount on the edge TL S side is extracted as the super corner 60 included in the character area.
  • the energy function is defined as the following formulas (1) to (3).
  • the cost C S about edge TL S is set by the following equation (4)
  • the cost C T for each edge TL T is set as the following equation (5).
  • the function shown in the above equation (4) indicates that the super corner 60 (that is, the feature point 50 included in the super corner 60) is in the background region (region other than the character region).
  • the function is such that the higher the probability of inclusion, the smaller the value. For this reason, the value of the cost CS is reduced when the super corner 60 is included in the background area.
  • the function shown in the above equation (5) is a function whose value decreases as the probability that the super corner 60 (that is, the feature point 50 included in the super corner 60) is included in the character region is higher. For this reason, the value of the cost CT is reduced when the super corner 60 is included in the character area.
  • the number of feature points 50 included in the super corner 60 in the character area is equal to the number of feature points 50 included in the super corner 60 in the background area. Tend to be more than the number of.
  • the length of the super corner 60 included in the character area tends to be longer than the length of the super corner 60 included in the background area. For this reason, the greater the number of feature points 50 included in the super corner 60, the higher the possibility that the super corner 60 is included in the character area. Further, the longer the super corner 60 is, the higher the possibility that the super corner 60 is included in the character area.
  • the equation (4) and (5) the greater the number of feature points 50 included in the super corner 60, the cost C S becomes larger, and is set to cost C T decreases. Further, the formula (4) and (5), the more super corner 60 is long, the cost C S becomes larger, and is set to cost C T decreases.
  • an edge NL is also set between nodes (super corners 60). Then, the node s i (Super corner 60), the node s j (the super corner 60), the cost C N related edge NL between are set as the following equation (6) to (9).
  • the cost C N has a cost C A of the above formula (7) shows, the cost C B of the formula (8) is shown, and the cost C C of the formula (9) is shown It is the sum of
  • the text 32 written in the product image 30 is often a single color and is often aligned in the vertical direction or the horizontal direction. Therefore, for example, like the super corners 60A to 60H shown in FIG. 7, the super corners 60 included in the character area generally tend to be substantially parallel to each other and close to each other. Alternatively, the super corners 60 included in the character area tend to intersect each other. Further, the super corners 60 included in the character area tend to have the same or similar colors.
  • the above equations (6) to (9) are set so that the cost CN is reduced when the two super corners 60 (nodes s i , s j ) are substantially parallel and close to each other.
  • the above equations (6) to (9) are set so that the cost CN is reduced when the two super corners 60 (nodes s i , s j ) intersect.
  • the above equations (6) to (9) are set so that the cost CN is reduced when the colors of the two super corners 60 (nodes s i , s j ) are the same or similar.
  • the function eval (s i , s j ) is a function that becomes smaller as the two super corners 60 (nodes s i , s j ) are parallel or closer to a right angle. Therefore, two super corner 60 (node si, sj) as are close parallel, the cost C A of the above formula (7) is shown smaller.
  • the said Formula (7) shows Gaussian distribution (probability distribution), and the denominator in the said Formula (7) has shown dispersion
  • the function ortho (s i , s j ) is a function indicating the orthogonal relationship between the two super corners 60 (nodes s i , s j ), and the two super corners 60 (node s i , s j ) is a function that becomes a small value when orthogonal. Therefore, two super corner 60 (node si, sj) as are orthogonal, the cost C B of the formula (8) indicates the smaller. Similar to the above equation (7), the above equation (8) indicates a Gaussian distribution (probability distribution), and the denominator in the above equation (8) indicates the variance.
  • the angle formed by the two super corners 60 is 90 degrees, it is not determined that the two super corners 60 are orthogonal if the two super corners 60 do not actually intersect. For example, in the case of the example shown in FIG. 7, since the super corners 60A and 60B actually intersect, it is determined that the super corners 60A and 60B are orthogonal to each other. On the other hand, the angle formed by the super corners 60A and 60D is approximately 90 degrees, but since the super corners 60A and 60D do not actually intersect, it is determined that the super corners 60A and 60D are not orthogonal.
  • cdist (s i , s j ) is a function indicating a color difference between the two super corners 60 (nodes s i , s j ), and is smaller as the color difference is smaller. It is a function that becomes a value. Therefore, as the two super corner 60 (node si, sj) difference in color between small, cost C C of the formula (9) is shown smaller. That is, the two super corner 60 (node si, sj) as is the same color group belongs, the cost C C of the formula (9) is shown smaller. Similar to the above equation (7), the above equation (9) indicates a Gaussian distribution (probability distribution), and the denominator in the above equation (9) indicates the variance.
  • step S105 as described above costs described C S, C T, the sum of C N is minimized, by classifying each node (super corner 60) in the character area or a background area, a character area The included super corner 60 is extracted.
  • step S105 After step S105 is executed, the control unit 11 combines the super corners 60 extracted in step S105 under a predetermined condition (S106).
  • control unit 11 couples the super corners 60 that are close to each other and substantially parallel to each other among the super corners 60 extracted in step S105. That is, when the distance between the substantially parallel super corners 60 is less than the reference distance, the control unit 11 couples the super corners 60. Further, for example, the control unit 11 joins the super corners 60 that intersect each other among the super corners 60 extracted in step S105.
  • the control unit 11 combines the two super corners 60.
  • control unit 11 When combining a plurality of super corners 60, the control unit 11 generates a rectangular region including the plurality of super corners 60 as a combined region formed by combining the plurality of super corners 60.
  • the control unit 11 couples the super corners 60A and 60C.
  • the control unit 11 couples the super corners 60E and 60F.
  • the control unit 11 couples the super corners 60G and 60H.
  • the control unit 11 couples the super corner 60B with the super corners 60A, 60C, 60E, 60F, 60G.
  • the control unit 11 couples the super corner 60D with the super corners 60C, 60E, 60F, 60G, 60H.
  • the control unit 11 connects the super corners 60A to 60H. That is, as shown in FIG. 9, the control unit 11 acquires a rectangular area including the super corners 60A to 60H as a combined area 70 formed by connecting the super corners 60A to 60H.
  • the number of combined super corners 60 is stored in association with the combined region 70. This number is used in step S111 described later.
  • the plurality of super corners 60 are both less than the first threshold (for example, 20 pixels), the plurality of super corners are combined. 60 should not be combined.
  • the character area (the area where the text is written) is a horizontally long or vertically long area.
  • the lengths of the vertical and horizontal sides of the combined area 70 are both short, there is a high possibility that the combined area 70 does not correspond to a character area.
  • region 70 with high possibility not corresponding to a character area will be disregarded, As a result, it becomes possible to improve the detection precision of a character area.
  • the length of the vertical side and the horizontal side of the combined region 70 generated by combining the plurality of super corners 60 is larger than the first threshold value (for example, 20 pixels), and the second threshold value (first threshold value). Larger than a threshold value (for example, 30 pixels), and when the distance between the combined region 70 and the nearest other super corner 60 is equal to or greater than the threshold value, the super corners 60 are not combined. It is good to make it.
  • the coupling region 70 Even if the coupling region 70 is not so large, if there is another super corner 60 in the vicinity of the coupling region 70 (the plurality of super corners 60), the coupling region 70 and the other super corner are included. There is a possibility that a combined area 70 formed by further combining 60 and 60 corresponds to a character area. On the other hand, if there is no other super corner 60 near the combined area 70, the combined area 70 is not likely to correspond to a character area. For this reason, if it carries out as mentioned above, the joint area
  • step S106 the control unit 11 multiplies the variable x by 0.5 (S107), and acquires a reduced image obtained by reducing the original image to x% (S108).
  • the value to be multiplied by the variable x is not limited to 0.5, and another value greater than 0 and smaller than 1 may be multiplied by the variable x.
  • step S108 the control unit 11 determines whether or not the length of at least one of the vertical side and the horizontal side of the reduced image acquired in step S108 is equal to or less than a threshold (for example, 64 pixels) ( S109).
  • a threshold for example, 64 pixels
  • the control unit 11 sets the reduced image acquired in step S108 as a processing target (S110).
  • the control unit 11 executes Steps S103 to S109. In this case, detection of the feature point 50, detection of the super corner 60, and acquisition of the combined region 70 are executed with the reduced image as a processing target.
  • FIG. 10 is a diagram for explaining this significance.
  • a Chinese character indicating “mouth” as shown in FIG.
  • FIGS. 10A to 10C only the vicinity of the portion where the Chinese character indicating “mouth” is described is shown.
  • a feature point 50 (first feature point) as shown in FIG. 10A is detected in step S103.
  • Super corners 60J, 60K, 60L, and 60M are acquired in step S104.
  • the super corners 60J to 60M are not close to each other and do not intersect with each other. Therefore, these super corners 60J to 60M are not coupled. As a result, the character area cannot be sufficiently detected as it is.
  • a feature point 50 (second feature point) as shown in FIG. 10B is detected in step S103.
  • Super corners 60N, 60O, 60P, and 60Q are acquired in step S104.
  • super corners 60 other than the super corners 60N to 60Q are also acquired, but are omitted in FIG.
  • the super corners 60N to 60Q are extracted as the super corner 60 included in the character area in step S105, the super corners 60N and 60O intersect with the super corners 60P and 60Q. Corners 60N-60Q are coupled. That is, as shown in FIG. 10C, a coupling region 70 formed by coupling the super corners 60N to 60Q is generated.
  • the super corners 60 that are close to or intersect each other may not be detected even when the size of characters written in the image (product image 30) is large. Even in such a case, the inconvenience can be solved by detecting the super corner 60 from the reduced image obtained by reducing the image.
  • the image processing apparatus takes into account that depending on the type and size of characters written in the image (product image 30), the super corner 60 may not be sufficiently detected in the original size image. 10, the super corner 60 is detected from a reduced image obtained by reducing the image.
  • steps S103 to S108 are repeatedly executed until the length of at least one of the vertical and horizontal sides of the reduced image becomes equal to or smaller than the threshold value.
  • the case where the length of at least one of the vertical side and the horizontal side of the reduced image is equal to or smaller than the threshold value is a case where the reduced image becomes considerably small. If the image to be processed becomes too small, inconvenience occurs in the detection of the feature point 50 and the super corner 60, etc., and therefore, in the image processing apparatus 10, the length of at least one of the vertical and horizontal sides of the reduced image is equal to or less than the threshold value. Then, steps S103 to S108 are not executed.
  • the control unit 11 acquires the combined area 70 acquired in the original size image (original image) and the reduced image.
  • the character region is detected by integrating the combined region 70 (S111).
  • FIG. 11 is a diagram for explaining the integration of the combined area 70. 11 assumes the case shown in FIG. That is, in FIG. 11, for example, super corners 60J to 60M as shown in FIG. 10A are acquired in the original size image, and the combined area 70 as shown in FIG. 10C is acquired in the reduced image. Is assumed.
  • the control unit 11 enlarges the combined area 70 acquired in the reduced image according to the size ratio between the reduced image and the original size (original size) image. That is, the control unit 11 enlarges the combined area 70 acquired in the reduced image at an enlargement ratio when returning the reduced image to the original size image. That is, the control unit 11 acquires the combined area 70 when the reduced image is enlarged so as to return the reduced image to the original size. For example, when the reduced image is an original size image reduced to 50%, the control unit 11 acquires the combined area 70 when the reduced image is enlarged twice.
  • control unit 11 acquires the character area by integrating the combined area 70 acquired in the original size image and the enlarged combined area 70 acquired in the reduced image. That is, the control unit 11 acquires a rectangular area including the combined area 70 acquired in the original size image and the enlarged combined area 70 acquired in the reduced image. Then, the control unit 11 regards this rectangular area as the character area 80.
  • control unit 11 regards the enlarged combined area 70 acquired in the reduced image as the character area 80. become.
  • the combined area 70 corresponds to a character area
  • the combined area 70 should include a certain number of super corners 60. For this reason, when the combined area 70 acquired in each image (original size image or reduced image) is a combination of less than a predetermined number of super corners 60, such a combined area 70 is changed to another in step S111. It may not be integrated with the combined area 70. That is, such a combined area 70 should not be regarded as a part of the character area. In this way, the detection accuracy of the character area can be improved.
  • the size of the common area of these combined areas 70 is If the combined areas 70 are not more than a predetermined ratio of the area width when the combined areas 70 are integrated, the combined areas 70 may not be integrated.
  • the bonding region 70 extending in the vertical direction intersects with one end of the bonding region 70 extending in the horizontal direction, when the bonding regions 70 are integrated, An area that occupies most of the area is regarded as the character area 80. It is not appropriate to consider such an area as the character area 80. In this regard, by doing as described above, such an area is not regarded as the character area 80, and as a result, the detection accuracy of the character area can be improved. The same may be applied when the super corner 60 is coupled.
  • a corner of an edge (light / dark edge) in the image is detected as the feature point 50.
  • the character area in the image is detected based on the feature points 50. .
  • the image processing apparatus 10 when the image does not include a character, even if there is a large shade difference in the image, the character region is not detected. That is, according to the image processing apparatus 10, when the image does not include the character, it is determined that the character is not included in the image even if the shading difference is large. That is, the image processing apparatus 10 can also be used when it is determined that a character area is not included in the image (when it is determined whether or not a character area is included in the image). .
  • a method for detecting a character area in an image a method of detecting edges (light / dark edges) in an image and detecting a character area based on those edges is also conceivable.
  • the image processing apparatus 10 since the character region is detected by detecting only the edge portion (edge corner) necessary for detecting the character region, all the edge portions in the image are detected. Compared to the case of detection, the entire processing load can be reduced.
  • the image processing apparatus 10 can extract the super corner 60 included in the character area from the super corner 60 acquired from the image by applying the graph cut method.
  • the super corner 60 is acquired also from the reduced image, and as a result, the detection accuracy of the character area is improved.
  • the inner feature point 50 at the corner of the line constituting the character has a background color
  • the outer feature point 50 has a character color.
  • the image processing apparatus 10 when the plurality of super corners 60 are substantially parallel and close to each other, or when the plurality of super corners 60 intersect, the color of the feature point 50 included in the super corner 60 is the super corner 60. Even if they are not the same or similar, the plurality of super corners 60 are combined. As a result, according to the image processing apparatus 10, it becomes possible to detect all the character regions.
  • the present invention can also be applied to the case where a character other than a Chinese character is written in an image.
  • the present invention can also be applied when hiragana or katakana is written in an image.
  • the present invention can also be applied to the case where characters (for example, alphabetic characters, simplified characters, traditional characters, or Hangul characters) corresponding to a language other than Japanese are written on an image.
  • the present invention can also be applied to the case where a character area is detected from an image other than the product image 30.

Landscapes

  • Engineering & Computer Science (AREA)
  • Multimedia (AREA)
  • Computer Vision & Pattern Recognition (AREA)
  • Physics & Mathematics (AREA)
  • General Physics & Mathematics (AREA)
  • Theoretical Computer Science (AREA)
  • Signal Processing (AREA)
  • Artificial Intelligence (AREA)
  • Image Analysis (AREA)
  • Character Input (AREA)
  • Image Processing (AREA)
  • Facsimile Image Signal Circuits (AREA)
PCT/JP2013/065115 2012-08-24 2013-05-30 画像処理装置、画像処理方法、プログラム、及び情報記憶媒体 Ceased WO2014030406A1 (ja)

Priority Applications (1)

Application Number Priority Date Filing Date Title
US14/423,437 US9619700B2 (en) 2012-08-24 2013-05-30 Image processing device, image processing method, program, and information storage medium

Applications Claiming Priority (2)

Application Number Priority Date Filing Date Title
JP2012184906A JP5679229B2 (ja) 2012-08-24 2012-08-24 画像処理装置、画像処理方法、及びプログラム
JP2012-184906 2012-08-24

Publications (1)

Publication Number Publication Date
WO2014030406A1 true WO2014030406A1 (ja) 2014-02-27

Family

ID=50149724

Family Applications (1)

Application Number Title Priority Date Filing Date
PCT/JP2013/065115 Ceased WO2014030406A1 (ja) 2012-08-24 2013-05-30 画像処理装置、画像処理方法、プログラム、及び情報記憶媒体

Country Status (3)

Country Link
US (1) US9619700B2 (enExample)
JP (1) JP5679229B2 (enExample)
WO (1) WO2014030406A1 (enExample)

Families Citing this family (5)

* Cited by examiner, † Cited by third party
Publication number Priority date Publication date Assignee Title
CA2365108A1 (en) 1999-12-23 2001-06-28 David Todjar Hengami Multiple compartment package design
TW201421423A (zh) * 2012-11-26 2014-06-01 Pixart Imaging Inc 影像感測器及其運作方法
WO2017089865A1 (en) * 2015-11-24 2017-06-01 Czech Technical University In Prague, Department Of Cybernetics Efficient unconstrained stroke detector
CN106372632B (zh) * 2016-08-23 2019-04-16 山西同方知网数字出版技术有限公司 一种基于ocr的漏识文字自动检测的方法
JP7031465B2 (ja) * 2018-04-18 2022-03-08 富士フイルムビジネスイノベーション株式会社 情報処理装置及びプログラム

Citations (3)

* Cited by examiner, † Cited by third party
Publication number Priority date Publication date Assignee Title
JPH08212292A (ja) * 1995-02-03 1996-08-20 Matsushita Electric Ind Co Ltd 枠線認識装置
JP2000235618A (ja) * 1999-02-16 2000-08-29 Mitsubishi Electric Corp 文字検出装置
JP2009043265A (ja) * 2007-08-09 2009-02-26 Fujitsu Ltd 字幕領域抽出装置、字幕領域抽出方法および字幕領域抽出プログラム

Family Cites Families (9)

* Cited by examiner, † Cited by third party
Publication number Priority date Publication date Assignee Title
US20060045346A1 (en) * 2004-08-26 2006-03-02 Hui Zhou Method and apparatus for locating and extracting captions in a digital image
JP2007335920A (ja) * 2006-06-12 2007-12-27 Fuji Xerox Co Ltd 画像処理装置および画像処理プログラム
US8351707B2 (en) * 2007-07-31 2013-01-08 Sharp Kabushiki Kaisha Image processing apparatus, image forming apparatus, image processing system, and image processing method
JP5368141B2 (ja) 2009-03-25 2013-12-18 凸版印刷株式会社 データ生成装置およびデータ生成方法
JP5027201B2 (ja) * 2009-10-16 2012-09-19 日本電信電話株式会社 テロップ文字領域検出方法,テロップ文字領域検出装置およびテロップ文字領域検出プログラム
KR101207127B1 (ko) * 2010-03-19 2012-11-30 전남대학교산학협력단 문자 인식 전처리 방법 및 장치
JP5857704B2 (ja) * 2011-12-13 2016-02-10 富士ゼロックス株式会社 画像処理装置及びプログラム
US8917910B2 (en) * 2012-01-16 2014-12-23 Xerox Corporation Image segmentation based on approximation of segmentation similarity
JP6061502B2 (ja) * 2012-06-04 2017-01-18 キヤノン株式会社 画像処理装置、画像処理方法及びプログラム

Patent Citations (3)

* Cited by examiner, † Cited by third party
Publication number Priority date Publication date Assignee Title
JPH08212292A (ja) * 1995-02-03 1996-08-20 Matsushita Electric Ind Co Ltd 枠線認識装置
JP2000235618A (ja) * 1999-02-16 2000-08-29 Mitsubishi Electric Corp 文字検出装置
JP2009043265A (ja) * 2007-08-09 2009-02-26 Fujitsu Ltd 字幕領域抽出装置、字幕領域抽出方法および字幕領域抽出プログラム

Also Published As

Publication number Publication date
JP5679229B2 (ja) 2015-03-04
US9619700B2 (en) 2017-04-11
JP2014044470A (ja) 2014-03-13
US20150213312A1 (en) 2015-07-30

Similar Documents

Publication Publication Date Title
US10885644B2 (en) Detecting specified image identifiers on objects
JP6000899B2 (ja) テキストを自動的に検出する方法
US8971667B2 (en) Digital image auto-resizing
US20090016605A1 (en) System and method for creating an editable template from a document image
US8386957B2 (en) Method for dynamically scaling an original background layout
US8634644B2 (en) System and method for identifying pictures in documents
CN102117269B (zh) 对文档进行数字化的装置及方法
US9176748B2 (en) Creating presentations using digital media content
CN106446881A (zh) 从医疗化验单图像中提取化验结果信息的方法
JP5736767B2 (ja) デジタルメディアの提供方法、印刷媒体及びコンピュータプログラム
CN110674814A (zh) 一种图片识别翻译方法、终端及介质
Saund et al. Pixlabeler: User interface for pixel-level labeling of elements in document images
JP5679229B2 (ja) 画像処理装置、画像処理方法、及びプログラム
US9262679B2 (en) System and method for identification and separation of form and feature elements from handwritten and other user supplied elements
CN107679442A (zh) 单证信息录入的方法、装置、计算机设备及存储介质
JP5539488B2 (ja) 参照背景色に基づく透明化塗りつぶしの判定
CN110276281A (zh) 一种面向移动端的截屏图文识别提取方法及系统
WO2008101422A1 (en) Image searching method and system
CN105830091A (zh) 使用移动视频数据生成长文档的合成图像的系统和方法
US9818028B2 (en) Information processing apparatus for obtaining a degree of similarity between elements
JP3471578B2 (ja) 行方向判定装置、画像傾き検出装置及び画像傾き補正装置
US20130182943A1 (en) Systems and methods for depth map generation
JP2010074342A (ja) 画像処理装置、画像形成装置、及びプログラム
CN120744981A (zh) Pdf文档自动脱敏系统、方法、电子设备及计算机程序产品
CN106951897A (zh) 一种医疗单据相片的倾斜程度判断方法

Legal Events

Date Code Title Description
121 Ep: the epo has been informed by wipo that ep was designated in this application

Ref document number: 13830327

Country of ref document: EP

Kind code of ref document: A1

NENP Non-entry into the national phase

Ref country code: DE

WWE Wipo information: entry into national phase

Ref document number: 14423437

Country of ref document: US

122 Ep: pct application non-entry in european phase

Ref document number: 13830327

Country of ref document: EP

Kind code of ref document: A1