WO2013018249A1 - 画像伝送装置、画像伝送方法、画像受信装置および画像受信方法 - Google Patents

画像伝送装置、画像伝送方法、画像受信装置および画像受信方法 Download PDF

Info

Publication number
WO2013018249A1
WO2013018249A1 PCT/JP2012/002218 JP2012002218W WO2013018249A1 WO 2013018249 A1 WO2013018249 A1 WO 2013018249A1 JP 2012002218 W JP2012002218 W JP 2012002218W WO 2013018249 A1 WO2013018249 A1 WO 2013018249A1
Authority
WO
WIPO (PCT)
Prior art keywords
image data
unit
compression
image
compressed
Prior art date
Legal status (The legal status is an assumption and is not a legal conclusion. Google has not performed a legal analysis and makes no representation as to the accuracy of the status listed.)
Ceased
Application number
PCT/JP2012/002218
Other languages
English (en)
French (fr)
Japanese (ja)
Inventor
甲 展明
野中 智之
小味 弘典
稲田 圭介
Current Assignee (The listed assignees may be inaccurate. Google has not performed a legal analysis and makes no representation or warranty as to the accuracy of the list.)
Hitachi Consumer Electronics Co Ltd
Original Assignee
Hitachi Consumer Electronics Co Ltd
Priority date (The priority date is an assumption and is not a legal conclusion. Google has not performed a legal analysis and makes no representation as to the accuracy of the date listed.)
Filing date
Publication date
Application filed by Hitachi Consumer Electronics Co Ltd filed Critical Hitachi Consumer Electronics Co Ltd
Publication of WO2013018249A1 publication Critical patent/WO2013018249A1/ja
Anticipated expiration legal-status Critical
Ceased legal-status Critical Current

Links

Images

Classifications

    • HELECTRICITY
    • H04ELECTRIC COMMUNICATION TECHNIQUE
    • H04NPICTORIAL COMMUNICATION, e.g. TELEVISION
    • H04N19/00Methods or arrangements for coding, decoding, compressing or decompressing digital video signals
    • H04N19/46Embedding additional information in the video signal during the compression process
    • HELECTRICITY
    • H04ELECTRIC COMMUNICATION TECHNIQUE
    • H04NPICTORIAL COMMUNICATION, e.g. TELEVISION
    • H04N19/00Methods or arrangements for coding, decoding, compressing or decompressing digital video signals
    • H04N19/10Methods or arrangements for coding, decoding, compressing or decompressing digital video signals using adaptive coding
    • H04N19/102Methods or arrangements for coding, decoding, compressing or decompressing digital video signals using adaptive coding characterised by the element, parameter or selection affected or controlled by the adaptive coding
    • H04N19/12Selection from among a plurality of transforms or standards, e.g. selection between discrete cosine transform [DCT] and sub-band transform or selection between H.263 and H.264
    • HELECTRICITY
    • H04ELECTRIC COMMUNICATION TECHNIQUE
    • H04NPICTORIAL COMMUNICATION, e.g. TELEVISION
    • H04N19/00Methods or arrangements for coding, decoding, compressing or decompressing digital video signals
    • H04N19/10Methods or arrangements for coding, decoding, compressing or decompressing digital video signals using adaptive coding
    • H04N19/169Methods or arrangements for coding, decoding, compressing or decompressing digital video signals using adaptive coding characterised by the coding unit, i.e. the structural portion or semantic portion of the video signal being the object or the subject of the adaptive coding
    • H04N19/186Methods or arrangements for coding, decoding, compressing or decompressing digital video signals using adaptive coding characterised by the coding unit, i.e. the structural portion or semantic portion of the video signal being the object or the subject of the adaptive coding the unit being a colour or a chrominance component

Definitions

  • the technical field relates to transmission and reception of video information.
  • HDMI High-Definition Multimedia Interface (HDMI Licensing, LLC registered trademark)
  • VESA Video Electronics Standards Association
  • DisplayPort VESA registered trademark or Trademark
  • Patent Document 1 describes that “a non-compressed video signal or a compressed video signal obtained by compressing a non-compressed video signal with a compression system that can be supported by a receiving device”. For selective transmission, a video signal having a desired bit rate can be satisfactorily transmitted within the transmission bit rate of the transmission path ”(see Patent Document 1 [0048]), and for the compression method,“ data compression ”
  • the units 121-1 to 121-n respectively compress the uncompressed video signal output from the codec 117 with a predetermined compression ratio, and output the compressed video signal.
  • -n constitutes a video signal compression unit, and each of the data compression units 121-1 to 121-n performs a data compression process using a different compression method.
  • the image data adopts a TMDS (Transition Minimized Differential Signaling (registered trademark of Silicon Image, Inc.)) system, and Patent Document 2 is shown as an example.
  • TMDS Transition Minimized Differential Signaling (registered trademark of Silicon Image, Inc.)
  • a color difference signal can be obtained by coordinate conversion using correlation with a luminance signal.
  • a color difference signal processing unit that performs color difference signal processing for narrowing the range, a horizontal compression unit that compresses image data consisting of luminance color difference signals for each image data unit block consisting of a predetermined number of pixels, and image data consisting of luminance color difference signals
  • a vertical compression unit that compresses each image data unit block having a predetermined number of pixels, a storage unit that stores the output of the horizontal compression unit and the output of the vertical compression unit for at least one horizontal effective period, and each image data unit
  • a compression rate / image quality evaluation unit that selects a compression code method based on a block compression rate and an index indicating image degradation due to compression processing, and the compressed image
  • a data transfer unit that outputs over data, the data transfer unit and outputs the compressed code information on the color difference signal processing and the compression processing along with the compressed image data.
  • FIG. 1 illustrates an example of an image transmission device and an image reception device according to a first embodiment.
  • An example of the compression process part of 1st Example An example of a general YCb space.
  • An example of the error correction code generation part of 1st Example An example of the data transmission part of 1st Example.
  • An example of the header of the compression code information packet of 1st Example An example of the data of the compression code information packet of 1st Example.
  • An example of the header of the compression code information packet of 1st Example An example of the data of the compression code information packet of 1st Example.
  • extension process part of 1st Example. An example of the timing of the expansion process of the first embodiment.
  • An example of the compression process part and selection part of 4th Example An example of the compression process part and selection part of 4th Example.
  • a Cb or Cr color difference signal is obtained using a correlation with a Y luminance signal before the image data transmitted by the image transmission apparatus is compressed and transmitted.
  • Pre-processing that improves the compression efficiency of image data by limiting the effective range of the Cb or Cr color difference signal by coordinate conversion, and compression based on the transmission clock synchronized with the pixel clock signal assumed by the original uncompressed image data
  • the image data is transmitted, and the image receiving apparatus performs post processing for decompressing the compressed image data and restoring the Cb or Cr color difference signal limited by using the correlation with the Y luminance signal by coordinate transformation.
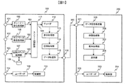
  • FIG. 1 is a block diagram illustrating an image transmission system according to the present embodiment, in which an image transmission apparatus 100 and an image reception apparatus 200 are connected by a cable 300.
  • the image transmission apparatus 100 is an image transmission apparatus that transmits image data.
  • Examples of the image transmission device 100 include a recorder, a digital TV with a built-in recorder function, a personal computer with a built-in recorder function, a camcorder, and a mobile phone with a camera function.
  • the image receiving apparatus 200 is a display device that inputs image data and outputs an image to a monitor using an HDMI cable or the like.
  • Examples of the image receiving apparatus 200 include a digital TV, a display, and a projector.
  • the cable 300 is a data transmission path for performing data communication such as image data between the devices of the image transmission device 100 and the image reception device 200.
  • data communication such as image data between the devices of the image transmission device 100 and the image reception device 200.
  • the cable 300 there is a wired cable corresponding to the HDMI standard or the DisplayPort standard, or a data transmission path for performing wireless data communication.
  • the input units 101, 102, and 103 are input units for inputting image data to the image transmission apparatus 100.
  • An example of image data input to the input unit 101 is digital broadcasting input as radio waves from a relay station such as a broadcasting station or a broadcasting satellite.
  • the input unit 101 receives radio waves from a relay station such as this broadcasting station or broadcasting satellite.
  • Examples of image data input to the input unit 102 include digital broadcasts distributed via a network and information content using an Internet broadband connection.
  • image data input to the input unit 103 content recorded on an external recording medium connected to the input unit 103, or recorded on a recording medium 108 built in the image transmission apparatus 100.
  • the external recording medium connected to the input unit 103 or the recording medium 108 built in the image transmission apparatus 100 include an optical disk, a magnetic disk, and a semiconductor memory.
  • the tuner reception processing unit 105 is a reception processing unit that converts an input radio wave into a bit stream.
  • the radio wave of the RF band (Radio Frequency) is frequency-converted to an IF band (Intermediate Frequency) and does not depend on the reception channel.
  • a modulation operation applied to the demodulated bit stream for transmission as a fixed band signal is demodulated.
  • bitstreams include an MPEG2 transport stream (hereinafter referred to as MPEG2-TS), a bitstream having a format conforming to MPEG2-TS, and the like.
  • MPEG2-TS MPEG2 transport stream
  • bitstream having a format conforming to MPEG2-TS bitstream having a format conforming to MPEG2-TS
  • the following bit stream will be described with MPEG2-TS as a representative.
  • the tuner reception processing unit 105 further detects and corrects a code error that occurs during transmission, and after the descrambling of the error-corrected MPEG2-TS, a program for viewing or recording is multiplexed. One transponder frequency is selected, and the bit stream in the selected one transponder is separated into audio and video packets of one program.
  • the MPEG2-TS from the tuner reception processing unit 105 is supplied to the stream control unit 111 through the data bus 181.
  • the stream control unit 111 performs PTS (Presentation Time Stamp) that is time management information from the received packet, and MPEG system reference decoding
  • PTS Presentation Time Stamp
  • STC System Time Clock
  • the STC System Time Clock
  • the packet with the time stamp added is supplied to either one or both of the decoder 112 and the recording media control unit 107.
  • the data path 184 to the decoder 112 is used for processing when viewing image data
  • the data path 183 to the recording medium control unit 107 is used when recording image data on a recording medium.
  • the MPEG2-TS input from the input unit 102 via the network reception processing unit 106 is input to the data bus 182 of the stream control unit 111.
  • the data path 182 is an input unit that acquires digital broadcast or digital content distributed via a network.
  • the stream control unit 111 selects at least one of these inputs and outputs it to the decoder 112.
  • the decoder 112 decodes the MPEG2-TS input from the stream control unit 111 and outputs the generated image data to the display processing unit 113.
  • the display processing unit 113 performs, for example, OSD (On Screen Display) superimposition processing or enlargement / reduction processing on the input image data, and then outputs the processed image data to the compression processing unit 114.
  • OSD On Screen Display
  • the compression processing unit 114 performs compression processing on the image data from the display processing unit 113 and outputs it to the data transmission unit 115.
  • the data transmission unit 115 converts the image data into a signal in a format suitable for transmission and outputs it from the output unit 116.
  • a signal in a format suitable for transmission a format suitable for transmission by cable is described in the HDMI standard.
  • image data adopts a TMDS data transmission format.
  • the input unit 104 is an input unit for inputting a signal for controlling the operation of the image transmission apparatus 100.
  • An example of the input unit 104 is a remote control receiver.
  • a control signal from the input unit 104 is supplied to the user IF 109.
  • the user IF 109 outputs a signal from the input unit 104 to the control unit 110.
  • the control unit 110 controls the entire image transmission apparatus 100 according to the signal from the input unit 104.
  • An example of the control unit 110 is a microprocessor. Image data from the image transmission apparatus 100 is supplied to the image reception apparatus 200 via the cable 300.
  • the input unit 201 receives a signal in a format suitable for transmission.
  • the signal input to the input unit 201 is supplied to the data reception processing unit 205.
  • the data reception processing unit 205 performs processing for converting a signal in a format suitable for transmission into predetermined digital data, and outputs the converted digital data to the expansion processing unit 206.
  • the decompression processing unit 206 decompresses the image data compressed by the compression processing unit 114 in the image transmission apparatus 100 and outputs it to the display processing unit 207.
  • the display processing unit 207 performs display processing on the input image data. Examples of display processing include OSD superimposition processing, enlargement / reduction processing for conversion to the resolution of the display unit 208, frame rate conversion processing, and the like.
  • the output of the display processing unit 207 is output to the display unit 208.
  • the display unit 208 converts the input image data into a signal suitable for the display method and displays it on the screen.
  • Examples of the display unit 208 include a display unit such as a liquid crystal display, a plasma display, and an organic EL (Electro-Luminescence) display.
  • the input unit 202 is an input unit for inputting a signal for controlling the operation of the image receiving apparatus 200.
  • An example of the input unit 202 is a remote control receiver.
  • a control signal from the input unit 202 is supplied to the user IF 203.
  • the user IF 203 outputs a signal from the input unit 202 to the control unit 204.
  • the control unit 204 is a control unit that controls the entire image receiving apparatus 200 in accordance with a signal from the input unit 202.
  • FIG. 2 is a block diagram illustrating an example of the configuration of the compression processing unit 114.
  • the input unit 130 is an input unit for inputting image data to the compression processing unit 114.
  • the input image data is supplied to the YCbCr processing unit 131. If the input image data is an RGB primary color signal, the YCbCr processing circuit converts it into a YCbCr luminance color difference signal using a predetermined conversion formula based on colorimetric information added to the image data.
  • format information such as the horizontal and vertical frequencies of the image signal, for example, ITU-R BT709 (hereinafter abbreviated as BT709) for HD images and ITU-R BT601 (hereinafter abbreviated as SD video).
  • BT709 ITU-R BT709
  • SD video ITU-R BT601
  • Conversion processing is performed based on the prescribed colorimetry and conversion formula. If the input image data is a YCbCr luminance color difference signal, this conversion processing is not necessary.
  • FIG. 3 is an explanatory diagram of the YCb space defined by BT709 applied to HD images.
  • the values of Y and Cb indicate both the normalized value and the 8-bit quantized value, and these definitions are described in detail in the BT709 standard.
  • the range 702 in which the normalization Y is 0 to 1 and the normalization Cb is -0.5 to +0.5 is used.
  • the area 703 in which the normalization Y exceeds 1 is called Over White, and the area less than 0 is called Over Black. Yes.
  • a parallelogram-shaped region 707 surrounded by points 708 and 709, 710, and 711 indicates a region in which the values of the normalized R, G, and B are 0 to 1 when converted into RGB primary color signals. .
  • each normalized R, G , B indicates a negative region, and is a region that is not normally used.
  • the xvYCC standard defined in IEC 61996 2-4 is known in which the color expression range is expanded by using the outside region 707, the region 705, and the region 706 which are not normally used.
  • FIG. 4 shows a parallelogram-shaped area 717 obtained by converting the parallelogram-shaped area 707 by converting the left and right sides in parallel with the Y-axis.
  • the arrows in the figure indicate movements by converting each coordinate.
  • Normalization (Cb, Y) (0, 0.5) is taken as the center where the coordinates do not move by coordinate transformation.
  • Y is not converted and only the Cb value is moved.
  • By not converting Y there is also an advantage that the same Y can be used in common even in the case of performing Cr range reduction by similar coordinate conversion in the YCr space.
  • the normalized Cb range 714 of the parallelogram-shaped region 717 is -0.2695 to 0.2695, and the normalized Cb range of the parallelogram-shaped region 707 before conversion is -0.5 to 0. Compared to 5, it can be reduced to about 54%.
  • the subsequent compression encoding can be efficiently performed.
  • the area defined by the xvYCC standard is not all, but the area around the parallelogram area 707 is maintained around the parallelogram area 717 after coordinate conversion. Therefore, transmission of the Cb area defined by the xvYCC standard is possible.
  • FIG. 5 shows an example of coordinate conversion in the YCb space in which the coordinate conversion calculation at the time of 8-bit quantization is further simplified.
  • the amount of movement of the quantized Cb is (quantized Y ⁇ 128) / 2, and the amount of computation in binary numbers is particularly reduced. Therefore, the quantized Cb after the coordinate conversion is (quantized Cb + (quantized Y ⁇ 128) / 2), and the decimal part is rounded down.
  • the normalized Cb range of the parallelogram-shaped area 727 after the coordinate conversion is in the range of ⁇ 0.2861 to 0.2861, and the reduction effect is slightly reduced as compared with the embodiment in FIG. 4, but it can still be reduced to about 57%.
  • the amount of movement of the quantized Cb may be (quantized Y-2048) / 2.
  • the advantage of the simplified calculation method shown in FIG. 5 is not only the reduction of the coordinate conversion calculation amount but also the reversible calculation that can be completely restored in the restoration calculation to the original coordinates after the coordinate conversion because the movement amount is an integer. That is. If the movement amount is defined as an integer, the advantage of reversible operation can be realized. That is, not only the movement amount (quantization Y ⁇ 128) / 2 but also a mathematical expression such as (quantization Y ⁇ 128) ⁇ 5/8 may be processed as an integer.
  • FIG. 6 shows the vertex coordinates of a parallelogram-shaped region in which the normalized RGB primary color signal is in the range of 0 to 1 before and after coordinate conversion to reduce the range of Cb and Cr in the BT709 standard YCb space and YCr space, respectively. It is shown.
  • the coordinate conversion results obtained by the minimum Cb range method described in FIG. 4 and the simple processing method described in FIG. 5 are compared.
  • the first line is normalized
  • the second line is 8-bit quantization
  • the third line is 12-bit quantization
  • the fourth line is 12-bit quantization
  • the fifth line is 16-bit quantized coordinates. From these conversion results, it can be seen that Cr can be compressed to a minimum Cr range of about 64% and a simple processing Cr range of about 72%.
  • the output of the YCbCr processing unit 131 whose operation has been described above is supplied to the thinning processing unit 132, the horizontal compression unit 133, and the vertical compression unit 134.
  • FIG. 7 and 8 are diagrams illustrating an example of image data input to the input unit 130.
  • FIG. A luminance signal of n pixels in the horizontal direction and m lines in the vertical direction is shown.
  • the color difference signal has the same format as the luminance signal.
  • the unit block of the image data compressed by the compression unit 114 is assumed to be 1 pixel in the horizontal direction and k pixels in the vertical direction.
  • the horizontal compression unit 133 compresses this image data unit.
  • the vertical compression unit 134 compresses the unit block of the image data. That is, k1 and k2 (k1 ⁇ k2) image data unit blocks having different numbers of k pixels (lines) in the vertical direction are prepared, the horizontal compression unit 133 sets the image data unit block of k1, and the vertical compression unit 134 sets k2. Compress the image data unit block.
  • a compression unit having a different k3 can be added, and the output of three or more compression units can be selected and used to further increase the compression efficiency.
  • the Cb component and Cr component of the color difference signal become nested data for each pixel.
  • the Cb component and Cr component of the color difference signal are data for one pixel with respect to four Y signal pixels.
  • the horizontal compression unit 133 and the vertical compression unit 134 reduce the compression efficiency to the 422 format or 420 format if the predetermined compression rate does not reach the predetermined compression rate. May be increased.
  • the 420 processing unit 132 When the 444 format or the 422 format is input, the 420 processing unit 132 performs a thinning process to the 422 format or the 420 format according to a predetermined compression rate.
  • the horizontal compression unit 133 includes a compression circuit that compresses a plurality of image data in the horizontal direction.
  • Wavelet transform is calculated in the horizontal direction, and the calculation result is configured by an encoded compression method or the like.
  • a compression method Hadamard transform, run length coding, Huffman coding, differential coding, or the like may be applied.
  • the vertical compression unit 134 includes a compression circuit that compresses a plurality of pieces of image data in the vertical direction.
  • a compression method as a unit block of image data for compressing image data of 2 lines in the vertical direction and 16 pixels in the horizontal direction, a difference is first taken in the vertical direction, and then a difference is taken in the horizontal direction. .
  • the result is configured by a compression method for encoding the result.
  • the compression rate of the thinning processing unit 132, the horizontal compression unit 133, and the vertical compression unit 134 is, for example, 2/3, 1/2, or 1/3 of the compressed image data with respect to the original uncompressed image data. Any compression method that can compress at a predetermined compression rate may be used (however, the present invention is not limited to this compression rate). This predetermined compression rate is determined from the ratio of the original uncompressed image data and the amount of data that can be transmitted by the cable.
  • the unit of image data to be compressed by the horizontal compression unit 133 and the vertical compression unit 134 is composed of the number of pixels that reduces the delay amount due to the compression processing.
  • 32 pixels have been described as an example.
  • a unit of 64 pixels or 128 pixels may be used.
  • the selection unit 135 selects the output of the thinning processing unit 132, the horizontal compression unit 133, or the vertical compression unit 134 that satisfies a predetermined compression ratio and has a high image quality index, and supplies the selected one to the error correction code generation unit 136.
  • the image quality index may be an index that indicates a better value as the difference between the image data restored from the compressed image data and the image data before compression is smaller, for example. The highest value is when lossless compression does not occur and lossless encoding is possible.
  • an image quality index value may be prepared for each compression method.
  • a case where lossless encoding can be performed after thinning out to 422 format may be defined as a higher image quality index than when compression loss occurs when compression is performed in the 444 format.
  • a predetermined compression ratio can be achieved by thinning out to 422 format or 420 format and reducing the number of quantization bits. Set the appropriate image quality index.
  • the error correction code generation unit 136 calculates an error correction code for each unit of image data compressed by the horizontal compression unit 133 or the vertical compression unit 134, adds the error correction code to the compressed image data, and a compression code information addition unit 137. Output to.
  • One of error correction methods is a CRC (Cyclic Redundancy Check) method or a parity check method.
  • the image data thinned out by the thinning-out processing unit 132 may not be given an error correction code.
  • thinning processing even if an error occurs, it is an error of the thinning pixel adjacent to the corresponding pixel, there is little influence on the image quality when viewed from the whole screen, and furthermore, when the data transmission capacity of the cable is limited, This is because when an error correction code is added, more pixels or gradations are thinned out, leading to image quality deterioration of the entire screen. If the transmission capacity is sufficient, an error correction code may be added to the thinned-out image data to improve error tolerance.
  • Whether or not error correction processing is to be performed may be determined on the reception side by transmitting together with metadata indicating whether or not error correction is added to the thinned image data. Further, the error resistance level may be changed by changing the error correction processing between the thinned image data and the compressed image data, and information indicating which error correction code is given may be added as metadata.
  • the compression code information adding unit 137 outputs the compressed image data with the error correction code in the effective period 406 of FIG. 11 described later, and outputs the compression code information indicating the compression method in the immediately preceding horizontal blanking period 404.
  • compressed image data with an error correction code for one line and compressed code information indicating the compression method are transmitted within an effective period 406 for one line to increase the transmission amount. Also good.
  • the error correction code may be output in the horizontal blanking period 404 to improve the error correction reliability.
  • the output unit 138 outputs the compressed image data with error correction code from the compression code information adding unit 137 and the compression code information indicating the compression method. Although not shown, the operation of each block in FIG. 2 is controlled according to the control signal of the control unit 110 in FIG.
  • FIG. 9 is a block diagram illustrating an example of the configuration of the error correction code generation unit 136.
  • the input unit 150 receives compressed image data.
  • the compressed image data is input to the holding unit 155 and the error correction code calculation unit 153.
  • the error correction code calculation unit 153 performs a cyclic calculation with the generator polynomial on the input compressed image data.
  • This generator polynomial takes an exclusive OR for each bit in the input image data and performs a cyclic operation.
  • the unit of calculation is a unit of image data to be compressed.
  • the input unit 151 receives a signal indicating a period during which the compressed image data is input, and supplies the signal to the timing generation unit 154.
  • the timing generation unit 154 counts the effective period of the compressed image data, and outputs a signal indicating that the calculation for the unit block of the image data to be compressed has been processed to the data holding unit 155 as an error correction calculation result output timing signal. Output.
  • the timing generation circuit 154 also outputs a timing signal indicating the input period of the compressed image data, a timing signal for outputting the compressed image data and the error correction code calculation result, and the like to the data holding unit 155.
  • the data holding unit 155 temporarily stores the calculation result of the error correction code calculation unit 153 and the compressed image data by, for example, a memory, flip-flop, delay element, or the like according to the timing indicated by the timing generation unit 154, and sequentially stores them. To the output unit 157.
  • FIG. 10 is a block diagram illustrating an example of the configuration of the data transmission unit 115.
  • the input unit 170 outputs the compressed image data to the serializer 174.
  • the input unit 172 receives a clock of image data and outputs the clock to the PLL 173 and the output unit 177.
  • As the clock of the image data a clock synchronized with the pixel clock used in the standard timing format of the uncompressed image data is used.
  • a clock obtained by dividing the pixel clock of uncompressed image data by two may be used.
  • the uncompressed image data is 12-bit quantized image data
  • the clock is 1/2 and the number of quantization bits is 8/12, so the predetermined compression rate is set to 1/3 or less. There is a need to.
  • the clock may be multiplied by 3/4 or 2/3 in addition to dividing by 2.
  • a clock synchronized with the pixel clock of the uncompressed image data for transmission of the compressed image data when restoring the uncompressed image data on the receiving side, it is 2 times, 4/3 times, 3/2 times the transmission clock.
  • the multiplied clock By using the multiplied clock as the pixel clock, there is an advantage that the jitter of the restored data can be minimized.
  • the PLL 173 generates a clock obtained by multiplying or dividing the input clock. Examples of multiplication include 5 times and 10 times the frequency of the input clock.
  • the clock generated by the PLL 173 may be one type of clock or two types of clocks. An example of one type of clock is 10 times the input clock. Examples of the two types of clocks include a first clock speed that prioritizes the amount of data transmission and a second clock speed that is slower than the first clock speed that prioritizes lowering the frequency of error occurrence. is there. As an example of the speed, the first clock speed is multiplied by 10 of the input clock, and the second clock speed is multiplied by 5 of the input clock.
  • the multiplied clock generated by the PLL 173 is output to the serializer 174.
  • the serializer 174 serializes the compressed image data of the input YCbCr luminance color difference signal bit by bit with a clock multiplied by 10 and outputs the serialized data to the level conversion unit 175.
  • TMDS transmission method that suppresses the DC component of the bit stream that is serialized by mapping the 8-bit data to 10 bits when there is 8 bits of data input to the input unit 170 for one clock input to the input unit 172 May be used.
  • 24 bits of compressed image data per input clock can be sent by performing the serial processing for each cable.
  • the level conversion unit 175 outputs a signal in a format suitable for cable transmission via the output unit 176.
  • FIG. 11 is a diagram illustrating an effective region in which image data of one frame period is superimposed and a blanking period in which image data is not superimposed.
  • a region indicated by 400 indicates a vertical period, and the vertical period 400 includes a vertical blanking period 401 and a vertical effective period 402.
  • the VSYNC signal is a 1-bit signal in which 1 is set between the number of lines defined from the top of the vertical blanking period 401 and 0 is set between the other vertical blanking periods and the vertical effective period 402.
  • An example of the prescribed number of lines is 4 lines.
  • the HSYNC signal is a 1-bit signal in which 1 is set between the number of pixels defined from the head of the horizontal blanking period 404 and 0 is set between the other horizontal blanking periods and the horizontal effective period 405.
  • An example of the prescribed number of pixels is 40 pixels.
  • the effective period 406 indicates an area surrounded by a vertical effective period 402 and a horizontal effective period 405, and image data is allocated to this period.
  • the blanking period 407 is an area surrounded by a vertical blanking period 401 and a horizontal blanking period 404.
  • information indicating the compression transmission method is transmitted in the vertical blanking period, compressed image data is transmitted in the effective period 406, and each compression encoding is performed in the horizontal blanking period 404 of the line.
  • the compression code information selected for each image data unit block is transmitted.
  • the blanking period 407 data obtained by packetizing audio data and other attached data is transmitted.
  • a method for sending a packet of voice data or the like in the blanking period 407 is disclosed in, for example, Japanese translations of PCT publication No. 2005-514873.
  • the error correction code is included in the packet data in the blanking period, it is possible to correct an error that has occurred in the transmission path, and the error resistance becomes strong.
  • the data for data transmission of the packet in the blanking period is configured to be transmitted to two physically different channels, and the channel to be transmitted is switched every certain time. Since the other channel is not affected by the error, the data error can be corrected.
  • the error correction rate has an improvement effect of 10-14 in the horizontal blanking period compared to 10-9 in the horizontal effective period.
  • a very high clock frequency of 891 MHz is required.
  • the high clock frequency not only increases the cost of the transmission / reception unit, but also shortens the cable length capable of stably sending an image, resulting in poor usability.
  • horizontal 3840 effective pixels and vertical 2160 effective lines for example, horizontal 560 blanking pixels and vertical 90 blanking lines.
  • a horizontal 3840 effective pixel, a vertical 2160 effective line, a YCbCr luminance / chrominance signal 12 bits each in 444 format, and a video signal having a frame frequency of 60 Hz is compressed to 1/3 will be described.
  • the compressed clock frequency is 297 MHz, and if the transmission is performed under the conditions of horizontal 1940 effective pixels, vertical 2160 effective lines, horizontal 280 blanking pixels, and vertical 90 blanking lines, the original clock 594 MHz, which is twice the frequency, is stabilized on the receiving side. Easy to play.
  • the horizontal effective pixel period by compressing each 12-bit YCbCr luminance color difference 12 bits total 36 bits to 1/3 of 12 bits, it is possible to transmit 24 bits per compressed pixel, so transmission of 2 pixels of the original pixel is possible.
  • the later clock frequency is half that of the original clock.
  • each compression code system information of YCbCr luminance color difference signal for 120 blocks since it is a horizontal 3840 effective pixel, each compression code system information of YCbCr luminance color difference signal for 120 blocks, a total of 360 description spaces are required. If the compressed code information is expressed in 2 bits, for example, it becomes a description space of 90 bytes and can be transmitted in 4 packets, so that it can be compatible with large-capacity audio data transmission of 192 kHz and 8 ch. An example of a packet is shown in FIGS.
  • FIG. 12 and FIG. 14 are examples of packet headers, and a common header type 0Bh is described in the first header block HB0, which indicates information related to the compression-encoding transmission system of the present invention.
  • Each bit of HB1 and Bits 4 to 7 of HB2 are set to 0 for future expansion.
  • Eco_Packet # shown in Bits 0 to 3 of HB2 indicates identification within the frame.
  • FIGS. 13 and 15 are examples of 28-byte data transmitted following the header.
  • Eco_Packet # is assigned 0h, indicating that the packet composed of the header of FIG. 12 and the data of FIG. 13 is common information in each frame.
  • This packet is arranged during the vertical blanking period and is transmitted at least once for each image frame.
  • the contents of the data in FIG. 13 will be described.
  • Color_Sample indicates color sample information, for example, 0 is YCbCr444 format, 1 is YCbCr422 format, 2 is YCbCr420 format, 3 is RGB444 format, and 4 to 7 are for future expansion.
  • a bit indicating CbCr sample position information may be additionally allocated.
  • CD is Color Depth, for example, 4h is each YCbCr component 8bit total 24bit Color, 5h is each YCbCr component 10bit total 30bit Color, 6h is each YCbCr component 12bit total 36bit Color, 7h is each YCbCr component 16bit total 48bit Color is shown, others are for future expansion. This definition conforms to the definition of Deep Color Mode defined by HDMI.
  • Eco_CbCr indicates application information of the coordinate conversion of Cb and Cr described in FIG. 4 and FIG. If 0, no coordinate transformation is applied, 1 is the simple coordinate transformation explained in FIG. 5, 2 is the coordinate transformation minimizing the Cb or Cr range explained in FIG. 4, and 3 is the CbCr range minimized. Further, coordinate conversion with coefficient compression is shown. 4 to 7 are for future expansion. When the Color_Sample specifies the RGB444 format, this coordinate conversion is invalid, and an unapplied 0 may be described. Next, coefficient compression will be described.
  • the effective range region of Cb is a range of 68 to 188 at the time of 8-bit quantization, and the range width can be expressed by 7 bits, which is 1 bit, 121.
  • the minimum Cr range in FIG. 6 cannot be expressed by 143 and 7 bits in the range of 57 to 199 and the range width at the time of 8-bit quantization.
  • each reduction coefficient of Cb and Cr is indicated by a value obtained by dividing the 8-bit data of Cb_Factor and Cr_Factor in FIG.
  • the 00h notation indicates a reduction factor of 1.00, that is, no factor compression.
  • the number of quantized bits after the coefficient reduction is smaller than the number of quantized bits in the original space.
  • Cb_Factor and Cr_Factor are 129 to 255, 0 is 1 bit, 65 to 128 is 2 bit, 33 to 64 is 3 bit, It shall be reduced by 4 bits. Even if the number of gradations of the CbCr color difference signal is reduced with respect to the Y luminance signal, since the influence on the image quality is relatively small, the data amount compression by this method is effective.
  • 64 is normalized CbCr 0.00 and quantization data 1 to 126 is used.
  • 0 and 255 before coordinate conversion are transmitted as 0 and 127, respectively.
  • Cb_Factor is 128.
  • the data after coefficient compression is 10 bits less by 2 bits, and 512 is normalized Cb 0.00, and quantized data 1 to 1022 is used. 0 and 4095 before coordinate conversion are transmitted as 0 and 1023.
  • the YCbCr luminance and color difference signals of 8 bits total of 24 bits are used as one pixel instead of non-compressed transmission without using the horizontal or vertical compression unit at the subsequent stage.
  • Uncompressed transmission can be performed with a total of 24 bits of 10 bits for the Y luminance signal and 7 bits for each of the CbCr color difference signals as one pixel.
  • Smooth gradation expression can be realized by adding 2 bits to the Y luminance signal having high visibility and transmitting it.
  • the lower 2 bits of the 10-bit Y luminance signal may be assigned to the lower 1 bit of 8 bits, one bit at a time.
  • Eco_FLM is set to 1 when the compression code system of all the blocks in the frame is the same, and is set to 0 when set for each block.
  • the Y-, Cb-, and Cr-compression code systems are described in Eco-CD0, Eco-CD1, and Eco-CD2, which will be described later.
  • the ratio (CK_N / CM_M) of CK_N and CK_M indicates a frequency ratio between a pixel clock of uncompressed image data and a clock of a communication path for transmitting the compressed data, for example, a TMDS clock.
  • Eco_Block indicates the number of pixels of the compressed pixel unit block.
  • Eco_CD0 to Eco_CD3 indicate four types of compression coding information candidates to be applied to each image data unit block. As shown in FIG. 16, four types are selected from compression code information Eco_Code for each image data unit to be compressed.
  • One or more packets including the header of FIG. 14 and the data of FIG. 15 are transmitted in each horizontal blanking period.
  • Eco_Packet # in the header of FIG. 14 indicates the serial number of this packet transmitted to each line, and starts from 1 and is incremented by 1.
  • Code_0 to Code_111 shown in FIG. 15 describe the Y, Cb, and Cr components in order in each image data unit block, with numbers selected from the four types of compression encoded information described in Eco_CD0 to Eco_CD3 in FIG. . For example, if Code_0 indicating the compression code information of the Y component of the first image data unit block is 1, it indicates Eco_CD1. If Eco_CD1 indicates 10, it indicates that data obtained by compressing the 444 format Y component of the original image data by the differential encoding method from FIG.
  • Code_0 of the first line is compression code information of the image data unit block 503
  • Code_0 of the second line is compression code information of the image data unit block 504.
  • Code_1 is Cb compression code information of the first image data unit block
  • Code_2 is Cr compression code information of the first image data unit
  • Code_3 is second image data.
  • the Y compression code information of the unit block is shown.
  • Color_Sampl indicates 420 format
  • Code_1 is Y compression code information of the second image data unit block
  • Code_2 is compression code information of Cb (Cr in even lines) of the first and second image data units
  • Code_3 indicates Y compression code information of the third image data unit block.
  • Code_1 is Cb compression code information of the first and second image data unit blocks
  • Code_2 is Y compression code information of the second image data unit
  • Code_3 is the first and second image data unit blocks.
  • Cb compression code information of the second image data unit block is shown.
  • Code_0 indicates Eco_CD0
  • Eco_CD0 indicates 6
  • the 444 format Y, Cb, and Cr component 12-bit data of the original image data is thinned out to 420 format 8 bits from FIG. It is shown that.
  • the transmission form of Cb and Cr is determined only by Y component Code_0, information of Code_1 indicating the Cb component and Code_2 indicating the Cr component is unnecessary, and 0 may be described.
  • the image receiving device 200 is equipped with a ROM that stores EDID (Enhanced Extended Display Identification Data) indicating the performance of the image receiving device 200.
  • Information for determining whether or not the image receiving apparatus 200 supports compression / decompression may be added to the ROM.
  • the image transmission apparatus 100 reads information for determining whether or not it supports compression / decompression from the ROM storing the EDID of the image reception apparatus 200, and if it is a compatible apparatus, the compressed image data If the device is non-compatible, the image can be transmitted in a conventional size without being compressed, and compatibility with an image reception device not compatible with compression processing can be maintained.
  • the user can be notified by displaying on the display unit 208 that the image receiving apparatus is incompatible with compression and has a conventional image size.
  • FIG. 17 shows a description example of this EDID.
  • FIG. 17 shows an example of extension to an area called HDMI-VSDB.
  • An Eco_transfer flag indicating whether or not the compression encoding transmission system of the present invention can be supported is provided in Bit 2 of the 6th byte. Since this area has been treated as a reserved area, it is described as 0 for non-compliant legacy devices, and backward compatibility can be maintained by describing only 1 for compatible devices. When the Eco_transfer flag is 1, the description of Byte 9 and Byte 10 is valid.
  • Eco_CbCr of Bit 0 and 1 indicates whether or not the coordinate conversion of the CbCr color difference signal can be supported, and corresponds to the lower 2 bits of Eco_CbCr in FIG.
  • Block_64 and Block_128 are flags indicating that the size of the image data unit block to be compressed corresponds to 64 pixels and 128 pixels, respectively.
  • the image data unit block size of 32 pixels is defined as an indispensable mode in correspondence with the transmission of the compressed image data, and is not intentionally written in order to save EDID description space.
  • Eco-Codes 1 to 4 are flags indicating that they are compatible with the compression coding method, Wavelet transform, run-length coding, Huffman coding, and differential coding, which are shown as examples in FIG.
  • CLK_1, CLK_3 / 4, and CLK_1 / 2 are flags indicating that the mode corresponds to the mode in which the frequency of the TMDS transmission clock is 1 time, 3/4 time, and 1/2 time with respect to the uncompressed image data clock, respectively. is there.
  • the image transmission apparatus 100 when used as a portable device, it becomes a battery-powered apparatus, so the power consumption of the image transmission apparatus 100 affects the continuous use time.
  • image data can be compressed and transmitted to reduce the amount of data transmission and reduce power consumption.
  • This effect is achieved by adding a function such as “power saving mode” as an operation mode of the image transmission apparatus 100, and when power is supplied from the outside, the image transmission apparatus 100 is transmitted by non-compressed image data and driven by a battery.
  • the continuous use time can be set longer by compressing and transmitting the image data.
  • FIG. 18 is a block diagram illustrating an example of the configuration of the data reception processing unit 205.
  • the input unit 220 outputs the signal converted by the level conversion unit 175 of the image transmission apparatus 100 to the level conversion unit 222.
  • the level conversion unit 222 converts the signal level-converted by the image transmission apparatus 100 into a digital signal and outputs the digital signal to the deserializer 223.
  • An example of level conversion is conversion of a differential signal to a single-ended signal.
  • the input unit 221 inputs the clock output from the image transmission apparatus 100 and outputs it to the PLL 224.
  • the PLL 224 generates a clock 10 times the input clock and outputs the generated clock to the deserializer 223.
  • the PLL 224 outputs a pixel clock used in the image receiving apparatus 200 from the output unit 226.
  • the clock output by the PLL 224 multiplied by (CK_M / CK_N) times is output from the output unit 226 based on the packet data of FIG. To do.
  • the deserializer 223 parallelizes the serialized data with the clock from the PLL 224 and outputs it from the output unit 225.
  • the deserializer 223 parallelizes the 10-times clock data, and outputs the data from the output unit 225 as 8-bit parallel data by predetermined TMDS decoding, for example.
  • FIG. 19 is a block diagram illustrating an example of the configuration of the decompression processing unit 206.
  • FIG. 20 is a timing explanatory diagram showing a processing concept of the decompression processing unit 206.
  • the input unit 250 is a data input unit of the decompression processing unit 206.
  • the data input to the input unit 250 includes HSYNC (FIG. 20 (a)) indicating a synchronization signal of image data and VSYNC.
  • HSYNC FIG. 20 (a)
  • image data 512 and 514 compressed in the effective period 406 there are image data 512 and 514 compressed in the effective period 406, and compression code information 511 and 513 in the horizontal blanking period 404.
  • the input unit 251 receives a pixel clock of uncompressed image data after restoration, a compressed image data clock, and the like.
  • the timing generation unit 252 controls the counter based on the input HSYNC and VSYNC, and starts and expands the timing of the vertical blanking period 401, the vertical valid period 402, the horizontal blanking period 404, the horizontal valid period 405, the valid period 406, and the like. Generates and outputs timing necessary for control of each block in the processing unit.
  • the compression code information extraction unit 253 extracts the compression code information of each image data unit block sent during the horizontal blanking period and stores it in the compression code information storage unit 254.
  • the storage period is shown in FIG. Since the compression code information 511 is data corresponding to the subsequent compressed image data 512, a storage period 515 until the compression code information 513 of the second line comes is sufficient. However, for example, when two lines of image data are vertically compressed, it is necessary to hold only the compression code information 516 for vertical expansion until a period during which the compressed image data of the second line is expanded.
  • Compressed image data sent within the horizontal effective period is subjected to transmission system error correction processing by the error correction unit 255.
  • the error correction unit 255 calculates the same error correction code as the error correction code generation unit 136 for each unit of compressed image data.
  • the calculation result is compared with the error correction code input from the code detection unit 253, and if the comparison result is different, an error correction process is performed.
  • An example of error correction processing is CRC calculation. Alternatively, only error detection may be performed, and errors may be interpolated in subsequent processing.
  • the thinned image data is directly input to the selection unit 258 without passing through the error correction unit 255 (arrow 263 in FIG. 19).
  • the error is limited to the corresponding pixel and adjacent thinned-out pixels, and does not significantly deteriorate the image quality of the entire screen. This is because consideration is given to the point that thinning out pixels or gradations leads to image quality deterioration of the entire screen.
  • error correction processing may be added to the thinned image data.
  • the image data is expanded by the horizontal expansion unit 256 and the vertical expansion unit 257 and output to the selection unit 258.
  • the horizontal decompression unit 256 output (FIG. 20D) outputs horizontal decompressed image data 518 and 519 delayed from the compressed image data 512 and 514 by the time required for decoding.
  • the output of the vertical extension unit 257 (as shown in FIG. 20E) is the vertical extension image data 520 and 521 of the first and second lines over a two-line period. Is output.
  • the selection unit 258 appropriately selects the image data input to the input unit 250, the output of the horizontal expansion unit 256, and the output of the vertical expansion unit 257 based on the information in the compression code information storage unit, and outputs them to the thinning restoration unit 259. .
  • the restored image data 522 is output with a delay of one line or more from the input compressed image data 512 in accordance with the vertical expansion unit output 521 that is output with the latest delay.
  • the input image data of the selection unit 258 has a memory (not shown) for appropriately absorbing a processing delay due to each expansion method.
  • the thinning restoration unit 259 restores the image data of the thinning unit from the thinned image data based on the information in the compression code information storage unit 254.
  • the thinning restoration corresponds to the case where the horizontal compression unit 133 and the vertical compression unit 134 perform thinning processing from the 444 format to 422 in addition to the thinning processing unit 132 in FIG. Restore.
  • the output unit 261 requests 422 or 420 format image data instead of the 444 format, the thinning restoration process may be stopped or the thinning format conversion may be performed.
  • the thinning restoration unit 259 complements the left and right images, and if the signal is compressed in the vertical direction , Complementary processing may be performed from data one line before.
  • the YCbCr processing unit 260 that receives the output of the thinning restoration unit 259 is in charge of color difference signal processing for restoring the reduced Cb and Cr based on the packet data information Eco_CbCr, Cb_Factor, and Cr_Factor shown in FIG. Further, when the output unit 261 requests an RGB primary color signal, a conversion process to an RGB primary color signal is performed. Thus, the YCbCr processing unit 260 is positioned to perform the reverse operation of the YCbCr processing unit 131 in FIG. 2 in the image transmission apparatus, and detailed description thereof is omitted.
  • image data having a size larger than the currently specified image size is transmitted to the currently specified transmission path by compressing and transmitting the image data transmitted by the image transmission apparatus.
  • image transmission with higher error tolerance by adding error detection and correction codes to a region with higher error resistance than the image data transmission region.
  • the data transmission amount per predetermined time or the data transmission clock can be lowered, so that the frequency of occurrence of errors can be lowered, and A highly reliable system can be constructed against errors in the transmission path.
  • the vertical compression image data unit block extends over two or more lines as shown in FIG. 8, and as a result, a delay of one horizontal cycle or more is generated with respect to the compressed image data as shown in FIG.
  • the vertical compression image data unit block is also set to one line, which is the same as the horizontal compression image data unit block of FIG.
  • the vertical compression is limited to an encoding method such as encoding of the difference with respect to the previous line, but there is an advantage that the processing delay time can be reduced as compared with the first embodiment.
  • the compression code information for each image data unit block is transmitted using a packet during a highly reliable horizontal blanking period.
  • FIG. It was necessary to keep close to the cycle.
  • On the transmitter side in order to arrange the compression code information in the horizontal blanking period immediately before the compressed image data of the corresponding line, it is necessary to store the compressed image data in the line memory and output it with a delay of about one horizontal cycle.
  • the circuit scale increases and the transmission delay time of the image signal increases. Therefore, in the third embodiment, a method of transmitting compression code information in units of pressure image data together with compressed image data within the horizontal effective period instead of the horizontal blanking period is employed.
  • the compression rate of the compressed image data must be increased, and there is a concern that the image quality of the image at the time of restoration will increase greatly .
  • the horizontal blanking period is reduced to such an extent that two audio data transmission packets can be sent, and the horizontal effective period is extended.
  • the horizontal effective period 1920 and the horizontal blanking period 280 are used in the first embodiment. Since it is sufficient that the horizontal blanking period is about 96 including the transmission period of two voice packets and the guard bands before and after, the remaining 184 can be increased in the horizontal effective period. There is an effect that the horizontal effective period 1920 can be expanded by about 9.5%.
  • the position and width of the horizontal synchronization signal deviate from the standard timing of predetermined uncompressed image data. Descriptor) The timing should be restored to the standard timing format with reference to the metadata.
  • FIG. 21 is a block diagram illustrating an example of the configuration of the decompression processing unit 206. Blocks having the same functions as those in FIG. 19 are given the same numbers. The difference is that a second video code information extraction unit 263 is added to the output unit of the error correction circuit 255, and the input of the selection unit 258 (arrow 264 in FIG. 21) is not directly sent from the input 250 as the thinned image data but through the error correction unit 255. This is the point of reference).
  • the compression code information extraction unit 253 includes the compression code information (packets in FIGS. 12 and 13) in the vertical blanking period and the compression code information (packets in FIGS. 14 and 15) in the horizontal blanking period. Was extracted. In this embodiment, the compression code information extraction unit extracts only the intra-frame common information within the vertical blanking period and stores it in the compression code information storage unit 254.
  • the second compression code information extraction unit 262 uses the data after the error correction processing of the error correction unit 255 and the output of the compression code information storage unit 254 extracted in units of frames, for each compressed image data unit block.
  • the compression code information is extracted and output to the horizontal expansion unit 256, the vertical expansion unit 257, and the selection unit 258.
  • the compressed image data and the compressed code information of each compressed image data unit block are close in timing, the compressed code information storage for one horizontal period is excluded except for the compressed code information common in the frame. Since it becomes unnecessary, the circuit scale can be reduced.
  • the horizontal effective period can be extended by 9.5%, so that an error correction code is additionally transmitted.
  • the thinned image data is also input to the selection unit 258 as the output 264 of the error correction unit 255, errors in the thinned image data can be suppressed, and image data transmission with higher error resistance can be realized.
  • FIG. 22 shows an implementation example of the thinning processing unit 132, the horizontal compression unit 133, the vertical compression unit 134, and the selection unit 135 in the example of the compression processing unit of the image transmission apparatus shown in FIG.
  • Reference numerals 311, 312, and 313 denote input units to which a Y luminance signal, a Cb color difference signal, and a Cr color difference signal are input, respectively.
  • the thinning-out processing unit 132 includes a Cb thinning-out unit 322 and a Cr thinning-out unit 323.
  • the input Y luminance signal remains as it is
  • the Cb color difference signal is the signal thinned out by the Cb thinning unit 322
  • the Cr color difference signal is the Cr thinning unit.
  • the signal thinned out at 323 is output to the storage unit 351 and stored therein.
  • the selective reading unit 353 may alternately perform selective reading of the Cb color difference signal and the Cr color difference signal in units of lines or frames.
  • the 422 format conversion function of the horizontal compression unit 133 and the vertical compression 134 is easily realized by the changeover switches 334, 335, 344, and 345.
  • the horizontal compression unit 133 includes a Y horizontal compression unit 331, a Cb horizontal compression unit 332, a Cr horizontal compression unit 333, and changeover switches 334 and 335.
  • the Y luminance signal input to the input unit 311 is compressed for each predetermined compressed image data unit block by the Y horizontal compression unit 331, output to the storage unit 351, and stored.
  • the changeover switch 334 selects either the Cb color difference signal input to the input unit 312 or the thinned Cb color difference signal output from the Cb thinning unit 322, the Cb horizontal compression unit 332 performs a predetermined compressed image data unit block. Compressed and output to the storage unit 351 for storage.
  • the Cr horizontal compression unit 333 After the changeover switch 335 selects one of the Cr color difference signal input to the input unit 313 and the thinned Cr color difference signal output from the Cr thinning unit 323, the Cr horizontal compression unit 333 performs a predetermined compressed image data unit block. Compressed and output to the storage unit 351 for storage.
  • the vertical compression unit 134 includes a Y vertical compression unit 341, a Cb vertical compression unit 342, a Cr vertical compression unit 343, and changeover switches 344 and 345.
  • the Y luminance signal input to the input unit 311 is compressed for each predetermined compressed image data unit block by the Y vertical compression unit 341, output to the storage unit 351, and stored.
  • the changeover switch 344 selects either the Cb color difference signal input to the input unit 312 or the thinned Cb color difference signal output from the Cb thinning unit 322, the Cb vertical compression unit 342 performs a predetermined compressed image data unit block. Compressed and output to the storage unit 351 for storage.
  • the Cr vertical compression unit 343 After the changeover switch 345 selects either the Cr color difference signal input to the input unit 313 or the thinned Cr color difference signal output from the Cr thinning unit 323, the Cr vertical compression unit 343 performs a predetermined compressed image data unit block. Compressed and output to the storage unit 351 for storage.
  • the Cb thinning unit 322, the Cr thinning unit 323, the Y horizontal compression unit 331, the Cb horizontal compression unit 332, the Cr horizontal compression unit 333, the Y vertical compression unit 341, the Cb vertical compression unit 342, and the Cr vertical compression unit 343 are thinned respectively.
  • an image quality index is calculated for each compressed image data unit block at the time of compression, and is stored in the storage unit 351 together with the compressed image data.
  • the image quality index is, for example, a YCbCr luminance color difference signal obtained by restoring image data obtained by thinning or compressing each block to uncompressed image data with respect to an uncompressed YCbCr luminance color difference signal input to the input units 311, 312, and 313. Is obtained for each signal component and for each pixel, and defined as the sum of squares thereof. In order to simplify the calculation, the sum of absolute values or the maximum value may be used as the image quality index of each compressed image data unit block instead of the square sum. Moreover, you may estimate an approximate value from the evaluation index
  • a coefficient may be further added to the sum of the square error of the Y luminance signal, which is considered to have a large influence on the image quality, to give more importance to the Cb color difference signal and the Cr color difference signal. Furthermore, as described in the first embodiment, when the number of quantization bits is reduced by compressing the coefficient of the CbCr color difference signal, conversely, the coefficient for calculating the image quality index of the CbCr color difference signal is set larger. Also good.
  • the selection unit 135 includes a storage unit 351, a compression rate / image quality evaluation unit 352, a selection reading unit 353, and an output unit 354.
  • the compression rate / image quality evaluation unit 352 based on the image quality index and data amount of each compressed image data stored in the storage unit 351, out of the data amount that can be transmitted during each horizontal effective period, The combination having the minimum total value or the maximum image quality index is selected and the combination information is transmitted to the selective reading unit 353.
  • the selection reading unit 353 sequentially reads out the thinned or compressed image data designated from the storage unit 351 based on an instruction from the compression rate / image quality evaluation unit 352 and sends the image data to the output unit 354.
  • the compressed image data and the image quality index for the number of vertical lines (number of pixels) of the compressed image data unit block are stored in the storage unit 351. It is more preferable to select a combination that minimizes the total value of the image quality index of the screen calculation pair or the maximum image quality index in units of the number of vertical lines, and transmit the combination information to the selection reading unit 353.
  • the change-over switches 334, 335, 344, and 345 function to switch between compression of the CbCr color difference signal and the signal before thinning or the signal after thinning. Which one to choose depends on the ratio of the uncompressed image data before compression and the amount of image data that can be transmitted by the cable that transmits the image data. It may be determined before thinning. The determination value depends on the compression algorithm of the horizontal compression unit and the vertical compression unit, but may be set in a range of 1/2 to 4/5, for example.
  • the changeover switches 334, 335, 344, and 345 may be switched all at once, or may be switched individually by setting the above determination value for each switch. In addition, these switches are not used, and two Cb horizontal compression units 332, Cr horizontal compression units 333, Cb vertical compression units 342, and Cr vertical compression units 343 are provided. Both the signal before thinning and the signal after thinning may be compressed and stored in the storage unit 351. The selection range of the compression rate / image quality evaluation unit 352 is expanded, and image data with higher image quality can be transmitted.
  • This example shows a more specific implementation example of the compression processing unit, and it is obvious that it can be used in combination with the first to third embodiments described so far.
  • the compression code information of each compressed image data unit block and transmission error information obtained at the time of error correction processing are transmitted together with uncompressed image data expanded from the expansion processing unit 206 to the display processing unit 207.

Landscapes

  • Engineering & Computer Science (AREA)
  • Multimedia (AREA)
  • Signal Processing (AREA)
  • Compression Or Coding Systems Of Tv Signals (AREA)
  • Color Television Systems (AREA)
  • Two-Way Televisions, Distribution Of Moving Picture Or The Like (AREA)
PCT/JP2012/002218 2011-07-29 2012-03-30 画像伝送装置、画像伝送方法、画像受信装置および画像受信方法 Ceased WO2013018249A1 (ja)

Applications Claiming Priority (2)

Application Number Priority Date Filing Date Title
JP2011166183A JP5739262B2 (ja) 2011-07-29 2011-07-29 画像伝送装置、画像伝送方法、画像受信装置および画像受信方法
JP2011-166183 2011-07-29

Publications (1)

Publication Number Publication Date
WO2013018249A1 true WO2013018249A1 (ja) 2013-02-07

Family

ID=47628805

Family Applications (1)

Application Number Title Priority Date Filing Date
PCT/JP2012/002218 Ceased WO2013018249A1 (ja) 2011-07-29 2012-03-30 画像伝送装置、画像伝送方法、画像受信装置および画像受信方法

Country Status (2)

Country Link
JP (1) JP5739262B2 (enExample)
WO (1) WO2013018249A1 (enExample)

Families Citing this family (2)

* Cited by examiner, † Cited by third party
Publication number Priority date Publication date Assignee Title
JP6658160B2 (ja) * 2016-03-18 2020-03-04 セイコーエプソン株式会社 固体電解質及びリチウムイオン電池
JP6658161B2 (ja) * 2016-03-18 2020-03-04 セイコーエプソン株式会社 固体電解質及びリチウムイオン電池

Citations (3)

* Cited by examiner, † Cited by third party
Publication number Priority date Publication date Assignee Title
WO2009098933A1 (ja) * 2008-02-04 2009-08-13 Sony Corporation 映像信号送信装置、映像信号送信方法、映像信号受信装置および映像信号受信方法
JP2010041636A (ja) * 2008-08-08 2010-02-18 Sony Corp 情報処理装置および方法、並びにプログラム
WO2010023884A1 (ja) * 2008-08-29 2010-03-04 パナソニック株式会社 色信号変換装置、映像表示装置、色信号変換方法、映像表示方法及び画像データ

Family Cites Families (2)

* Cited by examiner, † Cited by third party
Publication number Priority date Publication date Assignee Title
JP3384727B2 (ja) * 1997-11-05 2003-03-10 三洋電機株式会社 画像復号装置
JP2007027882A (ja) * 2005-07-12 2007-02-01 Renesas Technology Corp 解像度変換復号装置

Patent Citations (3)

* Cited by examiner, † Cited by third party
Publication number Priority date Publication date Assignee Title
WO2009098933A1 (ja) * 2008-02-04 2009-08-13 Sony Corporation 映像信号送信装置、映像信号送信方法、映像信号受信装置および映像信号受信方法
JP2010041636A (ja) * 2008-08-08 2010-02-18 Sony Corp 情報処理装置および方法、並びにプログラム
WO2010023884A1 (ja) * 2008-08-29 2010-03-04 パナソニック株式会社 色信号変換装置、映像表示装置、色信号変換方法、映像表示方法及び画像データ

Also Published As

Publication number Publication date
JP5739262B2 (ja) 2015-06-24
JP2013031025A (ja) 2013-02-07

Similar Documents

Publication Publication Date Title
JP5868997B2 (ja) 画像伝送装置、画像伝送方法、画像受信装置および画像受信方法
US8204104B2 (en) Frame rate conversion system, method of converting frame rate, transmitter, and receiver
WO2013018248A1 (ja) 画像伝送装置、画像伝送方法、画像受信装置および画像受信方法
KR20200065780A (ko) 프레임 버퍼 컴프레서 및 이를 포함하는 이미지 처리 장치
WO2012147791A1 (ja) 画像受信装置及び画像受信方法
JP5739262B2 (ja) 画像伝送装置、画像伝送方法、画像受信装置および画像受信方法
WO2012147786A1 (ja) 画像伝送装置及び画像伝送方法
JP6609074B2 (ja) 画像出力装置および出力方法
JP2013115456A (ja) 画像伝送装置、および画像伝送方法
JP6472845B2 (ja) 画像受信装置
JP6200971B2 (ja) 画像伝送装置および伝送方法
JP2013115455A (ja) 画像伝送装置、および画像伝送方法
JP5041969B2 (ja) 映像伝送方法及びシステム及びプログラム
JP5318992B2 (ja) 映像伝送プログラム
JP2013115453A (ja) 画像伝送装置、画像伝送方法、画像受信装置および画像受信方法
WO2013076778A1 (ja) 映像送信装置、映像受信装置、映像送信方法及び映像受信方法
JP2013115452A (ja) 映像データの送受信方法、映像送信装置、及び映像受信装置
KR20190091179A (ko) 이미지 처리 장치 및 이미지 처리 장치의 동작 방법
WO2020231893A1 (en) Packing of subpixel rendered data for display stream compression
KR20190091181A (ko) 이미지 처리 장치
JP2013115454A (ja) 映像送信装置、映像受信装置、映像送信方法及び映像受信方法

Legal Events

Date Code Title Description
121 Ep: the epo has been informed by wipo that ep was designated in this application

Ref document number: 12819262

Country of ref document: EP

Kind code of ref document: A1

NENP Non-entry into the national phase

Ref country code: DE

122 Ep: pct application non-entry in european phase

Ref document number: 12819262

Country of ref document: EP

Kind code of ref document: A1