WO2011105052A1 - 通信システム、制御装置及び基地局装置 - Google Patents

通信システム、制御装置及び基地局装置 Download PDF

Info

Publication number
WO2011105052A1
WO2011105052A1 PCT/JP2011/000987 JP2011000987W WO2011105052A1 WO 2011105052 A1 WO2011105052 A1 WO 2011105052A1 JP 2011000987 W JP2011000987 W JP 2011000987W WO 2011105052 A1 WO2011105052 A1 WO 2011105052A1
Authority
WO
WIPO (PCT)
Prior art keywords
base station
station apparatus
adjacent
pci
transmission power
Prior art date
Legal status (The legal status is an assumption and is not a legal conclusion. Google has not performed a legal analysis and makes no representation as to the accuracy of the status listed.)
Ceased
Application number
PCT/JP2011/000987
Other languages
English (en)
French (fr)
Japanese (ja)
Inventor
英樹 朝戸
Current Assignee (The listed assignees may be inaccurate. Google has not performed a legal analysis and makes no representation or warranty as to the accuracy of the list.)
Kyocera Corp
Original Assignee
Kyocera Corp
Priority date (The priority date is an assumption and is not a legal conclusion. Google has not performed a legal analysis and makes no representation as to the accuracy of the date listed.)
Filing date
Publication date
Application filed by Kyocera Corp filed Critical Kyocera Corp
Priority to US13/580,871 priority Critical patent/US8923911B2/en
Publication of WO2011105052A1 publication Critical patent/WO2011105052A1/ja
Anticipated expiration legal-status Critical
Ceased legal-status Critical Current

Links

Images

Classifications

    • HELECTRICITY
    • H04ELECTRIC COMMUNICATION TECHNIQUE
    • H04WWIRELESS COMMUNICATION NETWORKS
    • H04W52/00Power management, e.g. Transmission Power Control [TPC] or power classes
    • H04W52/04Transmission power control [TPC]
    • H04W52/06TPC algorithms
    • H04W52/14Separate analysis of uplink or downlink
    • H04W52/143Downlink power control
    • HELECTRICITY
    • H04ELECTRIC COMMUNICATION TECHNIQUE
    • H04WWIRELESS COMMUNICATION NETWORKS
    • H04W52/00Power management, e.g. Transmission Power Control [TPC] or power classes
    • H04W52/04Transmission power control [TPC]
    • H04W52/18TPC being performed according to specific parameters
    • H04W52/24TPC being performed according to specific parameters using SIR [Signal to Interference Ratio] or other wireless path parameters
    • H04W52/247TPC being performed according to specific parameters using SIR [Signal to Interference Ratio] or other wireless path parameters where the output power of a terminal is based on a path parameter sent by another terminal
    • HELECTRICITY
    • H04ELECTRIC COMMUNICATION TECHNIQUE
    • H04WWIRELESS COMMUNICATION NETWORKS
    • H04W52/00Power management, e.g. Transmission Power Control [TPC] or power classes
    • H04W52/04Transmission power control [TPC]
    • H04W52/38TPC being performed in particular situations
    • H04W52/383TPC being performed in particular situations power control in peer-to-peer links
    • HELECTRICITY
    • H04ELECTRIC COMMUNICATION TECHNIQUE
    • H04WWIRELESS COMMUNICATION NETWORKS
    • H04W8/00Network data management
    • H04W8/26Network addressing or numbering for mobility support
    • HELECTRICITY
    • H04ELECTRIC COMMUNICATION TECHNIQUE
    • H04WWIRELESS COMMUNICATION NETWORKS
    • H04W88/00Devices specially adapted for wireless communication networks, e.g. terminals, base stations or access point devices
    • H04W88/08Access point devices

Definitions

  • the present invention relates to a communication system, a control apparatus, and a base station apparatus, and more particularly, to a communication system, a control apparatus, and a base station apparatus related to a change of an identification number of a base station apparatus in a communication system.
  • LTE Long Term Evolution
  • MGMN Next Generation Mobile Networks
  • SON Self Organizing Network
  • the functions of the SON are classified into four categories: design, planning, development, optimization, and maintenance.
  • SON functions are used for efficient network operation, construction, and planning, such as wireless parameter optimization, network parameter optimization, interference control, and neighbor cell list addition, thereby realizing network stability. Is expected.
  • the self-configuration process is defined as a process for automatically acquiring and setting basic parameters necessary for system operation when newly installing a base station apparatus eNB (evolved Node B). is there.
  • This self-setting process is mainly considered as a process that operates before the base station apparatus enters an operation state.
  • the self-optimization process is defined as a process for performing automatic network adjustment based on statistical data from a terminal UE (User Equipment) or a base station apparatus.
  • This self-optimization process is considered as a process that starts after activation of the RF device and operates when the base station device is in operation.
  • An example of a self-optimization process is the optimization of a neighboring base station list.
  • PCI Physical Cell ID
  • E-UTRAN Evolved Universal Terrestrial Radio Access Network
  • the number of unique PCIs is limited to 504. Therefore, if the number of cells exceeds 504, it is necessary to assign the same PCI to different cells. Arise. However, if cells having the same PCI are present at close positions, communication interference occurs between the cells, and there is a possibility that a call or a handover may be impossible.
  • the cells assigned to each cell are (1) the PCI of the cell is not the same as the PCI of the cell of the base station apparatus adjacent to the base station apparatus, and (2) the PCI of the cell is adjacent to the base station apparatus. It is necessary to satisfy the following two conditions: it is not the same as the PCI of the cell of the base station apparatus adjacent to the base station apparatus.
  • the base station apparatus can obtain the PCI information of the cell of the adjacent base station apparatus from the adjacent base station list (neighbor cell list) possessed by each base station apparatus.
  • a framework in which a base station apparatus autonomously selects and automatically sets a PCI of its own cell when a new base station apparatus is installed has been proposed in 3GPP (for example, see Non-Patent Document 1).
  • the base station apparatus selects the PCI of its own cell by Centralized PCI assignment algorithm (centralized PCI assignment algorithm) or distributed PCI assignment algorithm (distributed PCI assignment algorithm).
  • algorithm OAM (Operation
  • the OAM informs the base station apparatus of a PCI list in which usable PCIs are listed.
  • the base station apparatus removes an inappropriate PCI from the list, arbitrarily selects the remaining PCI in the list, and sets it as the PCI of its own cell.
  • the new base station apparatus starts by selecting an arbitrarily selected value as temporarytempPCI from 504 PCI candidates in the configuration phase. Thereafter, the new base station apparatus obtains information on the neighboring base station apparatus reported from the terminal by an ANR (Automatic Neighbor Relation) function, and creates a neighboring base station list. The new base station apparatus further acquires an adjacent base station list of the adjacent base station apparatus from the adjacent base station apparatus. Then, the new base station apparatus reselects a PCI that satisfies the above two conditions (1) and (2) from the created adjacent base station list and the acquired adjacent base station list.
  • ANR Automatic Neighbor Relation
  • Non-Patent Document 1 merely shows a framework of a PCI automatic setting method, and satisfies the above conditions (1) and (2). A detailed algorithm for how to find the PCI is not shown. Therefore, a PCI that does not satisfy the conditions (1) and (2) may be assigned to a new base station apparatus, and in this case, it is necessary to reset the PCI. In order to reset, it is necessary for the base station apparatus to restart and broadcast the radio channel with a new PCI. Even in the method described in Non-Patent Document 2, when changing from Temporary PCI to PCI satisfying the conditions (1) and (2), it is necessary to restart the base station apparatus. While the base station device is restarted, the link is broken, and a hole (communication impossible area) occurs in the coverage (communication area). Therefore, the communication area of the terminal existing in the cell of the base station apparatus being restarted is limited.
  • Non-Patent Documents 1 and 2 relate to the setting of PCI when a base station apparatus is newly installed, and are not considered until the already set PCI is changed.
  • a new base station apparatus must be installed in a place where no PCI satisfying the above conditions (1) and (2) exists, it is necessary to change the PCI of the existing base station apparatus.
  • the change in the PCI of existing base station equipment is necessary, for example, when the number of base station equipment is insufficient due to an increase in the total number of terminals or due to the shadow of a high-rise building due to the construction of a high-rise building. This is the case when an impossible area has occurred.
  • the base station apparatus may have to change the PCI of its own cell as a self-optimization process. Furthermore, the existing base station device may need to be changed due to a failure that occurs due to the arrangement of the multi-vendor base station device. In these cases as well, the base station device needs to be restarted, resulting in a hole in the coverage.
  • an object of the present invention made in view of the above-described problems of the prior art is to provide a communication system, a control device, and a base that can change the PCI of the base station device without generating a hole in the coverage. It is to provide a station apparatus.
  • the communication system is In a communication system including a base station device and an adjacent base station device adjacent to the base station device,
  • the adjacent base station when the identification number of the base station apparatus is changed, the adjacent base station until the communication area of the adjacent base station apparatus covers the communication area of the base station apparatus with respect to the adjacent base station apparatus
  • a transmission power control unit for instructing to increase the transmission power of the apparatus before changing the identification number;
  • the adjacent base station apparatus increases its transmission power according to the instruction.
  • the base station device stops operation when the identification number of the own station is changed
  • the transmission power control unit instructs the base station device to resume operation when the identification number of the base station device is changed, and the neighboring base station device It is desirable to instruct the transmission power of the adjacent base station apparatus to be restored.
  • a control device different from the base station device and the adjacent base station device has the transmission power control unit.
  • both or one of the base station apparatus and the adjacent base station apparatus has the transmission power control unit.
  • the communication system is In a communication system including a base station device and an adjacent base station device adjacent to the base station device,
  • the adjacent base station when the identification number of the base station apparatus is changed, the adjacent base station until the communication area of the adjacent base station apparatus covers the communication area of the base station apparatus with respect to the adjacent base station apparatus
  • Transmission power control means for instructing to increase the transmission power of the apparatus before changing the identification number;
  • the adjacent base station apparatus increases its transmission power according to the instruction.
  • the base station device stops operation when the identification number of the own station is changed,
  • the transmission power control means instructs the base station device to resume operation when the identification number of the base station device is changed, and the neighboring base station device It is desirable to instruct the transmission power of the adjacent base station apparatus to be restored.
  • the control device In order to solve the above-described problems, the control device according to the third aspect is In a control device that controls a base station device and an adjacent base station device adjacent to the base station device, When the identification number of the base station apparatus is changed, the transmission power of the adjacent base station apparatus is transmitted to the adjacent base station apparatus until the communication area of the adjacent base station apparatus covers the communication area of the base station apparatus. It is instructed to increase the identification number before changing it.
  • control device when the identification number of the base station device is changed, the base station device stops operation, It is desirable to instruct the base station apparatus to resume operation and to instruct the adjacent base station apparatus to restore the transmission power of the adjacent base station apparatus.
  • the base station apparatus is A base station apparatus in a communication system, When the identification number of the own station is changed, the transmission power of the adjacent base station apparatus is set to the adjacent base station apparatus adjacent to the own station until the communication area of the adjacent base station apparatus covers the communication area of the own station. It is a base station apparatus which has a transmission power control part which instruct
  • the transmission power control unit or the transmission power means before changing the identification number of the base station device, can Since the transmission power increases until the communication area of the adjacent base station apparatus covers the communication area of the base station apparatus, the identification number can be changed without generating a hole in the coverage.
  • FIG. 1 is a schematic configuration diagram showing an overview of a communication system according to an embodiment of the present invention.
  • FIG. 2 is a flowchart showing a method for changing the PCI of the base station apparatus.
  • FIG. 3 is an explanatory diagram illustrating a PCI changing method of the base station apparatus.
  • FIG. 4A is an explanatory diagram illustrating a situation in which a PCI change is necessary.
  • FIG. 4B is an explanatory diagram illustrating a situation in which the PCI needs to be changed.
  • FIG. 4C is an explanatory diagram illustrating a situation where the PCI needs to be changed.
  • FIG. 1 is a schematic configuration diagram showing an overview of a communication system according to an embodiment of the present invention.
  • the communication system 101 of the present invention includes a base station device 103, an adjacent base station device 105, and an external control device 107 (a control device having a transmission power control unit in the claims).
  • the base station device 103 and the adjacent base station device 105 communicate with a mobile phone terminal (not shown), and are called eNBs in the LTE system.
  • a cell indicating an area where the base station apparatus 103 can communicate with the mobile phone terminal (communication area in the claims) is represented by a hexagon surrounding the base station apparatus 103 in FIG.
  • the adjacent base station device 105 is a base station device around the base station device 103, and a cell of each adjacent base station device 105 (a range represented by a hexagon surrounding each base station device 105) is the base station device 103. Is adjacent to the cell.
  • PCI identification number in the claims
  • PCI is assigned to the cell of the base station apparatus 103 and the cell of the adjacent base station apparatus 105, respectively.
  • a terminal can identify a base station device and perform communication.
  • the base station apparatus 103 has an adjacent base station list indicating which PCI is assigned to the cell of the adjacent base station apparatus 105.
  • the adjacent base station apparatus 105 has an adjacent base station list related to PCI of an adjacent base station apparatus (not shown) adjacent to the adjacent base station apparatus 105.
  • the external control device 107 manages and controls the entire communication system 101 including the base station device 103 and the adjacent base station device 105.
  • EMS Electronic Management System
  • NMS Network Management
  • the external control device 107 instructs the adjacent base station device 105 to increase the transmission power of the radio wave transmitted to communicate with the terminal, or instructs the base station device 103 to perform PCI. Instructing to stop or start operation due to the change.
  • the external control device 107 controls the timing of increasing the transmission power of the adjacent base station device 105 and the timing at which the base station device 103 stops or starts operation, thereby increasing the transmission power before changing the PCI.
  • the cell range of the base station apparatus 105 can be expanded. If the expanded cell of the adjacent base station device 105 overlaps the cell of the base station device 103, even if the base station device 103 stops operation due to a PCI change, a hole may be generated in the coverage. Absent.
  • FIG. 2 is a flowchart illustrating a PCI changing method of the base station apparatus
  • FIG. 3 is an explanatory diagram illustrating a PCI changing method of the base station apparatus.
  • the external control device 107 transmits, from the base station device 103 and the adjacent base station device 105 that it manages and controls, the adjacent base station list and the transmission power of the radio waves that each base station device transmits to communicate with the terminal. Performance Measurement (statistical data) including the above information is received (step S101). Step S101 is repeated periodically as long as there is no base station apparatus that requires a PCI change (No in step S102).
  • step S102 If there is a base station device that requires a PCI change (Yes in step S102), the external control device 107 starts a PCI change process.
  • the external control device 107 determines a base station device that requires PCI change processing and a newly assigned PCI (step S103 and FIG. 3-1).
  • the PCI is determined for all the base station apparatuses that require a PCI change, and the order in which the PCI changes are further determined.
  • the external control device 107 can change the PCI preferentially from the base station device that is considered to have little influence on the operation service. For example, the size of the transmission power or the terminal communicating with the base station device can be changed. The order can be determined based on information such as numbers.
  • the newly allocated PCI is (1) the newly allocated PCI is not the same as the PCI of the cell of the base station apparatus adjacent to the base station apparatus, and (2) the newly allocated PCI is a base station adjacent to the base station apparatus. Further, it is necessary to satisfy two conditions that it is not the same as the PCI of the cell of the base station apparatus adjacent to the apparatus. Assuming that the base station apparatus that needs to change the PCI is the base station apparatus 103, the newly assigned PCI is added to both the adjacent base station list of the base station apparatus 103 and the adjacent base station list of the adjacent base station apparatus 105. If the value does not exist, the above two conditions are satisfied.
  • the external control device 107 notifies the new PCI to the base station device 103 whose PCI is to be changed, and instructs pre-blocking (step S104). Pre-blocking is to stop the communication function after waiting for line disconnection without forcibly disconnecting a connected call.
  • the external control apparatus 107 increases the transmission power with respect to the adjacent base station apparatus 105 adjacent to the base station apparatus 103 until the cell of the adjacent base station apparatus 105 can cover the cell of the base station apparatus 103.
  • An instruction is given (step S105 and FIGS. 3-2 to 7). During this period, the base station apparatus 103 is making a transition to pre-blocking (FIGS. 3-8).
  • the adjacent base station device 105 increases the transmission power as described above, so that the coverage in the communication system 101 is maintained even when the base station device 103 stops operating.
  • the adjacent base station apparatus 105 can also cover the cell of the base station apparatus 103 using beam forming. Beamforming is a more flexible coverage area by reducing radio wave interference between base station devices by concentrating transmission power in a specific direction (increasing transmission power in a specific direction) by directivity control of radio waves. Is a technology that enables the construction of
  • the external control device 107 determines whether or not the increase of the transmission power of the adjacent base station device 105 and the pre-blocking of the base station device 103 have been completed (step S106).
  • the base station apparatus 103 After the pre-occlusion is completed (Yes in step S106), the base station apparatus 103 prepares to restart with a new PCI (FIG. 3-10). The base station apparatus 103 changes the PCI to a new PCI, and after the preparation for restart is completed, the base station apparatus 103 notifies the external control apparatus 107 that it can be restarted with the new PCI ( Step S107 and FIG. 3-11).
  • the external control device 107 instructs the base station device 103 to restart with a new PCI (step S108 and FIG. 3-11).
  • the base station apparatus 103 Upon receiving an instruction to restart with a new PCI, the base station apparatus 103 stops operation and restarts (FIG. 3-12). After the restart, a new PCI is assigned to the cell of the base station apparatus 103, and the base station apparatus 103 notifies the external control apparatus 107 that the PCI change processing has been completed (step S109 and FIG. 3-13). The external control device 107 instructs the base station device 103 to resume operation with a new PCI (step S110), and the base station device 103 can communicate with the terminal again.
  • the external control device 107 instructs the adjacent base station device 105 to restore the transmission power (step S111 and FIGS. 3-14 to 19).
  • the timing at which the adjacent base station device 105 returns the transmission power to the original is not limited to an instruction from the external control device 107.
  • the adjacent base station device 105 restores the transmission power to the original timing when the timer ends. You can also By including the time required for restarting each base station device in Performance Measurement, it is possible to share information on the time required for restart within the communication system 101.
  • the external control device 107 determines whether there is any other base station device that requires PCI change among the base station devices in the communication system 101 (step S112). If it exists (No in step S111), the processing from step S104 to step S111 is repeated. If there is no base station apparatus that needs to change the PCI (Yes in step S111), the PCI changing process ends.
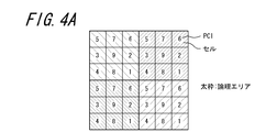
  • FIGS. 4A to 4C are explanatory diagrams showing a situation in which the PCI needs to be changed.
  • FIG. 4A shows a cell arrangement example of the base station apparatus.
  • Each of the 36 rectangles shown in FIG. 4A represents a cell of the base station apparatus.
  • the number shown in the cell is the PCI assigned to the cell.
  • the total number of PCIs that can be used in E-UTRAN in the LTE system is 504.
  • the number of usable PCIs is nine.
  • a logical area is composed of cells having PCIs 1 to 9 respectively. In FIG. 4A, for example, there are four logical areas surrounded by thick lines.
  • the PCI allocated to the new base station apparatus needs to satisfy the above two conditions (1) and (2), but the PCI (1, 4, 5, 6) of the adjacent base station apparatus of the new base station apparatus 1 to 9 have already been assigned to the PCI (2, 3, 7, 8, 9) of the adjacent base station apparatus of the adjacent base station apparatus. Therefore, in order to assign a PCI that satisfies the two conditions (1) and (2) to a new base station apparatus, it is necessary to change the PCI that has already been assigned to another cell.
  • the PCI of cells marked A to H in FIG. 4B is changed. Specifically, the PCI of cell A is changed from 9 to 5 and the PCI of cell E is changed from 5 to 9 so that the PCIs of cell A and cell E are interchanged. Similarly, the PCI of cell B and cell F, the PCI of cell C and cell G, and the PCI of cell D and cell H are interchanged, respectively.
  • the adjacent base station apparatus of the cell to be changed increases the transmission power before restarting. Thereby, the PCI can be changed without generating a hole in the coverage.
  • PCI “9” is assigned to the new base station apparatus.
  • the PCI of each cell is as shown in FIG. 4C.
  • the logical area is changed, and the four logical areas share the new base station apparatus as shown in FIG. 4C.
  • the cells located at the four corners (all PCIs are 9) belong to a logical area different from the four logical areas in FIG. 4C.
  • the communication area of the adjacent base station device 105 is different from that of the adjacent base station device 105 when the PCI (identification number) of the base station device 103 is changed.
  • 103 has an external control device 107 (control device having a transmission power control unit) that instructs to increase the transmission power of the adjacent base station device 105 before changing the identification number until the communication area 103 is covered. Increases the transmission power of the local station according to the instruction.
  • the base station apparatus 103 is restarted in order to change the PCI, the communication area that the base station apparatus 103 was responsible for cannot be communicated.
  • the adjacent base station device 105 increases the transmission power before changing the PCI and expands the communication area of the adjacent base station device 105 to the communication area of the base station device 103, thereby restarting the base station device 103. It is possible to prevent the occurrence of an incommunicable area. That is, it is possible to change the PCI without generating a hole in the coverage.
  • the base station apparatus 103 stops operation when the PCI of the own station is changed, and the external control apparatus 107 changes the base station apparatus 103 when the PCI of the base station apparatus 103 is changed.
  • the adjacent base station device 105 are instructed to resume operation, and instruct the adjacent base station device 105 to restore the transmission power of the adjacent base station 105 to its original state.
  • the transmission power of the adjacent base station 105 is restored, so that there is no hole in the coverage and the transmission of the adjacent base station 105 It is possible to avoid consuming more power than necessary.
  • each member, each means, each step, etc. can be rearranged so as not to be logically contradictory, and a plurality of means, steps, etc. can be combined into one or divided. Is possible.
  • the transmission power control unit according to the claim is configured to control the base station apparatus and the adjacent base station apparatus, and the components of the external control apparatus that are separate from the base station apparatus and the adjacent base station apparatus.
  • the base station apparatus that needs to change the PCI transmits information for notifying the adjacent base station apparatus that the PCI is to be changed by inter-base station communication using the X2 interface. Receiving this information, the adjacent base station apparatus increases the transmission power, and when the increase of the transmission power is completed, transmits information indicating that to the base station apparatus. The base station apparatus restarts to change the PCI, resumes operation with a new PCI, and then transmits information for instructing the adjacent base station apparatus to lower the transmission power.
  • the external control device has been described as having a function for changing the PCI without generating an incommunicable area.
  • the function is realized by exchanging information using a predetermined control channel (transmission power control means).

Landscapes

  • Engineering & Computer Science (AREA)
  • Computer Networks & Wireless Communication (AREA)
  • Signal Processing (AREA)
  • Mobile Radio Communication Systems (AREA)
PCT/JP2011/000987 2010-02-23 2011-02-22 通信システム、制御装置及び基地局装置 Ceased WO2011105052A1 (ja)

Priority Applications (1)

Application Number Priority Date Filing Date Title
US13/580,871 US8923911B2 (en) 2010-02-23 2011-02-22 Communication system, control apparatus and base station apparatus

Applications Claiming Priority (2)

Application Number Priority Date Filing Date Title
JP2010037763A JP5523867B2 (ja) 2010-02-23 2010-02-23 通信システム、制御装置及び基地局装置
JP2010-037763 2010-02-23

Publications (1)

Publication Number Publication Date
WO2011105052A1 true WO2011105052A1 (ja) 2011-09-01

Family

ID=44506484

Family Applications (1)

Application Number Title Priority Date Filing Date
PCT/JP2011/000987 Ceased WO2011105052A1 (ja) 2010-02-23 2011-02-22 通信システム、制御装置及び基地局装置

Country Status (3)

Country Link
US (1) US8923911B2 (enExample)
JP (1) JP5523867B2 (enExample)
WO (1) WO2011105052A1 (enExample)

Cited By (2)

* Cited by examiner, † Cited by third party
Publication number Priority date Publication date Assignee Title
CN102421101A (zh) * 2011-12-31 2012-04-18 北京邮电大学 一种物理小区标识的自配置方法
EP2749104A4 (en) * 2012-04-17 2015-07-08 Ericsson Telefon Ab L M INTERFERENCE SUPPRESSION IN A WIRELESS COMMUNICATION NETWORK

Families Citing this family (7)

* Cited by examiner, † Cited by third party
Publication number Priority date Publication date Assignee Title
GB2506804B (en) * 2011-06-28 2020-04-22 Hewlett Packard Development Co Display of operating status information of a client in a remote desktop session
JP5783264B2 (ja) * 2011-11-25 2015-09-24 日本電気株式会社 セル識別子割当方法、基地局、保守サーバ、移動通信システム
JP2013255183A (ja) * 2012-06-08 2013-12-19 Toshiba Corp 無線管理装置、無線通信システム、及び無線通信制御方法
US9992699B2 (en) 2013-06-17 2018-06-05 Nec Corporation Son control system, son control method, and mobile communication system
EP3044993A4 (en) * 2013-09-13 2017-01-25 Nokia Solutions and Networks Oy Method and system for automatic neighbor relations in multi-vendor heterogeneous network
WO2017011942A1 (zh) * 2015-07-17 2017-01-26 华为技术有限公司 配置信息获取的方法和装置
US10945173B2 (en) * 2016-07-25 2021-03-09 Nokia Solutions And Networks Oy PCI allocation in LTE-U

Citations (3)

* Cited by examiner, † Cited by third party
Publication number Priority date Publication date Assignee Title
JPH07170566A (ja) * 1993-12-16 1995-07-04 Nec Corp 無線電話システムの通信制御方式
JP2005010821A (ja) * 2003-04-22 2005-01-13 Hitachi Communication Technologies Ltd 無線通信装置及び無線通信網
JP2007116391A (ja) * 2005-10-20 2007-05-10 Ntt Docomo Inc 基地局装置、無線通信用パラメータ設定方法

Family Cites Families (5)

* Cited by examiner, † Cited by third party
Publication number Priority date Publication date Assignee Title
US8559952B2 (en) * 2007-08-14 2013-10-15 Telefonaktiebolaget Lm Ericsson (Publ) Automated and seamless change of reporting cell identity
EP2237593B1 (en) 2008-01-31 2013-11-20 Sharp Kabushiki Kaisha Base station devices, communication system and communication methods
US8391158B2 (en) * 2008-07-25 2013-03-05 Qualcomm Incorporated Cell identifier assignment and selection
EP2154917A1 (en) * 2008-08-13 2010-02-17 Nokia Siemens Networks OY Transmission of a synchronization signal within a cellular telecommunication network with temporarily increased transmitting power
US9392627B2 (en) * 2012-09-13 2016-07-12 Qualcomm Incorporated Method and apparatus for physical cell identifier collision detection and neighboring cell list construction

Patent Citations (3)

* Cited by examiner, † Cited by third party
Publication number Priority date Publication date Assignee Title
JPH07170566A (ja) * 1993-12-16 1995-07-04 Nec Corp 無線電話システムの通信制御方式
JP2005010821A (ja) * 2003-04-22 2005-01-13 Hitachi Communication Technologies Ltd 無線通信装置及び無線通信網
JP2007116391A (ja) * 2005-10-20 2007-05-10 Ntt Docomo Inc 基地局装置、無線通信用パラメータ設定方法

Cited By (3)

* Cited by examiner, † Cited by third party
Publication number Priority date Publication date Assignee Title
CN102421101A (zh) * 2011-12-31 2012-04-18 北京邮电大学 一种物理小区标识的自配置方法
EP2749104A4 (en) * 2012-04-17 2015-07-08 Ericsson Telefon Ab L M INTERFERENCE SUPPRESSION IN A WIRELESS COMMUNICATION NETWORK
US9294979B2 (en) 2012-04-17 2016-03-22 Telefonaktiebolaget L M Ericsson (Publ) Interference suppression in a wireless communication network

Also Published As

Publication number Publication date
US8923911B2 (en) 2014-12-30
US20120322436A1 (en) 2012-12-20
JP2011176471A (ja) 2011-09-08
JP5523867B2 (ja) 2014-06-18

Similar Documents

Publication Publication Date Title
JP5523867B2 (ja) 通信システム、制御装置及び基地局装置
US11089567B2 (en) Communication system, base station, host node, and communication method
US10231284B2 (en) Telecommunication system
US8897838B2 (en) Communication system
US20120257544A1 (en) Configuration space feedback and optimization in a self-configuring communication system
US20140119237A1 (en) Method and device for relay deployment in a tdd communication network
JP6190960B2 (ja) 補償セルの利用可能なキャパシティに基づく通信システム無線カバレッジ再構成
CN111869270A (zh) 管理非协调无线电接入网络
US20110223920A1 (en) Wireless communication system and method for assigning physical-layer cell identities of base stations in wireless communication system
CN111869254A (zh) 管理非协调无线电接入网络
JP6551509B2 (ja) 無線基地局、コアネットワーク装置、無線通信システム、無線通信方法
EP2107838A1 (en) Method for configuring a base station and base station in a wireless communication network
KR20110023726A (ko) 무선통신 시스템에서 펨토 기지국의 서비스 상태 정보 전송방법
JP2013110533A (ja) 基地局、無線通信システム及び障害発生通知方法
Sanneck et al. Context based configuration management of plug & play LTE base stations
JP2012009990A (ja) 無線通信システム

Legal Events

Date Code Title Description
121 Ep: the epo has been informed by wipo that ep was designated in this application

Ref document number: 11747023

Country of ref document: EP

Kind code of ref document: A1

NENP Non-entry into the national phase

Ref country code: DE

WWE Wipo information: entry into national phase

Ref document number: 13580871

Country of ref document: US

122 Ep: pct application non-entry in european phase

Ref document number: 11747023

Country of ref document: EP

Kind code of ref document: A1