WO2009104316A1 - 画像処理装置および画像処理プログラム - Google Patents

画像処理装置および画像処理プログラム Download PDF

Info

Publication number
WO2009104316A1
WO2009104316A1 PCT/JP2008/071049 JP2008071049W WO2009104316A1 WO 2009104316 A1 WO2009104316 A1 WO 2009104316A1 JP 2008071049 W JP2008071049 W JP 2008071049W WO 2009104316 A1 WO2009104316 A1 WO 2009104316A1
Authority
WO
WIPO (PCT)
Prior art keywords
image
images
movement
motion
image processing
Prior art date
Legal status (The legal status is an assumption and is not a legal conclusion. Google has not performed a legal analysis and makes no representation as to the accuracy of the status listed.)
Ceased
Application number
PCT/JP2008/071049
Other languages
English (en)
French (fr)
Japanese (ja)
Inventor
隆志 河野
Current Assignee (The listed assignees may be inaccurate. Google has not performed a legal analysis and makes no representation or warranty as to the accuracy of the list.)
Olympus Corp
Original Assignee
Olympus Corp
Priority date (The priority date is an assumption and is not a legal conclusion. Google has not performed a legal analysis and makes no representation as to the accuracy of the date listed.)
Filing date
Publication date
Application filed by Olympus Corp filed Critical Olympus Corp
Priority to EP08872675.7A priority Critical patent/EP2248457B1/en
Priority to CN2008801269338A priority patent/CN101945610B/zh
Publication of WO2009104316A1 publication Critical patent/WO2009104316A1/ja
Priority to US12/857,892 priority patent/US9031387B2/en
Anticipated expiration legal-status Critical
Ceased legal-status Critical Current

Links

Images

Classifications

    • AHUMAN NECESSITIES
    • A61MEDICAL OR VETERINARY SCIENCE; HYGIENE
    • A61BDIAGNOSIS; SURGERY; IDENTIFICATION
    • A61B1/00Instruments for performing medical examinations of the interior of cavities or tubes of the body by visual or photographical inspection, e.g. endoscopes; Illuminating arrangements therefor
    • A61B1/04Instruments for performing medical examinations of the interior of cavities or tubes of the body by visual or photographical inspection, e.g. endoscopes; Illuminating arrangements therefor combined with photographic or television appliances
    • A61B1/041Capsule endoscopes for imaging
    • AHUMAN NECESSITIES
    • A61MEDICAL OR VETERINARY SCIENCE; HYGIENE
    • A61BDIAGNOSIS; SURGERY; IDENTIFICATION
    • A61B1/00Instruments for performing medical examinations of the interior of cavities or tubes of the body by visual or photographical inspection, e.g. endoscopes; Illuminating arrangements therefor
    • A61B1/00002Operational features of endoscopes
    • A61B1/00004Operational features of endoscopes characterised by electronic signal processing
    • A61B1/00009Operational features of endoscopes characterised by electronic signal processing of image signals during a use of endoscope
    • GPHYSICS
    • G06COMPUTING OR CALCULATING; COUNTING
    • G06TIMAGE DATA PROCESSING OR GENERATION, IN GENERAL
    • G06T7/00Image analysis
    • G06T7/20Analysis of motion
    • G06T7/223Analysis of motion using block-matching
    • G06T7/231Analysis of motion using block-matching using full search
    • GPHYSICS
    • G06COMPUTING OR CALCULATING; COUNTING
    • G06TIMAGE DATA PROCESSING OR GENERATION, IN GENERAL
    • G06T2207/00Indexing scheme for image analysis or image enhancement
    • G06T2207/10Image acquisition modality
    • G06T2207/10068Endoscopic image
    • GPHYSICS
    • G06COMPUTING OR CALCULATING; COUNTING
    • G06TIMAGE DATA PROCESSING OR GENERATION, IN GENERAL
    • G06T2207/00Indexing scheme for image analysis or image enhancement
    • G06T2207/30Subject of image; Context of image processing
    • G06T2207/30004Biomedical image processing
    • G06T2207/30028Colon; Small intestine

Definitions

  • the present invention relates to an image processing apparatus and an image processing program for sequentially displaying time-series images.
  • a swallowable capsule endoscope has been proposed.
  • This capsule endoscope is swallowed from the patient's mouth, which is the subject for examination, introduced into the subject, and naturally discharged, such as the esophagus, stomach, small intestine, large intestine, etc. It moves inside the organ according to its peristaltic movement. Then, while moving inside the body, images in the body are sequentially captured at 2 to 4 (frame / sec), for example, and the captured image data is wirelessly transmitted to a receiving apparatus outside the body. Images inside the subject taken by the capsule endoscope and received by the external receiving device are sequentially displayed in time series on a diagnosis workstation or the like and confirmed by an observer such as a doctor.
  • This capsule endoscope takes a huge number of images. For this reason, in a diagnostic workstation, etc., changes between images are detected based on the similarity between adjacent images in time series. By reducing the time and adjusting the display time of each image, the burden on the observer to observe the image is reduced.
  • a technique is known in which a plurality of pixel areas are set in an image and the similarity between the images is determined by obtaining a motion vector of each pixel area between consecutive images in time series.
  • a method is known in which similarity between images is determined based on whether or not the obtained motion vectors are aligned, and display of images with high similarity is skipped or displayed at high speed (see Patent Document 1). ).
  • the moving direction of the capsule endoscope within the subject is not constant, and the capsule endoscope that has been slid to the right (translated) changes its sliding direction to the left or moves backward.
  • the capsule endoscope that has been depressed falls back and moves forward, it moves while changing its direction.
  • the moving direction of the image to be captured also changes.
  • the present invention has been made in view of the above, and an image processing apparatus and an image processing capable of preventing an observer from overlooking display contents when displaying a time-series image and improving observation efficiency.
  • the purpose is to provide a program.
  • an image processing apparatus detects movement between images constituting the time-series image in an image processing apparatus that sequentially displays time-series images, and Motion direction change image extraction means for extracting an image whose movement direction changes based on the movement between the detected images, and the display speed of the image extracted by the movement direction change image extraction means and the vicinity image of the image, And display speed control means for controlling the display speed relatively lower than the display speed of other images.
  • an image processing program detects a movement between images constituting the time-series image on a computer having a display unit that sequentially displays time-series images, and has the movement between the detected images.
  • a motion direction change image extraction step for extracting an image whose motion direction changes, and a display speed of the image extracted by the motion direction change image extraction step and a neighboring image of the image compared to the display speed of other images.
  • a display speed control step for controlling the display speed relatively low.
  • the display speed of an image in which the direction of movement changes and the image near the image can be controlled to be relatively lower than the display speed of other images. It is possible to prevent situations in which content is overlooked. Therefore, it is possible to efficiently grasp the contents of the time-series image, and there is an effect that the observation efficiency is improved.
  • FIG. 1 is a schematic diagram showing an overall configuration of an image processing system including an image processing apparatus according to the first embodiment.
  • FIG. 2 is a block diagram illustrating a functional configuration of the image processing apparatus according to the first embodiment.
  • FIG. 3 is a flowchart illustrating a processing procedure performed by the image processing apparatus according to the first embodiment.
  • FIG. 4 is a diagram for explaining a motion vector calculation method.
  • FIG. 5 is a diagram for explaining a motion vector calculation method.
  • FIG. 6 is a diagram for explaining matching.
  • FIG. 7 is a flowchart showing a detailed processing procedure of the motion pattern classification process.
  • FIG. 8 is a diagram illustrating an example of the image I (n).
  • FIG. 9 is a diagram illustrating an example of the image I (n).
  • FIG. 8 is a diagram illustrating an example of the image I (n).
  • FIG. 10 is a diagram illustrating an example of the image I (n).
  • FIG. 11 is a diagram illustrating an example of the image I (n).
  • FIG. 12 is a diagram illustrating a method for determining the rotation direction.
  • FIG. 13 is a diagram illustrating a method for determining the rotation direction.
  • FIG. 14 is a flowchart illustrating a processing procedure of the image processing apparatus according to the modification.
  • FIG. 15 is a diagram for explaining extraction processing of a motion direction change image in the modification.
  • FIG. 16 is a block diagram illustrating a functional configuration of the image processing apparatus according to the second embodiment.
  • FIG. 17 is a flowchart illustrating a processing procedure performed by the image processing apparatus according to the second embodiment.
  • FIG. 18 is a diagram for explaining the grouping process.
  • FIG. 19 is a flowchart showing a detailed processing procedure of the grouping processing.
  • FIG. 20 is a diagram for explaining a method of determining a change in the movement direction.
  • FIG. 21 is a diagram for explaining a method of determining a change in the movement direction.
  • FIG. 22 is a diagram for explaining a method of determining a change in the movement direction.
  • DESCRIPTION OF SYMBOLS 10 Capsule-type endoscope 30 Receiving device A1-An Receiving antenna 50 Portable recording medium 70, 70b Image processing device 710 External interface 720 Input unit 730 Display unit 740, 740b Storage unit 741, 741b Image processing program 750, 750b Calculation Unit 751, 751b motion direction change image extraction unit 752 motion vector calculation unit 753 block division unit 754 motion pattern classification unit 755, 758 motion direction change determination unit 756 grouping unit 757 group determination unit 760 control unit 761 image display control unit 763 display Speed control unit 1 Subject
  • FIG. 1 is a schematic diagram showing an overall configuration of an image processing system including an image processing apparatus 70 according to the first embodiment.
  • the image processing system receives a capsule endoscope 10 that captures an image of the inside of the body of the subject 1 and receives image data that is wirelessly transmitted from the capsule endoscope 10.
  • the apparatus 30 includes an image processing apparatus 70 that performs image processing on an image received by the receiving apparatus 30.
  • a portable recording medium (portable recording medium) 50 is used for transferring image data between the receiving device 30 and the image processing device 70.
  • the capsule endoscope 10 has an imaging function, a wireless function, an illumination function for illuminating an imaging site, and the like, and is taken from the mouth of the subject 1 such as a person or an animal for examination, for example. And introduced into the subject 1. Until it is spontaneously discharged, images inside the esophagus, stomach, small intestine, large intestine, and the like are sequentially captured at a predetermined imaging rate and acquired, and wirelessly transmitted outside the body.
  • the image captured by the capsule endoscope 10 shows mucous membranes, contents floating in the body cavity, bubbles and the like, and sometimes important parts such as lesions.
  • the passing speed of the capsule endoscope 10 in the body is not constant, and the time-series images to be captured are variously changed, such as an image that varies greatly or a similar image continues.
  • the aerial image captured by the capsule endoscope 10 is a color image having a pixel level (pixel value) for each color component of R (red), G (green), and B (blue) at each pixel position. It is.
  • the receiving device 30 includes a plurality of receiving antennas A1 to An, and receives image data wirelessly transmitted from the capsule endoscope 10 via the receiving antennas A1 to An.
  • the receiving device 30 is configured so that the portable recording medium 50 can be freely attached and detached, and sequentially stores the received image data in the portable recording medium 50. In this way, the receiving apparatus 30 accumulates the images inside the subject 1 captured by the capsule endoscope 10 in the portable recording medium 50 in chronological order.
  • the receiving antennas A1 to An are constituted by, for example, loop antennas, and are distributed at predetermined positions on the body surface of the subject 1 as shown in FIG. Specifically, for example, they are distributed and arranged at positions on the body surface corresponding to the passage route of the capsule endoscope 10 in the subject 1.
  • the receiving antennas A1 to An may be arranged in a distributed manner on a jacket worn by the subject 1. In this case, the receiving antennas A1 to An are placed on the body surface of the subject 1 corresponding to the passage path of the capsule endoscope 10 in the subject 1 when the subject 1 wears this jacket. It is arranged at a predetermined position. Further, one or more receiving antennas may be arranged with respect to the subject 1, and the number thereof is not limited.
  • the image processing apparatus 70 is realized by a general-purpose computer such as a workstation or a personal computer, and is configured so that the portable recording medium 50 can be freely attached and detached.
  • the image processing device 70 acquires time-series images stored in the portable recording medium 50 and sequentially displays the acquired time-series images on a display such as an LCD or an ELD.
  • FIG. 2 is a block diagram illustrating a functional configuration of the image processing apparatus 70 according to the first embodiment.
  • the image processing apparatus 70 includes an external interface 710, an input unit 720, a display unit 730, a storage unit 740, a calculation unit 750, and a control unit 760 that controls the operation of the entire image processing apparatus 70.
  • an external interface 710 an input unit 720, a display unit 730, a storage unit 740, a calculation unit 750, and a control unit 760 that controls the operation of the entire image processing apparatus 70.
  • the external interface 710 is for acquiring image data of a time-series image captured by the capsule endoscope 10 and received by the receiving device 30.
  • the portable recording medium 50 is detachably attached to the external interface 710.
  • the reader is configured to read image data stored in the portable recording medium 50.
  • the image data of the time-series images read by the external interface 710 is held in the storage unit 740, processed by the calculation unit 750, and sequentially displayed on the display unit 730 under the control of the control unit 760.
  • the acquisition of the time-series image captured by the capsule endoscope 10 is not limited to the configuration using the portable recording medium 50.
  • a server may be separately installed instead of the portable recording medium 50, and time series images may be stored in advance on this server.
  • the external interface is configured by a communication device or the like for connecting to the server. Then, data communication with the server via this external interface may be performed to acquire a time series image.
  • a time series image captured by the capsule endoscope 10 may be stored in the storage unit 740 in advance, and read from the storage unit 740 to acquire the time series image.
  • the input unit 720 is realized by, for example, a keyboard, a mouse, a touch panel, various switches, and the like, and outputs input instruction information to the control unit 760.
  • the display unit 730 is realized by a display device such as an LCD or an ELD, and displays various screens including a time-series image display screen under the control of the control unit 760.
  • the storage unit 740 is realized by various IC memories such as ROM and RAM such as flash memory that can be updated and stored, a hard disk connected with a built-in or data communication terminal, an information storage medium such as a CD-ROM, and a reading device thereof.
  • a program relating to the operation of the image processing apparatus 70, a program for realizing various functions provided in the image processing apparatus 70, data relating to execution of these programs, and the like are stored.
  • an image processing program 741 for processing time-series images and sequentially displaying them on the display unit 730 is stored.
  • the calculation unit 750 processes time-series images captured by the capsule endoscope 10 and performs various calculation processes for detecting a change in the movement direction between successive images.
  • This calculation unit 750 detects movement between successive images and extracts an image whose movement direction changes (hereinafter referred to as “motion direction change image”), and changes the movement direction as a movement direction change image extraction unit.
  • An image extraction unit 751 is included.
  • This motion direction change image extraction unit 751 includes a motion vector calculation unit 752 as a motion vector calculation unit that calculates a motion vector between images for each block, and a motion pattern determination that classifies motion patterns according to the direction of the motion vector between images.
  • the motion vector calculation unit 752 includes a block dividing unit 753 as a block dividing unit that divides an image into a plurality of blocks (area division).
  • the control unit 760 is realized by hardware such as a CPU.
  • the control unit 760 is based on image data of a time-series image acquired via the external interface 710, operation signals input from the input unit 720, programs and data stored in the storage unit 740, and the like.
  • the operation of the entire image processing apparatus 70 is comprehensively controlled by giving instructions to each unit constituting the image, transferring data, and the like.
  • the control unit 760 controls the image display control unit 761 that performs control to sequentially display the images constituting the time-series image on the display unit 730, and the motion direction extracted by the motion direction change image extraction unit 751 of the calculation unit 750.
  • a display speed control unit 763 as display speed control means for controlling the display speed of the change image and its neighboring images relatively lower than the display speed of the other images.
  • the calculation unit 750 initializes an image number n for identifying the time-series order of images to be processed (step a1). Then, the arithmetic unit 750 acquires the image I (n ⁇ 1) with the image number n ⁇ 1 and the image with the image number n from the time-series images acquired through the external interface 710 and stored in the storage unit 740. I (n) is acquired (step a3).
  • the block dividing unit 753 divides the pixel space of each image data of the images I (n ⁇ 1) and I (n) into a plurality of blocks (pixel areas) (step a5).
  • the size, number, etc. of each block may be set in advance, or may be configured to be changeable by a user operation, etc., but each block is evenly arranged in the pixel space by this block division. To do.
  • the pixel space of each image data of the images I (n ⁇ 1) and I (n) is divided into 16 blocks of 4 ⁇ 4.
  • the motion vector calculation unit 752 calculates a motion vector between the images I (n ⁇ 1) and I (n) for each corresponding block (step a7). For example, the motion vector calculation unit 752 calculates a motion vector using the normalized cross-correlation of the G components of the images I (n ⁇ 1) and I (n). The reason why the G component is used is that the sensitivity of the G component is the best among the RGB components, and the difference between the luminance components is likely to occur.
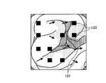
  • 4 and 5 are diagrams for explaining a method of calculating a motion vector.
  • FIG. 4 shows a pixel space of the image I (n ⁇ 1)
  • FIG. 5 shows a pixel space of the image I (n). Is shown.
  • the motion vector calculation unit 752 associates the template region 111 in the image I (n ⁇ 1) with the matching region 121 in the image I (n) in units of blocks.
  • the motion vector calculation unit 752 sets a template region 111 in each block 110 of the image I (n ⁇ 1) as shown in FIG. For example, an area having a center (x i , y i ) at the center and a size (tx, ty) smaller than each block 110 is set as the template area 111 at the center of each block 110.
  • i is a template area number.
  • i 1 to 16.
  • FIG. 6 is a diagram for explaining the matching, and shows how the matching area 121a is detected in the corresponding block 120a in the image I (n) using the pixel data of the template area 111a.
  • an area most similar to the template area 111a is searched from the block 120a, and its normalized cross-correlation value is obtained.
  • a region that most matches the template region 111a that is, a region having a high normalized cross-correlation value is detected as the matching region 121a.
  • the center coordinates of the detected matching area 121a are (x a , y a ).
  • a is a matching area number.
  • the motion vector calculation unit 752 performs matching using the G component variance values of the template region and the matching region, and calculates a normalized cross-correlation value E according to the following equation (1).
  • f (n, x, y) is image data of image number n.
  • the motion vector calculation unit 752 performs matching for each block 120 and detects the matching region 121.
  • the motion vector calculation unit 752 calculates the center coordinates (x) between the template region 111 of each block 110 of the image I (n ⁇ 1) and the matching region 121 in the corresponding block 120 of the image I (n). i, y i), is calculated as a motion vector changes in (x a, y a).
  • the obtained matching result data is held in the storage unit 740. Specifically, the center coordinates of the obtained matching area, the normalized cross-correlation value E, the motion vector, and the like are stored in association with each template area number.
  • the motion pattern classification unit 754 subsequently performs a motion pattern classification process to classify the motion pattern of the image I (n) (step a9).
  • the classification of the motion pattern of the image I (n) is based on the motion vector between the images I (n ⁇ 1) and I (n).
  • the motion pattern is “translation upper”, “translation upper left”, “translation left “Translation left bottom” “Parallel bottom” “Parallel bottom right” “Parallel right” “Parallel right” “Parallel top right” "Forward movement” "Backward movement” "Left rotation movement” "Right rotation movement” "Other” This is done by classifying it.
  • FIG. 7 is a flowchart showing a detailed processing procedure of the motion pattern classification process.
  • the motion pattern classification unit 754 uses the normalized cross-correlation value E obtained as a result of the matching performed in step a7 in FIG. 3 as the reliability of the motion vector between the images I (n ⁇ 1) and I (n). For a motion vector with low reliability, a process of excluding it from the motion vector used for motion pattern classification is performed as a matching failure (step a911). Subsequently, the motion pattern classification unit 754 determines whether to classify the motion pattern. For example, as a result of excluding motion vectors with low reliability, the motion pattern classification unit 754 has fewer than half the total number of motion vectors (eight or less in the first embodiment) that can be used for motion pattern classification.
  • step a913 it is determined that the motion pattern is not classified (step a913: No), and the process proceeds to step a927 to classify the motion pattern of the image I (n) as “other”. This is because the number of matching failures is large, and it is considered that the reliability cannot be obtained even if the motion patterns are classified.
  • FIG. 8 is a diagram illustrating an example of an image I (n).
  • a motion vector 131 that can be used for classifying a motion pattern set with the image I (n ⁇ 1) is illustrated. Yes.
  • the normalized cross-correlation value E obtained as a result of matching decreases.
  • the motion pattern is classified as “others”.
  • the motion pattern is classified as “other” when the motion vector that can be used for the motion pattern classification is less than half, the motion pattern need not be less than half, and the threshold value may be set as appropriate.
  • the movement pattern classification unit 754 performs a process (parallel movement classification process) for classifying the movement pattern of the image I (n) as “parallel movement”.
  • a process parallel movement classification process
  • the motion pattern is “translation”
  • the motion vectors between the images I (n ⁇ 1) and I (n) all have the same direction. Therefore, the motion pattern classifying unit 754 classifies the motion pattern of the image I (n) as “parallel movement” when the directions of the motion vectors are substantially the same.
  • the motion pattern classification unit 754 obtains the variance of the direction of each motion vector, and classifies the motion pattern as “parallel movement” if the obtained variance value is smaller than a predetermined threshold value.
  • FIG. 9 is a diagram illustrating an example of an image I (n).
  • a motion vector 141 that can be used for classifying a motion pattern set with the image I (n ⁇ 1) is illustrated. Yes.
  • the motion pattern is classified as “parallel movement”.
  • the motion pattern classification unit 754 subsequently calculates the average direction of each motion vector, and “up”, “upper left”, “left”, “lower left”, “lower”, It is classified into one of “lower right”, “right”, and “upper right”.
  • the motion patterns of the image I (n) classified as “translation” are further moved in different directions “translation upper”, “translation upper left”, “translation left”, “translation lower left”, “translation” It is classified into one of “down”, “lower right of translation”, “right of translation” and “upper right of translation”.
  • step a917 Yes
  • this process ends.
  • the process returns to step a9 in FIG.
  • step a917: No the motion pattern classification unit 754 classifies the motion pattern of the image I (n) into “forward movement” or “reverse movement” (forward / reverse movement classification process). (Step a919).
  • FIG. 10 is a diagram illustrating an example of an image I (n).
  • a motion vector 151 that can be used to classify a motion pattern set with the image I (n ⁇ 1) is illustrated. Yes.
  • the motion pattern classification unit 754 sets straight lines 153 along the respective motion vectors 151 as indicated by broken lines in FIG. Voting points 155 are set at the intersections. Then, the movement pattern classification unit 754 classifies the movement pattern as “forward movement” or “reverse movement” when the set voting points 155 are concentrated within a predetermined coordinate range of a predetermined size, for example.
  • the image I (n) is scanned to search for a coordinate range 157 that includes voting points equal to or greater than a predetermined reference voting point, and when searched, it is classified as “forward movement” or “backward movement”.
  • the reference voting points can be set as appropriate, for example, more than half of the total number of voting points.
  • the motion pattern classifying unit 754 averages the direction of each motion vector with respect to, for example, the average position of each vote point within the searched coordinate range. If it is in the direction of the position, it is “forward movement”, and if it is in the opposite direction, it is “backward movement”. For example, in the example of FIG. 10, each motion vector 151 faces in the opposite direction to the coordinate range 157 where the voting points 155 are concentrated, and is classified as “backward movement”. Actually, the position of the capsule endoscope 10 does not move, but the mucous membrane of the digestive tract contracts due to a peristaltic movement, and an image is obtained in which the capsule endoscope 10 moves forward or backward. Are also classified as “forward movement” or “backward movement”.
  • step a921 it is determined whether or not the movement pattern of the image I (n) is classified as “forward movement” or “reverse movement”. If the movement pattern is classified (step a921: Yes). Then, this process is terminated and the process returns to step a9 in FIG. On the other hand, when not classified (step a921: No), the motion pattern classification unit 754 performs a process of classifying the motion pattern of the image I (n) into “rotation movement” (rotation movement classification process) (step a923).
  • FIG. 11 is a diagram illustrating an example of an image I (n).
  • a motion vector 161 that can be used to classify a motion pattern set with the image I (n ⁇ 1) is illustrated. Yes.
  • the motion pattern classification unit 754 sets straight lines 163 orthogonal to the respective motion vectors 161 as shown by broken lines in FIG. 11, and sets the straight lines 163 at positions where the straight lines 163 intersect with each other.
  • a voting point 165 is set.
  • the movement pattern classification unit 754 classifies the movement pattern as “rotation movement” when the set voting points 165 are concentrated within a predetermined coordinate range of a predetermined size, for example.
  • the image I (n) is scanned to search for a coordinate range 167 including voting points equal to or more than a predetermined reference voting point, and when searched, it is classified as “rotation movement”.
  • the reference voting points can be set as appropriate, for example, more than half of the total number of voting points.
  • the motion pattern classification unit 754 subsequently sets, for example, the average position of each vote point within the searched coordinate range as the rotation center position. Then, the motion pattern classification unit 754 calculates, for each motion vector, an angle formed by each straight line connecting the start point and the end point with the rotation center position, and rotates depending on whether the obtained angle is a positive value or a negative value. The direction is classified as either “left” or “right”. 12 and 13 are diagrams for explaining a method of determining the rotation direction. As shown in FIG.
  • step a925: Yes the motion pattern classification unit 754 proceeds to step a927 and classifies the motion pattern of the image I (n) as “other”. That is, the motion pattern classification unit 754 has no regularity in the direction of each motion vector in the image I (n), and the motion pattern between the images I (n ⁇ 1) and I (n) is “translation” “forward”.
  • the motion pattern of the image I (n) is classified as “others” in step a927, and the process returns to step a9 in FIG.
  • the motion patterns of the image I (n) classified by the motion pattern classification process are held in the storage unit 740.
  • the movement direction change image extraction unit 751 extracts the image I (n) as a movement direction change image (step a21), and the process proceeds to step a23.
  • the motion direction change determination unit 755 determines the similarity when the motion patterns of the images I (n ⁇ 1) and I (n) are different. The movement direction change determination unit 755 determines that the movement direction has not changed when the movement patterns are similar, and determines that the movement direction has changed when the movement patterns are dissimilar.
  • the unit 763 sets a predetermined number of consecutive images around the movement direction change image extracted in step a21 as the vicinity image, and sets the display speed of the movement direction change image and the vicinity image to the display speed of other images. Control to make it relatively low is performed (step a27).
  • the motion pattern of each image is classified based on the motion vector between the images constituting the time series image, and the motion direction is changed based on this motion pattern.
  • Images can be extracted.
  • sequentially displaying time-series images it is possible to control the display speed of an image whose direction of movement has changed and its neighboring images relatively lower than the display speed of other images.
  • the observer can observe an image whose movement direction changes at a slower display speed than the other images.
  • FIG. 14 is a flowchart illustrating a processing procedure of the image processing apparatus according to this modification.
  • symbol is attached
  • FIG. 14 is a flowchart illustrating a processing procedure of the image processing apparatus according to this modification.
  • symbol is attached
  • the motion direction change determination unit compares the motion patterns of the images I (n ⁇ 1) and I (n) in step a17 to change the motion direction. If the direction of motion has changed as a result of the determination (step a19: Yes), whether or not a predetermined number of images having the same motion pattern as image I (n-1) continues from image I (n-1) It is determined whether or not (step b20).
  • the predetermined number a value of 2 or more may be set in advance and may be a fixed value, or may be configured to be changeable by a user operation or the like. And when not continuing (step b20: No), it transfers to step a23.
  • the process proceeds to step a21, and the motion direction change image extraction unit extracts the image I (n) as the motion direction change image, and then proceeds to step a23.
  • FIG. 15 is a diagram for explaining the movement direction change image extraction processing in the present modification, and shows time-series images that are continuous from the back side to the near side in FIG.
  • the motion pattern changes to “translation right” in image I (n).
  • the image I (n) is extracted as a motion direction change image.
  • the display speed of the image I (n) and a predetermined number of consecutive images before and after is reduced.
  • FIG. 16 is a block diagram illustrating a functional configuration of the image processing device 70b according to the second embodiment.
  • symbol is attached
  • the image processing device 70b includes an external interface 710, an input unit 720, a display unit 730, a storage unit 740b, a calculation unit 750b, and a control unit 760 that controls operations of the entire image processing device 70b.
  • the storage unit 740b stores an image processing program 741b.
  • the calculation unit 750b includes a motion direction change image extraction unit 751b.
  • the motion direction change image extraction unit 751b serves as a grouping unit, a motion vector calculation unit 752 having a block division unit 753, a motion pattern classification unit 754, and the like.
  • the grouping unit 756 groups time-sequential image groups determined to have the same motion pattern.
  • the group determination unit 757 determines whether the grouped adjacent group is a group composed of images that are equal to or more than a predetermined reference image number.
  • the number of pre-reference images to be applied to the previous group and the number of post-reference images to be applied to the subsequent group are set in advance as the reference image number.
  • the movement direction change determination unit 758 determines a change in movement direction between groups. Then, the motion direction change image extraction unit 751b extracts the first image in time series as the motion direction change image in the group in which the motion direction is determined to be changed by the motion direction change determination unit 758.
  • FIG. 17 is a flowchart illustrating a processing procedure performed by the image processing apparatus 70b according to the second embodiment. Note that the processing described here is realized by the operation of each unit of the image processing apparatus 70b according to the image processing program 741b stored in the storage unit 740b. Further, the same processing steps as those shown in FIG. 3 in the first embodiment are denoted by the same reference numerals.
  • FIG. 18 is a diagram for explaining the grouping process.
  • the farthest side in FIG. 18 is the top (image number 1) image I (1), and shows time-series images continuous toward the front side. .
  • time-sequential image groups determined to have the same motion pattern are grouped.
  • the image groups of the images I (1) to I (4) whose motion patterns are classified as “parallel movement right” are grouped as a group G (1).
  • the image pattern is classified as “translation upper left”
  • the image pattern is “parallel”.
  • Three images classified as “moving right” are grouped as group G (3), and after group G (3), the image patterns are classified as “rotating right” and grouped as group G (4).
  • FIG. 19 is a flowchart showing a detailed processing procedure of the grouping process.
  • the grouping unit 756 first initializes the image number n again (step d1), and registers the image I (n ⁇ 1) in the first group (step d3). Subsequently, the grouping unit 756 reads out and acquires the motion patterns of the images I (n ⁇ 1) and I (n) classified at step a9 in FIG. 17 from the storage unit 740b (step d5). Then, the grouping unit 756 compares the acquired motion patterns, and if the motion patterns are the same (step d7: Yes), the image I (n) is added to the group in which the image I (n ⁇ 1) is registered. Additional registration is performed (step d9).
  • the grouped data (group information) of each group is held in the storage unit 740b. Specifically, the last image number in the group, the motion pattern (the motion pattern of the images constituting the group), and the like are stored in association with the serial number assigned to each group.
  • the group determining unit 757 subsequently initializes a group number m for identifying the group to be processed (step c17). Then, the group determination unit 757 reads out and acquires the group information of the groups G (m ⁇ 1) and G (m) from the storage unit 740b (Step c19).
  • the group determination unit 757 determines whether or not the number of images constituting the group G (m ⁇ 1) is equal to or greater than the number of pre-reference images.
  • the number of images constituting the group G (m ⁇ 1) is obtained, for example, by subtracting the last image number in the group G (m ⁇ 2) from the last image number in the group G (m ⁇ 1). If the number of images before the reference is equal to or greater than the number of pre-reference images (step c21: Yes), the group determination unit 757 subsequently determines whether the number of images constituting the group G (m) is equal to or greater than the number of images after the reference.
  • the number of images constituting the group G (m) is obtained, for example, by subtracting the last image number in the group G (m ⁇ 1) from the last image number in the group G (m).
  • a value of 1 or more is preset for each of the number of pre-reference images and the number of post-reference images.
  • Each value of the number of pre-reference images and the number of post-reference images may be a fixed value or may be configured to be changeable by a user operation or the like.
  • the group determination unit 757 compares the motion patterns of the groups G (m ⁇ 1) and G (m) and determines the change in the motion direction. (Step c24). And as shown in FIG. 17, when a motion direction does not change (step c25: No), it transfers to step c27. At this time, when the motion pattern of the groups G (m ⁇ 1) and G (m) is “others”, the process may proceed to step c27 without performing the process of step c26 in the subsequent stage.
  • step c25 when the movement direction has changed (step c25: Yes), the movement direction change image extraction unit 751b extracts the time-series head image in the group G (m) as a movement direction change image (step c26). ), And proceeds to step c27.
  • 20 to 22 are diagrams for explaining a method of determining a change in the movement direction.
  • this determination method among the movement patterns, “parallel movement”, “rotational movement”, “forward movement”, “reverse movement”, and “others” are set as parent patterns. Then, “Parallel movement upper”, “Parallel movement upper left”, “Parallel movement left”, “Parallel movement lower left”, “Parallel movement lower”, “Parallel movement lower right”, “Parallel movement right”, and “Translation upper right” are the parent patterns Is a child pattern for. In addition, “left rotation movement” and “right rotation movement” are child patterns with respect to the parent pattern “rotation movement”. For example, as shown in FIG.
  • “upper” and “upper left”, “upper left” and “left”, “left” and “lower left”, “lower left” and “lower”, “lower” and “lower right”, “lower right” and “Right”, “Right” and “Upper right”, and “Upper right” and “Up” are defined as similar movement directions. Then, as shown in FIG. 21, when the child patterns of the movement patterns of the groups G (m ⁇ 1) and G (m) are “translation right” and “translation upper left” and the movement directions are dissimilar. Determines that the direction of movement has changed.
  • the display speed of the first image 193 and a predetermined number of consecutive images before and after the time-series in the group G (m) is reduced.
  • the child patterns of the movement patterns of groups G (m ⁇ 1) and G (m) are “translation right” and “translation upper right”, and the movement directions are similar. Is determined not to change the direction of movement. Therefore, when displaying time-series images, the display speed of the first image 195 in time series in the group G (m) and a predetermined number of consecutive images before and after is not reduced.
  • the same effects as in the first embodiment can be obtained.
  • the images constituting the time-series image it is possible to group a group of continuous images in time series determined to have the same motion pattern, and determine a change in motion direction in units of groups.
  • a motion direction change image can be extracted on the condition that a predetermined number of the same motion patterns are continuous before and after the motion pattern change as well as the motion direction change.
  • the present invention is not limited to this.
  • the present invention can be applied in the same manner as long as sequential images are sequentially displayed.
  • the image processing apparatus and the image processing program of the present invention are useful for efficiently observing images by preventing the observer from overlooking the display contents when displaying time-series images.

Landscapes

  • Health & Medical Sciences (AREA)
  • Life Sciences & Earth Sciences (AREA)
  • Engineering & Computer Science (AREA)
  • Surgery (AREA)
  • Physics & Mathematics (AREA)
  • Heart & Thoracic Surgery (AREA)
  • General Health & Medical Sciences (AREA)
  • Optics & Photonics (AREA)
  • Pathology (AREA)
  • Radiology & Medical Imaging (AREA)
  • Biophysics (AREA)
  • Biomedical Technology (AREA)
  • Veterinary Medicine (AREA)
  • Medical Informatics (AREA)
  • Molecular Biology (AREA)
  • Animal Behavior & Ethology (AREA)
  • Nuclear Medicine, Radiotherapy & Molecular Imaging (AREA)
  • Public Health (AREA)
  • Signal Processing (AREA)
  • Multimedia (AREA)
  • Computer Vision & Pattern Recognition (AREA)
  • General Physics & Mathematics (AREA)
  • Theoretical Computer Science (AREA)
  • Image Analysis (AREA)
  • Endoscopes (AREA)
  • Television Signal Processing For Recording (AREA)
PCT/JP2008/071049 2008-02-19 2008-11-19 画像処理装置および画像処理プログラム Ceased WO2009104316A1 (ja)

Priority Applications (3)

Application Number Priority Date Filing Date Title
EP08872675.7A EP2248457B1 (en) 2008-02-19 2008-11-19 Image processing device and image processing program
CN2008801269338A CN101945610B (zh) 2008-02-19 2008-11-19 图像处理装置
US12/857,892 US9031387B2 (en) 2008-02-19 2010-08-17 Image processing apparatus

Applications Claiming Priority (2)

Application Number Priority Date Filing Date Title
JP2008038018A JP5085370B2 (ja) 2008-02-19 2008-02-19 画像処理装置および画像処理プログラム
JP2008-038018 2008-02-19

Related Child Applications (1)

Application Number Title Priority Date Filing Date
US12/857,892 Continuation US9031387B2 (en) 2008-02-19 2010-08-17 Image processing apparatus

Publications (1)

Publication Number Publication Date
WO2009104316A1 true WO2009104316A1 (ja) 2009-08-27

Family

ID=40985209

Family Applications (1)

Application Number Title Priority Date Filing Date
PCT/JP2008/071049 Ceased WO2009104316A1 (ja) 2008-02-19 2008-11-19 画像処理装置および画像処理プログラム

Country Status (5)

Country Link
US (1) US9031387B2 (enExample)
EP (1) EP2248457B1 (enExample)
JP (1) JP5085370B2 (enExample)
CN (1) CN101945610B (enExample)
WO (1) WO2009104316A1 (enExample)

Families Citing this family (10)

* Cited by examiner, † Cited by third party
Publication number Priority date Publication date Assignee Title
CN102639049B (zh) 2010-09-29 2014-11-26 奥林巴斯医疗株式会社 信息处理装置以及胶囊型内窥镜系统
JP2013099464A (ja) * 2011-11-09 2013-05-23 Fujifilm Corp 内視鏡システム、内視鏡システムのプロセッサ装置、及び画像表示方法
JP5886075B2 (ja) * 2012-02-21 2016-03-16 日本放送協会 画像処理装置及びプログラム
JP5941758B2 (ja) * 2012-06-06 2016-06-29 オリンパス株式会社 内視鏡装置
EP3045100A1 (en) * 2013-09-09 2016-07-20 Olympus Corporation Image display device, image display method, and image display program
JP6249867B2 (ja) 2014-04-18 2017-12-20 オリンパス株式会社 カプセル内視鏡システム、カプセル内視鏡、受信装置、カプセル内視鏡の撮像制御方法、及びプログラム
JP6458357B2 (ja) * 2014-05-26 2019-01-30 株式会社リコー 検査装置、検査方法及び検査プログラム
JP6333494B1 (ja) * 2016-08-02 2018-05-30 オリンパス株式会社 画像処理装置、カプセル型内視鏡システム、画像処理装置の作動方法、及び画像処理装置の作動プログラム
JP2019201757A (ja) * 2018-05-22 2019-11-28 オリンパス株式会社 カプセル型内視鏡、カプセル型内視鏡システム及びカプセル型内視鏡の送信方法
JP6988001B2 (ja) * 2018-08-30 2022-01-05 オリンパス株式会社 記録装置、画像観察装置、観察システム、観察システムの制御方法、及び観察システムの作動プログラム

Citations (2)

* Cited by examiner, † Cited by third party
Publication number Priority date Publication date Assignee Title
WO2006100808A1 (ja) * 2005-03-22 2006-09-28 Osaka University カプセル内視鏡画像表示制御装置
JP2006280792A (ja) 2005-04-04 2006-10-19 Olympus Corp 画像表示装置

Family Cites Families (7)

* Cited by examiner, † Cited by third party
Publication number Priority date Publication date Assignee Title
JP3319678B2 (ja) * 1995-08-11 2002-09-03 ケイディーディーアイ株式会社 動画像の高速ブラウジング装置
JP2001245303A (ja) * 2000-02-29 2001-09-07 Toshiba Corp 動画像符号化装置および動画像符号化方法
US6709387B1 (en) * 2000-05-15 2004-03-23 Given Imaging Ltd. System and method for controlling in vivo camera capture and display rate
JP4418400B2 (ja) * 2005-05-20 2010-02-17 オリンパスメディカルシステムズ株式会社 画像表示装置
US20070060798A1 (en) * 2005-09-15 2007-03-15 Hagai Krupnik System and method for presentation of data streams
JP4768451B2 (ja) * 2006-01-18 2011-09-07 株式会社リコー 画像処理装置、画像形成装置、プログラムおよび画像処理方法
CN1836624A (zh) * 2006-03-07 2006-09-27 上海大学 智能内窥镜视觉导航系统及方法

Patent Citations (2)

* Cited by examiner, † Cited by third party
Publication number Priority date Publication date Assignee Title
WO2006100808A1 (ja) * 2005-03-22 2006-09-28 Osaka University カプセル内視鏡画像表示制御装置
JP2006280792A (ja) 2005-04-04 2006-10-19 Olympus Corp 画像表示装置

Non-Patent Citations (1)

* Cited by examiner, † Cited by third party
Title
See also references of EP2248457A4

Also Published As

Publication number Publication date
EP2248457A1 (en) 2010-11-10
CN101945610A (zh) 2011-01-12
JP2009195343A (ja) 2009-09-03
US9031387B2 (en) 2015-05-12
CN101945610B (zh) 2012-09-26
US20100310239A1 (en) 2010-12-09
JP5085370B2 (ja) 2012-11-28
EP2248457A4 (en) 2012-05-02
EP2248457B1 (en) 2016-05-04

Similar Documents

Publication Publication Date Title
JP5085370B2 (ja) 画像処理装置および画像処理プログラム
US12154680B2 (en) Endoscopic image display method, apparatus, computer device, and storage medium
US8830307B2 (en) Image display apparatus
EP1769729B1 (en) System and method for in-vivo feature detection
US8837821B2 (en) Image processing apparatus, image processing method, and computer readable recording medium
US8478010B2 (en) Image processing apparatus, image processing program recording medium, and image processing method
JP5972865B2 (ja) 生体内画像の部分を表示するシステム及びその作動方法
JP4959445B2 (ja) 画像処理装置および画像処理プログラム
US10178941B2 (en) Image processing apparatus, image processing method, and computer-readable recording device
US20100208047A1 (en) Image processing apparatus, image processing method, and computer-readable recording medium storing image processing program
US8768024B1 (en) System and method for real time detection of villi texture in an image stream of the gastrointestinal tract
WO2020256568A1 (en) Method for real-time detection of objects, structures or patterns in a video, an associated system and an associated computer readable medium
JP2010158308A (ja) 画像処理装置、画像処理方法および画像処理プログラム
CN103747718A (zh) 图像处理装置
US9877635B2 (en) Image processing device, image processing method, and computer-readable recording medium
KR20220102172A (ko) 실시간 영상을 통해 획득되는 병변 판단 시스템의 제어 방법, 장치 및 프로그램
US20100034436A1 (en) Image processing apparatus, computer program product and image processing method
JP5004736B2 (ja) 画像処理装置および画像処理プログラム
CN114049934B (zh) 辅助诊断方法、装置、系统、设备和介质
KR20140021193A (ko) 피부 진단기기 및 이의 제어방법
US20240378840A1 (en) Image processing device, image processing method, and storage medium
US20250049291A1 (en) Medical support device, endoscope apparatus, medical support method, and program
JP2010142375A (ja) 画像処理装置、画像処理プログラムおよび画像処理方法
US8406489B2 (en) Image display apparatus
CN120036703A (zh) 一种内窥镜辅助诊断设备及其诊断提示方法

Legal Events

Date Code Title Description
WWE Wipo information: entry into national phase

Ref document number: 200880126933.8

Country of ref document: CN

121 Ep: the epo has been informed by wipo that ep was designated in this application

Ref document number: 08872675

Country of ref document: EP

Kind code of ref document: A1

WWE Wipo information: entry into national phase

Ref document number: 2008872675

Country of ref document: EP

NENP Non-entry into the national phase

Ref country code: DE