USRE45180E1 - Structure for a multiple-gate FET device and a method for its fabrication - Google Patents

Structure for a multiple-gate FET device and a method for its fabrication Download PDF

Info

Publication number
USRE45180E1
USRE45180E1 US12/792,373 US79237310A USRE45180E US RE45180 E1 USRE45180 E1 US RE45180E1 US 79237310 A US79237310 A US 79237310A US RE45180 E USRE45180 E US RE45180E
Authority
US
United States
Prior art keywords
slope
semiconductor
substrate
trenches
hard mask
Prior art date
Legal status (The legal status is an assumption and is not a legal conclusion. Google has not performed a legal analysis and makes no representation as to the accuracy of the status listed.)
Expired - Lifetime, expires
Application number
US12/792,373
Inventor
Hung-Wei Chen
Tang-Xuan Zhong
Sheng-Da Liu
Chang-Yun Chang
Ping-Kun Wu
Chao-Hsiung Wang
Fu-Liang Yang
Current Assignee (The listed assignees may be inaccurate. Google has not performed a legal analysis and makes no representation or warranty as to the accuracy of the list.)
Taiwan Semiconductor Manufacturing Co TSMC Ltd
Original Assignee
Taiwan Semiconductor Manufacturing Co TSMC Ltd
Priority date (The priority date is an assumption and is not a legal conclusion. Google has not performed a legal analysis and makes no representation as to the accuracy of the date listed.)
Filing date
Publication date
Application filed by Taiwan Semiconductor Manufacturing Co TSMC Ltd filed Critical Taiwan Semiconductor Manufacturing Co TSMC Ltd
Priority to US12/792,373 priority Critical patent/USRE45180E1/en
Priority to US13/372,622 priority patent/USRE45165E1/en
Application granted granted Critical
Publication of USRE45180E1 publication Critical patent/USRE45180E1/en
Adjusted expiration legal-status Critical
Expired - Lifetime legal-status Critical Current

Links

Images

Classifications

    • HELECTRICITY
    • H10SEMICONDUCTOR DEVICES; ELECTRIC SOLID-STATE DEVICES NOT OTHERWISE PROVIDED FOR
    • H10DINORGANIC ELECTRIC SEMICONDUCTOR DEVICES
    • H10D30/00Field-effect transistors [FET]
    • H10D30/01Manufacture or treatment
    • H10D30/021Manufacture or treatment of FETs having insulated gates [IGFET]
    • H10D30/024Manufacture or treatment of FETs having insulated gates [IGFET] of fin field-effect transistors [FinFET]
    • HELECTRICITY
    • H10SEMICONDUCTOR DEVICES; ELECTRIC SOLID-STATE DEVICES NOT OTHERWISE PROVIDED FOR
    • H10DINORGANIC ELECTRIC SEMICONDUCTOR DEVICES
    • H10D30/00Field-effect transistors [FET]
    • H10D30/60Insulated-gate field-effect transistors [IGFET]
    • H10D30/611Insulated-gate field-effect transistors [IGFET] having multiple independently-addressable gate electrodes influencing the same channel
    • HELECTRICITY
    • H10SEMICONDUCTOR DEVICES; ELECTRIC SOLID-STATE DEVICES NOT OTHERWISE PROVIDED FOR
    • H10DINORGANIC ELECTRIC SEMICONDUCTOR DEVICES
    • H10D30/00Field-effect transistors [FET]
    • H10D30/60Insulated-gate field-effect transistors [IGFET]
    • H10D30/62Fin field-effect transistors [FinFET]
    • H10D30/6211Fin field-effect transistors [FinFET] having fin-shaped semiconductor bodies integral with the bulk semiconductor substrates
    • HELECTRICITY
    • H10SEMICONDUCTOR DEVICES; ELECTRIC SOLID-STATE DEVICES NOT OTHERWISE PROVIDED FOR
    • H10DINORGANIC ELECTRIC SEMICONDUCTOR DEVICES
    • H10D62/00Semiconductor bodies, or regions thereof, of devices having potential barriers
    • H10D62/10Shapes, relative sizes or dispositions of the regions of the semiconductor bodies; Shapes of the semiconductor bodies
    • H10D62/17Semiconductor regions connected to electrodes not carrying current to be rectified, amplified or switched, e.g. channel regions
    • H10D62/351Substrate regions of field-effect devices
    • H10D62/357Substrate regions of field-effect devices of FETs
    • H10D62/364Substrate regions of field-effect devices of FETs of IGFETs
    • HELECTRICITY
    • H10SEMICONDUCTOR DEVICES; ELECTRIC SOLID-STATE DEVICES NOT OTHERWISE PROVIDED FOR
    • H10DINORGANIC ELECTRIC SEMICONDUCTOR DEVICES
    • H10D84/00Integrated devices formed in or on semiconductor substrates that comprise only semiconducting layers, e.g. on Si wafers or on GaAs-on-Si wafers
    • H10D84/01Manufacture or treatment
    • H10D84/0123Integrating together multiple components covered by H10D12/00 or H10D30/00, e.g. integrating multiple IGBTs
    • H10D84/0126Integrating together multiple components covered by H10D12/00 or H10D30/00, e.g. integrating multiple IGBTs the components including insulated gates, e.g. IGFETs
    • H10D84/0128Manufacturing their channels
    • HELECTRICITY
    • H10SEMICONDUCTOR DEVICES; ELECTRIC SOLID-STATE DEVICES NOT OTHERWISE PROVIDED FOR
    • H10DINORGANIC ELECTRIC SEMICONDUCTOR DEVICES
    • H10D84/00Integrated devices formed in or on semiconductor substrates that comprise only semiconducting layers, e.g. on Si wafers or on GaAs-on-Si wafers
    • H10D84/01Manufacture or treatment
    • H10D84/0123Integrating together multiple components covered by H10D12/00 or H10D30/00, e.g. integrating multiple IGBTs
    • H10D84/0126Integrating together multiple components covered by H10D12/00 or H10D30/00, e.g. integrating multiple IGBTs the components including insulated gates, e.g. IGFETs
    • H10D84/0135Manufacturing their gate conductors
    • HELECTRICITY
    • H10SEMICONDUCTOR DEVICES; ELECTRIC SOLID-STATE DEVICES NOT OTHERWISE PROVIDED FOR
    • H10DINORGANIC ELECTRIC SEMICONDUCTOR DEVICES
    • H10D84/00Integrated devices formed in or on semiconductor substrates that comprise only semiconducting layers, e.g. on Si wafers or on GaAs-on-Si wafers
    • H10D84/01Manufacture or treatment
    • H10D84/0123Integrating together multiple components covered by H10D12/00 or H10D30/00, e.g. integrating multiple IGBTs
    • H10D84/0126Integrating together multiple components covered by H10D12/00 or H10D30/00, e.g. integrating multiple IGBTs the components including insulated gates, e.g. IGFETs
    • H10D84/0135Manufacturing their gate conductors
    • H10D84/0142Manufacturing their gate conductors the gate conductors having different shapes or dimensions
    • HELECTRICITY
    • H10SEMICONDUCTOR DEVICES; ELECTRIC SOLID-STATE DEVICES NOT OTHERWISE PROVIDED FOR
    • H10DINORGANIC ELECTRIC SEMICONDUCTOR DEVICES
    • H10D84/00Integrated devices formed in or on semiconductor substrates that comprise only semiconducting layers, e.g. on Si wafers or on GaAs-on-Si wafers
    • H10D84/01Manufacture or treatment
    • H10D84/0123Integrating together multiple components covered by H10D12/00 or H10D30/00, e.g. integrating multiple IGBTs
    • H10D84/0126Integrating together multiple components covered by H10D12/00 or H10D30/00, e.g. integrating multiple IGBTs the components including insulated gates, e.g. IGFETs
    • H10D84/0158Integrating together multiple components covered by H10D12/00 or H10D30/00, e.g. integrating multiple IGBTs the components including insulated gates, e.g. IGFETs the components including FinFETs
    • HELECTRICITY
    • H10SEMICONDUCTOR DEVICES; ELECTRIC SOLID-STATE DEVICES NOT OTHERWISE PROVIDED FOR
    • H10DINORGANIC ELECTRIC SEMICONDUCTOR DEVICES
    • H10D84/00Integrated devices formed in or on semiconductor substrates that comprise only semiconducting layers, e.g. on Si wafers or on GaAs-on-Si wafers
    • H10D84/01Manufacture or treatment
    • H10D84/02Manufacture or treatment characterised by using material-based technologies
    • H10D84/03Manufacture or treatment characterised by using material-based technologies using Group IV technology, e.g. silicon technology or silicon-carbide [SiC] technology
    • H10D84/038Manufacture or treatment characterised by using material-based technologies using Group IV technology, e.g. silicon technology or silicon-carbide [SiC] technology using silicon technology, e.g. SiGe

Definitions

  • Fin-like field effect transistor FinFET
  • the fabrication and design of such devices, including FinFET devices raises issues such as compatibility with planar transistor fabrication, degradation of carrier mobility, and reliability.
  • FIG. 1 is a simplified flowchart of one embodiment of a method for forming a multi-gate device.
  • FIGS. 2-10 are sectional views of embodiments of a multi-gate device during fabrication using the method of FIG. 1 .
  • FIGS. 11-13 are perspective views of one embodiment of a multi-gate device during fabrication.
  • FIG. 14 is a sectional view of one embodiment of an integrated circuit having a plurality of multi-gate devices.
  • the present disclosure relates generally to a microelectronic device and, more specifically, to a microelectronic device having a multiple-gate structure and a method for its fabrication.
  • first and second features are formed in direct contact
  • additional features may be formed interposing the first and second features, such that the first and second features may not be in direct contact.
  • a method 100 may be used to form a multiple-gate device, such as a FinFET.
  • FIGS. 2-10 provide sectional views of one embodiment of a device fabricated using the method 100 and FIGS. 11-13 provide perspective views of the same device. Accordingly, embodiments of both a method for fabricating a device and the device itself are described below.
  • the method 100 begins in step 110 by providing a substrate 210 with a hard mask layer 230 .
  • the substrate 210 may comprise an elementary semiconductor such as silicon, germanium, and diamond, or a compound semiconductor such as silicon carbide, gallium arsenic, indium arsenide, and indium phosphide.
  • the substrate 210 may comprise an alloy semiconductor such as silicon germanium, silicon germanium carbide, gallium arsenic phosphide, and gallium indium phosphide.
  • the semiconductor substrate 210 may have a single-crystal structure and the substrate surface may have a proper orientation. For example, silicon substrate may have a top surface oriented in (100), (110), or (111).
  • the substrate 210 may include an epitaxial layer.
  • the substrate may have an epitaxial layer overlying a bulk semiconductor.
  • the substrate may be strained for performance enhancement.
  • the epitaxial layer may comprise a semiconductor material different from those of the bulk semiconductor such as a layer of silicon germanium overlying a bulk silicon, or a layer of silicon overlying a bulk silicon germanium formed by a process including selective epitaxial growth (SEG).
  • the substrate 210 may comprise a semiconductor-on-insulator (SOI) structure.
  • the substrate may include a buried oxide (BOX) layer formed by a process such as separation by implanted oxygen (SIMOX).
  • the substrate 210 may comprise a p-type doped region and/or an n-type doped region. All doping may be implemented by a process such as ion implantation.
  • the substrate 210 may comprise an isolation feature to separate different devices formed on the substrate.
  • the isolation feature may comprise different structure and can be formed using different processing technologies.
  • the isolation feature may comprise a dielectric isolation such as local oxidation of silicon (LOCOS), shallow trench isolation (STI), junction isolation, field isolation, and/or other suitable isolation structures.
  • LOC local oxidation of silicon
  • STI shallow trench isolation
  • junction isolation field isolation, and/or other suitable isolation structures.
  • the hard mask layer 230 may include silicon nitride, silicon oxynitride, silicon carbide, and/or other suitable dielectric materials and may be formed using a method such as chemical vapor deposition (CVD), physical vapor deposition (PVD), or atomic layer deposition (ALD).
  • the semiconductor device 200 may further include a pad layer 220 positioned between the hard mask layer 230 and the substrate 210 , as shown in FIG. 2 .
  • the pad layer 220 may comprise silicon oxide and/or other suitable materials, and may be formed by a method such as thermal oxidation.
  • the hard mask layer 230 and the pad layer 220 are patterned to form a plurality of pad islands 222 and hard mask islands 232 .
  • the patterning may be accomplished using a suitable process such as photolithography and etching.
  • the etching processing is implemented to transfer the pattern defined by a photomask to the pad layer 220 and hard mask layer 230 .
  • the photolithography processing may include photoresist coating, photoresist patterning, and photoresist stripping.
  • the photoresist patterning may further include processing steps of soft baking, mask aligning, exposing, post-exposure baking, developing photoresist, and hard baking.
  • the photolithography processing may be implemented or replaced by other proper methods such as maskless photolithography, electron-beam writing, ion-beam writing, optical writing, and molecular imprint.
  • the etching processing may include wet etch, dry etch, ion-reactive-etch (RIE), and other suitable processing.
  • RIE ion-reactive-etch
  • the hard mask layer 230 of silicon nitride may be removed by phosphoric acid while the pad layer 220 of silicon oxide may be removed by hydrofluoric (HF) acid or buffered hydrofluoric (BHF) acid.
  • HF hydrofluoric
  • BHF buffered hydrofluoric
  • the method 100 proceeds to step 130 in which the substrate 210 is etched to form a plurality of shallow trenches 240 and a plurality of semiconductor mesas.
  • Each of the plurality of semiconductor mesas may comprise a top semiconductor mesa 212 and a bottom semiconductor mesa 214 .
  • the top semiconductor mesa 212 has a sidewall 242 of a first slope.
  • the bottom semiconductor mesa 214 has a sidewall 244 of a second slope.
  • the sidewall 242 may be substantially vertical and the first slop may be about 90 degrees.
  • the first slope may range from about 85 degrees to about 90 degrees.
  • the second slope may range from about 60 degrees to about 85 degrees.
  • the bottom semiconductor mesa 214 may have a thickness ranging from about 200 nm to about 1000 nm.
  • the top semiconductor mesa 212 may have a thickness ranging from about 10 nm to about 100 nm.
  • the two trenches 240 define a first outline in the surface of the mesa 212 from one sidewall 242 to another sidewall 242 .
  • the first outline of the top semiconductor mesa 212 has a width ranging from about 5 nm to about 100 nm.
  • an exemplary top semiconductor mesa 212 may have a thickness of about 70 nm and a width of about 20 nm.
  • a second outline of the top semiconductor mesa 212 may be defined from the source to drain and be substantially perpendicular to the first outline.
  • the second outline of the top semiconductor mesa 212 may be substantially parallel to the channel direction of the semiconductor device 200 .
  • the sidewalls 242 are associated with the second outline of the top semiconductor mesa 212 .
  • the substrate 210 may have a single-crystal structure and the substrate surface may have a crystal orientation such as (100), (110), or (111).
  • the substrate 210 may be positioned such that the sidewalls of the top semiconductor mesa 212 may have one pre-selected crystal orientation or at least two pre-selected crystal orientations.
  • the substrate surface, along with the surface of the top semiconductor mesa 212 may have a crystal orientation (100).
  • the sidewalls 242 of the top semiconductor mesa 212 and the sidewalls associated with the first outline may each have a crystal orientation (100).
  • the substrate surface, along with the surface of the top semiconductor mesa 212 may have a first crystal orientation.
  • the sidewalls 242 of the top semiconductor mesa 212 may have a second crystal orientation.
  • the sidewalls of the top semiconductor mesa 212 associated with the first outline may have a third crystal orientation.
  • the plurality of shallow trenches 240 , the top semiconductor mesas 212 , and the bottom semiconductor mesas 214 may be formed by a suitable process such as etching the substrate under the patterned hard mask layer.
  • the etching process may be selective etching such that only the substrate may be removed while the patterned hard mask layer remains.
  • the substrate 210 comprises silicon while the hard mask layer 230 comprises silicon nitride (and the pad layer 220 comprises silicon oxide)
  • the etchant may have a higher etching rate to silicon oxide and relatively lower etching rate to the hard mask layer (and the pad layer).
  • the openings of the hard mask layer are transferred to the semiconductor substrate to form the plurality of shallow trenches 240 .
  • a suitable etching process may include wet etching, dry etching, RIE, and/or combinations thereof.
  • a suitable etching process may comprise various sub-steps to form two-slope shallow trenches 240 and the semiconductor mesas.
  • a dry etching process may be applied and followed by a wet etching process used to form a two-slope trench structure.
  • the dry etching may include HBr, Cl 2 , SF 6 , O 2 , Ar, and/or He; the wet etching may include HF—HNO 3 —H 2 O, and/or KOH.
  • the method 100 proceeds to step 140 , where the plurality of shallow trenches 240 are partially filled with a dielectric material.
  • the dielectric material may be formed in the shallow trenches to form shallow trench isolation (STI) features 250 and over the semiconductor islands to form dielectric islands 252 .
  • the dielectric islands 252 may be formed in direct contact with the hard mask islands 232 .
  • the hard mask islands 232 and/or pad islands 222 may be removed and the dielectric islands 252 may be formed on the semiconductor mesas 212 .
  • the STI features 250 may substantially fill the bottom portions of the shallow trenches (as defined by sidewalls 244 ).
  • the dielectric material may comprise silicon oxide, silicon nitride, silicon oxynitride, fluorinated silicate glass (FSG), low dielectric constant (K) materials, combinations thereof, and/or other suitable dielectric material.
  • the STI features 250 may be formed by a process such as thermal oxidation, spin-on glass (SOG), CVD, and PVD. An exemplary method may use a high density plasma CVD (HDP-CVD) process to form silicon oxide.
  • the STI features 250 may have a multiple-layer structure and may be formed in multiple steps.
  • the method 100 proceeds to step 150 during which the plurality of the dielectric islands 252 are removed by a suitable process such as a chemical mechanical planarization (chemical mechanical polishing or CMP) process.
  • a suitable process such as a chemical mechanical planarization (chemical mechanical polishing or CMP) process.
  • CMP chemical mechanical polishing
  • a different STI structure may be fulfilled using a method described below in place of steps 140 and 150 , with reference to FIGS. 5b and 6b .
  • the plurality of shallow trenches 240 a and 240 b in FIG. 5b are substantially filled with a dielectric material to form a plurality of STI features.
  • the device 200 may be covered by a photoresist layer using a method such as a photolithography process similar to the photolithography process described in step 120 .
  • the photoresist layer is patterned to cover a first group of the plurality of STI features in a first region, including 240 a, and leave the second group thereof in a second region uncovered, including 240 a.
  • An etching method may be employed to etch the second group of STI features formed in the second region such that the second group of STI features (such as 240 b) in the second regions are recessed to partially expose sidewalls of the shallow trenches in the second region.
  • the top semiconductor mesas in the second region have sidewalls substantially exposed, similar to the top semiconductor mesas 212 in FIG. 5a .
  • the STI features formed in the first region (such as 240 b) are not etched and remain substantially filled.
  • the etching process to recess the second group of STI features may comprises a proper etching process including a reactive ion etching (RIE) process as an example. Other proper etching process may be alternatively used to utilize the above structure.
  • RIE reactive ion etching
  • the patterned photoresist layer may be removed by a suitable method such as wet stripping and plasma ashing.
  • the plurality of the dielectric islands 252 may be removed by a suitable process such as a CMP process.
  • the dielectric material forming the STI features 250 remains substantially intact while the dielectric islands 252 are removed.
  • the hard mask layer and oxide pad layer may be removed as well during the process to remove the dielectric islands 252 or in separate processes.
  • the semiconductor mesas in the second region have sidewalls partially exposed and may be used to form three dimensional structures such as FinFET transistors while the semiconductor mesas in the first regions may be used to form planar structures such as planar transistors.
  • core devices may be formed with FinFET structures in the second region and peripheral devices may be formed with planar structures in the first region.
  • the dielectric material may be similar to those described in step 140 such as silicon oxide, silicon nitride, silicon oxynitride, fluorinated silicate glass (FSG), low dielectric constant (K) materials, combinations thereof, and/or other suitable dielectric material as well.
  • the STI features 250 may be formed by a process such as thermal oxidation, spin-on glass (SOG), CVD, and PVD.
  • An exemplary method may use a high density plasma CVD (HDP-CVD) process to form silicon oxide.
  • the STI features may have a multiple-layer structure and may be formed in multiple steps
  • the plurality of the hard mask islands 232 may be removed by a suitable process including etching and/or CMP.
  • the pad islands 222 may also be removed during this step.
  • CMP processing may be used remove both the hard mask islands 232 and the pad islands 222 and may planarize the surface of the semiconductor device 200 .
  • the hard mask islands 232 may be removed by a CMP processing and the pad islands 222 may be then removed by etching such as wet etching.
  • both the pad islands 222 and the hard mask islands 232 may be removed by a sequential etching process such as phosphoric acid to remove the hard mask islands 232 and HF to remove the pad islands 222 .
  • the hard mask islands 232 may be removed by a process such as CMP and the pad islands 222 may remain substantially intact. In another example, as mentioned before, the hard mask islands 232 may be removed in an earlier step (e.g., between steps 130 and 140 ).
  • the method 100 proceeds to step 160 in which the top semiconductor mesa 212 may be narrowed by a thermal oxidation process.
  • the top semiconductor mesa 212 used to form active regions, may be narrowed after being formed by etching through the patterned hard mask at step 130 .
  • the semiconductor mesa 212 may undergo a thermal oxidation process using a high temperature in an oxygen environment to form an oxide layer 260 , as shown in FIG. 8 .
  • the thermal oxidation process may comprise a dry oxidation process using an oxygen environment and/or a wet oxidation process.
  • the temperature used in thermal oxidation of a silicon mesa may range from about 900° C. to about 1200° C.
  • the oxide layer 260 is then removed by an etching process, as shown in FIG. 9 .
  • an HF or BHF etching solution may be used to remove the silicon mesa, providing a smaller width of the top semiconductor mesa 212 than may be obtained using photolithography patterning techniques.
  • the surface of the top semiconductor mesa 212 may be cleaned during the above thermal oxidizing and removal processing.
  • a multiple-gate stack may be formed around the top semiconductor mesa 212 .
  • a gate dielectric layer 262 may be formed around the top semiconductor mesa 212 . As shown in FIG. 10 , the gate dielectric layer 262 may be disposed on the top surface and sidewalls 242 of the top semiconductor mesa 212 , and over the dielectric material 250 .
  • the gate dielectric layer 262 may comprise silicon oxide, silicon oxynitride, high dielectric-constant (K) material, or combinations thereof.
  • the high-k material may include TaN, TiN, Ta 2 O 5 , HfO 2 , ZrO 2 , HfSiON, HfSi x , HfSi x N y , HfAlO 2 , NiSi x , and/or other suitable materials.
  • the gate dielectric layer 262 may have a thickness ranging between about 20 Angstroms and about 200 Angstroms.
  • the gate dielectric layer may have a multilayer structure such as one layer of silicon oxide and one layer of high-k material.
  • the dielectric layer may be formed using thermal oxidation, ALD, CVD, PVD, and/or other suitable methods.
  • a gate electrode layer 270 may be formed over the gate dielectric layer 262 to substantially fill the trenches 240 and may extend above the top semiconductor mesa 212 , as shown in FIG. 10 , such that the thickness thereof over the top surface of the top semiconductor mesa 212 may be more than a designed thickness of the gate electrode plus a processing margin.
  • the gate electrode layer 270 may comprise polycrystalline silicon (poly-silicon), metal such as Al. Cu, W, Ti, Ta, TiN, TaN, NiSi, CoSi, and/or other proper conductive materials.
  • the gate electrode layer 270 may be formed by CVD, PVD, plating, ALD, and other suitable processes.
  • the gate electrode layer 270 may have a multilayer structure and may be formed in a multiple-step process.
  • a hard mask layer 280 may be formed on the gate electrode layer 270 .
  • the hard mask layer 280 may be substantially similar to the hard mask layer 230 in formation and composition, but may use other suitable materials and processing methods if desired.
  • the hard mask layer 280 may comprise silicon oxynitride and may be formed by a CVD process.
  • a layer of photoresist may be formed over the hard mask layer 280 by a suitable process such as spin-on coating and then patterned to form a patterned photoresist feature 285 by a proper patterning method similar to those used in step 120 . Then the pattern of the photoresist 285 may then be transferred to the hard mask layer 280 and to the underlying gate electrode layer 270 and the gate dielectric layer 262 to form gate electrodes 272 and gate dielectric features 264 , as shown in FIG. 12 , in a plurality of processing steps and various sequences. The photoresist 285 may be stripped and the patterned hard mask may then be removed.
  • a suitable process such as spin-on coating
  • the pattern of the photoresist 285 may then be transferred to the hard mask layer 280 and to the underlying gate electrode layer 270 and the gate dielectric layer 262 to form gate electrodes 272 and gate dielectric features 264 , as shown in FIG. 12 , in a plurality of processing steps and various sequences.
  • the hard mask layer 280 is etched through the patterned photoresist 285 by an etching process such as dry etching and then the photoresist 285 is stripped.
  • the gate dielectric layer 262 and the gate electrode layer 270 are then etched through the patterned hard mask layer to form the gate dielectric features 264 and gate electrodes 272 .
  • the patterned hard mask layer 280 is removed afterward using a process such as wet etching.
  • the gate dielectric feature 264 and the gate electrodes 272 may have multiple sides in direct contact with the top semiconductor mesa 212 , including direct contact with the top surface and sidewalls to enhance the performance of the semiconductor device 200 .
  • the method 100 may proceed to step 180 to form source and drain (S/D) regions and step 190 to form silicide features and spacers.
  • S/D regions and the silicide and spacers may be combined into a set of processes.
  • the source and drain regions may be formed in the top semiconductor mesa and may have another width wider than the width defined by the first outline of the top semiconductor mesa 212 .
  • the source and drain may have a raised structure formed over the top semiconductor mesa 212 , proximate to the gate dielectric 264 and the gate electrode 272 .
  • the source and drain regions may be disposed in and/or on the top semiconductor mesa 212 and laterally interposed by the gate stack.
  • the S/D regions may comprise a source drain extension (SDE, light doped drain, or LDD) structure and a heavy doped source and drain features.
  • the S/D regions may comprise various doping profiles and may be formed by a plurality of ion implant processes.
  • the first ion implantation process may have a lower doping concentration ranging from about 10 13 to about 5 ⁇ 10 14 ion/cm 2 .
  • the dimension of the first ion implantation may be extended to and aligned with the sidewall of the gate electrode and gate dielectric.
  • the second ion implantation process may have a higher doping concentration ranging from about 10 15 to about 5 ⁇ 10 15 ion/cm 2 .
  • the dimension of the second ion implantation may be offset from the sidewall of the gate electrode by a gate spacer.
  • the S/D regions may comprise a double diffused drain (DDD) structure that provides a high breakdown voltage where the heavy doped regions encompass the SDE regions.
  • DDD double diffused drain
  • An additional doping profile may be implemented to form a halo structure proximate to the SDE ends having the same type dopant of the substrate and formed using a process such as an angled ion implantation process.
  • Silicide features 274 may be formed on the gate electrode 272 and may also be formed on the S/D regions (not shown).
  • the silicide features may comprise nickel silicide, cobalt silicide, tungsten silicide, tantalum silicide, titanium silicide, platinum silicide, erbium silicide, palladium silicide, and/or combinations thereof.
  • the metal silicide may be formed by CVD, PVD, or ALD.
  • metal silicide may be formed by a silicidation processing, referred to as self-aligned silicide (salicide).
  • the salicide processing may include metal deposition, annealing, and removal of un- reacted metal processes.
  • the silicide features may be formed after forming spacer features.
  • Spacer features may be formed on the semiconductor device 200 .
  • spacer features 290 may be formed and disposed on the sidewalls of the gate electrode 272 and extended to the surfaces of the STI features 250 and the semiconductor mesa 212 .
  • the spacer features 290 may include a dielectric material such as silicon nitride (SiN), silicon oxynitride (SiON), and/or silicon oxide (SiO 2 ).
  • the spacer features 290 may be formed by depositing the dielectric material using CVD, ALD, PVD, and/or other processing methods, and then anisotropically etching back using a method such as dry etching.
  • the spacer features may have a multiple-layer structure such as one layer of silicon oxide and one layer silicon nitride.
  • the SDE regions may be formed before the formation of the spacer features and the heavily doped S/D regions may be formed thereafter such that the heavy doped S/D regions are offset from the SDE region by the spacer features 290 .
  • Other spacer features may be formed, such as spacer features 292 formed on the sidewalls of the semiconductor mesa 212 and extended to the surfaces of the STI features 250 .
  • the doped channel, source, and drain in the semiconductor device 200 may be formed by various doping processes such as ion implantation and may comprise P-type dopants and N-type dopants.
  • the N-type dopants are employed to form a channel doping profile for a P-type metal-oxide- semiconductor field effect transistor (PMOSFET or PMOS) or source/drain doping profiles for an N-type metal-oxide-semiconductor field effect transistor (NMOSFET or NMOS).
  • the N-type dopants may include phosphorus, arsenic, and/or other materials.
  • P-type dopants are employed to form a channel doping profile for an NMOS or source/drain doping profiles for a PMOS.
  • the P-type dopants may include boron, boron fluoride, indium, and/or other materials. Subsequent diffusion, annealing, and/or electrical activation processes may be employed after the impurity is implanted.
  • the S/D regions may comprise semiconductor materials different from those of the substrate.
  • the semiconductor mesa may comprise silicon while the source/drain may comprise silicon germanium.
  • the semiconductor mesa may comprise silicon germanium while the source/drain may comprise silicon.
  • the S/D regions may be in a single crystal structure formed by a process such as selective epitaxy growth (SEG), and other suitable methods.
  • FIG. 14 illustrated is a sectional view of one embodiment of an integrated circuit 300 constructed according to aspects of the present disclosure.
  • the integrated circuit 300 is one environment in which the semiconductor device 200 of FIG. 13 may be implemented.
  • the integrated circuit 300 includes a plurality of planar MOS devices 310 and a plurality of FinFET devices 320 , wherein one or more of the plurality of devices 320 may be substantially similar to the semiconductor device 200 of FIG. 13 .
  • the integrated circuit 300 also includes interconnects 330 extending through dielectric layers 340 to ones of the plurality of planar MOS devices 310 and the plurality of FinFET devices 320 .
  • the dielectric layers 340 may comprise silicon oxide, fluoride-doped silicate glass (FSG), low dielectric-constant (K) material, and/or other materials, and may be formed by CVD, PVD, spin-on coating, and/or other suitable methods.
  • the dielectric layers 340 may each have a thickness ranging between about 100 nm and about 1000 nm, although the dielectric layers 340 are not limited by the scope of the present disclosure to particular thicknesses.
  • the interconnects 330 may comprise multilayer interconnects having contact features and via features 332 for vertical interconnections and metal lines 334 for horizontal interconnections.
  • the contact/via features 332 and metal lines 334 may be employed to interconnect ones of the plurality of planar devices 310 and the plurality of FinFET devices 320 , and/or to connect ones of the plurality of planar devices 310 and FinFET devices 320 to other devices integral to or discrete from the integrated circuit 300 .
  • the multilayer interconnects may comprise aluminum-based, tungsten-based, copper-based materials, or combinations thereof.
  • copper-based multilayer interconnect may comprise copper, copper alloy, titanium, titanium nitride, tantalum, tantalum nitride, tungsten, polysilicon, metal silicide, or combinations.
  • the copper-based multilayer interconnect may be formed using a dual damascene process.
  • the integrated circuit 300 may further comprise shallow trench isolation (STI) features formed in the substrate interposed between the planar devices 310 and between the FinFET devices 320 .
  • the STI features formed between the planar devices 310 may have the plurality of trenches substantially filled to a first depth.
  • the STI features formed between the FinFET devices 320 may each have a trench partially filled to a second depth, resulting a recess and a semiconductor mesa. The second depth is less than the first depth.
  • the semiconductor mesa interposed between shallow trench recesses provides a fin-like feature to form a FinFET transistor.
  • the semiconductor mesa may have a thickness ranging from about 10 nm to about 100 nm and a width ranging from about 5 nm to about 100 nm.
  • the integrated circuit 300 may comprise shallow trench isolation features having multiple depths to accommodate various devices.
  • a peripheral circuit may comprise the planar devices 310 with the STI feature having the first depth while a core circuit may comprise the FinFET devices 320 with the STI feature having a second depth.
  • the sidewall of the shallow trench may have a round corner.
  • the shallow trench may have two portions of the sidewall, a top portion of the sidewall having a first slope and a bottom portion thereof having a second slope.
  • the top portion of the shallow trenches may be substantially vertical and the bottom portion may have an angle ranging from about 60 degrees to about 85 degrees.
  • the integrated circuit 300 includes a substrate 305 .
  • the substrate 305 may be substantially similar to the substrate 210 in composition and configuration.
  • the substrate 305 may have a single-crystal structure and the substrate surface may have a proper crystal orientation including (100), (110), or (111).
  • the substrate 305 may be further positioned such that the sidewalls of the semiconductor mesa may have one pre-selected crystal orientation, or at least two pre-selected crystal orientations.
  • the substrate surface, along with the surface of the top semiconductor mesa 212 may have a crystal orientation (100).
  • the sidewalls of the semiconductor mesa parallel with the channel from source to drain and the sidewalls perpendicular to the channel may each have a crystal orientation (100).
  • the substrate surface, along with the surface of the semiconductor mesa, may have a first crystal orientation.
  • the sidewalls of the top semiconductor mesa parallel with the channel may have a second crystal orientation.
  • the sidewalls perpendicular to the channel may have a third crystal orientation.
  • the integrated circuit 300 may have an enhanced performance including carrier mobility through optimized crystal orientation and configuration.
  • the substrate 305 may comprise an elementary semiconductor such as silicon, germanium, and diamond.
  • the substrate may also comprise a compound semiconductor such as silicon carbide, gallium arsenic, indium arsenide, and indium phosphide.
  • the substrate may comprise an alloy semiconductor such as silicon germanium, silicon germanium carbide, gallium arsenic phosphide, and gallium indium phosphide.
  • the substrate may include an epitaxial layer.
  • the substrate may have an epitaxial layer overlying a bulk semiconductor. Further, the substrate may be strained for performance enhancement.
  • the epitaxial layer may comprise a semiconductor material different from those of the bulk semiconductor such as a layer of silicon germanium overlying a bulk silicon, or a layer of silicon overlying a bulk silicon germanium formed by a process including SEG.
  • the substrate may comprise a SOI structure.
  • the substrate may include a buried oxide layer.
  • the planar devices 310 and the FinFET devices 320 may each comprise a source and a drain, a gate electrode, a gate dielectric, and silicide features.
  • the gate dielectric may include silicon oxide, silicon oxynitride, a high k material, and/or combinations thereof.
  • the gate dielectric may comprise silicate such as HfSiO 4 , HfSiON, HfSiN, ZrSiO 4 , ZrSiON, and ZrSiN.
  • the gate dielectric may include metal oxide such as Al 2 O 3 , ZrO 2 , HFO 2 , Y 2 O 3 , La 2 O 3 , TiO 2 , and Ta 2 O 5 .
  • the gate dielectric may be formed by thermal oxide, ALD, CVD, PVD, and/or other suitable processing.
  • the planar devices 310 may comprise a gate electrode 312 and the FinFET devices may comprise a gate electrode 322 as illustrated in FIG. 12 .
  • the gate electrode may comprise polycrystalline silicon (poly-Si), poly-SiGe, metal such as Cu, W, Ti, Ru, Ta, and Hf; metal nitride such as TaSiN, TaN, TiN, WN, MoN, and HfN; metal oxide such as RuO 2 and IrO 2 , combinations thereof; and/or other proper conductive material.
  • the gate electrode may be formed by CVD, PVD, plating, ALD, and other suitable processes.
  • the gate spacers may be formed and may comprise silicon nitride, silicon oxide, silicon carbide, silicon oxynitride, or combinations thereof.
  • the gate spacers may have a multilayer structure and may be formed by depositing a dielectric material and then anisotropically etching the material back.
  • a contact layer such as a silicide may be formed for reduced contact resistance and improved performance.
  • the contact layer may comprise a metal silicide such as nickel silicide, cobalt silicide, tungsten silicide, tantalum silicide, titanium silicide, platinum silicide, erbium silicide, palladium silicide, or combinations thereof.
  • silicide may be formed by a silicidation processing, referred to as self-aligned silicide (salicide).
  • the integrated circuit 300 may further comprise a contact etch stop layer (CESL or ESL) disposed over the planar devices 310 and the FinFET devices 320 .
  • the contact etch stop layers may comprise a material having a high resistance to contact etching processing, and so may protect the underlying silicide during the contact etch processing.
  • the material of the contact etch stop layers may be selected based on an insulator material to be etched during the contact etch processing and an etchant to be used.
  • the contact etch stop layer may comprise silicon nitride, silicon oxynitride, silicon carbide, silicon oxide, and/or combinations thereof.
  • the contact etch stop layer may have a pre-designed stress such as a stress ranging from about 200 Mpa to about 2 Gpa.
  • the contact etch stop layer may have a localized stress pattern.
  • the contact etch stop layer may have a tensile stress in one region such as an N-type MOS region and a compressive stress in another region such as a P-type MOS region.
  • the stress of the contact etch stop layer may be tuned using parameters including processing temperature, composition, and impurities.
  • the integrated circuit 300 may comprise a variety of electric devices. These electric devices may include, but are not limited to, passive components such as resistors, capacitors, and inductors, active components such as metal-oxide-semiconductor field effect transistors (MOSFETs), bipolar transistors, high voltage transistors, high frequency transistors, memory cells, or combinations thereof. These electric devices comprises multiple-gate MOSFETs such as FinFETs and may further comprise planar MOSFETs, as illustrated in FIG. 14 and described above.
  • passive components such as resistors, capacitors, and inductors
  • active components such as metal-oxide-semiconductor field effect transistors (MOSFETs), bipolar transistors, high voltage transistors, high frequency transistors, memory cells, or combinations thereof.
  • MOSFETs metal-oxide-semiconductor field effect transistors
  • bipolar transistors bipolar transistors
  • high voltage transistors high voltage transistors
  • high frequency transistors high frequency transistors
  • memory cells or combinations thereof.
  • the present disclosure provides a method for forming a semiconductor device.
  • the method comprises forming a hard mask layer on a semiconductor substrate; patterning the hard mask layer to form a plurality of openings; etching the substrate through the plurality of openings of the hard mask layer to form a plurality of trenches separating a plurality of semiconductor mesas; partially filling the plurality of trenches with a dielectric material; removing the hard mask layer; and forming a plurality of multiple-gate features, each multiple-gate feature being in contact with a top surface and sidewalls of at least one of the plurality of semiconductor mesas.
  • the method may further comprise performing a thermal oxidizing process on the plurality of semiconductor mesas to form a semiconductor oxide layer; and removing the semiconductor oxide layer to narrow the plurality of semiconductor mesas before forming the plurality of multiple-gate features on the substrate.
  • Each of the plurality of semiconductor mesas may be formed to have a top portion having sidewalls of a first slope and a bottom portion having sidewalls of a second slope, and wherein each of the plurality of trenches is formed to have a top trench portion having a sidewall of the first slope and a bottom trench portion having a sidewall of the second slope.
  • the first slope may range from about 90 degrees to about 85 degrees.
  • the second slope may range from about 60 degrees to about 85 degrees.
  • the partially filling the plurality of trenches may comprise substantially filling the plurality of bottom trench portions.
  • the partially filling the plurality of trenches may comprise substantially filling the plurality of both top and bottom trench portions to form a first group of shallow trench isolation (STI) features and a second group of STI features; forming a photoresist layer patterned to cover the first group of STI features; and recessing the second group of STI features such that the second group of STI features are substantially within the bottom trench portions.
  • the recessing may comprise a reactive ion etching (RIE) process.
  • the partially filling the plurality of trenches may comprise utilizing a high density plasma chemical vapor deposition (HDP-CVD) process.
  • HDP-CVD high density plasma chemical vapor deposition
  • the dielectric material may comprise a material selected from the group consisting of silicon oxide, silicon nitride, silicon oxynitride, fluorinated silicate glass (FSG), low dielectric constant (K) materials, and combinations thereof.
  • the etching the substrate through the plurality of openings of the hard mask layer may comprise using multiple processes.
  • the multiple processes may comprise a method selected from the group consisting of dry etching, wet etching, and RIE.
  • the forming a hard mask layer may comprise forming a silicon oxynitride layer.
  • the method may further comprise forming a pad layer on the substrate before forming the hard mask layer.
  • the pad layer may comprise silicon oxide formed by a thermal oxidation process.
  • the present disclosure provides a method for forming a semiconductor device.
  • the method comprises forming a hard mask layer on a semiconductor substrate; patterning the hard mask layer to form a plurality of openings; etching the substrate through the plurality of openings to form a plurality of trenches separating semiconductor mesas, wherein the semiconductor trenches are each defined by a top trench portion having a sidewall of a first slope and a bottom trench portion having a sidewall of a second slope; substantially filling the plurality of trenches to form shallow trench isolation (STI) features; forming a photoresist layer patterned to cover a first group of STI features in a first region and leave a second group of STI features in a second region uncovered; recessing the second group of STI features such that the second group of STI features are substantially within the bottom trench portions; removing the patterned hard mask layer; and forming a plurality of multiple-gate features on the substrate.
  • the recessing may utilize a reactive ion
  • the present disclosure provides a method for forming a semiconductor device.
  • the device comprises patterning a substrate to form a plurality of trenches; partially filling the plurality of trenches with a dielectric material, resulting in a plurality of semiconductor mesas interposed by at least one of the plurality of trenches; and forming a plurality of gate electrodes on the substrate, each being in contact with a top surface and sidewalls of at least one of the plurality of semiconductor mesas.
  • the patterning a substrate may comprise forming a hard mask layer on the substrate; patterning the hard mask layer to form a plurality of openings; and etching the substrate through the plurality of openings of the hard mask layer to form the plurality of trenches, wherein each trench has a top portion sidewall of a first slope and a bottom portion sidewall of a second slope.
  • the present disclosure also provides a semiconductor device.
  • the semiconductor device comprises a first region in a substrate having a plurality of FinFET transistors interposed by a plurality of first shallow trench isolation (STI) features having a first depth; and a second region in the substrate having a plurality of planar transistors interposed by a plurality of second STI features having a second depth, wherein the second depth is greater than the first depth.
  • STI shallow trench isolation
  • the plurality of FinFET transistors each may comprise a semiconductor mesa having multiple surfaces in contact with a gate dielectric.
  • the multiple surfaces may have a pre-selected crystal orientation.
  • the pre-selected crystal orientation may comprise a crystal orientation (100).
  • the semiconductor mesa may have at least two pre-selected crystal orientations.
  • the at least two pre-selected crystal orientations may be selected from the group consisting of crystal orientations (100), (110), and (111).
  • the semiconductor mesa may have a thickness ranging from about 10 nm to about 100 nm.
  • the semiconductor mesa may have a width ranging from about 5 nm to about 100 nm.
  • the first STI features each may comprise a recess.
  • the recess of at least one of the plurality of first STI features may comprise a sidewall with a rounded corner.
  • the semiconductor device may further comprise a dielectric layer disposed over the plurality of FinFET transistors in the first region and the plurality of planar transistors in the second region.
  • the dielectric layer may comprise a contact etch stop layer.
  • the dielectric layer may have a thickness ranging from about 20 nm to about 200 nm.
  • the dielectric layer may have a stress ranging from about 200 MPa to about 2000 MPa.
  • the dielectric layer may comprise a plurality of tensile stress areas and a plurality of compressive stress areas.
  • the plurality of tensile stress areas each may comprise an N-type FinFET transistor or an N-type planar transistor, and the plurality of compressive stress areas each may comprise a P-type FinFET transistor or a P-type planar transistor MOS transistor.
  • the dielectric layer may be disposed on the multiple surfaces of the semiconductor mesa.
  • the plurality of FinFET transistors and the plurality of planar transistors each may have a source feature and a drain feature formed on the substrate.
  • the source and drain features may comprise a raised structure.
  • the plurality of FinFET transistors and the plurality of planar transistors each may include silicide features disposed on the gate electrode and the source and drain features.

Landscapes

  • Insulated Gate Type Field-Effect Transistor (AREA)
  • Thin Film Transistor (AREA)
  • Junction Field-Effect Transistors (AREA)
  • Element Separation (AREA)
  • Metal-Oxide And Bipolar Metal-Oxide Semiconductor Integrated Circuits (AREA)

Abstract

A method for forming a semiconductor device and a device made using the method are provided. In one example, the method includes forming a hard mask layer on a semiconductor substrate and patterning the hard mask layer to form multiple openings. The substrate is etched through the openings to form forming a plurality of trenches separating multiple semiconductor mesas. The trenches are partially filled with a dielectric material. The hard mask layer is removed and multiple-gate features are formed, with each multiple-gate feature being in contact with a top surface and sidewalls of at least one of the semiconductor mesas.

Description

Notice: More than one reissue application has been filed for the reissue of U.S. Pat. No. 7,381,649. The reissue applications are application Ser. Nos. 12/792,373 (the present application) and 13/372,622, which is a divisional reissue of U.S. Pat. No. 7,381,649.
BACKGROUND
As the semiconductor industry has progressed into nanometer technology nodes in pursuit of higher device density, higher performance, and lower cost, challenges from both fabrication and design issues have resulted in the development of new three dimensional designs, such as the Fin-like field effect transistor (FinFET). However, the fabrication and design of such devices, including FinFET devices, raises issues such as compatibility with planar transistor fabrication, degradation of carrier mobility, and reliability.
BRIEF DESCRIPTION OF THE DRAWINGS
Aspects of the present disclosure are best understood from the following detailed description when read with the accompanying figures. It is emphasized that, in accordance with the standard practice in the industry, various features are not drawn to scale. In fact, the dimensions of the various features may be arbitrarily increased or reduced for clarity of discussion.
FIG. 1 is a simplified flowchart of one embodiment of a method for forming a multi-gate device.
FIGS. 2-10 are sectional views of embodiments of a multi-gate device during fabrication using the method of FIG. 1.
FIGS. 11-13 are perspective views of one embodiment of a multi-gate device during fabrication.
FIG. 14 is a sectional view of one embodiment of an integrated circuit having a plurality of multi-gate devices.
DETAILED DESCRIPTION
The present disclosure relates generally to a microelectronic device and, more specifically, to a microelectronic device having a multiple-gate structure and a method for its fabrication.
It is to be understood that the following disclosure provides many different embodiments, or examples, for implementing different features of the invention. Specific examples of components and arrangements are described below to simplify the present disclosure. These are, of course, merely examples and are not intended to be limiting. In addition, the present disclosure may repeat reference numerals and/or letters in the various examples. This repetition is for the purpose of simplicity and clarity and does not in itself dictate a relationship between the various embodiments and/or configurations discussed. Moreover, the formation of a first feature over or on a second feature in the description that follows may include embodiments in which the first and second features are formed in direct contact, and may also include embodiments in which additional features may be formed interposing the first and second features, such that the first and second features may not be in direct contact.
Referring to FIG. 1, in one embodiment, a method 100 may be used to form a multiple-gate device, such as a FinFET. FIGS. 2-10 provide sectional views of one embodiment of a device fabricated using the method 100 and FIGS. 11-13 provide perspective views of the same device. Accordingly, embodiments of both a method for fabricating a device and the device itself are described below.
Referring to FIG. 1 and with additional reference to FIG. 2, the method 100 begins in step 110 by providing a substrate 210 with a hard mask layer 230. The substrate 210 may comprise an elementary semiconductor such as silicon, germanium, and diamond, or a compound semiconductor such as silicon carbide, gallium arsenic, indium arsenide, and indium phosphide. The substrate 210 may comprise an alloy semiconductor such as silicon germanium, silicon germanium carbide, gallium arsenic phosphide, and gallium indium phosphide. The semiconductor substrate 210 may have a single-crystal structure and the substrate surface may have a proper orientation. For example, silicon substrate may have a top surface oriented in (100), (110), or (111). The substrate 210 may include an epitaxial layer. For example, the substrate may have an epitaxial layer overlying a bulk semiconductor. Further, the substrate may be strained for performance enhancement. For example, the epitaxial layer may comprise a semiconductor material different from those of the bulk semiconductor such as a layer of silicon germanium overlying a bulk silicon, or a layer of silicon overlying a bulk silicon germanium formed by a process including selective epitaxial growth (SEG). Furthermore, the substrate 210 may comprise a semiconductor-on-insulator (SOI) structure. For examples, the substrate may include a buried oxide (BOX) layer formed by a process such as separation by implanted oxygen (SIMOX). The substrate 210 may comprise a p-type doped region and/or an n-type doped region. All doping may be implemented by a process such as ion implantation.
The substrate 210 may comprise an isolation feature to separate different devices formed on the substrate. The isolation feature may comprise different structure and can be formed using different processing technologies. For example, the isolation feature may comprise a dielectric isolation such as local oxidation of silicon (LOCOS), shallow trench isolation (STI), junction isolation, field isolation, and/or other suitable isolation structures.
The hard mask layer 230 may include silicon nitride, silicon oxynitride, silicon carbide, and/or other suitable dielectric materials and may be formed using a method such as chemical vapor deposition (CVD), physical vapor deposition (PVD), or atomic layer deposition (ALD). The semiconductor device 200 may further include a pad layer 220 positioned between the hard mask layer 230 and the substrate 210, as shown in FIG. 2. The pad layer 220 may comprise silicon oxide and/or other suitable materials, and may be formed by a method such as thermal oxidation.
In step 120 and with additional reference to FIG. 3, the hard mask layer 230 and the pad layer 220 are patterned to form a plurality of pad islands 222 and hard mask islands 232. The patterning may be accomplished using a suitable process such as photolithography and etching. The etching processing is implemented to transfer the pattern defined by a photomask to the pad layer 220 and hard mask layer 230. The photolithography processing may include photoresist coating, photoresist patterning, and photoresist stripping. The photoresist patterning may further include processing steps of soft baking, mask aligning, exposing, post-exposure baking, developing photoresist, and hard baking. The photolithography processing may be implemented or replaced by other proper methods such as maskless photolithography, electron-beam writing, ion-beam writing, optical writing, and molecular imprint. The etching processing may include wet etch, dry etch, ion-reactive-etch (RIE), and other suitable processing. For example, the hard mask layer 230 of silicon nitride may be removed by phosphoric acid while the pad layer 220 of silicon oxide may be removed by hydrofluoric (HF) acid or buffered hydrofluoric (BHF) acid. A cleaning process may be followed after the patterning of the hard mask layer 220 and the pad layer 230.
Referring to FIGS. 1 and 4, the method 100 proceeds to step 130 in which the substrate 210 is etched to form a plurality of shallow trenches 240 and a plurality of semiconductor mesas. Each of the plurality of semiconductor mesas may comprise a top semiconductor mesa 212 and a bottom semiconductor mesa 214. The top semiconductor mesa 212 has a sidewall 242 of a first slope. The bottom semiconductor mesa 214 has a sidewall 244 of a second slope. For example, the sidewall 242 may be substantially vertical and the first slop may be about 90 degrees. In another example, the first slope may range from about 85 degrees to about 90 degrees. The second slope may range from about 60 degrees to about 85 degrees. The bottom semiconductor mesa 214 may have a thickness ranging from about 200 nm to about 1000 nm. The top semiconductor mesa 212 may have a thickness ranging from about 10 nm to about 100 nm. The two trenches 240 define a first outline in the surface of the mesa 212 from one sidewall 242 to another sidewall 242. The first outline of the top semiconductor mesa 212 has a width ranging from about 5 nm to about 100 nm. In one embodiment, an exemplary top semiconductor mesa 212 may have a thickness of about 70 nm and a width of about 20 nm. A second outline of the top semiconductor mesa 212 may be defined from the source to drain and be substantially perpendicular to the first outline. The second outline of the top semiconductor mesa 212 may be substantially parallel to the channel direction of the semiconductor device 200. The sidewalls 242 are associated with the second outline of the top semiconductor mesa 212.
As mentioned before, the substrate 210 may have a single-crystal structure and the substrate surface may have a crystal orientation such as (100), (110), or (111). The substrate 210 may be positioned such that the sidewalls of the top semiconductor mesa 212 may have one pre-selected crystal orientation or at least two pre-selected crystal orientations. In one example, the substrate surface, along with the surface of the top semiconductor mesa 212, may have a crystal orientation (100). Furthermore, the sidewalls 242 of the top semiconductor mesa 212 and the sidewalls associated with the first outline may each have a crystal orientation (100). In another embodiment, the substrate surface, along with the surface of the top semiconductor mesa 212, may have a first crystal orientation. The sidewalls 242 of the top semiconductor mesa 212 may have a second crystal orientation. The sidewalls of the top semiconductor mesa 212 associated with the first outline may have a third crystal orientation.
The plurality of shallow trenches 240, the top semiconductor mesas 212, and the bottom semiconductor mesas 214 may be formed by a suitable process such as etching the substrate under the patterned hard mask layer. The etching process may be selective etching such that only the substrate may be removed while the patterned hard mask layer remains. For example, if the substrate 210 comprises silicon while the hard mask layer 230 comprises silicon nitride (and the pad layer 220 comprises silicon oxide), the etchant may have a higher etching rate to silicon oxide and relatively lower etching rate to the hard mask layer (and the pad layer). The openings of the hard mask layer are transferred to the semiconductor substrate to form the plurality of shallow trenches 240. A suitable etching process may include wet etching, dry etching, RIE, and/or combinations thereof. A suitable etching process may comprise various sub-steps to form two-slope shallow trenches 240 and the semiconductor mesas. For example, a dry etching process may be applied and followed by a wet etching process used to form a two-slope trench structure. As an example of a silicon substrate etch, the dry etching may include HBr, Cl2, SF6, O2, Ar, and/or He; the wet etching may include HF—HNO3—H2O, and/or KOH.
Referring to FIGS. 1 and 5a, the method 100 proceeds to step 140, where the plurality of shallow trenches 240 are partially filled with a dielectric material. The dielectric material may be formed in the shallow trenches to form shallow trench isolation (STI) features 250 and over the semiconductor islands to form dielectric islands 252. The dielectric islands 252 may be formed in direct contact with the hard mask islands 232. In another example, the hard mask islands 232 and/or pad islands 222 may be removed and the dielectric islands 252 may be formed on the semiconductor mesas 212. The STI features 250 may substantially fill the bottom portions of the shallow trenches (as defined by sidewalls 244). The dielectric material may comprise silicon oxide, silicon nitride, silicon oxynitride, fluorinated silicate glass (FSG), low dielectric constant (K) materials, combinations thereof, and/or other suitable dielectric material. The STI features 250 may be formed by a process such as thermal oxidation, spin-on glass (SOG), CVD, and PVD. An exemplary method may use a high density plasma CVD (HDP-CVD) process to form silicon oxide. The STI features 250 may have a multiple-layer structure and may be formed in multiple steps.
Referring to FIGS. 1 and 6a, the method 100 proceeds to step 150 during which the plurality of the dielectric islands 252 are removed by a suitable process such as a chemical mechanical planarization (chemical mechanical polishing or CMP) process. The dielectric islands 252 are removed during this process while the dielectric material forming the STI features 250 remains substantially intact.
In another embodiment, a different STI structure may be fulfilled using a method described below in place of steps 140 and 150, with reference to FIGS. 5b and 6b. The plurality of shallow trenches 240a and 240b in FIG. 5b are substantially filled with a dielectric material to form a plurality of STI features. Then the device 200 may be covered by a photoresist layer using a method such as a photolithography process similar to the photolithography process described in step 120. The photoresist layer is patterned to cover a first group of the plurality of STI features in a first region, including 240a, and leave the second group thereof in a second region uncovered, including 240a. An etching method may be employed to etch the second group of STI features formed in the second region such that the second group of STI features (such as 240b) in the second regions are recessed to partially expose sidewalls of the shallow trenches in the second region. For example, the top semiconductor mesas in the second region have sidewalls substantially exposed, similar to the top semiconductor mesas 212 in FIG. 5a. And the STI features formed in the first region (such as 240b) are not etched and remain substantially filled. The etching process to recess the second group of STI features may comprises a proper etching process including a reactive ion etching (RIE) process as an example. Other proper etching process may be alternatively used to utilize the above structure.
Referring to FIG. 6b, the patterned photoresist layer may be removed by a suitable method such as wet stripping and plasma ashing. The plurality of the dielectric islands 252 may be removed by a suitable process such as a CMP process. The dielectric material forming the STI features 250 remains substantially intact while the dielectric islands 252 are removed. The hard mask layer and oxide pad layer may be removed as well during the process to remove the dielectric islands 252 or in separate processes. The semiconductor mesas in the second region have sidewalls partially exposed and may be used to form three dimensional structures such as FinFET transistors while the semiconductor mesas in the first regions may be used to form planar structures such as planar transistors. In one example, core devices may be formed with FinFET structures in the second region and peripheral devices may be formed with planar structures in the first region. The dielectric material may be similar to those described in step 140 such as silicon oxide, silicon nitride, silicon oxynitride, fluorinated silicate glass (FSG), low dielectric constant (K) materials, combinations thereof, and/or other suitable dielectric material as well. The STI features 250 may be formed by a process such as thermal oxidation, spin-on glass (SOG), CVD, and PVD. An exemplary method may use a high density plasma CVD (HDP-CVD) process to form silicon oxide. The STI features may have a multiple-layer structure and may be formed in multiple steps
With reference to FIG. 7, the plurality of the hard mask islands 232 may be removed by a suitable process including etching and/or CMP. The pad islands 222 may also be removed during this step. For example, CMP processing may be used remove both the hard mask islands 232 and the pad islands 222 and may planarize the surface of the semiconductor device 200. In another example, the hard mask islands 232 may be removed by a CMP processing and the pad islands 222 may be then removed by etching such as wet etching. In another example, both the pad islands 222 and the hard mask islands 232 may be removed by a sequential etching process such as phosphoric acid to remove the hard mask islands 232 and HF to remove the pad islands 222. In still another example, the hard mask islands 232 may be removed by a process such as CMP and the pad islands 222 may remain substantially intact. In another example, as mentioned before, the hard mask islands 232 may be removed in an earlier step (e.g., between steps 130 and 140).
Referring to FIGS. 1, 8, and 9, the method 100 proceeds to step 160 in which the top semiconductor mesa 212 may be narrowed by a thermal oxidation process. The top semiconductor mesa 212, used to form active regions, may be narrowed after being formed by etching through the patterned hard mask at step 130. The semiconductor mesa 212 may undergo a thermal oxidation process using a high temperature in an oxygen environment to form an oxide layer 260, as shown in FIG. 8. The thermal oxidation process may comprise a dry oxidation process using an oxygen environment and/or a wet oxidation process. The temperature used in thermal oxidation of a silicon mesa may range from about 900° C. to about 1200° C. The oxide layer 260 is then removed by an etching process, as shown in FIG. 9. For example, an HF or BHF etching solution may be used to remove the silicon mesa, providing a smaller width of the top semiconductor mesa 212 than may be obtained using photolithography patterning techniques. Furthermore, the surface of the top semiconductor mesa 212 may be cleaned during the above thermal oxidizing and removal processing.
Referring to FIGS. 1 and 10-12, the method 100 proceeds to step 170 in which a multiple-gate stack may be formed around the top semiconductor mesa 212. A gate dielectric layer 262 may be formed around the top semiconductor mesa 212. As shown in FIG. 10, the gate dielectric layer 262 may be disposed on the top surface and sidewalls 242 of the top semiconductor mesa 212, and over the dielectric material 250. The gate dielectric layer 262 may comprise silicon oxide, silicon oxynitride, high dielectric-constant (K) material, or combinations thereof. The high-k material may include TaN, TiN, Ta2O5, HfO2, ZrO2, HfSiON, HfSix, HfSixNy, HfAlO2, NiSix, and/or other suitable materials. The gate dielectric layer 262 may have a thickness ranging between about 20 Angstroms and about 200 Angstroms. The gate dielectric layer may have a multilayer structure such as one layer of silicon oxide and one layer of high-k material. The dielectric layer may be formed using thermal oxidation, ALD, CVD, PVD, and/or other suitable methods.
A gate electrode layer 270 may be formed over the gate dielectric layer 262 to substantially fill the trenches 240 and may extend above the top semiconductor mesa 212, as shown in FIG. 10, such that the thickness thereof over the top surface of the top semiconductor mesa 212 may be more than a designed thickness of the gate electrode plus a processing margin. The gate electrode layer 270 may comprise polycrystalline silicon (poly-silicon), metal such as Al. Cu, W, Ti, Ta, TiN, TaN, NiSi, CoSi, and/or other proper conductive materials. The gate electrode layer 270 may be formed by CVD, PVD, plating, ALD, and other suitable processes. The gate electrode layer 270 may have a multilayer structure and may be formed in a multiple-step process.
The gate dielectric layer 262 and the gate electrode layer 270 are then patterned to form a plurality of gate stacks using a process similar to the patterning and etching processing described in steps 120 and 130. One exemplary method for patterning the gate dielectric and electrode layers is described below. Referring to FIG. 11, a hard mask layer 280 may be formed on the gate electrode layer 270. The hard mask layer 280 may be substantially similar to the hard mask layer 230 in formation and composition, but may use other suitable materials and processing methods if desired. For example, the hard mask layer 280 may comprise silicon oxynitride and may be formed by a CVD process. A layer of photoresist may be formed over the hard mask layer 280 by a suitable process such as spin-on coating and then patterned to form a patterned photoresist feature 285 by a proper patterning method similar to those used in step 120. Then the pattern of the photoresist 285 may then be transferred to the hard mask layer 280 and to the underlying gate electrode layer 270 and the gate dielectric layer 262 to form gate electrodes 272 and gate dielectric features 264, as shown in FIG. 12, in a plurality of processing steps and various sequences. The photoresist 285 may be stripped and the patterned hard mask may then be removed. In one embodiment, the hard mask layer 280 is etched through the patterned photoresist 285 by an etching process such as dry etching and then the photoresist 285 is stripped. The gate dielectric layer 262 and the gate electrode layer 270 are then etched through the patterned hard mask layer to form the gate dielectric features 264 and gate electrodes 272. The patterned hard mask layer 280 is removed afterward using a process such as wet etching. The gate dielectric feature 264 and the gate electrodes 272 may have multiple sides in direct contact with the top semiconductor mesa 212, including direct contact with the top surface and sidewalls to enhance the performance of the semiconductor device 200.
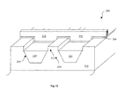
With reference to FIGS. 1 and 13, the method 100 may proceed to step 180 to form source and drain (S/D) regions and step 190 to form silicide features and spacers. Forming S/D regions and the silicide and spacers may be combined into a set of processes. The source and drain regions may be formed in the top semiconductor mesa and may have another width wider than the width defined by the first outline of the top semiconductor mesa 212. The source and drain may have a raised structure formed over the top semiconductor mesa 212, proximate to the gate dielectric 264 and the gate electrode 272. The source and drain regions may be disposed in and/or on the top semiconductor mesa 212 and laterally interposed by the gate stack.
In one example, the S/D regions may comprise a source drain extension (SDE, light doped drain, or LDD) structure and a heavy doped source and drain features. The S/D regions may comprise various doping profiles and may be formed by a plurality of ion implant processes. The first ion implantation process may have a lower doping concentration ranging from about 1013 to about 5×1014 ion/cm2. The dimension of the first ion implantation may be extended to and aligned with the sidewall of the gate electrode and gate dielectric. The second ion implantation process may have a higher doping concentration ranging from about 1015 to about 5×1015 ion/cm2. The dimension of the second ion implantation may be offset from the sidewall of the gate electrode by a gate spacer. The S/D regions may comprise a double diffused drain (DDD) structure that provides a high breakdown voltage where the heavy doped regions encompass the SDE regions. An additional doping profile may be implemented to form a halo structure proximate to the SDE ends having the same type dopant of the substrate and formed using a process such as an angled ion implantation process.
Silicide features 274 may be formed on the gate electrode 272 and may also be formed on the S/D regions (not shown). The silicide features may comprise nickel silicide, cobalt silicide, tungsten silicide, tantalum silicide, titanium silicide, platinum silicide, erbium silicide, palladium silicide, and/or combinations thereof. The metal silicide may be formed by CVD, PVD, or ALD. In another example, metal silicide may be formed by a silicidation processing, referred to as self-aligned silicide (salicide). The salicide processing may include metal deposition, annealing, and removal of un- reacted metal processes. The silicide features may be formed after forming spacer features.
Spacer features may be formed on the semiconductor device 200. For example, spacer features 290 may be formed and disposed on the sidewalls of the gate electrode 272 and extended to the surfaces of the STI features 250 and the semiconductor mesa 212. The spacer features 290 may include a dielectric material such as silicon nitride (SiN), silicon oxynitride (SiON), and/or silicon oxide (SiO2). The spacer features 290 may be formed by depositing the dielectric material using CVD, ALD, PVD, and/or other processing methods, and then anisotropically etching back using a method such as dry etching. The spacer features may have a multiple-layer structure such as one layer of silicon oxide and one layer silicon nitride. In one example, the SDE regions may be formed before the formation of the spacer features and the heavily doped S/D regions may be formed thereafter such that the heavy doped S/D regions are offset from the SDE region by the spacer features 290. Other spacer features may be formed, such as spacer features 292 formed on the sidewalls of the semiconductor mesa 212 and extended to the surfaces of the STI features 250.
The doped channel, source, and drain in the semiconductor device 200 may be formed by various doping processes such as ion implantation and may comprise P-type dopants and N-type dopants. The N-type dopants are employed to form a channel doping profile for a P-type metal-oxide- semiconductor field effect transistor (PMOSFET or PMOS) or source/drain doping profiles for an N-type metal-oxide-semiconductor field effect transistor (NMOSFET or NMOS). The N-type dopants may include phosphorus, arsenic, and/or other materials. P-type dopants are employed to form a channel doping profile for an NMOS or source/drain doping profiles for a PMOS. The P-type dopants may include boron, boron fluoride, indium, and/or other materials. Subsequent diffusion, annealing, and/or electrical activation processes may be employed after the impurity is implanted.
Furthermore, the S/D regions may comprise semiconductor materials different from those of the substrate. For example, the semiconductor mesa may comprise silicon while the source/drain may comprise silicon germanium. Alternatively, the semiconductor mesa may comprise silicon germanium while the source/drain may comprise silicon. The S/D regions may be in a single crystal structure formed by a process such as selective epitaxy growth (SEG), and other suitable methods.
Referring to FIG. 14, illustrated is a sectional view of one embodiment of an integrated circuit 300 constructed according to aspects of the present disclosure. The integrated circuit 300 is one environment in which the semiconductor device 200 of FIG. 13 may be implemented. For example, the integrated circuit 300 includes a plurality of planar MOS devices 310 and a plurality of FinFET devices 320, wherein one or more of the plurality of devices 320 may be substantially similar to the semiconductor device 200 of FIG. 13.
The integrated circuit 300 also includes interconnects 330 extending through dielectric layers 340 to ones of the plurality of planar MOS devices 310 and the plurality of FinFET devices 320. The dielectric layers 340 may comprise silicon oxide, fluoride-doped silicate glass (FSG), low dielectric-constant (K) material, and/or other materials, and may be formed by CVD, PVD, spin-on coating, and/or other suitable methods. The dielectric layers 340 may each have a thickness ranging between about 100 nm and about 1000 nm, although the dielectric layers 340 are not limited by the scope of the present disclosure to particular thicknesses.
The interconnects 330 may comprise multilayer interconnects having contact features and via features 332 for vertical interconnections and metal lines 334 for horizontal interconnections. The contact/via features 332 and metal lines 334 may be employed to interconnect ones of the plurality of planar devices 310 and the plurality of FinFET devices 320, and/or to connect ones of the plurality of planar devices 310 and FinFET devices 320 to other devices integral to or discrete from the integrated circuit 300. The multilayer interconnects may comprise aluminum-based, tungsten-based, copper-based materials, or combinations thereof. For example, copper-based multilayer interconnect may comprise copper, copper alloy, titanium, titanium nitride, tantalum, tantalum nitride, tungsten, polysilicon, metal silicide, or combinations. The copper-based multilayer interconnect may be formed using a dual damascene process.
The integrated circuit 300 may further comprise shallow trench isolation (STI) features formed in the substrate interposed between the planar devices 310 and between the FinFET devices 320. The STI features formed between the planar devices 310 may have the plurality of trenches substantially filled to a first depth. The STI features formed between the FinFET devices 320 may each have a trench partially filled to a second depth, resulting a recess and a semiconductor mesa. The second depth is less than the first depth. The semiconductor mesa interposed between shallow trench recesses provides a fin-like feature to form a FinFET transistor. The semiconductor mesa may have a thickness ranging from about 10 nm to about 100 nm and a width ranging from about 5 nm to about 100 nm. Alternatively, the integrated circuit 300 may comprise shallow trench isolation features having multiple depths to accommodate various devices. For example, a peripheral circuit may comprise the planar devices 310 with the STI feature having the first depth while a core circuit may comprise the FinFET devices 320 with the STI feature having a second depth. Alternatively, the sidewall of the shallow trench may have a round corner. The shallow trench may have two portions of the sidewall, a top portion of the sidewall having a first slope and a bottom portion thereof having a second slope. For example, the top portion of the shallow trenches may be substantially vertical and the bottom portion may have an angle ranging from about 60 degrees to about 85 degrees.
The integrated circuit 300 includes a substrate 305. The substrate 305 may be substantially similar to the substrate 210 in composition and configuration. The substrate 305 may have a single-crystal structure and the substrate surface may have a proper crystal orientation including (100), (110), or (111). The substrate 305 may be further positioned such that the sidewalls of the semiconductor mesa may have one pre-selected crystal orientation, or at least two pre-selected crystal orientations. In one example, the substrate surface, along with the surface of the top semiconductor mesa 212, may have a crystal orientation (100). Furthermore, the sidewalls of the semiconductor mesa parallel with the channel from source to drain and the sidewalls perpendicular to the channel may each have a crystal orientation (100). In another embodiment, the substrate surface, along with the surface of the semiconductor mesa, may have a first crystal orientation. The sidewalls of the top semiconductor mesa parallel with the channel may have a second crystal orientation. The sidewalls perpendicular to the channel may have a third crystal orientation. The integrated circuit 300 may have an enhanced performance including carrier mobility through optimized crystal orientation and configuration.
The substrate 305 may comprise an elementary semiconductor such as silicon, germanium, and diamond. The substrate may also comprise a compound semiconductor such as silicon carbide, gallium arsenic, indium arsenide, and indium phosphide. The substrate may comprise an alloy semiconductor such as silicon germanium, silicon germanium carbide, gallium arsenic phosphide, and gallium indium phosphide. The substrate may include an epitaxial layer. For example, the substrate may have an epitaxial layer overlying a bulk semiconductor. Further, the substrate may be strained for performance enhancement. For example, the epitaxial layer may comprise a semiconductor material different from those of the bulk semiconductor such as a layer of silicon germanium overlying a bulk silicon, or a layer of silicon overlying a bulk silicon germanium formed by a process including SEG. Furthermore, the substrate may comprise a SOI structure. For examples, the substrate may include a buried oxide layer.
The planar devices 310 and the FinFET devices 320 may each comprise a source and a drain, a gate electrode, a gate dielectric, and silicide features. The gate dielectric may include silicon oxide, silicon oxynitride, a high k material, and/or combinations thereof. The gate dielectric may comprise silicate such as HfSiO4, HfSiON, HfSiN, ZrSiO4, ZrSiON, and ZrSiN. The gate dielectric may include metal oxide such as Al2O3, ZrO2, HFO2, Y2O3, La2O3, TiO2, and Ta2O5. HY2fSiON, HFSiN, ZrSiO4, ZrSiON, and ZrSiN. The gate dielectric may be formed by thermal oxide, ALD, CVD, PVD, and/or other suitable processing.
The planar devices 310 may comprise a gate electrode 312 and the FinFET devices may comprise a gate electrode 322 as illustrated in FIG. 12. The gate electrode may comprise polycrystalline silicon (poly-Si), poly-SiGe, metal such as Cu, W, Ti, Ru, Ta, and Hf; metal nitride such as TaSiN, TaN, TiN, WN, MoN, and HfN; metal oxide such as RuO2 and IrO2, combinations thereof; and/or other proper conductive material. The gate electrode may be formed by CVD, PVD, plating, ALD, and other suitable processes. The gate spacers may be formed and may comprise silicon nitride, silicon oxide, silicon carbide, silicon oxynitride, or combinations thereof. The gate spacers may have a multilayer structure and may be formed by depositing a dielectric material and then anisotropically etching the material back.
A contact layer such as a silicide may be formed for reduced contact resistance and improved performance. The contact layer may comprise a metal silicide such as nickel silicide, cobalt silicide, tungsten silicide, tantalum silicide, titanium silicide, platinum silicide, erbium silicide, palladium silicide, or combinations thereof. In one example, silicide may be formed by a silicidation processing, referred to as self-aligned silicide (salicide).
The integrated circuit 300 may further comprise a contact etch stop layer (CESL or ESL) disposed over the planar devices 310 and the FinFET devices 320. The contact etch stop layers may comprise a material having a high resistance to contact etching processing, and so may protect the underlying silicide during the contact etch processing. The material of the contact etch stop layers may be selected based on an insulator material to be etched during the contact etch processing and an etchant to be used. For example, the contact etch stop layer may comprise silicon nitride, silicon oxynitride, silicon carbide, silicon oxide, and/or combinations thereof. In some embodiments, the contact etch stop layer may have a pre-designed stress such as a stress ranging from about 200 Mpa to about 2 Gpa. The contact etch stop layer may have a localized stress pattern. For example, the contact etch stop layer may have a tensile stress in one region such as an N-type MOS region and a compressive stress in another region such as a P-type MOS region. The stress of the contact etch stop layer may be tuned using parameters including processing temperature, composition, and impurities.
The integrated circuit 300 may comprise a variety of electric devices. These electric devices may include, but are not limited to, passive components such as resistors, capacitors, and inductors, active components such as metal-oxide-semiconductor field effect transistors (MOSFETs), bipolar transistors, high voltage transistors, high frequency transistors, memory cells, or combinations thereof. These electric devices comprises multiple-gate MOSFETs such as FinFETs and may further comprise planar MOSFETs, as illustrated in FIG. 14 and described above.
Thus the present disclosure provides a method for forming a semiconductor device. The method comprises forming a hard mask layer on a semiconductor substrate; patterning the hard mask layer to form a plurality of openings; etching the substrate through the plurality of openings of the hard mask layer to form a plurality of trenches separating a plurality of semiconductor mesas; partially filling the plurality of trenches with a dielectric material; removing the hard mask layer; and forming a plurality of multiple-gate features, each multiple-gate feature being in contact with a top surface and sidewalls of at least one of the plurality of semiconductor mesas.
The method may further comprise performing a thermal oxidizing process on the plurality of semiconductor mesas to form a semiconductor oxide layer; and removing the semiconductor oxide layer to narrow the plurality of semiconductor mesas before forming the plurality of multiple-gate features on the substrate. Each of the plurality of semiconductor mesas may be formed to have a top portion having sidewalls of a first slope and a bottom portion having sidewalls of a second slope, and wherein each of the plurality of trenches is formed to have a top trench portion having a sidewall of the first slope and a bottom trench portion having a sidewall of the second slope. The first slope may range from about 90 degrees to about 85 degrees. The second slope may range from about 60 degrees to about 85 degrees. The partially filling the plurality of trenches may comprise substantially filling the plurality of bottom trench portions. Alternatively, the partially filling the plurality of trenches may comprise substantially filling the plurality of both top and bottom trench portions to form a first group of shallow trench isolation (STI) features and a second group of STI features; forming a photoresist layer patterned to cover the first group of STI features; and recessing the second group of STI features such that the second group of STI features are substantially within the bottom trench portions. The recessing may comprise a reactive ion etching (RIE) process. The partially filling the plurality of trenches may comprise utilizing a high density plasma chemical vapor deposition (HDP-CVD) process. The dielectric material may comprise a material selected from the group consisting of silicon oxide, silicon nitride, silicon oxynitride, fluorinated silicate glass (FSG), low dielectric constant (K) materials, and combinations thereof. The etching the substrate through the plurality of openings of the hard mask layer may comprise using multiple processes. The multiple processes may comprise a method selected from the group consisting of dry etching, wet etching, and RIE. The forming a hard mask layer may comprise forming a silicon oxynitride layer. The method may further comprise forming a pad layer on the substrate before forming the hard mask layer. The pad layer may comprise silicon oxide formed by a thermal oxidation process.
Thus the present disclosure provides a method for forming a semiconductor device. The method comprises forming a hard mask layer on a semiconductor substrate; patterning the hard mask layer to form a plurality of openings; etching the substrate through the plurality of openings to form a plurality of trenches separating semiconductor mesas, wherein the semiconductor trenches are each defined by a top trench portion having a sidewall of a first slope and a bottom trench portion having a sidewall of a second slope; substantially filling the plurality of trenches to form shallow trench isolation (STI) features; forming a photoresist layer patterned to cover a first group of STI features in a first region and leave a second group of STI features in a second region uncovered; recessing the second group of STI features such that the second group of STI features are substantially within the bottom trench portions; removing the patterned hard mask layer; and forming a plurality of multiple-gate features on the substrate. The recessing may utilize a reactive ion etching process. The method may further comprise performing a thermal oxidizing process on the plurality of top semiconductor mesas in the second region to form a semiconductor oxide layer; and removing the semiconductor oxide layer.
The present disclosure provides a method for forming a semiconductor device. The device comprises patterning a substrate to form a plurality of trenches; partially filling the plurality of trenches with a dielectric material, resulting in a plurality of semiconductor mesas interposed by at least one of the plurality of trenches; and forming a plurality of gate electrodes on the substrate, each being in contact with a top surface and sidewalls of at least one of the plurality of semiconductor mesas. The patterning a substrate may comprise forming a hard mask layer on the substrate; patterning the hard mask layer to form a plurality of openings; and etching the substrate through the plurality of openings of the hard mask layer to form the plurality of trenches, wherein each trench has a top portion sidewall of a first slope and a bottom portion sidewall of a second slope.
The present disclosure also provides a semiconductor device. The semiconductor device comprises a first region in a substrate having a plurality of FinFET transistors interposed by a plurality of first shallow trench isolation (STI) features having a first depth; and a second region in the substrate having a plurality of planar transistors interposed by a plurality of second STI features having a second depth, wherein the second depth is greater than the first depth.
The plurality of FinFET transistors each may comprise a semiconductor mesa having multiple surfaces in contact with a gate dielectric. The multiple surfaces may have a pre-selected crystal orientation. The pre-selected crystal orientation may comprise a crystal orientation (100). The semiconductor mesa may have at least two pre-selected crystal orientations. The at least two pre-selected crystal orientations may be selected from the group consisting of crystal orientations (100), (110), and (111). The semiconductor mesa may have a thickness ranging from about 10 nm to about 100 nm. The semiconductor mesa may have a width ranging from about 5 nm to about 100 nm. The first STI features each may comprise a recess. The recess of at least one of the plurality of first STI features may comprise a sidewall with a rounded corner. The semiconductor device may further comprise a dielectric layer disposed over the plurality of FinFET transistors in the first region and the plurality of planar transistors in the second region. The dielectric layer may comprise a contact etch stop layer. The dielectric layer may have a thickness ranging from about 20 nm to about 200 nm. The dielectric layer may have a stress ranging from about 200 MPa to about 2000 MPa. The dielectric layer may comprise a plurality of tensile stress areas and a plurality of compressive stress areas. The plurality of tensile stress areas each may comprise an N-type FinFET transistor or an N-type planar transistor, and the plurality of compressive stress areas each may comprise a P-type FinFET transistor or a P-type planar transistor MOS transistor. The dielectric layer may be disposed on the multiple surfaces of the semiconductor mesa. The plurality of FinFET transistors and the plurality of planar transistors each may have a source feature and a drain feature formed on the substrate. The source and drain features may comprise a raised structure. The plurality of FinFET transistors and the plurality of planar transistors each may include silicide features disposed on the gate electrode and the source and drain features.
Although embodiments of the present disclosure have been described in detail, those skilled in the art should understand that they may make various changes, substitutions and alterations herein without departing from the spirit and scope of the present disclosure. Accordingly, all such changes, substitutions and alterations are intended to be included within the scope of the present disclosure as defined in the following claims. In the claims, means-plus-function clauses are intended to cover the structures described herein as performing the recited function and not only structural equivalents, but also equivalent structures.

Claims (19)

What is claimed is:
1. A method for forming a semiconductor device, comprising:
forming a hard mask layer on a semiconductor substrate;
patterning the hard mask layer to form a plurality of openings;
etching the substrate through the plurality of openings of the hard mask layer to form a plurality of trenches separating a plurality of semiconductor mesas, wherein each of the plurality of semiconductor mesas is formed to have a top portion having sidewalls of a first slope and a bottom portion having sidewalls of a second slope, and wherein each of the plurality of trenches is formed to have a top trench portion having a sidewall of the first slope and a bottom trench portion having a sidewall of the second slope, and wherein the first slope is different from the second slope;
partially filling the plurality of trenches with a dielectric material;
removing the hard mask layer;
performing a thermal oxidizing process on the plurality of semiconductor mesas to form a semiconductor oxide layer; and
removing the semiconductor oxide layer to narrow the plurality of semiconductor mesas before forming the plurality of multiple-gate features on the substrate; and
forming a plurality of multiple-gate features, each multiple-gate feature being in contact with a top surface and sidewalls of at least one of the plurality of semiconductor mesas.
2. The method of claim 1 further comprising:
performing a thermal oxidizing process on the plurality of semiconductor mesas to form a semiconductor oxide layer; and
removing the semiconductor oxide layer to narrow the plurality of semiconductor mesas before forming the plurality of multiple-gate features on the substrate.
3. The method of claim 1 wherein the first slope ranges from about 90 degrees to about 85 degrees.
4. The method of claim 1 wherein the second slope ranges from about 60 degrees to about 85 degrees.
5. The method of claim 1 wherein the partially filling the plurality of trenches comprises substantially filling the plurality of bottom trench portions.
6. The method of claim 1 wherein the partially filling the plurality of trenches comprises:
substantially filling the plurality of both top and bottom trench portions to form a first group of shallow trench isolation (STI) features and a second group of STI features;
forming a photoresist layer patterned to cover the first group of STI features; and
recessing the second group of STI features such that the second group of STI features are substantially within the bottom trench portions.
7. The method of claim 6 wherein the recessing comprises a reactive ion etching (RIE) process.
8. The method of claim 1 wherein the partially filling the plurality of trenches comprises utilizing a high density plasma chemical vapor deposition (HDP-CVD) process.
9. The method of claim 1 wherein the dielectric material comprises a material selected from the group consisting of silicon oxide, silicon nitride, silicon oxynitride, fluorinated silicate glass (FSG), low dielectric constant (K) materials, and combinations thereof.
10. The method of claim 1 wherein the etching the substrate through the plurality of openings of the hard mask layer comprises using multiple processes.
11. The method of claim 10 wherein the multiple processes comprise a method selected from the group consisting of dry etching, wet etching, and RIE.
12. The method of claim 1 wherein the forming a hard mask layer comprises forming a silicon oxynitride layer.
13. The method of claim 1 further comprising forming a pad layer on the substrate before forming the hard mask layer.
14. The method of claim 13 wherein the pad layer comprises silicon oxide formed by a thermal oxidation process.
15. A method for forming a semiconductor device, comprising:
forming a hard mask layer on a semiconductor substrate;
patterning the hard mask layer to form a plurality of openings;
etching the substrate through the plurality of openings to form a plurality of trenches separating a plurality of semiconductor mesas, wherein the plurality of semiconductor trenches are each defined by a top trench portion having a sidewall of a first slope and a bottom trench portion having a sidewall of a second slope, and each of the plurality of semiconductor mesas have a top portion having sidewalls of a first slope and a bottom portion having sidewalls of a second slope, and wherein the first slope is different from the second slope;
substantially filling the plurality of trenches to form first shallow trench isolation (STI) features in a first region and second STI features in a second region;
forming a photoresist layer patterned to cover the first STI features in the first region and leave a second STI features in the second region uncovered;
recessing the second STI features such that the second STI features are substantially within the bottom trench portions;
removing the patterned hard mask layer; and
forming a plurality of multiple-gate features on the substrate.
16. The method of claim 15 wherein the recessing utilizes a reactive ion etching process.
17. The method of claim 15 further comprising:
performing a thermal oxidizing process on the plurality of top semiconductor mesas in the second region to form a semiconductor oxide layer; and
removing the semiconductor oxide layer.
18. A method for forming a semiconductor device, comprising:
patterning a substrate to form a plurality of trenches, the patterning resulting in a plurality of semiconductor mesas interposed by at least one of the plurality of trenches, wherein each of the plurality of semiconductor mesas is formed to have a top portion having sidewalls of a first slope and a bottom portion having sidewalls of a second slope, wherein each of the plurality of trenches has a top portion sidewall of a first slope and a bottom portion sidewall of a second slope, and wherein the first slope is different from the second slope;
after the plurality of trenches have been formed to have the top portion having sidewalls of the first slope and the bottom portion having sidewalls of the second slope, partially filling the plurality of trenches with a dielectric material, resulting in a plurality of semiconductor mesas interposed by at least one of the plurality of trenches, wherein each of the plurality of semiconductor mesas is formed to have a top portion having sidewalls of a first slope and a bottom portion having sidewalls of a second slope, wherein each of the plurality of trenches has a top portion sidewall of a first slope and a bottom portion sidewall of a second slope, and wherein the first slope is different from the second slope; anddielectric;
forming a dielectric layer over adjacent ones of the plurality of semiconductor mesas and an upper surface of the dielectric in a trench interposed between the adjacent ones of the plurality of semiconductor mesas; and
forming a plurality of gate electrodes on the substrate, each being in contact with the dielectric layer over a top surface and sidewalls of at least one of the plurality of semiconductor mesas.
19. The method of claim 18 wherein the patterning a substrate comprises:
forming a hard mask layer on the substrate;
patterning the hard mask layer to form a plurality of openings; and
etching the substrate through the plurality of openings of the hard mask layer to form the plurality of trenches.
US12/792,373 2005-07-29 2010-06-02 Structure for a multiple-gate FET device and a method for its fabrication Expired - Lifetime USRE45180E1 (en)

Priority Applications (2)

Application Number Priority Date Filing Date Title
US12/792,373 USRE45180E1 (en) 2005-07-29 2010-06-02 Structure for a multiple-gate FET device and a method for its fabrication
US13/372,622 USRE45165E1 (en) 2005-07-29 2012-02-14 Structure for a multiple-gate FET device and a method for its fabrication

Applications Claiming Priority (2)

Application Number Priority Date Filing Date Title
US11/192,494 US7381649B2 (en) 2005-07-29 2005-07-29 Structure for a multiple-gate FET device and a method for its fabrication
US12/792,373 USRE45180E1 (en) 2005-07-29 2010-06-02 Structure for a multiple-gate FET device and a method for its fabrication

Related Parent Applications (1)

Application Number Title Priority Date Filing Date
US11/192,494 Reissue US7381649B2 (en) 2005-07-29 2005-07-29 Structure for a multiple-gate FET device and a method for its fabrication

Related Child Applications (2)

Application Number Title Priority Date Filing Date
US11/192,494 Division US7381649B2 (en) 2005-07-29 2005-07-29 Structure for a multiple-gate FET device and a method for its fabrication
US13/372,622 Division USRE45165E1 (en) 2005-07-29 2012-02-14 Structure for a multiple-gate FET device and a method for its fabrication

Publications (1)

Publication Number Publication Date
USRE45180E1 true USRE45180E1 (en) 2014-10-07

Family

ID=37694914

Family Applications (4)

Application Number Title Priority Date Filing Date
US11/192,494 Ceased US7381649B2 (en) 2005-07-29 2005-07-29 Structure for a multiple-gate FET device and a method for its fabrication
US12/792,373 Expired - Lifetime USRE45180E1 (en) 2005-07-29 2010-06-02 Structure for a multiple-gate FET device and a method for its fabrication
US13/372,622 Expired - Lifetime USRE45165E1 (en) 2005-07-29 2012-02-14 Structure for a multiple-gate FET device and a method for its fabrication
US14/466,636 Expired - Lifetime USRE45944E1 (en) 2005-07-29 2014-08-22 Structure for a multiple-gate FET device and a method for its fabrication

Family Applications Before (1)

Application Number Title Priority Date Filing Date
US11/192,494 Ceased US7381649B2 (en) 2005-07-29 2005-07-29 Structure for a multiple-gate FET device and a method for its fabrication

Family Applications After (2)

Application Number Title Priority Date Filing Date
US13/372,622 Expired - Lifetime USRE45165E1 (en) 2005-07-29 2012-02-14 Structure for a multiple-gate FET device and a method for its fabrication
US14/466,636 Expired - Lifetime USRE45944E1 (en) 2005-07-29 2014-08-22 Structure for a multiple-gate FET device and a method for its fabrication

Country Status (3)

Country Link
US (4) US7381649B2 (en)
CN (1) CN1992206A (en)
TW (1) TWI302362B (en)

Cited By (1)

* Cited by examiner, † Cited by third party
Publication number Priority date Publication date Assignee Title
US20140097504A1 (en) * 2012-10-09 2014-04-10 STMiroelectronics Crolles 2 SAS Method for depositing a low-diffusion tialn layer and insulated gate comprising such a layer

Families Citing this family (51)

* Cited by examiner, † Cited by third party
Publication number Priority date Publication date Assignee Title
US7714384B2 (en) * 2003-09-15 2010-05-11 Seliskar John J Castellated gate MOSFET device capable of fully-depleted operation
US7381649B2 (en) * 2005-07-29 2008-06-03 Taiwan Semiconductor Manufacturing Company, Ltd. Structure for a multiple-gate FET device and a method for its fabrication
US20070287256A1 (en) * 2006-06-07 2007-12-13 International Business Machines Corporation Contact scheme for FINFET structures with multiple FINs
US7364975B2 (en) * 2006-07-20 2008-04-29 Infineon Technologies Ag Semiconductor device fabrication methods
KR100836761B1 (en) * 2006-12-08 2008-06-10 삼성전자주식회사 Fin Field Effect Transistor and Manufacturing Method Thereof
US7396738B1 (en) * 2006-12-13 2008-07-08 Hynix Semiconductor Inc. Method of forming isolation structure of flash memory device
US7632724B2 (en) * 2007-02-12 2009-12-15 International Business Machines Corporation Stressed SOI FET having tensile and compressive device regions
US8286114B2 (en) * 2007-04-18 2012-10-09 Taiwan Semiconductor Manufacturing Company, Ltd. 3-dimensional device design layout
US8450165B2 (en) * 2007-05-14 2013-05-28 Intel Corporation Semiconductor device having tipless epitaxial source/drain regions
US20080283910A1 (en) * 2007-05-15 2008-11-20 Qimonda Ag Integrated circuit and method of forming an integrated circuit
US8237201B2 (en) 2007-05-30 2012-08-07 Taiwan Semiconductor Manufacturing Company, Ltd. Layout methods of integrated circuits having unit MOS devices
DE102007027434A1 (en) * 2007-06-14 2008-12-18 X-Fab Semiconductor Foundries Ag Method for producing alignment structures for a structured layer deposition on a microsystem technology wafer by means of a coating mask
US7622344B2 (en) * 2007-07-17 2009-11-24 United Microelectronics Corp. Method of manufacturing complementary metal oxide semiconductor transistors
US7994020B2 (en) * 2008-07-21 2011-08-09 Advanced Micro Devices, Inc. Method of forming finned semiconductor devices with trench isolation
US8035165B2 (en) * 2008-08-26 2011-10-11 Taiwan Semiconductor Manufacturing Company, Ltd. Integrating a first contact structure in a gate last process
US7863136B2 (en) * 2008-09-30 2011-01-04 Qimonda Ag Method of manufacturing integrated circuits including a FET with a gate spacer and a fin
US9159808B2 (en) * 2009-01-26 2015-10-13 Taiwan Semiconductor Manufacturing Company, Ltd. Selective etch-back process for semiconductor devices
US8338884B2 (en) 2009-05-12 2012-12-25 Taiwan Semiconductor Manufacturing Company, Ltd. Selective epitaxial growth of semiconductor materials with reduced defects
US8101486B2 (en) * 2009-10-07 2012-01-24 Globalfoundries Inc. Methods for forming isolated fin structures on bulk semiconductor material
US8610240B2 (en) 2009-10-16 2013-12-17 Taiwan Semiconductor Manufacturing Company, Ltd. Integrated circuit with multi recessed shallow trench isolation
KR101676818B1 (en) * 2010-05-19 2016-11-17 삼성전자주식회사 Semiconductor Devices Including a Gate Structure and Methods of Fabricating the Same
US8207038B2 (en) * 2010-05-24 2012-06-26 International Business Machines Corporation Stressed Fin-FET devices with low contact resistance
US8624320B2 (en) * 2010-08-02 2014-01-07 Advanced Micro Devices, Inc. Process for forming fins for a FinFET device
US9543406B2 (en) * 2010-11-30 2017-01-10 Taiwan Semiconductor Manufacturing Company, Ltd. Structure and method for overlay marks
TWI455316B (en) * 2011-01-28 2014-10-01 立錡科技股份有限公司 High voltage multi-gate element and method of manufacturing same
US8680644B2 (en) 2011-04-11 2014-03-25 International Business Machines Coroporation Semiconductor device and method for making same
US9287385B2 (en) * 2011-09-01 2016-03-15 Taiwan Semiconductor Manufacturing Company, Ltd. Multi-fin device and method of making same
TWI587382B (en) * 2011-10-19 2017-06-11 聯華電子股份有限公司 Semiconductor structure and process thereof
US8772183B2 (en) 2011-10-20 2014-07-08 Taiwan Semiconductor Manufacturing Company, Ltd. Method of forming an integrated circuit
US8803247B2 (en) * 2011-12-15 2014-08-12 United Microelectronics Corporation Fin-type field effect transistor
US8629038B2 (en) * 2012-01-05 2014-01-14 Taiwan Semiconductor Manufacturing Company, Ltd. FinFETs with vertical fins and methods for forming the same
CN103515282A (en) * 2012-06-20 2014-01-15 中芯国际集成电路制造(上海)有限公司 Fin field-effect transistor and forming method thereof
US9091647B2 (en) * 2012-09-08 2015-07-28 Taiwan Semiconductor Manufacturing Company, Ltd. Direct sensing bioFETs and methods of manufacture
US9159831B2 (en) * 2012-10-29 2015-10-13 United Microelectronics Corp. Multigate field effect transistor and process thereof
US9437440B2 (en) * 2012-11-21 2016-09-06 Infineon Technologies Dresden Gmbh Method for manufacturing a semiconductor device
US9054123B2 (en) 2012-11-21 2015-06-09 Infineon Technologies Austria Ag Method for manufacturing a semiconductor device
US9209302B2 (en) 2013-03-13 2015-12-08 Taiwan Semiconductor Manufacturing Company, Ltd. Method of reducing the heights of source-drain sidewall spacers of FinFETs through etching
US8912056B2 (en) 2013-04-11 2014-12-16 International Business Machines Corporation Dual epitaxial integration for FinFETS
CN104112668B (en) * 2013-04-22 2018-06-22 中国科学院微电子研究所 Semiconductor device and manufacturing method thereof
US9018066B2 (en) * 2013-09-30 2015-04-28 United Microelectronics Corp. Method of fabricating semiconductor device structure
US9634122B2 (en) * 2014-03-12 2017-04-25 Taiwan Semiconductor Manufacturing Co., Ltd. Device boost by quasi-FinFET
US9472470B2 (en) * 2014-12-09 2016-10-18 GlobalFoundries, Inc. Methods of forming FinFET with wide unmerged source drain EPI
US9601624B2 (en) * 2014-12-30 2017-03-21 Globalfoundries Inc SOI based FINFET with strained source-drain regions
US9590074B1 (en) * 2015-12-05 2017-03-07 International Business Machines Corporation Method to prevent lateral epitaxial growth in semiconductor devices
CN107546119B (en) * 2016-06-24 2022-10-21 联华电子股份有限公司 Semiconductor element and manufacturing method thereof
US10910223B2 (en) 2016-07-29 2021-02-02 Taiwan Semiconductor Manufacturing Company, Ltd. Doping through diffusion and epitaxy profile shaping
US10720438B2 (en) * 2018-09-28 2020-07-21 Intel Corporation Memory array with ferroelectric elements
TWI748346B (en) 2020-02-15 2021-12-01 華邦電子股份有限公司 Multi-gate semiconductor structure and method of manufacturing the same
CN113659002A (en) * 2020-05-12 2021-11-16 内蒙古工业大学 With AlOXDiamond-based MISFET device of protective layer and preparation method thereof
US11569353B2 (en) 2021-02-02 2023-01-31 Micron Technology, Inc. Apparatuses including passing word lines comprising a band offset material, and related methods and systems
CN114496794A (en) * 2021-12-28 2022-05-13 矽力杰半导体技术(杭州)有限公司 Semiconductor device and method for manufacturing the same

Citations (27)

* Cited by examiner, † Cited by third party
Publication number Priority date Publication date Assignee Title
US6225187B1 (en) * 1999-02-12 2001-05-01 Nanya Technology Corporation Method for STI-top rounding control
US20020132422A1 (en) * 2001-03-13 2002-09-19 Infineon Technologies North America Corp. Method of deep trench formation with improved profile control and surface area
US6642090B1 (en) 2002-06-03 2003-11-04 International Business Machines Corporation Fin FET devices from bulk semiconductor and method for forming
US20030207579A1 (en) * 2002-05-01 2003-11-06 Michael Rattner Method of etching a deep trench having a tapered profile in silicon
US20040038540A1 (en) * 2001-10-05 2004-02-26 Lam Research Corporation Trench etch process for low-k dielectrics
US6706571B1 (en) 2002-10-22 2004-03-16 Advanced Micro Devices, Inc. Method for forming multiple structures in a semiconductor device
US20040142562A1 (en) * 2003-01-16 2004-07-22 Zhen-Long Chen Method of fabricating a shallow trench isolation structure
US20050035391A1 (en) 2003-08-14 2005-02-17 Lee Deok Hyung Multi-structured Si-fin and method of manufacture
US6858478B2 (en) 2002-08-23 2005-02-22 Intel Corporation Tri-gate devices and methods of fabrication
US20050130433A1 (en) * 2003-12-11 2005-06-16 Hynix Semiconductor Inc. Method of forming isolation film in semiconductor device
US20050148152A1 (en) * 2004-01-06 2005-07-07 Nanya Technology Corporation Method for forming shallow trench in semiconductor device
US20050153490A1 (en) 2003-12-16 2005-07-14 Jae-Man Yoon Method of forming fin field effect transistor
US6933215B2 (en) * 2001-06-29 2005-08-23 Atmel Germany Gmbh Process for doping a semiconductor body
US20050224800A1 (en) * 2004-03-31 2005-10-13 Nick Lindert Bulk non-planar transistor having strained enhanced mobility and methods of fabrication
US20050239254A1 (en) * 2004-04-24 2005-10-27 Taiwan Semiconductor Manufacturing Co., Ltd. Quasi-plannar and FinFET-like transistors on bulk silicon
US20060166504A1 (en) * 2005-01-24 2006-07-27 Miradia Inc. Profiled standoff structure and method for optical display package
US20060246730A1 (en) * 2005-04-29 2006-11-02 Myung-Ok Kim Method for fabricating transistor of semiconductor device
US20070015368A1 (en) * 2005-07-15 2007-01-18 You-Di Jhang Method of reducing silicon damage around laser marking region of wafers in sti cmp process
US7190050B2 (en) 2005-07-01 2007-03-13 Synopsys, Inc. Integrated circuit on corrugated substrate
US20070120156A1 (en) 2005-07-01 2007-05-31 Synopsys, Inc. Enhanced Segmented Channel MOS Transistor with Multi Layer Regions
US20070122953A1 (en) 2005-07-01 2007-05-31 Synopsys, Inc. Enhanced Segmented Channel MOS Transistor with High-Permittivity Dielectric Isolation Material
US20070122954A1 (en) 2005-07-01 2007-05-31 Synopsys, Inc. Sequential Selective Epitaxial Growth
US20070128782A1 (en) 2005-07-01 2007-06-07 Synopsys, Inc. Enhanced Segmented Channel MOS Transistor with Narrowed Base Regions
US7247887B2 (en) 2005-07-01 2007-07-24 Synopsys, Inc. Segmented channel MOS transistor
US7250346B2 (en) * 2003-06-23 2007-07-31 Samsung Electronics Col., Ltd. Dual gate oxide structure in semiconductor device and method thereof
US7265008B2 (en) 2005-07-01 2007-09-04 Synopsys, Inc. Method of IC production using corrugated substrate
US20080296632A1 (en) 2007-05-30 2008-12-04 Synopsys, Inc. Stress-Enhanced Performance Of A FinFet Using Surface/Channel Orientations And Strained Capping Layers

Family Cites Families (6)

* Cited by examiner, † Cited by third party
Publication number Priority date Publication date Assignee Title
US6903967B2 (en) * 2003-05-22 2005-06-07 Freescale Semiconductor, Inc. Memory with charge storage locations and adjacent gate structures
US7041542B2 (en) * 2004-01-12 2006-05-09 Advanced Micro Devices, Inc. Damascene tri-gate FinFET
KR100574340B1 (en) * 2004-02-02 2006-04-26 삼성전자주식회사 Semiconductor device and method for forming same
KR100610496B1 (en) * 2004-02-13 2006-08-09 삼성전자주식회사 Field effect transistor device having fin structure for channel and its manufacturing method
US8178902B2 (en) * 2004-06-17 2012-05-15 Infineon Technologies Ag CMOS transistor with dual high-k gate dielectric and method of manufacture thereof
US7381649B2 (en) * 2005-07-29 2008-06-03 Taiwan Semiconductor Manufacturing Company, Ltd. Structure for a multiple-gate FET device and a method for its fabrication

Patent Citations (33)

* Cited by examiner, † Cited by third party
Publication number Priority date Publication date Assignee Title
US6225187B1 (en) * 1999-02-12 2001-05-01 Nanya Technology Corporation Method for STI-top rounding control
US20020132422A1 (en) * 2001-03-13 2002-09-19 Infineon Technologies North America Corp. Method of deep trench formation with improved profile control and surface area
US6933215B2 (en) * 2001-06-29 2005-08-23 Atmel Germany Gmbh Process for doping a semiconductor body
US20040038540A1 (en) * 2001-10-05 2004-02-26 Lam Research Corporation Trench etch process for low-k dielectrics
US20030207579A1 (en) * 2002-05-01 2003-11-06 Michael Rattner Method of etching a deep trench having a tapered profile in silicon
US6642090B1 (en) 2002-06-03 2003-11-04 International Business Machines Corporation Fin FET devices from bulk semiconductor and method for forming
US6858478B2 (en) 2002-08-23 2005-02-22 Intel Corporation Tri-gate devices and methods of fabrication
US6706571B1 (en) 2002-10-22 2004-03-16 Advanced Micro Devices, Inc. Method for forming multiple structures in a semiconductor device
US20040142562A1 (en) * 2003-01-16 2004-07-22 Zhen-Long Chen Method of fabricating a shallow trench isolation structure
US7250346B2 (en) * 2003-06-23 2007-07-31 Samsung Electronics Col., Ltd. Dual gate oxide structure in semiconductor device and method thereof
US20050035391A1 (en) 2003-08-14 2005-02-17 Lee Deok Hyung Multi-structured Si-fin and method of manufacture
US20050130433A1 (en) * 2003-12-11 2005-06-16 Hynix Semiconductor Inc. Method of forming isolation film in semiconductor device
US20050153490A1 (en) 2003-12-16 2005-07-14 Jae-Man Yoon Method of forming fin field effect transistor
US20050148152A1 (en) * 2004-01-06 2005-07-07 Nanya Technology Corporation Method for forming shallow trench in semiconductor device
US20050224800A1 (en) * 2004-03-31 2005-10-13 Nick Lindert Bulk non-planar transistor having strained enhanced mobility and methods of fabrication
US20050239254A1 (en) * 2004-04-24 2005-10-27 Taiwan Semiconductor Manufacturing Co., Ltd. Quasi-plannar and FinFET-like transistors on bulk silicon
US20060166504A1 (en) * 2005-01-24 2006-07-27 Miradia Inc. Profiled standoff structure and method for optical display package
US20060246730A1 (en) * 2005-04-29 2006-11-02 Myung-Ok Kim Method for fabricating transistor of semiconductor device
US7247887B2 (en) 2005-07-01 2007-07-24 Synopsys, Inc. Segmented channel MOS transistor
US20090181477A1 (en) 2005-07-01 2009-07-16 Synopsys, Inc. Integrated Circuit On Corrugated Substrate
US20070122953A1 (en) 2005-07-01 2007-05-31 Synopsys, Inc. Enhanced Segmented Channel MOS Transistor with High-Permittivity Dielectric Isolation Material
US20070122954A1 (en) 2005-07-01 2007-05-31 Synopsys, Inc. Sequential Selective Epitaxial Growth
US20070128782A1 (en) 2005-07-01 2007-06-07 Synopsys, Inc. Enhanced Segmented Channel MOS Transistor with Narrowed Base Regions
US20070132053A1 (en) 2005-07-01 2007-06-14 Synopsys Inc. Integrated Circuit On Corrugated Substrate
US20070120156A1 (en) 2005-07-01 2007-05-31 Synopsys, Inc. Enhanced Segmented Channel MOS Transistor with Multi Layer Regions
US7605449B2 (en) 2005-07-01 2009-10-20 Synopsys, Inc. Enhanced segmented channel MOS transistor with high-permittivity dielectric isolation material
US7190050B2 (en) 2005-07-01 2007-03-13 Synopsys, Inc. Integrated circuit on corrugated substrate
US20080290470A1 (en) 2005-07-01 2008-11-27 Synopsys, Inc. Integrated Circuit On Corrugated Substrate
US7265008B2 (en) 2005-07-01 2007-09-04 Synopsys, Inc. Method of IC production using corrugated substrate
US7508031B2 (en) 2005-07-01 2009-03-24 Synopsys, Inc. Enhanced segmented channel MOS transistor with narrowed base regions
US7528465B2 (en) 2005-07-01 2009-05-05 Synopsys, Inc. Integrated circuit on corrugated substrate
US20070015368A1 (en) * 2005-07-15 2007-01-18 You-Di Jhang Method of reducing silicon damage around laser marking region of wafers in sti cmp process
US20080296632A1 (en) 2007-05-30 2008-12-04 Synopsys, Inc. Stress-Enhanced Performance Of A FinFet Using Surface/Channel Orientations And Strained Capping Layers

Non-Patent Citations (2)

* Cited by examiner, † Cited by third party
Title
Park, T., et al., "Fabrication of Body-Tied FinFETs (Omega MOSFETs) Using Bulk Si Wafers", VLSI Technology, 2003 Symposium, Jun. 10-12, 2003, pp. 135-136.
Park, T., et al., "Static Noise Margin of the Full DG-CMOS SRAM Cell Using Bulk FinFETs (Omega MOSFETs)", Electron Devices Meeting, IEEE International, Dec. 8-10, 2003, pp. 2.2.1-2.2.4.

Cited By (2)

* Cited by examiner, † Cited by third party
Publication number Priority date Publication date Assignee Title
US20140097504A1 (en) * 2012-10-09 2014-04-10 STMiroelectronics Crolles 2 SAS Method for depositing a low-diffusion tialn layer and insulated gate comprising such a layer
US9029254B2 (en) * 2012-10-09 2015-05-12 Stmicroelectronics (Crolles 2) Sas Method for depositing a low-diffusion TiAlN layer and insulated gate comprising such a layer

Also Published As

Publication number Publication date
TW200705607A (en) 2007-02-01
CN1992206A (en) 2007-07-04
USRE45944E1 (en) 2016-03-22
USRE45165E1 (en) 2014-09-30
US7381649B2 (en) 2008-06-03
US20070026629A1 (en) 2007-02-01
TWI302362B (en) 2008-10-21

Similar Documents

Publication Publication Date Title
USRE45180E1 (en) Structure for a multiple-gate FET device and a method for its fabrication
US12021082B2 (en) Enhanced channel strain to reduce contact resistance in NMOS FET devices
US8685847B2 (en) Semiconductor device having localized extremely thin silicon on insulator channel region
US20250142932A1 (en) Contacts for Semiconductor Devices and Methods of Forming the Same
US11942523B2 (en) Semiconductor devices and methods of forming the same
US12363949B2 (en) Gate-all-around devices with optimized gate spacers and gate end dielectric
US11901235B2 (en) Ion implantation for nano-FET
US12283613B2 (en) Gate structures in transistors and method of forming same
US20230335619A1 (en) Gate structure and method
US10840133B2 (en) Semiconductor structure with staggered selective growth
US20240387672A1 (en) Gate structures in transistors and method of forming same
US20250120146A1 (en) Semiconductor device having a doped fin well
US20250351410A1 (en) Nanosheet channel formation method and structure
US20240113164A1 (en) Film modification for gate cut process
US12439666B2 (en) Semiconductor device and methods of manufacture
US20260068306A1 (en) Differentiated sheet height in adjacent nanosheet stacks
US20250285988A1 (en) Doped well and alignment mark for semiconductor devices
US20250364309A1 (en) Isolation structures in transistor devices and methods of forming
US20250329573A1 (en) Semiconductor device having isolation liner and method of manufacturing thereof

Legal Events

Date Code Title Description
FPAY Fee payment

Year of fee payment: 8

MAFP Maintenance fee payment

Free format text: PAYMENT OF MAINTENANCE FEE, 12TH YEAR, LARGE ENTITY (ORIGINAL EVENT CODE: M1553); ENTITY STATUS OF PATENT OWNER: LARGE ENTITY

Year of fee payment: 12