US9126893B2 - Electrochemical cells, and gas sensor and fuel cell devices comprising same - Google Patents

Electrochemical cells, and gas sensor and fuel cell devices comprising same Download PDF

Info

Publication number
US9126893B2
US9126893B2 US11/451,538 US45153806A US9126893B2 US 9126893 B2 US9126893 B2 US 9126893B2 US 45153806 A US45153806 A US 45153806A US 9126893 B2 US9126893 B2 US 9126893B2
Authority
US
United States
Prior art keywords
fuel cell
ionic liquid
liquid electrolyte
electrochemical fuel
electrochemical
Prior art date
Legal status (The legal status is an assumption and is not a legal conclusion. Google has not performed a legal analysis and makes no representation as to the accuracy of the status listed.)
Active, expires
Application number
US11/451,538
Other versions
US20060234113A1 (en
Inventor
Andreas Röhrl
Current Assignee (The listed assignees may be inaccurate. Google has not performed a legal analysis and makes no representation or warranty as to the accuracy of the list.)
Honeywell International Inc
Original Assignee
Honeywell International Inc
Priority date (The priority date is an assumption and is not a legal conclusion. Google has not performed a legal analysis and makes no representation as to the accuracy of the date listed.)
Filing date
Publication date
Family has litigation
First worldwide family litigation filed litigation Critical https://patents.darts-ip.com/?family=31714513&utm_source=google_patent&utm_medium=platform_link&utm_campaign=public_patent_search&patent=US9126893(B2) "Global patent litigation dataset” by Darts-ip is licensed under a Creative Commons Attribution 4.0 International License.
Application filed by Honeywell International Inc filed Critical Honeywell International Inc
Priority to US11/451,538 priority Critical patent/US9126893B2/en
Publication of US20060234113A1 publication Critical patent/US20060234113A1/en
Assigned to HONEYWELL INTERNATIONAL INC. reassignment HONEYWELL INTERNATIONAL INC. ASSIGNMENT OF ASSIGNORS INTEREST (SEE DOCUMENT FOR DETAILS). Assignors: MST TECHNOLOGY GMBH
Priority to US13/103,421 priority patent/US9126894B2/en
Application granted granted Critical
Publication of US9126893B2 publication Critical patent/US9126893B2/en
Assigned to ADVANCED TECHNOLOGY MATERIALS, INC. reassignment ADVANCED TECHNOLOGY MATERIALS, INC. ASSIGNMENT OF ASSIGNORS INTEREST (SEE DOCUMENT FOR DETAILS). Assignors: ROHRL, ANDREAS
Assigned to MST TECHNOLOGY GMBH reassignment MST TECHNOLOGY GMBH ASSIGNMENT OF ASSIGNORS INTEREST (SEE DOCUMENT FOR DETAILS). Assignors: ADVANCED TECHNOLOGY MATERIALS, INC.
Active legal-status Critical Current
Adjusted expiration legal-status Critical

Links

Images

Classifications

    • CCHEMISTRY; METALLURGY
    • C07ORGANIC CHEMISTRY
    • C07CACYCLIC OR CARBOCYCLIC COMPOUNDS
    • C07C211/00Compounds containing amino groups bound to a carbon skeleton
    • C07C211/62Quaternary ammonium compounds
    • GPHYSICS
    • G01MEASURING; TESTING
    • G01NINVESTIGATING OR ANALYSING MATERIALS BY DETERMINING THEIR CHEMICAL OR PHYSICAL PROPERTIES
    • G01N27/00Investigating or analysing materials by the use of electric, electrochemical, or magnetic means
    • G01N27/26Investigating or analysing materials by the use of electric, electrochemical, or magnetic means by investigating electrochemical variables; by using electrolysis or electrophoresis
    • G01N27/403Cells and electrode assemblies
    • G01N27/404Cells with anode, cathode and cell electrolyte on the same side of a permeable membrane which separates them from the sample fluid, e.g. Clark-type oxygen sensors
    • G01N27/4045Cells with anode, cathode and cell electrolyte on the same side of a permeable membrane which separates them from the sample fluid, e.g. Clark-type oxygen sensors for gases other than oxygen
    • HELECTRICITY
    • H01ELECTRIC ELEMENTS
    • H01MPROCESSES OR MEANS, e.g. BATTERIES, FOR THE DIRECT CONVERSION OF CHEMICAL ENERGY INTO ELECTRICAL ENERGY
    • H01M8/00Fuel cells; Manufacture thereof
    • HELECTRICITY
    • H01ELECTRIC ELEMENTS
    • H01MPROCESSES OR MEANS, e.g. BATTERIES, FOR THE DIRECT CONVERSION OF CHEMICAL ENERGY INTO ELECTRICAL ENERGY
    • H01M8/00Fuel cells; Manufacture thereof
    • H01M8/06Combination of fuel cells with means for production of reactants or for treatment of residues
    • H01M8/0662Treatment of gaseous reactants or gaseous residues, e.g. cleaning
    • H01M8/0687Reactant purification by the use of membranes or filters
    • HELECTRICITY
    • H01ELECTRIC ELEMENTS
    • H01MPROCESSES OR MEANS, e.g. BATTERIES, FOR THE DIRECT CONVERSION OF CHEMICAL ENERGY INTO ELECTRICAL ENERGY
    • H01M8/00Fuel cells; Manufacture thereof
    • H01M8/10Fuel cells with solid electrolytes
    • H01M8/1016Fuel cells with solid electrolytes characterised by the electrolyte material
    • HELECTRICITY
    • H01ELECTRIC ELEMENTS
    • H01MPROCESSES OR MEANS, e.g. BATTERIES, FOR THE DIRECT CONVERSION OF CHEMICAL ENERGY INTO ELECTRICAL ENERGY
    • H01M8/00Fuel cells; Manufacture thereof
    • H01M8/18Regenerative fuel cells, e.g. redox flow batteries or secondary fuel cells
    • H01M8/184Regeneration by electrochemical means
    • H01M8/188Regeneration by electrochemical means by recharging of redox couples containing fluids; Redox flow type batteries
    • HELECTRICITY
    • H01ELECTRIC ELEMENTS
    • H01MPROCESSES OR MEANS, e.g. BATTERIES, FOR THE DIRECT CONVERSION OF CHEMICAL ENERGY INTO ELECTRICAL ENERGY
    • H01M2300/00Electrolytes
    • H01M2300/0017Non-aqueous electrolytes
    • H01M2300/002Inorganic electrolyte
    • H01M2300/0022Room temperature molten salts
    • HELECTRICITY
    • H01ELECTRIC ELEMENTS
    • H01MPROCESSES OR MEANS, e.g. BATTERIES, FOR THE DIRECT CONVERSION OF CHEMICAL ENERGY INTO ELECTRICAL ENERGY
    • H01M2300/00Electrolytes
    • H01M2300/0017Non-aqueous electrolytes
    • H01M2300/0025Organic electrolyte
    • YGENERAL TAGGING OF NEW TECHNOLOGICAL DEVELOPMENTS; GENERAL TAGGING OF CROSS-SECTIONAL TECHNOLOGIES SPANNING OVER SEVERAL SECTIONS OF THE IPC; TECHNICAL SUBJECTS COVERED BY FORMER USPC CROSS-REFERENCE ART COLLECTIONS [XRACs] AND DIGESTS
    • Y02TECHNOLOGIES OR APPLICATIONS FOR MITIGATION OR ADAPTATION AGAINST CLIMATE CHANGE
    • Y02EREDUCTION OF GREENHOUSE GAS [GHG] EMISSIONS, RELATED TO ENERGY GENERATION, TRANSMISSION OR DISTRIBUTION
    • Y02E60/00Enabling technologies; Technologies with a potential or indirect contribution to GHG emissions mitigation
    • Y02E60/30Hydrogen technology
    • Y02E60/50Fuel cells

Definitions

  • the present invention relates generally to electrochemical cells and to devices incorporating same, such as fuel cells, sensors, and electrochemical cell gas sensors used for detection of gases in environments containing or susceptible to presence of same, and in a specific aspect, the invention relates to an electrochemical cell utilizing ionic liquid as an electrolyte medium thereof.
  • Gas sensors are used in many commercial and industrial applications, including workplace monitoring for the presence of toxic or otherwise hazardous or deleterious gases and in other applications where health and safety issues require detection of specific gases in the ambient environment.
  • Gas sensors used in the foregoing applications include electrochemical gas sensors, which may operate to electrochemically reduce the gas species to be monitored.
  • the gas sensor may operate by electrochemically oxidizing the target gas species sought to be detected.
  • the electrochemical gas sensor may operate by indirect oxidation or reduction reaction of a compound that is produced in the gas sensor device, involving the target gas to be detected in the monitored gaseous environment.
  • Electrochemical gas sensors utilize sensor cells that typically contain three electrodes—the working electrode, the reference electrode and the counter electrode, although gas sensor cells are known having 2-electrode and 4-electrode structures.
  • the electrodes are conventionally mounted within a housing that additionally contains an electrolyte, contacts and electrical wires forming electronic circuitry of the sensor, and a gas permeable membrane that keeps the electrolyte within the cell and allows the gas to contact the measuring electrode.
  • Electrochemical sensor cells require an electrolyte as a component of the electrochemical cell.
  • the electrolyte performs the transport of electrical charge between the different electrodes and therefore enables an electrical current to flow.
  • the transport of electrical charge by the electrolyte is ionic in character rather than involving charge transport by electrons.
  • the electrolyte usually is constituted by a liquid solvent containing electrolyte/salt component(s), wherein the solvent comprises water, or alternatively a non-aqueous solvent medium, but the electrolyte may otherwise comprise a solid electrolyte such as yttrium-stabilized zirconia (YSZ) for usage at high temperatures of about 450 to 950° C. or an ion exchange membrane such as a Nafion® membrane (commercially available from DuPont de Nemours and Company, Wilmington, Del.) that is saturated with water.
  • YSZ yttrium-stabilized zirconia
  • an ion exchange membrane such as a Nafion® membrane (commercially available from DuPont de Nemours and Company, Wilmington, Del.) that is saturated with water.
  • Liquid electrolytes in some instances can be ‘solidified’ by addition thereto of gel-forming agents, but the resultantly solidified electrolyte materials still rely on the presence of liquid solvent medium for operability, as do ion exchange systems such as the ion exchange membranes mentioned above.
  • Gas sensors are operationally “open systems” in the sense of requiring gas flow therethrough for detection of gas component(s) in the gas stream with which the gas sensor is contacted.
  • One major deficiency of conventional gas sensors is the limited service life of liquid electrolytes that include gels or wetted membranes, since these materials dry out over time as solvent evaporates therefrom.
  • Water-based gas sensor systems are designed to be in equilibrium with ambient humidity of the environment being monitored, but their utility is generally restricted to a specific humidity range.
  • Solid electrolyte gas sensors are difficult to construct for efficient operation, since diffusion of gas in the solid electrolyte material is hindered in relation to liquid electrolytes, there is no transport of reactants in the solid electrolyte, and known solid electrolyte materials tend to be hygroscopic and thus are difficult to stabilize in humid environments. Additionally, solid electrolytes (i.e. solid materials providing intrinsic ion transport by usually oxide ions O 2 ⁇ ) need high operating temperatures. For example, yttrium-stabilized zirconia (YSZ) used in oxygen sensors does not provide sufficient ion conductivity at temperatures below 450° C.
  • YSZ yttrium-stabilized zirconia
  • the present invention relates generally to electrochemical cells, for applications such as electrochemical energy supplies (fuel cells, batteries, etc.) and electrochemical cell gas sensors.
  • the invention relates to an electrochemical cell including an electrolyte therein in electrical contact with electrochemical cell electrodes, wherein the electrolyte comprises an ionic liquid.
  • the invention in another aspect, relates to a method of increasing performance of an electrochemical cell, comprising using in such cell an electrolytic medium including an ionic liquid electrolyte.
  • FIG. 1 is a schematic representation of a process system employing an electrochemical cell gas sensor according to the present invention, in an illustrative embodiment thereof.
  • FIG. 2 is a schematic representation of an electrochemical cell gas sensor and filter unit according to one embodiment of the invention.
  • FIG. 3 is a simplified schematic representation of an electrochemical fuel cell according to another embodiment of the invention.
  • the present invention relates to electrochemical cells utilizing ionic liquids as electrolyte media.
  • ionic liquid means a salt comprising at least one cation and one anion and being liquid at temperatures below 250° C., preferably below 100° C., and most preferably below 50° C. (e.g., 20-30° C.).
  • the ionic liquids employed in the broad practice of the invention may be of any suitable type, and include those disclosed in: International Publication No. WO 00/16902 for “IONIC LIQUIDS;” International Publication No. WO 00/15594 for “PROCESS FOR MAKING AROMATIC ALDEHYDES USING IONIC LIQUIDS;” U.S. Pat. No. 4,554,383; Seddon, K. R., Molten Salt Forum, 5-6, pp. 53-62 (1998); and Seddon, K. R., Kinetics and Catalysts, 37, 5, pp. 743-748 (1996), the disclosures of which hereby are incorporated herein by reference in their respective entireties.
  • electrochemical cell devices of the present invention include electrochemical cell gas sensors and fuel cells, wherein ionic liquid is employed as an electrolyte medium, having utility in many environments including but not limited to:
  • the electrochemical cell devices of the present invention include electrochemical cell gas sensors, having potentially smaller physical dimensions as compared to current electrochemical cell gas sensing devices using aqueous and organic solvent electrolyte. Such smaller dimensions are possible, because unlike current electrochemical sensors, solvent evaporation issues are substantially non-existent allowing for reduced amounts of electrolyte and elimination of reservoir(s) for solvent replacement.
  • the electrochemical cell gas sensors of the instant invention are advantageously available for detecting a broader range of target compounds and sensor lifetime is no longer restricted by the amount of electrolyte.
  • the electrochemical cell of the invention comprises an electrochemical cell gas sensor, in which an ionic liquid is employed as an electrolyte.
  • the electrochemical cell gas sensor may be of any suitable fabrication or construction, e.g., comprising a housing, with two or more electrodes operatively arranged in an interior volume of the housing and communicating with electrical circuitry means (e.g., contacts, wires, conductive films, circuit components, etc.) and the ionic liquid electrolyte.
  • the ionic liquid may be of any suitable type and may have a melting point that is ⁇ to 250° C.
  • the melting point of the ionic liquid may be above or below the operating temperature of a particular process.
  • vapour pressure of the ionic liquids of the instant invention at room temperature is negligible to non measurable, as compared to electrolyte materials of the prior art (such as water, acrylonitrile, propylene carbonate, and the like).
  • Illustrative ionic liquids useful as electrolyte materials in electrochemical cell gas sensors in the practice of the present invention include, without limitation, salts with imidazolium or pyridinium cations.
  • the cations that may be usefully employed in a given application of the invention include cations with alkyl and/or aryl substituents, optionally wherein the alkyl and/or aryl substituents are themselves further substituted, e.g., with halo, loweralkyl (C 1 -C 4 ), hydroxyl, amine, etc.), such cations being capable of forming salts when reacted with corresponding anions.
  • Illustrative anions for such purpose include, without limitation, halides (chlorides, iodides, bromides, fluorides), nitrates, nitrites, tetrafluoroborates, hexafluorophosphates, trifluoromethanesulfonates and other polyfluoroalkanesulfonates, e.g., nonaflate, bis(trifluoromethylsulfonyl)imides, methylsulfates, acetates, fluoroacetates and other anions of fluoroalkanoic acid.
  • the ionic liquid electrolyte comprises at least one salt selected from the group consisting of salts with the general formula C + A ⁇ where C + represents a quaternary ammonium and/or phosphonium salts and A′′ represents any known anion that can form ionic liquids in the meaning described in the present invention.
  • Non-limiting examples include methyl-octyl-imidazolium-chloride and butyl-methyl-imidazolium-bis-trifluoromethane-sulfonimide.
  • the low vapour pressure ionic liquids in gas sensor electrochemical cells of the present invention may include compounds as described above, in single salt electrolyte compositions, as well as use of same and similar compounds in mixtures together with varying amounts of aluminum halides, preferably aluminum chloride, or other salts that increase the conductivity of the electrolytic medium, or otherwise enhance the gas detection sensitivity of the gas sensor electrochemical cell.
  • the electrochemical cell gas sensor of the invention may be constructed and arranged in any appropriate manner to carry out the sensing of the target gas species in a gaseous environment containing or susceptible to the presence of same.
  • the fabrication and manufacture of electrochemical cell gas sensors is more fully described in Advances in Electrochemistry and Electrochemical Engineering, Volume 10, John Wiley & Sons, 1976, and the electrochemical cell gas sensor assembly in accordance with the invention may include a chemically selective filter for the electrochemical gas sensing cell, to remove interferent gas components that would otherwise interfere with or preclude measurement of the target gas species in the gas environment being monitored by the gas sensor assembly.
  • the electrochemical cell gas sensor may be constructed and arranged to electrochemically reduce the gas species to be monitored, so that the monitoring operation involves chemical reduction of the target gas species.
  • the electrochemical cell gas sensor may operate by electrochemically oxidizing the target gas species sought to be detected.
  • the electrochemical cell gas sensor may operate by indirect oxidation or reduction reaction of a compound that is produced in the gas sensor device, involving the target gas to be detected in the gas environment being monitored for the presence of the target gas species.
  • the electrochemical cell gas sensor may be configured to utilize a gas sensor cell containing three electrodes—the working electrode, the reference electrode and the counter electrode, although gas sensor cells having 2-electrode and 4-electrode structures may alternatively be employed.
  • the electrodes are mounted within a housing containing the ionic liquid electrolyte, with the electrodes being coupled in circuit-forming relationship with contacts and electrical wires forming the electronic circuitry of the sensor.
  • the superiority of the ionic liquid electrolyte medium in the electrochemical gas sensor of the present invention has been demonstrated by relative weight loss tests in which propylene carbonate, a widely used electrolyte of prior art electrochemical gas sensors, and ionic liquids of the present invention (e.g. methyl-octyl-imidazolium-chloride, butyl-methyl-imidazolium-bis-trifluoromethane-sulfonimide) were evaluated at 80° C. After only 5 days at such temperature of 80° C., propylene carbonate, having a boiling point of 240° C., was totally evaporated, while the ionic liquids of the present invention were of unchanged mass within the accuracy of the measurement apparatus. These results evidence an unexpected advantage and superiority of the ionic liquids of the present invention over electrolyte characteristic of prior art electrochemical cell gas sensors.
  • ionic liquids of the present invention e.g. methyl-octyl-imidazolium-chloride,
  • useful electrolytes for electrochemical cells must have an electrical conductivity of at least 10 ⁇ 5 ohm ⁇ 1 cm ⁇ 1 .
  • the electrical conductivity of the ionic salts of the present invention are typically on the order of 0.01 ohm ⁇ 1 cm ⁇ 1 , three orders of magnitude above such electrolytic threshold, providing unexpectedly superior performance of electrochemical cell gas sensors utilizing same.
  • ionic liquids which are preferred for use as electrolyte in the practice of the present invention have an electrical conductivity of at least 10 ⁇ 3 ohm ⁇ 1 cm ⁇ 1 and such ionic liquids most preferably include those having an electrical conductivity of at least 10 ⁇ 2 ohm ⁇ 1 cm ⁇ 1 .
  • the invention therefore provides an electrochemical cell gas sensor including a gas sensor cell in which an ‘ionic liquid’ is employed as an electrolyte, e.g., a salt having a melting point below 100° C. and preferably a liquid at room temperature.
  • an ‘ionic liquid’ is employed as an electrolyte, e.g., a salt having a melting point below 100° C. and preferably a liquid at room temperature.
  • the ionic liquid systems of the invention are characterized by negligible vapour pressure of the electrolyte, and an extremely high electrolytic character since the ionic liquids are constituted by ions.
  • the invention provides electrochemical fuel cells using ionic liquids as solvent/electrolyte media.
  • Fuel cells are electrochemical cells consisting of two electrodes connected with an ion-conducting electrolyte.
  • the electrodes usually have a porous structure and are designed to allow very close contact between a gas (the fuel), the electrolyte and the catalyst powder that catalyses the chemical reactions. Oxidation and reduction are separated so that they occur at different electrodes, and the electric circuit is closed by ion transport from one electrode through the electrolyte to the other electrode.
  • the fuel cells of the present invention in one aspect thereof may be fabricated with cathode and anode elements in an assembly in which the ionic liquid electrolyte medium is disposed between the respective electrodes, in an electrolyte/electrode assembly, with the respective cathode and anode elements have backing layers on their outer surfaces providing pathways for gas access to the respective electrode.
  • current collector plates including a cathode current collector plate on the cathode-backing layer, and an anode current collector plate on the anode-backing layer.
  • the current collectors are in turn coupled with circuitry including load or output device(s) that utilize the electrical output of the fuel cell.
  • fuel cells utilizing ionic liquid electrolytes in accordance with the present invention can operate at substantially lower temperatures and over significantly wider temperature ranges in which the performance of the prior art fuel cells would be deficient or even non-existent.
  • PAFCs phosphoric acid fuel cells
  • MCFC molten carbonate fuel cells
  • SPMFC solid polymer membrane fuel cells
  • AFC alkaline fuel cells
  • SOFC solid oxide fuel cells
  • the ionic liquids used as electrolyte media in fuel cells of the present invention may be of any suitable type, including the ionic liquid electrolytes described hereinabove in the preceding discussion of electrochemical cell gas sensors utilizing ionic liquid electrolytes in accordance with the present invention.
  • FIG. 1 is a schematic representation of a process system 10 employing an electrochemical gas sensor according to the present invention, in an illustrative embodiment thereof.
  • the FIG. 1 process system 10 includes a supply 12 of a source gas.
  • the supply 12 may include a process unit that generates the target gas (i.e., the gas component to be monitored by the electrochemical cell gas sensor) in mixture with other gas components, as a multicomponent gas mixture.
  • the supply 12 of the source gas may be a gas environment that is subject to ingress or contamination by the target gas, e.g., as a toxic, or otherwise hazardous or undesirable gas species in the particular environment.
  • the source gas, containing the target gas as a component thereof flows from supply 12 in line 14 to the abatement processing unit 16 in which the source gas is treated to remove the target gas therefrom.
  • a target gas-depleted stream is discharged from the abatement-processing unit 16 in line 18 , and may be passed to a further downstream process or final disposition, as required.
  • a side stream of the source gas from line 14 is flowed in line 20 , under the action of motive fluid driver 22 , through dust filter 23 , interferent species filter 24 and gas sensor 26 , being returned to line 14 downstream of gas sensor 26 , as shown.
  • the dust filter 23 removes particulates from the source gas
  • the interferent species filter 24 removes gas components from the dust-depleted source gas that may interfere with the accurate sensing of the target gas by the electrochemical cell gas sensor.
  • an interferent-free gas composition including the target gas species, is flowed from the interferent species filter 24 to the electrochemical cell gas sensor 26 .
  • the electrochemical cell gas sensor 26 monitors the concentration of the target gas species in the side stream and generates a corresponding response signal correlative to the sensed concentration of the target gas species.
  • the response signal is transmitted in signal transmission line 28 to central processing unit (CPU) 30 , which in turn generates a corresponding control signal that is transmitted in control signal line 32 to the abatement-processing unit 16 .
  • the control signal in line 32 may be employed to modulate the gas processing operation in abatement processing unit 16 to abate the target gas species.
  • the amount of the chemical reagent may be modulated in response to the sensed concentration of the phosgene in the source gas, to effect substantially complete removal of the phosgene from the gas stream treated in abatement processing unit 16 .
  • the process conditions e.g., temperatures, pressures, flow rates, retention time, etc.
  • the abatement processing unit 16 may be modulated to effect the desired reduction in the concentration of the target gas species in the effluent stream being treated.
  • FIG. 2 is a schematic representation of an electrochemical cell gas sensor 50 according to one embodiment of the invention.
  • the electrochemical cell gas sensor 50 comprises a housing 52 formed of a suitable material of construction, e.g., metal, ceramic, polymer, etc. defining therewithin an interior volume.
  • the interior volume of the housing includes an electrolyte compartment 53 containing an ionic liquid electrolyte in accordance with the invention, and an electrode assembly including a counter electrode 54 , a reference electrode 58 and a working electrode 62 .
  • the counter and reference electrodes are separated by separator member 56
  • the reference and working electrodes are separated by separator member 60 .
  • an interferent species filter 64 for removing interferent species from the source gas flowed therethrough.
  • a dust filter 66 is joined to the housing 52 at the upper end of the housing walls, as shown, being sealed to the top edges of the walls by bond 68 .
  • the bond 68 is formed of a suitable adhesive or sealant medium, and joins the dust filter 66 to the housing 52 in a leak-tight manner, so that source gas flowed through the filter enters the interferent species filter 64 and is prevented from bypassing the filtration and sensing elements in the housing interior volume.
  • electrochemical cell gas sensor 50 is schematically illustrated for ease of description, and does not show the electrical leads to the electrode elements in the housing or other ancillary structure, but based on such description, the electrochemical cell gas sensor 50 may be readily constructed by those skilled in the art, to effect gas sensing operation that is accurate and reproducible for monitoring of the target gas species in the source gas.
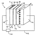
  • FIG. 3 is a simplified schematic representation of an electrochemical fuel cell 100 according to another embodiment of the invention.
  • the electrochemical fuel cell 100 as illustrated includes an ionic liquid electrolyte compartment 108 containing an ionic liquid electrolyte 102 in accordance with the present invention, and arranged so that the ionic liquid electrolyte in the electrolyte compartment 108 is in contact with anode 106 and cathode 104 .
  • anode backing layer 116 On the outer surface of the anode (the main surface opposite the surface in contact with the electrolyte) is disposed an anode backing layer 116 .
  • the outer surface of the cathode 104 has disposed in contact therewith a cathode-backing layer 110 .
  • anode current collector 118 in contact with the anode backing layer 116
  • a cathode current collector 112 in contact with the cathode backing layer 110 , as shown.
  • the backing layers 116 and 110 are formed of suitable material having pathways therein for gas access to the corresponding electrode with which the backing layer is in contact.
  • the anode current collector 118 is formed with fuel flow passages 120 therein, accommodating flow of fuel into the passages 120 in the direction indicated by arrow C, with the spent/unused fuel being discharged from such passages in the direction indicated by arrow D.
  • the fuel may comprise hydrogen or any other fuel medium.
  • the cathode current collector 112 is correspondingly formed with oxidant flow passages 114 therein, into which oxidant is flowed in the direction indicated by arrow A in FIG. 3 , and from which spent/unused oxidant is discharged in the direction indicated by arrow B.
  • the oxidant may be of any suitable type, e.g., oxygen, air, oxygen-enriched air, ozone, etc.
  • the anode and cathode current collectors 118 and 112 in the FIG. 3 fuel cell are coupled with electrical circuitry, schematically represented in FIG. 3 by circuit wire 122 , interconnecting the fuel cell with a load or output device 124 of desired type.
  • the fuel cell structure shown in FIG. 3 is highly simplified in character for purposes of illustration, and it will be appreciated that fuel cell apparatus in accordance with the present invention may be fabricated and arranged in a wide variety of conformations and embodiments.
  • the fuel cell apparatus may include a fuel cell stack utilizing a plurality of fuel cell unit structures as shown in FIG. 3 , joined together with bipolar current collector plates and end plates, as is known in the art for achieving economies of scale in use of fuel cell elements.
  • An electrochemical cell gas sensor comprising a gas sensor such as schematically described above, allows for the measurement of hydrogen sulfide (H 2 S) concentrations in a gas mixture.
  • the sensor comprises a measuring electrode made of silver (Ag), a reference electrode made of silver (Ag), and a counter electrode made of silver (Ag).
  • the sensor comprises an electrolyte consisting of an ionic liquid, namely ethyl-methyl-imidazolium-trifluorormethane-sulfonate. Concentrations of 20-ppm hydrogen sulfide give rise to a signal current of 0.01 mA. The response time is typically less than 30 s after initial exposure to the gas.
  • An electrochemical cell gas sensor comprising a gas sensor such as schematically described above, allows for the measurement chlorine (Cl 2 ) concentrations in a gas mixture.
  • the sensor comprises a measuring electrode made of gold (Au), a reference electrode made of platinum (Pt), and a counter electrode made of platinum (Pt).
  • the sensor comprises an electrolyte consisting of an ionic liquid, namely butyl-methyl-imidazolium-bis-trifluoromethane-sulfonimide. Concentrations of 1-ppm chlorine give rise to a signal current of 0.2 ⁇ A. The response time is typically 30 s after initial exposure to the gas.

Landscapes

  • Chemical & Material Sciences (AREA)
  • Life Sciences & Earth Sciences (AREA)
  • Chemical Kinetics & Catalysis (AREA)
  • Electrochemistry (AREA)
  • Engineering & Computer Science (AREA)
  • Manufacturing & Machinery (AREA)
  • Sustainable Development (AREA)
  • Sustainable Energy (AREA)
  • General Chemical & Material Sciences (AREA)
  • Organic Chemistry (AREA)
  • Health & Medical Sciences (AREA)
  • Molecular Biology (AREA)
  • Analytical Chemistry (AREA)
  • Biochemistry (AREA)
  • General Health & Medical Sciences (AREA)
  • General Physics & Mathematics (AREA)
  • Immunology (AREA)
  • Pathology (AREA)
  • Physics & Mathematics (AREA)
  • Measuring Oxygen Concentration In Cells (AREA)

Abstract

An electrochemical cell for applications such as electrochemical fuel cells, or electrochemical cell gas sensors used for detection of target gas species in environments containing or susceptible to presence of same. The electrochemical cell utilizes an ionic liquid as an electrolyte medium, thereby achieving a broader range of operational temperatures and conditions, relative to electrochemical cells utilizing propylene carbonate or other conventional electrolytic media.

Description

CROSS-REFERENCE TO RELATED APPLICATIONS
This is a divisional of U.S. patent application Ser. No. 10/218,262 filed Aug. 14, 2002 in the name of Andreas Röhrl for “Electrochemical cells, and gas sensor and fuel cell devices comprising same,” which will issue on Jun. 13, 2006 as U.S. Pat. No. 7,060,169, the entirety of which is incorporated herein by reference for all purposes. Priority of said U.S. patent application Ser. No. 10/218,262 is claimed under the provisions of 35 USC 120.
BACKGROUND OF THE INVENTION
1. Field of the Invention
The present invention relates generally to electrochemical cells and to devices incorporating same, such as fuel cells, sensors, and electrochemical cell gas sensors used for detection of gases in environments containing or susceptible to presence of same, and in a specific aspect, the invention relates to an electrochemical cell utilizing ionic liquid as an electrolyte medium thereof.
2. Description of the Related Art
Gas sensors are used in many commercial and industrial applications, including workplace monitoring for the presence of toxic or otherwise hazardous or deleterious gases and in other applications where health and safety issues require detection of specific gases in the ambient environment.
In these various applications, it is frequently necessary or desirable to monitor concentration of selected gas species down to levels on the order of a few parts per million and less.
Gas sensors used in the foregoing applications include electrochemical gas sensors, which may operate to electrochemically reduce the gas species to be monitored. Alternatively, the gas sensor may operate by electrochemically oxidizing the target gas species sought to be detected. As a still further alternative, the electrochemical gas sensor may operate by indirect oxidation or reduction reaction of a compound that is produced in the gas sensor device, involving the target gas to be detected in the monitored gaseous environment.
Electrochemical gas sensors utilize sensor cells that typically contain three electrodes—the working electrode, the reference electrode and the counter electrode, although gas sensor cells are known having 2-electrode and 4-electrode structures. The electrodes are conventionally mounted within a housing that additionally contains an electrolyte, contacts and electrical wires forming electronic circuitry of the sensor, and a gas permeable membrane that keeps the electrolyte within the cell and allows the gas to contact the measuring electrode.
Electrochemical sensor cells require an electrolyte as a component of the electrochemical cell. The electrolyte performs the transport of electrical charge between the different electrodes and therefore enables an electrical current to flow. The transport of electrical charge by the electrolyte is ionic in character rather than involving charge transport by electrons.
The electrolyte usually is constituted by a liquid solvent containing electrolyte/salt component(s), wherein the solvent comprises water, or alternatively a non-aqueous solvent medium, but the electrolyte may otherwise comprise a solid electrolyte such as yttrium-stabilized zirconia (YSZ) for usage at high temperatures of about 450 to 950° C. or an ion exchange membrane such as a Nafion® membrane (commercially available from DuPont de Nemours and Company, Wilmington, Del.) that is saturated with water.
Liquid electrolytes in some instances can be ‘solidified’ by addition thereto of gel-forming agents, but the resultantly solidified electrolyte materials still rely on the presence of liquid solvent medium for operability, as do ion exchange systems such as the ion exchange membranes mentioned above.
Gas sensors are operationally “open systems” in the sense of requiring gas flow therethrough for detection of gas component(s) in the gas stream with which the gas sensor is contacted. One major deficiency of conventional gas sensors is the limited service life of liquid electrolytes that include gels or wetted membranes, since these materials dry out over time as solvent evaporates therefrom.
Water-based gas sensor systems are designed to be in equilibrium with ambient humidity of the environment being monitored, but their utility is generally restricted to a specific humidity range.
Solid electrolyte gas sensors are difficult to construct for efficient operation, since diffusion of gas in the solid electrolyte material is hindered in relation to liquid electrolytes, there is no transport of reactants in the solid electrolyte, and known solid electrolyte materials tend to be hygroscopic and thus are difficult to stabilize in humid environments. Additionally, solid electrolytes (i.e. solid materials providing intrinsic ion transport by usually oxide ions O2−) need high operating temperatures. For example, yttrium-stabilized zirconia (YSZ) used in oxygen sensors does not provide sufficient ion conductivity at temperatures below 450° C.
The art therefore continues to seek improvements in electrochemical cell gas sensors.
SUMMARY OF THE INVENTION
The present invention relates generally to electrochemical cells, for applications such as electrochemical energy supplies (fuel cells, batteries, etc.) and electrochemical cell gas sensors.
In one aspect, the invention relates to an electrochemical cell including an electrolyte therein in electrical contact with electrochemical cell electrodes, wherein the electrolyte comprises an ionic liquid.
In another aspect, the invention relates to a method of increasing performance of an electrochemical cell, comprising using in such cell an electrolytic medium including an ionic liquid electrolyte.
Other aspects, features and advantages of the invention will be more fully apparent from the ensuing disclosure and appended claims.
BRIEF DESCRIPTION OF THE DRAWINGS
FIG. 1 is a schematic representation of a process system employing an electrochemical cell gas sensor according to the present invention, in an illustrative embodiment thereof.
FIG. 2 is a schematic representation of an electrochemical cell gas sensor and filter unit according to one embodiment of the invention.
FIG. 3 is a simplified schematic representation of an electrochemical fuel cell according to another embodiment of the invention.
DETAILED DESCRIPTION OF THE INVENTION, AND PREFERRED EMBODIMENTS THEREOF
The present invention relates to electrochemical cells utilizing ionic liquids as electrolyte media.
As used herein, the term “ionic liquid” means a salt comprising at least one cation and one anion and being liquid at temperatures below 250° C., preferably below 100° C., and most preferably below 50° C. (e.g., 20-30° C.).
The ionic liquids employed in the broad practice of the invention may be of any suitable type, and include those disclosed in: International Publication No. WO 00/16902 for “IONIC LIQUIDS;” International Publication No. WO 00/15594 for “PROCESS FOR MAKING AROMATIC ALDEHYDES USING IONIC LIQUIDS;” U.S. Pat. No. 4,554,383; Seddon, K. R., Molten Salt Forum, 5-6, pp. 53-62 (1998); and Seddon, K. R., Kinetics and Catalysts, 37, 5, pp. 743-748 (1996), the disclosures of which hereby are incorporated herein by reference in their respective entireties.
The electrochemical cell devices of the present invention include electrochemical cell gas sensors and fuel cells, wherein ionic liquid is employed as an electrolyte medium, having utility in many environments including but not limited to:
a) environments having broad humidity range, preferably environments having low relative humidity;
b) environments having high air flow; and
c) environments operating at higher temperatures.
Additionally, the electrochemical cell devices of the present invention include electrochemical cell gas sensors, having potentially smaller physical dimensions as compared to current electrochemical cell gas sensing devices using aqueous and organic solvent electrolyte. Such smaller dimensions are possible, because unlike current electrochemical sensors, solvent evaporation issues are substantially non-existent allowing for reduced amounts of electrolyte and elimination of reservoir(s) for solvent replacement.
By minimizing the evaporation issue, the electrochemical cell gas sensors of the instant invention are advantageously available for detecting a broader range of target compounds and sensor lifetime is no longer restricted by the amount of electrolyte.
In one aspect, the electrochemical cell of the invention comprises an electrochemical cell gas sensor, in which an ionic liquid is employed as an electrolyte. The electrochemical cell gas sensor may be of any suitable fabrication or construction, e.g., comprising a housing, with two or more electrodes operatively arranged in an interior volume of the housing and communicating with electrical circuitry means (e.g., contacts, wires, conductive films, circuit components, etc.) and the ionic liquid electrolyte.
The ionic liquid may be of any suitable type and may have a melting point that is ≦ to 250° C. The melting point of the ionic liquid may be above or below the operating temperature of a particular process.
The vapour pressure of the ionic liquids of the instant invention at room temperature is negligible to non measurable, as compared to electrolyte materials of the prior art (such as water, acrylonitrile, propylene carbonate, and the like).
Illustrative ionic liquids useful as electrolyte materials in electrochemical cell gas sensors in the practice of the present invention include, without limitation, salts with imidazolium or pyridinium cations. The cations that may be usefully employed in a given application of the invention include cations with alkyl and/or aryl substituents, optionally wherein the alkyl and/or aryl substituents are themselves further substituted, e.g., with halo, loweralkyl (C1-C4), hydroxyl, amine, etc.), such cations being capable of forming salts when reacted with corresponding anions.
Illustrative anions for such purpose include, without limitation, halides (chlorides, iodides, bromides, fluorides), nitrates, nitrites, tetrafluoroborates, hexafluorophosphates, trifluoromethanesulfonates and other polyfluoroalkanesulfonates, e.g., nonaflate, bis(trifluoromethylsulfonyl)imides, methylsulfates, acetates, fluoroacetates and other anions of fluoroalkanoic acid.
In one embodiment, the ionic liquid electrolyte comprises at least one salt selected from the group consisting of salts with the general formula C+A where C+ represents a quaternary ammonium and/or phosphonium salts and A″ represents any known anion that can form ionic liquids in the meaning described in the present invention. Non-limiting examples include methyl-octyl-imidazolium-chloride and butyl-methyl-imidazolium-bis-trifluoromethane-sulfonimide.
The low vapour pressure ionic liquids in gas sensor electrochemical cells of the present invention may include compounds as described above, in single salt electrolyte compositions, as well as use of same and similar compounds in mixtures together with varying amounts of aluminum halides, preferably aluminum chloride, or other salts that increase the conductivity of the electrolytic medium, or otherwise enhance the gas detection sensitivity of the gas sensor electrochemical cell.
The electrochemical cell gas sensor of the invention may be constructed and arranged in any appropriate manner to carry out the sensing of the target gas species in a gaseous environment containing or susceptible to the presence of same. The fabrication and manufacture of electrochemical cell gas sensors is more fully described in Advances in Electrochemistry and Electrochemical Engineering, Volume 10, John Wiley & Sons, 1976, and the electrochemical cell gas sensor assembly in accordance with the invention may include a chemically selective filter for the electrochemical gas sensing cell, to remove interferent gas components that would otherwise interfere with or preclude measurement of the target gas species in the gas environment being monitored by the gas sensor assembly.
For example, the electrochemical cell gas sensor may be constructed and arranged to electrochemically reduce the gas species to be monitored, so that the monitoring operation involves chemical reduction of the target gas species. Alternatively, the electrochemical cell gas sensor may operate by electrochemically oxidizing the target gas species sought to be detected. As a still further alternative, the electrochemical cell gas sensor may operate by indirect oxidation or reduction reaction of a compound that is produced in the gas sensor device, involving the target gas to be detected in the gas environment being monitored for the presence of the target gas species.
The electrochemical cell gas sensor may be configured to utilize a gas sensor cell containing three electrodes—the working electrode, the reference electrode and the counter electrode, although gas sensor cells having 2-electrode and 4-electrode structures may alternatively be employed. The electrodes are mounted within a housing containing the ionic liquid electrolyte, with the electrodes being coupled in circuit-forming relationship with contacts and electrical wires forming the electronic circuitry of the sensor.
The superiority of the ionic liquid electrolyte medium in the electrochemical gas sensor of the present invention has been demonstrated by relative weight loss tests in which propylene carbonate, a widely used electrolyte of prior art electrochemical gas sensors, and ionic liquids of the present invention (e.g. methyl-octyl-imidazolium-chloride, butyl-methyl-imidazolium-bis-trifluoromethane-sulfonimide) were evaluated at 80° C. After only 5 days at such temperature of 80° C., propylene carbonate, having a boiling point of 240° C., was totally evaporated, while the ionic liquids of the present invention were of unchanged mass within the accuracy of the measurement apparatus. These results evidence an unexpected advantage and superiority of the ionic liquids of the present invention over electrolyte characteristic of prior art electrochemical cell gas sensors.
In general, useful electrolytes for electrochemical cells must have an electrical conductivity of at least 10−5 ohm−1 cm−1. The electrical conductivity of the ionic salts of the present invention are typically on the order of 0.01 ohm−1 cm−1, three orders of magnitude above such electrolytic threshold, providing unexpectedly superior performance of electrochemical cell gas sensors utilizing same. In general, ionic liquids which are preferred for use as electrolyte in the practice of the present invention have an electrical conductivity of at least 10−3 ohm−1 cm−1 and such ionic liquids most preferably include those having an electrical conductivity of at least 10−2 ohm−1 cm−1.
The invention therefore provides an electrochemical cell gas sensor including a gas sensor cell in which an ‘ionic liquid’ is employed as an electrolyte, e.g., a salt having a melting point below 100° C. and preferably a liquid at room temperature. In contrast to prior art liquids used as electrolyte media, the ionic liquid systems of the invention are characterized by negligible vapour pressure of the electrolyte, and an extremely high electrolytic character since the ionic liquids are constituted by ions.
In another aspect, the invention provides electrochemical fuel cells using ionic liquids as solvent/electrolyte media.
Fuel cells are electrochemical cells consisting of two electrodes connected with an ion-conducting electrolyte. The electrodes usually have a porous structure and are designed to allow very close contact between a gas (the fuel), the electrolyte and the catalyst powder that catalyses the chemical reactions. Oxidation and reduction are separated so that they occur at different electrodes, and the electric circuit is closed by ion transport from one electrode through the electrolyte to the other electrode.
The fuel cells of the present invention in one aspect thereof may be fabricated with cathode and anode elements in an assembly in which the ionic liquid electrolyte medium is disposed between the respective electrodes, in an electrolyte/electrode assembly, with the respective cathode and anode elements have backing layers on their outer surfaces providing pathways for gas access to the respective electrode. On the outer surfaces of the respective backing layers are provided current collector plates including a cathode current collector plate on the cathode-backing layer, and an anode current collector plate on the anode-backing layer. The current collectors are in turn coupled with circuitry including load or output device(s) that utilize the electrical output of the fuel cell.
In contrast to conventional fuel cells that utilize electrolytes that highly restrict the operating range of temperature of the fuel cell (e.g., phosphoric acid fuel cells (PAFCs), using phosphoric acid as electrolyte and operated at about 200° C.; molten carbonate fuel cells (MCFC), using molten carbonates as electrolyte and operated at 500 to 600° C.; solid polymer membrane fuel cells (SPMFC), using conducting polymers as electrolyte and operated below 80° C.; alkaline fuel cells (AFC), using concentrated alkalai brine and operated below 100° C.; and solid oxide fuel cells (SOFC) operated at temperatures close to 1000° C.), fuel cells utilizing ionic liquid electrolytes in accordance with the present invention can operate at substantially lower temperatures and over significantly wider temperature ranges in which the performance of the prior art fuel cells would be deficient or even non-existent.
The ionic liquids used as electrolyte media in fuel cells of the present invention may be of any suitable type, including the ionic liquid electrolytes described hereinabove in the preceding discussion of electrochemical cell gas sensors utilizing ionic liquid electrolytes in accordance with the present invention.
The features and advantages of the present invention are more fully appreciated with respect to the following embodiments, described in reference to the drawings.
FIG. 1 is a schematic representation of a process system 10 employing an electrochemical gas sensor according to the present invention, in an illustrative embodiment thereof.
The FIG. 1 process system 10 includes a supply 12 of a source gas. The supply 12 may include a process unit that generates the target gas (i.e., the gas component to be monitored by the electrochemical cell gas sensor) in mixture with other gas components, as a multicomponent gas mixture. Alternatively, the supply 12 of the source gas may be a gas environment that is subject to ingress or contamination by the target gas, e.g., as a toxic, or otherwise hazardous or undesirable gas species in the particular environment. The source gas, containing the target gas as a component thereof, flows from supply 12 in line 14 to the abatement processing unit 16 in which the source gas is treated to remove the target gas therefrom.
A target gas-depleted stream is discharged from the abatement-processing unit 16 in line 18, and may be passed to a further downstream process or final disposition, as required.
A side stream of the source gas from line 14 is flowed in line 20, under the action of motive fluid driver 22, through dust filter 23, interferent species filter 24 and gas sensor 26, being returned to line 14 downstream of gas sensor 26, as shown. The dust filter 23 removes particulates from the source gas, and the interferent species filter 24 removes gas components from the dust-depleted source gas that may interfere with the accurate sensing of the target gas by the electrochemical cell gas sensor. By this arrangement, an interferent-free gas composition, including the target gas species, is flowed from the interferent species filter 24 to the electrochemical cell gas sensor 26.
The electrochemical cell gas sensor 26 monitors the concentration of the target gas species in the side stream and generates a corresponding response signal correlative to the sensed concentration of the target gas species. The response signal is transmitted in signal transmission line 28 to central processing unit (CPU) 30, which in turn generates a corresponding control signal that is transmitted in control signal line 32 to the abatement-processing unit 16. The control signal in line 32 may be employed to modulate the gas processing operation in abatement processing unit 16 to abate the target gas species.
As an illustrative example, if phosgene were the target gas species in the source gas, and such target gas species is abated by chemical reaction thereof with a chemical reagent in the abatement processing unit 16, the amount of the chemical reagent may be modulated in response to the sensed concentration of the phosgene in the source gas, to effect substantially complete removal of the phosgene from the gas stream treated in abatement processing unit 16. In other abatement operations, the process conditions (e.g., temperatures, pressures, flow rates, retention time, etc.) in the abatement processing unit 16 may be modulated to effect the desired reduction in the concentration of the target gas species in the effluent stream being treated.
FIG. 2 is a schematic representation of an electrochemical cell gas sensor 50 according to one embodiment of the invention.
The electrochemical cell gas sensor 50 comprises a housing 52 formed of a suitable material of construction, e.g., metal, ceramic, polymer, etc. defining therewithin an interior volume. The interior volume of the housing includes an electrolyte compartment 53 containing an ionic liquid electrolyte in accordance with the invention, and an electrode assembly including a counter electrode 54, a reference electrode 58 and a working electrode 62. The counter and reference electrodes are separated by separator member 56, and the reference and working electrodes are separated by separator member 60.
Overlying the electrode assembly is an interferent species filter 64 for removing interferent species from the source gas flowed therethrough. A dust filter 66 is joined to the housing 52 at the upper end of the housing walls, as shown, being sealed to the top edges of the walls by bond 68. The bond 68 is formed of a suitable adhesive or sealant medium, and joins the dust filter 66 to the housing 52 in a leak-tight manner, so that source gas flowed through the filter enters the interferent species filter 64 and is prevented from bypassing the filtration and sensing elements in the housing interior volume.
It will be recognized that the electrochemical cell gas sensor 50 is schematically illustrated for ease of description, and does not show the electrical leads to the electrode elements in the housing or other ancillary structure, but based on such description, the electrochemical cell gas sensor 50 may be readily constructed by those skilled in the art, to effect gas sensing operation that is accurate and reproducible for monitoring of the target gas species in the source gas.
FIG. 3 is a simplified schematic representation of an electrochemical fuel cell 100 according to another embodiment of the invention.
The electrochemical fuel cell 100 as illustrated includes an ionic liquid electrolyte compartment 108 containing an ionic liquid electrolyte 102 in accordance with the present invention, and arranged so that the ionic liquid electrolyte in the electrolyte compartment 108 is in contact with anode 106 and cathode 104.
On the outer surface of the anode (the main surface opposite the surface in contact with the electrolyte) is disposed an anode backing layer 116. In like manner, the outer surface of the cathode 104 has disposed in contact therewith a cathode-backing layer 110.
Outwardly of the backing layers 116 and 110 is provided an anode current collector 118 in contact with the anode backing layer 116, and a cathode current collector 112 in contact with the cathode backing layer 110, as shown.
The backing layers 116 and 110 are formed of suitable material having pathways therein for gas access to the corresponding electrode with which the backing layer is in contact.
The anode current collector 118 is formed with fuel flow passages 120 therein, accommodating flow of fuel into the passages 120 in the direction indicated by arrow C, with the spent/unused fuel being discharged from such passages in the direction indicated by arrow D. The fuel may comprise hydrogen or any other fuel medium.
The cathode current collector 112 is correspondingly formed with oxidant flow passages 114 therein, into which oxidant is flowed in the direction indicated by arrow A in FIG. 3, and from which spent/unused oxidant is discharged in the direction indicated by arrow B. The oxidant may be of any suitable type, e.g., oxygen, air, oxygen-enriched air, ozone, etc.
The anode and cathode current collectors 118 and 112 in the FIG. 3 fuel cell are coupled with electrical circuitry, schematically represented in FIG. 3 by circuit wire 122, interconnecting the fuel cell with a load or output device 124 of desired type.
The fuel cell structure shown in FIG. 3 is highly simplified in character for purposes of illustration, and it will be appreciated that fuel cell apparatus in accordance with the present invention may be fabricated and arranged in a wide variety of conformations and embodiments. The fuel cell apparatus may include a fuel cell stack utilizing a plurality of fuel cell unit structures as shown in FIG. 3, joined together with bipolar current collector plates and end plates, as is known in the art for achieving economies of scale in use of fuel cell elements.
The features, aspects and advantages of the present invention are further shown with reference to the following non-limiting examples relating to the invention.
EXAMPLES Example 1
An electrochemical cell gas sensor, comprising a gas sensor such as schematically described above, allows for the measurement of hydrogen sulfide (H2S) concentrations in a gas mixture. The sensor comprises a measuring electrode made of silver (Ag), a reference electrode made of silver (Ag), and a counter electrode made of silver (Ag). Further, the sensor comprises an electrolyte consisting of an ionic liquid, namely ethyl-methyl-imidazolium-trifluorormethane-sulfonate. Concentrations of 20-ppm hydrogen sulfide give rise to a signal current of 0.01 mA. The response time is typically less than 30 s after initial exposure to the gas.
Example 2
An electrochemical cell gas sensor, comprising a gas sensor such as schematically described above, allows for the measurement chlorine (Cl2) concentrations in a gas mixture. The sensor comprises a measuring electrode made of gold (Au), a reference electrode made of platinum (Pt), and a counter electrode made of platinum (Pt). Further, the sensor comprises an electrolyte consisting of an ionic liquid, namely butyl-methyl-imidazolium-bis-trifluoromethane-sulfonimide. Concentrations of 1-ppm chlorine give rise to a signal current of 0.2 μA. The response time is typically 30 s after initial exposure to the gas.
Although the invention has been variously disclosed herein with reference to illustrative embodiments and features, it will be appreciated that the embodiments and features described hereinabove are not intended to limit the invention, and that other variations, modifications and other embodiments will suggest themselves to those of ordinary skill in the art. The invention therefore is to be broadly construed, consistent with the claims hereafter set forth.

Claims (15)

What is claimed is:
1. An electrochemical fuel cell comprising a substantially solvent-free, ionic liquid electrolyte contained within an electrolyte compartment, cathode and anode electrode elements in contact with the ionic liquid electrolyte, and fuel and oxidant passages, wherein the ionic liquid electrolyte is weight-stable after remaining 5 days at a temperature of 80° C. and wherein the substantially solvent-free, ionic liquid electrolyte is substantially free of additives.
2. The electrochemical fuel cell according to claim 1, wherein the ionic liquid electrolyte comprises at least one salt having a melting point less than about 100° C.
3. The electrochemical fuel cell according to claim 1, wherein the ionic liquid electrolyte comprises one salt.
4. The electrochemical fuel cell according to claim 1, wherein the ionic liquid electrolyte comprises a mixture of salts.
5. The electrochemical fuel cell according to claim 1, wherein the ionic liquid electrolyte has a negligible vapor pressure.
6. The electrochemical fuel cell according to claim 1, wherein the ionic liquid electrolyte comprises at least one salt with the general formula C+A wherein C+ comprises a cation selected from the group consisting of an imidazolium cation and a pyridinium cation and A comprises an anion selected from the group consisting of a halide, a nitrate, a nitrite, a tetrafluoroborate, a hexafluorophosphate, a polyfluoroalkanesulfonate, a bis(trifluoromethylsulfonyl)imide, a methylsulfate, an acetate, and an anion of fluoroalkanoic acid.
7. The electrochemical fuel cell according to claim 1, wherein the ionic liquid electrolyte is selected from the group consisting of methyl-octyl-imidazolium-chloride, and butyl-methyl-imidazolium-bis-trifluoromethane-sulfonimide.
8. The electrochemical fuel cell according to claim 1, wherein the cation includes alkyl and/or aryl substituents, or alkyl and/or aryl substituents further substituted with a substituent selected from the group consisting of a halo, a lower alkyl (C1-C4), a hydroxyl, and an amine.
9. The electrochemical fuel cell according to claim 1, wherein the ionic liquid electrolyte has an electrical conductivity of at least 10−3 ohm−1 cm−1.
10. The electrochemical fuel cell according to claim 1, wherein the ionic liquid electrolyte has an electrical conductivity of at least 10−2 ohm−1 cm−1.
11. The electrochemical fuel cell according to claim 1, wherein the ionic liquid electrolyte further comprises an aluminum halide.
12. An electrochemical fuel cell, comprising an ionic liquid electrolyte compartment comprising a substantially solvent-free, ionic liquid electrolyte, and an anode and cathode in contact with the ionic liquid electrolyte in the compartment, wherein the anode has an anode backing layer thereon providing passageways therein for gas access to the anode, wherein the cathode has a cathode backing layer thereon providing passageways therein for gas access to the cathode, an anode current collector in contact with the anode backing layer, a cathode current collector in contact with the cathode backing layer, and an electrical circuit-forming means coupled with the anode current collector and the anode current collector, to form therewith an electrical circuit enabling output of electrical energy from the electrochemical fuel cell, wherein the ionic liquid electrolyte is weight-stable after 5 days at a temperature of 80° C.
13. The electrochemical fuel cell of claim 12, wherein the anode current collector has fuel flow passages therein, for flow of fuel therethrough in operation of the electrochemical fuel cell assembly.
14. The electrochemical fuel cell of claim 13, wherein the cathode current collector has oxidant flow passages therein, for flow of oxidant therethrough in operation of the electrochemical fuel cell.
15. The electrochemical fuel cell of claim 12, wherein the electrochemical fuel cell assembly comprises a fuel cell stack assembly.
US11/451,538 2002-08-14 2006-06-12 Electrochemical cells, and gas sensor and fuel cell devices comprising same Active 2028-03-20 US9126893B2 (en)

Priority Applications (2)

Application Number Priority Date Filing Date Title
US11/451,538 US9126893B2 (en) 2002-08-14 2006-06-12 Electrochemical cells, and gas sensor and fuel cell devices comprising same
US13/103,421 US9126894B2 (en) 2002-08-14 2011-05-09 Electrochemical cells, and gas sensor and fuel cell devices comprising same

Applications Claiming Priority (2)

Application Number Priority Date Filing Date Title
US10/218,262 US7060169B2 (en) 2002-08-14 2002-08-14 Electrochemical cell for gas sensor
US11/451,538 US9126893B2 (en) 2002-08-14 2006-06-12 Electrochemical cells, and gas sensor and fuel cell devices comprising same

Related Parent Applications (1)

Application Number Title Priority Date Filing Date
US10/218,262 Division US7060169B2 (en) 2002-08-14 2002-08-14 Electrochemical cell for gas sensor

Related Child Applications (1)

Application Number Title Priority Date Filing Date
US13/103,421 Division US9126894B2 (en) 2002-08-14 2011-05-09 Electrochemical cells, and gas sensor and fuel cell devices comprising same

Publications (2)

Publication Number Publication Date
US20060234113A1 US20060234113A1 (en) 2006-10-19
US9126893B2 true US9126893B2 (en) 2015-09-08

Family

ID=31714513

Family Applications (3)

Application Number Title Priority Date Filing Date
US10/218,262 Expired - Lifetime US7060169B2 (en) 2002-08-14 2002-08-14 Electrochemical cell for gas sensor
US11/451,538 Active 2028-03-20 US9126893B2 (en) 2002-08-14 2006-06-12 Electrochemical cells, and gas sensor and fuel cell devices comprising same
US13/103,421 Expired - Lifetime US9126894B2 (en) 2002-08-14 2011-05-09 Electrochemical cells, and gas sensor and fuel cell devices comprising same

Family Applications Before (1)

Application Number Title Priority Date Filing Date
US10/218,262 Expired - Lifetime US7060169B2 (en) 2002-08-14 2002-08-14 Electrochemical cell for gas sensor

Family Applications After (1)

Application Number Title Priority Date Filing Date
US13/103,421 Expired - Lifetime US9126894B2 (en) 2002-08-14 2011-05-09 Electrochemical cells, and gas sensor and fuel cell devices comprising same

Country Status (5)

Country Link
US (3) US7060169B2 (en)
EP (2) EP2339336B2 (en)
AU (1) AU2003261391A1 (en)
TW (1) TWI283942B (en)
WO (1) WO2004017443A2 (en)

Cited By (1)

* Cited by examiner, † Cited by third party
Publication number Priority date Publication date Assignee Title
US12092604B2 (en) 2021-01-26 2024-09-17 Applied Nanotools Inc. Systems and related methods for analyzing a gas

Families Citing this family (48)

* Cited by examiner, † Cited by third party
Publication number Priority date Publication date Assignee Title
US7060169B2 (en) * 2002-08-14 2006-06-13 Mst Technology Gmbh Electrochemical cell for gas sensor
DE10245337B4 (en) 2002-09-27 2018-12-20 Robert Bosch Gmbh Electrochemical sensor with ionic liquids as electrolyte
US7867658B2 (en) 2003-05-01 2011-01-11 Arizona Board Of Regents For And On Behalf Of Arizona State University Ionic liquids and ionic liquid acids with high temperature stability for fuel cell and other high temperature applications, method of making and cell employing same
US7217354B2 (en) * 2003-08-29 2007-05-15 Ut-Battelle, Llc Method and apparatus for detection of chemical vapors
US7316768B2 (en) * 2004-04-29 2008-01-08 Advanced Micro Instruments, Inc. Gas sensor and method of manufacture
DE102004037312B4 (en) * 2004-07-31 2015-02-05 Dräger Safety AG & Co. KGaA Electrochemical gas sensor and method for its production
JP4140911B2 (en) * 2005-03-04 2008-08-27 フィガロ技研株式会社 Liquid electrochemical gas sensor
DE102005020719B3 (en) * 2005-05-04 2006-09-14 Drägerwerk AG Electrochemical sensor, e.g. for gas detection, has several working electrodes with an active surface greater than the electrode geometrical surface and with an electrolytic layer that does not cover the electrode surface entirely
US20060278536A1 (en) * 2005-06-10 2006-12-14 The Regents Of The University Of California Sensor comprising supported aprotic ionic liquid
JP4892875B2 (en) * 2005-06-15 2012-03-07 日産自動車株式会社 Fuel cell control device and fuel cell system
US20070112294A1 (en) * 2005-09-14 2007-05-17 Transcutaneous Technologies Inc. Iontophoresis device
US20070196423A1 (en) * 2005-11-21 2007-08-23 Med Institute, Inc. Implantable medical device coatings with biodegradable elastomer and releasable therapeutic agent
US7833645B2 (en) * 2005-11-21 2010-11-16 Relion, Inc. Proton exchange membrane fuel cell and method of forming a fuel cell
RU2409584C2 (en) 2005-12-02 2011-01-20 Канто Денка Когио Ко., Лтд. Ionic liquid containing phosphonium cation with p-n bond, and method of producing said liquid
WO2008134066A1 (en) * 2007-04-30 2008-11-06 Ut-Battelee, Llc Device and method for detecting sulfur dioxide at high temperatures
US8026020B2 (en) 2007-05-08 2011-09-27 Relion, Inc. Proton exchange membrane fuel cell stack and fuel cell stack module
CN101059475B (en) * 2007-05-29 2010-05-19 上海师范大学 An Ampere Type Humidity Sensing Device
US9293778B2 (en) 2007-06-11 2016-03-22 Emergent Power Inc. Proton exchange membrane fuel cell
US8003274B2 (en) * 2007-10-25 2011-08-23 Relion, Inc. Direct liquid fuel cell
EP2081018A1 (en) * 2008-01-18 2009-07-22 F.Hoffmann-La Roche Ag Gas sensor with microporous electrolyte layer
JP5432276B2 (en) * 2008-12-01 2014-03-05 エムエスアー アオアー ゲーエムベーハー Electrochemical gas sensor with ionic liquid electrolyte
DE102008044240B4 (en) 2008-12-01 2013-12-05 Msa Auer Gmbh Electrochemical gas sensor with an ionic liquid as the electrolyte, which contains at least one mono-, di- or trialkylammonium cation
DE102008044238A1 (en) 2008-12-01 2010-06-10 Msa Auer Gmbh Electrochemical gas sensor used for detecting or measuring chlorine, fluorine, bromine, oxygen or chlorine dioxide, comprises ionic liquid as electrolyte, where ionic liquid comprises organic, organometallic and/or inorganic additives
DE102009009357B4 (en) * 2009-02-18 2011-03-03 Fraunhofer-Gesellschaft zur Förderung der angewandten Forschung e.V. Redox flow battery for storing electrical energy in ionic liquids
GB2468360A (en) * 2009-03-06 2010-09-08 Life Safety Distribution Ag Ionic liquid electrolyte
EP2226627A1 (en) 2009-03-06 2010-09-08 Life Safety Distribution AG Liquid electrolyte composition and its use in gas sensors
GB201009136D0 (en) * 2010-06-01 2010-07-14 Isis Innovation Electrochemical method
EP2453228A1 (en) 2010-11-10 2012-05-16 F. Hoffmann-La Roche AG Oxygen sensor with microporous electrolyte coating and partially open covering membrane
EP2506001B1 (en) * 2011-03-28 2013-11-20 Stichting IMEC Nederland Electrochemical Ethylene Sensor and Method for Monitoring Ethylene
WO2013052041A1 (en) * 2011-10-05 2013-04-11 Utc Fire & Security Corporation Gas sensor
US9395323B2 (en) 2011-10-25 2016-07-19 Msa Europe Gmbh Electrochemical gas sensor with an ionic liquid as electrolyte for the detection of ammonia and amines
US8840775B2 (en) 2011-12-16 2014-09-23 Utc Fire & Security Corporation Regenerative gas sensor
US20130213032A1 (en) * 2012-02-21 2013-08-22 Baker Hughes Incorporated Fluid pressure actuator
US9559374B2 (en) 2012-07-27 2017-01-31 Lockheed Martin Advanced Energy Storage, Llc Electrochemical energy storage systems and methods featuring large negative half-cell potentials
GB2507042B (en) 2012-10-16 2018-07-11 Schlumberger Holdings Electrochemical hydrogen sensor
DE102013007872B4 (en) 2013-05-08 2015-01-22 Fraunhofer-Gesellschaft zur Förderung der angewandten Forschung e.V. Electrochemical gas sensor, process for its production and its use
US9835581B2 (en) * 2013-09-26 2017-12-05 Honeywell International, Inc. Gas sensor using an ionic liquid electrolyte
JP6842821B2 (en) * 2015-04-02 2021-03-17 株式会社トーキン Solid electrolytic capacitors
KR101763382B1 (en) * 2015-08-27 2017-08-02 한국에너지기술연구원 Working electrode of cell for felt electrode characterization and cell for felt electrode characterization using the same
US10693165B1 (en) 2015-09-18 2020-06-23 University Of Hawai'i Environmental sensor array for fuel cell air filtration systems
EP3400432A1 (en) * 2016-01-08 2018-11-14 Honeywell International Inc. Mems electrochemical gas sensor
DE102016212664A1 (en) * 2016-07-12 2018-01-18 Msa Europe Gmbh Electrochemical method for determining the sensitivity of a gas sensor by pulse sequences
CN106250632B (en) * 2016-08-03 2019-05-24 西安交通大学 Structure optimization method of three-electrode ionization type carbon nanotube gas sensor
US12145099B2 (en) 2019-01-25 2024-11-19 Eurica Californiaa Membrane-based processing for ambient water-group species captured on the moon and in space
CN114324539B (en) * 2020-10-10 2024-09-13 中石化南京化工研究院有限公司 Composite electrolyte for gas sensor and preparation method thereof
CN113030221B (en) * 2021-04-14 2023-03-10 武汉理工大学 Hydrogen sensor and application thereof
EP4155723A1 (en) 2021-09-23 2023-03-29 Dräger Safety AG & Co. KGaA Electrochemical gas sensor and electrolyte for an electrochemical gas sensor
US20250060330A1 (en) * 2023-08-16 2025-02-20 Enmet, Llc Efficacy-Monitored Sensing System and Method

Citations (18)

* Cited by examiner, † Cited by third party
Publication number Priority date Publication date Assignee Title
US4377446A (en) 1981-04-30 1983-03-22 National Research Development Corporation Carbon dioxide measurement
US4525266A (en) 1983-10-13 1985-06-25 Allied Corporation Electrochemical gas sensor
US4554383A (en) 1984-09-20 1985-11-19 Texaco Inc. Process for producing p-tolualdehyde from toluene using an aluminum halide alkyl pyridinium halide `melt` catalyst
US4587003A (en) 1983-05-19 1986-05-06 City Technology Limited Gas sensor
US5171649A (en) 1991-01-31 1992-12-15 The United States Of America As Represented By The Secretary Of The Air Force Cell with active metal electrode and molten salt electrolyte
EP0531745A2 (en) 1991-08-28 1993-03-17 Honeywell Ag Electrochemical sensor
US5208112A (en) * 1991-11-08 1993-05-04 Hughes Aircraft Company Thermally regenerated fuel cell
US5338429A (en) * 1993-03-05 1994-08-16 Mine Safety Appliances Company Electrochemical toxic gas sensor
US5683832A (en) * 1994-12-21 1997-11-04 Asulab S.A. Hydrophobic liquid salts, the preparation thereof and their appliction in electrochemistry
DE19622930A1 (en) 1996-06-07 1997-12-11 Draegerwerk Ag Electrochemical cell
US5846670A (en) * 1992-02-21 1998-12-08 Tanaka Kikinzoku Kogyo K.K. Gas diffusion electrode for electrochemical cell and process of preparing same
US5855809A (en) * 1995-11-13 1999-01-05 Arizona Board Of Regents Electrochemically stable electrolytes
US5965054A (en) * 1997-08-12 1999-10-12 Covalent Associates, Inc. Nonaqueous electrolyte for electrical storage devices
WO2000015594A1 (en) 1998-09-10 2000-03-23 Exxon Chemical Patents Inc. Process for making aromatic aldehydes using ionic liquids
WO2000016902A1 (en) 1998-09-24 2000-03-30 Bp Chemicals Limited Ionic liquids
US6667128B2 (en) 2000-06-01 2003-12-23 Idatech, Llc Fuel cells and fuel cell systems containing non-aqueous electrolytes
DE10245337A1 (en) 2002-09-27 2004-04-08 Robert Bosch Gmbh Electrochemical sensor useful for detecting gases in the air has an ionic liquid electrolyte which is a salt of an organic base
US7060169B2 (en) 2002-08-14 2006-06-13 Mst Technology Gmbh Electrochemical cell for gas sensor

Family Cites Families (3)

* Cited by examiner, † Cited by third party
Publication number Priority date Publication date Assignee Title
US5164053A (en) * 1990-04-23 1992-11-17 Teledyne Industries, Inc. Electrochemical gas sensor and method of using same
US5339429A (en) * 1991-05-08 1994-08-16 Hitachi, Ltd. Parallel processing system and compiling method used therefor
DE19726453C2 (en) 1997-06-21 2000-08-10 Draegerwerk Ag Electrochemical oxygen sensor

Patent Citations (19)

* Cited by examiner, † Cited by third party
Publication number Priority date Publication date Assignee Title
US4377446A (en) 1981-04-30 1983-03-22 National Research Development Corporation Carbon dioxide measurement
US4587003A (en) 1983-05-19 1986-05-06 City Technology Limited Gas sensor
US4525266A (en) 1983-10-13 1985-06-25 Allied Corporation Electrochemical gas sensor
US4554383A (en) 1984-09-20 1985-11-19 Texaco Inc. Process for producing p-tolualdehyde from toluene using an aluminum halide alkyl pyridinium halide `melt` catalyst
US5171649A (en) 1991-01-31 1992-12-15 The United States Of America As Represented By The Secretary Of The Air Force Cell with active metal electrode and molten salt electrolyte
EP0531745A2 (en) 1991-08-28 1993-03-17 Honeywell Ag Electrochemical sensor
US5208112A (en) * 1991-11-08 1993-05-04 Hughes Aircraft Company Thermally regenerated fuel cell
US5846670A (en) * 1992-02-21 1998-12-08 Tanaka Kikinzoku Kogyo K.K. Gas diffusion electrode for electrochemical cell and process of preparing same
US5338429A (en) * 1993-03-05 1994-08-16 Mine Safety Appliances Company Electrochemical toxic gas sensor
US5683832A (en) * 1994-12-21 1997-11-04 Asulab S.A. Hydrophobic liquid salts, the preparation thereof and their appliction in electrochemistry
US5855809A (en) * 1995-11-13 1999-01-05 Arizona Board Of Regents Electrochemically stable electrolytes
DE19622930A1 (en) 1996-06-07 1997-12-11 Draegerwerk Ag Electrochemical cell
US5865973A (en) 1996-06-07 1999-02-02 Dragerwerk Aktiengesellschaft Electrochemical measuring cell
US5965054A (en) * 1997-08-12 1999-10-12 Covalent Associates, Inc. Nonaqueous electrolyte for electrical storage devices
WO2000015594A1 (en) 1998-09-10 2000-03-23 Exxon Chemical Patents Inc. Process for making aromatic aldehydes using ionic liquids
WO2000016902A1 (en) 1998-09-24 2000-03-30 Bp Chemicals Limited Ionic liquids
US6667128B2 (en) 2000-06-01 2003-12-23 Idatech, Llc Fuel cells and fuel cell systems containing non-aqueous electrolytes
US7060169B2 (en) 2002-08-14 2006-06-13 Mst Technology Gmbh Electrochemical cell for gas sensor
DE10245337A1 (en) 2002-09-27 2004-04-08 Robert Bosch Gmbh Electrochemical sensor useful for detecting gases in the air has an ionic liquid electrolyte which is a salt of an organic base

Non-Patent Citations (15)

* Cited by examiner, † Cited by third party
Title
Advances in Electrochemistry and Electrochemical Engineering, vol. 10, John Wiley & Sons, 1976.
Alnashef, Inas M., et al., Electrochemical Generation of Superoxide in Room-Temperature Ionic Liquids, Electrochem. Solid-State Lett., Nov. 2001, pp. D16-D18, vol. 4, No. 11.
Cai Qi, Xian Yue-zhong, Li Hui, Zhang Yang-ming, Tang Jie, Jin Li-tong (Center of Chemistry of Ionic Liquids, East China Normal University, Shanghai 200062, China), Study on Sulfer Dioxide Electrochemical Sensor Using an Ionic Liquid, Journal of East China Normal University (Natural Science) No. 3, Sep. 2001, pp. 1-7, Article No. 1000-5641 (2001) 03-0057-04. (English Abstract).
Cai, Qi, et al., Studies on a sulfur dioxide electrochemical sensor with ionic liquid as electrolyte, Huadong Shifan Xuebao, Ziran Kexueban, 2001, pp. 57-60, vol. 3.
Carter, Michael T., et al., Electrochemical reduction of dioxygen in room-temperature imidazolium chloride-aluminum chloride molten salts, Inorg. Chem., Mar. 6, 1991, pp. 1149-1151, vol. 30, No. 5.
English translation of abstract of DE 10245337 (A1).
English translation of abstract of DE 19622930 (A1).
English translation of abstract of EP 0531745 (A2).
European Patent Office's Jul. 23, 2013 Office Action corresponding to Application No. 11 155 949.8.
Extended European Search Report corresponding to European Application No. 11 15 5949 dated Aug. 30, 2011.
Knake R et al., "Amperometric sensing in the gas-phase", Analytica Chimica Acta, Elsevier, Amsterdam, NL, vol. 549, No. 1-2, Sep. 6, 2005, pp. 1-9.
Seddon, K.R., Ionic liquids for clean technology: An update, Molten Salt Forum, 1998, pp. 53-62, vol. 5-6.
Seddon, K.R., Room-Temperature Ionic Liquids: Neoteric Solvents for Clean Catalysis, 1996, pp. 693-697, vol. 37, No. 5.
Wang, Rong, et al. A Novel Amperometric O2 Gas Sensor Based on Supported Room-Temperature Ionic Liquid Porous Polyethylene Membrane-Coated , Electroanalysis, Jan. 2004, pp. 66-72, vol. 16, No. 1-2.
Wang, Rong, et al., O2 Gas Sensor Using Supported Hydrophobic Room-temperature Ionic Liquid Membrane-coated electrode, Chem. Lett., Jan. 2004, pp. 6-7, vol. 33, No. 1.

Cited By (1)

* Cited by examiner, † Cited by third party
Publication number Priority date Publication date Assignee Title
US12092604B2 (en) 2021-01-26 2024-09-17 Applied Nanotools Inc. Systems and related methods for analyzing a gas

Also Published As

Publication number Publication date
EP2339336B2 (en) 2020-06-10
EP1563287A2 (en) 2005-08-17
EP1563287B2 (en) 2019-10-30
US20060234113A1 (en) 2006-10-19
AU2003261391A1 (en) 2004-03-03
US7060169B2 (en) 2006-06-13
WO2004017443A3 (en) 2005-06-23
AU2003261391A8 (en) 2004-03-03
EP1563287A4 (en) 2008-12-17
US9126894B2 (en) 2015-09-08
TWI283942B (en) 2007-07-11
US20110209997A1 (en) 2011-09-01
TW200404380A (en) 2004-03-16
US20040033414A1 (en) 2004-02-19
WO2004017443A2 (en) 2004-02-26
EP2339336A3 (en) 2011-09-28
EP2339336B1 (en) 2017-05-03
EP2339336A2 (en) 2011-06-29
EP1563287B1 (en) 2017-05-03

Similar Documents

Publication Publication Date Title
US9126893B2 (en) Electrochemical cells, and gas sensor and fuel cell devices comprising same
RU2502067C2 (en) Electrochemically gas sensors with ion liquid electrolytic systems
US8840775B2 (en) Regenerative gas sensor
EP3234572B1 (en) Gas sensor with solid electrolyte having water vapor diffusion barrier coating
US20210088470A1 (en) Liquid electrolyte for an electrochemical gas sensor
EP3486644B1 (en) Electrochemical cell comprising thin planar secondary wick
US5624546A (en) Method and apparatus for the detection of toxic gases
WO1993021522A1 (en) Polymeric film-based electrochemical sensor apparatus
CN1350640A (en) Electrochemical toxic component sensor
GB2468360A (en) Ionic liquid electrolyte
GB2518722A (en) Solid polymer electrolyte ammonia sensor
EP1332358B1 (en) Acid gas measuring sensors and method of making same
EP2226627A1 (en) Liquid electrolyte composition and its use in gas sensors
US4692220A (en) Electrochemical determination of formaldehyde
JP4594487B2 (en) Constant potential electrolytic gas sensor
JP3824526B2 (en) Electrochemical carbon dioxide sensor
JP3824525B2 (en) Electrochemical nitrogen oxide sensor
JP4205725B2 (en) Gas sensor
JP2003075394A (en) Detector for oxidizing-gas
JP2004333163A (en) Electrochemical gas sensor
Nagashima et al. Electrochemical gas sensor using PEO electrolyte
Nagashima et al. A galvanic gas sensor using poly (ethylene oxide) complex of silver trifluoromethane sulphonate electrolyte
US12270800B2 (en) Electrochemical gas sensor

Legal Events

Date Code Title Description
AS Assignment

Owner name: HONEYWELL INTERNATIONAL INC., NEW JERSEY

Free format text: ASSIGNMENT OF ASSIGNORS INTEREST;ASSIGNOR:MST TECHNOLOGY GMBH;REEL/FRAME:026069/0738

Effective date: 20110331

STCF Information on status: patent grant

Free format text: PATENTED CASE

AS Assignment

Owner name: ADVANCED TECHNOLOGY MATERIALS, INC., CONNECTICUT

Free format text: ASSIGNMENT OF ASSIGNORS INTEREST;ASSIGNOR:ROHRL, ANDREAS;REEL/FRAME:036723/0457

Effective date: 20020813

AS Assignment

Owner name: MST TECHNOLOGY GMBH, GERMANY

Free format text: ASSIGNMENT OF ASSIGNORS INTEREST;ASSIGNOR:ADVANCED TECHNOLOGY MATERIALS, INC.;REEL/FRAME:036771/0009

Effective date: 20050309

MAFP Maintenance fee payment

Free format text: PAYMENT OF MAINTENANCE FEE, 4TH YEAR, LARGE ENTITY (ORIGINAL EVENT CODE: M1551); ENTITY STATUS OF PATENT OWNER: LARGE ENTITY

Year of fee payment: 4

MAFP Maintenance fee payment

Free format text: PAYMENT OF MAINTENANCE FEE, 8TH YEAR, LARGE ENTITY (ORIGINAL EVENT CODE: M1552); ENTITY STATUS OF PATENT OWNER: LARGE ENTITY

Year of fee payment: 8