US8087642B2 - Gas injection valve with two positions of closure - Google Patents

Gas injection valve with two positions of closure Download PDF

Info

Publication number
US8087642B2
US8087642B2 US12/160,810 US16081007A US8087642B2 US 8087642 B2 US8087642 B2 US 8087642B2 US 16081007 A US16081007 A US 16081007A US 8087642 B2 US8087642 B2 US 8087642B2
Authority
US
United States
Prior art keywords
seat
seal
shaft
elastomeric seal
passage
Prior art date
Legal status (The legal status is an assumption and is not a legal conclusion. Google has not performed a legal analysis and makes no representation as to the accuracy of the status listed.)
Active, expires
Application number
US12/160,810
Other versions
US20100038573A1 (en
Inventor
Sandra Lucas
Current Assignee (The listed assignees may be inaccurate. Google has not performed a legal analysis and makes no representation or warranty as to the accuracy of the list.)
Schrader SA
Original Assignee
Schrader SA
Priority date (The priority date is an assumption and is not a legal conclusion. Google has not performed a legal analysis and makes no representation as to the accuracy of the date listed.)
Filing date
Publication date
Application filed by Schrader SA filed Critical Schrader SA
Assigned to SCHRADER SAS reassignment SCHRADER SAS ASSIGNMENT OF ASSIGNORS INTEREST (SEE DOCUMENT FOR DETAILS). Assignors: LUCAS, SANDRA
Publication of US20100038573A1 publication Critical patent/US20100038573A1/en
Application granted granted Critical
Publication of US8087642B2 publication Critical patent/US8087642B2/en
Active legal-status Critical Current
Adjusted expiration legal-status Critical

Links

Images

Classifications

    • FMECHANICAL ENGINEERING; LIGHTING; HEATING; WEAPONS; BLASTING
    • F16ENGINEERING ELEMENTS AND UNITS; GENERAL MEASURES FOR PRODUCING AND MAINTAINING EFFECTIVE FUNCTIONING OF MACHINES OR INSTALLATIONS; THERMAL INSULATION IN GENERAL
    • F16KVALVES; TAPS; COCKS; ACTUATING-FLOATS; DEVICES FOR VENTING OR AERATING
    • F16K1/00Lift valves or globe valves, i.e. cut-off apparatus with closure members having at least a component of their opening and closing motion perpendicular to the closing faces
    • F16K1/32Details
    • F16K1/34Cutting-off parts, e.g. valve members, seats
    • F16K1/44Details of seats or valve members of double-seat valves
    • F16K1/443Details of seats or valve members of double-seat valves the seats being in series
    • FMECHANICAL ENGINEERING; LIGHTING; HEATING; WEAPONS; BLASTING
    • F16ENGINEERING ELEMENTS AND UNITS; GENERAL MEASURES FOR PRODUCING AND MAINTAINING EFFECTIVE FUNCTIONING OF MACHINES OR INSTALLATIONS; THERMAL INSULATION IN GENERAL
    • F16KVALVES; TAPS; COCKS; ACTUATING-FLOATS; DEVICES FOR VENTING OR AERATING
    • F16K1/00Lift valves or globe valves, i.e. cut-off apparatus with closure members having at least a component of their opening and closing motion perpendicular to the closing faces
    • F16K1/30Lift valves or globe valves, i.e. cut-off apparatus with closure members having at least a component of their opening and closing motion perpendicular to the closing faces specially adapted for pressure containers
    • F16K1/301Lift valves or globe valves, i.e. cut-off apparatus with closure members having at least a component of their opening and closing motion perpendicular to the closing faces specially adapted for pressure containers only shut-off valves, i.e. valves without additional means
    • F16K1/303Lift valves or globe valves, i.e. cut-off apparatus with closure members having at least a component of their opening and closing motion perpendicular to the closing faces specially adapted for pressure containers only shut-off valves, i.e. valves without additional means with a valve member, e.g. stem or shaft, passing through the seat
    • FMECHANICAL ENGINEERING; LIGHTING; HEATING; WEAPONS; BLASTING
    • F16ENGINEERING ELEMENTS AND UNITS; GENERAL MEASURES FOR PRODUCING AND MAINTAINING EFFECTIVE FUNCTIONING OF MACHINES OR INSTALLATIONS; THERMAL INSULATION IN GENERAL
    • F16KVALVES; TAPS; COCKS; ACTUATING-FLOATS; DEVICES FOR VENTING OR AERATING
    • F16K1/00Lift valves or globe valves, i.e. cut-off apparatus with closure members having at least a component of their opening and closing motion perpendicular to the closing faces
    • F16K1/32Details
    • F16K1/34Cutting-off parts, e.g. valve members, seats
    • F16K1/46Attachment of sealing rings
    • F16K1/465Attachment of sealing rings to the valve seats

Definitions

  • the invention relates to a charge valve for gas, in particular for carbon dioxide, comprising more particularly a seat drilled with a passage, a shaft movable inside the passage against the compression of a return spring bearing against the seat and an elastomeric seal compressed between the seat and the shaft to close the passage when the shaft is moved into a first closed position, called low-pressure position.
  • Such a charge valve is known from document U.S. Pat. No. 6,637,726 relating to an air conditioning system using carbon dioxide CO 2 .
  • the elastomeric seal In the low-pressure closed position, that is for gas pressures up to 60 bar, the elastomeric seal is sufficient to tightly close the passage.
  • the force on the shaft increases with an increase in the gas pressure, which may be up to 200 bar. This causes a progressive decrease in the sealing of the closure of the passage, the elastomeric seal becoming increasingly permeable, particularly at high temperatures, for example up to 180 degrees Celsius (° C.).
  • the invention relates to a charge valve for gas, in particular for carbon dioxide, comprising a seat drilled with a passage, a shaft movable inside the passage against the compression of a return spring bearing against the seat and an elastomeric seal compressed between the seat and the shaft to close the passage when the shaft is moved into a first closed position, called low-pressure position, characterized in that a thermoplastic seal comprising a polymer that is deformable but has a hardness higher than that of the elastomeric seal, is added onto the seat or onto the shaft to close the passage when the thermoplastic seal is compressed between the seat and the shaft in a second closed position, called high-pressure position, against an additional compression of the elastomeric seal.
  • thermoplastic seal Under the effect of an increase in the gas pressure applied to the shaft, the thermoplastic seal is progressively compressed between the metal seat and metal shaft. This causes deformation of the thermoplastic seal which provides a leak-free contact both with the seat and with the shaft. This arrangement guarantees a leak-free closure of the passage in the high-pressure closed position. Since the deformation of the thermoplastic seal is lower than the deformation of the elastomeric seal, the former advantageously serves to limit the additional compression of the latter, thereby avoiding a detrimental crushing.
  • thermoplastic seal is a polyetheretherketone seal to advantageously preserve good mechanical strength in a temperature range up to 250° C.
  • the elastomeric seal When the elastomeric seal is in contact with a gas medium formed of very small molecules, such as those of carbon dioxide, the latter will migrate into the material of the elastomeric seal and cause it to swell. This swelling incurs a risk of movement of the elastomeric seal out of its recess between the seat and the shaft, or a risk of tearing if it is mounted too tightly in its recess. The swelling of the elastomeric seal may even incur a risk of dislodging the thermoplastic seal added onto the seat or onto the shaft. This could result in deterioration of the sealing, both at the elastomeric seal and at the thermoplastic seal.
  • a gas medium formed of very small molecules such as those of carbon dioxide
  • thermoplastic seal added onto the seat or onto the shaft is provided with projecting retaining means for retaining the elastomeric seal compressed between the seat and the shaft while arranging an interstice between the thermoplastic seal and the elastomeric seal, enabling the latter to swell in the presence of the gas.
  • the elastomeric seal is securely held when compressed between the seat and the shaft, the projection of these means creating a free volume or interstice between the elastomeric seal and the thermoplastic seal which can advantageously be exploited during the swelling of the elastomeric seal in the presence of gas, in particular of carbon dioxide.
  • FIGS. 1 a and 1 b show a section of a gas charge valve according to a first embodiment of the invention, in the low-pressure and high-pressure closed positions respectively, and in which the elastomeric seal is joined to the seat.
  • FIGS. 2 a and 2 b show a section of a gas charge valve according to a second embodiment of the invention, in the low-pressure and high-pressure closed positions respectively, and in which the elastomeric seal is joined to the seat and held by projecting retaining means formed on the thermoplastic seal and on the seat.
  • FIG. 2 c is an enlargement of FIG. 2 b.
  • FIGS. 3 a and 3 b show a section of a gas charge valve according to a third embodiment of the invention, in the low-pressure and high-pressure closed positions respectively, and in which the elastomeric seal is joined to the shaft and held by projecting retaining means formed on the thermoplastic seal and on the shaft.
  • FIG. 3 c is an enlargement of FIG. 3 b.
  • FIG. 4 a shows a section of a gas charge valve according to a fourth embodiment of the invention in a high-pressure closed position and in which the thermoplastic seal is provided with a lip.
  • FIG. 4 b is an enlargement of FIG. 4 a.
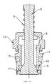
  • a gas charge valve comprises a seat 1 drilled with a passage 3 , and a shaft 5 movable inside the passage 3 against the compression of a return spring 7 bearing against the seat 1 .
  • the shaft 5 is moved from an open position to a first closed position, called low-pressure position, of the passage 3 , where an elastomeric seal 9 is separated respectively from the shaft in order to release its passage, or compressed in leak-free contact between the shaft 5 and the seat 1 to obstruct said passage.
  • the mechanism is intended to be mounted in a valve body, not shown in the figures, being for example threaded thereon via a thread 13 formed on the seat 1 .
  • a second elastomeric seal 15 provides the sealing between the seat and the valve body. The compression of the second elastomeric seal 15 is determined by the clamping force of the thread 13 in the valve body.
  • the valve body is then mounted on the wall of a given system, for example a nozzle forming part of a carbon dioxide CO 2 air conditioning system.
  • the pressure obtaining in the nozzle filled with carbon dioxide is liable to vary from low to high pressure, typically from 0 to 160 bar, particularly under the effect of an increase in temperature.
  • thermoplastic seal 11 is added onto the seat 1 or onto the shaft 5 to close the passage 3 when the thermoplastic seal 11 is compressed between the seat 1 and the shaft 5 in a second closed position, called high-pressure position, against an additional compression of the elastomeric seal 9 .
  • thermoplastic seal 11 is joined to the seat 1 in a recess 12 .
  • thermoplastic seal 11 is added onto one of the ends of the shaft 5 having passed around a restriction 14 of the shaft 5 .
  • thermoplastic seal 11 is deformed under compression between the seat 1 and the shaft 3 to come into leak-free contact in the second closed position of the passage 3 , called high-pressure closed position.
  • the second closed position is reached when the shaft 5 is moved from the first closed position, called low-pressure position against the additional compression of the elastomeric seal 9 .
  • thermoplastic seal 11 The deformation of the thermoplastic seal 11 is more particularly illustrated in the enlarged FIGS. 2 c and 3 c .
  • Tests performed with a thermoplastic seal made from polyetheretherketone without glass fiber fillers show that the gas charge valve, for example with carbon dioxide, is leak-free with a leakage rate of less than one gram per year for a gas pressure up to 130 bar with a temperature of 130° C.
  • the ring forming the thermoplastic seal 11 is made from a metal alloy, for example the same alloy as that of the seat and of the shaft, the sealing of the gas charge valve thus obtained drops to a leakage rate of 5 grams per year, or even more.
  • the thermoplastic seal 11 of a gas charge valve according to the invention serves as a leak-free seal and not only as a simple mechanical stop limiting the additional compression of the elastomeric seal.
  • FIGS. 2 a and 2 c show a second embodiment of the present invention in which the elastomeric seal 9 is held by retaining means 10 a and 10 b .
  • these retaining means consist of a ring, in this case, an upper ring 10 a formed projectingly on one face 18 of the recess 12 of the seat 1 and a lower ring 10 b formed projectingly on one face 16 of the thermoplastic seal 11 .
  • This arrangement creates an interstice 8 a between the elastomeric seal 9 and the seat 1 which enables the elastomeric seal 9 to swell without applying to the thermoplastic seal 11 a pressure that is liable to decrease the sealing in the high-pressure closed position.
  • the seat 1 has a recess 12 forming a staged double shoulder 22 , 23 , having different diameters, in which the two seals 9 , 11 , which have different hardnesses, are separately lodged.
  • the elastomeric seal 9 is held by retaining rings 10 a and 10 b formed projecting respectively on one face 19 of the shaft 5 and on the face 16 of the thermoplastic seal 11 .
  • This arrangement creates an interstice 8 a between the elastomeric seal 9 and the shaft 5 and an interstice 8 b between the elastomeric seal 9 and the thermoplastic seal 11 .
  • These two interstices 8 a and 8 b enable the elastomeric seal 9 to swell without applying a pressure to the thermoplastic seal 11 that would be liable to decrease the sealing in the high-pressure closed position, or even to dislodge it from the shaft 5 .
  • Such a swelling of the elastomeric seal is caused by the migration of the carbon dioxide into the elastomeric seal and by the increase in temperature during the use of the gas charge valve.
  • the interstices 8 a and 8 b form a free volume or space not occupied by the elastomeric seal 9 when the latter is not yet compressed or inflated by the gas. Thanks to this space, a swelling of the elastomeric seal 9 in the cavity created by the interstices 8 a and 8 b is feasible during the operation of the valve with no risk of tearing the elastomeric seal or dislodging the thermoplastic seal 11 .
  • the retaining means 10 a and 10 b improve the securing of the elastomeric seal 9 between the seat 1 and the shaft 5 .
  • the elastomeric seal 9 is held locally by squeezing between the two retaining means 10 a and 10 b while preserving a free volume created by the interstices 8 a and 8 b for the swelling of the elastomeric seal 9 .
  • the configuration of the retaining means 10 in the cavity 8 serves to minimize the leakage rate of the valve.
  • FIGS. 4 a and 4 b show a fourth embodiment of the mechanism of a gas charge valve according to the present invention in the second closed position, called high-pressure position.
  • the elastomeric seal 9 undergoes an additional compression until the ring forming the thermoplastic seal 11 , joined to the shaft 5 , comes into leak-free contact against the seat 1 in the passage 3 .
  • the thermoplastic seal 11 has a lip 21 to further guarantee this leak-free contact with the seat 1 by deformation of the lip 21 , in particular with a frustoconical ring 17 of the passage 3 .
  • the lip 21 is deformed to further guarantee the leak-free contact against the shaft 5 .
  • the thermoplastic seal 11 preferably has a cylindrical shape.
  • the thermoplastic seal may also have a frustoconical shape to come into leak-free contact with a cylindrical ring of the seat 1 or of the shaft 5 .
  • the contact by deformation of the thermoplastic seal 11 against the seat 1 and the shaft 5 , in the passage 3 serves to preserve the sealing of the gas charge valve according to the invention, despite the higher gas pressure, by a movement of the shaft from the low-pressure closed position to the high-pressure closed position against the additional compression of the elastomeric seal 9 .
  • thermoplastic seal 11 on the one hand, the metal seat 1 and the metal shaft 5 on the other, make a “rigid” leak-free contact, unlike the low-pressure closed seal 9 , which provides “flexible” sealing.
  • the terms “rigid” and “flexible” mean here that the thermoplastic seal 11 is deformed less than the elastomeric seal 9 .
  • valve according to the invention is intended to withstand:
  • elastomers were first selected (seat seal 15 and flap seal 9 ) to be compatible with CO 2 and oils, and to withstand explosive decompression, and with the temperature ranges required. These elastomers have a high hardness to reach the desired leakage rate, lower than 1 g/year.
  • the seal 9 has been augmented with a deformable thermoplastic polymer 11 , which has the function of:
  • one or two rings are provided to enable the seal 9 to swell in contact with the fluid, but without disengaging the polymer seal 11 from the shaft+seal combination.
  • the additional volume of the seal 9 is positioned in the hollows of the rings 10 a , 10 b , thereby preserving a leakage rate lower than 1 g/year.
  • the ring or rings 10 a , 10 b allow proper maintenance of the elastomer during charging, when the pressure may reach 70 bar.
  • the charge valve is designed so that it can withstand these stresses.
  • the ring 11 which is deformed against the metal seat is a member of the thermoplastic polymer family and must preserve all its mechanical properties in the service temperature range, that is between ⁇ 40° C. and 150° C.
  • the mechanism according to the invention is simple in its design because it requires no mechanical servicing after the installation of the valve on the nozzle of the air conditioning system used.

Landscapes

  • Engineering & Computer Science (AREA)
  • General Engineering & Computer Science (AREA)
  • Mechanical Engineering (AREA)
  • Lift Valve (AREA)
  • Filling Or Discharging Of Gas Storage Vessels (AREA)
  • Check Valves (AREA)

Abstract

Charge valve for gas, in particular for carbon dioxide, comprising a seat, drilled with a passage, a shaft movable inside the passage against the compression of a return spring bearing against the seat and an elastomeric seal compressed between the seat and the shaft to close the passage when the shaft is moved into a first closed position, called low-pressure position, wherein a thermoplastic seal comprising a polymer that is deformable but has a hardness higher than that of the elastomeric seal, is added onto the seat or onto the shaft to close the passage when the thermoplastic seal is compressed between the seat and the shaft in a second closed position, called high-pressure position, against an additional compression of the elastomeric seal.

Description

BACKGROUND
(1) Field of the Invention
The invention relates to a charge valve for gas, in particular for carbon dioxide, comprising more particularly a seat drilled with a passage, a shaft movable inside the passage against the compression of a return spring bearing against the seat and an elastomeric seal compressed between the seat and the shaft to close the passage when the shaft is moved into a first closed position, called low-pressure position.
(2) Prior Art
Such a charge valve is known from document U.S. Pat. No. 6,637,726 relating to an air conditioning system using carbon dioxide CO2.
In the low-pressure closed position, that is for gas pressures up to 60 bar, the elastomeric seal is sufficient to tightly close the passage. However, the force on the shaft increases with an increase in the gas pressure, which may be up to 200 bar. This causes a progressive decrease in the sealing of the closure of the passage, the elastomeric seal becoming increasingly permeable, particularly at high temperatures, for example up to 180 degrees Celsius (° C.).
SUMMARY OF THE INVENTION
It is the object of the invention to modify a charge valve of the type described above to guarantee a leak-free closure of the passage, not only at low pressure but also at high pressure.
For this purpose, the invention relates to a charge valve for gas, in particular for carbon dioxide, comprising a seat drilled with a passage, a shaft movable inside the passage against the compression of a return spring bearing against the seat and an elastomeric seal compressed between the seat and the shaft to close the passage when the shaft is moved into a first closed position, called low-pressure position, characterized in that a thermoplastic seal comprising a polymer that is deformable but has a hardness higher than that of the elastomeric seal, is added onto the seat or onto the shaft to close the passage when the thermoplastic seal is compressed between the seat and the shaft in a second closed position, called high-pressure position, against an additional compression of the elastomeric seal.
Under the effect of an increase in the gas pressure applied to the shaft, the thermoplastic seal is progressively compressed between the metal seat and metal shaft. This causes deformation of the thermoplastic seal which provides a leak-free contact both with the seat and with the shaft. This arrangement guarantees a leak-free closure of the passage in the high-pressure closed position. Since the deformation of the thermoplastic seal is lower than the deformation of the elastomeric seal, the former advantageously serves to limit the additional compression of the latter, thereby avoiding a detrimental crushing.
Preferably, the thermoplastic seal is a polyetheretherketone seal to advantageously preserve good mechanical strength in a temperature range up to 250° C.
When the elastomeric seal is in contact with a gas medium formed of very small molecules, such as those of carbon dioxide, the latter will migrate into the material of the elastomeric seal and cause it to swell. This swelling incurs a risk of movement of the elastomeric seal out of its recess between the seat and the shaft, or a risk of tearing if it is mounted too tightly in its recess. The swelling of the elastomeric seal may even incur a risk of dislodging the thermoplastic seal added onto the seat or onto the shaft. This could result in deterioration of the sealing, both at the elastomeric seal and at the thermoplastic seal.
Another situation is liable to occur at the time of opening of the mechanism when the container is under pressure. In fact, the negative pressure that occurs when the mechanism is opened can also cause the elastomeric seal to move outside its reserved space.
To contend with these risks, the thermoplastic seal added onto the seat or onto the shaft is provided with projecting retaining means for retaining the elastomeric seal compressed between the seat and the shaft while arranging an interstice between the thermoplastic seal and the elastomeric seal, enabling the latter to swell in the presence of the gas.
Thanks to these retaining means, the elastomeric seal is securely held when compressed between the seat and the shaft, the projection of these means creating a free volume or interstice between the elastomeric seal and the thermoplastic seal which can advantageously be exploited during the swelling of the elastomeric seal in the presence of gas, in particular of carbon dioxide.
BRIEF DESCRIPTION OF THE DRAWINGS
Other advantages of the invention will appear from a reading of the description of four embodiments illustrated by the drawings.
FIGS. 1 a and 1 b show a section of a gas charge valve according to a first embodiment of the invention, in the low-pressure and high-pressure closed positions respectively, and in which the elastomeric seal is joined to the seat.
FIGS. 2 a and 2 b show a section of a gas charge valve according to a second embodiment of the invention, in the low-pressure and high-pressure closed positions respectively, and in which the elastomeric seal is joined to the seat and held by projecting retaining means formed on the thermoplastic seal and on the seat.
FIG. 2 c is an enlargement of FIG. 2 b.
FIGS. 3 a and 3 b show a section of a gas charge valve according to a third embodiment of the invention, in the low-pressure and high-pressure closed positions respectively, and in which the elastomeric seal is joined to the shaft and held by projecting retaining means formed on the thermoplastic seal and on the shaft.
FIG. 3 c is an enlargement of FIG. 3 b.
FIG. 4 a shows a section of a gas charge valve according to a fourth embodiment of the invention in a high-pressure closed position and in which the thermoplastic seal is provided with a lip.
FIG. 4 b is an enlargement of FIG. 4 a.
DETAILED DESCRIPTION OF THE PREFERRED EMBODIMENT(S)
With reference to FIGS. 1 a and 1, a gas charge valve comprises a seat 1 drilled with a passage 3, and a shaft 5 movable inside the passage 3 against the compression of a return spring 7 bearing against the seat 1. The shaft 5 is moved from an open position to a first closed position, called low-pressure position, of the passage 3, where an elastomeric seal 9 is separated respectively from the shaft in order to release its passage, or compressed in leak-free contact between the shaft 5 and the seat 1 to obstruct said passage.
The mechanism is intended to be mounted in a valve body, not shown in the figures, being for example threaded thereon via a thread 13 formed on the seat 1. A second elastomeric seal 15 provides the sealing between the seat and the valve body. The compression of the second elastomeric seal 15 is determined by the clamping force of the thread 13 in the valve body. The valve body is then mounted on the wall of a given system, for example a nozzle forming part of a carbon dioxide CO2 air conditioning system.
The pressure obtaining in the nozzle filled with carbon dioxide is liable to vary from low to high pressure, typically from 0 to 160 bar, particularly under the effect of an increase in temperature.
According to the invention, the thermoplastic seal 11 is added onto the seat 1 or onto the shaft 5 to close the passage 3 when the thermoplastic seal 11 is compressed between the seat 1 and the shaft 5 in a second closed position, called high-pressure position, against an additional compression of the elastomeric seal 9.
In FIGS. 1 a-1 b and 2 a-2 c, the thermoplastic seal 11 is joined to the seat 1 in a recess 12.
In FIGS. 3 a-3 c and 4 a-4 b, the thermoplastic seal 11 is added onto one of the ends of the shaft 5 having passed around a restriction 14 of the shaft 5.
The thermoplastic seal 11 is deformed under compression between the seat 1 and the shaft 3 to come into leak-free contact in the second closed position of the passage 3, called high-pressure closed position. The second closed position is reached when the shaft 5 is moved from the first closed position, called low-pressure position against the additional compression of the elastomeric seal 9.
The deformation of the thermoplastic seal 11 is more particularly illustrated in the enlarged FIGS. 2 c and 3 c. Tests performed with a thermoplastic seal made from polyetheretherketone without glass fiber fillers show that the gas charge valve, for example with carbon dioxide, is leak-free with a leakage rate of less than one gram per year for a gas pressure up to 130 bar with a temperature of 130° C. Under the same experimental conditions, if the ring forming the thermoplastic seal 11 is made from a metal alloy, for example the same alloy as that of the seat and of the shaft, the sealing of the gas charge valve thus obtained drops to a leakage rate of 5 grams per year, or even more. This demonstrates that the thermoplastic seal 11 of a gas charge valve according to the invention serves as a leak-free seal and not only as a simple mechanical stop limiting the additional compression of the elastomeric seal.
With reference to FIGS. 2 a and 2 c, they show a second embodiment of the present invention in which the elastomeric seal 9 is held by retaining means 10 a and 10 b. As shown more clearly in FIG. 2 c, which shows an enlarged detail of FIG. 2 b, these retaining means consist of a ring, in this case, an upper ring 10 a formed projectingly on one face 18 of the recess 12 of the seat 1 and a lower ring 10 b formed projectingly on one face 16 of the thermoplastic seal 11. This arrangement creates an interstice 8 a between the elastomeric seal 9 and the seat 1 which enables the elastomeric seal 9 to swell without applying to the thermoplastic seal 11 a pressure that is liable to decrease the sealing in the high-pressure closed position.
According to the two above-mentioned embodiments, corresponding to FIGS. 1 a-1 b and 2 a-2 b, the seat 1 has a recess 12 forming a staged double shoulder 22, 23, having different diameters, in which the two seals 9, 11, which have different hardnesses, are separately lodged.
According to the third embodiment shown in FIGS. 3 a to 3 c, the elastomeric seal 9 is held by retaining rings 10 a and 10 b formed projecting respectively on one face 19 of the shaft 5 and on the face 16 of the thermoplastic seal 11. This arrangement creates an interstice 8 a between the elastomeric seal 9 and the shaft 5 and an interstice 8 b between the elastomeric seal 9 and the thermoplastic seal 11. These two interstices 8 a and 8 b enable the elastomeric seal 9 to swell without applying a pressure to the thermoplastic seal 11 that would be liable to decrease the sealing in the high-pressure closed position, or even to dislodge it from the shaft 5. Such a swelling of the elastomeric seal is caused by the migration of the carbon dioxide into the elastomeric seal and by the increase in temperature during the use of the gas charge valve.
In other words, the interstices 8 a and 8 b form a free volume or space not occupied by the elastomeric seal 9 when the latter is not yet compressed or inflated by the gas. Thanks to this space, a swelling of the elastomeric seal 9 in the cavity created by the interstices 8 a and 8 b is feasible during the operation of the valve with no risk of tearing the elastomeric seal or dislodging the thermoplastic seal 11.
The retaining means 10 a and 10 b improve the securing of the elastomeric seal 9 between the seat 1 and the shaft 5. Advantageously, the elastomeric seal 9 is held locally by squeezing between the two retaining means 10 a and 10 b while preserving a free volume created by the interstices 8 a and 8 b for the swelling of the elastomeric seal 9. Further advantageously, the configuration of the retaining means 10 in the cavity 8 serves to minimize the leakage rate of the valve.
With reference to FIGS. 4 a and 4 b, they show a fourth embodiment of the mechanism of a gas charge valve according to the present invention in the second closed position, called high-pressure position. In this second position and as shown more clearly in the detail provided in FIG. 4 b, the elastomeric seal 9 undergoes an additional compression until the ring forming the thermoplastic seal 11, joined to the shaft 5, comes into leak-free contact against the seat 1 in the passage 3. For this purpose, the thermoplastic seal 11 has a lip 21 to further guarantee this leak-free contact with the seat 1 by deformation of the lip 21, in particular with a frustoconical ring 17 of the passage 3. In the case in which the thermoplastic seal 11 is joined to the seat 1, the lip 21 is deformed to further guarantee the leak-free contact against the shaft 5.
The thermoplastic seal 11 preferably has a cylindrical shape. However, the thermoplastic seal may also have a frustoconical shape to come into leak-free contact with a cylindrical ring of the seat 1 or of the shaft 5. In each of the embodiments of the invention, the contact by deformation of the thermoplastic seal 11 against the seat 1 and the shaft 5, in the passage 3, serves to preserve the sealing of the gas charge valve according to the invention, despite the higher gas pressure, by a movement of the shaft from the low-pressure closed position to the high-pressure closed position against the additional compression of the elastomeric seal 9. The thermoplastic seal 11 on the one hand, the metal seat 1 and the metal shaft 5 on the other, make a “rigid” leak-free contact, unlike the low-pressure closed seal 9, which provides “flexible” sealing. The terms “rigid” and “flexible” mean here that the thermoplastic seal 11 is deformed less than the elastomeric seal 9.
In short, the valve according to the invention is intended to withstand:
    • fluids such as CO2 (R744a) (refrigerant gas suitable for replacing the currently used R134a),
    • oils,
    • pressures up to 200 bar,
    • temperatures from −40° C. to +130° C. in continuous operation (150° C. in peaks of 5 minutes)
      while having a leakage rate lower than 1 g/year.
For this purpose, elastomers were first selected (seat seal 15 and flap seal 9) to be compatible with CO2 and oils, and to withstand explosive decompression, and with the temperature ranges required. These elastomers have a high hardness to reach the desired leakage rate, lower than 1 g/year.
As to the flexible flap seal 9 (inner elastomeric seal), the contact surface with the cone of the seat 1 has a size such as to perfectly match the conical shape of the seat. Furthermore, the surface finish of the two components in contact must be as smooth as possible (seat cone Ra<or=0.8). The same applies to the groove accommodating the seat seal (15) (Ra<or=0.8). All these features serve to decrease the leakage rate.
In order to reach the target leakage rate of 1 g/year, the seal 9 has been augmented with a deformable thermoplastic polymer 11, which has the function of:
    • obtaining with the elastomer 9 the high-pressure sealing (second sealing) thanks to the deformation of the polymer against the cone of the seat 1 (passage),
    • protecting the elastomer from direct attack by the fluid,
    • maintaining the elastomer 9 in position.
It is also important to take account of two factors:
    • the swelling of the seal 9 due to its permeability with regard to the size of the molecules of the fluid used,
    • proper maintenance of the seal during the charging phase.
In fact, if the seal 9 is mounted tightly against the metal shaft and the polymer seal 11, which is mounted on the shaft 5 by various means (screwed, force-fitted, bonded, crimped, etc.), the swelling of the seal 9 will have the effect of:
    • detaching the polymer seal 11 from the cone of the seat 1 (passage). If this happens, the leakage rate lower than 1 g/year is no longer guaranteed,
    • disengaging the polymer seal 11 from the shaft 5+seal 9 combination and thereby creating a leak and the dislodging of the polymer. In this case, the specification is no longer satisfied.
This is why, in order to deal with this problem, one or two rings are provided to enable the seal 9 to swell in contact with the fluid, but without disengaging the polymer seal 11 from the shaft+seal combination. Thus, the additional volume of the seal 9 is positioned in the hollows of the rings 10 a, 10 b, thereby preserving a leakage rate lower than 1 g/year.
Furthermore, the ring or rings 10 a, 10 b allow proper maintenance of the elastomer during charging, when the pressure may reach 70 bar.
Furthermore, in order to obtain a leakage rate lower than 1 g/year, it is imperative:
    • that there be no particles on the zones providing the seals,
    • to apply the clamping torque recommended between the mechanism and the valve body, so that the seat seal 15 is sufficiently compressed.
In view of the thermodynamic properties of CO2, which imply higher pressures and temperatures than those of R134a (refrigerant gas currently used), the charge valve is designed so that it can withstand these stresses.
In fact, the materials used, and especially the combinations of materials, have been carefully selected in order to obtain a good seal throughout the operating cycle, which implies pressure and temperature stresses.
The ring 11 which is deformed against the metal seat is a member of the thermoplastic polymer family and must preserve all its mechanical properties in the service temperature range, that is between −40° C. and 150° C.
The mechanism according to the invention is simple in its design because it requires no mechanical servicing after the installation of the valve on the nozzle of the air conditioning system used.

Claims (5)

1. Charge valve for gas comprising a seat drilled with a passage, a shaft movable inside the passage against the compression of a return spring bearing against the seat, a first elastomeric seal compressed between the seat and the shaft to close the passage when the shaft is moved into a first closed position, called low-pressure position, a second thermoplastic seal that has a hardness higher than that of the first elastomeric seal, compressed between the seat and the shaft to close the passage when the first thermoplastic seal is still compressed between the seat and the shaft and corresponding to a second closed position, called a high-pressure position, wherein the seat has a recess forming a staged double shoulder, having different diameters, in which the first and second seals, having different hardnesses, are separately lodged.
2. Gas charge valve according to claim 1, wherein the thermoplastic seal is provided with projecting retaining means for retaining the elastomeric seal compressed between the seat and the shaft while arranging an interstice between the thermoplastic seal and the elastomeric seal, enabling the elastomeric seal to swell in the presence of the gas.
3. Gas charge valve according to claim 2, wherein the seat is provided with said projecting retaining means for retaining the elastomeric seal compressed between the seat and the shaft while arranging an interstice between the elastomeric seal and one of the seat and the shaft.
4. Gas charge valve according to claim 1, wherein the retaining means consists of a ring.
5. Gas charge valve according to claim 1, wherein the thermoplastic seal is made from polyetheretherketone.
US12/160,810 2006-01-17 2007-01-11 Gas injection valve with two positions of closure Active 2028-07-04 US8087642B2 (en)

Applications Claiming Priority (4)

Application Number Priority Date Filing Date Title
FR0600410A FR2896293B1 (en) 2006-01-17 2006-01-17 MECHANISM FOR OPENING OR CLOSING A VALVE HAVING TWO CLOSURE POSITIONS
FR0600410 2006-01-17
FR06/00410 2006-01-17
PCT/EP2007/000379 WO2007082729A1 (en) 2006-01-17 2007-01-17 Gas injection valve with two positions of closure

Publications (2)

Publication Number Publication Date
US20100038573A1 US20100038573A1 (en) 2010-02-18
US8087642B2 true US8087642B2 (en) 2012-01-03

Family

ID=37054652

Family Applications (1)

Application Number Title Priority Date Filing Date
US12/160,810 Active 2028-07-04 US8087642B2 (en) 2006-01-17 2007-01-11 Gas injection valve with two positions of closure

Country Status (6)

Country Link
US (1) US8087642B2 (en)
EP (1) EP1974160A1 (en)
JP (1) JP2009523975A (en)
CN (1) CN101371066A (en)
FR (1) FR2896293B1 (en)
WO (1) WO2007082729A1 (en)

Cited By (7)

* Cited by examiner, † Cited by third party
Publication number Priority date Publication date Assignee Title
US20160274601A1 (en) * 2013-10-30 2016-09-22 Aisan Kogyo Kabushiki Kaisha Pressure reducing valve
US20170159864A1 (en) * 2015-12-03 2017-06-08 Engineered Controls International, Llc Leak resistant and serviceable receptacle
WO2018001542A1 (en) 2016-07-01 2018-01-04 Daimler Ag Tank valve
US10080332B1 (en) * 2016-07-29 2018-09-25 Mjnn, Llc Self-sealing dripper apparatus
US20180274690A1 (en) * 2016-01-22 2018-09-27 Pacific Industrial Co., Ltd. Valve core
US10876636B2 (en) 2015-12-03 2020-12-29 Engineered Controls International, Llc Leak resistant and serviceable receptacle
EP4502453A1 (en) * 2023-08-04 2025-02-05 OMB Saleri S.p.A. - Societa' Benefit Multifunction valve with electromagnetically operated shut-off valve for high-pressure hydrogen

Families Citing this family (12)

* Cited by examiner, † Cited by third party
Publication number Priority date Publication date Assignee Title
FR2970537A1 (en) * 2011-01-17 2012-07-20 Air Liquide Selective sealing device for e.g. pressure-reducing valveless tap of pressurized gas bottle to seal hydrogen passage, has body part with active portions that co-operate with distinct valve portions to realize distinct sealing zones
US8794254B2 (en) * 2012-01-05 2014-08-05 GM Global Technology Operations LLC Passive closing device for thermal self-protection of high pressure gas vessels
EP2843272A1 (en) * 2013-08-26 2015-03-04 MANN+HUMMEL GmbH Control valve
US9797244B2 (en) * 2013-12-09 2017-10-24 Baker Hughes Incorporated Apparatus and method for obtaining formation fluid samples utilizing a flow control device in a sample tank
EP2902678A1 (en) * 2014-01-29 2015-08-05 Siemens Aktiengesellschaft Valve for a subsea pressure canister
CN106667421B (en) * 2015-11-10 2019-11-01 深圳开立生物医疗科技股份有限公司 A kind of fluid channel valve, fluid channel switching valve and endoscope
JP6976417B2 (en) * 2018-03-29 2021-12-08 太平洋工業株式会社 Valve core
CN109519699A (en) * 2018-11-26 2019-03-26 安徽莎沃斯服饰有限公司 A kind of steam air accumulator
CN114593244A (en) * 2019-03-26 2022-06-07 太平洋工业株式会社 valve
CN212899792U (en) * 2020-05-12 2021-04-06 浙江盾安禾田金属有限公司 Filling valve and air conditioning system with same
GB2617337B (en) * 2022-04-04 2024-10-23 Weir Minerals Netherlands Bv Valve
CN114812022A (en) * 2022-04-21 2022-07-29 应雪汽车科技(常熟)有限公司 An air conditioner charging valve with carbon dioxide as refrigerant

Citations (17)

* Cited by examiner, † Cited by third party
Publication number Priority date Publication date Assignee Title
US2307546A (en) 1940-07-24 1943-01-05 Oil Well Supply Co Valve and valve seat
US2485092A (en) 1944-05-20 1949-10-18 Fluid Control Engineering Co Valve construction
US2490511A (en) 1944-10-27 1949-12-06 Weatherhead Co Valve seal
DE1121419B (en) 1957-05-31 1962-01-04 Dresser Ind Automatic valve for pumps
US3057372A (en) 1960-09-09 1962-10-09 Gardner Denver Co Mud pump valve
US3085783A (en) 1958-09-16 1963-04-16 Damic Controls Ltd Valves
FR1351077A (en) 1963-03-11 1964-01-31 Double closing valve, to intercept liquids, more particularly for central heating installations
US3272218A (en) 1963-02-12 1966-09-13 F C Kingston Co Pressure actuated valve
US4518329A (en) 1984-03-30 1985-05-21 Weaver Joe T Wear resistant pump valve
US4781213A (en) 1987-11-16 1988-11-01 Kilayko Enrique L Ball check valve
US6050295A (en) 1998-06-04 2000-04-18 Fastest, Inc. High flow valved fitting
US6237631B1 (en) * 1999-08-19 2001-05-29 Parker-Hannifin Corporation Low spill quick disconnect coupling
US20030116740A1 (en) 2001-12-26 2003-06-26 Schroeder Fred G. Charge valve in a high pressure air conditioning system
US6637726B1 (en) 2002-08-07 2003-10-28 Pacific Industrial Co., Ltd. Valve core
US6719003B2 (en) * 2001-12-26 2004-04-13 Visteon Global Technologies, Inc. Charge valve for an air conditioning system
US6776360B2 (en) 2001-06-26 2004-08-17 Spraying Systems Co. Spray gun with improved needle shut-off valve sealing arrangement
US20050126638A1 (en) 2003-12-12 2005-06-16 Halliburton Energy Services, Inc. Check valve sealing arrangement

Patent Citations (18)

* Cited by examiner, † Cited by third party
Publication number Priority date Publication date Assignee Title
US2307546A (en) 1940-07-24 1943-01-05 Oil Well Supply Co Valve and valve seat
US2485092A (en) 1944-05-20 1949-10-18 Fluid Control Engineering Co Valve construction
US2490511A (en) 1944-10-27 1949-12-06 Weatherhead Co Valve seal
DE1121419B (en) 1957-05-31 1962-01-04 Dresser Ind Automatic valve for pumps
US3085783A (en) 1958-09-16 1963-04-16 Damic Controls Ltd Valves
US3057372A (en) 1960-09-09 1962-10-09 Gardner Denver Co Mud pump valve
US3272218A (en) 1963-02-12 1966-09-13 F C Kingston Co Pressure actuated valve
FR1351077A (en) 1963-03-11 1964-01-31 Double closing valve, to intercept liquids, more particularly for central heating installations
US4518329A (en) 1984-03-30 1985-05-21 Weaver Joe T Wear resistant pump valve
US4781213A (en) 1987-11-16 1988-11-01 Kilayko Enrique L Ball check valve
US6050295A (en) 1998-06-04 2000-04-18 Fastest, Inc. High flow valved fitting
US6237631B1 (en) * 1999-08-19 2001-05-29 Parker-Hannifin Corporation Low spill quick disconnect coupling
US6776360B2 (en) 2001-06-26 2004-08-17 Spraying Systems Co. Spray gun with improved needle shut-off valve sealing arrangement
US20030116740A1 (en) 2001-12-26 2003-06-26 Schroeder Fred G. Charge valve in a high pressure air conditioning system
US6659426B2 (en) * 2001-12-26 2003-12-09 Visteon Global Technologies, Inc. Charge valve in a high pressure air conditioning system
US6719003B2 (en) * 2001-12-26 2004-04-13 Visteon Global Technologies, Inc. Charge valve for an air conditioning system
US6637726B1 (en) 2002-08-07 2003-10-28 Pacific Industrial Co., Ltd. Valve core
US20050126638A1 (en) 2003-12-12 2005-06-16 Halliburton Energy Services, Inc. Check valve sealing arrangement

Non-Patent Citations (1)

* Cited by examiner, † Cited by third party
Title
ISR in priority document PCT/EP2007/000379.

Cited By (12)

* Cited by examiner, † Cited by third party
Publication number Priority date Publication date Assignee Title
US20160274601A1 (en) * 2013-10-30 2016-09-22 Aisan Kogyo Kabushiki Kaisha Pressure reducing valve
US9983599B2 (en) * 2013-10-30 2018-05-29 Aisan Kogyo Kabushiki Kaisha Pressure reducing valve
US20170159864A1 (en) * 2015-12-03 2017-06-08 Engineered Controls International, Llc Leak resistant and serviceable receptacle
US10184569B2 (en) * 2015-12-03 2019-01-22 Engineering Controls International, LLC Leak resistant and serviceable receptacle
US10876636B2 (en) 2015-12-03 2020-12-29 Engineered Controls International, Llc Leak resistant and serviceable receptacle
US11353118B2 (en) 2015-12-03 2022-06-07 Engineered Controls International, Llc Leak resistant and serviceable receptacle
US20180274690A1 (en) * 2016-01-22 2018-09-27 Pacific Industrial Co., Ltd. Valve core
US10428968B2 (en) * 2016-01-22 2019-10-01 Pacific Industrial Co., Ltd. Valve core
WO2018001542A1 (en) 2016-07-01 2018-01-04 Daimler Ag Tank valve
DE102016008058A1 (en) 2016-07-01 2018-01-04 Daimler Ag tank valve
US10080332B1 (en) * 2016-07-29 2018-09-25 Mjnn, Llc Self-sealing dripper apparatus
EP4502453A1 (en) * 2023-08-04 2025-02-05 OMB Saleri S.p.A. - Societa' Benefit Multifunction valve with electromagnetically operated shut-off valve for high-pressure hydrogen

Also Published As

Publication number Publication date
FR2896293A1 (en) 2007-07-20
EP1974160A1 (en) 2008-10-01
CN101371066A (en) 2009-02-18
WO2007082729A1 (en) 2007-07-26
JP2009523975A (en) 2009-06-25
FR2896293B1 (en) 2010-08-13
US20100038573A1 (en) 2010-02-18

Similar Documents

Publication Publication Date Title
US8087642B2 (en) Gas injection valve with two positions of closure
US9140410B2 (en) Isolating valve
EP3569921B1 (en) Poppet type pneumatic valve for inflation system
CN101910697A (en) Control valve trim and seal
RU2606714C2 (en) Valve with leak-tight stem sealing
KR20090057312A (en) Valves for vessels of ultra high purity gas
CN117432813A (en) Spring type multi-stage throttling emptying valve
GB2298023A (en) Adjustable ball valve
JP7093974B2 (en) valve
KR100581658B1 (en) Device capable of signalling the inflating condition in the tires
CN105841410B (en) A kind of electric expansion valve
CN112178211A (en) Ultralow-temperature electromagnetic pneumatic stop valve
CN115560085A (en) Disc and valves using it
US11219918B2 (en) Device and method for dispensing a flowable medium
CN207178721U (en) Butterfly valve with sealing compensation function
US10359119B2 (en) High pressure valve
CN102927301B (en) Two-way shut-off valve
CN102434679A (en) A two-way stop valve and its assembly method
US11248711B2 (en) Shut-off device comprising a sealing device
KR20180000059A (en) Solenoid actuator for controlling extra-high tension fluid
US5887853A (en) Minimal wear dispensing valve
JP7369421B2 (en) valve
WO2021220963A1 (en) Valve
EP1798458A1 (en) Diaphragm valve for compressed or liquefied gases
CN115325302B (en) Sealing structure and pipeline piece connecting device with same

Legal Events

Date Code Title Description
AS Assignment

Owner name: SCHRADER SAS,FRANCE

Free format text: ASSIGNMENT OF ASSIGNORS INTEREST;ASSIGNOR:LUCAS, SANDRA;REEL/FRAME:021232/0200

Effective date: 20080619

Owner name: SCHRADER SAS, FRANCE

Free format text: ASSIGNMENT OF ASSIGNORS INTEREST;ASSIGNOR:LUCAS, SANDRA;REEL/FRAME:021232/0200

Effective date: 20080619

STCF Information on status: patent grant

Free format text: PATENTED CASE

FPAY Fee payment

Year of fee payment: 4

MAFP Maintenance fee payment

Free format text: PAYMENT OF MAINTENANCE FEE, 8TH YEAR, LARGE ENTITY (ORIGINAL EVENT CODE: M1552); ENTITY STATUS OF PATENT OWNER: LARGE ENTITY

Year of fee payment: 8

MAFP Maintenance fee payment

Free format text: PAYMENT OF MAINTENANCE FEE, 12TH YEAR, LARGE ENTITY (ORIGINAL EVENT CODE: M1553); ENTITY STATUS OF PATENT OWNER: LARGE ENTITY

Year of fee payment: 12