US8070800B2 - Transcatheter heart valve prostheses - Google Patents

Transcatheter heart valve prostheses Download PDF

Info

Publication number
US8070800B2
US8070800B2 US12/299,746 US29974607A US8070800B2 US 8070800 B2 US8070800 B2 US 8070800B2 US 29974607 A US29974607 A US 29974607A US 8070800 B2 US8070800 B2 US 8070800B2
Authority
US
United States
Prior art keywords
docking station
heart valve
diaphragm
valve
valve prosthesis
Prior art date
Legal status (The legal status is an assumption and is not a legal conclusion. Google has not performed a legal analysis and makes no representation as to the accuracy of the status listed.)
Expired - Fee Related, expires
Application number
US12/299,746
Other versions
US20090222082A1 (en
Inventor
James E. Lock
Doff B. McElhinney
Current Assignee (The listed assignees may be inaccurate. Google has not performed a legal analysis and makes no representation or warranty as to the accuracy of the list.)
Boston Childrens Hospital
Original Assignee
Boston Childrens Hospital
Priority date (The priority date is an assumption and is not a legal conclusion. Google has not performed a legal analysis and makes no representation as to the accuracy of the date listed.)
Filing date
Publication date
Application filed by Boston Childrens Hospital filed Critical Boston Childrens Hospital
Priority to US12/299,746 priority Critical patent/US8070800B2/en
Assigned to CHILDREN'S MEDICAL CENTER CORPORATION reassignment CHILDREN'S MEDICAL CENTER CORPORATION ASSIGNMENT OF ASSIGNORS INTEREST (SEE DOCUMENT FOR DETAILS). Assignors: LOCK, JAMES E., MCELHINNEY, DOFF B.
Publication of US20090222082A1 publication Critical patent/US20090222082A1/en
Application granted granted Critical
Publication of US8070800B2 publication Critical patent/US8070800B2/en
Expired - Fee Related legal-status Critical Current
Adjusted expiration legal-status Critical

Links

Images

Classifications

    • AHUMAN NECESSITIES
    • A61MEDICAL OR VETERINARY SCIENCE; HYGIENE
    • A61FFILTERS IMPLANTABLE INTO BLOOD VESSELS; PROSTHESES; DEVICES PROVIDING PATENCY TO, OR PREVENTING COLLAPSING OF, TUBULAR STRUCTURES OF THE BODY, e.g. STENTS; ORTHOPAEDIC, NURSING OR CONTRACEPTIVE DEVICES; FOMENTATION; TREATMENT OR PROTECTION OF EYES OR EARS; BANDAGES, DRESSINGS OR ABSORBENT PADS; FIRST-AID KITS
    • A61F2/00Filters implantable into blood vessels; Prostheses, i.e. artificial substitutes or replacements for parts of the body; Appliances for connecting them with the body; Devices providing patency to, or preventing collapsing of, tubular structures of the body, e.g. stents
    • A61F2/02Prostheses implantable into the body
    • A61F2/24Heart valves ; Vascular valves, e.g. venous valves; Heart implants, e.g. passive devices for improving the function of the native valve or the heart muscle; Transmyocardial revascularisation [TMR] devices; Valves implantable in the body
    • A61F2/2409Support rings therefor, e.g. for connecting valves to tissue
    • AHUMAN NECESSITIES
    • A61MEDICAL OR VETERINARY SCIENCE; HYGIENE
    • A61FFILTERS IMPLANTABLE INTO BLOOD VESSELS; PROSTHESES; DEVICES PROVIDING PATENCY TO, OR PREVENTING COLLAPSING OF, TUBULAR STRUCTURES OF THE BODY, e.g. STENTS; ORTHOPAEDIC, NURSING OR CONTRACEPTIVE DEVICES; FOMENTATION; TREATMENT OR PROTECTION OF EYES OR EARS; BANDAGES, DRESSINGS OR ABSORBENT PADS; FIRST-AID KITS
    • A61F2/00Filters implantable into blood vessels; Prostheses, i.e. artificial substitutes or replacements for parts of the body; Appliances for connecting them with the body; Devices providing patency to, or preventing collapsing of, tubular structures of the body, e.g. stents
    • A61F2/02Prostheses implantable into the body
    • A61F2/24Heart valves ; Vascular valves, e.g. venous valves; Heart implants, e.g. passive devices for improving the function of the native valve or the heart muscle; Transmyocardial revascularisation [TMR] devices; Valves implantable in the body
    • A61F2/2412Heart valves ; Vascular valves, e.g. venous valves; Heart implants, e.g. passive devices for improving the function of the native valve or the heart muscle; Transmyocardial revascularisation [TMR] devices; Valves implantable in the body with soft flexible valve members, e.g. tissue valves shaped like natural valves
    • AHUMAN NECESSITIES
    • A61MEDICAL OR VETERINARY SCIENCE; HYGIENE
    • A61FFILTERS IMPLANTABLE INTO BLOOD VESSELS; PROSTHESES; DEVICES PROVIDING PATENCY TO, OR PREVENTING COLLAPSING OF, TUBULAR STRUCTURES OF THE BODY, e.g. STENTS; ORTHOPAEDIC, NURSING OR CONTRACEPTIVE DEVICES; FOMENTATION; TREATMENT OR PROTECTION OF EYES OR EARS; BANDAGES, DRESSINGS OR ABSORBENT PADS; FIRST-AID KITS
    • A61F2/00Filters implantable into blood vessels; Prostheses, i.e. artificial substitutes or replacements for parts of the body; Appliances for connecting them with the body; Devices providing patency to, or preventing collapsing of, tubular structures of the body, e.g. stents
    • A61F2/02Prostheses implantable into the body
    • A61F2/24Heart valves ; Vascular valves, e.g. venous valves; Heart implants, e.g. passive devices for improving the function of the native valve or the heart muscle; Transmyocardial revascularisation [TMR] devices; Valves implantable in the body
    • A61F2/2412Heart valves ; Vascular valves, e.g. venous valves; Heart implants, e.g. passive devices for improving the function of the native valve or the heart muscle; Transmyocardial revascularisation [TMR] devices; Valves implantable in the body with soft flexible valve members, e.g. tissue valves shaped like natural valves
    • A61F2/2418Scaffolds therefor, e.g. support stents
    • AHUMAN NECESSITIES
    • A61MEDICAL OR VETERINARY SCIENCE; HYGIENE
    • A61FFILTERS IMPLANTABLE INTO BLOOD VESSELS; PROSTHESES; DEVICES PROVIDING PATENCY TO, OR PREVENTING COLLAPSING OF, TUBULAR STRUCTURES OF THE BODY, e.g. STENTS; ORTHOPAEDIC, NURSING OR CONTRACEPTIVE DEVICES; FOMENTATION; TREATMENT OR PROTECTION OF EYES OR EARS; BANDAGES, DRESSINGS OR ABSORBENT PADS; FIRST-AID KITS
    • A61F2220/00Fixations or connections for prostheses classified in groups A61F2/00 - A61F2/26 or A61F2/82 or A61F9/00 or A61F11/00 or subgroups thereof
    • A61F2220/0025Connections or couplings between prosthetic parts, e.g. between modular parts; Connecting elements
    • A61F2220/005Connections or couplings between prosthetic parts, e.g. between modular parts; Connecting elements using adhesives
    • AHUMAN NECESSITIES
    • A61MEDICAL OR VETERINARY SCIENCE; HYGIENE
    • A61FFILTERS IMPLANTABLE INTO BLOOD VESSELS; PROSTHESES; DEVICES PROVIDING PATENCY TO, OR PREVENTING COLLAPSING OF, TUBULAR STRUCTURES OF THE BODY, e.g. STENTS; ORTHOPAEDIC, NURSING OR CONTRACEPTIVE DEVICES; FOMENTATION; TREATMENT OR PROTECTION OF EYES OR EARS; BANDAGES, DRESSINGS OR ABSORBENT PADS; FIRST-AID KITS
    • A61F2220/00Fixations or connections for prostheses classified in groups A61F2/00 - A61F2/26 or A61F2/82 or A61F9/00 or A61F11/00 or subgroups thereof
    • A61F2220/0025Connections or couplings between prosthetic parts, e.g. between modular parts; Connecting elements
    • A61F2220/0058Connections or couplings between prosthetic parts, e.g. between modular parts; Connecting elements soldered or brazed or welded
    • AHUMAN NECESSITIES
    • A61MEDICAL OR VETERINARY SCIENCE; HYGIENE
    • A61FFILTERS IMPLANTABLE INTO BLOOD VESSELS; PROSTHESES; DEVICES PROVIDING PATENCY TO, OR PREVENTING COLLAPSING OF, TUBULAR STRUCTURES OF THE BODY, e.g. STENTS; ORTHOPAEDIC, NURSING OR CONTRACEPTIVE DEVICES; FOMENTATION; TREATMENT OR PROTECTION OF EYES OR EARS; BANDAGES, DRESSINGS OR ABSORBENT PADS; FIRST-AID KITS
    • A61F2230/00Geometry of prostheses classified in groups A61F2/00 - A61F2/26 or A61F2/82 or A61F9/00 or A61F11/00 or subgroups thereof
    • A61F2230/0002Two-dimensional shapes, e.g. cross-sections
    • A61F2230/0028Shapes in the form of latin or greek characters
    • A61F2230/0054V-shaped
    • AHUMAN NECESSITIES
    • A61MEDICAL OR VETERINARY SCIENCE; HYGIENE
    • A61FFILTERS IMPLANTABLE INTO BLOOD VESSELS; PROSTHESES; DEVICES PROVIDING PATENCY TO, OR PREVENTING COLLAPSING OF, TUBULAR STRUCTURES OF THE BODY, e.g. STENTS; ORTHOPAEDIC, NURSING OR CONTRACEPTIVE DEVICES; FOMENTATION; TREATMENT OR PROTECTION OF EYES OR EARS; BANDAGES, DRESSINGS OR ABSORBENT PADS; FIRST-AID KITS
    • A61F2230/00Geometry of prostheses classified in groups A61F2/00 - A61F2/26 or A61F2/82 or A61F9/00 or A61F11/00 or subgroups thereof
    • A61F2230/0063Three-dimensional shapes
    • A61F2230/0073Quadric-shaped
    • A61F2230/0076Quadric-shaped ellipsoidal or ovoid
    • AHUMAN NECESSITIES
    • A61MEDICAL OR VETERINARY SCIENCE; HYGIENE
    • A61FFILTERS IMPLANTABLE INTO BLOOD VESSELS; PROSTHESES; DEVICES PROVIDING PATENCY TO, OR PREVENTING COLLAPSING OF, TUBULAR STRUCTURES OF THE BODY, e.g. STENTS; ORTHOPAEDIC, NURSING OR CONTRACEPTIVE DEVICES; FOMENTATION; TREATMENT OR PROTECTION OF EYES OR EARS; BANDAGES, DRESSINGS OR ABSORBENT PADS; FIRST-AID KITS
    • A61F2250/00Special features of prostheses classified in groups A61F2/00 - A61F2/26 or A61F2/82 or A61F9/00 or A61F11/00 or subgroups thereof
    • A61F2250/0058Additional features; Implant or prostheses properties not otherwise provided for
    • A61F2250/0059Additional features; Implant or prostheses properties not otherwise provided for temporary
    • AHUMAN NECESSITIES
    • A61MEDICAL OR VETERINARY SCIENCE; HYGIENE
    • A61FFILTERS IMPLANTABLE INTO BLOOD VESSELS; PROSTHESES; DEVICES PROVIDING PATENCY TO, OR PREVENTING COLLAPSING OF, TUBULAR STRUCTURES OF THE BODY, e.g. STENTS; ORTHOPAEDIC, NURSING OR CONTRACEPTIVE DEVICES; FOMENTATION; TREATMENT OR PROTECTION OF EYES OR EARS; BANDAGES, DRESSINGS OR ABSORBENT PADS; FIRST-AID KITS
    • A61F2250/00Special features of prostheses classified in groups A61F2/00 - A61F2/26 or A61F2/82 or A61F9/00 or A61F11/00 or subgroups thereof
    • A61F2250/0058Additional features; Implant or prostheses properties not otherwise provided for
    • A61F2250/006Additional features; Implant or prostheses properties not otherwise provided for modular

Definitions

  • the present teachings relate generally to the treatment of heart valve dysfunction and, in particular, to minimally invasive systems and methods for replacing such heart valves.
  • valves within the human heart that serve to direct the flow of blood through the two sides of the heart in a forward direction.
  • the mitral valve located between the left atrium and the left ventricle
  • the aortic valve located between the left ventricle and the aorta.
  • These two valves direct oxygenated blood coming from the lungs, through the left side of the heart, into the aorta for distribution to the body.
  • the tricuspid valve located between the right atrium and the right ventricle
  • the pulmonary valve located between the right ventricle and the pulmonary artery.
  • All four of these heart valves are passive structures that do not expend any energy themselves and do not perform any active contractile function. They consist of moveable leaflets that are designed simply to open and close in response to differential pressures on either side of the valve.
  • the mitral and tricuspid valves are referred to as atrioventricular valves because of their location between an atrium and a ventricle on each side of the heart.
  • the mitral valve has two leaflets and the tricuspid valve has three.
  • the aortic and pulmonary valves are referred to as semilunar valves because of the unique appearance of their leaflets, which are more aptly termed cusps and are shaped somewhat like a half-moon.
  • the aortic and pulmonary valves each have three cusps.
  • the three cusps are soft tissue structures attached to a wall of the valve in an area designated as the annulus.
  • the three cusps are pushed open against the wall of the aorta during systole (when the left ventricle contracts), thereby allowing blood to flow through.
  • the left ventricular pressure falls and the aortic valve cusps reapproximate (the three cusps fall away from the wall and close), thereby preventing the blood which has entered the aorta from regurgitating (leaking) back into the left ventricle.
  • Heart valves may exhibit abnormal anatomy and function as a result of congenital or acquired valve disease. Problems with heart valve functions can be classified into two categories: 1) stenosis, in which a valve does not open properly, or 2) insufficiency (also called regurgitation), in which a valve does not close properly. Due to the higher-pressure gradient, the mitral and aortic valves are subject to greater fatigue and/or risk of disease. Also, while mitral valves often can be surgically repaired, most abnormalities of the aortic valve require replacement.
  • Prosthetic heart valves used to replace diseased or abnormal natural heart valves include mechanical devices with, for example, a rigid orifice ring and rigid hinged leaflets or ball-and-cage assemblies, and bioprosthetic devices that combine a mechanical assembly with biological material (e.g., human, porcine, bovine, or biopolymer leaflets).
  • biological material e.g., human, porcine, bovine, or biopolymer leaflets
  • heart valve replacement typically required median sternotomy and cardiopulmonary bypass.
  • various prosthetic heart valves that can be implanted by less invasive procedures have been developed.
  • various replacement heart valve apparatus that can be delivered via an endovascular transcatheter approach are described in co-owned, co-pending U.S. patent application Ser. Nos. 11/052,466 and 60/757,813, the entire disclosures of which are incorporated by reference herein for all purposes.
  • the replacement heart valve apparatus described in these patent applications generally include a compressible valve frame and a compressible docking station that is deployed prior to the introduction of the valve frame into a patient's heart. The valve frame is subsequently positioned within the docking station, which helps to support and anchor the valve frame in the desired location.
  • implantation of the aforementioned replacement heart valve apparatus in the aortic position presents unique challenges due to its close proximity to both the mitral valve and the coronary ostia, as well as high systemic pressures and the inability of the body to tolerate free leakage through the aortic valve for any period of time.
  • the implantation of the docking station in the aortic position can require coverage and complete immobilization of the native aortic valve, which will cause free regurgitation.
  • the present teachings relate to an improved transcatheter heart valve prosthesis adapted to be implanted in the aortic position.
  • the present teachings can be adapted for the replacement of other anatomical valves.
  • the present teachings solve the above-identified problem by providing transcatheter heart valve prostheses that can be delivered to and anchored in a patient's heart to replace or assist the function of a native heart valve.
  • the present teachings also are applicable to replace a replacement heart valve, e.g., one that has ceased functioning optimally.
  • the present teachings also relate to methods of making and using the heart valve prostheses.
  • the present teachings relate to a heart valve prosthesis including a docking station that includes a wire frame defining a lumen and a replacement heart valve that includes a valve frame for positioning within the lumen of the docking station.
  • the heart valve prosthesis also includes a diaphragm attached to the wire frame of the docking station and positioned within the lumen of the docking station.
  • the diaphragm can be adapted to have an open position and a close position.
  • the present teachings also recognize the docking station and the diaphragm as an independent and useful medical device.
  • the present teachings provide a medical device comprising a docking station comprising a wire frame defining a lumen, and a diaphragm positioned within the lumen and attached to the wire frame of the docking station, and can be adapted to have an open position and a closed position. It should be understood that the teachings herein in connection with the docking station and diaphragm of a heart valve prostheses apply equally to the medical device comprising a docking station and a diaphragm.
  • the docking station can define a generally cylindrical body that has a wall defining a lumen.
  • the wall can include an outer surface (in contact with heart tissues when implanted) and an inner surface (in contact with blood flow when implanted), and the thickness of the wall can be constant throughout the length of the docking station or can be unevenly distributed between the outer surface and the inner surface.
  • the docking station as a whole can include one or more portions with a substantially constant diameter (e.g., a cylindrical portion) and/or one or more portions with a varying diameter (e.g., a bulbous portion or a concave portion).
  • the docking station can have an expanded position and a compressed position.
  • the ability of the docking station to be compressed radially allows transcatheter delivery of the heart valve prosthesis.
  • the docking station can be self-expandable or balloon-expandable.
  • the docking station can include one or more openings such that its implantation does not obstruct anatomical openings, for example, the coronary ostia.
  • the docking station also can include radiopaque markers to allow visualization of the positioning of the docking station during its delivery and deployment. Visualization techniques such as fluoroscopy can be used.
  • the radiopaque markers also can facilitate a medical practitioner to more precisely determine the diamater of the deployed docking station, which allows optimal sizing of the replacement heart valve.
  • the diaphragm attached to the docking station can help to prevent or reduce free regurgitation when the docking station is deployed at or near a native heart valve in a way that covers and/or immobilizes the native heart valve.
  • the diaphragm can serve as a temporary control mechanism of blood flow prior to the introduction and deployment of the more permanent replacement heart valve.
  • the diaphragm can open and close in response to differential pressures on either of its sides similar to the native heart valve and the replacement heart valve.
  • the diaphragm can function as a barrier that absorbs and/or restricts blood flow. Subsequent to the deployment of the replacement heart valve, the diaphragm can continue to function as a sealing mechanism that prevents paravalvar leakage.
  • the diaphragm can be a unitary piece of material such as a membrane made of biological or synthetic materials.
  • the membrane can include one or more slits that divide the membrane into multiple connected sections.
  • the diaphragm can include a plurality of leaflets. These leaflets can extend circumferentially along the diaphragm in an overlapping or non-overlapping configuration.
  • the diaphragm can be directly attached to the wall of the docking station by sutures, adhesives, or other methods known in the art.
  • the diaphragm can be indirectly attached to the wall of the docking station, such as to a piece of material (e.g., a membrane) that itself is directly attached to the wall of the docking station.
  • the diaphragm can be attached to any portion of the docking station within its lumen.
  • the valve frame of the replacement heart valve can include a substantially cylindrical body defining a lumen and a plurality of valve members attached to the substantially cylindrical body.
  • each of the valve members can include one or more curved wires and a leaflet.
  • each of the valve members can include an inner curved wire support structure and an outer curved wire support structure.
  • the leaflet of the valve member can include a leaflet body and one or more leaflet projections.
  • the one or more projections can be attached to a respective inner curved support structure and the leaflet body can extend over a respective outer curved support structure so as to position the leaflet body within the lumen of the valve frame of the replacement heart valve.
  • the method can include introducing a heart valve prosthesis of the present teachings into the heart through a catheter, deploying the docking station, and introducing a replacement heart valve into the lumen of the docking station through a catheter, and deploying the replacement heart valve within the lumen of the docking station so that the leaflets of the diaphragm are pressed between the wire frame of the docking station and the valve members of the replacement heart valve.
  • the method can further include determining a diameter of the deployed docking station using fluoroscopy and choosing a replacement heart valve having a diameter that approximates the diameter of the deployed docking station.
  • FIGS. 1A and 1B illustrate an embodiment of an expanded docking station according to the present teachings.
  • FIGS. 2A-2D illustrate certain embodiments of an expanded docking station along with a diaphragm attached within its lumen according to the present teachings.
  • FIGS. 3A-3C illustrate the operation of various embodiments of a diaphragm and possible attachment configurations of such diaphragm within the lumen of a docking station according to the present teachings.
  • FIGS. 4A-4I illustrate nine different embodiments of a diaphragm according to the present teachings.
  • FIGS. 5A-5B show a top-view and a side view of an embodiment of a valve frame according to the present teachings.
  • FIGS. 6A and 6B are a top-view and a side-view of the valve frame of FIG. 5A located within the lumen of the docking station of FIG. 1A .
  • FIGS. 6C and 6D are a top-view and a cross-sectional view of the valve frame and docking station of FIGS. 6A and 6B with the members of the valve frame covered with a cover material and free ends of the cover material located away from the wall of the docking station.
  • FIGS. 6E and 6F are a top-view and a cross-sectional view of the valve frame and docking station of FIGS. 6C and 6D with the free ends of the cover material located towards the wall of the docking station.
  • FIG. 7 is a side view of an embodiment of a docking station and a valve frame (without leaflets) according to the present teachings.
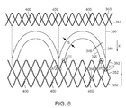
  • FIG. 8 is an opened view of a portion of another embodiment of a valve frame (without leaflets) according to the present teachings.
  • FIG. 9 is a plan view of the embodiment of the valve frame of FIG. 7 with leaflets attached.
  • FIG. 10 is a plan view of an embodiment of a leaflet of a replacement heart valve.
  • FIG. 11 is a cross-sectional view through line AA′ of FIG. 9 showing the attachment of the leaflet to the inner curved support structure and the placement of the leaflet over the outer curved support structure.
  • FIG. 12 is an opened view of a portion of yet another embodiment of a valve frame (without leaflets) according to the present teachings.
  • FIG. 13 is a plan view of the embodiment of the valve frame of FIG. 12 with leaflets attached.
  • FIG. 14 is a cross-sectional view through BB′ of FIG. 13 showing the attachment of the leaflet to the inner curved support structure and the placement of the leaflet over and between the outer curved support structure.
  • FIG. 15 is an opened view of a portion of another embodiment of a valve frame (without leaflets) of the invention.
  • FIGS. 16A-16D illustrate an embodiment of implanting a heart valve prosthesis according to the present teachings.
  • FIG. 17A is a schematic drawing showing the side view of an embodiment of a transcatheter heart valve prosthesis according to the present teachings.
  • FIG. 17B is a cross-sectional view of the transcatheter heart valve prosthesis of FIG. 17A along the line C-C′.
  • FIG. 17C is an expanded view of the circled portion of FIG. 17A .
  • FIG. 18A is a schematic drawing showing the side view of an embodiment of a transcatheter heart valve prosthesis according to the present teachings.
  • FIG. 18B is an expanded view of the circled portion of FIG. 18A .
  • FIGS. 19A-C illustrate how a diaphragm according to the present teachings can seal potential space between the docking station and the replacement heart valve, thereby preventing paravalvar leakage.
  • the present teachings relate to a heart valve prosthesis that mitigates the potential complications of free regurgitation that may occur during the implantation of a replacement heart valve.
  • the present teachings relate to a modification of an existing replacement heart valve apparatus that includes a supporting structure and a replacement heart valve.
  • the supporting structure such as a docking station, a stent or a scaffold, is adapted to be deployed at a preselected position within an anatomical lumen of the heart via an introducing catheter.
  • the phrase “docking station” is herein used to broadly refer to all types of supporting structures including stents.
  • the replacement heart valve is then inserted into the deployed docking station using the same catheter or, alternatively, a second catheter, and deployed within the lumen of the docking station.
  • the replacement heart valve apparatus can be implanted via other methods, for example, via various surgical techniques including those in which the delivery catheter and/or the replacement heart valve apparatus can be implanted through a direct incision in or a puncture of, for example, the left ventricle (e.g., for implanting a replacement aortic valve or a replacement mitral valve) or the aorta (e.g., for implanting a replacement aortic valve).
  • the left ventricle e.g., for implanting a replacement aortic valve or a replacement mitral valve
  • the aorta e.g., for implanting a replacement aortic valve
  • the two-component replacement heart valve apparatus of the present teachings enables the use of smaller catheters because the inner diameter of the catheter need not accommodate, at the same point in time of the procedure, the compressed volume of both a docking station and a valve assembly, the two-part deployment procedure introduces a certain lag time between the deployment of the docking station and the valve assembly.
  • the lag time can be problematic when the docking station needs to be deployed in the same luminal space as the native heart valve. Specifically, the native valve will be forced open by the deployed docking station, which leads to a period of free regurgitation until the introduction and deployment of the valve assembly. Such acute free regurgitation can lead to various clinical complications that are unlikely to be tolerated by patients requiring a heart valve replacement.
  • the present teachings provide a modified heart valve prosthesis in which the docking station is provided with a diaphragm.
  • the diaphragm has an open position and a close position similar to the native heart valve and the replacement heart valve in that it can open and close in response to differential pressures on either of its sides.
  • blood can still flow out of the left ventricle during ventricular systole, but free regurgitation is prevented, or at least reduced, during diastole because of the presence of this temporary barrier.
  • the diaphragm can open to allow blood flow during ventricular diastole and atrial systole, but back flow is prevented or reduced during ventricular systole.
  • the patient's heart therefore, is afforded a stabilizing period before the more permanent replacement heart valve is implanted.
  • Different embodiments of the docking station, the diaphragm, and the replacement heart valve will be described in more detail hereinbelow.
  • compositions are described as having, including, or comprising specific components, or where processes are described as having, including, or comprising specific process steps, it is contemplated that compositions of the present teachings also consist essentially of, or consist of, the recited components, and that the processes of the present teachings also consist essentially of, or consist of, the recited processing steps.
  • an element or component is said to be included in and/or selected from a list of recited elements or components, it should be understood that the element or component can be any one of the recited elements or components and can be selected from a group consisting of two or more of the recited elements or components.
  • the docking station of the heart valve prosthesis can be a self-expandable or a balloon-expandable stent that can be compressed radially to a desirable French size.
  • the docking station can be dimensioned to fit in a catheter having a diameter no larger than about 22 Fr (7.3 mm).
  • the docking station can have a diameter of about 5 mm or less when crimped.
  • the widest portion of the docking station can have a diameter of about 30 mm, and the narrowest portion can have a diameter of about 25 mm.
  • a docking station 30 can define a generally cylindrical body that has a wall 34 defining a lumen 36 .
  • the wall can include an outer surface (in contact with heart tissues when implanted) and an inner surface (in contact with blood flow when implanted), and the thickness of the wall can be constant throughout the length of the docking station or can be unevenly distributed between the outer surface and the inner surface.
  • the docking station 30 both longitudinally and in terms of its cross-section, can define various shapes and can be made to approximate or be compatible with the anatomical site where it is intended to be implanted.
  • the cross-section of the docking station can be circular, elliptical, or define other eccentric shapes.
  • the docking station as a whole can be, without limitation, generally, substantially, or somewhat cylindrical, conical, spherical, barrel-like, or hourglass-like.
  • a docking station adapted to be implanted in the aortic position its general shape can be tubular with a relatively long major axis (i.e., parallel to the direction of blood flow), while a docking station adapted to be implanted in the mitral position can be concave in shape and relatively short in its major axis to accommodate the geometry of the mitral annulus and to avoid interference with the blood flow into the left ventricle.
  • the geometry of the docking station can resemble, without limitation, one of the four embodiments illustrated in FIGS. 2A-D .
  • the docking station can include a first cylindrical portion at one end and a second cylindrical portion at the other end, and an intermediate portion therebetween, where the intermediate portion also can be cylindrical but have a larger diameter than the first cylindrical portion and the second cylindrical portion. There also can be a tapered portion extending from each of the first cylindrical portion and the second cylindrical portion to the intermediate portion as shown in FIG. 2A .
  • FIG. 2B shows another embodiment of a docking station.
  • the docking station can have a first cylindrical portion and a second cylindrical portion similar to the embodiment shown in FIG. 2A .
  • the intermediate portion can be of a bulbous or barrel shape that again has a greater diameter than the first and second cylindrical portions.
  • FIGS. 2C and 2D Other embodiments of the docking station are illustrated in FIGS. 2C and 2D .
  • the docking station can have a relatively short major axis and a relatively wide diameter.
  • the docking station can include terminal portions that are wider than the intermediate portion, for example, similar to the shape of an hourglass, as shown in FIG. 2D .
  • the wall of the docking station can have varying thickness as shown in FIG. 2D .
  • the wider terminal portions can be a thicker wall compared to the narrower intermediate portion.
  • the terminal portions (e.g., the first cylindrical portion and the second cylindrical portion in FIGS. 2A and 2B ) of the docking station can have the same or a different diameter, and can be absent in some embodiments as shown in FIG. 2C .
  • the docking station can be made of a slotted tube or a series of interconnected wires that together form an expandable mesh or wire frame.
  • the wire frame can include additional larger openings that represent openings native to the implantation site. For example, if the implantation site is at or near the aortic valve, the docking station can include one or more openings to allow fluid communication with the coronary ostia.
  • the docking station can be made of various materials that are compatible with placement in the body, that possess desirable material wear properties and/or that have a minimal risk of causing infection in the body of the patient.
  • suitable materials include shape memory materials, stainless steel alloys, molybdenum alloys, pyrolitic carbon, and certain polymers.
  • the wire frame can be constructed from strips of a shape memory material.
  • the shape memory material can be nickel-titanium wire sold under the product name nitinol.
  • the nickel-titanium wire when properly manufactured, exhibits elastic properties that allow the wire to be manipulated (e.g., bent) by an operator and then returned to, substantially, the same shape the wire possessed prior to it being manipulated.
  • the wire can return to substantially its original shape when the operator heats the wire or, alternatively, when the operator removes the forces applied to bend the wire.
  • the two-component replacement heart valve apparatus also affords the additional benefit of allowing optimal sizing of the replacement heart valve to be implanted.
  • the docking station whether self-expandable or balloon-expandable, can have a final diameter that is slightly different than what is originally anticipated, as tissue compliance cannot always be accurately predicted.
  • the replacement heart valve may turn out to be too big or too small.
  • leaflet redundancy results, which in turn can lead to premature degeneration of the leaflets.
  • the replacement heart valve is too small, it may not properly anchor within the docking station and can become embolic.
  • a two-component system provides the medical practitioner an opportunity to determine the final diameter of the deployed docking station and select a replacement heart valve of an optimal dimension.
  • the docking station can include one or more radiopaque markers or other visualization means to allow visual determination of its deployed dimension.
  • the docking station can include a diaphragm.
  • the diaphragm 38 is adapted to open and close in response to differential pressures on either of its sides.
  • FIG. 3A shows an implanted docking station in which the diaphragm 38 is in the close position and provides a barrier to the back flow of blood (in the direction of the arrow).
  • FIGS. 3B and 3C show an implanted docking station in which the diaphragm 38 is in the open position, allowing blood to flow through the docking station.
  • the diaphragm can be attached to the docking station by various means, for example, by suturing, adhesives, welding, crimping, insert molding, and the like.
  • the diaphragm can be attached at various positions within the lumen of the docking station.
  • the diaphragm 38 can be attached within the intermediate portion of the docking station, within the tapered portion of the docking station, or within one of the terminal portions of the docking station (not shown).
  • the diaphragm can be attached just below the openings (provided for the coronary ostia) of the docking station.
  • the diaphragm 38 can be a unitary piece of material or can include a plurality of leaflets 39 .
  • the diaphragm 38 can optionally include one or more slits ( FIGS. 4A , 4 C, 4 F and 4 G) and/or perforations ( FIGS. 4B , 4 D, 4 E and 4 G).
  • the membrane 38 can include two perpendicular slits, giving rise to four sections or leaflets 39 . The slits can converge at the center of the diaphragm or at some other point on the diaphragm, and provide an opening for blood to flow through.
  • the diaphragm can have one or more perforations in place of or in addition to the slit(s).
  • the diaphragm can also include an outer reinforcement ring 37 ( FIGS. 4G-4I ) that can help secure the diaphragm to the docking station and provide enhanced structural integrity to the diaphragm.
  • the diaphragm can include a plurality of leaflets. The leaflets can extend circumferentially and can be overlapping or non-overlapping. For example, as shown in FIGS. 4A-4C and 4 E- 4 I, the diaphragm can include two, three, four, five or more leaflets. Referring to FIGS.
  • the leaflets can have a substantially triangular shape, the tips of which can converge at the concentric point of the diaphragm.
  • the leaflets can be substantially semicircular, and can be of the same size or different sizes.
  • the diaphragm can include a perforation or opening in the center of the diaphragm, off-center (not shown), or extending partially along its diameter.
  • the leaflets of the diaphragm can be in a curved or spiral-like overlapping configuration, resembling an iris diaphragm found in a camera. Other designs and configurations are within the scope of the present teachings.
  • the diaphragm can be made of various biocompatible materials.
  • the diaphragm can be made of a biological membrane (e.g., human, ovine, porcine, bovine valve leaflets, pericardium, intestinal lining, or covering tissue, etc.), a bio-engineered material, or a synthetic material (e.g., polymers such as polyethylene, PTFE).
  • the biological or synthetic material or membrane can be supported by wires made of, for example, nitinol.
  • the diaphragm also can be a wire mesh including flexible metallic struts made of nitinol or other metals or alloys.
  • the diaphragm is designed to function for a limited period of time (the time between the deployment of the docking station and the deployment of the valve assembly can be as short as less than a minute to as long as a few days), the mechanical requirements of the diaphragm are much less demanding than a typical replacement heart valve.
  • the materials used to make the diaphragm can be thinner and have less structural integrity than a more permanent replacement heart valve, which helps to retain the French size advantage of the original two-component replacement heart valve system.
  • the diaphragm in addition to or instead of providing an open and close position, can act as a barrier that can help control the extent of regurgitation by absorbing a certain amount of blood or slowing down blood flow.
  • the diaphragm can be made of an absorbing material such as various polymeric foams.
  • the replacement heart valve can include a valve frame 40 made of a shape memory material.
  • the valve frame 40 can define a generally cylindrical body that is constructed from a mesh 42 .
  • the mesh 42 can be constructed from wires or strips of a shape memory material.
  • the valve frame 40 also can have three valve members 44 a , 44 b and 44 c .
  • the valve members 44 a , 44 b and 44 c can have a free end 48 a , 48 b and 48 c , respectively.
  • the valve frame 40 could, alternatively, be any geometric shape (e.g., cylindrical, conical, spherical or barrel-like) that is compatible with the placement of the valve frame 40 within a docking station, such as the docking station 30 of FIG. 1B .
  • valve frame 40 can be deployed within the lumen 36 of the docking station 30 .
  • the valve frame 40 and the docking station 30 are hereinbelow referred to as the valve assembly 50 collectively.
  • the valve frame 40 can be manufactured to ensure that the valve frame 40 can maintain a desired (e.g., fixed) placement with respect to the docking station 30 when the valve frame 40 and the docking station 30 are located within the heart of a patient and subjected to the flow of blood through the valve assembly 50 .
  • the valve members 44 a , 44 b and 44 c can be coated, typically, with a cover material 56 (e.g., a biocompatible material, such as, silicon rubber or bovine, porcine or human tissue that is chemically treated to minimize the likelihood of rejection by the patient's immune system).
  • the coated valve members can be capable of functioning similarly to the three cusps of the aortic valve, for example.
  • the cover material can be a bio-engineered material that is capable of being applied to the valve members.
  • the cover material can be applied to the valve frame prior to deployment of the valve frame into the body.
  • the cover material 56 can have three free ends 46 a , 46 b and 46 c corresponding to valve members 44 a , 44 b and 44 c , respectively.
  • the free ends also are herein referred to as leaflets.
  • the cover material 56 applied to the valve members 44 a , 44 b and 44 c is capable of, generally, obstructing the flow of blood in the negative direction along the X-axis.
  • the free ends 46 a , 46 b and 46 c move away from the inner wall 34 of the docking station 30 , thereby limiting the flow of blood in the negative direction along the X-axis.
  • the free ends 46 a , 46 b and 46 c of the cover material 56 move towards the inner wall 34 of the docking station 30 .
  • the free ends 46 a , 46 b and 46 c thereby permit the flow of blood through the valve assembly 50 .
  • the valve assembly approximates the functioning of a natural heart valve of the body by allowing blood to flow in the positive direction along the X-axis.
  • FIG. 7 shows another embodiment of a valve frame that can be used with the docking station and diaphragm described above.
  • the valve frame 340 includes a substantially cylindrical body portion 341 , a plurality of valve attachment pairs 346 , and a plurality of standoffs 350 attached to one or more exterior serpentine wire rings 353 .
  • the plurality of standoffs 350 and the one or more exterior serpentine wire rings 353 are absent.
  • the substantially cylindrical body portion 341 of the valve frame 340 can be constructed of a plurality of serpentine curved wires 352 .
  • Each of the vertices 356 of the serpentine curves of a first wire 352 can be attached at the vertices 356 to each of the vertices of the serpentine curves of an adjacent wire 352 .
  • the wires can be constructed of nitinol.
  • the substantially cylindrical body portion 341 can be expandable between a first compressed state (not shown) and a second expanded state (shown).
  • trough is a bend in the wire that points in the direction of blood flow (i.e., in the positive direction of X shown in FIG. 8 ) and a “vertex” is a bend that points in a direction opposite blood flow (i.e., in the negative direction of X shown in FIG. 8 .
  • Each valve attachment pair 346 can include an inner curved support structure 358 and an outer curved support structure 360 .
  • Each curved support structure 358 , 360 can be attached either to a vertex 362 , 364 (respectively as shown in FIG. 7 ) or to a trough 372 and vertex 370 (respectively as shown in FIG. 8 ).
  • the space S between the inner curved support structure 358 and the outer curved support structure 360 can be constant.
  • the space S for example, can be in the range of about 2-3 mm.
  • the inner curved support structure 358 and the outer curved support structure 360 , as well as the space S therebetween, can be substantially parabolic in shape (as shown in FIG. 8 ) or can resemble a pocket, i.e., a partial rectangle with rounded corners (as shown in FIG. 12 ).
  • the distance between the inner 358 and outer 360 curved support structures can be substantially assured.
  • the movement of the valve leaflets 390 does not cause the curved support structures 358 , 360 to touch, thereby preventing damage to the leaflets 390 .
  • the inner curved support structure 358 and the outer curved support structure 360 can each include one piece of wire only (shown in FIG. 8 ).
  • the inner curved support structure 358 can have one piece of wire
  • the outer curved support structure 360 can have two or more pieces of wire (shown in FIG. 12 ). It is preferred that the two or more pieces of wire of the outer curved support structure 360 are spaced as closely as possible but still permit passage of the chosen cover material 396 (shown in FIGS. 13 and 14 ).
  • the cover material can have a thickness of 0.4 mm to about 1.0 mm, and the space between the wires of the outer curved support structure can be within the range of about 0.5 mm to about 1.0 mm.
  • FIG. 10 More details of the leaflet 390 are shown in FIG. 10 .
  • a leaflet 390 can attached to each valve attachment pair 346 .
  • Each leaflet 390 has a leaflet body 396 and a plurality of leaflet projections 392 . When attached to the valve frame 340 , the leaflet body 396 is located within the lumen of the valve frame 340 .
  • the leaflet 390 can be positioned such that the portion of the leaflet body 396 nearest the projections 392 is pulled over the outer curved support structure 360 and the leaflet projections 392 are curved over the inner curved support structure 358 .
  • Each leaflet projection 392 can be attached by sutures 394 to itself. This anchors the leaflet projections 392 to the inner curved support structure 358 and permits the leaflet body 396 to be secured and maintain its shape within the lumen of the valve frame 340 . This configuration can prevent the sutures 394 from being exposed to blood passing through the valve and can provide free motion of the leaflet body without any contact to prosthetic materials thereby preventing damage to the leaflet.
  • the two wires of the outer curved support structure 360 are placed very close to each other. Similar to the embodiment shown in FIG. 11 , the leaflet 390 is positioned such that the portion of the leaflet body 396 nearest the projections 392 is pulled over the outermost wire of the outer curved support structure 360 . Each of the leaflet projections 392 then passes through the space between the two wires of the outer curved support structure 360 . Because the space between these two wires is designed to barely allow passage of the cover material 396 , displacement of the leaflet between the docking station and the valve frame is minimized, in addition to the other advantages described in accordance with the embodiment shown in FIG. 11 . Each of the leaflet projections 392 then wraps over the inner curved support structure 358 and is attached by sutures 394 to itself as in the other embodiment.
  • FIG. 15 depicts a similar valve frame but one in which the inner 358 and outer 360 curved support structures are attached to the same location 404 on vertices of wire 352 of the cylindrical body 352 . Additionally, a plurality of standoffs 350 hold one or more exterior serpentine rings 353 at a distance away from the outer curved support structure 360 to provide extra support to the valve frame 340 . At several locations on the exterior serpentine ring(s) 353 are located platinum markers 400 . In some embodiments (shown) platinum wire is wrapped about the exterior serpentine ring(s) 353 in several locations. These locations then serve as radiopaque markers 400 to help position the valve frame 340 within the docking station 330 .
  • the platinum markers are also positioned on the opposite end of the valve frame so that both ends of the valve frame 340 can be seen clearly under fluoroscopy as the valve frame 340 is positioned within the docking station 330 .
  • Each standoff 350 can be sufficiently long so that when the valve frame 340 is compressed to fit within a catheter, the leaflet 396 which is turned over the outer support structure 360 does not contact the exterior serpentine ring 353 thereby potentially causing damage to the leaflet 390 .
  • Similar platinum markers can be positioned on one or both ends of any of the valve frames described hereinabove, including the valve frames shown in FIGS. 8 and 12 .
  • FIGS. 16A-16D general method steps associated with the implantation of a transcatheter heart valve prosthesis according to the present teachings are described.
  • the method steps relate to implantation of the prosthesis in the aortic position; however, implantation of the prosthesis in other anatomical positions, for example, at the pulmonary valve position, is within the scope of the present teachings.
  • an introducing catheter 61 is delivered via a femoral vessel by means of a guidewire 62 to the ascending aorta 68 at a position distal to the native aortic valve (away from the left ventricle).
  • the introducing catheter 61 has an inner wall 69 that defines a lumen 64 through which the guidewire 62 is passed.
  • the introducing catheter 61 has an opening 66 out of which the guidewire 62 is extended.
  • a docking station/balloon combination 71 is inserted into the introducing catheter 61 and is guided to the ascending aorta 68 using the guidewire 62 .
  • the combination 71 is then deployed from the confines of the introducing catheter 61 and at least a portion of the docking station is positioned proximal to the native aortic valve 63 .
  • the docking station/balloon combination 71 can include a balloon 73 located within a lumen 75 of the docking station 77 .
  • the docking station/balloon combination 71 can be positioned within the introducing catheter 61 prior to inserting the introducing catheter 61 into the anatomical lumen 65 .
  • the docking station/balloon combination 71 can be inserted into the introducing catheter 61 after the opening 66 of the introducing catheter 61 has been located at the ascending aorta. As shown in FIG. 16B , the docking station/balloon combination is ready to be deployed in the same luminal space as the native aortic valve. The balloon of the deployed docking station/balloon combination is then inflated, thereby expanding the docking station to a predetermined configuration and size. The balloon is quickly deflated and withdrawn.
  • the deployed docking station 77 pushes the native aortic valve 63 against the wall of the aorta.
  • such coverage and immobilization of the native heart valve typically will result in free regurgitation; however, due to the presence of the diaphragm 78 attached to the docking station, a controlled mechanism of blood flow is provided, thereby allowing the patient's heart to stabilize prior to the introduction of the more permanent replacement heart valve.
  • the medical practitioner using fluoroscopy, can determine the diameter of the deployed docking station more precisely and select a valve frame of an optimal size. Once an appropriate valve frame is selected, it is compressed and inserted into the introducing catheter and the valve frame is guided to the catheter orifice and deployed into the lumen of the expanded docking station. In some embodiments, the valve frame can be deployed in or near the position at which the diaphragm is attached to the docking station.
  • the valve frame 91 is deployed about the position at which the diaphragm 78 is attached within the lumen of the docking station 77 .
  • the proximal portion (i.e., the portion having the valve members) of the valve frame can be positioned below where the diaphragm is attached to the docking station, while the distal portion of the valve frame can be positioned above where the diaphragm is attached.
  • the diaphragm is pushed against the inner wall of the docking station and helps to seal any space that may exist between the docking station 77 and the valve frame 91 .
  • An additional benefit of the heart valve prosthesis of the present teachings therefore includes the provision of a sealing mechanism between the docking station and the valve frame, hence preventing any paravalvar leakage despite the fact that the valve frame 91 is adapted to expand and assume substantially the same size and shape as the lumen 75 of the expanded docking station 77 upon deployment.
  • the introducing catheter can now be removed from the patient's body.
  • the prosthesis of the present teachings can be implanted in the mitral position, for example, by generally following the steps described above.
  • an introducing catheter and the prosthesis can be delivered through a femoral venous sheath, and the prosthesis can then be positioned in the left atrium and ventricle by making a hole in the atrial septum.
  • FIG. 17A is a side cross-section view of a deployed docking station 77 with an attached diaphragm 78 within its lumen.
  • a deployed replacement heart valve 91 (shown as a simplified block), interchangeably referred hereinbelow as a permanent valve, is positioned just above the attachment point of the diaphragm. As shown, the leaflets of the diaphragm are pushed against the inner wall of the docking station, similar to the way the deployed docking station pushes the cusps of the aortic valve against the wall of the aorta in FIG. 16C .
  • FIG. 17B shows a cross-sectional view of the heart valve prosthesis of FIG. 17A along the line C-C′.
  • the permanent valve 91 can include a plurality of leaflets 79 and one or more struts 90 that are similar to the standoffs 350 of valve frame 340 ( FIGS. 7-9 ). As shown, the diaphragm is compressed between the docking station 77 and the permanent valve 91 .
  • FIG. 17C is an expanded view of the circled portion of FIG. 17A , which shows the potential space 92 between the docking station 77 and the permanent valve 91 more clearly.
  • FIG. 18A is a side cross-sectional view of another embodiment of a deployed docking station 77 with an attached diaphragm 78 within its lumen.
  • a deployed replacement heart valve 91 (shown without detail for simplification) is positioned within the narrower intermediate portion of the docking station to allow stable anchoring. Again, the leaflets of the diaphragm are pushed against the inner wall of the docking station and can be compressed between the potential space between the docking station and the replacement heart valve to help prevent or reduce paravalvar leakage ( FIG. 18B ).
  • FIGS. 19A-C show how the diaphragm can be compressed by the deployed permanent valve, thereby being rendered non-functional and non-obstructive.
  • the diaphragm 78 can be compressed by the struts 90 or standoffs of the permanent valve 91 .
  • the diaphragm 78 can be compressed by one or more cylindrical portions of the permanent valve 90 , for example, the substantially cylindrical body portion 341 and the exterior serpentine wire ring 353 of the valve frame 340 ( FIG. 7 ). As shown in FIGS.
  • potential space 92 can be found between the leaflets of the permanent valve, between the docking station and the permanent valve, and between the docking station and the native valve (not shown).
  • the diaphragm pressed against the inner wall of the docking station by the deployed permanent valve can serve a secondary function of preventing paravalvar leakage due to such potential space, particularly when the diaphragm is composed of a bio-absorbent material or a material that is otherwise impermeable to blood as described in certain embodiments above. for example, by expanding to fill up the space.

Landscapes

  • Health & Medical Sciences (AREA)
  • Engineering & Computer Science (AREA)
  • Biomedical Technology (AREA)
  • Cardiology (AREA)
  • Oral & Maxillofacial Surgery (AREA)
  • Transplantation (AREA)
  • Heart & Thoracic Surgery (AREA)
  • Vascular Medicine (AREA)
  • Life Sciences & Earth Sciences (AREA)
  • Animal Behavior & Ethology (AREA)
  • General Health & Medical Sciences (AREA)
  • Public Health (AREA)
  • Veterinary Medicine (AREA)
  • Prostheses (AREA)

Abstract

The present teachings relate to a heart valve prosthesis. The heart valve prosthesis includes a docking station (77) having a wire frame defining a lumen and a valve frame (91) for positioning within its lumen. The docking station includes a diaphragm (78) adapted to have an open position and a closed position, which provides a temporary control mechanism for preventing free regurgitation during the time period between the deployment of the docking station and the deployment of the valve frame, and a sealing mechanism for preventing paravalvar leakage.

Description

CROSS-REFERENCE TO RELATED APPLICATIONS
This application is the national phase of International (PCT) Application No. PCT/US2007/010768, filed on May 3, 2007, which claims the benefit of and priority to U.S. Provisional Patent Application Ser. No. 60/798,418, filed on May 5, 2006. The disclosure of each of the above patent applications is incorporated by reference herein in its entirety.
TECHNICAL FIELD
The present teachings relate generally to the treatment of heart valve dysfunction and, in particular, to minimally invasive systems and methods for replacing such heart valves.
BACKGROUND
There are four valves within the human heart that serve to direct the flow of blood through the two sides of the heart in a forward direction. On the left (systemic) side of the heart are the mitral valve, located between the left atrium and the left ventricle, and the aortic valve, located between the left ventricle and the aorta. These two valves direct oxygenated blood coming from the lungs, through the left side of the heart, into the aorta for distribution to the body. On the right (pulmonary) side of the heart are the tricuspid valve, located between the right atrium and the right ventricle, and the pulmonary valve, located between the right ventricle and the pulmonary artery. These two valves direct de-oxygenated blood coming from the body, through the right side of the heart, into the pulmonary artery for distribution to the lungs, where it again becomes re-oxygenated to begin the circuit anew.
All four of these heart valves are passive structures that do not expend any energy themselves and do not perform any active contractile function. They consist of moveable leaflets that are designed simply to open and close in response to differential pressures on either side of the valve. The mitral and tricuspid valves are referred to as atrioventricular valves because of their location between an atrium and a ventricle on each side of the heart. The mitral valve has two leaflets and the tricuspid valve has three. The aortic and pulmonary valves are referred to as semilunar valves because of the unique appearance of their leaflets, which are more aptly termed cusps and are shaped somewhat like a half-moon. The aortic and pulmonary valves each have three cusps.
The three cusps are soft tissue structures attached to a wall of the valve in an area designated as the annulus. In the case of the aortic valve, the three cusps are pushed open against the wall of the aorta during systole (when the left ventricle contracts), thereby allowing blood to flow through. During diastole (when the left ventricle relaxes), the left ventricular pressure falls and the aortic valve cusps reapproximate (the three cusps fall away from the wall and close), thereby preventing the blood which has entered the aorta from regurgitating (leaking) back into the left ventricle.
Heart valves may exhibit abnormal anatomy and function as a result of congenital or acquired valve disease. Problems with heart valve functions can be classified into two categories: 1) stenosis, in which a valve does not open properly, or 2) insufficiency (also called regurgitation), in which a valve does not close properly. Due to the higher-pressure gradient, the mitral and aortic valves are subject to greater fatigue and/or risk of disease. Also, while mitral valves often can be surgically repaired, most abnormalities of the aortic valve require replacement.
Prosthetic heart valves used to replace diseased or abnormal natural heart valves include mechanical devices with, for example, a rigid orifice ring and rigid hinged leaflets or ball-and-cage assemblies, and bioprosthetic devices that combine a mechanical assembly with biological material (e.g., human, porcine, bovine, or biopolymer leaflets).
In the past, heart valve replacement typically required median sternotomy and cardiopulmonary bypass. More recently, various prosthetic heart valves that can be implanted by less invasive procedures have been developed. For example, various replacement heart valve apparatus that can be delivered via an endovascular transcatheter approach are described in co-owned, co-pending U.S. patent application Ser. Nos. 11/052,466 and 60/757,813, the entire disclosures of which are incorporated by reference herein for all purposes. The replacement heart valve apparatus described in these patent applications generally include a compressible valve frame and a compressible docking station that is deployed prior to the introduction of the valve frame into a patient's heart. The valve frame is subsequently positioned within the docking station, which helps to support and anchor the valve frame in the desired location.
Like other transcatheter heart valves that are currently known or available, implantation of the aforementioned replacement heart valve apparatus in the aortic position (as opposed to the pulmonic position) presents unique challenges due to its close proximity to both the mitral valve and the coronary ostia, as well as high systemic pressures and the inability of the body to tolerate free leakage through the aortic valve for any period of time. For example, the implantation of the docking station in the aortic position can require coverage and complete immobilization of the native aortic valve, which will cause free regurgitation. Similar difficulties and challenges, albeit to a slighter extent, can be expected with implanting the replacement heart valve apparatus in other positions, for example, the mitral position, in which case, free regurgitation into the lungs via the left atrium can occur. Acute free regurgitation, even for the short period of time necessary to deliver the valve component within the docking station, is unlikely to be tolerated by the patient, particularly in the target population of patients with pre-existing heart conditions due to stenosis and/or regurgitation. While theoretically, a patient can be put on cardiopulmonary bypass to prevent or reduce such regurgitation, the various health risks associated with a bypass procedure make this an impractical option for many patients in the target population.
The present teachings, therefore, relate to an improved transcatheter heart valve prosthesis adapted to be implanted in the aortic position. However, the present teachings can be adapted for the replacement of other anatomical valves.
SUMMARY
The present teachings solve the above-identified problem by providing transcatheter heart valve prostheses that can be delivered to and anchored in a patient's heart to replace or assist the function of a native heart valve. However, it should be understood that the present teachings also are applicable to replace a replacement heart valve, e.g., one that has ceased functioning optimally. The present teachings also relate to methods of making and using the heart valve prostheses.
In one aspect, the present teachings relate to a heart valve prosthesis including a docking station that includes a wire frame defining a lumen and a replacement heart valve that includes a valve frame for positioning within the lumen of the docking station. The heart valve prosthesis also includes a diaphragm attached to the wire frame of the docking station and positioned within the lumen of the docking station. The diaphragm can be adapted to have an open position and a close position. The present teachings also recognize the docking station and the diaphragm as an independent and useful medical device. More specifically, the present teachings provide a medical device comprising a docking station comprising a wire frame defining a lumen, and a diaphragm positioned within the lumen and attached to the wire frame of the docking station, and can be adapted to have an open position and a closed position. It should be understood that the teachings herein in connection with the docking station and diaphragm of a heart valve prostheses apply equally to the medical device comprising a docking station and a diaphragm.
The docking station can define a generally cylindrical body that has a wall defining a lumen. The wall can include an outer surface (in contact with heart tissues when implanted) and an inner surface (in contact with blood flow when implanted), and the thickness of the wall can be constant throughout the length of the docking station or can be unevenly distributed between the outer surface and the inner surface. The docking station as a whole can include one or more portions with a substantially constant diameter (e.g., a cylindrical portion) and/or one or more portions with a varying diameter (e.g., a bulbous portion or a concave portion).
In some embodiments, the docking station can have an expanded position and a compressed position. The ability of the docking station to be compressed radially allows transcatheter delivery of the heart valve prosthesis. The docking station can be self-expandable or balloon-expandable. Depending on its intended implantation site, the docking station can include one or more openings such that its implantation does not obstruct anatomical openings, for example, the coronary ostia. The docking station also can include radiopaque markers to allow visualization of the positioning of the docking station during its delivery and deployment. Visualization techniques such as fluoroscopy can be used. The radiopaque markers also can facilitate a medical practitioner to more precisely determine the diamater of the deployed docking station, which allows optimal sizing of the replacement heart valve.
The diaphragm attached to the docking station can help to prevent or reduce free regurgitation when the docking station is deployed at or near a native heart valve in a way that covers and/or immobilizes the native heart valve. The diaphragm can serve as a temporary control mechanism of blood flow prior to the introduction and deployment of the more permanent replacement heart valve. The diaphragm can open and close in response to differential pressures on either of its sides similar to the native heart valve and the replacement heart valve. In some embodiments, the diaphragm can function as a barrier that absorbs and/or restricts blood flow. Subsequent to the deployment of the replacement heart valve, the diaphragm can continue to function as a sealing mechanism that prevents paravalvar leakage.
In some embodiments, the diaphragm can be a unitary piece of material such as a membrane made of biological or synthetic materials. The membrane can include one or more slits that divide the membrane into multiple connected sections. In some embodiments, the diaphragm can include a plurality of leaflets. These leaflets can extend circumferentially along the diaphragm in an overlapping or non-overlapping configuration.
In some embodiments, the diaphragm can be directly attached to the wall of the docking station by sutures, adhesives, or other methods known in the art. In other embodiments, the diaphragm can be indirectly attached to the wall of the docking station, such as to a piece of material (e.g., a membrane) that itself is directly attached to the wall of the docking station. The diaphragm can be attached to any portion of the docking station within its lumen.
The valve frame of the replacement heart valve can include a substantially cylindrical body defining a lumen and a plurality of valve members attached to the substantially cylindrical body. In some embodiments, each of the valve members can include one or more curved wires and a leaflet. In certain embodiments, each of the valve members can include an inner curved wire support structure and an outer curved wire support structure. The leaflet of the valve member can include a leaflet body and one or more leaflet projections. In some embodiments, the one or more projections can be attached to a respective inner curved support structure and the leaflet body can extend over a respective outer curved support structure so as to position the leaflet body within the lumen of the valve frame of the replacement heart valve.
Another aspect of the present teachings relate to a method of delivering a heart valve prosthesis to an anatomical site. The method can include introducing a heart valve prosthesis of the present teachings into the heart through a catheter, deploying the docking station, and introducing a replacement heart valve into the lumen of the docking station through a catheter, and deploying the replacement heart valve within the lumen of the docking station so that the leaflets of the diaphragm are pressed between the wire frame of the docking station and the valve members of the replacement heart valve. The method can further include determining a diameter of the deployed docking station using fluoroscopy and choosing a replacement heart valve having a diameter that approximates the diameter of the deployed docking station.
These and other objects, along with the features of the present teachings herein disclosed, will become apparent through reference to the following description, the accompanying drawings, and the claims. Furthermore, it is to be understood that the features of the various embodiments described herein are not mutually exclusive and can exist in various combinations and permutations.
BRIEF DESCRIPTION OF THE DRAWINGS
In the drawings, like reference characters generally refer to the same parts throughout the different views. Also, the drawings are not necessarily to scale, emphasis generally being placed upon illustrating the principles of the present teachings.
FIGS. 1A and 1B illustrate an embodiment of an expanded docking station according to the present teachings.
FIGS. 2A-2D illustrate certain embodiments of an expanded docking station along with a diaphragm attached within its lumen according to the present teachings.
FIGS. 3A-3C illustrate the operation of various embodiments of a diaphragm and possible attachment configurations of such diaphragm within the lumen of a docking station according to the present teachings.
FIGS. 4A-4I illustrate nine different embodiments of a diaphragm according to the present teachings.
FIGS. 5A-5B show a top-view and a side view of an embodiment of a valve frame according to the present teachings.
FIGS. 6A and 6B are a top-view and a side-view of the valve frame of FIG. 5A located within the lumen of the docking station of FIG. 1A.
FIGS. 6C and 6D are a top-view and a cross-sectional view of the valve frame and docking station of FIGS. 6A and 6B with the members of the valve frame covered with a cover material and free ends of the cover material located away from the wall of the docking station.
FIGS. 6E and 6F are a top-view and a cross-sectional view of the valve frame and docking station of FIGS. 6C and 6D with the free ends of the cover material located towards the wall of the docking station.
FIG. 7 is a side view of an embodiment of a docking station and a valve frame (without leaflets) according to the present teachings.
FIG. 8 is an opened view of a portion of another embodiment of a valve frame (without leaflets) according to the present teachings.
FIG. 9 is a plan view of the embodiment of the valve frame of FIG. 7 with leaflets attached.
FIG. 10 is a plan view of an embodiment of a leaflet of a replacement heart valve.
FIG. 11 is a cross-sectional view through line AA′ of FIG. 9 showing the attachment of the leaflet to the inner curved support structure and the placement of the leaflet over the outer curved support structure.
FIG. 12 is an opened view of a portion of yet another embodiment of a valve frame (without leaflets) according to the present teachings.
FIG. 13 is a plan view of the embodiment of the valve frame of FIG. 12 with leaflets attached.
FIG. 14 is a cross-sectional view through BB′ of FIG. 13 showing the attachment of the leaflet to the inner curved support structure and the placement of the leaflet over and between the outer curved support structure.
FIG. 15 is an opened view of a portion of another embodiment of a valve frame (without leaflets) of the invention.
FIGS. 16A-16D illustrate an embodiment of implanting a heart valve prosthesis according to the present teachings.
FIG. 17A is a schematic drawing showing the side view of an embodiment of a transcatheter heart valve prosthesis according to the present teachings.
FIG. 17B is a cross-sectional view of the transcatheter heart valve prosthesis of FIG. 17A along the line C-C′.
FIG. 17C is an expanded view of the circled portion of FIG. 17A.
FIG. 18A is a schematic drawing showing the side view of an embodiment of a transcatheter heart valve prosthesis according to the present teachings.
FIG. 18B is an expanded view of the circled portion of FIG. 18A.
FIGS. 19A-C illustrate how a diaphragm according to the present teachings can seal potential space between the docking station and the replacement heart valve, thereby preventing paravalvar leakage.
DETAILED DESCRIPTION
The present teachings relate to a heart valve prosthesis that mitigates the potential complications of free regurgitation that may occur during the implantation of a replacement heart valve. Specifically, the present teachings relate to a modification of an existing replacement heart valve apparatus that includes a supporting structure and a replacement heart valve. The supporting structure, such as a docking station, a stent or a scaffold, is adapted to be deployed at a preselected position within an anatomical lumen of the heart via an introducing catheter. The phrase “docking station” is herein used to broadly refer to all types of supporting structures including stents. The replacement heart valve is then inserted into the deployed docking station using the same catheter or, alternatively, a second catheter, and deployed within the lumen of the docking station. A person skilled in the art will recognize that while many features of the replacement heart valve apparatus of the present teachings are adapted for transcatheter delivery, the replacement heart valve apparatus can be implanted via other methods, for example, via various surgical techniques including those in which the delivery catheter and/or the replacement heart valve apparatus can be implanted through a direct incision in or a puncture of, for example, the left ventricle (e.g., for implanting a replacement aortic valve or a replacement mitral valve) or the aorta (e.g., for implanting a replacement aortic valve). Accordingly, embodiments related to transcatheter delivery described herein are to be considered as only illustrative and not restrictive.
While the two-component replacement heart valve apparatus of the present teachings enables the use of smaller catheters because the inner diameter of the catheter need not accommodate, at the same point in time of the procedure, the compressed volume of both a docking station and a valve assembly, the two-part deployment procedure introduces a certain lag time between the deployment of the docking station and the valve assembly. The lag time can be problematic when the docking station needs to be deployed in the same luminal space as the native heart valve. Specifically, the native valve will be forced open by the deployed docking station, which leads to a period of free regurgitation until the introduction and deployment of the valve assembly. Such acute free regurgitation can lead to various clinical complications that are unlikely to be tolerated by patients requiring a heart valve replacement.
To prevent regurgitation, the present teachings provide a modified heart valve prosthesis in which the docking station is provided with a diaphragm. The diaphragm has an open position and a close position similar to the native heart valve and the replacement heart valve in that it can open and close in response to differential pressures on either of its sides. For example, in embodiments where the replacement heart valve prosthesis is placed in the aortic position, blood can still flow out of the left ventricle during ventricular systole, but free regurgitation is prevented, or at least reduced, during diastole because of the presence of this temporary barrier. Similarly, in embodiments where the replacement heart valve prosthesis is placed in the mitral position, the diaphragm can open to allow blood flow during ventricular diastole and atrial systole, but back flow is prevented or reduced during ventricular systole. The patient's heart, therefore, is afforded a stabilizing period before the more permanent replacement heart valve is implanted. Different embodiments of the docking station, the diaphragm, and the replacement heart valve will be described in more detail hereinbelow.
Throughout the description, where compositions are described as having, including, or comprising specific components, or where processes are described as having, including, or comprising specific process steps, it is contemplated that compositions of the present teachings also consist essentially of, or consist of, the recited components, and that the processes of the present teachings also consist essentially of, or consist of, the recited processing steps.
In the application, where an element or component is said to be included in and/or selected from a list of recited elements or components, it should be understood that the element or component can be any one of the recited elements or components and can be selected from a group consisting of two or more of the recited elements or components.
The use of the singular herein includes the plural (and vice versa) unless specifically stated otherwise. In addition, where the use of the term “about” is before a quantitative value, the present teachings also include the specific quantitative value itself, unless specifically stated otherwise.
It should be understood that the order of steps or order for performing certain actions is immaterial so long as the present teachings remain operable. Moreover, two or more steps or actions can be conducted simultaneously.
The docking station of the heart valve prosthesis according to the present teachings can be a self-expandable or a balloon-expandable stent that can be compressed radially to a desirable French size. In some embodiments, the docking station can be dimensioned to fit in a catheter having a diameter no larger than about 22 Fr (7.3 mm). For example, the docking station can have a diameter of about 5 mm or less when crimped. When expanded, the widest portion of the docking station can have a diameter of about 30 mm, and the narrowest portion can have a diameter of about 25 mm.
As shown in FIGS. 1A and 1B, one embodiment of a docking station 30 according to the present teachings can define a generally cylindrical body that has a wall 34 defining a lumen 36. The wall can include an outer surface (in contact with heart tissues when implanted) and an inner surface (in contact with blood flow when implanted), and the thickness of the wall can be constant throughout the length of the docking station or can be unevenly distributed between the outer surface and the inner surface. The docking station 30, both longitudinally and in terms of its cross-section, can define various shapes and can be made to approximate or be compatible with the anatomical site where it is intended to be implanted. For example, in some embodiments, the cross-section of the docking station can be circular, elliptical, or define other eccentric shapes. In some embodiments, the docking station as a whole can be, without limitation, generally, substantially, or somewhat cylindrical, conical, spherical, barrel-like, or hourglass-like. By way of illustration, for a docking station adapted to be implanted in the aortic position, its general shape can be tubular with a relatively long major axis (i.e., parallel to the direction of blood flow), while a docking station adapted to be implanted in the mitral position can be concave in shape and relatively short in its major axis to accommodate the geometry of the mitral annulus and to avoid interference with the blood flow into the left ventricle.
To further illustrate, the geometry of the docking station can resemble, without limitation, one of the four embodiments illustrated in FIGS. 2A-D.
Referring to FIG. 2A, in some embodiments, the docking station can include a first cylindrical portion at one end and a second cylindrical portion at the other end, and an intermediate portion therebetween, where the intermediate portion also can be cylindrical but have a larger diameter than the first cylindrical portion and the second cylindrical portion. There also can be a tapered portion extending from each of the first cylindrical portion and the second cylindrical portion to the intermediate portion as shown in FIG. 2A.
FIG. 2B shows another embodiment of a docking station. The docking station can have a first cylindrical portion and a second cylindrical portion similar to the embodiment shown in FIG. 2A. The intermediate portion, however, can be of a bulbous or barrel shape that again has a greater diameter than the first and second cylindrical portions.
Other embodiments of the docking station are illustrated in FIGS. 2C and 2D. Referring to FIG. 2D, the docking station can have a relatively short major axis and a relatively wide diameter. And unlike FIGS. 1B, 2A and 2B all of which show a docking station with a wider intermediate portion, the docking station can include terminal portions that are wider than the intermediate portion, for example, similar to the shape of an hourglass, as shown in FIG. 2D. Also, the wall of the docking station can have varying thickness as shown in FIG. 2D. For example, the wider terminal portions can be a thicker wall compared to the narrower intermediate portion. A docking station having a shape that resembles the docking station shown in FIG. 2D can be well-adapted for placement in the mitral position. Its external contour, for example, can conform to the space between the left ventricle and the left atrium, while its internal contour can allow the stable positioning of the valve frame to be placed therein. In some embodiments, the terminal portions (e.g., the first cylindrical portion and the second cylindrical portion in FIGS. 2A and 2B) of the docking station can have the same or a different diameter, and can be absent in some embodiments as shown in FIG. 2C.
In some embodiments, the docking station can be made of a slotted tube or a series of interconnected wires that together form an expandable mesh or wire frame. In addition to the interstices of the mesh, the wire frame can include additional larger openings that represent openings native to the implantation site. For example, if the implantation site is at or near the aortic valve, the docking station can include one or more openings to allow fluid communication with the coronary ostia.
The docking station can be made of various materials that are compatible with placement in the body, that possess desirable material wear properties and/or that have a minimal risk of causing infection in the body of the patient. Examples of suitable materials include shape memory materials, stainless steel alloys, molybdenum alloys, pyrolitic carbon, and certain polymers. For example, the wire frame can be constructed from strips of a shape memory material. By way of example, the shape memory material can be nickel-titanium wire sold under the product name nitinol. The nickel-titanium wire, when properly manufactured, exhibits elastic properties that allow the wire to be manipulated (e.g., bent) by an operator and then returned to, substantially, the same shape the wire possessed prior to it being manipulated. The wire can return to substantially its original shape when the operator heats the wire or, alternatively, when the operator removes the forces applied to bend the wire.
Other than the French size advantage mentioned above, the two-component replacement heart valve apparatus also affords the additional benefit of allowing optimal sizing of the replacement heart valve to be implanted. After deployment, the docking station, whether self-expandable or balloon-expandable, can have a final diameter that is slightly different than what is originally anticipated, as tissue compliance cannot always be accurately predicted. When the docking station and the replacement heart valve are delivered in a one-step procedure, the replacement heart valve may turn out to be too big or too small. When the replacement heart valve is too big, leaflet redundancy results, which in turn can lead to premature degeneration of the leaflets. When the replacement heart valve is too small, it may not properly anchor within the docking station and can become embolic. A two-component system provides the medical practitioner an opportunity to determine the final diameter of the deployed docking station and select a replacement heart valve of an optimal dimension. Accordingly, in some embodiments, the docking station can include one or more radiopaque markers or other visualization means to allow visual determination of its deployed dimension.
To allow the docking station to be implanted in the same luminal space as the native valve and to prevent free regurgitation, the docking station can include a diaphragm. Referring to FIGS. 3A-C, the diaphragm 38 is adapted to open and close in response to differential pressures on either of its sides. FIG. 3A shows an implanted docking station in which the diaphragm 38 is in the close position and provides a barrier to the back flow of blood (in the direction of the arrow). FIGS. 3B and 3C show an implanted docking station in which the diaphragm 38 is in the open position, allowing blood to flow through the docking station.
The diaphragm can be attached to the docking station by various means, for example, by suturing, adhesives, welding, crimping, insert molding, and the like. The diaphragm can be attached at various positions within the lumen of the docking station. For example, and as shown in FIGS. 3B and 3C, the diaphragm 38 can be attached within the intermediate portion of the docking station, within the tapered portion of the docking station, or within one of the terminal portions of the docking station (not shown). By way of further example, and for application in the aortic position, the diaphragm can be attached just below the openings (provided for the coronary ostia) of the docking station.
Referring to FIGS. 4A-4I, the diaphragm 38 can be a unitary piece of material or can include a plurality of leaflets 39. With continued reference to FIGS. 4A-4I, the diaphragm 38 can optionally include one or more slits (FIGS. 4A, 4C, 4F and 4G) and/or perforations (FIGS. 4B, 4D, 4E and 4G). For example, and referring to FIG. 4F, the membrane 38 can include two perpendicular slits, giving rise to four sections or leaflets 39. The slits can converge at the center of the diaphragm or at some other point on the diaphragm, and provide an opening for blood to flow through. The diaphragm can have one or more perforations in place of or in addition to the slit(s). The diaphragm can also include an outer reinforcement ring 37 (FIGS. 4G-4I) that can help secure the diaphragm to the docking station and provide enhanced structural integrity to the diaphragm. In some embodiments, the diaphragm can include a plurality of leaflets. The leaflets can extend circumferentially and can be overlapping or non-overlapping. For example, as shown in FIGS. 4A-4C and 4E-4I, the diaphragm can include two, three, four, five or more leaflets. Referring to FIGS. 4B and 4C, the leaflets can have a substantially triangular shape, the tips of which can converge at the concentric point of the diaphragm. In some embodiments and referring to FIGS. 4H and 4I, the leaflets can be substantially semicircular, and can be of the same size or different sizes. As shown in FIGS. 4B, 4D and 4E, the diaphragm can include a perforation or opening in the center of the diaphragm, off-center (not shown), or extending partially along its diameter. In other embodiments (not shown), the leaflets of the diaphragm can be in a curved or spiral-like overlapping configuration, resembling an iris diaphragm found in a camera. Other designs and configurations are within the scope of the present teachings.
The diaphragm can be made of various biocompatible materials. The diaphragm can be made of a biological membrane (e.g., human, ovine, porcine, bovine valve leaflets, pericardium, intestinal lining, or covering tissue, etc.), a bio-engineered material, or a synthetic material (e.g., polymers such as polyethylene, PTFE). In some embodiments, the biological or synthetic material or membrane can be supported by wires made of, for example, nitinol. The diaphragm also can be a wire mesh including flexible metallic struts made of nitinol or other metals or alloys.
Because the diaphragm is designed to function for a limited period of time (the time between the deployment of the docking station and the deployment of the valve assembly can be as short as less than a minute to as long as a few days), the mechanical requirements of the diaphragm are much less demanding than a typical replacement heart valve. For example, the materials used to make the diaphragm can be thinner and have less structural integrity than a more permanent replacement heart valve, which helps to retain the French size advantage of the original two-component replacement heart valve system. In certain embodiments, the diaphragm, in addition to or instead of providing an open and close position, can act as a barrier that can help control the extent of regurgitation by absorbing a certain amount of blood or slowing down blood flow. In these embodiments, the diaphragm can be made of an absorbing material such as various polymeric foams.
Replacement heart valves that can be used in connection with the aforedescribed docking station and diaphragm include various transcathether replacement heart valves known in the art. For example, and referring to FIGS. 5A and 5B, the replacement heart valve can include a valve frame 40 made of a shape memory material. The valve frame 40 can define a generally cylindrical body that is constructed from a mesh 42. The mesh 42 can be constructed from wires or strips of a shape memory material. The valve frame 40 also can have three valve members 44 a, 44 b and 44 c. The valve members 44 a, 44 b and 44 c can have a free end 48 a, 48 b and 48 c, respectively. The valve frame 40 could, alternatively, be any geometric shape (e.g., cylindrical, conical, spherical or barrel-like) that is compatible with the placement of the valve frame 40 within a docking station, such as the docking station 30 of FIG. 1B.
As shown in FIGS. 6A and 6B, the valve frame 40 can be deployed within the lumen 36 of the docking station 30. The valve frame 40 and the docking station 30 are hereinbelow referred to as the valve assembly 50 collectively. The valve frame 40 can be manufactured to ensure that the valve frame 40 can maintain a desired (e.g., fixed) placement with respect to the docking station 30 when the valve frame 40 and the docking station 30 are located within the heart of a patient and subjected to the flow of blood through the valve assembly 50.
Referring now to FIGS. 6C and 6D, the valve members 44 a, 44 b and 44 c can be coated, typically, with a cover material 56 (e.g., a biocompatible material, such as, silicon rubber or bovine, porcine or human tissue that is chemically treated to minimize the likelihood of rejection by the patient's immune system). The coated valve members can be capable of functioning similarly to the three cusps of the aortic valve, for example. The cover material can be a bio-engineered material that is capable of being applied to the valve members. The cover material can be applied to the valve frame prior to deployment of the valve frame into the body. Again referring to FIGS. 6C and 6D, the cover material 56 can have three free ends 46 a, 46 b and 46 c corresponding to valve members 44 a, 44 b and 44 c, respectively. The free ends also are herein referred to as leaflets.
With continued reference to FIGS. 6C and 6D, after placement of the valve frame within the docking station (located within the body), the cover material 56 applied to the valve members 44 a, 44 b and 44 c is capable of, generally, obstructing the flow of blood in the negative direction along the X-axis. The free ends 46 a, 46 b and 46 c move away from the inner wall 34 of the docking station 30, thereby limiting the flow of blood in the negative direction along the X-axis. However, referring now to FIGS. 6E and 6F, as blood flows in the positive direction along the X-axis, the free ends 46 a, 46 b and 46 c of the cover material 56 move towards the inner wall 34 of the docking station 30. The free ends 46 a, 46 b and 46 c, thereby permit the flow of blood through the valve assembly 50. In this manner, the valve assembly approximates the functioning of a natural heart valve of the body by allowing blood to flow in the positive direction along the X-axis.
FIG. 7 shows another embodiment of a valve frame that can be used with the docking station and diaphragm described above. The valve frame 340 includes a substantially cylindrical body portion 341, a plurality of valve attachment pairs 346, and a plurality of standoffs 350 attached to one or more exterior serpentine wire rings 353. In some embodiments, and as shown in FIG. 12, the plurality of standoffs 350 and the one or more exterior serpentine wire rings 353 are absent.
As shown, the substantially cylindrical body portion 341 of the valve frame 340 can be constructed of a plurality of serpentine curved wires 352. Each of the vertices 356 of the serpentine curves of a first wire 352 can be attached at the vertices 356 to each of the vertices of the serpentine curves of an adjacent wire 352. In one embodiment, the wires can be constructed of nitinol. Again the substantially cylindrical body portion 341 can be expandable between a first compressed state (not shown) and a second expanded state (shown). It should be noted that when the terms “vertex” or “trough” are used, the convention is that the term “trough” is a bend in the wire that points in the direction of blood flow (i.e., in the positive direction of X shown in FIG. 8) and a “vertex” is a bend that points in a direction opposite blood flow (i.e., in the negative direction of X shown in FIG. 8.
At one end of the cylindrical body 341 of the valve frame 340 are three sets of valve attachment pairs 346 for attaching valve leaflets 390. Each valve attachment pair 346 can include an inner curved support structure 358 and an outer curved support structure 360. Each curved support structure 358, 360 can be attached either to a vertex 362, 364 (respectively as shown in FIG. 7) or to a trough 372 and vertex 370 (respectively as shown in FIG. 8). In some embodiments (as shown in FIGS. 8 and 15), the space S between the inner curved support structure 358 and the outer curved support structure 360 can be constant. The space S, for example, can be in the range of about 2-3 mm. The inner curved support structure 358 and the outer curved support structure 360, as well as the space S therebetween, can be substantially parabolic in shape (as shown in FIG. 8) or can resemble a pocket, i.e., a partial rectangle with rounded corners (as shown in FIG. 12).
By placing the attachment of the outer 360 and inner 358 curved support structures to the body 341 of the valve frame 340, at adjacent vertices 370 and troughs 372, the distance between the inner 358 and outer 360 curved support structures can be substantially assured. As a result, the movement of the valve leaflets 390 does not cause the curved support structures 358, 360 to touch, thereby preventing damage to the leaflets 390.
In some embodiments, the inner curved support structure 358 and the outer curved support structure 360 can each include one piece of wire only (shown in FIG. 8). In other embodiments, the inner curved support structure 358 can have one piece of wire, while the outer curved support structure 360 can have two or more pieces of wire (shown in FIG. 12). It is preferred that the two or more pieces of wire of the outer curved support structure 360 are spaced as closely as possible but still permit passage of the chosen cover material 396 (shown in FIGS. 13 and 14). For example, the cover material can have a thickness of 0.4 mm to about 1.0 mm, and the space between the wires of the outer curved support structure can be within the range of about 0.5 mm to about 1.0 mm.
More details of the leaflet 390 are shown in FIG. 10. With reference to FIGS. 9, 10, 11, 13 and 14, a leaflet 390 can attached to each valve attachment pair 346. Each leaflet 390 has a leaflet body 396 and a plurality of leaflet projections 392. When attached to the valve frame 340, the leaflet body 396 is located within the lumen of the valve frame 340.
Referring to FIG. 11, the leaflet 390 can be positioned such that the portion of the leaflet body 396 nearest the projections 392 is pulled over the outer curved support structure 360 and the leaflet projections 392 are curved over the inner curved support structure 358. Each leaflet projection 392 can be attached by sutures 394 to itself. This anchors the leaflet projections 392 to the inner curved support structure 358 and permits the leaflet body 396 to be secured and maintain its shape within the lumen of the valve frame 340. This configuration can prevent the sutures 394 from being exposed to blood passing through the valve and can provide free motion of the leaflet body without any contact to prosthetic materials thereby preventing damage to the leaflet.
In the embodiment shown in FIG. 14, the two wires of the outer curved support structure 360 are placed very close to each other. Similar to the embodiment shown in FIG. 11, the leaflet 390 is positioned such that the portion of the leaflet body 396 nearest the projections 392 is pulled over the outermost wire of the outer curved support structure 360. Each of the leaflet projections 392 then passes through the space between the two wires of the outer curved support structure 360. Because the space between these two wires is designed to barely allow passage of the cover material 396, displacement of the leaflet between the docking station and the valve frame is minimized, in addition to the other advantages described in accordance with the embodiment shown in FIG. 11. Each of the leaflet projections 392 then wraps over the inner curved support structure 358 and is attached by sutures 394 to itself as in the other embodiment.
FIG. 15 depicts a similar valve frame but one in which the inner 358 and outer 360 curved support structures are attached to the same location 404 on vertices of wire 352 of the cylindrical body 352. Additionally, a plurality of standoffs 350 hold one or more exterior serpentine rings 353 at a distance away from the outer curved support structure 360 to provide extra support to the valve frame 340. At several locations on the exterior serpentine ring(s) 353 are located platinum markers 400. In some embodiments (shown) platinum wire is wrapped about the exterior serpentine ring(s) 353 in several locations. These locations then serve as radiopaque markers 400 to help position the valve frame 340 within the docking station 330. In other embodiments, the platinum markers are also positioned on the opposite end of the valve frame so that both ends of the valve frame 340 can be seen clearly under fluoroscopy as the valve frame 340 is positioned within the docking station 330. Each standoff 350 can be sufficiently long so that when the valve frame 340 is compressed to fit within a catheter, the leaflet 396 which is turned over the outer support structure 360 does not contact the exterior serpentine ring 353 thereby potentially causing damage to the leaflet 390. Similar platinum markers can be positioned on one or both ends of any of the valve frames described hereinabove, including the valve frames shown in FIGS. 8 and 12.
With reference to FIGS. 16A-16D, general method steps associated with the implantation of a transcatheter heart valve prosthesis according to the present teachings are described. By way of example, the method steps relate to implantation of the prosthesis in the aortic position; however, implantation of the prosthesis in other anatomical positions, for example, at the pulmonary valve position, is within the scope of the present teachings.
Referring to FIG. 16A, an introducing catheter 61 is delivered via a femoral vessel by means of a guidewire 62 to the ascending aorta 68 at a position distal to the native aortic valve (away from the left ventricle). The introducing catheter 61 has an inner wall 69 that defines a lumen 64 through which the guidewire 62 is passed. The introducing catheter 61 has an opening 66 out of which the guidewire 62 is extended.
With reference also to FIG. 16B, a docking station/balloon combination 71 is inserted into the introducing catheter 61 and is guided to the ascending aorta 68 using the guidewire 62. The combination 71 is then deployed from the confines of the introducing catheter 61 and at least a portion of the docking station is positioned proximal to the native aortic valve 63. The docking station/balloon combination 71 can include a balloon 73 located within a lumen 75 of the docking station 77. In some embodiments, the docking station/balloon combination 71 can be positioned within the introducing catheter 61 prior to inserting the introducing catheter 61 into the anatomical lumen 65. In other embodiments, the docking station/balloon combination 71 can be inserted into the introducing catheter 61 after the opening 66 of the introducing catheter 61 has been located at the ascending aorta. As shown in FIG. 16B, the docking station/balloon combination is ready to be deployed in the same luminal space as the native aortic valve. The balloon of the deployed docking station/balloon combination is then inflated, thereby expanding the docking station to a predetermined configuration and size. The balloon is quickly deflated and withdrawn.
With reference to FIG. 16C, the deployed docking station 77 pushes the native aortic valve 63 against the wall of the aorta. As previously mentioned, such coverage and immobilization of the native heart valve typically will result in free regurgitation; however, due to the presence of the diaphragm 78 attached to the docking station, a controlled mechanism of blood flow is provided, thereby allowing the patient's heart to stabilize prior to the introduction of the more permanent replacement heart valve.
At this point, the medical practitioner, using fluoroscopy, can determine the diameter of the deployed docking station more precisely and select a valve frame of an optimal size. Once an appropriate valve frame is selected, it is compressed and inserted into the introducing catheter and the valve frame is guided to the catheter orifice and deployed into the lumen of the expanded docking station. In some embodiments, the valve frame can be deployed in or near the position at which the diaphragm is attached to the docking station.
Referring to FIG. 16D, the valve frame 91 is deployed about the position at which the diaphragm 78 is attached within the lumen of the docking station 77. For example, the proximal portion (i.e., the portion having the valve members) of the valve frame can be positioned below where the diaphragm is attached to the docking station, while the distal portion of the valve frame can be positioned above where the diaphragm is attached. The diaphragm is pushed against the inner wall of the docking station and helps to seal any space that may exist between the docking station 77 and the valve frame 91. An additional benefit of the heart valve prosthesis of the present teachings therefore includes the provision of a sealing mechanism between the docking station and the valve frame, hence preventing any paravalvar leakage despite the fact that the valve frame 91 is adapted to expand and assume substantially the same size and shape as the lumen 75 of the expanded docking station 77 upon deployment. The introducing catheter can now be removed from the patient's body.
To further illustrate, the prosthesis of the present teachings can be implanted in the mitral position, for example, by generally following the steps described above. In particular, an introducing catheter and the prosthesis can be delivered through a femoral venous sheath, and the prosthesis can then be positioned in the left atrium and ventricle by making a hole in the atrial septum.
FIG. 17A is a side cross-section view of a deployed docking station 77 with an attached diaphragm 78 within its lumen. A deployed replacement heart valve 91 (shown as a simplified block), interchangeably referred hereinbelow as a permanent valve, is positioned just above the attachment point of the diaphragm. As shown, the leaflets of the diaphragm are pushed against the inner wall of the docking station, similar to the way the deployed docking station pushes the cusps of the aortic valve against the wall of the aorta in FIG. 16C.
FIG. 17B shows a cross-sectional view of the heart valve prosthesis of FIG. 17A along the line C-C′. The permanent valve 91 can include a plurality of leaflets 79 and one or more struts 90 that are similar to the standoffs 350 of valve frame 340 (FIGS. 7-9). As shown, the diaphragm is compressed between the docking station 77 and the permanent valve 91. FIG. 17C is an expanded view of the circled portion of FIG. 17A, which shows the potential space 92 between the docking station 77 and the permanent valve 91 more clearly.
FIG. 18A is a side cross-sectional view of another embodiment of a deployed docking station 77 with an attached diaphragm 78 within its lumen. A deployed replacement heart valve 91 (shown without detail for simplification) is positioned within the narrower intermediate portion of the docking station to allow stable anchoring. Again, the leaflets of the diaphragm are pushed against the inner wall of the docking station and can be compressed between the potential space between the docking station and the replacement heart valve to help prevent or reduce paravalvar leakage (FIG. 18B).
FIGS. 19A-C show how the diaphragm can be compressed by the deployed permanent valve, thereby being rendered non-functional and non-obstructive. In some embodiments and referring to FIG. 19A, the diaphragm 78 can be compressed by the struts 90 or standoffs of the permanent valve 91. In other embodiments and referring to FIGS. 19B and 19C, the diaphragm 78 can be compressed by one or more cylindrical portions of the permanent valve 90, for example, the substantially cylindrical body portion 341 and the exterior serpentine wire ring 353 of the valve frame 340 (FIG. 7). As shown in FIGS. 19A-C, potential space 92 can be found between the leaflets of the permanent valve, between the docking station and the permanent valve, and between the docking station and the native valve (not shown). The diaphragm pressed against the inner wall of the docking station by the deployed permanent valve can serve a secondary function of preventing paravalvar leakage due to such potential space, particularly when the diaphragm is composed of a bio-absorbent material or a material that is otherwise impermeable to blood as described in certain embodiments above. for example, by expanding to fill up the space.
Variations, modifications, and other implementations of what is described herein will occur to those of ordinary skill in the art without departing from the spirit and the essential characteristics of the present teachings. Accordingly, the scope of the invention is to be defined not by the preceding illustrative description but instead by the following claims, and all changes that come within the meaning and range of equivalency of the claims are intended to be embraced therein.

Claims (19)

1. A heart valve prosthesis comprising a docking station and a replacement heart valve, wherein:
the docking station comprises
a wire frame defining a lumen, and
a diaphragm positioned within the lumen and attached to the wire frame of the docking station prior to deployment, wherein the diaphragm is thinner and has less structural integrity than the replacement heart valve, and is adapted to have an open position and a closed position, and
the replacement heart valve comprises a valve frame for positioning within the lumen of the docking station, wherein the valve frame of the replacement heart valve comprises a substantially cylindrical body defining a lumen and a plurality of valve members attached to the substantially cylindrical body, and each of the valve members comprises one or more curved wires and a leaflet.
2. The heart valve prosthesis of claim 1, wherein the docking station is self-expandable.
3. The heart valve prosthesis of claim 1, wherein the docking station is balloon-expandable.
4. The heart valve prosthesis of claim 1, wherein the wire frame of the docking station comprises one or more openings.
5. The heart valve prosthesis of claim 1 comprising a radiopaque marker on the wire frame of the docking station.
6. The heart valve prosthesis of claim 1, wherein the diaphragm comprises a biocompatible membrane.
7. The heart valve prosthesis of claim 1, wherein the diaphragm comprises one or more slits.
8. The heart valve prosthesis of claim 1, wherein the diaphragm comprises a plurality of leaflets.
9. The heart valve prosthesis of claim 8, wherein the leaflets of the diaphragm are supported by one or more wires.
10. The heart valve prosthesis of claim 1, wherein the diaphragm comprises one or more perforations.
11. The heart valve prosthesis of claim 1, wherein the diaphragm is attached to the wire frame of the docking station by sutures.
12. The heart valve prosthesis of claim 1, wherein the diaphragm is attached to the wire frame of the docking station by adhesives.
13. The heart valve prosthesis of claim 1, wherein the wire frame of the docking station comprises a cylindrical portion and a bulbous portion, the diaphragm being attached to the bulbous portion of the wire frame.
14. The heart valve prosthesis of claim 1, wherein the one or more curved wires of each of the valve members of the replacement heart valve comprises an inner curved wire support structure and an outer curved wire support structure.
15. The heart valve prosthesis of claim 14, wherein the leaflet of each of the valve members of the replacement heart valve comprises a leaflet body and one or more leaflet projections.
16. The heart valve prosthesis of claim 15, wherein the one or more leaflet projections are attached to a respective inner curved support structure and the leaflet body extends over a respective outer curved support structure, so as to position the leaflet body within the lumen of the valve frame of the replacement heart valve.
17. A method of delivering the heart valve prosthesis of claim 1 to an anatomical site, the method comprising the steps of:
introducing the docking station into a heart through a catheter
deploying the docking station;
introducing the replacement heart valve into the lumen of the docking station through a catheter; and
deploying the replacement heart valve within the lumen of the docking station so that the diaphragm is forced into the open position and leaflets of the diaphragm are pressed between the wire frame of the docking station and the valve members of the replacement heart valve.
18. The method of claim 17 further comprising determining a diameter of the deployed docking station using fluoroscopy.
19. The method of claim 18, wherein the replacement heart valve has a diameter that approximates the diameter of the deployed docking station.
US12/299,746 2006-05-05 2007-05-03 Transcatheter heart valve prostheses Expired - Fee Related US8070800B2 (en)

Priority Applications (1)

Application Number Priority Date Filing Date Title
US12/299,746 US8070800B2 (en) 2006-05-05 2007-05-03 Transcatheter heart valve prostheses

Applications Claiming Priority (3)

Application Number Priority Date Filing Date Title
US79841806P 2006-05-05 2006-05-05
PCT/US2007/010768 WO2007130537A1 (en) 2006-05-05 2007-05-03 Transcatheter heart valve prostheses
US12/299,746 US8070800B2 (en) 2006-05-05 2007-05-03 Transcatheter heart valve prostheses

Publications (2)

Publication Number Publication Date
US20090222082A1 US20090222082A1 (en) 2009-09-03
US8070800B2 true US8070800B2 (en) 2011-12-06

Family

ID=38535425

Family Applications (1)

Application Number Title Priority Date Filing Date
US12/299,746 Expired - Fee Related US8070800B2 (en) 2006-05-05 2007-05-03 Transcatheter heart valve prostheses

Country Status (5)

Country Link
US (1) US8070800B2 (en)
EP (1) EP2015709B1 (en)
JP (1) JP2009536074A (en)
CA (1) CA2651281A1 (en)
WO (1) WO2007130537A1 (en)

Cited By (151)

* Cited by examiner, † Cited by third party
Publication number Priority date Publication date Assignee Title
US20130131788A1 (en) * 2008-09-29 2013-05-23 Cardiaq Valve Technologies, Inc. Body cavity prosthesis
US8628571B1 (en) 2012-11-13 2014-01-14 Mitraltech Ltd. Percutaneously-deliverable mechanical valve
US8852272B2 (en) 2011-08-05 2014-10-07 Mitraltech Ltd. Techniques for percutaneous mitral valve replacement and sealing
US8992604B2 (en) 2010-07-21 2015-03-31 Mitraltech Ltd. Techniques for percutaneous mitral valve replacement and sealing
US9017399B2 (en) 2010-07-21 2015-04-28 Mitraltech Ltd. Techniques for percutaneous mitral valve replacement and sealing
WO2015107226A1 (en) * 2014-01-20 2015-07-23 Mitricares Heart valve anchoring device
US20150374484A1 (en) * 2014-06-26 2015-12-31 Boston Scientific Scimed, Inc. Medical devices and methods to prevent bile reflux after bariatric procedures
EP2793751A4 (en) * 2011-12-21 2016-01-13 Univ Pennsylvania PLATFORMS FOR REPLACING THE MITRAL VALVE
US9286673B2 (en) 2012-10-05 2016-03-15 Volcano Corporation Systems for correcting distortions in a medical image and methods of use thereof
US9292918B2 (en) 2012-10-05 2016-03-22 Volcano Corporation Methods and systems for transforming luminal images
US9301687B2 (en) 2013-03-13 2016-04-05 Volcano Corporation System and method for OCT depth calibration
US9307926B2 (en) 2012-10-05 2016-04-12 Volcano Corporation Automatic stent detection
US9324141B2 (en) 2012-10-05 2016-04-26 Volcano Corporation Removal of A-scan streaking artifact
USD755384S1 (en) 2014-03-05 2016-05-03 Edwards Lifesciences Cardiaq Llc Stent
US9333073B2 (en) 2009-04-15 2016-05-10 Edwards Lifesciences Cardiaq Llc Vascular implant and delivery method
US9360630B2 (en) 2011-08-31 2016-06-07 Volcano Corporation Optical-electrical rotary joint and methods of use
US9367965B2 (en) 2012-10-05 2016-06-14 Volcano Corporation Systems and methods for generating images of tissue
US9383263B2 (en) 2012-12-21 2016-07-05 Volcano Corporation Systems and methods for narrowing a wavelength emission of light
US9433514B2 (en) 2005-11-10 2016-09-06 Edwards Lifesciences Cardiaq Llc Method of securing a prosthesis
US9478940B2 (en) 2012-10-05 2016-10-25 Volcano Corporation Systems and methods for amplifying light
US9480560B2 (en) 2009-09-29 2016-11-01 Edwards Lifesciences Cardiaq Llc Method of securing an intralumenal frame assembly
US9486143B2 (en) 2012-12-21 2016-11-08 Volcano Corporation Intravascular forward imaging device
US9554897B2 (en) 2011-04-28 2017-01-31 Neovasc Tiara Inc. Methods and apparatus for engaging a valve prosthesis with tissue
US9572665B2 (en) 2013-04-04 2017-02-21 Neovasc Tiara Inc. Methods and apparatus for delivering a prosthetic valve to a beating heart
US9596993B2 (en) 2007-07-12 2017-03-21 Volcano Corporation Automatic calibration systems and methods of use
US9597183B2 (en) 2008-10-01 2017-03-21 Edwards Lifesciences Cardiaq Llc Delivery system for vascular implant
US9612105B2 (en) 2012-12-21 2017-04-04 Volcano Corporation Polarization sensitive optical coherence tomography system
US9622706B2 (en) 2007-07-12 2017-04-18 Volcano Corporation Catheter for in vivo imaging
US9668859B2 (en) 2011-08-05 2017-06-06 California Institute Of Technology Percutaneous heart valve delivery systems
US9681952B2 (en) 2013-01-24 2017-06-20 Mitraltech Ltd. Anchoring of prosthetic valve supports
US9681951B2 (en) 2013-03-14 2017-06-20 Edwards Lifesciences Cardiaq Llc Prosthesis with outer skirt and anchors
US9709379B2 (en) 2012-12-20 2017-07-18 Volcano Corporation Optical coherence tomography system that is reconfigurable between different imaging modes
US9713529B2 (en) 2011-04-28 2017-07-25 Neovasc Tiara Inc. Sequentially deployed transcatheter mitral valve prosthesis
US9730613B2 (en) 2012-12-20 2017-08-15 Volcano Corporation Locating intravascular images
US9730791B2 (en) 2013-03-14 2017-08-15 Edwards Lifesciences Cardiaq Llc Prosthesis for atraumatically grasping intralumenal tissue and methods of delivery
US9744037B2 (en) 2013-03-15 2017-08-29 California Institute Of Technology Handle mechanism and functionality for repositioning and retrieval of transcatheter heart valves
US9763657B2 (en) 2010-07-21 2017-09-19 Mitraltech Ltd. Techniques for percutaneous mitral valve replacement and sealing
US9770329B2 (en) 2010-05-05 2017-09-26 Neovasc Tiara Inc. Transcatheter mitral valve prosthesis
US9770172B2 (en) 2013-03-07 2017-09-26 Volcano Corporation Multimodal segmentation in intravascular images
USD800908S1 (en) 2016-08-10 2017-10-24 Mitraltech Ltd. Prosthetic valve element
US9858668B2 (en) 2012-10-05 2018-01-02 Volcano Corporation Guidewire artifact removal in images
US9867530B2 (en) 2006-08-14 2018-01-16 Volcano Corporation Telescopic side port catheter device with imaging system and method for accessing side branch occlusions
USD815744S1 (en) 2016-04-28 2018-04-17 Edwards Lifesciences Cardiaq Llc Valve frame for a delivery system
US9949827B2 (en) 2009-09-29 2018-04-24 Edwards Lifesciences Cardiaq Llc Replacement heart valves, delivery devices and methods
US9974651B2 (en) 2015-02-05 2018-05-22 Mitral Tech Ltd. Prosthetic valve with axially-sliding frames
US10004599B2 (en) 2014-02-21 2018-06-26 Edwards Lifesciences Cardiaq Llc Prosthesis, delivery device and methods of use
US10010414B2 (en) 2014-06-06 2018-07-03 Edwards Lifesciences Corporation Prosthetic valve for replacing a mitral valve
US10016275B2 (en) 2012-05-30 2018-07-10 Neovasc Tiara Inc. Methods and apparatus for loading a prosthesis onto a delivery system
US10034747B2 (en) 2015-08-27 2018-07-31 Medtronic Vascular, Inc. Prosthetic valve system having a docking component and a prosthetic valve component
US10058284B2 (en) 2012-12-21 2018-08-28 Volcano Corporation Simultaneous imaging, monitoring, and therapy
US10070827B2 (en) 2012-10-05 2018-09-11 Volcano Corporation Automatic image playback
US10092400B2 (en) 2015-06-23 2018-10-09 Edwards Lifesciences Cardiaq Llc Systems and methods for anchoring and sealing a prosthetic heart valve
US10117744B2 (en) 2015-08-26 2018-11-06 Edwards Lifesciences Cardiaq Llc Replacement heart valves and methods of delivery
US10166003B2 (en) 2012-12-21 2019-01-01 Volcano Corporation Ultrasound imaging with variable line density
US10179044B2 (en) 2014-05-19 2019-01-15 Edwards Lifesciences Cardiaq Llc Replacement mitral valve
US10191220B2 (en) 2012-12-21 2019-01-29 Volcano Corporation Power-efficient optical circuit
USD841812S1 (en) 2017-08-03 2019-02-26 Cardiovalve Ltd. Prosthetic heart valve element
US10219887B2 (en) 2013-03-14 2019-03-05 Volcano Corporation Filters with echogenic characteristics
US10219780B2 (en) 2007-07-12 2019-03-05 Volcano Corporation OCT-IVUS catheter for concurrent luminal imaging
US10226597B2 (en) 2013-03-07 2019-03-12 Volcano Corporation Guidewire with centering mechanism
US10226333B2 (en) 2013-10-15 2019-03-12 Cedars-Sinai Medical Center Anatomically-orientated and self-positioning transcatheter mitral valve
US10226335B2 (en) 2015-06-22 2019-03-12 Edwards Lifesciences Cardiaq Llc Actively controllable heart valve implant and method of controlling same
US10238367B2 (en) 2012-12-13 2019-03-26 Volcano Corporation Devices, systems, and methods for targeted cannulation
US10245143B2 (en) 2011-08-05 2019-04-02 Cardiovalve Ltd. Techniques for percutaneous mitral valve replacement and sealing
US10292677B2 (en) 2013-03-14 2019-05-21 Volcano Corporation Endoluminal filter having enhanced echogenic properties
US10332228B2 (en) 2012-12-21 2019-06-25 Volcano Corporation System and method for graphical processing of medical data
US10350066B2 (en) 2015-08-28 2019-07-16 Edwards Lifesciences Cardiaq Llc Steerable delivery system for replacement mitral valve and methods of use
US10350062B2 (en) 2016-07-21 2019-07-16 Edwards Lifesciences Corporation Replacement heart valve prosthesis
US10350065B2 (en) 2006-07-28 2019-07-16 Edwards Lifesciences Cardiaq Llc Percutaneous valve prosthesis and system and method for implanting the same
US10376363B2 (en) 2015-04-30 2019-08-13 Edwards Lifesciences Cardiaq Llc Replacement mitral valve, delivery system for replacement mitral valve and methods of use
US10376361B2 (en) 2011-08-05 2019-08-13 Cardiovalve Ltd. Techniques for percutaneous mitral valve replacement and sealing
US10390952B2 (en) 2015-02-05 2019-08-27 Cardiovalve Ltd. Prosthetic valve with flexible tissue anchor portions
US10413317B2 (en) 2012-12-21 2019-09-17 Volcano Corporation System and method for catheter steering and operation
US10420530B2 (en) 2012-12-21 2019-09-24 Volcano Corporation System and method for multipath processing of image signals
US10426590B2 (en) 2013-03-14 2019-10-01 Volcano Corporation Filters with echogenic characteristics
US10441416B2 (en) 2015-04-21 2019-10-15 Edwards Lifesciences Corporation Percutaneous mitral valve replacement device
US10485660B2 (en) 2010-06-21 2019-11-26 Edwards Lifesciences Cardiaq Llc Replacement heart valve
US10492908B2 (en) 2014-07-30 2019-12-03 Cardiovalve Ltd. Anchoring of a prosthetic valve
US10507301B2 (en) 2014-01-31 2019-12-17 Cedars-Sinai Medical Center Pigtail for optimal aortic valvular complex imaging and alignment
US10531866B2 (en) 2016-02-16 2020-01-14 Cardiovalve Ltd. Techniques for providing a replacement valve and transseptal communication
US10543078B2 (en) 2013-10-16 2020-01-28 Cedars-Sinai Medical Center Modular dis-assembly of transcatheter valve replacement devices and uses thereof
US10548726B2 (en) 2009-12-08 2020-02-04 Cardiovalve Ltd. Rotation-based anchoring of an implant
US10568586B2 (en) 2012-10-05 2020-02-25 Volcano Corporation Systems for indicating parameters in an imaging data set and methods of use
US10575948B2 (en) 2017-08-03 2020-03-03 Cardiovalve Ltd. Prosthetic heart valve
US10575951B2 (en) 2015-08-26 2020-03-03 Edwards Lifesciences Cardiaq Llc Delivery device and methods of use for transapical delivery of replacement mitral valve
US10583000B2 (en) 2013-03-14 2020-03-10 Edwards Lifesciences Cardiaq Llc Prosthesis for atraumatically grasping intralumenal tissue and methods of delivery
US10583002B2 (en) 2013-03-11 2020-03-10 Neovasc Tiara Inc. Prosthetic valve with anti-pivoting mechanism
US10588745B2 (en) 2016-06-20 2020-03-17 Medtronic Vascular, Inc. Modular valve prosthesis, delivery system, and method of delivering and deploying a modular valve prosthesis
US10595820B2 (en) 2012-12-20 2020-03-24 Philips Image Guided Therapy Corporation Smooth transition catheters
US10638939B2 (en) 2013-03-12 2020-05-05 Philips Image Guided Therapy Corporation Systems and methods for diagnosing coronary microvascular disease
US10639143B2 (en) 2016-08-26 2020-05-05 Edwards Lifesciences Corporation Multi-portion replacement heart valve prosthesis
US10646340B2 (en) 2016-08-19 2020-05-12 Edwards Lifesciences Corporation Steerable delivery system for replacement mitral valve
US10724082B2 (en) 2012-10-22 2020-07-28 Bio-Rad Laboratories, Inc. Methods for analyzing DNA
US10758207B2 (en) 2013-03-13 2020-09-01 Philips Image Guided Therapy Corporation Systems and methods for producing an image from a rotational intravascular ultrasound device
US10758348B2 (en) 2016-11-02 2020-09-01 Edwards Lifesciences Corporation Supra and sub-annular mitral valve delivery system
US10813757B2 (en) 2017-07-06 2020-10-27 Edwards Lifesciences Corporation Steerable rail delivery system
US10820989B2 (en) 2013-12-11 2020-11-03 Cedars-Sinai Medical Center Methods, devices and systems for transcatheter mitral valve replacement in a double-orifice mitral valve
US10856975B2 (en) 2016-08-10 2020-12-08 Cardiovalve Ltd. Prosthetic valve with concentric frames
US10869756B2 (en) 2015-03-12 2020-12-22 Cedars-Sinai Medical Center Devices, systems, and methods to optimize annular orientation of transcatheter valves
US10869681B2 (en) 2013-10-17 2020-12-22 Cedars-Sinai Medical Center Device to percutaneously treat heart valve embolization
US10888421B2 (en) 2017-09-19 2021-01-12 Cardiovalve Ltd. Prosthetic heart valve with pouch
US10939826B2 (en) 2012-12-20 2021-03-09 Philips Image Guided Therapy Corporation Aspirating and removing biological material
US10942022B2 (en) 2012-12-20 2021-03-09 Philips Image Guided Therapy Corporation Manual calibration of imaging system
US10993694B2 (en) 2012-12-21 2021-05-04 Philips Image Guided Therapy Corporation Rotational ultrasound imaging catheter with extended catheter body telescope
US11026591B2 (en) 2013-03-13 2021-06-08 Philips Image Guided Therapy Corporation Intravascular pressure sensor calibration
US11040140B2 (en) 2010-12-31 2021-06-22 Philips Image Guided Therapy Corporation Deep vein thrombosis therapeutic methods
US11051934B2 (en) 2018-02-28 2021-07-06 Edwards Lifesciences Corporation Prosthetic mitral valve with improved anchors and seal
US11109964B2 (en) 2010-03-10 2021-09-07 Cardiovalve Ltd. Axially-shortening prosthetic valve
US11141063B2 (en) 2010-12-23 2021-10-12 Philips Image Guided Therapy Corporation Integrated system architectures and methods of use
US11154313B2 (en) 2013-03-12 2021-10-26 The Volcano Corporation Vibrating guidewire torquer and methods of use
US11246704B2 (en) 2017-08-03 2022-02-15 Cardiovalve Ltd. Prosthetic heart valve
US11272845B2 (en) 2012-10-05 2022-03-15 Philips Image Guided Therapy Corporation System and method for instant and automatic border detection
US11291545B2 (en) 2011-08-05 2022-04-05 Cardiovalve Ltd. Implant for heart valve
US11382746B2 (en) 2017-12-13 2022-07-12 Cardiovalve Ltd. Prosthetic valve and delivery tool therefor
US11406498B2 (en) 2012-12-20 2022-08-09 Philips Image Guided Therapy Corporation Implant delivery system and implants
US11471282B2 (en) 2019-03-19 2022-10-18 Shifamed Holdings, Llc Prosthetic cardiac valve devices, systems, and methods
US11633277B2 (en) 2018-01-10 2023-04-25 Cardiovalve Ltd. Temperature-control during crimping of an implant
US11653910B2 (en) 2010-07-21 2023-05-23 Cardiovalve Ltd. Helical anchor implantation
US11666444B2 (en) 2017-08-03 2023-06-06 The Regents Of The University Of California Atrial cage for placement, securing and anchoring of atrioventricular valves
US11672657B2 (en) 2018-10-05 2023-06-13 Shifamed Holdings, Llc Prosthetic cardiac valve devices, systems, and methods
US11684474B2 (en) 2018-01-25 2023-06-27 Edwards Lifesciences Corporation Delivery system for aided replacement valve recapture and repositioning post-deployment
US11707355B2 (en) 2020-05-28 2023-07-25 Medtronic, Inc. Modular heart valve prosthesis
US11793633B2 (en) 2017-08-03 2023-10-24 Cardiovalve Ltd. Prosthetic heart valve
US11833034B2 (en) 2016-01-13 2023-12-05 Shifamed Holdings, Llc Prosthetic cardiac valve devices, systems, and methods
US12029646B2 (en) 2017-08-03 2024-07-09 Cardiovalve Ltd. Prosthetic heart valve
US12053371B2 (en) 2020-08-31 2024-08-06 Shifamed Holdings, Llc Prosthetic valve delivery system
US12053379B2 (en) 2016-08-01 2024-08-06 Cardiovalve Ltd. Minimally-invasive delivery systems
US12138160B2 (en) 2014-11-26 2024-11-12 Edwards Lifesciences Corporation Transcatheter prosthetic heart valve and delivery system
US12201477B2 (en) 2012-10-05 2025-01-21 Philips Image Guided Therapy Corporation Methods and systems for establishing parameters for three-dimensional imaging
US12201521B2 (en) 2021-03-22 2025-01-21 Shifamed Holdings, Llc Anchor position verification for prosthetic cardiac valve devices
US12290456B2 (en) 2018-08-21 2025-05-06 Shifamed Holdings, Llc Prosthetic cardiac valve devices, systems, and methods
US12295839B2 (en) 2019-04-23 2025-05-13 Edwards Lifesciences Corporation Motorized implant delivery system
US12295584B2 (en) 2015-03-20 2025-05-13 Edwards Lifesciences Corporation Systems and methods for delivering an implantable device
US12303385B2 (en) 2013-02-04 2025-05-20 Edwards Lifesciences Corporation Method of implanting a spacer body in a mitral valve
US12310853B2 (en) 2014-09-28 2025-05-27 Edwards Lifesciences Corporation Systems and methods for treating cardiac dysfunction
US12329635B2 (en) 2020-12-04 2025-06-17 Shifamed Holdings, Llc Flared prosthetic cardiac valve delivery devices and systems
US12336905B2 (en) 2018-02-15 2025-06-24 Tricares SAS Stent and replacement heart valve prosthesis with improved fixation features
US12343198B2 (en) 2013-03-14 2025-07-01 Philips Image Guided Therapy Corporation Delivery catheter having imaging capabilities
US12357459B2 (en) 2020-12-03 2025-07-15 Cardiovalve Ltd. Transluminal delivery system
US12364587B2 (en) 2020-12-18 2025-07-22 Edwards Lifesciences Corporation Storage jar assembly for a prosthetic heart valve
US12376961B2 (en) 2008-05-01 2025-08-05 Edwards Lifesciences Corporation Method of implanting a prosthetic heart valve assembly
US12403008B2 (en) 2018-10-19 2025-09-02 Shifamed Holdings, Llc Adjustable medical device
US12409031B2 (en) 2009-12-04 2025-09-09 Edwards Lifesciences Corporation Prosthetic valve having a multi-part frame
US12427016B2 (en) 2009-04-29 2025-09-30 Edwards Lifesciences Corporation Apparatus and method for replacing a diseased cardiac valve
US12447014B2 (en) 2019-04-12 2025-10-21 Edwards Lifesciences Corporation Valve with multi-part frame and associated resilient bridging features
US12458493B2 (en) 2017-09-19 2025-11-04 Cardiovalve Ltd. Prosthetic heart valve and delivery systems and methods
US12458497B2 (en) 2004-09-14 2025-11-04 Edwards Lifesciences Ag Method of implanting valve prosthesis having atrial anchoring
US12502276B2 (en) 2011-05-16 2025-12-23 Edwards Lifesciences Corporation Inversion delivery device and method for a prosthesis
US12533233B2 (en) 2021-10-27 2026-01-27 Edwards Lifesciences Corporation System and method for crimping and loading a prosthetic heart valve
US12544222B2 (en) 2019-02-04 2026-02-10 Edwards Lifesciences Corporation Guide wire apparatuses and methods
US12551207B2 (en) 2008-11-21 2026-02-17 Percutaneous Cardiovascular Solutions Pty Ltd Heart valve prosthesis and method

Families Citing this family (98)

* Cited by examiner, † Cited by third party
Publication number Priority date Publication date Assignee Title
US6006134A (en) 1998-04-30 1999-12-21 Medtronic, Inc. Method and device for electronically controlling the beating of a heart using venous electrical stimulation of nerve fibers
US7749245B2 (en) 2000-01-27 2010-07-06 Medtronic, Inc. Cardiac valve procedure methods and devices
AU2001273088A1 (en) 2000-06-30 2002-01-30 Viacor Incorporated Intravascular filter with debris entrapment mechanism
US7097659B2 (en) 2001-09-07 2006-08-29 Medtronic, Inc. Fixation band for affixing a prosthetic heart valve to tissue
US9579194B2 (en) 2003-10-06 2017-02-28 Medtronic ATS Medical, Inc. Anchoring structure with concave landing zone
US7470285B2 (en) * 2004-02-05 2008-12-30 Children's Medical Center Corp. Transcatheter delivery of a replacement heart valve
ITTO20040135A1 (en) 2004-03-03 2004-06-03 Sorin Biomedica Cardio Spa CARDIAC VALVE PROSTHESIS
EP2308425B2 (en) 2004-03-11 2023-10-18 Percutaneous Cardiovascular Solutions Pty Limited Percutaneous Heart Valve Prosthesis
DE102005003632A1 (en) 2005-01-20 2006-08-17 Fraunhofer-Gesellschaft zur Förderung der angewandten Forschung e.V. Catheter for the transvascular implantation of heart valve prostheses
ITTO20050074A1 (en) 2005-02-10 2006-08-11 Sorin Biomedica Cardio Srl CARDIAC VALVE PROSTHESIS
US7914569B2 (en) 2005-05-13 2011-03-29 Medtronics Corevalve Llc Heart valve prosthesis and methods of manufacture and use
US8075615B2 (en) 2006-03-28 2011-12-13 Medtronic, Inc. Prosthetic cardiac valve formed from pericardium material and methods of making same
US8876895B2 (en) 2006-09-19 2014-11-04 Medtronic Ventor Technologies Ltd. Valve fixation member having engagement arms
US8834564B2 (en) 2006-09-19 2014-09-16 Medtronic, Inc. Sinus-engaging valve fixation member
US11304800B2 (en) 2006-09-19 2022-04-19 Medtronic Ventor Technologies Ltd. Sinus-engaging valve fixation member
DK2083901T3 (en) 2006-10-16 2018-02-26 Medtronic Ventor Tech Ltd TRANSAPICAL DELIVERY SYSTEM WITH VENTRICULO-ARTERIAL OVERFLOW BYPASS
WO2008103295A2 (en) 2007-02-16 2008-08-28 Medtronic, Inc. Replacement prosthetic heart valves and methods of implantation
US7896915B2 (en) 2007-04-13 2011-03-01 Jenavalve Technology, Inc. Medical device for treating a heart valve insufficiency
US8403979B2 (en) 2007-05-17 2013-03-26 Cook Medical Technologies Llc Monocuspid prosthetic valve having a partial sinus
US8747458B2 (en) 2007-08-20 2014-06-10 Medtronic Ventor Technologies Ltd. Stent loading tool and method for use thereof
US10856970B2 (en) 2007-10-10 2020-12-08 Medtronic Ventor Technologies Ltd. Prosthetic heart valve for transfemoral delivery
US9848981B2 (en) 2007-10-12 2017-12-26 Mayo Foundation For Medical Education And Research Expandable valve prosthesis with sealing mechanism
US9089422B2 (en) 2008-01-24 2015-07-28 Medtronic, Inc. Markers for prosthetic heart valves
US9393115B2 (en) 2008-01-24 2016-07-19 Medtronic, Inc. Delivery systems and methods of implantation for prosthetic heart valves
US8157853B2 (en) 2008-01-24 2012-04-17 Medtronic, Inc. Delivery systems and methods of implantation for prosthetic heart valves
CA2714062A1 (en) * 2008-01-24 2009-07-30 Medtronic, Inc. Stents for prosthetic heart valves
US9149358B2 (en) 2008-01-24 2015-10-06 Medtronic, Inc. Delivery systems for prosthetic heart valves
ES2903231T3 (en) 2008-02-26 2022-03-31 Jenavalve Tech Inc Stent for positioning and anchoring a valve prosthesis at an implantation site in a patient's heart
US9044318B2 (en) 2008-02-26 2015-06-02 Jenavalve Technology Gmbh Stent for the positioning and anchoring of a valvular prosthesis
EP2262447B1 (en) 2008-02-28 2015-08-12 Medtronic, Inc. Prosthetic heart valve systems
US8313525B2 (en) 2008-03-18 2012-11-20 Medtronic Ventor Technologies, Ltd. Valve suturing and implantation procedures
US8430927B2 (en) 2008-04-08 2013-04-30 Medtronic, Inc. Multiple orifice implantable heart valve and methods of implantation
US8840661B2 (en) 2008-05-16 2014-09-23 Sorin Group Italia S.R.L. Atraumatic prosthetic heart valve prosthesis
EP4018967B1 (en) 2008-09-15 2025-09-03 Medtronic Ventor Technologies Ltd Prosthetic heart valve having identifiers for aiding in radiographic positioning
US8137398B2 (en) 2008-10-13 2012-03-20 Medtronic Ventor Technologies Ltd Prosthetic valve having tapered tip when compressed for delivery
US10166014B2 (en) 2008-11-21 2019-01-01 Percutaneous Cardiovascular Solutions Pty Ltd Heart valve prosthesis and method
EP2201911B1 (en) 2008-12-23 2015-09-30 Sorin Group Italia S.r.l. Expandable prosthetic valve having anchoring appendages
US9402720B2 (en) * 2009-01-12 2016-08-02 Valve Medical Ltd. Modular percutaneous valve structure and delivery method
AU2010218384B2 (en) 2009-02-27 2014-11-20 St. Jude Medical, Inc. Stent features for collapsible prosthetic heart valves
US8512397B2 (en) 2009-04-27 2013-08-20 Sorin Group Italia S.R.L. Prosthetic vascular conduit
US8808369B2 (en) 2009-10-05 2014-08-19 Mayo Foundation For Medical Education And Research Minimally invasive aortic valve replacement
DE102010008362A1 (en) * 2010-02-17 2011-08-18 Transcatheter Technologies GmbH, 93053 Medical implant which is expandable from a non-expanded state
US9226826B2 (en) 2010-02-24 2016-01-05 Medtronic, Inc. Transcatheter valve structure and methods for valve delivery
US9480557B2 (en) 2010-03-25 2016-11-01 Medtronic, Inc. Stents for prosthetic heart valves
US8652204B2 (en) 2010-04-01 2014-02-18 Medtronic, Inc. Transcatheter valve with torsion spring fixation and related systems and methods
US10512537B2 (en) * 2010-04-16 2019-12-24 Abiomed, Inc. Flow optimized polymeric heart valve
US9833314B2 (en) 2010-04-16 2017-12-05 Abiomed, Inc. Percutaneous valve deployment
US10856978B2 (en) 2010-05-20 2020-12-08 Jenavalve Technology, Inc. Catheter system
IT1400327B1 (en) 2010-05-21 2013-05-24 Sorin Biomedica Cardio Srl SUPPORT DEVICE FOR VALVULAR PROSTHESIS AND CORRESPONDING CORRESPONDENT.
EP2575681B1 (en) 2010-05-25 2022-06-22 JenaValve Technology, Inc. Prosthetic heart valve and transcatheter delivered endoprosthesis comprising a prosthetic heart valve and a stent
EP2611388B1 (en) 2010-09-01 2022-04-27 Medtronic Vascular Galway Prosthetic valve support structure
EP2486894B1 (en) 2011-02-14 2021-06-09 Sorin Group Italia S.r.l. Sutureless anchoring device for cardiac valve prostheses
EP2486893B1 (en) 2011-02-14 2017-07-05 Sorin Group Italia S.r.l. Sutureless anchoring device for cardiac valve prostheses
US11202704B2 (en) * 2011-10-19 2021-12-21 Twelve, Inc. Prosthetic heart valve devices, prosthetic mitral valves and associated systems and methods
JP6295204B2 (en) * 2011-12-23 2018-03-14 アビオメド インコーポレイテッド Heart valve prosthesis with an open stent
ES2523223T3 (en) 2011-12-29 2014-11-24 Sorin Group Italia S.R.L. A kit for the implantation of prosthetic vascular ducts
US9427315B2 (en) 2012-04-19 2016-08-30 Caisson Interventional, LLC Valve replacement systems and methods
US9011515B2 (en) 2012-04-19 2015-04-21 Caisson Interventional, LLC Heart valve assembly systems and methods
WO2014170870A2 (en) * 2013-04-19 2014-10-23 Strait Access Technologies Holdings (Pty) Ltd A prosthetic heart valve
EP2991586A1 (en) 2013-05-03 2016-03-09 Medtronic Inc. Valve delivery tool
US10524904B2 (en) * 2013-07-11 2020-01-07 Medtronic, Inc. Valve positioning device
WO2015028209A1 (en) 2013-08-30 2015-03-05 Jenavalve Technology Gmbh Radially collapsible frame for a prosthetic valve and method for manufacturing such a frame
US9050188B2 (en) 2013-10-23 2015-06-09 Caisson Interventional, LLC Methods and systems for heart valve therapy
US10646333B2 (en) 2013-10-24 2020-05-12 Medtronic, Inc. Two-piece valve prosthesis with anchor stent and valve component
EP3107495B2 (en) * 2014-02-18 2025-05-14 St. Jude Medical, Cardiology Division, Inc. Bowed runners and corresponding valve assemblies for paravalvular leak protection
US9974647B2 (en) 2014-06-12 2018-05-22 Caisson Interventional, LLC Two stage anchor and mitral valve assembly
US9750605B2 (en) 2014-10-23 2017-09-05 Caisson Interventional, LLC Systems and methods for heart valve therapy
US9750607B2 (en) 2014-10-23 2017-09-05 Caisson Interventional, LLC Systems and methods for heart valve therapy
US20160235525A1 (en) 2015-02-12 2016-08-18 Medtronic, Inc. Integrated valve assembly and method of delivering and deploying an integrated valve assembly
CN107405198B (en) 2015-03-20 2021-04-20 耶拿阀门科技股份有限公司 Heart valve prosthesis delivery system and method of delivering a heart valve prosthesis using an introducer sheath
US10709555B2 (en) 2015-05-01 2020-07-14 Jenavalve Technology, Inc. Device and method with reduced pacemaker rate in heart valve replacement
US20170056215A1 (en) 2015-09-01 2017-03-02 Medtronic, Inc. Stent assemblies including passages to provide blood flow to coronary arteries and methods of delivering and deploying such stent assemblies
CN108601645B (en) 2015-12-15 2021-02-26 内奥瓦斯克迪亚拉公司 Transseptal delivery system
WO2017117388A1 (en) 2015-12-30 2017-07-06 Caisson Interventional, LLC Systems and methods for heart valve therapy
DE112017000541T5 (en) 2016-01-29 2018-10-18 Neovasc Tiara Inc. FLAP PROSTHESIS FOR PREVENTING A FLOW OBSTRUCTION
US10363130B2 (en) * 2016-02-05 2019-07-30 Edwards Lifesciences Corporation Devices and systems for docking a heart valve
WO2017195125A1 (en) 2016-05-13 2017-11-16 Jenavalve Technology, Inc. Heart valve prosthesis delivery system and method for delivery of heart valve prosthesis with introducer sheath and loading system
ES2986575T3 (en) * 2016-05-16 2024-11-12 Valve Medical Ltd Temporary reversing valve sheath
US11096781B2 (en) 2016-08-01 2021-08-24 Edwards Lifesciences Corporation Prosthetic heart valve
CA3042588A1 (en) 2016-11-21 2018-05-24 Neovasc Tiara Inc. Methods and systems for rapid retraction of a transcatheter heart valve delivery system
US11197754B2 (en) 2017-01-27 2021-12-14 Jenavalve Technology, Inc. Heart valve mimicry
EP3576670B1 (en) 2017-02-06 2025-07-16 Caisson Interventional LLC Systems for heart valve therapy
CN111263622A (en) 2017-08-25 2020-06-09 内奥瓦斯克迪亚拉公司 Sequentially deployed transcatheter mitral valve prosthesis
WO2019224221A1 (en) 2018-05-21 2019-11-28 Aran Biomedical Teoranta Insertable medical devices with low profile composite coverings
AU2018424859B2 (en) 2018-05-23 2024-04-04 Corcym S.R.L. A cardiac valve prosthesis
CN112384174B (en) 2018-05-23 2024-02-27 恪心有限责任公司 Device for in situ delivery of heart valve prostheses
JP7260930B2 (en) 2018-11-08 2023-04-19 ニオバスク ティアラ インコーポレイテッド Ventricular deployment of a transcatheter mitral valve prosthesis
CN113507902B (en) 2019-01-17 2024-08-09 爱德华兹生命科学公司 Frames for prosthetic heart valves
CN113747863B (en) 2019-03-08 2024-11-08 内奥瓦斯克迪亚拉公司 Retrievable Prosthesis Delivery System
CA3135753C (en) 2019-04-01 2023-10-24 Neovasc Tiara Inc. Controllably deployable prosthetic valve
AU2020271896B2 (en) 2019-04-10 2022-10-13 Neovasc Tiara Inc. Prosthetic valve with natural blood flow
AU2020279750B2 (en) 2019-05-20 2023-07-13 Neovasc Tiara Inc. Introducer with hemostasis mechanism
CN114144144B (en) 2019-06-20 2026-01-13 内奥瓦斯克迪亚拉公司 Low-profile prosthetic mitral valve
CN114245728A (en) * 2020-03-19 2022-03-25 爱德华兹生命科学公司 Device and system for docking a heart valve
DE112021004437T5 (en) 2020-08-24 2023-08-24 Edwards Lifesciences Corporation Methods and systems for aligning a commissure of a prosthetic heart valve with a commissure of a natural heart valve
EP4243735A1 (en) * 2020-11-10 2023-09-20 Edwards Lifesciences Corporation Docking station for a transcatheter heart valve
JP2025538294A (en) 2022-11-09 2025-11-27 イエナバルブ テクノロジー インク CATHETER SYSTEM FOR SEQUENTIAL DEPLOYMENT OF EXPANDABLE IMPLANTS - Patent application
WO2025253388A1 (en) * 2024-06-06 2025-12-11 Trisol Medical Ltd. Prosthetic valve

Citations (29)

* Cited by examiner, † Cited by third party
Publication number Priority date Publication date Assignee Title
US3570014A (en) 1968-09-16 1971-03-16 Warren D Hancock Stent for heart valve
US4733665A (en) 1985-11-07 1988-03-29 Expandable Grafts Partnership Expandable intraluminal graft, and method and apparatus for implanting an expandable intraluminal graft
US5411552A (en) 1990-05-18 1995-05-02 Andersen; Henning R. Valve prothesis for implantation in the body and a catheter for implanting such valve prothesis
WO1998029057A1 (en) 1996-12-31 1998-07-09 Cordis Corporation Valve prosthesis for implantation in body channels
US5840081A (en) 1990-05-18 1998-11-24 Andersen; Henning Rud System and method for implanting cardiac valves
US5935163A (en) 1998-03-31 1999-08-10 Shelhigh, Inc. Natural tissue heart valve prosthesis
US5957949A (en) 1997-05-01 1999-09-28 World Medical Manufacturing Corp. Percutaneous placement valve stent
WO2000044313A1 (en) 1999-01-27 2000-08-03 Viacor Incorporated Cardiac valve procedure methods and devices
US6174329B1 (en) 1996-08-22 2001-01-16 Advanced Cardiovascular Systems, Inc. Protective coating for a stent with intermediate radiopaque coating
US6350282B1 (en) 1994-04-22 2002-02-26 Medtronic, Inc. Stented bioprosthetic heart valve
US20020032481A1 (en) 2000-09-12 2002-03-14 Shlomo Gabbay Heart valve prosthesis and sutureless implantation of a heart valve prosthesis
US6371983B1 (en) * 1999-10-04 2002-04-16 Ernest Lane Bioprosthetic heart valve
US6425916B1 (en) * 1999-02-10 2002-07-30 Michi E. Garrison Methods and devices for implanting cardiac valves
US6458153B1 (en) 1999-12-31 2002-10-01 Abps Venture One, Ltd. Endoluminal cardiac and venous valve prostheses and methods of manufacture and delivery thereof
US20020188348A1 (en) 1999-10-21 2002-12-12 Scimed Life Systems, Inc. Implantable prosthetic valve
WO2003003943A2 (en) 2001-07-03 2003-01-16 Advanced Bio Prosthetic Surfaces, Ltd Valvular prostheses having metal or pseudometallic construction and methods of manufacture
US20030199963A1 (en) 2002-04-23 2003-10-23 Numed, Inc. System for implanting a replacement valve
US20040019374A1 (en) * 2002-05-10 2004-01-29 Hikmat Hojeibane Frame based unidirectional flow prosthetic implant
US20040049262A1 (en) 2000-01-31 2004-03-11 Obermiller Joseph F. Stent valves and uses of same
US20040122516A1 (en) 2002-12-20 2004-06-24 Fogarty Thomas J. Biologically implantable prosthesis and methods of using the same
US20040186563A1 (en) 2003-03-18 2004-09-23 Lobbi Mario M. Minimally-invasive heart valve with cusp positioners
US20050043790A1 (en) 2001-07-04 2005-02-24 Jacques Seguin Kit enabling a prosthetic valve to be placed in a body enabling a prosthetic valve to be put into place in a duct in the body
US6893460B2 (en) * 2001-10-11 2005-05-17 Percutaneous Valve Technologies Inc. Implantable prosthetic valve
US20050137682A1 (en) * 2003-12-22 2005-06-23 Henri Justino Stent mounted valve
US20050234546A1 (en) * 2004-02-05 2005-10-20 Alan Nugent Transcatheter delivery of a replacement heart valve
US20060052867A1 (en) 2004-09-07 2006-03-09 Medtronic, Inc Replacement prosthetic heart valve, system and method of implant
WO2006127765A1 (en) 2005-05-24 2006-11-30 Corevalve, Inc. A non-cylindrical prosthetic valve system for transluminal delivery
US7198646B2 (en) 2000-02-28 2007-04-03 Fraunhofer-Gesellschaft Zur Forderung Der Angewandten Forschung E.V. Device for fastening and anchoring cardiac valve prostheses
WO2007081820A1 (en) 2006-01-09 2007-07-19 Children's Medical Center Corporation Transcatheter delivery of a replacement heart valve

Patent Citations (38)

* Cited by examiner, † Cited by third party
Publication number Priority date Publication date Assignee Title
US3570014A (en) 1968-09-16 1971-03-16 Warren D Hancock Stent for heart valve
US4733665A (en) 1985-11-07 1988-03-29 Expandable Grafts Partnership Expandable intraluminal graft, and method and apparatus for implanting an expandable intraluminal graft
US4733665B1 (en) 1985-11-07 1994-01-11 Expandable Grafts Partnership Expandable intraluminal graft,and method and apparatus for implanting an expandable intraluminal graft
US4733665C2 (en) 1985-11-07 2002-01-29 Expandable Grafts Partnership Expandable intraluminal graft and method and apparatus for implanting an expandable intraluminal graft
US6168614B1 (en) 1990-05-18 2001-01-02 Heartport, Inc. Valve prosthesis for implantation in the body
US5411552A (en) 1990-05-18 1995-05-02 Andersen; Henning R. Valve prothesis for implantation in the body and a catheter for implanting such valve prothesis
US5840081A (en) 1990-05-18 1998-11-24 Andersen; Henning Rud System and method for implanting cardiac valves
US6350282B1 (en) 1994-04-22 2002-02-26 Medtronic, Inc. Stented bioprosthetic heart valve
US6174329B1 (en) 1996-08-22 2001-01-16 Advanced Cardiovascular Systems, Inc. Protective coating for a stent with intermediate radiopaque coating
WO1998029057A1 (en) 1996-12-31 1998-07-09 Cordis Corporation Valve prosthesis for implantation in body channels
US6908481B2 (en) 1996-12-31 2005-06-21 Edwards Lifesciences Pvt, Inc. Value prosthesis for implantation in body channels
US20050251251A1 (en) * 1996-12-31 2005-11-10 Alain Cribier Valve prosthesis for implantation in body channels
US7585321B2 (en) * 1996-12-31 2009-09-08 Edwards Lifesciences Pvt, Inc. Methods of implanting a prosthetic heart valve within a native heart valve
US5957949A (en) 1997-05-01 1999-09-28 World Medical Manufacturing Corp. Percutaneous placement valve stent
US5935163A (en) 1998-03-31 1999-08-10 Shelhigh, Inc. Natural tissue heart valve prosthesis
WO2000044313A1 (en) 1999-01-27 2000-08-03 Viacor Incorporated Cardiac valve procedure methods and devices
US6425916B1 (en) * 1999-02-10 2002-07-30 Michi E. Garrison Methods and devices for implanting cardiac valves
US6371983B1 (en) * 1999-10-04 2002-04-16 Ernest Lane Bioprosthetic heart valve
US20020188348A1 (en) 1999-10-21 2002-12-12 Scimed Life Systems, Inc. Implantable prosthetic valve
US6458153B1 (en) 1999-12-31 2002-10-01 Abps Venture One, Ltd. Endoluminal cardiac and venous valve prostheses and methods of manufacture and delivery thereof
US20040049262A1 (en) 2000-01-31 2004-03-11 Obermiller Joseph F. Stent valves and uses of same
US7198646B2 (en) 2000-02-28 2007-04-03 Fraunhofer-Gesellschaft Zur Forderung Der Angewandten Forschung E.V. Device for fastening and anchoring cardiac valve prostheses
US20020032481A1 (en) 2000-09-12 2002-03-14 Shlomo Gabbay Heart valve prosthesis and sutureless implantation of a heart valve prosthesis
WO2003003943A2 (en) 2001-07-03 2003-01-16 Advanced Bio Prosthetic Surfaces, Ltd Valvular prostheses having metal or pseudometallic construction and methods of manufacture
US20050043790A1 (en) 2001-07-04 2005-02-24 Jacques Seguin Kit enabling a prosthetic valve to be placed in a body enabling a prosthetic valve to be put into place in a duct in the body
US6893460B2 (en) * 2001-10-11 2005-05-17 Percutaneous Valve Technologies Inc. Implantable prosthetic valve
US20030199963A1 (en) 2002-04-23 2003-10-23 Numed, Inc. System for implanting a replacement valve
US7758632B2 (en) * 2002-05-10 2010-07-20 Cordis Corporation Frame based unidirectional flow prosthetic implant
US20040019374A1 (en) * 2002-05-10 2004-01-29 Hikmat Hojeibane Frame based unidirectional flow prosthetic implant
US20040122516A1 (en) 2002-12-20 2004-06-24 Fogarty Thomas J. Biologically implantable prosthesis and methods of using the same
US20040186563A1 (en) 2003-03-18 2004-09-23 Lobbi Mario M. Minimally-invasive heart valve with cusp positioners
US20050137682A1 (en) * 2003-12-22 2005-06-23 Henri Justino Stent mounted valve
US7261732B2 (en) * 2003-12-22 2007-08-28 Henri Justino Stent mounted valve
US7470285B2 (en) * 2004-02-05 2008-12-30 Children's Medical Center Corp. Transcatheter delivery of a replacement heart valve
US20050234546A1 (en) * 2004-02-05 2005-10-20 Alan Nugent Transcatheter delivery of a replacement heart valve
US20060052867A1 (en) 2004-09-07 2006-03-09 Medtronic, Inc Replacement prosthetic heart valve, system and method of implant
WO2006127765A1 (en) 2005-05-24 2006-11-30 Corevalve, Inc. A non-cylindrical prosthetic valve system for transluminal delivery
WO2007081820A1 (en) 2006-01-09 2007-07-19 Children's Medical Center Corporation Transcatheter delivery of a replacement heart valve

Cited By (321)

* Cited by examiner, † Cited by third party
Publication number Priority date Publication date Assignee Title
US12458497B2 (en) 2004-09-14 2025-11-04 Edwards Lifesciences Ag Method of implanting valve prosthesis having atrial anchoring
US10456277B2 (en) 2005-11-10 2019-10-29 Edwards Lifesciences Cardiaq Llc Percutaneous heart valve
US9974669B2 (en) 2005-11-10 2018-05-22 Edwards Lifesciences Cardiaq Llc Percutaneous heart valve
US9486336B2 (en) 2005-11-10 2016-11-08 Edwards Lifesciences Cardiaq Llc Prosthesis having a plurality of distal and proximal prongs
US9433514B2 (en) 2005-11-10 2016-09-06 Edwards Lifesciences Cardiaq Llc Method of securing a prosthesis
US11141265B2 (en) 2006-07-28 2021-10-12 Edwards Lifesciences Cardiaq Llc Percutaneous valve prosthesis and system and method for implanting the same
US10350065B2 (en) 2006-07-28 2019-07-16 Edwards Lifesciences Cardiaq Llc Percutaneous valve prosthesis and system and method for implanting the same
US9867530B2 (en) 2006-08-14 2018-01-16 Volcano Corporation Telescopic side port catheter device with imaging system and method for accessing side branch occlusions
US11350906B2 (en) 2007-07-12 2022-06-07 Philips Image Guided Therapy Corporation OCT-IVUS catheter for concurrent luminal imaging
US9622706B2 (en) 2007-07-12 2017-04-18 Volcano Corporation Catheter for in vivo imaging
US9596993B2 (en) 2007-07-12 2017-03-21 Volcano Corporation Automatic calibration systems and methods of use
US10219780B2 (en) 2007-07-12 2019-03-05 Volcano Corporation OCT-IVUS catheter for concurrent luminal imaging
US12376961B2 (en) 2008-05-01 2025-08-05 Edwards Lifesciences Corporation Method of implanting a prosthetic heart valve assembly
US10149756B2 (en) 2008-09-29 2018-12-11 Edwards Lifesciences Cardiaq Llc Heart valve
US11589983B2 (en) 2008-09-29 2023-02-28 Edwards Lifesciences Cardiaq Llc Heart valve
US11819404B2 (en) 2008-09-29 2023-11-21 Edwards Lifesciences Cardiaq Llc Heart valve
US10646334B2 (en) 2008-09-29 2020-05-12 Edwards Lifesciences Cardiaq Llc Heart valve
US9339377B2 (en) 2008-09-29 2016-05-17 Edwards Lifesciences Cardiaq Llc Body cavity prosthesis
US20130131788A1 (en) * 2008-09-29 2013-05-23 Cardiaq Valve Technologies, Inc. Body cavity prosthesis
US9456896B2 (en) * 2008-09-29 2016-10-04 Edwards Lifesciences Cardiaq Llc Body cavity prosthesis
US9597183B2 (en) 2008-10-01 2017-03-21 Edwards Lifesciences Cardiaq Llc Delivery system for vascular implant
US12551207B2 (en) 2008-11-21 2026-02-17 Percutaneous Cardiovascular Solutions Pty Ltd Heart valve prosthesis and method
US10441412B2 (en) 2009-04-15 2019-10-15 Edwards Lifesciences Cardiaq Llc Vascular implant and delivery system
US9333073B2 (en) 2009-04-15 2016-05-10 Edwards Lifesciences Cardiaq Llc Vascular implant and delivery method
US12343252B2 (en) 2009-04-15 2025-07-01 Edwards Lifesciences Cardiaq Llc Vascular implant and delivery system
US9333074B2 (en) 2009-04-15 2016-05-10 Edwards Lifesciences Cardiaq Llc Vascular implant and delivery system
US9339380B2 (en) 2009-04-15 2016-05-17 Edwards Lifesciences Cardiaq Llc Vascular implant
US9339378B2 (en) 2009-04-15 2016-05-17 Edwards Lifesciences Cardiaq Llc Vascular implant and delivery system
US9585747B2 (en) 2009-04-15 2017-03-07 Edwards Lifesciences Cardiaq Llc Vascular implant
US11376119B2 (en) 2009-04-15 2022-07-05 Edwards Lifesciences Cardiaq Llc Vascular implant and delivery system
US9339379B2 (en) 2009-04-15 2016-05-17 Edwards Lifesciences Cardiaq Llc Vascular implant and delivery system
US12447013B2 (en) 2009-04-29 2025-10-21 The Cleveland Clinic Foundation Apparatus and method for replacing a diseased cardiac valve
US12427016B2 (en) 2009-04-29 2025-09-30 Edwards Lifesciences Corporation Apparatus and method for replacing a diseased cardiac valve
US10524901B2 (en) 2009-09-29 2020-01-07 Edwards Lifesciences Cardiaq Llc Replacement heart valve
US10166097B2 (en) 2009-09-29 2019-01-01 Edwards Lifesciences Cardiaq Llc Replacement heart valve and method
US9730790B2 (en) 2009-09-29 2017-08-15 Edwards Lifesciences Cardiaq Llc Replacement valve and method
US9480560B2 (en) 2009-09-29 2016-11-01 Edwards Lifesciences Cardiaq Llc Method of securing an intralumenal frame assembly
US9949827B2 (en) 2009-09-29 2018-04-24 Edwards Lifesciences Cardiaq Llc Replacement heart valves, delivery devices and methods
US12409031B2 (en) 2009-12-04 2025-09-09 Edwards Lifesciences Corporation Prosthetic valve having a multi-part frame
US12433743B2 (en) 2009-12-04 2025-10-07 Edwards Lifesciences Corporation System for replacing a native valve of the heart
US10548726B2 (en) 2009-12-08 2020-02-04 Cardiovalve Ltd. Rotation-based anchoring of an implant
US11141268B2 (en) 2009-12-08 2021-10-12 Cardiovalve Ltd. Prosthetic heart valve with upper and lower skirts
US11351026B2 (en) 2009-12-08 2022-06-07 Cardiovalve Ltd. Rotation-based anchoring of an implant
US11839541B2 (en) 2009-12-08 2023-12-12 Cardiovalve Ltd. Prosthetic heart valve with upper skirt
US10660751B2 (en) 2009-12-08 2020-05-26 Cardiovalve Ltd. Prosthetic heart valve with upper skirt
US12167963B2 (en) 2010-03-10 2024-12-17 Cardiovalve Ltd. Method for use at a heart valve
US11109964B2 (en) 2010-03-10 2021-09-07 Cardiovalve Ltd. Axially-shortening prosthetic valve
US11419720B2 (en) 2010-05-05 2022-08-23 Neovasc Tiara Inc. Transcatheter mitral valve prosthesis
US11432924B2 (en) 2010-05-05 2022-09-06 Neovasc Tiara Inc. Transcatheter mitral valve prosthesis
US10449042B2 (en) 2010-05-05 2019-10-22 Neovasc Tiara Inc. Transcatheter mitral valve prosthesis
US9770329B2 (en) 2010-05-05 2017-09-26 Neovasc Tiara Inc. Transcatheter mitral valve prosthesis
US11452597B2 (en) 2010-06-21 2022-09-27 Edwards Lifesciences Cardiaq Llc Replacement heart valve
US10639146B2 (en) 2010-06-21 2020-05-05 Edwards Lifesciences Cardiaq Llc Replacement heart valve
US10485660B2 (en) 2010-06-21 2019-11-26 Edwards Lifesciences Cardiaq Llc Replacement heart valve
US10531872B2 (en) 2010-07-21 2020-01-14 Cardiovalve Ltd. Valve prosthesis configured for deployment in annular spacer
US11653910B2 (en) 2010-07-21 2023-05-23 Cardiovalve Ltd. Helical anchor implantation
US11426155B2 (en) 2010-07-21 2022-08-30 Cardiovalve Ltd. Helical anchor implantation
US11969163B2 (en) 2010-07-21 2024-04-30 Cardiovalve Ltd. Valve prosthesis configured for deployment in annular spacer
US10512456B2 (en) 2010-07-21 2019-12-24 Cardiovalve Ltd. Techniques for percutaneous mitral valve replacement and sealing
US9763657B2 (en) 2010-07-21 2017-09-19 Mitraltech Ltd. Techniques for percutaneous mitral valve replacement and sealing
US8992604B2 (en) 2010-07-21 2015-03-31 Mitraltech Ltd. Techniques for percutaneous mitral valve replacement and sealing
US12310575B2 (en) 2010-07-21 2025-05-27 Cardiovalve Ltd. Helical anchor implantation
US10925595B2 (en) 2010-07-21 2021-02-23 Cardiovalve Ltd. Valve prosthesis configured for deployment in annular spacer
US9017399B2 (en) 2010-07-21 2015-04-28 Mitraltech Ltd. Techniques for percutaneous mitral valve replacement and sealing
US10881510B2 (en) 2010-09-23 2021-01-05 Edwards Lifesciences Cardiaq Llc Replacement heart valves, delivery devices and methods
US12318290B2 (en) 2010-09-23 2025-06-03 Edwards Lifesciences Cardiaq Llc Replacement heart valves, delivery devices and methods
US10610362B2 (en) 2010-09-23 2020-04-07 Edwards Lifesciences Cardiaq Llc Replacement heart valves, delivery devices and methods
US11141063B2 (en) 2010-12-23 2021-10-12 Philips Image Guided Therapy Corporation Integrated system architectures and methods of use
US11040140B2 (en) 2010-12-31 2021-06-22 Philips Image Guided Therapy Corporation Deep vein thrombosis therapeutic methods
US10779938B2 (en) 2011-02-23 2020-09-22 Edwards Lifesciences Cardiaq Llc Replacement heart valve and method
US11903825B2 (en) 2011-02-23 2024-02-20 Edwards Lifesciences Cardiaq Llc Replacement heart valve and method
US9554897B2 (en) 2011-04-28 2017-01-31 Neovasc Tiara Inc. Methods and apparatus for engaging a valve prosthesis with tissue
US9713529B2 (en) 2011-04-28 2017-07-25 Neovasc Tiara Inc. Sequentially deployed transcatheter mitral valve prosthesis
US12502276B2 (en) 2011-05-16 2025-12-23 Edwards Lifesciences Corporation Inversion delivery device and method for a prosthesis
US11369469B2 (en) 2011-08-05 2022-06-28 Cardiovalve Ltd. Method for use at a heart valve
US9387078B2 (en) 2011-08-05 2016-07-12 Mitraltech Ltd. Percutaneous mitral valve replacement and sealing
US9668859B2 (en) 2011-08-05 2017-06-06 California Institute Of Technology Percutaneous heart valve delivery systems
US11291546B2 (en) 2011-08-05 2022-04-05 Cardiovalve Ltd. Leaflet clip with collars
US10226341B2 (en) 2011-08-05 2019-03-12 Cardiovalve Ltd. Implant for heart valve
US10702385B2 (en) 2011-08-05 2020-07-07 Cardiovalve Ltd. Implant for heart valve
US10695173B2 (en) 2011-08-05 2020-06-30 Cardiovalve Ltd. Techniques for percutaneous mitral valve replacement and sealing
US11864995B2 (en) 2011-08-05 2024-01-09 Cardiovalve Ltd. Implant for heart valve
US11951005B2 (en) 2011-08-05 2024-04-09 Cardiovalve Ltd. Implant for heart valve
US10245143B2 (en) 2011-08-05 2019-04-02 Cardiovalve Ltd. Techniques for percutaneous mitral valve replacement and sealing
US11344410B2 (en) 2011-08-05 2022-05-31 Cardiovalve Ltd. Implant for heart valve
US11517436B2 (en) 2011-08-05 2022-12-06 Cardiovalve Ltd. Implant for heart valve
US11690712B2 (en) 2011-08-05 2023-07-04 Cardiovalve Ltd. Clip-secured implant for heart valve
US8852272B2 (en) 2011-08-05 2014-10-07 Mitraltech Ltd. Techniques for percutaneous mitral valve replacement and sealing
US12396848B2 (en) 2011-08-05 2025-08-26 Cardiovalve Ltd. Method for use at a heart valve
US11517429B2 (en) 2011-08-05 2022-12-06 Cardiovalve Ltd. Apparatus for use at a heart valve
US11291547B2 (en) 2011-08-05 2022-04-05 Cardiovalve Ltd. Leaflet clip with collars
US10376361B2 (en) 2011-08-05 2019-08-13 Cardiovalve Ltd. Techniques for percutaneous mitral valve replacement and sealing
US11291545B2 (en) 2011-08-05 2022-04-05 Cardiovalve Ltd. Implant for heart valve
US9360630B2 (en) 2011-08-31 2016-06-07 Volcano Corporation Optical-electrical rotary joint and methods of use
US10537422B2 (en) 2011-11-23 2020-01-21 Neovasc Tiara Inc. Sequentially deployed transcatheter mitral valve prosthesis
US12053369B2 (en) 2011-11-23 2024-08-06 Neovasc Tiara Inc. Sequentially deployed transcatheter mitral valve prosthesis
US11413139B2 (en) 2011-11-23 2022-08-16 Neovasc Tiara Inc. Sequentially deployed transcatheter mitral valve prosthesis
US10321988B2 (en) 2011-12-21 2019-06-18 The Trustees Of The University Of Pennsylvania Platforms for mitral valve replacement
EP2793751A4 (en) * 2011-12-21 2016-01-13 Univ Pennsylvania PLATFORMS FOR REPLACING THE MITRAL VALVE
US11364114B2 (en) 2011-12-21 2022-06-21 The Trustees Of The University Of Pennsylvania Platforms for mitral valve replacement
US11497602B2 (en) 2012-02-14 2022-11-15 Neovasc Tiara Inc. Methods and apparatus for engaging a valve prosthesis with tissue
US10363133B2 (en) 2012-02-14 2019-07-30 Neovac Tiara Inc. Methods and apparatus for engaging a valve prosthesis with tissue
US12138159B2 (en) 2012-02-14 2024-11-12 Neovasc Tiara Inc. Methods and apparatus for engaging a valve prosthesis with tissue
US10016275B2 (en) 2012-05-30 2018-07-10 Neovasc Tiara Inc. Methods and apparatus for loading a prosthesis onto a delivery system
US11389294B2 (en) 2012-05-30 2022-07-19 Neovasc Tiara Inc. Methods and apparatus for loading a prosthesis onto a delivery system
US10314705B2 (en) 2012-05-30 2019-06-11 Neovasc Tiara Inc. Methods and apparatus for loading a prosthesis onto a delivery system
US11617650B2 (en) 2012-05-30 2023-04-04 Neovasc Tiara Inc. Methods and apparatus for loading a prosthesis onto a delivery system
US10940001B2 (en) 2012-05-30 2021-03-09 Neovasc Tiara Inc. Methods and apparatus for loading a prosthesis onto a delivery system
US12201477B2 (en) 2012-10-05 2025-01-21 Philips Image Guided Therapy Corporation Methods and systems for establishing parameters for three-dimensional imaging
US10070827B2 (en) 2012-10-05 2018-09-11 Volcano Corporation Automatic image playback
US9367965B2 (en) 2012-10-05 2016-06-14 Volcano Corporation Systems and methods for generating images of tissue
US11864870B2 (en) 2012-10-05 2024-01-09 Philips Image Guided Therapy Corporation System and method for instant and automatic border detection
US9858668B2 (en) 2012-10-05 2018-01-02 Volcano Corporation Guidewire artifact removal in images
US11510632B2 (en) 2012-10-05 2022-11-29 Philips Image Guided Therapy Corporation Systems for indicating parameters in an imaging data set and methods of use
US9292918B2 (en) 2012-10-05 2016-03-22 Volcano Corporation Methods and systems for transforming luminal images
US9286673B2 (en) 2012-10-05 2016-03-15 Volcano Corporation Systems for correcting distortions in a medical image and methods of use thereof
US11890117B2 (en) 2012-10-05 2024-02-06 Philips Image Guided Therapy Corporation Systems for indicating parameters in an imaging data set and methods of use
US9478940B2 (en) 2012-10-05 2016-10-25 Volcano Corporation Systems and methods for amplifying light
US10568586B2 (en) 2012-10-05 2020-02-25 Volcano Corporation Systems for indicating parameters in an imaging data set and methods of use
US9307926B2 (en) 2012-10-05 2016-04-12 Volcano Corporation Automatic stent detection
US9324141B2 (en) 2012-10-05 2016-04-26 Volcano Corporation Removal of A-scan streaking artifact
US11272845B2 (en) 2012-10-05 2022-03-15 Philips Image Guided Therapy Corporation System and method for instant and automatic border detection
US10724082B2 (en) 2012-10-22 2020-07-28 Bio-Rad Laboratories, Inc. Methods for analyzing DNA
US8628571B1 (en) 2012-11-13 2014-01-14 Mitraltech Ltd. Percutaneously-deliverable mechanical valve
US9498332B2 (en) 2012-11-13 2016-11-22 Mitraltech Ltd. Percutaneously-deliverable mechanical valve
US10045845B2 (en) 2012-11-13 2018-08-14 Mitraltech Ltd. Percutaneously-deliverable mechanical valve
US10500040B2 (en) 2012-11-13 2019-12-10 Cardiovalve Ltd. Percutaneously-deliverable dual-frame valve
US10238367B2 (en) 2012-12-13 2019-03-26 Volcano Corporation Devices, systems, and methods for targeted cannulation
US9709379B2 (en) 2012-12-20 2017-07-18 Volcano Corporation Optical coherence tomography system that is reconfigurable between different imaging modes
US10595820B2 (en) 2012-12-20 2020-03-24 Philips Image Guided Therapy Corporation Smooth transition catheters
US11892289B2 (en) 2012-12-20 2024-02-06 Philips Image Guided Therapy Corporation Manual calibration of imaging system
US9730613B2 (en) 2012-12-20 2017-08-15 Volcano Corporation Locating intravascular images
US10942022B2 (en) 2012-12-20 2021-03-09 Philips Image Guided Therapy Corporation Manual calibration of imaging system
US11406498B2 (en) 2012-12-20 2022-08-09 Philips Image Guided Therapy Corporation Implant delivery system and implants
US10939826B2 (en) 2012-12-20 2021-03-09 Philips Image Guided Therapy Corporation Aspirating and removing biological material
US11141131B2 (en) 2012-12-20 2021-10-12 Philips Image Guided Therapy Corporation Smooth transition catheters
US9486143B2 (en) 2012-12-21 2016-11-08 Volcano Corporation Intravascular forward imaging device
US10058284B2 (en) 2012-12-21 2018-08-28 Volcano Corporation Simultaneous imaging, monitoring, and therapy
US10332228B2 (en) 2012-12-21 2019-06-25 Volcano Corporation System and method for graphical processing of medical data
US11253225B2 (en) 2012-12-21 2022-02-22 Philips Image Guided Therapy Corporation System and method for multipath processing of image signals
US10420530B2 (en) 2012-12-21 2019-09-24 Volcano Corporation System and method for multipath processing of image signals
US9612105B2 (en) 2012-12-21 2017-04-04 Volcano Corporation Polarization sensitive optical coherence tomography system
US9383263B2 (en) 2012-12-21 2016-07-05 Volcano Corporation Systems and methods for narrowing a wavelength emission of light
US10191220B2 (en) 2012-12-21 2019-01-29 Volcano Corporation Power-efficient optical circuit
US10166003B2 (en) 2012-12-21 2019-01-01 Volcano Corporation Ultrasound imaging with variable line density
US10413317B2 (en) 2012-12-21 2019-09-17 Volcano Corporation System and method for catheter steering and operation
US11786213B2 (en) 2012-12-21 2023-10-17 Philips Image Guided Therapy Corporation System and method for multipath processing of image signals
US10993694B2 (en) 2012-12-21 2021-05-04 Philips Image Guided Therapy Corporation Rotational ultrasound imaging catheter with extended catheter body telescope
US10835377B2 (en) 2013-01-24 2020-11-17 Cardiovalve Ltd. Rolled prosthetic valve support
US11135059B2 (en) 2013-01-24 2021-10-05 Cardiovalve Ltd. Prosthetic valve and upstream support therefor
US9681952B2 (en) 2013-01-24 2017-06-20 Mitraltech Ltd. Anchoring of prosthetic valve supports
US11844691B2 (en) 2013-01-24 2023-12-19 Cardiovalve Ltd. Partially-covered prosthetic valves
US10631982B2 (en) 2013-01-24 2020-04-28 Cardiovale Ltd. Prosthetic valve and upstream support therefor
US12357453B2 (en) 2013-02-04 2025-07-15 Edwards Lifesciences Corporation Prosthetic heart valve with atrial sealing member
US12303385B2 (en) 2013-02-04 2025-05-20 Edwards Lifesciences Corporation Method of implanting a spacer body in a mitral valve
US9770172B2 (en) 2013-03-07 2017-09-26 Volcano Corporation Multimodal segmentation in intravascular images
US10226597B2 (en) 2013-03-07 2019-03-12 Volcano Corporation Guidewire with centering mechanism
US10583002B2 (en) 2013-03-11 2020-03-10 Neovasc Tiara Inc. Prosthetic valve with anti-pivoting mechanism
US11154313B2 (en) 2013-03-12 2021-10-26 The Volcano Corporation Vibrating guidewire torquer and methods of use
US10638939B2 (en) 2013-03-12 2020-05-05 Philips Image Guided Therapy Corporation Systems and methods for diagnosing coronary microvascular disease
US9301687B2 (en) 2013-03-13 2016-04-05 Volcano Corporation System and method for OCT depth calibration
US10758207B2 (en) 2013-03-13 2020-09-01 Philips Image Guided Therapy Corporation Systems and methods for producing an image from a rotational intravascular ultrasound device
US11026591B2 (en) 2013-03-13 2021-06-08 Philips Image Guided Therapy Corporation Intravascular pressure sensor calibration
US11324591B2 (en) 2013-03-14 2022-05-10 Edwards Lifesciences Cardiaq Llc Prosthesis for atraumatically grasping intralumenal tissue and methods of delivery
US10292677B2 (en) 2013-03-14 2019-05-21 Volcano Corporation Endoluminal filter having enhanced echogenic properties
US10583000B2 (en) 2013-03-14 2020-03-10 Edwards Lifesciences Cardiaq Llc Prosthesis for atraumatically grasping intralumenal tissue and methods of delivery
US9730791B2 (en) 2013-03-14 2017-08-15 Edwards Lifesciences Cardiaq Llc Prosthesis for atraumatically grasping intralumenal tissue and methods of delivery
US12343198B2 (en) 2013-03-14 2025-07-01 Philips Image Guided Therapy Corporation Delivery catheter having imaging capabilities
US10426590B2 (en) 2013-03-14 2019-10-01 Volcano Corporation Filters with echogenic characteristics
US10219887B2 (en) 2013-03-14 2019-03-05 Volcano Corporation Filters with echogenic characteristics
US9681951B2 (en) 2013-03-14 2017-06-20 Edwards Lifesciences Cardiaq Llc Prosthesis with outer skirt and anchors
US10716664B2 (en) 2013-03-14 2020-07-21 Edwards Lifesciences Cardiaq Llc Prosthesis for atraumatically grasping intralumenal tissue and methods of delivery
US11951001B2 (en) 2013-03-14 2024-04-09 Edwards Lifesciences Cardiaq Llc Prosthesis for atraumatically grapsing intralumenal tissue and methods of delivery
US12285330B2 (en) 2013-03-14 2025-04-29 Edwards Lifesciences Cardiaq Llc Prosthesis for atraumatically grasping intralumenal tissue and methods of delivery
US9744037B2 (en) 2013-03-15 2017-08-29 California Institute Of Technology Handle mechanism and functionality for repositioning and retrieval of transcatheter heart valves
US11389291B2 (en) 2013-04-04 2022-07-19 Neovase Tiara Inc. Methods and apparatus for delivering a prosthetic valve to a beating heart
US9572665B2 (en) 2013-04-04 2017-02-21 Neovasc Tiara Inc. Methods and apparatus for delivering a prosthetic valve to a beating heart
US10383728B2 (en) 2013-04-04 2019-08-20 Neovasc Tiara Inc. Methods and apparatus for delivering a prosthetic valve to a beating heart
US10226333B2 (en) 2013-10-15 2019-03-12 Cedars-Sinai Medical Center Anatomically-orientated and self-positioning transcatheter mitral valve
US10543078B2 (en) 2013-10-16 2020-01-28 Cedars-Sinai Medical Center Modular dis-assembly of transcatheter valve replacement devices and uses thereof
US10869681B2 (en) 2013-10-17 2020-12-22 Cedars-Sinai Medical Center Device to percutaneously treat heart valve embolization
US10820989B2 (en) 2013-12-11 2020-11-03 Cedars-Sinai Medical Center Methods, devices and systems for transcatheter mitral valve replacement in a double-orifice mitral valve
US12427017B2 (en) 2013-12-11 2025-09-30 Cedars Sinai Medical Center Methods, devices and systems for transcatheter mitral valve replacement in a double-orifice mitral valve
AU2015207476B2 (en) * 2014-01-20 2019-10-17 Tricares Heart valve anchoring device
US10039639B2 (en) 2014-01-20 2018-08-07 Tricares Heart valve anchoring device
WO2015107226A1 (en) * 2014-01-20 2015-07-23 Mitricares Heart valve anchoring device
US10610355B2 (en) 2014-01-20 2020-04-07 Tricares (Sas) Heart valve anchoring device
US11369468B2 (en) 2014-01-20 2022-06-28 Tricares SAS Heart valve anchoring device
US12064345B2 (en) 2014-01-20 2024-08-20 Tricares (Sas) Heart valve anchoring device
EP3804660B1 (en) 2014-01-20 2024-12-11 Tricares Heart valve anchoring device
EP3202371B1 (en) 2014-01-20 2020-12-16 Tricares Heart valve anchoring device
US10507301B2 (en) 2014-01-31 2019-12-17 Cedars-Sinai Medical Center Pigtail for optimal aortic valvular complex imaging and alignment
US10004599B2 (en) 2014-02-21 2018-06-26 Edwards Lifesciences Cardiaq Llc Prosthesis, delivery device and methods of use
US11633279B2 (en) 2014-02-21 2023-04-25 Edwards Lifesciences Cardiaq Llc Prosthesis, delivery device and methods of use
US10952849B2 (en) 2014-02-21 2021-03-23 Edwards Lifesciences Cardiaq Llc Prosthesis, delivery device and methods of use
USD755384S1 (en) 2014-03-05 2016-05-03 Edwards Lifesciences Cardiaq Llc Stent
US12083011B2 (en) 2014-05-19 2024-09-10 Edwards Lifesciences Cardiaq Llc Replacement heart valve
US11045313B2 (en) 2014-05-19 2021-06-29 Edwards Lifesciences Cardiaq Llc Replacement mitral valve
US10179044B2 (en) 2014-05-19 2019-01-15 Edwards Lifesciences Cardiaq Llc Replacement mitral valve
US11684471B2 (en) 2014-06-06 2023-06-27 Edwards Lifesciences Corporation Prosthetic valve for replacing a native mitral or tricuspid valve
US10687939B2 (en) 2014-06-06 2020-06-23 Edwards Lifesciences Corporation Prosthetic valve for replacing a mitral valve
US10010414B2 (en) 2014-06-06 2018-07-03 Edwards Lifesciences Corporation Prosthetic valve for replacing a mitral valve
US12403004B2 (en) 2014-06-06 2025-09-02 Edwards Lifesciences Corporation Method for replacing a tricuspid valve
US20150374484A1 (en) * 2014-06-26 2015-12-31 Boston Scientific Scimed, Inc. Medical devices and methods to prevent bile reflux after bariatric procedures
US10610348B2 (en) 2014-06-26 2020-04-07 Boston Scientific Scimed, Inc. Medical devices and methods to prevent bile reflux after bariatric procedures
US9579186B2 (en) * 2014-06-26 2017-02-28 Boston Scientific Scimed, Inc. Medical devices and methods to prevent bile reflux after bariatric procedures
US10016268B2 (en) 2014-06-26 2018-07-10 Boston Scientific Scimed, Inc. Medical devices and methods to prevent bile reflux after bariatric procedures
US10492908B2 (en) 2014-07-30 2019-12-03 Cardiovalve Ltd. Anchoring of a prosthetic valve
US12053380B2 (en) 2014-07-30 2024-08-06 Cardiovalve Ltd. Anchoring of a prosthetic valve
US12310853B2 (en) 2014-09-28 2025-05-27 Edwards Lifesciences Corporation Systems and methods for treating cardiac dysfunction
US12138160B2 (en) 2014-11-26 2024-11-12 Edwards Lifesciences Corporation Transcatheter prosthetic heart valve and delivery system
US10864078B2 (en) 2015-02-05 2020-12-15 Cardiovalve Ltd. Prosthetic valve with separably-deployable valve body and tissue anchors
US10463487B2 (en) 2015-02-05 2019-11-05 Cardiovalve Ltd. Prosthetic valve delivery system with independently-movable capsule portions
US10524903B2 (en) 2015-02-05 2020-01-07 Cardiovalve Ltd. Prosthetic valve with aligned inner and outer frames
US10667908B2 (en) 2015-02-05 2020-06-02 Cardiovalve Ltd. Prosthetic valve with S-shaped tissue anchors
US10682227B2 (en) 2015-02-05 2020-06-16 Cardiovalve Ltd. Prosthetic valve with pivoting tissue anchor portions
US10695177B2 (en) 2015-02-05 2020-06-30 Cardiovalve Ltd. Prosthetic valve with aligned inner and outer frames
US9974651B2 (en) 2015-02-05 2018-05-22 Mitral Tech Ltd. Prosthetic valve with axially-sliding frames
US10507105B2 (en) 2015-02-05 2019-12-17 Cardiovalve Ltd. Prosthetic valve with tissue anchors free from lateral interconnections
US10722360B2 (en) 2015-02-05 2020-07-28 Cardiovalve Ltd. Prosthetic valve with radially-deflectable tissue anchors
US10736742B2 (en) 2015-02-05 2020-08-11 Cardiovalve Ltd. Prosthetic valve with atrial arms
US10758344B2 (en) 2015-02-05 2020-09-01 Cardiovalve Ltd. Prosthetic valve with angularly offset frames
US11793635B2 (en) 2015-02-05 2023-10-24 Cardiovalve Ltd. Prosthetic valve with angularly offset frames
US10463488B2 (en) 2015-02-05 2019-11-05 Cardiovalve Ltd. Prosthetic valve with separably-deployable valve body and tissue anchors
US11534298B2 (en) 2015-02-05 2022-12-27 Cardiovalve Ltd. Prosthetic valve with s-shaped tissue anchors
US11793638B2 (en) 2015-02-05 2023-10-24 Cardiovalve Ltd. Prosthetic valve with pivoting tissue anchor portions
US10426610B2 (en) 2015-02-05 2019-10-01 Cardiovalve Ltd. Prosthetic valve with radially-deflectable tissue anchors
US10973636B2 (en) 2015-02-05 2021-04-13 Cardiovalve Ltd. Prosthetic valve with tissue anchors free from lateral interconnections
US10918481B2 (en) 2015-02-05 2021-02-16 Cardiovalve Ltd. Techniques for deployment of a prosthetic valve
US10449047B2 (en) 2015-02-05 2019-10-22 Cardiovalve Ltd. Prosthetic heart valve with compressible frames
US12396851B2 (en) 2015-02-05 2025-08-26 Cardiovalve Ltd. Prosthetic valve with arms and flanges
US10849748B2 (en) 2015-02-05 2020-12-01 Cardiovalve Ltd. Prosthetic valve delivery system with independently-movable capsule portions
US10357360B2 (en) 2015-02-05 2019-07-23 Cardiovalve Ltd. Prosthetic valve with aligned inner and outer frames
US11672658B2 (en) 2015-02-05 2023-06-13 Cardiovalve Ltd. Prosthetic valve with aligned inner and outer frames
US11801135B2 (en) 2015-02-05 2023-10-31 Cardiovalve Ltd. Techniques for deployment of a prosthetic valve
US10888422B2 (en) 2015-02-05 2021-01-12 Cardiovalve Ltd. Prosthetic valve with flexible tissue anchor portions
US10390952B2 (en) 2015-02-05 2019-08-27 Cardiovalve Ltd. Prosthetic valve with flexible tissue anchor portions
US10869756B2 (en) 2015-03-12 2020-12-22 Cedars-Sinai Medical Center Devices, systems, and methods to optimize annular orientation of transcatheter valves
US12226310B2 (en) 2015-03-12 2025-02-18 Cedars-Sinai Medical Center Devices, systems, and methods to optimize annular orientation of transcatheter valves
US12295584B2 (en) 2015-03-20 2025-05-13 Edwards Lifesciences Corporation Systems and methods for delivering an implantable device
US10441416B2 (en) 2015-04-21 2019-10-15 Edwards Lifesciences Corporation Percutaneous mitral valve replacement device
US11850147B2 (en) 2015-04-21 2023-12-26 Edwards Lifesciences Corporation Percutaneous mitral valve replacement device
US11389292B2 (en) 2015-04-30 2022-07-19 Edwards Lifesciences Cardiaq Llc Replacement mitral valve, delivery system for replacement mitral valve and methods of use
US10376363B2 (en) 2015-04-30 2019-08-13 Edwards Lifesciences Cardiaq Llc Replacement mitral valve, delivery system for replacement mitral valve and methods of use
US11083576B2 (en) 2015-06-22 2021-08-10 Edwards Lifesciences Cardiaq Llc Actively controllable heart valve implant and method of controlling same
US10226335B2 (en) 2015-06-22 2019-03-12 Edwards Lifesciences Cardiaq Llc Actively controllable heart valve implant and method of controlling same
US11844690B2 (en) 2015-06-23 2023-12-19 Edwards Lifesciences Cardiaq Llc Systems and methods for anchoring and sealing a prosthetic heart valve
US10092400B2 (en) 2015-06-23 2018-10-09 Edwards Lifesciences Cardiaq Llc Systems and methods for anchoring and sealing a prosthetic heart valve
US10842620B2 (en) 2015-06-23 2020-11-24 Edwards Lifesciences Cardiaq Llc Systems and methods for anchoring and sealing a prosthetic heart valve
US11278405B2 (en) 2015-08-26 2022-03-22 Edwards Lifesciences Cardiaq Llc Delivery device and methods of use for transapical delivery of replacement valve
US10758345B2 (en) 2015-08-26 2020-09-01 Edwards Lifesciences Cardiaq Llc Replacement heart valves and methods of delivery
US10117744B2 (en) 2015-08-26 2018-11-06 Edwards Lifesciences Cardiaq Llc Replacement heart valves and methods of delivery
US10575951B2 (en) 2015-08-26 2020-03-03 Edwards Lifesciences Cardiaq Llc Delivery device and methods of use for transapical delivery of replacement mitral valve
US12023245B2 (en) 2015-08-26 2024-07-02 Edwards Lifesciences Cardiaq Llc Delivery device and methods of use for transapical delivery of replacement valve
US12004949B2 (en) 2015-08-26 2024-06-11 Edwards Lifesciences Cardiaq Llc Replacement heart valves and methods of delivery
US10034747B2 (en) 2015-08-27 2018-07-31 Medtronic Vascular, Inc. Prosthetic valve system having a docking component and a prosthetic valve component
US10350066B2 (en) 2015-08-28 2019-07-16 Edwards Lifesciences Cardiaq Llc Steerable delivery system for replacement mitral valve and methods of use
US12161553B2 (en) 2015-08-28 2024-12-10 Edwards Lifesciences Cardiaq Llc Steerable delivery system for replacement mitral valve and methods of use
US11253364B2 (en) 2015-08-28 2022-02-22 Edwards Lifesciences Cardiaq Llc Steerable delivery system for replacement mitral valve and methods of use
US11833034B2 (en) 2016-01-13 2023-12-05 Shifamed Holdings, Llc Prosthetic cardiac valve devices, systems, and methods
US11937795B2 (en) 2016-02-16 2024-03-26 Cardiovalve Ltd. Techniques for providing a replacement valve and transseptal communication
US11298117B2 (en) 2016-02-16 2022-04-12 Cardiovalve Ltd. Techniques for providing a replacement valve and transseptal communication
US10531866B2 (en) 2016-02-16 2020-01-14 Cardiovalve Ltd. Techniques for providing a replacement valve and transseptal communication
USD815744S1 (en) 2016-04-28 2018-04-17 Edwards Lifesciences Cardiaq Llc Valve frame for a delivery system
US12453632B2 (en) 2016-06-20 2025-10-28 Medtronic Vascular, Inc. Modular valve prosthesis, delivery system, and method of delivering and deploying a modular valve prosthesis
US10588745B2 (en) 2016-06-20 2020-03-17 Medtronic Vascular, Inc. Modular valve prosthesis, delivery system, and method of delivering and deploying a modular valve prosthesis
US11786371B2 (en) 2016-06-20 2023-10-17 Medtronic Vascular, Inc. Modular valve prosthesis, delivery system, and method of delivering and deploying a modular valve prosthesis
US12447011B2 (en) 2016-07-21 2025-10-21 Edwards Lifesciences Corporation Replacement heart valve prosthesis
US11224507B2 (en) 2016-07-21 2022-01-18 Edwards Lifesciences Corporation Replacement heart valve prosthesis
US10350062B2 (en) 2016-07-21 2019-07-16 Edwards Lifesciences Corporation Replacement heart valve prosthesis
US12053379B2 (en) 2016-08-01 2024-08-06 Cardiovalve Ltd. Minimally-invasive delivery systems
US11779458B2 (en) 2016-08-10 2023-10-10 Cardiovalve Ltd. Prosthetic valve with leaflet connectors
USD800908S1 (en) 2016-08-10 2017-10-24 Mitraltech Ltd. Prosthetic valve element
US10856975B2 (en) 2016-08-10 2020-12-08 Cardiovalve Ltd. Prosthetic valve with concentric frames
US10646340B2 (en) 2016-08-19 2020-05-12 Edwards Lifesciences Corporation Steerable delivery system for replacement mitral valve
US11931258B2 (en) 2016-08-19 2024-03-19 Edwards Lifesciences Corporation Steerable delivery system for replacement mitral valve and methods of use
US10639143B2 (en) 2016-08-26 2020-05-05 Edwards Lifesciences Corporation Multi-portion replacement heart valve prosthesis
US11504229B2 (en) 2016-08-26 2022-11-22 Edwards Lifesciences Corporation Multi-portion replacement heart valve prosthesis
US11510778B2 (en) 2016-11-02 2022-11-29 Edwards Lifesciences Corporation Supra and sub-annular mitral valve delivery system
US10758348B2 (en) 2016-11-02 2020-09-01 Edwards Lifesciences Corporation Supra and sub-annular mitral valve delivery system
US11883287B2 (en) 2017-07-06 2024-01-30 Edwards Lifesciences Corporation Steerable rail delivery system
US11123186B2 (en) 2017-07-06 2021-09-21 Edwards Lifesciences Corporation Steerable delivery system and components
US10813757B2 (en) 2017-07-06 2020-10-27 Edwards Lifesciences Corporation Steerable rail delivery system
US11571298B2 (en) 2017-08-03 2023-02-07 Cardiovalve Ltd. Prosthetic valve with appendages
US11246704B2 (en) 2017-08-03 2022-02-15 Cardiovalve Ltd. Prosthetic heart valve
US12232958B2 (en) 2017-08-03 2025-02-25 Cardiovalve Ltd. Prosthetic heart valve
US10537426B2 (en) 2017-08-03 2020-01-21 Cardiovalve Ltd. Prosthetic heart valve
US12064347B2 (en) 2017-08-03 2024-08-20 Cardiovalve Ltd. Prosthetic heart valve
USD841812S1 (en) 2017-08-03 2019-02-26 Cardiovalve Ltd. Prosthetic heart valve element
USD841813S1 (en) 2017-08-03 2019-02-26 Cardiovalve Ltd. Prosthetic heart valve element
US11666444B2 (en) 2017-08-03 2023-06-06 The Regents Of The University Of California Atrial cage for placement, securing and anchoring of atrioventricular valves
US11793633B2 (en) 2017-08-03 2023-10-24 Cardiovalve Ltd. Prosthetic heart valve
US12029646B2 (en) 2017-08-03 2024-07-09 Cardiovalve Ltd. Prosthetic heart valve
US12090048B2 (en) 2017-08-03 2024-09-17 Cardiovalve Ltd. Prosthetic heart valve
US10575948B2 (en) 2017-08-03 2020-03-03 Cardiovalve Ltd. Prosthetic heart valve
US10888421B2 (en) 2017-09-19 2021-01-12 Cardiovalve Ltd. Prosthetic heart valve with pouch
US12458493B2 (en) 2017-09-19 2025-11-04 Cardiovalve Ltd. Prosthetic heart valve and delivery systems and methods
US11382746B2 (en) 2017-12-13 2022-07-12 Cardiovalve Ltd. Prosthetic valve and delivery tool therefor
US11872131B2 (en) 2017-12-13 2024-01-16 Cardiovalve Ltd. Prosthetic valve and delivery tool therefor
US11872124B2 (en) 2018-01-10 2024-01-16 Cardiovalve Ltd. Temperature-control during crimping of an implant
US11633277B2 (en) 2018-01-10 2023-04-25 Cardiovalve Ltd. Temperature-control during crimping of an implant
US11684474B2 (en) 2018-01-25 2023-06-27 Edwards Lifesciences Corporation Delivery system for aided replacement valve recapture and repositioning post-deployment
US12440335B2 (en) 2018-01-25 2025-10-14 Edwards Lifesciences Corporation Delivery system for aided replacement valve recapture and repositioning post-deployment
US12336905B2 (en) 2018-02-15 2025-06-24 Tricares SAS Stent and replacement heart valve prosthesis with improved fixation features
US11051934B2 (en) 2018-02-28 2021-07-06 Edwards Lifesciences Corporation Prosthetic mitral valve with improved anchors and seal
US12290456B2 (en) 2018-08-21 2025-05-06 Shifamed Holdings, Llc Prosthetic cardiac valve devices, systems, and methods
US12419743B2 (en) 2018-10-05 2025-09-23 Shifamed Holdings, Llc Prosthetic cardiac valve devices, systems, and methods
US11986389B2 (en) 2018-10-05 2024-05-21 Shifamed Holdings, Llc Prosthetic cardiac valve devices, systems, and methods
US11672657B2 (en) 2018-10-05 2023-06-13 Shifamed Holdings, Llc Prosthetic cardiac valve devices, systems, and methods
US12403008B2 (en) 2018-10-19 2025-09-02 Shifamed Holdings, Llc Adjustable medical device
US12544222B2 (en) 2019-02-04 2026-02-10 Edwards Lifesciences Corporation Guide wire apparatuses and methods
US11471282B2 (en) 2019-03-19 2022-10-18 Shifamed Holdings, Llc Prosthetic cardiac valve devices, systems, and methods
US12447014B2 (en) 2019-04-12 2025-10-21 Edwards Lifesciences Corporation Valve with multi-part frame and associated resilient bridging features
US12295839B2 (en) 2019-04-23 2025-05-13 Edwards Lifesciences Corporation Motorized implant delivery system
US11707355B2 (en) 2020-05-28 2023-07-25 Medtronic, Inc. Modular heart valve prosthesis
US12053371B2 (en) 2020-08-31 2024-08-06 Shifamed Holdings, Llc Prosthetic valve delivery system
US12357459B2 (en) 2020-12-03 2025-07-15 Cardiovalve Ltd. Transluminal delivery system
US12329635B2 (en) 2020-12-04 2025-06-17 Shifamed Holdings, Llc Flared prosthetic cardiac valve delivery devices and systems
US12364587B2 (en) 2020-12-18 2025-07-22 Edwards Lifesciences Corporation Storage jar assembly for a prosthetic heart valve
US12201521B2 (en) 2021-03-22 2025-01-21 Shifamed Holdings, Llc Anchor position verification for prosthetic cardiac valve devices
US12533233B2 (en) 2021-10-27 2026-01-27 Edwards Lifesciences Corporation System and method for crimping and loading a prosthetic heart valve

Also Published As

Publication number Publication date
EP2015709A1 (en) 2009-01-21
EP2015709B1 (en) 2013-01-09
CA2651281A1 (en) 2007-11-15
WO2007130537A1 (en) 2007-11-15
JP2009536074A (en) 2009-10-08
US20090222082A1 (en) 2009-09-03

Similar Documents

Publication Publication Date Title
US8070800B2 (en) Transcatheter heart valve prostheses
US11844692B2 (en) Heart valve pinch devices and delivery systems
US10842476B2 (en) Heart valve prosthesis and method
US10639149B2 (en) Sutureless prosthetic heart valve
EP3471664B1 (en) Mitral regurgitation treatment device
JP5250046B2 (en) Percutaneous heart valve, system, and method
CN112336498B (en) Mitral valve assembly
US9095434B2 (en) Method and apparatus for replacing a prosthetic valve
EP2967853B1 (en) Heart valve prosthesis
EP3060171B1 (en) Modular valve prosthesis with anchor stent and valve component
EP2900177B1 (en) Systems for replacing a native heart valve and aorta with a prosthetic heart valve and conduit
CN110545756B (en) Novel transcatheter valve replacement device
EP3311778A1 (en) Dual valve prosthesis for transcatheter valve implantation
AU2005213458A1 (en) Transcatheter delivery of a replacement heart valve
CN114727872B (en) Valve delivery system including shortened compensator to improve positioning accuracy
CN114173709A (en) Transcatheter heart valve and method to reduce leaflet thrombosis

Legal Events

Date Code Title Description
AS Assignment

Owner name: CHILDREN'S MEDICAL CENTER CORPORATION, MASSACHUSET

Free format text: ASSIGNMENT OF ASSIGNORS INTEREST;ASSIGNORS:LOCK, JAMES E.;MCELHINNEY, DOFF B.;REEL/FRAME:022590/0578

Effective date: 20080219

ZAAA Notice of allowance and fees due

Free format text: ORIGINAL CODE: NOA

ZAAB Notice of allowance mailed

Free format text: ORIGINAL CODE: MN/=.

STCF Information on status: patent grant

Free format text: PATENTED CASE

FPAY Fee payment

Year of fee payment: 4

MAFP Maintenance fee payment

Free format text: PAYMENT OF MAINTENANCE FEE, 8TH YR, SMALL ENTITY (ORIGINAL EVENT CODE: M2552); ENTITY STATUS OF PATENT OWNER: SMALL ENTITY

Year of fee payment: 8

FEPP Fee payment procedure

Free format text: MAINTENANCE FEE REMINDER MAILED (ORIGINAL EVENT CODE: REM.); ENTITY STATUS OF PATENT OWNER: SMALL ENTITY

LAPS Lapse for failure to pay maintenance fees

Free format text: PATENT EXPIRED FOR FAILURE TO PAY MAINTENANCE FEES (ORIGINAL EVENT CODE: EXP.); ENTITY STATUS OF PATENT OWNER: SMALL ENTITY

STCH Information on status: patent discontinuation

Free format text: PATENT EXPIRED DUE TO NONPAYMENT OF MAINTENANCE FEES UNDER 37 CFR 1.362

FP Lapsed due to failure to pay maintenance fee

Effective date: 20231206