US20180098699A1 - Implanted sensor processing system and method for processing implanted sensor output - Google Patents

Implanted sensor processing system and method for processing implanted sensor output Download PDF

Info

Publication number
US20180098699A1
US20180098699A1 US15/836,085 US201715836085A US2018098699A1 US 20180098699 A1 US20180098699 A1 US 20180098699A1 US 201715836085 A US201715836085 A US 201715836085A US 2018098699 A1 US2018098699 A1 US 2018098699A1
Authority
US
United States
Prior art keywords
sensor
inductor
indicator
radiation
load
Prior art date
Legal status (The legal status is an assumption and is not a legal conclusion. Google has not performed a legal analysis and makes no representation as to the accuracy of the status listed.)
Abandoned
Application number
US15/836,085
Inventor
Jeffery C. Lesho
Current Assignee (The listed assignees may be inaccurate. Google has not performed a legal analysis and makes no representation or warranty as to the accuracy of the list.)
Senseonics Inc
Original Assignee
Senseonics Inc
Priority date (The priority date is an assumption and is not a legal conclusion. Google has not performed a legal analysis and makes no representation as to the accuracy of the date listed.)
Filing date
Publication date
Priority claimed from US09/605,706 external-priority patent/US6400974B1/en
Priority to US15/836,085 priority Critical patent/US20180098699A1/en
Application filed by Senseonics Inc filed Critical Senseonics Inc
Assigned to OXFORD FINANCE LLC, AS COLLATERAL AGENT AND AS LENDER reassignment OXFORD FINANCE LLC, AS COLLATERAL AGENT AND AS LENDER SECURITY INTEREST (SEE DOCUMENT FOR DETAILS). Assignors: SENSEONICS, INCORPORATED
Assigned to SENSEONICS, INCORPORATED reassignment SENSEONICS, INCORPORATED ASSIGNMENT OF ASSIGNORS INTEREST (SEE DOCUMENT FOR DETAILS). Assignors: LESHO, JEFFERY C.
Publication of US20180098699A1 publication Critical patent/US20180098699A1/en
Assigned to SENSEONICS, INCORPORATED reassignment SENSEONICS, INCORPORATED RELEASE BY SECURED PARTY (SEE DOCUMENT FOR DETAILS). Assignors: OXFORD FINANCE LLC, AS COLLATERAL AGENT AND AS LENDER
Assigned to SOLAR CAPITAL LTD., AS AGENT reassignment SOLAR CAPITAL LTD., AS AGENT INTELLECTUAL PROPERTY SECURITY AGREEMENT Assignors: SENSEONICS, INCORPORATED
Assigned to SENSEONICS, INCORPORATED reassignment SENSEONICS, INCORPORATED RELEASE BY SECURED PARTY (SEE DOCUMENT FOR DETAILS). Assignors: SOLAR CAPITAL LTD., AS AGENT
Assigned to WILMINGTON SAVINGS FUND SOCIETY, FSB, AS COLLATERAL AGENT reassignment WILMINGTON SAVINGS FUND SOCIETY, FSB, AS COLLATERAL AGENT INTELLECTUAL PROPERTY SECURITY AGREEMENT - FIRST LIEN Assignors: SENSEONICS HOLDINGS, INC., SENSEONICS, INCORPORATED
Assigned to WILMINGTON SAVINGS FUND SOCIETY, FSB, AS COLLATERAL AGENT reassignment WILMINGTON SAVINGS FUND SOCIETY, FSB, AS COLLATERAL AGENT INTELLECTUAL PROPERTY SECURITY AGREEMENT -SECOND LIEN Assignors: SENSEONICS HOLDINGS, INC., SENSEONICS, INCORPORATED
Assigned to ALTER DOMUS (US) LLC, AS COLLATERAL AGENT reassignment ALTER DOMUS (US) LLC, AS COLLATERAL AGENT INTELLECTUAL PROPERTY SECURITY AGREEMENT Assignors: SENSEONICS, INCORPORATED
Assigned to SENSEONICS, INCORPORATED, SENSEONICS HOLDINGS, INC. reassignment SENSEONICS, INCORPORATED RELEASE OF SECURITY INTEREST IN PATENTS AND TRADEMARKS Assignors: WILMINGTON SAVINGS FUND SOCIETY, FSB, COLLATERAL AGENT
Assigned to SENSEONICS, INCORPORATED, SENSEONICS HOLDINGS, INC. reassignment SENSEONICS, INCORPORATED RELEASE BY SECURED PARTY (SEE DOCUMENT FOR DETAILS). Assignors: ALTER DOMUS (US) LLC, AS COLLATERAL AGENT
Assigned to SENSEONICS, INCORPORATED, SENSEONICS HOLDINGS, INC. reassignment SENSEONICS, INCORPORATED RELEASE BY SECURED PARTY (SEE DOCUMENT FOR DETAILS). Assignors: WILMINGTON SAVINGS FUND SOCIETY, FSB, AS COLLATERAL AGENT
Assigned to HERCULES CAPITAL, INC. reassignment HERCULES CAPITAL, INC. SECURITY INTEREST (SEE DOCUMENT FOR DETAILS). Assignors: SENSEONICS, INCORPORATED
Abandoned legal-status Critical Current

Links

Images

Classifications

    • AHUMAN NECESSITIES
    • A61MEDICAL OR VETERINARY SCIENCE; HYGIENE
    • A61BDIAGNOSIS; SURGERY; IDENTIFICATION
    • A61B5/00Measuring for diagnostic purposes; Identification of persons
    • A61B5/0002Remote monitoring of patients using telemetry, e.g. transmission of vital signals via a communication network
    • A61B5/0031Implanted circuitry
    • AHUMAN NECESSITIES
    • A61MEDICAL OR VETERINARY SCIENCE; HYGIENE
    • A61BDIAGNOSIS; SURGERY; IDENTIFICATION
    • A61B5/00Measuring for diagnostic purposes; Identification of persons
    • A61B5/07Endoradiosondes
    • A61B5/076Permanent implantation
    • AHUMAN NECESSITIES
    • A61MEDICAL OR VETERINARY SCIENCE; HYGIENE
    • A61BDIAGNOSIS; SURGERY; IDENTIFICATION
    • A61B5/00Measuring for diagnostic purposes; Identification of persons
    • A61B5/145Measuring characteristics of blood in vivo, e.g. gas concentration or pH-value ; Measuring characteristics of body fluids or tissues, e.g. interstitial fluid or cerebral tissue
    • A61B5/14546Measuring characteristics of blood in vivo, e.g. gas concentration or pH-value ; Measuring characteristics of body fluids or tissues, e.g. interstitial fluid or cerebral tissue for measuring analytes not otherwise provided for, e.g. ions, cytochromes
    • AHUMAN NECESSITIES
    • A61MEDICAL OR VETERINARY SCIENCE; HYGIENE
    • A61BDIAGNOSIS; SURGERY; IDENTIFICATION
    • A61B5/00Measuring for diagnostic purposes; Identification of persons
    • A61B5/145Measuring characteristics of blood in vivo, e.g. gas concentration or pH-value ; Measuring characteristics of body fluids or tissues, e.g. interstitial fluid or cerebral tissue
    • A61B5/1455Measuring characteristics of blood in vivo, e.g. gas concentration or pH-value ; Measuring characteristics of body fluids or tissues, e.g. interstitial fluid or cerebral tissue using optical sensors, e.g. spectral photometrical oximeters
    • A61B5/1459Measuring characteristics of blood in vivo, e.g. gas concentration or pH-value ; Measuring characteristics of body fluids or tissues, e.g. interstitial fluid or cerebral tissue using optical sensors, e.g. spectral photometrical oximeters invasive, e.g. introduced into the body by a catheter
    • AHUMAN NECESSITIES
    • A61MEDICAL OR VETERINARY SCIENCE; HYGIENE
    • A61BDIAGNOSIS; SURGERY; IDENTIFICATION
    • A61B2560/00Constructional details of operational features of apparatus; Accessories for medical measuring apparatus
    • A61B2560/02Operational features
    • A61B2560/0242Operational features adapted to measure environmental factors, e.g. temperature, pollution
    • A61B2560/0247Operational features adapted to measure environmental factors, e.g. temperature, pollution for compensation or correction of the measured physiological value
    • A61B2560/0252Operational features adapted to measure environmental factors, e.g. temperature, pollution for compensation or correction of the measured physiological value using ambient temperature
    • AHUMAN NECESSITIES
    • A61MEDICAL OR VETERINARY SCIENCE; HYGIENE
    • A61BDIAGNOSIS; SURGERY; IDENTIFICATION
    • A61B2562/00Details of sensors; Constructional details of sensor housings or probes; Accessories for sensors
    • A61B2562/08Sensors provided with means for identification, e.g. barcodes or memory chips
    • AHUMAN NECESSITIES
    • A61MEDICAL OR VETERINARY SCIENCE; HYGIENE
    • A61BDIAGNOSIS; SURGERY; IDENTIFICATION
    • A61B5/00Measuring for diagnostic purposes; Identification of persons
    • A61B5/145Measuring characteristics of blood in vivo, e.g. gas concentration or pH-value ; Measuring characteristics of body fluids or tissues, e.g. interstitial fluid or cerebral tissue
    • A61B5/14532Measuring characteristics of blood in vivo, e.g. gas concentration or pH-value ; Measuring characteristics of body fluids or tissues, e.g. interstitial fluid or cerebral tissue for measuring glucose, e.g. by tissue impedance measurement

Definitions

  • This invention relates to a circuit and method for processing the output of an implanted sensing device for detecting the presence or concentration of an analyte in a liquid or gaseous medium, such as, for example, the human body. More particularly, the invention relates to a circuit and method for processing the output of an implanted fluorescence sensor which indicates analyte concentration as a function of the fluorescent intensity of a fluorescent indicator.
  • the implanted fluorescence sensor is a passive device, and contains no power source.
  • the processing circuit powers the sensor through inductively coupled RF energy emitted by the processing circuit.
  • the processing circuit receives information from the implanted sensor as variations in the load on the processing circuit.
  • U.S. Pat. No. 5,517,313 the disclosure of which is incorporated herein by reference, describes a fluorescence sensing device comprising a layered array of a fluorescent indicator molecule-containing matrix (hereafter “fluorescent matrix”), a high-pass filter and a photodetector.
  • fluorescent matrix a fluorescent indicator molecule-containing matrix
  • a high-pass filter a light source, preferably a light-emitting diode (“LED”), is located at least partially within the indicator material, such that incident light from the light source causes the indicator molecules to fluoresce.
  • the high-pass filter allows emitted light to reach the photodetector, while filtering out scattered incident light from the light source.
  • An analyte is allowed to permeate the fluorescent matrix, changing the fluorescent properties of the indicator material in proportion to the amount of analyte present.
  • the fluorescent emission is then detected and measured by the photodetector, thus providing a measure of the amount or concentration of analyte present within the environment of interest.
  • One advantageous application of a sensor device of the type disclosed in the '313 patent is to implant the device in the body, either subcutaneously or intravenously or otherwise, to allow instantaneous measurements of analytes to be taken at any desired time. For example, it is desirable to measure the concentration of oxygen in the blood of patients under anesthesia, or of glucose in the blood of diabetic patients.
  • an apparatus for retrieving information from a sensor device, comprising an internal sensor unit for taking quantitative analyte measurements, including a first coil forming part of a power supply for said sensor unit, a load coupled to said first coil, and a sensor circuit for modifying said load in accordance with sensor measurement information obtained by said sensor circuit; an external unit including a second coil which is mutually inductively coupled to said first coil upon said second coil coming into a predetermined proximity distance from said first coil, an oscillator for driving said second coil to induce a charging current in said first coil, and a detector for detecting variations in a load on said second coil induced by changes to said load in said internal sensor unit and for providing information signals corresponding to said load changes; and a processor for receiving and processing said information signals.
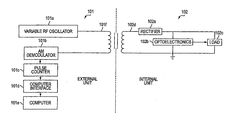
  • FIG. 1 is a block diagram of one preferred embodiment according to the present invention.
  • FIG. 2 is a schematic diagram of an internal sensor device unit according to one preferred embodiment of the invention.
  • FIGS. 3 and 4 are waveform diagrams illustrating signal waveforms at various points in the sensor device circuit
  • FIGS. 5A-5E are diagrams of signals produced by the external data receiving unit
  • FIG. 6 is a schematic, section view of an implantable fluorescence-based sensor according to the invention.
  • FIG. 7 is a schematic diagram of the fluorescence-based sensor shown in FIG. 6 illustrating the wave guide properties of the sensor
  • FIG. 8 is a detailed view of the circled portion of FIG. 6 demonstrating internal reflection within the body of the sensor and a preferred construction of the sensor/tissue interface layer;
  • FIG. 9 is a schematic diagram of an internal sensor device unit according to a second preferred embodiment of the invention.
  • FIG. 10 is a timing diagram illustrating voltage levels of various terminals of the comparator of FIG. 9 as the detector circuit cycles through its operation.
  • FIG. 1 shows a block diagram of one preferred embodiment of an implanted fluorescence sensor processing system according to the present invention.
  • the system includes an external unit 101 and an internal unit 102 .
  • the internal unit 102 would be implanted either subcutaneously or otherwise within the body of a subject.
  • the internal unit contains optoelectronics circuitry 102 b , a component of which may be comprised of a fluorescence sensing device as described more fully hereinafter with reference to FIGS. 6-8 .
  • the optoelectronics circuitry 102 b obtains quantitative measurement information and modifies a load 102 c as a function of the obtained information.
  • the load 102 c in turn varies the amount of current through coil 102 d , which is coupled to coil 101 f of the external unit.
  • An amplitude modulation (AM) demodulator 101 b detects the current variations induced in coil 101 f by coil 102 d coupled thereto, and applies the detected signal to processing circuitry, such as a pulse counter 101 c and computer interface 101 d , for processing the signal into computer-readable format for inputting to a computer 101 e.
  • processing circuitry such as a pulse counter 101 c and computer interface 101 d , for processing the signal into computer-readable format for inputting to a computer 101 e.
  • a variable RF oscillator 101 a provides an RF signal to coil 101 f , which in turn provides electromagnetic energy to coil 102 d , when the coils 101 f and 102 d are within close enough proximity to each other to allow sufficient inductive coupling between the coils.
  • the energy from the RF signal provides operating power for the internal unit 102 to obtain quantitative measurements, which are used to vary the load 102 c and in turn provide a load variation to the coil 101 f that is detected by the external unit and decoded into information.
  • the load variations are coupled from the internal unit to the external unit through the mutual coupling between the coils 101 f and 102 d .
  • the loading can be improved by tuning both the internal coil and the external coil to approximately the same frequency, and increasing the Q factor of the resonant circuits by appropriate construction techniques. Because of their mutual coupling, a current change in one coil induces a current in the other coil. The induced current is detected and decoded into corresponding information.
  • RF oscillator 101 a drives coil 101 f , which induces a current in coil 102 d .
  • the induced current is rectified by a rectifier circuit 102 a and used to power the optoelectronics 102 b .
  • Data is generated by the optoelectronics in the form of a pulse train having a frequency varying as a function of the intensity of light emitted by a fluorescence sensor, such as described in the aforementioned '313 patent.
  • the pulse train modulates the load 102 c in a manner so as to temporarily short the rectifier output terminal to ground.
  • This change in load causes a corresponding change in the current through the internal coil 102 d , thereby causing a change in the magnetic field surrounding external coil 101 f .
  • This change in magnetic field causes a proportional change in the voltage across coil 101 f , which is observable as an amplitude modulation.
  • the following equation describes the voltage seen on the external coil:
  • V I[Z +(( ⁇ M ) 2 )/ Zs] (1)
  • Equation (1) there is a direct relationship between the voltage across the external coil and the impedance presented by the internal sensor circuit. While the impedance Zs is a complex number having both a real and imaginary part, which corresponds respectively to changes in amplitude and frequency of the oscillation signal, the system according to the present embodiment deals only with the real part of the interaction. It will be recognized by those skilled in the art that both types of interaction may be detected by appropriately modifying the external circuit, to improve the signal-to-noise ratio.
  • FIG. 2 shows a schematic diagram of one embodiment of an internal sensor device unit according to the invention.
  • the coil 102 d (L 1 ) in conjunction with capacitor C 1 , diode D 1 (rectifier 102 a ) zener diode D 2 and capacitor C 2 constitute a power supply for the internal unit 102 .
  • Current induced in coil L 1 by the RF voltage applied to external coil 101 f by oscillator 101 a (see FIG. 1 ) is resonated in the L-C tank formed by L 1 and capacitor C 1 , rectified by diode D 1 , and filtered by capacitor C 2 .
  • Zener diode D 2 is provided to prevent the voltage being applied to the circuit from exceeding a maximum value, such as 5 volts.
  • diode D 2 will start to conduct in its reverse breakdown region, preventing the capacitor C 2 from becoming overcharged with respect to the maximum allowable voltage for the circuit.
  • Voltage regulator 205 receives the voltage from capacitor C 2 and produces a fixed output voltage V ref to the noninverting input of operational amplifier 201 .
  • the output terminal of the operational amplifier 201 is connected to a light-emitting diode (LED) 202 connected in series with a feedback resistor R 1 .
  • the inverting input terminal of operational amplifier 201 is supplied with the voltage across R 1 , to thereby regulate the current through LED 202 to V ref /R 1 (ignoring small bias current).
  • Light emitted from LED 202 is incident on the sensor device (not shown) and causes the sensor device to emit light as a function of the amount of the particular analyte being monitored.
  • Photoresistor 203 is connected in series with a capacitor C 3 , and the junction of the photoresistor and the capacitor C 3 is connected to the inverting input terminal of comparator 204 .
  • the other end of photoresistor 203 is connected to the output terminal of the comparator 204 through a conductor V comp .
  • the output of the comparator 204 is also connected to a load capacitor C 4 and a resistor network R 2 , R 3 and R 4 .
  • the comparator forms a variable resistance oscillator, with switching points determined by the values of R 2 , R 3 and R 4 .
  • C 3 is a charge-up capacitor, which determines the base frequency of the oscillator for a given light level. This frequency is given by
  • Equation (3) can be inverted to determine the intensity of light for a given photoresistance; in conjunction with equation (2), the light intensity can be determined from frequency.
  • the values given above are provided as examples only for purposes of explanation. Such values are determined on the basis of the particular photoresistor geometry and materials used.
  • Capacitor C 3 begins to charge with time constant Rphoto*Ctime.
  • C 3 will discharge through Rphoto. Therefore a 50% duty cycle is established, with the frequency being determined by equation (2).
  • Rphoto varies as a function of incident light, given by equation (3).
  • C 4 is a load capacitor, which causes a voltage across C 2 to decrease when the comparator switches states.
  • C 4 must be charged from 0V to Vdc when comparator 204 switches to a high output level state.
  • the current through C 4 is supplied by C 2 , causing the voltage across C 2 to decrease. This in turn causes current to flow through rectifier 102 a to begin charging capacitor C 2 , changing the instantaneous load on the tank circuit including internal coil 102 d .
  • This load is reflected into the impedance of the external coil 101 f as given by equation (1).
  • Channel 4 is the DC voltage on C 2
  • channel 3 shows the same pulse on the external coil 101 f
  • the output of the AM demodulator is shown at channel 2 .
  • Channel 1 shows the output of a comparator which converts the AM demodulator output to a square wave capable of being processed by a digital counter.
  • FIG. 4 shows two complete operation cycles, with the same channel designations indicating the same points in the circuit.
  • FIGS. 5A-5E illustrate timing diagrams for a measurement reading.
  • FIG. 5A shows the envelope of the RF voltage signal applied to the external coil;
  • FIG. 5B shows the waveform of the internal power supply voltage;
  • FIG. 5C shows a waveform of the intensity of LED 202 ;
  • FIG. 5D shows the output of the AM demodulator 101 b ;
  • FIG. 5E shows the timing of the state of circuit operations in accordance with the power supplied to the sensor unit.
  • the internal unit power supply ramps up as the field strength increases.
  • the AM demodulator output contains the measurement data and digital data in the form of ID codes and other parameters specific to the subject in which the internal unit is implanted. This data is encoded on the RF voltage signal through time division multiplexing of the optoelectronic output with digital identification and parameter storage circuits (not shown). The digital circuits use the RF voltage to generate appropriate clock signals.
  • the internal storage circuits can store ID codes and parametric values such as calibration constants. This information is returned along with each reading or quantitative measurement.
  • the signals are clocked out by switching from analog pulse train loading to digitally controlled loading at a predefined point in the measurement sequence. This point is detected in the external unit by detecting a predefined bit synchronization pattern in the output data stream.
  • the ID number is used to identify a particular subject and to prevent data corruption when two or more subjects are in the vicinity of the external unit.
  • the calibration factors are applied to the measurement information to obtain analyte levels in clinical units.
  • the sensor 10 is composed of a sensor body 12 ; a matrix layer 14 coated over the exterior surface of the sensor body 12 , with fluorescent indicator molecules 16 distributed throughout the layer; a radiation source 18 , e.g. an LED, that emits radiation, including radiation over a wavelength or range of wavelengths which interact with the indicator molecules, i.e., in the case of a fluorescence-based sensor, a wavelength or range of wavelengths which cause the indicator molecules 16 to fluoresce; and a photosensitive element 20 , e.g.
  • the sensor 10 further includes a module or housing 66 containing electronic circuitry, and a temperature sensor 64 for providing a temperature reading.
  • indicator molecules 16 could simply be coated on the surface of the sensor body.
  • the indicator molecules are contained within the matrix layer 14 , which comprises a biocompatible polymer matrix that is prepared according to methods known in the art and coated on the surface of the sensor body. Suitable biocompatible matrix materials, which must be permeable to the analyte, include methacrylates and hydrogels which advantageously can be made selectively permeable to the analyte.
  • the sensor body 12 advantageously is formed from a suitable, optically transmissive polymer material which has a refractive index sufficiently different from that of the medium in which the sensor will be used such that the polymer will act as an optical wave guide.
  • Preferred materials are acrylic polymers such as polymethylmethacrylate, polyhydroxypropylmethacrylate and the like, and polycarbonates such as those sold under the trademark Lexan®.
  • the material allows radiation generated by the radiation source 18 (e.g., light at an appropriate wavelength in embodiments in which the radiation source is an LED) and, in the case of a fluorescence-based embodiment, fluorescent light emitted by the indicator molecules, to travel through it.
  • Radiation source or LED 18 corresponds to LED 202 shown in FIG. 2 .
  • radiation e.g., light
  • the radiation source 18 is emitted by the radiation source 18 and at least some of this radiation is reflected internally at the surface of the sensor body 12 , e.g., as at location 22 , thereby “bouncing” back-and-forth throughout the interior of the sensor body 12 .
  • the fluorescent indicator molecules 16 enters the sensor body 12 , either directly or after being reflected by the outermost surface (with respect to the sensor body 12 ) of the matrix layer 14 , as illustrated in region 30 .
  • Such fluorescent light 28 is then reflected internally throughout the sensor body 12 , much like the radiation emitted by the radiation source 18 is, and, like the radiation emitted by the radiation source, some will strike the interface between the sensor body and the surrounding medium at angles too small to be reflected and will pass back out of the sensor body.
  • the senor 10 may also include reflective coatings 32 formed on the ends of the sensor body 12 , between the exterior surface of the sensor body and the matrix layer 14 , to maximize or enhance the internal reflection of the radiation and/or light emitted by fluorescent indicator molecules.
  • the reflective coatings may be formed, for example, from paint or from a metallized material.
  • An optical filter 34 preferably is provided on the light-sensitive surface of the photodetector 20 , which is manufactured of a photosensitive material.
  • Photodetector 20 corresponds to photodetector 203 shown in FIG. 2 .
  • Filter 34 prevents or substantially reduces the amount of radiation generated by the source 18 from impinging on the photosensitive surface of the photosensitive element 20 .
  • the filter allows fluorescent light emitted by fluorescent indicator molecules to pass through it to strike the photosensitive region of the detector. This significantly reduces “noise” in the photodetector signal that is attributable to incident radiation from the source 18 .
  • the specific composition of the matrix layer 14 and the indicator molecules 16 may vary depending on the particular analyte the sensor is to be used to detect and/or where the sensor is to be used to detect the analyte (i.e., in the blood or in subcutaneous tissues).
  • the matrix layer 14 facilitate exposure of the indicator molecules to the analyte and that the optical characteristics of the indicator molecules (e.g., the level of fluorescence of fluorescent indicator molecules) are a function of the concentration of the specific analyte to which the indicator molecules are exposed.
  • the senor 10 is formed, preferably, in a smooth, oblong or rounded shape.
  • it has the approximate size and shape of a bean or a pharmaceutical gelatin capsule, i.e., it is on the order of approximately 300-500 microns to approximately 0.5 inch in length L and on the order of approximately 300 microns to approximately 0.3 inch in depth D, with generally smooth, rounded surfaces throughout.
  • the device of course could be larger or smaller depending on the materials used and upon the intended uses of the device.
  • This configuration permits the sensor 10 to be implanted into the human body, i.e., dermally or into underlying tissues (including into organs or blood vessels) without the sensor interfering with essential bodily functions or causing excessive pain or discomfort.
  • the “foreign body response” is most often fibrotic encapsulation, i.e., the formation of scar tissue.
  • Glucose a primary analyte which sensors according to the invention are expected to be used to detect—may have its rate of diffusion or transport hindered by such fibrotic encapsulation.
  • molecular oxygen (O2) which is very small, may have its rate of diffusion or transport hindered by such fibrotic encapsulation as well. This is simply because the cells forming the fibrotic encapsulation (scar tissue) can be quite dense in nature or have metabolic characteristics different from that of normal tissue.
  • a sensor/tissue interface layer overlying the surface of the sensor body 12 and/or the indicator molecules themselves when the indicator molecules are immobilized directly on the surface of the sensor body, or overlying the surface of the matrix layer 14 when the indicator molecules are contained therein—is prepared from a material which causes little or acceptable levels of fibrotic encapsulation to form.
  • Two examples of such materials described in the literature as having this characteristic are PrecludeTM Periocardial Membrane, available from W.L. Gore, and polyisobutylene covalently combined with hydrophiles as described in Kennedy, “Tailoring Polymers for Biological Uses,” Chemtech, February 1994, pp. 24-31.
  • the sensor/tissue interface layer 36 may include three sublayers 36 a , 36 b , and 36 c .
  • the sublayer 36 a a layer which promotes tissue ingrowth, preferably is made from a biocompatible material that permits the penetration of capillaries 37 into it, even as fibrotic cells 39 (scar tissue) accumulate on it.
  • Gore-Tex® Vascular Graft material ePTFE
  • Dacron® PET
  • MEDPOR Biomaterial produced from high-density polyethylene available from POREX Surgical Inc.
  • materials whose basic composition, pore size, and pore architecture promote tissue and vascular ingrowth into the tissue ingrowth layer.
  • the sublayer 36 b preferably is a biocompatible layer with a pore size (less than 5 micrometers) that is significantly smaller than the pore size of the tissue ingrowth sublayer 36 a so as to prevent tissue ingrowth.
  • a presently preferred material from which the sublayer 36 b is to be made is the Preclude Periocardial Membrane (formerly called GORE-TEX Surgical Membrane), available from W.L. Gore, Inc., which consists of expanded polytetra-fluoroethylene (ePTFE).
  • the third sublayer 36 c acts as a molecular sieve, i.e., it provides a molecular weight cut-off function, excluding molecules such as immunoglobulins, proteins, and glycoproteins while allowing the analyte or analytes of interest to pass through it to the indicator molecules (either coated directly on the sensor body 12 or immobilized within a matrix layer 14 ).
  • Many well known cellulose-type membranes e.g., of the sort used in kidney dialysis filtration cartridges, may be used for the molecular weight cut-off layer 36 c.
  • the senor as shown in FIG. 6 is wholly self-contained such that no electrical leads extend into or out of the sensor body, either to supply power to the sensor (e.g., for driving the source 18 ) or to transmit signals from the sensor. All of the electronics illustrated in FIG. 2 may be housed in a module 66 as shown in FIG. 6 .
  • FIG. 9 A second preferred embodiment of the invention is shown in FIG. 9 , in which two detectors are employed, a signal channel detector 901 and a reference channel detector 902 .
  • a single detector 203 is used to detect radiation from the fluorescent indicator sensor device. While this system works well, it is possible that various disturbances to the system will occur that may affect the accuracy of the sensor output as originally calibrated.
  • Such disturbances include: changes or drift in the component operation intrinsic to the sensor make-up; environmental conditions external to the sensor; or combinations thereof.
  • Internal variables may be introduced by, among other things: aging of the sensor's radiation source; changes affecting the performance or sensitivity of the photosensitive element; deterioration of the indicator molecules; changes in the radiation transmissivity of the sensor body, of the indicator matrix layer, etc.; and changes in other sensor components; etc.
  • the optical reference channel could also be used to compensate or correct for environmental factors (e.g., factors external to the sensor) which could affect the optical characteristics or apparent optical characteristics of the indicator molecule irrespective of the presence or concentration of the analyte.
  • exemplary external factors could include, among other things: the temperature level; the pH level; the ambient light present; the reflectivity or the turbidity of the medium that the sensor is applied in; etc.
  • the optical reference channel can be used to compensate for such variations in the operating conditions of the sensor.
  • the reference channel is identical to the signal channel in all respects except that the reference channel is not responsive to the analyte being measured.
  • reference channels Use of reference channels in optical measurement is generally known in the art.
  • U.S. Pat. No. 3,612,866 the entire disclosure of which is incorporated herein by reference, describes a fluorescent oxygen sensor having a reference channel containing the same indicator chemistry as the measuring channel, except that the reference channel is coated with varnish to render it impermeable to oxygen.
  • the emission spectra which is less sensitive to oxygen is used as a reference to ratio the two emission intensities.
  • the signal and reference channel detectors are back-to-back photodiodes 901 and 902 . While photodiodes are shown, many other types of photodetectors also could be used, such as photoresistors, phototransistors, and the like.
  • LED 903 corresponds to light source 202 in FIG. 2 .
  • comparator 904 is set to trigger at 1 ⁇ 3 and 2 ⁇ 3 of the supply voltage Vss, as biased by resistors 905 , 906 , and 907 .
  • the trigger voltages for comparator 904 could be modified, if desired, by changing the values of the resistors.
  • Capacitor C 2 is a timing element, the value of which is adjusted for the magnitude of the signal and reference channels.
  • the incident light power impinging upon the photodiode detectors changes with analyte concentration.
  • FIG. 10 is a timing diagram showing the voltage levels of the terminals 904 a , 904 b , and 904 c of the comparator 904 .
  • the voltage level of output terminal 904 c is at ground (low output state)
  • the voltage level of capacitor C 2 (which corresponds to the voltage level at input terminal 904 b ) is at 2 ⁇ 3 Vss
  • the voltage level of input terminal 904 a is at 1 ⁇ 3 Vss.
  • photodiode 901 is forward-biased and photodiode 902 is reverse-biased.
  • the voltage drop across the forward-biased photodiode 901 is simply its threshold voltage, while the reverse-biased photodiode 902 exhibits a current flow proportional to the incident light impinging upon it.
  • P (dV*C 2 )/(dt*R), where
  • dt time to charge or discharge (as measured by the external unit)
  • the comparator 904 switches to a high output state Vss on output terminal 904 c .
  • the trigger point (input terminal 904 a ) is now at 2 ⁇ 3 Vss, and the polarity of the photodiodes 901 and 902 is now reversed. That is, photodiode 901 is now reverse-biased and photodiode 902 is now forward-biased.
  • the comparator output will be a 50% duty cycle. If the incident light intensity on each photodiode detector 901 and 902 is equal, then the comparator output will be a 50% duty cycle. If the incident light on each photodiode detector is not equal, then the capacitor charge current will be different than the capacitor discharge current. This is the case shown in FIG. 10 , wherein the capacitor charge current is higher than the capacitor discharge current. Because the same capacitor is charged and discharged, the different charge and discharge times are a function only of the difference between the incident light levels on the two photodiode detectors. Consequently, the duty cycle of the squarewave produced by the comparator 904 is indicative of changes between incident light on the signal channel photodiode and incident light on the reference channel photodiode. Suitable algorithms for taking into account changes in duty cycle of the squarewave from the comparator in determining analyte concentration are generally known in the art (see prior art references discussed supra) and will not be further discussed herein.
  • resistor 910 which is connected to the output terminal 904 c of the comparator 904 .
  • Vss/R 910 is drawn from the voltage regulator 909 .
  • resistor 910 acts as a load that is switched into and out of the circuit at a rate determined by the concentration of analyte and the output of the reference channel.
  • the switching of the resistor load also switches the load on the tank including internal coil 908 .
  • the change in impedance of the tank caused by the changing load is detected by a corresponding change in load on the inductively coupled external coil, as described above.
  • the voltage regulator 909 removes any effects caused by coil placement in the field.
  • the LED 903 emits the excitation light for the indicator molecule sensor. Power for the LED 903 is provided by the voltage regulator. It is important to keep the intensity of the LED constant during an analyte measurement reading. Once the output of the voltage regulator is in regulation, the LED intensity will be constant. The step recovery time of the regulator is very fast, with the transition between loading states being rapid enough to permit differentiation and AC coupling in the external unit.
  • fluorescence-based sensor embodiments described in FIGS. 6-8 are just examples to which the disclosed invention may be applied.
  • the present invention may also be applied in a number of other applications such as, for example, an absorbance-based sensor or a refractive-index-based sensor as described in U.S. patent application Ser. No. 09/383,148, filed Aug. 28, 1999, incorporated herein by reference.

Landscapes

  • Life Sciences & Earth Sciences (AREA)
  • Health & Medical Sciences (AREA)
  • Physics & Mathematics (AREA)
  • Engineering & Computer Science (AREA)
  • Biomedical Technology (AREA)
  • General Health & Medical Sciences (AREA)
  • Pathology (AREA)
  • Veterinary Medicine (AREA)
  • Public Health (AREA)
  • Heart & Thoracic Surgery (AREA)
  • Medical Informatics (AREA)
  • Molecular Biology (AREA)
  • Surgery (AREA)
  • Animal Behavior & Ethology (AREA)
  • Biophysics (AREA)
  • Optics & Photonics (AREA)
  • Spectroscopy & Molecular Physics (AREA)
  • Computer Networks & Wireless Communication (AREA)
  • Investigating, Analyzing Materials By Fluorescence Or Luminescence (AREA)

Abstract

A quantitative measurement system includes an external unit and an internal unit and is provided for obtaining quantitative analyte measurements, such as within the body. In one example application, the internal unit would be implanted either subcutaneously or otherwise within the body of a subject. The internal unit contains optoelectronics circuitry, a component of which may be comprised of a fluorescence sensing device. The optoelectronics circuitry obtains quantitative measurement information and modifies a load as a function of the obtained information. The load in turn varies the amount of current through coil, which is coupled to a coil of the external unit. A demodulator detects the current variations induced in the external coil by the internal coil coupled thereto, and applies the detected signal to processing circuitry, such as a pulse counter and computer interface, for processing the signal into computer-readable format for inputting to a computer.

Description

    CROSS REFERENCE TO RELATED APPLICATIONS
  • This application is a continuation of U.S. patent application Ser. No. 15/456,980, which was filed on Mar. 13, 2017, which is a continuation of U.S. patent application Ser. No. 12/493,478, which was filed on Jun. 29, 2009, abandoned, and is a divisional of U.S. patent application Ser. No. 10/332,619, which was filed on Oct. 21, 2003, now U.S. Pat. No. 7,553,280, and is a national stage application filed under 35 U.S.C. § 371 of PCT/US01/20390, which was filed on Jun. 27, 2001, and is a continuation-in-part of U.S. patent application Ser. No. 09/605,706, which was filed on Jun. 29, 2000, now U.S. Pat. No. 6,400,974, all of which are incorporated by reference herein in their entireties.
  • BACKGROUND OF THE INVENTION Field of the Invention
  • This invention relates to a circuit and method for processing the output of an implanted sensing device for detecting the presence or concentration of an analyte in a liquid or gaseous medium, such as, for example, the human body. More particularly, the invention relates to a circuit and method for processing the output of an implanted fluorescence sensor which indicates analyte concentration as a function of the fluorescent intensity of a fluorescent indicator. The implanted fluorescence sensor is a passive device, and contains no power source. The processing circuit powers the sensor through inductively coupled RF energy emitted by the processing circuit. The processing circuit receives information from the implanted sensor as variations in the load on the processing circuit.
  • Background Art
  • U.S. Pat. No. 5,517,313, the disclosure of which is incorporated herein by reference, describes a fluorescence sensing device comprising a layered array of a fluorescent indicator molecule-containing matrix (hereafter “fluorescent matrix”), a high-pass filter and a photodetector. In this device, a light source, preferably a light-emitting diode (“LED”), is located at least partially within the indicator material, such that incident light from the light source causes the indicator molecules to fluoresce. The high-pass filter allows emitted light to reach the photodetector, while filtering out scattered incident light from the light source. An analyte is allowed to permeate the fluorescent matrix, changing the fluorescent properties of the indicator material in proportion to the amount of analyte present. The fluorescent emission is then detected and measured by the photodetector, thus providing a measure of the amount or concentration of analyte present within the environment of interest.
  • One advantageous application of a sensor device of the type disclosed in the '313 patent is to implant the device in the body, either subcutaneously or intravenously or otherwise, to allow instantaneous measurements of analytes to be taken at any desired time. For example, it is desirable to measure the concentration of oxygen in the blood of patients under anesthesia, or of glucose in the blood of diabetic patients.
  • In order for the measurement information obtained to be used, it has to be retrieved from the sensing device. Because of the size and accessibility constraints on a sensor device implanted in the body, there are shortcomings associated with providing the sensing device with data transmission circuitry and/or a power supply. Therefore, there is a need in the art for an improved sensor device implanted in the body and system for retrieving data from the implanted sensor device.
  • SUMMARY OF THE INVENTION
  • In accordance with the present invention, an apparatus is provided for retrieving information from a sensor device, comprising an internal sensor unit for taking quantitative analyte measurements, including a first coil forming part of a power supply for said sensor unit, a load coupled to said first coil, and a sensor circuit for modifying said load in accordance with sensor measurement information obtained by said sensor circuit; an external unit including a second coil which is mutually inductively coupled to said first coil upon said second coil coming into a predetermined proximity distance from said first coil, an oscillator for driving said second coil to induce a charging current in said first coil, and a detector for detecting variations in a load on said second coil induced by changes to said load in said internal sensor unit and for providing information signals corresponding to said load changes; and a processor for receiving and processing said information signals.
  • BRIEF DESCRIPTION OF THE DRAWINGS
  • The invention will be more fully understood with reference to the following detailed description of a preferred embodiment in conjunction with the accompanying drawings, which are given by way of illustration only and thus are not limitative of the present invention, and wherein:
  • FIG. 1 is a block diagram of one preferred embodiment according to the present invention;
  • FIG. 2 is a schematic diagram of an internal sensor device unit according to one preferred embodiment of the invention;
  • FIGS. 3 and 4 are waveform diagrams illustrating signal waveforms at various points in the sensor device circuit;
  • FIGS. 5A-5E are diagrams of signals produced by the external data receiving unit;
  • FIG. 6 is a schematic, section view of an implantable fluorescence-based sensor according to the invention;
  • FIG. 7 is a schematic diagram of the fluorescence-based sensor shown in FIG. 6 illustrating the wave guide properties of the sensor;
  • FIG. 8 is a detailed view of the circled portion of FIG. 6 demonstrating internal reflection within the body of the sensor and a preferred construction of the sensor/tissue interface layer;
  • FIG. 9 is a schematic diagram of an internal sensor device unit according to a second preferred embodiment of the invention; and
  • FIG. 10 is a timing diagram illustrating voltage levels of various terminals of the comparator of FIG. 9 as the detector circuit cycles through its operation.
  • DETAILED DESCRIPTION OF THE PREFERRED EMBODIMENT
  • FIG. 1 shows a block diagram of one preferred embodiment of an implanted fluorescence sensor processing system according to the present invention.
  • The system includes an external unit 101 and an internal unit 102. In one example of an application of the system, the internal unit 102 would be implanted either subcutaneously or otherwise within the body of a subject. The internal unit contains optoelectronics circuitry 102 b, a component of which may be comprised of a fluorescence sensing device as described more fully hereinafter with reference to FIGS. 6-8. The optoelectronics circuitry 102 b obtains quantitative measurement information and modifies a load 102 c as a function of the obtained information. The load 102 c in turn varies the amount of current through coil 102 d, which is coupled to coil 101 f of the external unit. An amplitude modulation (AM) demodulator 101 b detects the current variations induced in coil 101 f by coil 102 d coupled thereto, and applies the detected signal to processing circuitry, such as a pulse counter 101 c and computer interface 101 d, for processing the signal into computer-readable format for inputting to a computer 101 e.
  • A variable RF oscillator 101 a provides an RF signal to coil 101 f, which in turn provides electromagnetic energy to coil 102 d, when the coils 101 f and 102 d are within close enough proximity to each other to allow sufficient inductive coupling between the coils. The energy from the RF signal provides operating power for the internal unit 102 to obtain quantitative measurements, which are used to vary the load 102 c and in turn provide a load variation to the coil 101 f that is detected by the external unit and decoded into information. The load variations are coupled from the internal unit to the external unit through the mutual coupling between the coils 101 f and 102 d. The loading can be improved by tuning both the internal coil and the external coil to approximately the same frequency, and increasing the Q factor of the resonant circuits by appropriate construction techniques. Because of their mutual coupling, a current change in one coil induces a current in the other coil. The induced current is detected and decoded into corresponding information.
  • RF oscillator 101 a drives coil 101 f, which induces a current in coil 102 d. The induced current is rectified by a rectifier circuit 102 a and used to power the optoelectronics 102 b. Data is generated by the optoelectronics in the form of a pulse train having a frequency varying as a function of the intensity of light emitted by a fluorescence sensor, such as described in the aforementioned '313 patent. The pulse train modulates the load 102 c in a manner so as to temporarily short the rectifier output terminal to ground. This change in load causes a corresponding change in the current through the internal coil 102 d, thereby causing a change in the magnetic field surrounding external coil 101 f. This change in magnetic field causes a proportional change in the voltage across coil 101 f, which is observable as an amplitude modulation. The following equation describes the voltage seen on the external coil:

  • V=I[Z+((ωM)2)/Zs]  (1)
  • where
      • V=voltage across the external coil
      • I=current in the external coil
      • Z=impedance of the primary coil
      • ω=frequency (rad/sec)
      • M=mutual inductance between the coils
      • Zs=impedance of the sensor equivalent circuit
  • As shown by equation (1), there is a direct relationship between the voltage across the external coil and the impedance presented by the internal sensor circuit. While the impedance Zs is a complex number having both a real and imaginary part, which corresponds respectively to changes in amplitude and frequency of the oscillation signal, the system according to the present embodiment deals only with the real part of the interaction. It will be recognized by those skilled in the art that both types of interaction may be detected by appropriately modifying the external circuit, to improve the signal-to-noise ratio.
  • FIG. 2 shows a schematic diagram of one embodiment of an internal sensor device unit according to the invention. The coil 102 d (L1) in conjunction with capacitor C1, diode D1 (rectifier 102 a) zener diode D2 and capacitor C2 constitute a power supply for the internal unit 102. Current induced in coil L1 by the RF voltage applied to external coil 101 f by oscillator 101 a (see FIG. 1) is resonated in the L-C tank formed by L1 and capacitor C1, rectified by diode D1, and filtered by capacitor C2. Zener diode D2 is provided to prevent the voltage being applied to the circuit from exceeding a maximum value, such as 5 volts. As is known by those skilled in the art, if the voltage across capacitor C2 starts to exceed the reverse breakdown voltage of the zener diode D2, diode D2 will start to conduct in its reverse breakdown region, preventing the capacitor C2 from becoming overcharged with respect to the maximum allowable voltage for the circuit.
  • Voltage regulator 205 receives the voltage from capacitor C2 and produces a fixed output voltage Vref to the noninverting input of operational amplifier 201. The output terminal of the operational amplifier 201 is connected to a light-emitting diode (LED) 202 connected in series with a feedback resistor R1. The inverting input terminal of operational amplifier 201 is supplied with the voltage across R1, to thereby regulate the current through LED 202 to Vref/R1 (ignoring small bias current). Light emitted from LED 202 is incident on the sensor device (not shown) and causes the sensor device to emit light as a function of the amount of the particular analyte being monitored. The light from the sensor device impinges on the photosensitive resistor 203, whose resistance changes as a function of the amount of light incident thereon. Photoresistor 203 is connected in series with a capacitor C3, and the junction of the photoresistor and the capacitor C3 is connected to the inverting input terminal of comparator 204. The other end of photoresistor 203 is connected to the output terminal of the comparator 204 through a conductor Vcomp. The output of the comparator 204 is also connected to a load capacitor C4 and a resistor network R2, R3 and R4. The comparator forms a variable resistance oscillator, with switching points determined by the values of R2, R3 and R4. C3 is a charge-up capacitor, which determines the base frequency of the oscillator for a given light level. This frequency is given by

  • f=1/(1.38*Rphoto*C3)  (2)

  • Rphoto=R 2fc[10−γ log(a/2fc)]  (3)
  • Where
      • R2fc (=24 kΩ) is the resistance of photoresistor 203 at 2 footcandles
      • γ(=0.8) is the sensitivity of the photoresistor
      • a=the incident light level in footcandles
  • Equation (3) can be inverted to determine the intensity of light for a given photoresistance; in conjunction with equation (2), the light intensity can be determined from frequency. Of course, the values given above are provided as examples only for purposes of explanation. Such values are determined on the basis of the particular photoresistor geometry and materials used.
  • The comparator 204 switches to a high output when Vtime=V/3, Vcomp=V, and Vtrip=2V/3. Capacitor C3 begins to charge with time constant Rphoto*Ctime. When Vtime reaches 2V/3 the comparator switches states to a low output, changing Vcomp to Vcomp=0, and Vtrip to Vtrip=V/3. At this point C3 will discharge through Rphoto. Therefore a 50% duty cycle is established, with the frequency being determined by equation (2). Rphoto varies as a function of incident light, given by equation (3).
  • C4 is a load capacitor, which causes a voltage across C2 to decrease when the comparator switches states. C4 must be charged from 0V to Vdc when comparator 204 switches to a high output level state. The current through C4 is supplied by C2, causing the voltage across C2 to decrease. This in turn causes current to flow through rectifier 102 a to begin charging capacitor C2, changing the instantaneous load on the tank circuit including internal coil 102 d. This load is reflected into the impedance of the external coil 101 f as given by equation (1).
  • The sensor operation for a single pulse is illustrated in FIG. 3. Channel 4 is the DC voltage on C2, channel 3 shows the same pulse on the external coil 101 f, and the output of the AM demodulator is shown at channel 2. Channel 1 shows the output of a comparator which converts the AM demodulator output to a square wave capable of being processed by a digital counter. FIG. 4 shows two complete operation cycles, with the same channel designations indicating the same points in the circuit.
  • The external unit 101 uses a microprocessor to implement the pulse counter 101 c. When sufficient data has been received to obtain a valid reading, the processor shuts down the RF oscillator. FIGS. 5A-5E illustrate timing diagrams for a measurement reading. FIG. 5A shows the envelope of the RF voltage signal applied to the external coil; FIG. 5B shows the waveform of the internal power supply voltage; FIG. 5C shows a waveform of the intensity of LED 202; FIG. 5D shows the output of the AM demodulator 101 b; and FIG. 5E shows the timing of the state of circuit operations in accordance with the power supplied to the sensor unit. The internal unit power supply ramps up as the field strength increases. When the power supply output crosses the threshold voltage of the LED plus the feedback voltage, the LED turns on. The AM demodulator output contains the measurement data and digital data in the form of ID codes and other parameters specific to the subject in which the internal unit is implanted. This data is encoded on the RF voltage signal through time division multiplexing of the optoelectronic output with digital identification and parameter storage circuits (not shown). The digital circuits use the RF voltage to generate appropriate clock signals.
  • The internal storage circuits can store ID codes and parametric values such as calibration constants. This information is returned along with each reading or quantitative measurement. The signals are clocked out by switching from analog pulse train loading to digitally controlled loading at a predefined point in the measurement sequence. This point is detected in the external unit by detecting a predefined bit synchronization pattern in the output data stream. The ID number is used to identify a particular subject and to prevent data corruption when two or more subjects are in the vicinity of the external unit. The calibration factors are applied to the measurement information to obtain analyte levels in clinical units.
  • A sensor 10 according to one aspect of the invention, which operates based on the fluorescence of fluorescent indicator molecules, is shown in FIG. 6. The sensor 10 is composed of a sensor body 12; a matrix layer 14 coated over the exterior surface of the sensor body 12, with fluorescent indicator molecules 16 distributed throughout the layer; a radiation source 18, e.g. an LED, that emits radiation, including radiation over a wavelength or range of wavelengths which interact with the indicator molecules, i.e., in the case of a fluorescence-based sensor, a wavelength or range of wavelengths which cause the indicator molecules 16 to fluoresce; and a photosensitive element 20, e.g. a photodetector, which, in the case of a fluorescence-based sensor, is sensitive to fluorescent light emitted by the indicator molecules 16 such that a signal is generated in response thereto that is indicative of the level of fluorescence of the indicator molecules. The sensor 10 further includes a module or housing 66 containing electronic circuitry, and a temperature sensor 64 for providing a temperature reading. In the simplest embodiments, indicator molecules 16 could simply be coated on the surface of the sensor body. In preferred embodiments, however, the indicator molecules are contained within the matrix layer 14, which comprises a biocompatible polymer matrix that is prepared according to methods known in the art and coated on the surface of the sensor body. Suitable biocompatible matrix materials, which must be permeable to the analyte, include methacrylates and hydrogels which advantageously can be made selectively permeable to the analyte.
  • The sensor body 12 advantageously is formed from a suitable, optically transmissive polymer material which has a refractive index sufficiently different from that of the medium in which the sensor will be used such that the polymer will act as an optical wave guide. Preferred materials are acrylic polymers such as polymethylmethacrylate, polyhydroxypropylmethacrylate and the like, and polycarbonates such as those sold under the trademark Lexan®. The material allows radiation generated by the radiation source 18 (e.g., light at an appropriate wavelength in embodiments in which the radiation source is an LED) and, in the case of a fluorescence-based embodiment, fluorescent light emitted by the indicator molecules, to travel through it. Radiation source or LED 18 corresponds to LED 202 shown in FIG. 2.
  • As shown in FIG. 7, radiation (e.g., light) is emitted by the radiation source 18 and at least some of this radiation is reflected internally at the surface of the sensor body 12, e.g., as at location 22, thereby “bouncing” back-and-forth throughout the interior of the sensor body 12.
  • It has been found that light reflected from the interface of the sensor body and the surrounding medium is capable of interacting with indicator molecules coated on the surface (whether coated directly thereon or contained within a matrix), e.g., exciting fluorescence in fluorescent indicator molecules coated on the surface. In addition, light which strikes the interface at angles (measured relative to a direction normal to the interface) too small to be reflected passes through the interface and also excites fluorescence in fluorescent indicator molecules. Other modes of interaction between the light (or other radiation) and the interface and the indicator molecules have also been found to be useful depending on the construction of and application for the sensor. Such other modes include evanescent excitation and surface plasma resonance type excitation.
  • As demonstrated by FIG. 8, at least some of the light emitted by the fluorescent indicator molecules 16 enters the sensor body 12, either directly or after being reflected by the outermost surface (with respect to the sensor body 12) of the matrix layer 14, as illustrated in region 30. Such fluorescent light 28 is then reflected internally throughout the sensor body 12, much like the radiation emitted by the radiation source 18 is, and, like the radiation emitted by the radiation source, some will strike the interface between the sensor body and the surrounding medium at angles too small to be reflected and will pass back out of the sensor body.
  • As further illustrated in FIG. 6, the sensor 10 may also include reflective coatings 32 formed on the ends of the sensor body 12, between the exterior surface of the sensor body and the matrix layer 14, to maximize or enhance the internal reflection of the radiation and/or light emitted by fluorescent indicator molecules. The reflective coatings may be formed, for example, from paint or from a metallized material.
  • An optical filter 34 preferably is provided on the light-sensitive surface of the photodetector 20, which is manufactured of a photosensitive material. Photodetector 20 corresponds to photodetector 203 shown in FIG. 2. Filter 34, as is known from the prior art, prevents or substantially reduces the amount of radiation generated by the source 18 from impinging on the photosensitive surface of the photosensitive element 20. At the same time, the filter allows fluorescent light emitted by fluorescent indicator molecules to pass through it to strike the photosensitive region of the detector. This significantly reduces “noise” in the photodetector signal that is attributable to incident radiation from the source 18.
  • The application for which the sensor 10 according to one aspect of the invention was developed in particular—although by no means the only application for which it is suitable—is measuring various biological analytes in the human body, e.g., glucose, oxygen, toxins, pharmaceuticals or other drugs, hormones, and other metabolic analytes. The specific composition of the matrix layer 14 and the indicator molecules 16 may vary depending on the particular analyte the sensor is to be used to detect and/or where the sensor is to be used to detect the analyte (i.e., in the blood or in subcutaneous tissues). Two constant requirements, however, are that the matrix layer 14 facilitate exposure of the indicator molecules to the analyte and that the optical characteristics of the indicator molecules (e.g., the level of fluorescence of fluorescent indicator molecules) are a function of the concentration of the specific analyte to which the indicator molecules are exposed.
  • To facilitate use in-situ in the human body, the sensor 10 is formed, preferably, in a smooth, oblong or rounded shape. Advantageously, it has the approximate size and shape of a bean or a pharmaceutical gelatin capsule, i.e., it is on the order of approximately 300-500 microns to approximately 0.5 inch in length L and on the order of approximately 300 microns to approximately 0.3 inch in depth D, with generally smooth, rounded surfaces throughout. The device of course could be larger or smaller depending on the materials used and upon the intended uses of the device. This configuration permits the sensor 10 to be implanted into the human body, i.e., dermally or into underlying tissues (including into organs or blood vessels) without the sensor interfering with essential bodily functions or causing excessive pain or discomfort.
  • Moreover, it will be appreciated that any implant placed within the human (or any other animal's) body—even an implant that is comprised of “biocompatible” materials—will cause, to some extent, a “foreign body response” within the organism into which the implant is inserted, simply by virtue of the fact that the implant presents a stimulus. In the case of a sensor 10 that is implanted within the human body, the “foreign body response” is most often fibrotic encapsulation, i.e., the formation of scar tissue. Glucose—a primary analyte which sensors according to the invention are expected to be used to detect—may have its rate of diffusion or transport hindered by such fibrotic encapsulation. Even molecular oxygen (O2), which is very small, may have its rate of diffusion or transport hindered by such fibrotic encapsulation as well. This is simply because the cells forming the fibrotic encapsulation (scar tissue) can be quite dense in nature or have metabolic characteristics different from that of normal tissue.
  • To overcome this potential hindrance to or delay in exposing the indicator molecules to biological analytes, two primary approaches are contemplated. According to one approach, which is perhaps the simplest approach, a sensor/tissue interface layer—overlying the surface of the sensor body 12 and/or the indicator molecules themselves when the indicator molecules are immobilized directly on the surface of the sensor body, or overlying the surface of the matrix layer 14 when the indicator molecules are contained therein—is prepared from a material which causes little or acceptable levels of fibrotic encapsulation to form. Two examples of such materials described in the literature as having this characteristic are Preclude™ Periocardial Membrane, available from W.L. Gore, and polyisobutylene covalently combined with hydrophiles as described in Kennedy, “Tailoring Polymers for Biological Uses,” Chemtech, February 1994, pp. 24-31.
  • Alternatively, a sensor/tissue interface layer that is composed of several layers of specialized biocompatible materials can be provided over the sensor. As shown in FIG. 8, for example, the sensor/tissue interface layer 36 may include three sublayers 36 a, 36 b, and 36 c. The sublayer 36 a, a layer which promotes tissue ingrowth, preferably is made from a biocompatible material that permits the penetration of capillaries 37 into it, even as fibrotic cells 39 (scar tissue) accumulate on it. Gore-Tex® Vascular Graft material (ePTFE), Dacron® (PET) Vascular Graft materials which have been in use for many years, and MEDPOR Biomaterial produced from high-density polyethylene (available from POREX Surgical Inc.) are examples of materials whose basic composition, pore size, and pore architecture promote tissue and vascular ingrowth into the tissue ingrowth layer.
  • The sublayer 36 b, on the other hand, preferably is a biocompatible layer with a pore size (less than 5 micrometers) that is significantly smaller than the pore size of the tissue ingrowth sublayer 36 a so as to prevent tissue ingrowth. A presently preferred material from which the sublayer 36 b is to be made is the Preclude Periocardial Membrane (formerly called GORE-TEX Surgical Membrane), available from W.L. Gore, Inc., which consists of expanded polytetra-fluoroethylene (ePTFE).
  • The third sublayer 36 c acts as a molecular sieve, i.e., it provides a molecular weight cut-off function, excluding molecules such as immunoglobulins, proteins, and glycoproteins while allowing the analyte or analytes of interest to pass through it to the indicator molecules (either coated directly on the sensor body 12 or immobilized within a matrix layer 14). Many well known cellulose-type membranes, e.g., of the sort used in kidney dialysis filtration cartridges, may be used for the molecular weight cut-off layer 36 c.
  • As will be recognized, the sensor as shown in FIG. 6 is wholly self-contained such that no electrical leads extend into or out of the sensor body, either to supply power to the sensor (e.g., for driving the source 18) or to transmit signals from the sensor. All of the electronics illustrated in FIG. 2 may be housed in a module 66 as shown in FIG. 6.
  • A second preferred embodiment of the invention is shown in FIG. 9, in which two detectors are employed, a signal channel detector 901 and a reference channel detector 902. In the first embodiment as shown in FIG. 2, a single detector 203 is used to detect radiation from the fluorescent indicator sensor device. While this system works well, it is possible that various disturbances to the system will occur that may affect the accuracy of the sensor output as originally calibrated.
  • Examples of such disturbances include: changes or drift in the component operation intrinsic to the sensor make-up; environmental conditions external to the sensor; or combinations thereof. Internal variables may be introduced by, among other things: aging of the sensor's radiation source; changes affecting the performance or sensitivity of the photosensitive element; deterioration of the indicator molecules; changes in the radiation transmissivity of the sensor body, of the indicator matrix layer, etc.; and changes in other sensor components; etc. In other examples, the optical reference channel could also be used to compensate or correct for environmental factors (e.g., factors external to the sensor) which could affect the optical characteristics or apparent optical characteristics of the indicator molecule irrespective of the presence or concentration of the analyte. In this regard, exemplary external factors could include, among other things: the temperature level; the pH level; the ambient light present; the reflectivity or the turbidity of the medium that the sensor is applied in; etc. The optical reference channel can be used to compensate for such variations in the operating conditions of the sensor. The reference channel is identical to the signal channel in all respects except that the reference channel is not responsive to the analyte being measured.
  • Use of reference channels in optical measurement is generally known in the art. For example, U.S. Pat. No. 3,612,866, the entire disclosure of which is incorporated herein by reference, describes a fluorescent oxygen sensor having a reference channel containing the same indicator chemistry as the measuring channel, except that the reference channel is coated with varnish to render it impermeable to oxygen.
  • U.S. Pat. Nos. 4,861,727 and 5,190,729, the entire disclosures of which are incorporated herein by reference, describe oxygen sensors employing two different lanthanide-based indicator chemistries that emit at two different wavelengths, a terbium-based indicator being quenched by oxygen and a europium-based indicator being largely unaffected by oxygen. U.S. Pat. No. 5,094,959, the entire disclosure of which is also incorporated herein by reference, describes an oxygen sensor in which a single indicator molecule is irradiated at a certain wavelength and the fluorescence emitted by the molecule is measured over two different emission spectra having two different sensitivities to oxygen. Specifically, the emission spectra which is less sensitive to oxygen is used as a reference to ratio the two emission intensities. U.S. Pat. Nos. 5,462,880 and 5,728,422, the entire disclosures of which are also incorporated herein by reference, describe a ratiometric fluorescence oxygen sensing method employing a reference molecule that is substantially unaffected by oxygen and has a photodecomposition rate similar to the indicator molecule. Additionally, Muller, B., et al., ANALYST, Vol. 121, pp. 339-343 (March 1996), the entire disclosure of which is incorporated herein by reference, describes a fluorescence sensor for dissolved CO2, in which a blue LED light source is directed through a fiber optic coupler to an indicator channel and to a separate reference photodetector which detects changes in the LED light intensity.
  • In addition, U.S. Pat. No. 4,580,059, the entire disclosure of which is incorporated herein by reference, describes a fluorescent-based sensor containing a reference light measuring cell for measuring changes in the intensity of the excitation light source—see, e.g., column 10, lines 1, et seq.
  • As shown in FIG. 9, the signal and reference channel detectors are back-to- back photodiodes 901 and 902. While photodiodes are shown, many other types of photodetectors also could be used, such as photoresistors, phototransistors, and the like. LED 903 corresponds to light source 202 in FIG. 2. In operation, comparator 904 is set to trigger at ⅓ and ⅔ of the supply voltage Vss, as biased by resistors 905, 906, and 907. The trigger voltages for comparator 904 could be modified, if desired, by changing the values of the resistors. Capacitor C2 is a timing element, the value of which is adjusted for the magnitude of the signal and reference channels. The current through each photodiode is a function of the intensity or power of incident light entering it, as represented by the equation I=RP, where
  • I=current
  • R=responsivity (Amp/Watt) and
  • P=light power in watts.
  • In the fluorescence embodiment, the incident light power impinging upon the photodiode detectors changes with analyte concentration.
  • FIG. 10 is a timing diagram showing the voltage levels of the terminals 904 a, 904 b, and 904 c of the comparator 904. At the cycle start, the voltage level of output terminal 904 c is at ground (low output state), the voltage level of capacitor C2 (which corresponds to the voltage level at input terminal 904 b) is at ⅔ Vss, and the voltage level of input terminal 904 a is at ⅓ Vss. In this instance, photodiode 901 is forward-biased and photodiode 902 is reverse-biased. The voltage drop across the forward-biased photodiode 901 is simply its threshold voltage, while the reverse-biased photodiode 902 exhibits a current flow proportional to the incident light impinging upon it. This current discharges the capacitor C2 at a rate of dV/dt=I902/C2, until it reaches a voltage level of ⅓ Vss as shown in FIG. 10. Inserting the above equation for photodiode current results in the equation dV/dt=RP/C2. Solving for P, P=(dV*C2)/(dt*R), where
  • dV=difference between comparator trigger points (in the example ⅓ Vss)
  • C2=value of capacitor C2 in farads
  • dt=time to charge or discharge (as measured by the external unit) and
  • R=responsivity (in amps/watts) of the photodetector
  • At this time, the comparator 904 switches to a high output state Vss on output terminal 904 c. The trigger point (input terminal 904 a) is now at ⅔ Vss, and the polarity of the photodiodes 901 and 902 is now reversed. That is, photodiode 901 is now reverse-biased and photodiode 902 is now forward-biased.
  • Photodiode 901 now controls the charging of capacitor C2 at a rate of dV/dt=I901/C2 until the voltage of capacitor C2 reaches ⅔ Vss. When the voltage across capacitor C2 reaches ⅔ Vss, the output of the comparator 904 again switches to the low output state. So long as the system is powered and incident light is present on the photodiodes, the cycle will continue to repeat as shown in FIG. 10.
  • If the incident light intensity on each photodiode detector 901 and 902 is equal, then the comparator output will be a 50% duty cycle. If the incident light on each photodiode detector is not equal, then the capacitor charge current will be different than the capacitor discharge current. This is the case shown in FIG. 10, wherein the capacitor charge current is higher than the capacitor discharge current. Because the same capacitor is charged and discharged, the different charge and discharge times are a function only of the difference between the incident light levels on the two photodiode detectors. Consequently, the duty cycle of the squarewave produced by the comparator 904 is indicative of changes between incident light on the signal channel photodiode and incident light on the reference channel photodiode. Suitable algorithms for taking into account changes in duty cycle of the squarewave from the comparator in determining analyte concentration are generally known in the art (see prior art references discussed supra) and will not be further discussed herein.
  • Once the squarewave is established, it must be transferred to the external unit. This is done by loading the internal coil 908, and then detecting the change in load on the external coil inductively coupled to the internal coil. The loading is provided by resistor 910, which is connected to the output terminal 904 c of the comparator 904. When the comparator is in a high output state, an additional current Vss/R910 is drawn from the voltage regulator 909. When the comparator is in a low output state, this additional current is not present. Consequently, resistor 910 acts as a load that is switched into and out of the circuit at a rate determined by the concentration of analyte and the output of the reference channel. Because the current through resistor 910 is provided by the internal tuned tank circuit including coil 908, the switching of the resistor load also switches the load on the tank including internal coil 908. The change in impedance of the tank caused by the changing load is detected by a corresponding change in load on the inductively coupled external coil, as described above. The voltage regulator 909 removes any effects caused by coil placement in the field. The LED 903 emits the excitation light for the indicator molecule sensor. Power for the LED 903 is provided by the voltage regulator. It is important to keep the intensity of the LED constant during an analyte measurement reading. Once the output of the voltage regulator is in regulation, the LED intensity will be constant. The step recovery time of the regulator is very fast, with the transition between loading states being rapid enough to permit differentiation and AC coupling in the external unit.
  • As also will be recognized, the fluorescence-based sensor embodiments described in FIGS. 6-8 are just examples to which the disclosed invention may be applied. The present invention may also be applied in a number of other applications such as, for example, an absorbance-based sensor or a refractive-index-based sensor as described in U.S. patent application Ser. No. 09/383,148, filed Aug. 28, 1999, incorporated herein by reference.
  • The invention having been thus described, it will be apparent to those skilled in the art that the same may be varied in many ways without departing from the spirit and scope of the invention. For example, while the invention has been described with reference to an analog circuit, the principles of the invention may be carried out equivalently through the use of an appropriately programmed digital signal processor. Any and all such modifications are intended to be encompassed by the following claims.

Claims (25)

What is claimed is:
1. A system comprising:
a sensor unit for taking quantitative analyte measurements, the sensor unit including a first inductor forming part of a power supply for said sensor unit, a load coupled to said first inductor, and a sensor circuit for modifying said load in accordance with sensor measurement information obtained by said sensor circuit;
a reader including a second inductor that is mutually inductively coupled to said first inductor upon said second inductor being placed within a predetermined proximal distance from said first inductor, a driver for driving said second inductor to induce a charging current in said first inductor, a detector for detecting variations in a load on said second inductor induced by changes to said load in said sensor unit and for providing information signals corresponding to said load changes, and a processor for receiving and processing said information signals.
2. The system of claim 1, wherein said sensor circuit comprises an indicator that emits radiation in proportion to levels of said analyte.
3. The system of claim 2, wherein said load comprises a photosensitive resistor that receives radiation from said indicator.
4. The system of claim 2, wherein said sensor circuit further comprises a radiation source configured to emit electromagnetic radiation that stimulates emission of the radiation.
5. The system of claim 2, wherein said indicator emits fluorescent radiation in proportion to levels of said analyte.
6. The system of claim 5, wherein said load comprises a photosensitive resistor that receives fluorescent radiation from said indicator.
7. The system of claim 4, wherein said radiation source for emitting electromagnetic radiation stimulates emission of fluorescent radiation.
8. The system of claim 1, wherein said sensor unit is implantable in the body of a mammal.
9. The system of claim 1, wherein said power supply further includes a charging capacitor that is charged by said charging current.
10. The system of claim 1, wherein said detector of said reader includes an amplitude modulation (AM) demodulator for detecting changes in amplitude of a voltage waveform caused by changes in said load, said voltage waveform being inductively reflected into said second inductor through said first inductor.
11. The system of claim 10, wherein said processor includes a pulse counter for converting said detected changes in waveform amplitude into pulses suitable for being converted into computer-readable form.
12. The system of claim 1, wherein said reader includes a computer configured to receive the processed information signals.
13. The system of claim 1, wherein said sensor circuit comprises an indicator that absorbs radiation in proportion to levels of said analyte.
14. The system of claim 1, wherein the sensor unit is an internal sensor unit.
15. The system of claim 14, wherein the internal sensor unit is a partially or fully internal sensor unit.
16. The system of claim 1, wherein the driver comprises an oscillator.
17. A sensor device for detecting the presence or concentration of an analyte in a medium, comprising:
a sensor body;
an indicator having a characteristic that is affected by the presence or concentration of an analyte;
a detector configured to detect a signal from said indicator, said signal being indicative of the characteristic of the indicator; and
a first inductor coupled to said detector, said first inductor being adapted to receive from a second inductor a magnetically induced electric current, and being further adapted to induce in said second inductor an electric current that changes as a function of the signal detected by said detector.
18. The sensor device of claim 17, further comprising a radiation source in said sensor body, wherein the radiation source is configured to emit radiation within said sensor body.
19. The sensor device of claim 18, wherein the indicator is positioned on said sensor body to receive radiation emitted by said radiation source.
20. The sensor device of claim 18, wherein said characteristic is an optical characteristic, and the detector comprises a photosensitive element configured to receive light emitted by said indicator.
21. The sensor device of claim 17, wherein magnetically induced electric current supplies power to the sensor device.
22. The sensor device of claim 17, wherein the sensor body is an enclosed sensor body and has an outer surface surrounding said sensor body.
23. The sensor device of claim 17, wherein the detector is located in the sensor body.
24. The sensor device of claim 17, wherein the first inductor is located in the sensor body.
25. The sensor device of claim 17, wherein the indicator comprises a matrix layer on the exterior surface of the sensor body, and indicator molecules are distributed throughout the matrix layer.
US15/836,085 2000-06-29 2017-12-08 Implanted sensor processing system and method for processing implanted sensor output Abandoned US20180098699A1 (en)

Priority Applications (1)

Application Number Priority Date Filing Date Title
US15/836,085 US20180098699A1 (en) 2000-06-29 2017-12-08 Implanted sensor processing system and method for processing implanted sensor output

Applications Claiming Priority (6)

Application Number Priority Date Filing Date Title
US09/605,706 US6400974B1 (en) 2000-06-29 2000-06-29 Implanted sensor processing system and method for processing implanted sensor output
PCT/US2001/020390 WO2002002005A1 (en) 2000-06-29 2001-06-27 Implanted sensor processing system and method
US10/332,619 US7553280B2 (en) 2000-06-29 2001-06-27 Implanted sensor processing system and method
US12/493,478 US20090264718A1 (en) 2000-06-29 2009-06-29 Implanted sensor processing system and method for processing implanted sensor output
US15/456,980 US20170181632A1 (en) 2000-06-29 2017-03-13 Implanted sensor processing system and method for processing implanted sensor output
US15/836,085 US20180098699A1 (en) 2000-06-29 2017-12-08 Implanted sensor processing system and method for processing implanted sensor output

Related Parent Applications (1)

Application Number Title Priority Date Filing Date
US15/456,980 Continuation US20170181632A1 (en) 2000-06-29 2017-03-13 Implanted sensor processing system and method for processing implanted sensor output

Publications (1)

Publication Number Publication Date
US20180098699A1 true US20180098699A1 (en) 2018-04-12

Family

ID=31993722

Family Applications (4)

Application Number Title Priority Date Filing Date
US10/332,619 Expired - Fee Related US7553280B2 (en) 2000-06-29 2001-06-27 Implanted sensor processing system and method
US12/493,478 Abandoned US20090264718A1 (en) 2000-06-29 2009-06-29 Implanted sensor processing system and method for processing implanted sensor output
US15/456,980 Abandoned US20170181632A1 (en) 2000-06-29 2017-03-13 Implanted sensor processing system and method for processing implanted sensor output
US15/836,085 Abandoned US20180098699A1 (en) 2000-06-29 2017-12-08 Implanted sensor processing system and method for processing implanted sensor output

Family Applications Before (3)

Application Number Title Priority Date Filing Date
US10/332,619 Expired - Fee Related US7553280B2 (en) 2000-06-29 2001-06-27 Implanted sensor processing system and method
US12/493,478 Abandoned US20090264718A1 (en) 2000-06-29 2009-06-29 Implanted sensor processing system and method for processing implanted sensor output
US15/456,980 Abandoned US20170181632A1 (en) 2000-06-29 2017-03-13 Implanted sensor processing system and method for processing implanted sensor output

Country Status (1)

Country Link
US (4) US7553280B2 (en)

Cited By (1)

* Cited by examiner, † Cited by third party
Publication number Priority date Publication date Assignee Title
WO2021176449A1 (en) 2020-03-03 2021-09-10 Karmon Benny Bone implant

Families Citing this family (23)

* Cited by examiner, † Cited by third party
Publication number Priority date Publication date Assignee Title
US6675049B2 (en) * 2001-07-17 2004-01-06 Medtronic, Inc. Method and apparatus for automatic implantable medical lead recognition and configuration
JP4607859B2 (en) * 2003-02-19 2011-01-05 サイセル・テクノロジーズ,インコーポレイテッド In vivo fluorescent sensor, system and related methods operating in conjunction with a fluorescent analyte
US7646869B2 (en) * 2003-04-29 2010-01-12 Koninklijke Philips Electronics N.V. System for copy protection of an information carrier
NZ528542A (en) * 2003-09-29 2006-09-29 Auckland Uniservices Ltd Inductively-powered power transfer system with one or more, independently controlled loads
US7450980B2 (en) * 2004-03-31 2008-11-11 Terumo Kabushiki Kaisha Intracorporeal substance measuring assembly
US7545272B2 (en) 2005-02-08 2009-06-09 Therasense, Inc. RF tag on test strips, test strip vials and boxes
US20060241397A1 (en) * 2005-02-22 2006-10-26 Assaf Govari Reference pad for position sensing
US7808253B2 (en) * 2005-12-02 2010-10-05 Semiconductor Energy Laboratory Co., Ltd. Test method of microstructure body and micromachine
DE102007003341B4 (en) * 2007-01-17 2018-01-04 Eyesense Ag Eyepiece sensor and measuring system for detecting an analyte in an eye fluid
JP5188880B2 (en) * 2008-05-26 2013-04-24 オリンパスメディカルシステムズ株式会社 Capsule type medical device and method for charging capsule type medical device
EP2330968B1 (en) * 2008-07-20 2013-04-03 CardioMems, Inc. Physical property sensor with active electronic circuit and wireless power and data transmission
US9724308B2 (en) * 2010-09-10 2017-08-08 Fibralign Corporation Biodegradable multilayer constructs
WO2012154286A1 (en) * 2011-02-28 2012-11-15 Abbott Diabetes Care Inc. Devices, systems, and methods associated with analyte monitoring devices and devices incorporating the same
AU2012229109A1 (en) 2011-03-15 2013-10-10 Senseonics, Incorporated Integrated catalytic protection of oxidation sensitive materials
EP3524152A1 (en) * 2011-10-11 2019-08-14 Senseonics, Incorporated Electrodynamic field strength triggering system
US10660542B2 (en) * 2013-01-26 2020-05-26 Cianna Medical, Inc. RFID markers and systems and methods for identifying and locating them
CA2913780A1 (en) 2013-06-19 2014-12-24 Senseonics, Incorporated A remotely powered sensor with antenna location independent of sensing site
US9963556B2 (en) 2013-09-18 2018-05-08 Senseonics, Incorporated Critical point drying of hydrogels in analyte sensors
EP3076550A1 (en) * 2015-03-30 2016-10-05 ALSTOM Technology Ltd Circuit and a method for the galvanically isolated control of a semiconductor switch
DE102015108644A1 (en) 2015-06-01 2016-12-01 Biotronik Se & Co. Kg Cross sensitivity compensated biosensor
EP3422991B1 (en) 2016-03-03 2021-04-21 Cianna Medical, Inc. Implantable markers and systems for using them
US11883150B2 (en) 2018-09-06 2024-01-30 Cianna Medical, Inc. Systems for identifying and locating reflectors using orthogonal sequences of reflector switching
WO2021092032A1 (en) 2019-11-05 2021-05-14 Cianna Medical, Inc. Systems and methods for imaging a body region using implanted markers

Citations (7)

* Cited by examiner, † Cited by third party
Publication number Priority date Publication date Assignee Title
US4571589A (en) * 1982-11-22 1986-02-18 Cordis Corporation Biomedical implant with high speed, low power two-way telemetry
US5713939A (en) * 1996-09-16 1998-02-03 Sulzer Intermedics Inc. Data communication system for control of transcutaneous energy transmission to an implantable medical device
US5833603A (en) * 1996-03-13 1998-11-10 Lipomatrix, Inc. Implantable biosensing transponder
US6175752B1 (en) * 1998-04-30 2001-01-16 Therasense, Inc. Analyte monitoring device and methods of use
US6304766B1 (en) * 1998-08-26 2001-10-16 Sensors For Medicine And Science Optical-based sensing devices, especially for in-situ sensing in humans
US6464687B1 (en) * 1999-03-09 2002-10-15 Ball Semiconductor, Inc. Implantable drug delivery system
US6546268B1 (en) * 1999-06-02 2003-04-08 Ball Semiconductor, Inc. Glucose sensor

Family Cites Families (116)

* Cited by examiner, † Cited by third party
Publication number Priority date Publication date Assignee Title
JPS36022343B1 (en) * 1959-12-24 1961-11-18 Univ Tokyo
US3576554A (en) * 1967-11-30 1971-04-27 Fairchild Hiller Corp Passive telemetry system
GB1365553A (en) * 1971-06-24 1974-09-04 Foseco Int Ingot mould head boxes
US3872455A (en) * 1971-11-17 1975-03-18 Monitron Ind Physiological measurement display system
US3800300A (en) * 1971-12-23 1974-03-26 Ball Corp Condition responsive signal producing device
US3853117A (en) * 1972-05-15 1974-12-10 Berkeley Bio Eng Inc Pressure sensing system and method
US3949388A (en) * 1972-11-13 1976-04-06 Monitron Industries, Inc. Physiological sensor and transmitter
US3921621A (en) * 1973-08-23 1975-11-25 Lee R Baessler Method and system utilizing a disposable transmitter for monitoring a patient{3 s condition
SE406551B (en) * 1974-05-07 1979-02-19 Seiko Instr & Electronics SYSTEM FOR DETECTING INFORMATION REGARDING THE ELECTROMOTOR POWER OF SERIES-PLACED BATTERIES IN A HEART STIMULATOR
US3972320A (en) * 1974-08-12 1976-08-03 Gabor Ujhelyi Kalman Patient monitoring system
GB1543155A (en) * 1975-05-02 1979-03-28 Nat Res Dev Transponders
US4186749A (en) * 1977-05-12 1980-02-05 The United States Of America As Represented By The Administrator Of The National Aeronautics And Space Administration Induction powered biological radiosonde
US4361153A (en) * 1980-05-27 1982-11-30 Cordis Corporation Implant telemetry system
US4494545A (en) * 1980-05-27 1985-01-22 Cordis Corporation Implant telemetry system
US4681111A (en) * 1985-04-05 1987-07-21 Siemens-Pacesetter, Inc. Analog and digital telemetry system for an implantable device
US5001054A (en) * 1986-06-26 1991-03-19 Becton, Dickinson And Company Method for monitoring glucose
US4861163A (en) * 1988-01-06 1989-08-29 Amoco Corporation Ellipsoidal cylinder fluorescence analyzer
US5024224A (en) * 1988-09-01 1991-06-18 Storz Instrument Company Method of readout of implanted hearing aid device and apparatus therefor
US5218207A (en) * 1989-01-19 1993-06-08 Futrex, Inc. Using led harmonic wavelengths for near-infrared quantitative
JP2910858B2 (en) 1989-08-31 1999-06-23 富士重工業株式会社 Engine knock detection method
US6040194A (en) * 1989-12-14 2000-03-21 Sensor Technologies, Inc. Methods and device for detecting and quantifying substances in body fluids
US5244810A (en) * 1990-01-12 1993-09-14 Gottlieb Amos J Analytical method
DE69102470T2 (en) * 1990-04-05 1995-01-26 Nippon Denso Co Tire pressure detection device for a vehicle.
US5117825A (en) * 1990-11-09 1992-06-02 John Grevious Closed loop transmitter for medical implant
US5303026A (en) * 1991-02-26 1994-04-12 The Regents Of The University Of California Los Alamos National Laboratory Apparatus and method for spectroscopic analysis of scattering media
NL9200207A (en) * 1992-02-05 1993-09-01 Nedap Nv IMPLANTABLE BIOMEDICAL SENSOR DEVICE, IN PARTICULAR FOR MEASUREMENT OF THE GLUCOSE CONCENTRATION.
US5341805A (en) * 1993-04-06 1994-08-30 Cedars-Sinai Medical Center Glucose fluorescence monitor and method
US5314457A (en) * 1993-04-08 1994-05-24 Jeutter Dean C Regenerative electrical
US5571148A (en) * 1994-08-10 1996-11-05 Loeb; Gerald E. Implantable multichannel stimulator
US5630836A (en) 1995-01-19 1997-05-20 Vascor, Inc. Transcutaneous energy and information transmission apparatus
US5517313A (en) * 1995-02-21 1996-05-14 Colvin, Jr.; Arthur E. Fluorescent optical sensor
US5584870A (en) 1995-03-09 1996-12-17 Cochlear Ltd. Implant ESD protection network
NL1000369C2 (en) 1995-05-16 1996-11-19 Idento Electronics Bv Measuring device for wireless temperature measurement.
US5628310A (en) * 1995-05-19 1997-05-13 Joseph R. Lakowicz Method and apparatus to perform trans-cutaneous analyte monitoring
US5995860A (en) * 1995-07-06 1999-11-30 Thomas Jefferson University Implantable sensor and system for measurement and control of blood constituent levels
US5704352A (en) * 1995-11-22 1998-01-06 Tremblay; Gerald F. Implantable passive bio-sensor
US6002954A (en) * 1995-11-22 1999-12-14 The Regents Of The University Of California Detection of biological molecules using boronate-based chemical amplification and optical sensors
US6141591A (en) * 1996-03-06 2000-10-31 Advanced Bionics Corporation Magnetless implantable stimulator and external transmitter and implant tools for aligning same
EP0923335B1 (en) * 1996-07-08 2006-08-23 Animas Corporation Implantable sensor and system for in vivo measurement and control of fluid constituent levels
US5630838A (en) * 1996-07-19 1997-05-20 Sulzer Intermedics, Inc. Muscle stimulation electrode for implantable cardiac stimulation device with warning system
SG54559A1 (en) * 1996-09-13 1998-11-16 Hitachi Ltd Power transmission system ic card and information communication system using ic card
JPH1090405A (en) * 1996-09-19 1998-04-10 Toshiba Corp Information processing device
US5963132A (en) * 1996-10-11 1999-10-05 Avid Indentification Systems, Inc. Encapsulated implantable transponder
US5735887A (en) * 1996-12-10 1998-04-07 Exonix Corporation Closed-loop, RF-coupled implanted medical device
NO311817B1 (en) * 1996-12-23 2002-01-28 Lifecare As Method for recording the changes in the level of an osmotically active component in body fluid and device for carrying out the method
US6164284A (en) * 1997-02-26 2000-12-26 Schulman; Joseph H. System of implantable devices for monitoring and/or affecting body parameters
US6419624B1 (en) * 1999-10-11 2002-07-16 Uromedica, Inc. Apparatus and method for inserting an adjustable implantable genitourinary device
US5984875A (en) * 1997-08-22 1999-11-16 Innotek Pet Products, Inc. Ingestible animal temperature sensor
US6731976B2 (en) * 1997-09-03 2004-05-04 Medtronic, Inc. Device and method to measure and communicate body parameters
US6259937B1 (en) * 1997-09-12 2001-07-10 Alfred E. Mann Foundation Implantable substrate sensor
AU9599498A (en) * 1997-09-30 1999-04-23 M-Biotech, Inc. Biosensor
US5967986A (en) * 1997-11-25 1999-10-19 Vascusense, Inc. Endoluminal implant with fluid flow sensing capability
US6231516B1 (en) * 1997-10-14 2001-05-15 Vacusense, Inc. Endoluminal implant with therapeutic and diagnostic capability
US6585763B1 (en) * 1997-10-14 2003-07-01 Vascusense, Inc. Implantable therapeutic device and method
US6088608A (en) * 1997-10-20 2000-07-11 Alfred E. Mann Foundation Electrochemical sensor and integrity tests therefor
US6289229B1 (en) * 1998-01-20 2001-09-11 Scimed Life Systems, Inc. Readable probe array for in vivo use
US6009878A (en) * 1998-02-02 2000-01-04 Medtronic, Inc. System for locating implantable medical device
US6058330A (en) * 1998-03-06 2000-05-02 Dew Engineering And Development Limited Transcutaneous energy transfer device
DE19811017A1 (en) * 1998-03-13 1999-09-16 Dade Behring Marburg Gmbh New method for the determination of plasma proteins and factors of hemostasis as well as a new, implantable measuring device
GB2335496B (en) * 1998-03-20 2000-06-07 David Eglise Sensing devices & systems
US6505059B1 (en) * 1998-04-06 2003-01-07 The General Hospital Corporation Non-invasive tissue glucose level monitoring
ES2205818T3 (en) * 1998-05-13 2004-05-01 Cygnus, Inc. CONTROL OF PHYSIOLOGICAL ANALYTS.
CA2340005C (en) * 1998-08-26 2014-05-06 Sensors For Medicine And Science, Inc. Optical-based sensing devices
US6212431B1 (en) * 1998-09-08 2001-04-03 Advanced Bionics Corporation Power transfer circuit for implanted devices
US6201980B1 (en) * 1998-10-05 2001-03-13 The Regents Of The University Of California Implantable medical sensor system
ATE514372T1 (en) * 1998-10-08 2011-07-15 Medtronic Minimed Inc LICENSE PLATE MONITORING SYSTEM WITH REMOTE MEASUREMENT
US6073050A (en) * 1998-11-10 2000-06-06 Advanced Bionics Corporation Efficient integrated RF telemetry transmitter for use with implantable device
AU2400200A (en) * 1998-12-31 2000-07-31 Ball Semiconductor Inc. Miniature implanted orthopedic sensors
US6067463A (en) * 1999-01-05 2000-05-23 Abbott Laboratories Method and apparatus for non-invasively measuring the amount of glucose in blood
AU2491300A (en) * 1999-01-06 2000-07-24 Ball Semiconductor Inc. Wireless ekg
US6424847B1 (en) * 1999-02-25 2002-07-23 Medtronic Minimed, Inc. Glucose monitor calibration methods
US6092530A (en) 1999-03-24 2000-07-25 The B.F. Goodrich Company Remotely interrogated implant device with sensor for detecting accretion of biological matter
US6206835B1 (en) * 1999-03-24 2001-03-27 The B. F. Goodrich Company Remotely interrogated diagnostic implant device with electrically passive sensor
US6475750B1 (en) * 1999-05-11 2002-11-05 M-Biotech, Inc. Glucose biosensor
US6607485B2 (en) * 1999-06-03 2003-08-19 Cardiac Intelligence Corporation Computer readable storage medium containing code for automated collection and analysis of patient information retrieved from an implantable medical device for remote patient care
US6802811B1 (en) * 1999-09-17 2004-10-12 Endoluminal Therapeutics, Inc. Sensing, interrogating, storing, telemetering and responding medical implants
US6368275B1 (en) * 1999-10-07 2002-04-09 Acuson Corporation Method and apparatus for diagnostic medical information gathering, hyperthermia treatment, or directed gene therapy
US6442434B1 (en) * 1999-10-19 2002-08-27 Abiomed, Inc. Methods and apparatus for providing a sufficiently stable power to a load in an energy transfer system
US6411108B1 (en) * 1999-11-05 2002-06-25 Sensor Technologies, Inc. Noncontact signal analyzer
FR2802738A1 (en) * 1999-12-15 2001-06-22 Circe TRANSPONDER READING DEVICE
US6415186B1 (en) * 2000-01-14 2002-07-02 Advanced Bionics Corporation Active feed forward power control loop
US20020016535A1 (en) * 2000-01-28 2002-02-07 Martin W. Blake Subcutaneous glucose measurement device
US6895263B2 (en) * 2000-02-23 2005-05-17 Medtronic Minimed, Inc. Real time self-adjusting calibration algorithm
DE10011284B4 (en) * 2000-03-08 2007-06-28 Disetronic Licensing Ag Apparatus for in vivo measurement of the concentration of an ingredient of a body fluid
US7006858B2 (en) * 2000-05-15 2006-02-28 Silver James H Implantable, retrievable sensors and immunosensors
IL163684A0 (en) * 2000-05-31 2005-12-18 Given Imaging Ltd Measurement of electrical characteristics of tissue
AU2001268613A1 (en) * 2000-06-20 2002-01-02 Bruce H. Levin Tracking surgical implements with integrated circuits
WO2002000112A2 (en) * 2000-06-26 2002-01-03 Boston Medical Technologies, Inc. Glucose metering system
US6400974B1 (en) * 2000-06-29 2002-06-04 Sensors For Medicine And Science, Inc. Implanted sensor processing system and method for processing implanted sensor output
US20030169169A1 (en) * 2000-08-17 2003-09-11 Luc Wuidart Antenna generating an electromagnetic field for transponder
WO2002015778A1 (en) * 2000-08-18 2002-02-28 Cygnus, Inc. Analyte monitoring device alarm augmentation system
US6443891B1 (en) * 2000-09-20 2002-09-03 Medtronic, Inc. Telemetry modulation protocol system for medical devices
GB0025147D0 (en) 2000-10-13 2000-11-29 Torsana Diabetes Diagnostics A Optical sensor for in situ measurement of analytes
US6421015B1 (en) * 2001-01-02 2002-07-16 Auden Techno Corp Planar helix antenna with two frequencies
US6666821B2 (en) 2001-01-08 2003-12-23 Medtronic, Inc. Sensor system
US6542777B1 (en) * 2001-01-19 2003-04-01 Advanced Bionics Corporation Spiral shield for a flexible high-Q implantable inductively coupled device
US6694158B2 (en) * 2001-04-11 2004-02-17 Motorola, Inc. System using a portable detection device for detection of an analyte through body tissue
US6454710B1 (en) * 2001-04-11 2002-09-24 Motorola, Inc. Devices and methods for monitoring an analyte
US6456256B1 (en) * 2001-08-03 2002-09-24 Cardiac Pacemakers, Inc. Circumferential antenna for an implantable medical device
US7323141B2 (en) * 2001-08-13 2008-01-29 Bayer Healthcare Llc Button layout for a testing instrument
JP3962250B2 (en) * 2001-08-29 2007-08-22 株式会社レアメタル In vivo information detection system and tag device and relay device used therefor
US6545483B1 (en) * 2001-08-29 2003-04-08 Sensor Technologies, Inc. Analyzer sensor
US6809507B2 (en) * 2001-10-23 2004-10-26 Medtronic Minimed, Inc. Implantable sensor electrodes and electronic circuitry
US6731961B2 (en) * 2001-11-09 2004-05-04 Optiscan Biomedical Corp. Method for transforming phase spectra to absorption spectra
US6682490B2 (en) * 2001-12-03 2004-01-27 The Cleveland Clinic Foundation Apparatus and method for monitoring a condition inside a body cavity
US20030113934A1 (en) * 2001-12-17 2003-06-19 Sung-Yun Kwon Diagnostic sensing apparatus
US7022072B2 (en) * 2001-12-27 2006-04-04 Medtronic Minimed, Inc. System for monitoring physiological characteristics
US7050855B2 (en) * 2002-01-29 2006-05-23 Medtronic, Inc. Medical implantable system for reducing magnetic resonance effects
US6806552B2 (en) * 2002-02-21 2004-10-19 Altera, Corp. Integrated inductive circuits
US6957107B2 (en) * 2002-03-13 2005-10-18 Cardionet, Inc. Method and apparatus for monitoring and communicating with an implanted medical device
US7485093B2 (en) * 2002-04-25 2009-02-03 Given Imaging Ltd. Device and method for in-vivo sensing
US7445010B2 (en) * 2003-01-29 2008-11-04 Torax Medical, Inc. Use of magnetic implants to treat issue structures
JP2003325439A (en) * 2002-05-15 2003-11-18 Olympus Optical Co Ltd Capsule type medical treatment device
US6772011B2 (en) * 2002-08-20 2004-08-03 Thoratec Corporation Transmission of information from an implanted medical device
US7134999B2 (en) 2003-04-04 2006-11-14 Dexcom, Inc. Optimized sensor geometry for an implantable glucose sensor
US20140257141A1 (en) * 2013-03-05 2014-09-11 Great Lakes Neurotechnologies Inc. Movement disorder monitoring and symptom quantification system and method

Patent Citations (7)

* Cited by examiner, † Cited by third party
Publication number Priority date Publication date Assignee Title
US4571589A (en) * 1982-11-22 1986-02-18 Cordis Corporation Biomedical implant with high speed, low power two-way telemetry
US5833603A (en) * 1996-03-13 1998-11-10 Lipomatrix, Inc. Implantable biosensing transponder
US5713939A (en) * 1996-09-16 1998-02-03 Sulzer Intermedics Inc. Data communication system for control of transcutaneous energy transmission to an implantable medical device
US6175752B1 (en) * 1998-04-30 2001-01-16 Therasense, Inc. Analyte monitoring device and methods of use
US6304766B1 (en) * 1998-08-26 2001-10-16 Sensors For Medicine And Science Optical-based sensing devices, especially for in-situ sensing in humans
US6464687B1 (en) * 1999-03-09 2002-10-15 Ball Semiconductor, Inc. Implantable drug delivery system
US6546268B1 (en) * 1999-06-02 2003-04-08 Ball Semiconductor, Inc. Glucose sensor

Cited By (1)

* Cited by examiner, † Cited by third party
Publication number Priority date Publication date Assignee Title
WO2021176449A1 (en) 2020-03-03 2021-09-10 Karmon Benny Bone implant

Also Published As

Publication number Publication date
US20040054385A1 (en) 2004-03-18
US20090264718A1 (en) 2009-10-22
US7553280B2 (en) 2009-06-30
US20170181632A1 (en) 2017-06-29

Similar Documents

Publication Publication Date Title
US20180098699A1 (en) Implanted sensor processing system and method for processing implanted sensor output
EP2103250B1 (en) Implanted sensor processing system
AU2002216747A1 (en) Implanted sensor processing system and method
EP1108207B1 (en) Optical-based sensing devices
US7800078B2 (en) Printed circuit board with integrated antenna and implantable sensor processing system with integrated printed circuit board antenna
HK1135010B (en) Implanted sensor processing system
HK1036497B (en) Optical-based sensing devices
HK1154937B (en) Optical-based sensing device
HK1121236B (en) Optical-based sensing devices

Legal Events

Date Code Title Description
AS Assignment

Owner name: OXFORD FINANCE LLC, AS COLLATERAL AGENT AND AS LENDER, VIRGINIA

Free format text: SECURITY INTEREST;ASSIGNOR:SENSEONICS, INCORPORATED;REEL/FRAME:045164/0154

Effective date: 20180125

Owner name: OXFORD FINANCE LLC, AS COLLATERAL AGENT AND AS LEN

Free format text: SECURITY INTEREST;ASSIGNOR:SENSEONICS, INCORPORATED;REEL/FRAME:045164/0154

Effective date: 20180125

AS Assignment

Owner name: SENSEONICS, INCORPORATED, MAINE

Free format text: ASSIGNMENT OF ASSIGNORS INTEREST;ASSIGNOR:LESHO, JEFFERY C.;REEL/FRAME:045141/0092

Effective date: 20180227

STPP Information on status: patent application and granting procedure in general

Free format text: NON FINAL ACTION MAILED

STPP Information on status: patent application and granting procedure in general

Free format text: RESPONSE TO NON-FINAL OFFICE ACTION ENTERED AND FORWARDED TO EXAMINER

AS Assignment

Owner name: SENSEONICS, INCORPORATED, MARYLAND

Free format text: RELEASE BY SECURED PARTY;ASSIGNOR:OXFORD FINANCE LLC, AS COLLATERAL AGENT AND AS LENDER;REEL/FRAME:049873/0713

Effective date: 20190725

AS Assignment

Owner name: SOLAR CAPITAL LTD., AS AGENT, NEW YORK

Free format text: INTELLECTUAL PROPERTY SECURITY AGREEMENT;ASSIGNOR:SENSEONICS, INCORPORATED;REEL/FRAME:049926/0827

Effective date: 20190725

STPP Information on status: patent application and granting procedure in general

Free format text: NON FINAL ACTION MAILED

STPP Information on status: patent application and granting procedure in general

Free format text: RESPONSE TO NON-FINAL OFFICE ACTION ENTERED AND FORWARDED TO EXAMINER

STPP Information on status: patent application and granting procedure in general

Free format text: NON FINAL ACTION MAILED

STPP Information on status: patent application and granting procedure in general

Free format text: RESPONSE TO NON-FINAL OFFICE ACTION ENTERED AND FORWARDED TO EXAMINER

AS Assignment

Owner name: SENSEONICS, INCORPORATED, MARYLAND

Free format text: RELEASE BY SECURED PARTY;ASSIGNOR:SOLAR CAPITAL LTD., AS AGENT;REEL/FRAME:052207/0242

Effective date: 20200323

STPP Information on status: patent application and granting procedure in general

Free format text: FINAL REJECTION MAILED

AS Assignment

Owner name: WILMINGTON SAVINGS FUND SOCIETY, FSB, AS COLLATERAL AGENT, DELAWARE

Free format text: INTELLECTUAL PROPERTY SECURITY AGREEMENT -SECOND LIEN;ASSIGNORS:SENSEONICS, INCORPORATED;SENSEONICS HOLDINGS, INC.;REEL/FRAME:052490/0160

Effective date: 20200424

Owner name: WILMINGTON SAVINGS FUND SOCIETY, FSB, AS COLLATERAL AGENT, DELAWARE

Free format text: INTELLECTUAL PROPERTY SECURITY AGREEMENT - FIRST LIEN;ASSIGNORS:SENSEONICS, INCORPORATED;SENSEONICS HOLDINGS, INC.;REEL/FRAME:052492/0109

Effective date: 20200424

AS Assignment

Owner name: ALTER DOMUS (US) LLC, AS COLLATERAL AGENT, ILLINOIS

Free format text: INTELLECTUAL PROPERTY SECURITY AGREEMENT;ASSIGNOR:SENSEONICS, INCORPORATED;REEL/FRAME:053496/0292

Effective date: 20200814

Owner name: SENSEONICS HOLDINGS, INC., MARYLAND

Free format text: RELEASE OF SECURITY INTEREST IN PATENTS AND TRADEMARKS;ASSIGNOR:WILMINGTON SAVINGS FUND SOCIETY, FSB, COLLATERAL AGENT;REEL/FRAME:053498/0275

Effective date: 20200814

Owner name: SENSEONICS, INCORPORATED, MARYLAND

Free format text: RELEASE OF SECURITY INTEREST IN PATENTS AND TRADEMARKS;ASSIGNOR:WILMINGTON SAVINGS FUND SOCIETY, FSB, COLLATERAL AGENT;REEL/FRAME:053498/0275

Effective date: 20200814

STCB Information on status: application discontinuation

Free format text: ABANDONED -- FAILURE TO RESPOND TO AN OFFICE ACTION

AS Assignment

Owner name: SENSEONICS, INCORPORATED, MARYLAND

Free format text: RELEASE BY SECURED PARTY;ASSIGNOR:ALTER DOMUS (US) LLC, AS COLLATERAL AGENT;REEL/FRAME:063338/0890

Effective date: 20230412

Owner name: SENSEONICS HOLDINGS, INC., MARYLAND

Free format text: RELEASE BY SECURED PARTY;ASSIGNOR:ALTER DOMUS (US) LLC, AS COLLATERAL AGENT;REEL/FRAME:063338/0890

Effective date: 20230412

Owner name: SENSEONICS HOLDINGS, INC., MARYLAND

Free format text: RELEASE OF SECURITY INTEREST;ASSIGNOR:ALTER DOMUS (US) LLC, AS COLLATERAL AGENT;REEL/FRAME:063338/0890

Effective date: 20230412

Owner name: SENSEONICS, INCORPORATED, MARYLAND

Free format text: RELEASE OF SECURITY INTEREST;ASSIGNOR:ALTER DOMUS (US) LLC, AS COLLATERAL AGENT;REEL/FRAME:063338/0890

Effective date: 20230412

AS Assignment

Owner name: SENSEONICS HOLDINGS, INC., MARYLAND

Free format text: RELEASE BY SECURED PARTY;ASSIGNOR:WILMINGTON SAVINGS FUND SOCIETY, FSB, AS COLLATERAL AGENT;REEL/FRAME:064834/0962

Effective date: 20230907

Owner name: SENSEONICS, INCORPORATED, MARYLAND

Free format text: RELEASE BY SECURED PARTY;ASSIGNOR:WILMINGTON SAVINGS FUND SOCIETY, FSB, AS COLLATERAL AGENT;REEL/FRAME:064834/0962

Effective date: 20230907

Owner name: SENSEONICS, INCORPORATED, MARYLAND

Free format text: RELEASE OF SECURITY INTEREST;ASSIGNOR:WILMINGTON SAVINGS FUND SOCIETY, FSB, AS COLLATERAL AGENT;REEL/FRAME:064834/0962

Effective date: 20230907

Owner name: SENSEONICS HOLDINGS, INC., MARYLAND

Free format text: RELEASE OF SECURITY INTEREST;ASSIGNOR:WILMINGTON SAVINGS FUND SOCIETY, FSB, AS COLLATERAL AGENT;REEL/FRAME:064834/0962

Effective date: 20230907

AS Assignment

Owner name: HERCULES CAPITAL, INC., CALIFORNIA

Free format text: SECURITY INTEREST;ASSIGNOR:SENSEONICS, INCORPORATED;REEL/FRAME:064866/0963

Effective date: 20230908