US20120184850A1 - Imaging and directed phototherapy catheter - Google Patents
Imaging and directed phototherapy catheter Download PDFInfo
- Publication number
- US20120184850A1 US20120184850A1 US12/930,747 US93074711A US2012184850A1 US 20120184850 A1 US20120184850 A1 US 20120184850A1 US 93074711 A US93074711 A US 93074711A US 2012184850 A1 US2012184850 A1 US 2012184850A1
- Authority
- US
- United States
- Prior art keywords
- light
- catheter
- ultrasound imaging
- light energy
- imaging system
- Prior art date
- Legal status (The legal status is an assumption and is not a legal conclusion. Google has not performed a legal analysis and makes no representation as to the accuracy of the status listed.)
- Abandoned
Links
- 238000003384 imaging method Methods 0.000 title claims abstract description 11
- 238000001126 phototherapy Methods 0.000 title claims abstract description 6
- 238000012285 ultrasound imaging Methods 0.000 claims abstract description 34
- 238000000034 method Methods 0.000 abstract description 12
- 208000037260 Atherosclerotic Plaque Diseases 0.000 description 14
- 238000002428 photodynamic therapy Methods 0.000 description 8
- 239000003504 photosensitizing agent Substances 0.000 description 8
- 238000002604 ultrasonography Methods 0.000 description 8
- 210000004969 inflammatory cell Anatomy 0.000 description 7
- 210000001367 artery Anatomy 0.000 description 6
- 230000003902 lesion Effects 0.000 description 6
- 230000003143 atherosclerotic effect Effects 0.000 description 5
- 210000004351 coronary vessel Anatomy 0.000 description 4
- 239000000835 fiber Substances 0.000 description 4
- 239000000523 sample Substances 0.000 description 4
- 210000004027 cell Anatomy 0.000 description 3
- PUUBADHCONCMPA-USOGPTGWSA-N 3-[(21S,22S)-11-ethyl-16-(1-hexoxyethyl)-4-hydroxy-12,17,21,26-tetramethyl-7,23,24,25-tetrazahexacyclo[18.2.1.15,8.110,13.115,18.02,6]hexacosa-1,4,6,8(26),9,11,13(25),14,16,18(24),19-undecaen-22-yl]propanoic acid Chemical compound CCCCCCOC(C)C1=C(C2=NC1=CC3=NC(=CC4=C(C5=C(CC(=C6[C@H]([C@@H](C(=C2)N6)C)CCC(=O)O)C5=N4)O)C)C(=C3C)CC)C PUUBADHCONCMPA-USOGPTGWSA-N 0.000 description 2
- ZGXJTSGNIOSYLO-UHFFFAOYSA-N 88755TAZ87 Chemical compound NCC(=O)CCC(O)=O ZGXJTSGNIOSYLO-UHFFFAOYSA-N 0.000 description 2
- 241001465754 Metazoa Species 0.000 description 2
- 229960002749 aminolevulinic acid Drugs 0.000 description 2
- 230000008901 benefit Effects 0.000 description 2
- 230000034994 death Effects 0.000 description 2
- 238000002608 intravascular ultrasound Methods 0.000 description 2
- 230000004048 modification Effects 0.000 description 2
- 238000012986 modification Methods 0.000 description 2
- 238000001228 spectrum Methods 0.000 description 2
- 230000008685 targeting Effects 0.000 description 2
- 238000002560 therapeutic procedure Methods 0.000 description 2
- UZFPOOOQHWICKY-UHFFFAOYSA-N 3-[13-[1-[1-[8,12-bis(2-carboxyethyl)-17-(1-hydroxyethyl)-3,7,13,18-tetramethyl-21,24-dihydroporphyrin-2-yl]ethoxy]ethyl]-18-(2-carboxyethyl)-8-(1-hydroxyethyl)-3,7,12,17-tetramethyl-22,23-dihydroporphyrin-2-yl]propanoic acid Chemical compound N1C(C=C2C(=C(CCC(O)=O)C(C=C3C(=C(C)C(C=C4N5)=N3)CCC(O)=O)=N2)C)=C(C)C(C(C)O)=C1C=C5C(C)=C4C(C)OC(C)C1=C(N2)C=C(N3)C(C)=C(C(O)C)C3=CC(C(C)=C3CCC(O)=O)=NC3=CC(C(CCC(O)=O)=C3C)=NC3=CC2=C1C UZFPOOOQHWICKY-UHFFFAOYSA-N 0.000 description 1
- 206010003210 Arteriosclerosis Diseases 0.000 description 1
- 206010003211 Arteriosclerosis coronary artery Diseases 0.000 description 1
- VSEIDZLLWQQJGK-CHOZPQDDSA-N CCC1=C(C)C2=N\C\1=C/C1=C(C)C(C(O)=O)=C(N1)\C(CC(=O)N[C@@H](CC(O)=O)C(O)=O)=C1/N=C(/C=C3\N/C(=C\2)C(C=C)=C3C)[C@@H](C)[C@@H]1CCC(O)=O Chemical compound CCC1=C(C)C2=N\C\1=C/C1=C(C)C(C(O)=O)=C(N1)\C(CC(=O)N[C@@H](CC(O)=O)C(O)=O)=C1/N=C(/C=C3\N/C(=C\2)C(C=C)=C3C)[C@@H](C)[C@@H]1CCC(O)=O VSEIDZLLWQQJGK-CHOZPQDDSA-N 0.000 description 1
- 102000008186 Collagen Human genes 0.000 description 1
- 108010035532 Collagen Proteins 0.000 description 1
- QXKHYNVANLEOEG-UHFFFAOYSA-N Methoxsalen Chemical compound C1=CC(=O)OC2=C1C=C1C=COC1=C2OC QXKHYNVANLEOEG-UHFFFAOYSA-N 0.000 description 1
- LYPFDBRUNKHDGX-SOGSVHMOSA-N N1C2=CC=C1\C(=C1\C=CC(=N1)\C(=C1\C=C/C(/N1)=C(/C1=N/C(/CC1)=C2/C1=CC(O)=CC=C1)C1=CC(O)=CC=C1)\C1=CC(O)=CC=C1)C1=CC(O)=CC=C1 Chemical compound N1C2=CC=C1\C(=C1\C=CC(=N1)\C(=C1\C=C/C(/N1)=C(/C1=N/C(/CC1)=C2/C1=CC(O)=CC=C1)C1=CC(O)=CC=C1)\C1=CC(O)=CC=C1)C1=CC(O)=CC=C1 LYPFDBRUNKHDGX-SOGSVHMOSA-N 0.000 description 1
- 208000031481 Pathologic Constriction Diseases 0.000 description 1
- 244000208734 Pisonia aculeata Species 0.000 description 1
- 239000004098 Tetracycline Substances 0.000 description 1
- 238000012338 Therapeutic targeting Methods 0.000 description 1
- PCWZKQSKUXXDDJ-UHFFFAOYSA-N Xanthotoxin Natural products COCc1c2OC(=O)C=Cc2cc3ccoc13 PCWZKQSKUXXDDJ-UHFFFAOYSA-N 0.000 description 1
- 206010000891 acute myocardial infarction Diseases 0.000 description 1
- 210000000709 aorta Anatomy 0.000 description 1
- 230000006907 apoptotic process Effects 0.000 description 1
- 230000015572 biosynthetic process Effects 0.000 description 1
- 230000000747 cardiac effect Effects 0.000 description 1
- 210000001715 carotid artery Anatomy 0.000 description 1
- 230000015556 catabolic process Effects 0.000 description 1
- 230000030833 cell death Effects 0.000 description 1
- 230000008859 change Effects 0.000 description 1
- 239000013043 chemical agent Substances 0.000 description 1
- 229930002875 chlorophyll Natural products 0.000 description 1
- 235000019804 chlorophyll Nutrition 0.000 description 1
- 239000001752 chlorophylls and chlorophyllins Substances 0.000 description 1
- 208000037976 chronic inflammation Diseases 0.000 description 1
- 230000006020 chronic inflammation Effects 0.000 description 1
- 229920001436 collagen Polymers 0.000 description 1
- 230000003247 decreasing effect Effects 0.000 description 1
- 238000006731 degradation reaction Methods 0.000 description 1
- 201000010099 disease Diseases 0.000 description 1
- 208000037265 diseases, disorders, signs and symptoms Diseases 0.000 description 1
- 229940079593 drug Drugs 0.000 description 1
- 239000003814 drug Substances 0.000 description 1
- 239000000975 dye Substances 0.000 description 1
- 210000003238 esophagus Anatomy 0.000 description 1
- 230000005284 excitation Effects 0.000 description 1
- 210000000497 foam cell Anatomy 0.000 description 1
- 208000019622 heart disease Diseases 0.000 description 1
- 230000008595 infiltration Effects 0.000 description 1
- 238000001764 infiltration Methods 0.000 description 1
- 210000000936 intestine Anatomy 0.000 description 1
- 231100000518 lethal Toxicity 0.000 description 1
- 230000001665 lethal effect Effects 0.000 description 1
- 210000002540 macrophage Anatomy 0.000 description 1
- 229960004469 methoxsalen Drugs 0.000 description 1
- SQBBOVROCFXYBN-UHFFFAOYSA-N methoxypsoralen Natural products C1=C2OC(=O)C(OC)=CC2=CC2=C1OC=C2 SQBBOVROCFXYBN-UHFFFAOYSA-N 0.000 description 1
- YUUAYBAIHCDHHD-UHFFFAOYSA-N methyl 5-aminolevulinate Chemical compound COC(=O)CCC(=O)CN YUUAYBAIHCDHHD-UHFFFAOYSA-N 0.000 description 1
- 229960005033 methyl aminolevulinate Drugs 0.000 description 1
- ISYPMTHOLIXZHJ-UHFFFAOYSA-N motexafin lutetium Chemical compound [Lu].CC(O)=O.CC(O)=O.C1=NC2=CC(OCCOCCOCCOC)=C(OCCOCCOCCOC)C=C2N=CC(C(=C2CCCO)C)=NC2=CC(C(CC)=C2CC)=NC2=CC2=C(CCCO)C(C)=C1N2 ISYPMTHOLIXZHJ-UHFFFAOYSA-N 0.000 description 1
- 208000010125 myocardial infarction Diseases 0.000 description 1
- 230000001338 necrotic effect Effects 0.000 description 1
- 230000037361 pathway Effects 0.000 description 1
- 230000002093 peripheral effect Effects 0.000 description 1
- 229960004293 porfimer sodium Drugs 0.000 description 1
- 150000004032 porphyrins Chemical class 0.000 description 1
- 230000000541 pulsatile effect Effects 0.000 description 1
- 230000001235 sensitizing effect Effects 0.000 description 1
- 230000006641 stabilisation Effects 0.000 description 1
- 238000011105 stabilization Methods 0.000 description 1
- 230000000087 stabilizing effect Effects 0.000 description 1
- 230000036262 stenosis Effects 0.000 description 1
- 208000037804 stenosis Diseases 0.000 description 1
- 210000002784 stomach Anatomy 0.000 description 1
- 229950010924 talaporfin Drugs 0.000 description 1
- 229960002197 temoporfin Drugs 0.000 description 1
- 229960002180 tetracycline Drugs 0.000 description 1
- 229930101283 tetracycline Natural products 0.000 description 1
- 235000019364 tetracycline Nutrition 0.000 description 1
- 150000003522 tetracyclines Chemical class 0.000 description 1
- 230000001225 therapeutic effect Effects 0.000 description 1
- 210000003437 trachea Anatomy 0.000 description 1
- 210000003708 urethra Anatomy 0.000 description 1
- ZQFGRJWRSLZCSQ-ZSFNYQMMSA-N verteporfin Chemical compound C=1C([C@@]2([C@H](C(=O)OC)C(=CC=C22)C(=O)OC)C)=NC2=CC(C(=C2C=C)C)=NC2=CC(C(=C2CCC(O)=O)C)=NC2=CC2=NC=1C(C)=C2CCC(=O)OC ZQFGRJWRSLZCSQ-ZSFNYQMMSA-N 0.000 description 1
- 229960003895 verteporfin Drugs 0.000 description 1
Images
Classifications
-
- A—HUMAN NECESSITIES
- A61—MEDICAL OR VETERINARY SCIENCE; HYGIENE
- A61B—DIAGNOSIS; SURGERY; IDENTIFICATION
- A61B8/00—Diagnosis using ultrasonic, sonic or infrasonic waves
- A61B8/08—Clinical applications
- A61B8/0891—Clinical applications for diagnosis of blood vessels
-
- A—HUMAN NECESSITIES
- A61—MEDICAL OR VETERINARY SCIENCE; HYGIENE
- A61B—DIAGNOSIS; SURGERY; IDENTIFICATION
- A61B8/00—Diagnosis using ultrasonic, sonic or infrasonic waves
- A61B8/12—Diagnosis using ultrasonic, sonic or infrasonic waves in body cavities or body tracts, e.g. by using catheters
-
- A—HUMAN NECESSITIES
- A61—MEDICAL OR VETERINARY SCIENCE; HYGIENE
- A61B—DIAGNOSIS; SURGERY; IDENTIFICATION
- A61B8/00—Diagnosis using ultrasonic, sonic or infrasonic waves
- A61B8/44—Constructional features of the ultrasonic, sonic or infrasonic diagnostic device
- A61B8/4444—Constructional features of the ultrasonic, sonic or infrasonic diagnostic device related to the probe
- A61B8/445—Details of catheter construction
-
- A—HUMAN NECESSITIES
- A61—MEDICAL OR VETERINARY SCIENCE; HYGIENE
- A61N—ELECTROTHERAPY; MAGNETOTHERAPY; RADIATION THERAPY; ULTRASOUND THERAPY
- A61N5/00—Radiation therapy
- A61N5/06—Radiation therapy using light
- A61N5/0601—Apparatus for use inside the body
- A61N5/0603—Apparatus for use inside the body for treatment of body cavities
-
- A—HUMAN NECESSITIES
- A61—MEDICAL OR VETERINARY SCIENCE; HYGIENE
- A61N—ELECTROTHERAPY; MAGNETOTHERAPY; RADIATION THERAPY; ULTRASOUND THERAPY
- A61N5/00—Radiation therapy
- A61N5/06—Radiation therapy using light
- A61N5/0601—Apparatus for use inside the body
- A61N2005/0602—Apparatus for use inside the body for treatment of blood vessels
Definitions
- Coronary artery atherosclerosis is a leading cause of death today, and treatment to date has relied on stenting of highly stenosed vessels coupled with aggressive risk factor modification.
- lesions resembling plaque rupture are reported in other arterial sites remote from culprit lesions.
- Chronic inflammation derived from macrophage infiltration, foam cell formation, a robust necrotic core, fibrous cap, and degradation of collagen is the pathway of asymptomatic to symptomatic lethal atherosclerotic disease.
- the aforementioned atherosclerotic lesions are considered to be higher risk for rupture and are believed to cause 10-15% incidence of repeat myocardial infarctions in patients with previous hear attacks.
- Treatment of smaller, asymptomatic plaque and therapeutic targeting of inflammatory cells in said plaque is a significant goal in treating heart disease.
- the systems, devices and methods described herein include a catheter with both imaging and directed phototherapy systems.
- the systems include visible light therapy coupled with pre-sensitizing chemical agents as a means to target, for example, inflammatory cells.
- the system targets inflammatory cells in asymptomatic atherosclerotic plaque thus halting the atherosclerotic plaque's natural evolution into symptomatic vulnerable rupture prone lesions.
- the catheter system incorporates an imaging modality that can operate independently of the one or more light emitters. Additionally, the light energy output from the light emitters can be aimed in multiple directions and angles, and the intensity of the light energy may be adjustable.
- a catheter system for imaging includes a light emitter and an ultrasound imaging system coupled to the light emitter.
- the ultrasound imaging system transmits an image to a display device, and the light emitter emits light energy directed at a target location.
- the ultrasound imaging system is a distinct component from the light emitter, and the ultrasound imaging system can be operated independently from the light emitter.
- the light energy from a selected light emitter may be aimed in different directions, at various angles from the catheter system.
- the light energy may be photodynamic therapy.
- the image transmitted from the ultrasound imaging system may be used to identify a target location for photodynamic therapy.
- the system may be a catheter system for imaging and photodynamic therapy in a human or animal patient.
- the patient may be given a photo-sensitizing agent in conjunction with the therapy.
- FIG. 1 depicts a side view of a catheter system including three light emitters and an ultrasound imaging system targeting an atherosclerotic plaque in an arterial wall, according to an illustrative embodiment of the invention
- FIG. 2 depicts a partial cut-away view of a catheter with four light emitters and an ultrasound probe, according to an illustrative embodiment of the invention.
- FIG. 3 depicts a side view of a catheter, including an ultrasound imaging system and three light emitters emitting light energy at various angles, according to an illustrative embodiment of the invention.
- the systems and methods described herein relate to medical devices for targeted photodynamic therapy from a catheter.
- the systems and methods may be used in atherosclerotic coronary arteries, carotid arteries, the aorta.
- the systems and methods may be used in other vesicles such as the intestines, urethra, trachea, esophagus, stomach, and cavities created by laparoscopic procedures.
- the medical device includes a system to enable accurate identification and targeting of a target (e.g., plaque, tissue, lesion), and another system to treat the target.
- the systems and methods described herein relate to a cardiac catheter device that utilizes intravascular ultrasound (IVUS) coupled with visible light emittance to enable accurately targeted photodynamic therapy of atherosclerotic coronary arteries.
- IVUS intravascular ultrasound
- FIG. 1 depicts a side view of a catheter system 100 inside an artery 107 , according to an illustrative embodiment of the invention.
- the catheter system 100 has a distal end 100 a and a proximal end 100 b , and it may be used percutaneously, with the proximal end 100 b outside the patient and the distal end 100 a inserted into the patient.
- the catheter system 100 includes light emitters 101 a , 101 b , 101 c , an ultrasound imaging system 102 , and a lumen tube 112 .
- the lumen tube 112 is flexible and open, such that a guide wire could be inserted therein.
- the catheter system 100 is a flexible elongated device.
- Artery 107 includes arterial walls 108 , 110 , and atherosclerotic plaque 104 .
- the properties of individual light emitters 101 a - 101 c and of the combination of the array of light emitters 101 a - 101 c allow light energy 106 to be directed to a portion of the surrounding arterial wall 108 .
- the light energy 106 is targeted directly at the atherosclerotic plaque 104 , and does not contact the untargeted arterial wall 110 .
- the light emitters 101 a - 101 c can be oriented to direct the light energy 106 at angles distal or proximal to the location of the light emitters 101 a - 101 c .
- the direction of the light energy 106 can be altered by a user while the catheter system 100 is inside the artery 107 .
- the ultrasound imaging system 102 may be used to locate a target for the light energy 106 .
- the ultrasound imaging system 102 may be operated independently of the light emitters 101 a - 101 c .
- the ultrasound imaging system 102 is connected to a display device which displays ultrasound images created by the ultrasound imaging system 102 .
- the ultrasound imaging system 102 transmits dynamic information, and the display device may display dynamic images which represent the tissue currently targeted by the ultrasound rays 105 a .
- the display device may be a computer or television screen, and is located outside the area where the catheter system 100 is inserted (for example, outside a patient).
- the ultrasound imaging system 102 emits ultrasound rays 105 a which reflect back to the ultrasound imaging system 102 .
- the ultrasound imaging system 102 uses the reflected ultrasound rays 105 b to create an image of the local tissue, which may be displayed on a display device.
- the ultrasound imaging system 102 sends data received about the reflected rays 105 b to a computer which creates an image of the local tissue.
- the ultrasound imaging system 102 interprets the reflected rays 105 b and identifies target tissue.
- a user may view an image created by the ultrasound imaging system 102 and identify the atherosclerotic plaque 104 .
- the ultrasound imaging device 102 and the light emitters 101 a - 101 c may be used in conjunction with a photosensitizing agent.
- the combination of the ultrasound imaging device 102 , the light emitters 101 a - 101 c and a photosensitizing agent may be selected to cause apoptosis and cell death of inflammatory cells.
- Photosensitizing agents may include drugs classified as porphyrins, chlorophylls and dyes, and may include but are not limited to tetracycline, aminolevulinic acid (ALA), porfimer sodium, verteporfin, temoporfin, methyl aminolevulinate, talaporfin, motexafin lutetium, 2-(1-Hexyloxyethyl)-2-devinyl pyropheophorbide-a (HPPH), xanthotoxin.
- ALA aminolevulinic acid
- porfimer sodium porfimer sodium
- verteporfin temoporfin
- methyl aminolevulinate methyl aminolevulinate
- talaporfin motexafin lutetium
- 2-(1-Hexyloxyethyl)-2-devinyl pyropheophorbide-a HPPH
- xanthotoxin 2-(1-Hexyloxye
- the catheter system 100 is an endovascular catheter system, with the light emitters 101 a - 101 c coupled with the ultrasound imaging system 102 for the individualized and targeted treatment of inflammatory cells of atherosclerotic arterial plaque 104 .
- the light emitters 101 a - 101 c and ultrasound imaging system 102 may be in series, as shown in FIG. 1 .
- the ultrasound imaging system 102 may be located at the distal end of the catheter system 100 , with the light emitters 101 a - 101 c located more proximally.
- the light emitters 101 a - 101 c and the ultrasound imaging system 102 are at the same probe site.
- the catheter system 100 may contain any number of independently controlled light emitters 101 a - 101 c .
- the catheter system 100 may include about one, about two, about three, about four, about five, about six, about seven, about eight, about nine, about ten, about twelve, about fifteen, about eighteen, about 20, about 25, about 30, about 35, about 40, about 45, about 50, about 75, about 100, about 125, about 150, about 200, or more than 200 light emitters 101 a - 101 c.
- the catheter system 100 is inserted in a peripheral artery and subsequently moved into a coronary artery, such as artery 107 , for imaging of atherosclerotic plaque, such as atherosclerotic plaque 104 .
- the catheter system 100 uses the ultrasound imaging system 102 to identify the atherosclerotic plaque 104 and then uses the light emitters 101 a - 101 c to target light therapy via light energy 106 to the plaque 104 .
- the catheter system 100 is used in a patient's arteries. Through intravascular use of the ultrasound imaging system 102 , a user may identify vessel stenosis, and may be able to characterize the plaque structure and stability. In some embodiments, the catheter system 100 is combined with other independent imaging sources, such as prior images and other real-time images, for diagnostic purposes. In one embodiment, the catheter system 100 uses intravascular ultrasound to locate and calculate plaque dimensions—location, depth, and length—throughout the coronary artery system. The plaque dimensions are diagnostic information that can be used to calculate the ideal light intensity, dose duration, and light source angle for each plaque. This may be determined by a user or operator, or by a control unit.
- Treatment of the plaque includes directed light energy 106 to the arterial surface coupled with or without a photosensitizing agent.
- the light intensity can be modulated by an operator and/or a control unit to modulate light energy output over time in a dynamic manner, allowing increasing or decreasing intensity over time in a linear, logarithmic, exponential, step-wise or pulsatile manner.
- the light energy 106 is generated at the site of the light emitters 101 a - 101 c .
- the light energy 106 may be generated by light emitting diodes.
- the light energy may be actuated by an external user.
- the signal to turn the light energy on or off may be sent to the light emitters 101 a - 101 c from a controller.
- the signal is sent to the light emitters 101 a - 101 c through a wire extending the length of the catheter system 100 .
- the catheter system 100 is used for imaging and photodynamic therapy in a human or animal patient.
- the patient may be given a photo-sensitizing agent in conjunction with the therapy.
- the photosensitizing agent is selectively taken up by specific cell types (e.g., inflammatory cell types), and when light energy 106 (photodynamic therapy) is aimed at a cell that has taken up the photosensitizing agent, the cell dies.
- FIG. 2 depicts a partial cut-away view of a catheter system 200 with four light emitters 208 a - 208 d and an ultrasound probe 202 , according to an illustrative embodiment of the invention.
- the light emitter 208 a emits light energy 206 .
- the light energy 206 is generated by an external generator and transmitted through a fiber optic cable 201 a .
- the fiber optic cable 201 a extends from a first end of the catheter system (not shown) to the light emitter 208 a .
- fiber optic cables 201 b - 201 d extend to the light emitters 208 b - d .
- the light emitters 208 a - 208 d are located at the distal end 200 a of the catheter system 200 .
- the ultrasound imaging system 202 is a standard ultrasound probe connected to a control unit and imaging processing unit via independent cable 204 .
- the light emitters 208 a - 208 d include one or more light energy 206 outputs along the circumference of the catheter.
- the individual light emitters 208 a - 208 d are positioned in an annular pattern to allow light distribution to the entire surrounding arterial surface. In one embodiment, light is transmitted only to a selected portion of the arterial wall through excitation of a selected portion of the light emitters 208 a - 208 d . In this manner, unselected arterial surfaces are not exposed to the light energy 206 .
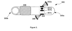
- FIG. 3 depicts a side view of a catheter system 300 , including an ultrasound imaging system 308 and light emitters 301 a - 301 c emitting light energy at various angles 302 a - 302 c , according to an illustrative embodiment of the invention.
- the catheter system 300 has a distal end 300 a and a proximal end 300 b .
- the light emitters 301 a - 301 c emit light energy 302 a - 302 c at various angles.
- Light emitter 301 a emits light energy 302 a toward a distal end 300 a of the catheter system 300 .
- Light emitter 301 b emits light energy 302 b perpendicular to the catheter system 300 .
- Light emitter 301 c emits light energy 302 c toward a proximal end 300 b of the catheter system 300 .
- the light emitters 301 a - 301 c may direct the light energy 302 a - 302 c at various angles using any selected directing means.
- filters or prisms are used to direct the light energy 302 a - 302 c .
- the light emitters 301 a - 301 c are angled light sources.
- the light emitters 301 a - 301 c are directed fiber optic light sources.
- the light source angle may be directed at a selected angle in order to target a selected layer or depth of tissue. For example, light may be directed to the deeper layers of a plaque from a light source distal or proximal to the plaque, without necessitating the entry of the light rays through the luminal layers above the plaque.
- the light emitters 301 a - c are able to angle the light energy 302 a - 302 c at angles ranging from about zero degrees to about 360 degrees around the x, y, and z-axes.
- the light emitters are able to angle lights energy 302 a - 302 c at angles ranging from about zero to about 360 degree around the x-axis and the y-axis, and at angles ranging from about zero to about 180 degrees on the z-axis.
- a single round of plaque treatment in a patient may incorporate a series of light energy 302 a - 302 c emissions, such that as the angle of light energy 302 a - 302 c emitted changes with time, the intensity of light energy 302 a - 302 c may also change.
- This method may be automated by a control unit or computer to allow automated catheter advancement or pull-back. Automation may enable even more specific dosing of a target area when coupled with changing angles and intensity of the light energy 302 a - 302 c.
- the catheter system 300 may include multiple sites of light emitters 301 a - 301 c along the length of the catheter system 300 .
- multiple atherosclerotic plaques may be stabilized simultaneously.
- a user controls the intensity, duration, and waveform of the light energy 302 a - 302 c emitted from light emitters 301 a - 301 c .
- the user is a doctor.
- the user uses images generated by use the ultrasound imaging system to identify target tissue (e.g, plaques or lesions), and through the use of these dynamic images, the user directs the light energy 302 a - 302 c at the target tissue.
- the light energy 302 a - 302 c may have a therapeutic effect on the target tissue. For example, it may reduce or remove inflammatory cells in atherosclerotic plaques.
- the words “light” and “light energy” are not limited to the visible part of the electromagnetic spectrum and includes parts of the electromagnetic spectrum outside the visible range of wavelengths.
Landscapes
- Health & Medical Sciences (AREA)
- Life Sciences & Earth Sciences (AREA)
- Engineering & Computer Science (AREA)
- Biomedical Technology (AREA)
- General Health & Medical Sciences (AREA)
- Radiology & Medical Imaging (AREA)
- Nuclear Medicine, Radiotherapy & Molecular Imaging (AREA)
- Animal Behavior & Ethology (AREA)
- Pathology (AREA)
- Public Health (AREA)
- Veterinary Medicine (AREA)
- Physics & Mathematics (AREA)
- Biophysics (AREA)
- Heart & Thoracic Surgery (AREA)
- Medical Informatics (AREA)
- Molecular Biology (AREA)
- Surgery (AREA)
- Vascular Medicine (AREA)
- Ultra Sonic Daignosis Equipment (AREA)
Abstract
Disclosed are systems, methods and devices for imaging and phototherapy. In one embodiment, a catheter system includes a light emitter and an ultrasound imaging system coupled to the light emitter. The ultrasound imaging system transmits an image to a display device, and the light emitter emits light energy directed at a target location.
Description
- This application claims the benefit of U.S. Provisional Patent Application No. 61\284,966, entitled “Percutaneous Atheroma Stabilization System (PASS)” filed on Jan. 14, 2010, the entire disclosure of which is hereby incorporated by reference as if set forth herein in its entirety.
- Coronary artery atherosclerosis is a leading cause of death today, and treatment to date has relied on stenting of highly stenosed vessels coupled with aggressive risk factor modification. In sudden coronary death and acute myocardial infarction, lesions resembling plaque rupture (thin-cap fibroatheroma, vulnerable plaque) are reported in other arterial sites remote from culprit lesions. Chronic inflammation derived from macrophage infiltration, foam cell formation, a robust necrotic core, fibrous cap, and degradation of collagen is the pathway of asymptomatic to symptomatic lethal atherosclerotic disease. The aforementioned atherosclerotic lesions are considered to be higher risk for rupture and are believed to cause 10-15% incidence of repeat myocardial infarctions in patients with previous hear attacks. Treatment of smaller, asymptomatic plaque and therapeutic targeting of inflammatory cells in said plaque is a significant goal in treating heart disease.
- The systems, devices and methods described herein include a catheter with both imaging and directed phototherapy systems. In particular, the systems include visible light therapy coupled with pre-sensitizing chemical agents as a means to target, for example, inflammatory cells. In one application, the system targets inflammatory cells in asymptomatic atherosclerotic plaque thus halting the atherosclerotic plaque's natural evolution into symptomatic vulnerable rupture prone lesions. The catheter system incorporates an imaging modality that can operate independently of the one or more light emitters. Additionally, the light energy output from the light emitters can be aimed in multiple directions and angles, and the intensity of the light energy may be adjustable.
- The systems and methods described herein relate to medical (or veterinary) treatment using photodynamic therapy. According to one aspect of the invention, a catheter system for imaging is provided. The catheter system includes a light emitter and an ultrasound imaging system coupled to the light emitter. The ultrasound imaging system transmits an image to a display device, and the light emitter emits light energy directed at a target location. In one embodiment, the ultrasound imaging system is a distinct component from the light emitter, and the ultrasound imaging system can be operated independently from the light emitter. In some embodiments, the light energy from a selected light emitter may be aimed in different directions, at various angles from the catheter system. The light energy may be photodynamic therapy. The image transmitted from the ultrasound imaging system may be used to identify a target location for photodynamic therapy.
- In some embodiments, the system may be a catheter system for imaging and photodynamic therapy in a human or animal patient. The patient may be given a photo-sensitizing agent in conjunction with the therapy.
- The foregoing and other objects and advantages of the invention will be appreciated more fully from the following further description thereof, with reference to the accompanying drawings, wherein:
-
FIG. 1 depicts a side view of a catheter system including three light emitters and an ultrasound imaging system targeting an atherosclerotic plaque in an arterial wall, according to an illustrative embodiment of the invention; -
FIG. 2 depicts a partial cut-away view of a catheter with four light emitters and an ultrasound probe, according to an illustrative embodiment of the invention; and -
FIG. 3 depicts a side view of a catheter, including an ultrasound imaging system and three light emitters emitting light energy at various angles, according to an illustrative embodiment of the invention. - The systems and methods described herein relate to medical devices for targeted photodynamic therapy from a catheter. For example, the systems and methods may be used in atherosclerotic coronary arteries, carotid arteries, the aorta. In other examples, the systems and methods may be used in other vesicles such as the intestines, urethra, trachea, esophagus, stomach, and cavities created by laparoscopic procedures. The medical device includes a system to enable accurate identification and targeting of a target (e.g., plaque, tissue, lesion), and another system to treat the target. In one embodiment, the systems and methods described herein relate to a cardiac catheter device that utilizes intravascular ultrasound (IVUS) coupled with visible light emittance to enable accurately targeted photodynamic therapy of atherosclerotic coronary arteries.
-
FIG. 1 depicts a side view of acatheter system 100 inside anartery 107, according to an illustrative embodiment of the invention. Thecatheter system 100 has adistal end 100 a and aproximal end 100 b, and it may be used percutaneously, with theproximal end 100 b outside the patient and thedistal end 100 a inserted into the patient. Thecatheter system 100 includes 101 a, 101 b, 101 c, anlight emitters ultrasound imaging system 102, and alumen tube 112. Thelumen tube 112 is flexible and open, such that a guide wire could be inserted therein. Thecatheter system 100 is a flexible elongated device.Artery 107 includes 108, 110, andarterial walls atherosclerotic plaque 104. - In one embodiment, the properties of individual light emitters 101 a-101 c and of the combination of the array of light emitters 101 a-101 c allow
light energy 106 to be directed to a portion of the surroundingarterial wall 108. Thelight energy 106 is targeted directly at theatherosclerotic plaque 104, and does not contact the untargetedarterial wall 110. The light emitters 101 a-101 c can be oriented to direct thelight energy 106 at angles distal or proximal to the location of the light emitters 101 a-101 c. The direction of thelight energy 106 can be altered by a user while thecatheter system 100 is inside theartery 107. - The
ultrasound imaging system 102 may be used to locate a target for thelight energy 106. Theultrasound imaging system 102 may be operated independently of the light emitters 101 a-101 c. In some embodiments, theultrasound imaging system 102 is connected to a display device which displays ultrasound images created by theultrasound imaging system 102. Theultrasound imaging system 102 transmits dynamic information, and the display device may display dynamic images which represent the tissue currently targeted by theultrasound rays 105 a. The display device may be a computer or television screen, and is located outside the area where thecatheter system 100 is inserted (for example, outside a patient). - In
FIG. 1 , theultrasound imaging system 102 emitsultrasound rays 105 a which reflect back to theultrasound imaging system 102. In one example, using thereflected ultrasound rays 105 b, theultrasound imaging system 102 creates an image of the local tissue, which may be displayed on a display device. In another example, theultrasound imaging system 102 sends data received about thereflected rays 105 b to a computer which creates an image of the local tissue. In another example, using thereflected ultrasound rays 105 b, theultrasound imaging system 102 interprets the reflectedrays 105 b and identifies target tissue. A user may view an image created by theultrasound imaging system 102 and identify theatherosclerotic plaque 104. In one example, theultrasound imaging device 102 and the light emitters 101 a-101 c may be used in conjunction with a photosensitizing agent. The combination of theultrasound imaging device 102, the light emitters 101 a-101 c and a photosensitizing agent may be selected to cause apoptosis and cell death of inflammatory cells. - Photosensitizing agents may include drugs classified as porphyrins, chlorophylls and dyes, and may include but are not limited to tetracycline, aminolevulinic acid (ALA), porfimer sodium, verteporfin, temoporfin, methyl aminolevulinate, talaporfin, motexafin lutetium, 2-(1-Hexyloxyethyl)-2-devinyl pyropheophorbide-a (HPPH), xanthotoxin.
- In one example, the
catheter system 100 is an endovascular catheter system, with the light emitters 101 a-101 c coupled with theultrasound imaging system 102 for the individualized and targeted treatment of inflammatory cells of atheroscleroticarterial plaque 104. The light emitters 101 a-101 c andultrasound imaging system 102 may be in series, as shown inFIG. 1 . In another example, theultrasound imaging system 102 may be located at the distal end of thecatheter system 100, with the light emitters 101 a-101 c located more proximally. In other examples, the light emitters 101 a-101 c and theultrasound imaging system 102 are at the same probe site. In some embodiments, thecatheter system 100 may contain any number of independently controlled light emitters 101 a-101 c. For example, thecatheter system 100 may include about one, about two, about three, about four, about five, about six, about seven, about eight, about nine, about ten, about twelve, about fifteen, about eighteen, about 20, about 25, about 30, about 35, about 40, about 45, about 50, about 75, about 100, about 125, about 150, about 200, or more than 200 light emitters 101 a-101 c. - In one example, the
catheter system 100 is inserted in a peripheral artery and subsequently moved into a coronary artery, such asartery 107, for imaging of atherosclerotic plaque, such asatherosclerotic plaque 104. Thecatheter system 100 uses theultrasound imaging system 102 to identify theatherosclerotic plaque 104 and then uses the light emitters 101 a-101 c to target light therapy vialight energy 106 to theplaque 104. - In one example, the
catheter system 100 is used in a patient's arteries. Through intravascular use of theultrasound imaging system 102, a user may identify vessel stenosis, and may be able to characterize the plaque structure and stability. In some embodiments, thecatheter system 100 is combined with other independent imaging sources, such as prior images and other real-time images, for diagnostic purposes. In one embodiment, thecatheter system 100 uses intravascular ultrasound to locate and calculate plaque dimensions—location, depth, and length—throughout the coronary artery system. The plaque dimensions are diagnostic information that can be used to calculate the ideal light intensity, dose duration, and light source angle for each plaque. This may be determined by a user or operator, or by a control unit. This enables the catheter to apply a specific plaque stabilizing treatment dose of light energy for each unique atherosclerotic plaque. Treatment of the plaque includes directedlight energy 106 to the arterial surface coupled with or without a photosensitizing agent. The light intensity can be modulated by an operator and/or a control unit to modulate light energy output over time in a dynamic manner, allowing increasing or decreasing intensity over time in a linear, logarithmic, exponential, step-wise or pulsatile manner. - In one embodiment, the
light energy 106 is generated at the site of the light emitters 101 a-101 c. For example, thelight energy 106 may be generated by light emitting diodes. The light energy may be actuated by an external user. The signal to turn the light energy on or off may be sent to the light emitters 101 a-101 c from a controller. In one example, the signal is sent to the light emitters 101 a-101 c through a wire extending the length of thecatheter system 100. - In some embodiments, the
catheter system 100 is used for imaging and photodynamic therapy in a human or animal patient. The patient may be given a photo-sensitizing agent in conjunction with the therapy. The photosensitizing agent is selectively taken up by specific cell types (e.g., inflammatory cell types), and when light energy 106 (photodynamic therapy) is aimed at a cell that has taken up the photosensitizing agent, the cell dies. -
FIG. 2 depicts a partial cut-away view of acatheter system 200 with four light emitters 208 a-208 d and anultrasound probe 202, according to an illustrative embodiment of the invention. Thelight emitter 208 a emitslight energy 206. Thelight energy 206 is generated by an external generator and transmitted through afiber optic cable 201 a. Thefiber optic cable 201 a extends from a first end of the catheter system (not shown) to thelight emitter 208 a. Similarly,fiber optic cables 201 b-201 d extend to thelight emitters 208 b-d. The light emitters 208 a-208 d are located at thedistal end 200 a of thecatheter system 200. - The
ultrasound imaging system 202 is a standard ultrasound probe connected to a control unit and imaging processing unit viaindependent cable 204. The light emitters 208 a-208 d include one or morelight energy 206 outputs along the circumference of the catheter. The individual light emitters 208 a-208 d are positioned in an annular pattern to allow light distribution to the entire surrounding arterial surface. In one embodiment, light is transmitted only to a selected portion of the arterial wall through excitation of a selected portion of the light emitters 208 a-208 d. In this manner, unselected arterial surfaces are not exposed to thelight energy 206. -
FIG. 3 depicts a side view of acatheter system 300, including anultrasound imaging system 308 and light emitters 301 a-301 c emitting light energy at various angles 302 a-302 c, according to an illustrative embodiment of the invention. Thecatheter system 300 has adistal end 300 a and aproximal end 300 b. The light emitters 301 a-301 c emit light energy 302 a-302 c at various angles.Light emitter 301 a emitslight energy 302 a toward adistal end 300 a of thecatheter system 300.Light emitter 301 b emits light energy 302 b perpendicular to thecatheter system 300.Light emitter 301 c emits light energy 302 c toward aproximal end 300 b of thecatheter system 300. The light emitters 301 a-301 c may direct the light energy 302 a-302 c at various angles using any selected directing means. In one example, filters or prisms are used to direct the light energy 302 a-302 c. In another example, the light emitters 301 a-301 c are angled light sources. In another example, the light emitters 301 a-301 c are directed fiber optic light sources. The light source angle may be directed at a selected angle in order to target a selected layer or depth of tissue. For example, light may be directed to the deeper layers of a plaque from a light source distal or proximal to the plaque, without necessitating the entry of the light rays through the luminal layers above the plaque. - In various embodiments, the light emitters 301 a-c are able to angle the light energy 302 a-302 c at angles ranging from about zero degrees to about 360 degrees around the x, y, and z-axes. In one embodiment, in which the z axis is perpendicular to the catheter, the light emitters are able to angle lights energy 302 a-302 c at angles ranging from about zero to about 360 degree around the x-axis and the y-axis, and at angles ranging from about zero to about 180 degrees on the z-axis.
- In one example, a single round of plaque treatment in a patient may incorporate a series of light energy 302 a-302 c emissions, such that as the angle of light energy 302 a-302 c emitted changes with time, the intensity of light energy 302 a-302 c may also change. This method may be automated by a control unit or computer to allow automated catheter advancement or pull-back. Automation may enable even more specific dosing of a target area when coupled with changing angles and intensity of the light energy 302 a-302 c.
- In various embodiments, the
catheter system 300 may include multiple sites of light emitters 301 a-301 c along the length of thecatheter system 300. In this embodiment, multiple atherosclerotic plaques may be stabilized simultaneously. - According to one aspect, a user controls the intensity, duration, and waveform of the light energy 302 a-302 c emitted from light emitters 301 a-301 c. In one example, the user is a doctor. The user uses images generated by use the ultrasound imaging system to identify target tissue (e.g, plaques or lesions), and through the use of these dynamic images, the user directs the light energy 302 a-302 c at the target tissue. The light energy 302 a-302 c may have a therapeutic effect on the target tissue. For example, it may reduce or remove inflammatory cells in atherosclerotic plaques.
- It should be understood that in this specification, the words “light” and “light energy” are not limited to the visible part of the electromagnetic spectrum and includes parts of the electromagnetic spectrum outside the visible range of wavelengths.
- Those skilled in the art will know or will be able to ascertain using no more than routine experimentation, many equivalents to the embodiments and practices described herein. Variations, modifications, and other implementations of what is described may be employed without departing from the spirit and scope of the invention. Any of the method, system and device features described above or incorporated by reference may be combined with any other suitable method, system or device features disclosed herein or incorporated by reference, and is within the scope of the contemplated inventions. The systems and methods may be embodied in other specific forms without departing from the spirit or essential characteristics thereof. The foregoing embodiments are therefore to be considered in all respects illustrative, rather than limiting of the invention. The teachings of all references cited herein are hereby incorporated by reference in their entirety. Accordingly, it will be understood that the invention is not to be limited to the embodiments disclosed herein, but is to be understood from the following claims, which are to be interpreted as broadly as allowed under the law.
Claims (1)
1. A catheter system for imaging and phototherapy, comprising:
a light emitter, and
an ultrasound imaging system coupled to the light emitter, wherein
the ultrasound imaging system transmits an image to a display device, and the light emitter emits light energy directed at a target location.
Priority Applications (1)
| Application Number | Priority Date | Filing Date | Title |
|---|---|---|---|
| US12/930,747 US20120184850A1 (en) | 2011-01-14 | 2011-01-14 | Imaging and directed phototherapy catheter |
Applications Claiming Priority (1)
| Application Number | Priority Date | Filing Date | Title |
|---|---|---|---|
| US12/930,747 US20120184850A1 (en) | 2011-01-14 | 2011-01-14 | Imaging and directed phototherapy catheter |
Publications (1)
| Publication Number | Publication Date |
|---|---|
| US20120184850A1 true US20120184850A1 (en) | 2012-07-19 |
Family
ID=46491293
Family Applications (1)
| Application Number | Title | Priority Date | Filing Date |
|---|---|---|---|
| US12/930,747 Abandoned US20120184850A1 (en) | 2011-01-14 | 2011-01-14 | Imaging and directed phototherapy catheter |
Country Status (1)
| Country | Link |
|---|---|
| US (1) | US20120184850A1 (en) |
Cited By (2)
| Publication number | Priority date | Publication date | Assignee | Title |
|---|---|---|---|---|
| US20150283370A1 (en) * | 2012-11-01 | 2015-10-08 | Catholic University Industry Academic Cooperation Foundation | Capsule endoscope for photodynamic and sonodynamic therapy |
| US10543037B2 (en) | 2013-03-15 | 2020-01-28 | Medtronic Ardian Luxembourg S.A.R.L. | Controlled neuromodulation systems and methods of use |
Citations (6)
| Publication number | Priority date | Publication date | Assignee | Title |
|---|---|---|---|---|
| US5445608A (en) * | 1993-08-16 | 1995-08-29 | James C. Chen | Method and apparatus for providing light-activated therapy |
| US6096030A (en) * | 1997-09-23 | 2000-08-01 | Pharmacyclics, Inc. | Light delivery catheter and PDT treatment method |
| US6156046A (en) * | 1997-11-07 | 2000-12-05 | Prolifix Medical, Inc. | Methods and systems for treating obstructions in a body lumen |
| US20060064009A1 (en) * | 2004-09-21 | 2006-03-23 | Webler William E | Vessel imaging devices and methods |
| US20080221439A1 (en) * | 2007-03-08 | 2008-09-11 | Sync-Rx, Ltd. | Tools for use with moving organs |
| US7613493B2 (en) * | 1998-08-05 | 2009-11-03 | Boston Scientific Scimed, Inc. | Automatic/manual longitudinal position translator and rotary drive system for catheters |
-
2011
- 2011-01-14 US US12/930,747 patent/US20120184850A1/en not_active Abandoned
Patent Citations (6)
| Publication number | Priority date | Publication date | Assignee | Title |
|---|---|---|---|---|
| US5445608A (en) * | 1993-08-16 | 1995-08-29 | James C. Chen | Method and apparatus for providing light-activated therapy |
| US6096030A (en) * | 1997-09-23 | 2000-08-01 | Pharmacyclics, Inc. | Light delivery catheter and PDT treatment method |
| US6156046A (en) * | 1997-11-07 | 2000-12-05 | Prolifix Medical, Inc. | Methods and systems for treating obstructions in a body lumen |
| US7613493B2 (en) * | 1998-08-05 | 2009-11-03 | Boston Scientific Scimed, Inc. | Automatic/manual longitudinal position translator and rotary drive system for catheters |
| US20060064009A1 (en) * | 2004-09-21 | 2006-03-23 | Webler William E | Vessel imaging devices and methods |
| US20080221439A1 (en) * | 2007-03-08 | 2008-09-11 | Sync-Rx, Ltd. | Tools for use with moving organs |
Cited By (3)
| Publication number | Priority date | Publication date | Assignee | Title |
|---|---|---|---|---|
| US20150283370A1 (en) * | 2012-11-01 | 2015-10-08 | Catholic University Industry Academic Cooperation Foundation | Capsule endoscope for photodynamic and sonodynamic therapy |
| US10130802B2 (en) * | 2012-11-01 | 2018-11-20 | Catholic University Industry Academic Cooperation Foundation | Capsule endoscope for photodynamic and sonodynamic therapy |
| US10543037B2 (en) | 2013-03-15 | 2020-01-28 | Medtronic Ardian Luxembourg S.A.R.L. | Controlled neuromodulation systems and methods of use |
Similar Documents
| Publication | Publication Date | Title |
|---|---|---|
| US7992573B2 (en) | Optically guided system for precise placement of a medical catheter in a patient | |
| US10456590B2 (en) | Device and method for laser treatments | |
| US20080039715A1 (en) | Three-dimensional optical guidance for catheter placement | |
| US20090240154A1 (en) | Combined oct catheter device and method for combined optical coherence tomography (oct) diagnosis and photodynamic therapy (pdt) | |
| JP2009544392A (en) | Capsule camera with variable irradiation of surrounding tissue | |
| US20080033339A1 (en) | Switched photodynamic therapy apparatus and method | |
| US20140005465A1 (en) | Apparatus and method for electronic brachytherapy | |
| JP2005046640A (en) | Balloon catheter for photodynamic therapy | |
| KR20000015834A (en) | Improved phototherapeutic methods and devices for irradiating columnar environments | |
| CN113520318B (en) | Catheter design integrating OCT imaging and PDT | |
| WO2006049787A2 (en) | Optically guided system for precise placement of a medical catheter in a patient | |
| Li et al. | Internal-illumination photoacoustic tomography enhanced by a graded-scattering fiber diffuser | |
| CN101128151A (en) | Optical guidance system for precise placement of medical catheters in patients | |
| US20120184850A1 (en) | Imaging and directed phototherapy catheter | |
| JP2005237827A (en) | Catheter for treatment and treatment apparatus | |
| JP6282554B2 (en) | Laser therapy device | |
| US11040217B2 (en) | System and method for delivering dose light to tissue | |
| JP4886698B2 (en) | Optically guided system for precise patient placement of medical catheters | |
| van Doeveren et al. | Intra-cavity Photodynamic Therapy for malignant tumors of the paranasal sinuses: An in vivo light dosimetry study | |
| van Veen et al. | In vivo fluence rate measurements during Foscan®-mediated photodynamic therapy of persistent and recurrent nasopharyngeal carcinomas using a dedicated light applicator | |
| JP7764044B2 (en) | Systems and methods for delivering diagnostic radiation | |
| US20250221769A1 (en) | System and method for combined thermal and photodynamic therapy of malignant tumors | |
| JPH04166168A (en) | Atheroma remover |
Legal Events
| Date | Code | Title | Description |
|---|---|---|---|
| STCB | Information on status: application discontinuation |
Free format text: ABANDONED -- FAILURE TO RESPOND TO AN OFFICE ACTION |