US20080098663A1 - Sound Attenuation Enclosure - Google Patents

Sound Attenuation Enclosure Download PDF

Info

Publication number
US20080098663A1
US20080098663A1 US11/554,738 US55473806A US2008098663A1 US 20080098663 A1 US20080098663 A1 US 20080098663A1 US 55473806 A US55473806 A US 55473806A US 2008098663 A1 US2008098663 A1 US 2008098663A1
Authority
US
United States
Prior art keywords
panels
panel
enclosure
columns
recesses
Prior art date
Legal status (The legal status is an assumption and is not a legal conclusion. Google has not performed a legal analysis and makes no representation as to the accuracy of the status listed.)
Abandoned
Application number
US11/554,738
Inventor
Robert Vaughan Seel
Current Assignee (The listed assignees may be inaccurate. Google has not performed a legal analysis and makes no representation or warranty as to the accuracy of the list.)
SOUND SEAL LLC
Original Assignee
SOUND SEAL LLC
Priority date (The priority date is an assumption and is not a legal conclusion. Google has not performed a legal analysis and makes no representation as to the accuracy of the date listed.)
Filing date
Publication date
Application filed by SOUND SEAL LLC filed Critical SOUND SEAL LLC
Priority to US11/554,738 priority Critical patent/US20080098663A1/en
Assigned to SOUND SEAL, LLC reassignment SOUND SEAL, LLC ASSIGNMENT OF ASSIGNORS INTEREST (SEE DOCUMENT FOR DETAILS). Assignors: SEEL, ROBERT VAUGHAN
Publication of US20080098663A1 publication Critical patent/US20080098663A1/en
Abandoned legal-status Critical Current

Links

Images

Classifications

    • EFIXED CONSTRUCTIONS
    • E04BUILDING
    • E04BGENERAL BUILDING CONSTRUCTIONS; WALLS, e.g. PARTITIONS; ROOFS; FLOORS; CEILINGS; INSULATION OR OTHER PROTECTION OF BUILDINGS
    • E04B1/00Constructions in general; Structures which are not restricted either to walls, e.g. partitions, or floors or ceilings or roofs
    • E04B1/62Insulation or other protection; Elements or use of specified material therefor
    • E04B1/74Heat, sound or noise insulation, absorption, or reflection; Other building methods affording favourable thermal or acoustical conditions, e.g. accumulating of heat within walls
    • E04B1/82Heat, sound or noise insulation, absorption, or reflection; Other building methods affording favourable thermal or acoustical conditions, e.g. accumulating of heat within walls specifically with respect to sound only
    • E04B1/8218Heat, sound or noise insulation, absorption, or reflection; Other building methods affording favourable thermal or acoustical conditions, e.g. accumulating of heat within walls specifically with respect to sound only soundproof enclosures

Definitions

  • This invention relates to devices used to attenuate sound emanating from mechanical or electromechanical operating systems where noise, sound or vibration are a consideration for the operation of such systems.
  • fiber glass/wool materials can be a nesting area for rodents. These materials also retain moisture, which causes fungal/bacteria growth.
  • the sound blankets typically have a vinyl jacket filled with a fiberglass material commonly known as R-19.
  • the blanket contacts the operating system, which can reduce the overall performance and life of the operating system.
  • the blanket acts as an insulating jacket that generates heat. Elevated temperatures with respect to a normal operating temperature places stress on components causing system failures.
  • Sound abatement enclosures are available for sound abatement of larger industrial operating systems. However, these enclosures are typically custom-designed for a specific application of an operating system. As such these enclosures can be extremely expensive and/or cost prohibitive. Accordingly, there remains significant room for improvement in low cost noise abatement for electrical and mechanical systems especially where the system is exposed to the outdoor environment.
  • the present invention for a sound attenuation enclosure comprises a plurality of panels that are supported and arranged with respect to one another to form an enclosure. At least two of the panels are supported side by side and in spaced relation to one another and one or more of these two panels have an inner chamber filled with sound retardant material. In one embodiment the least two panels are supported side by side such that the panels overlap one another.
  • each of the plurality of panels has an inner enclosed chamber filled with a sound retardant material.
  • the panels are supported side by side so that each panel is positioned in spaced relation to an adjacent panel, and the plurality of panels are arranged to form an enclosure.
  • the panels are arranged so that a top section or bottom section of each panel overlaps a top section or bottom section of an adjacent panel.
  • the overlapping of the panels provides an additional barrier to emanating sound pressure waves, as opposed when panels are aligned side by side but are not overlapping.
  • a surface of the panels that form an inner surface of the enclosure may comprise a series of adjacent cavities and protrusions, which cause viscous losses as sound pressure waves move in and out of the cavities.
  • the inner surface of the enclosure may be lined with sound attenuating materials that form a textured service to have the same effect as the series of cavities on sound pressure waves.
  • the enclosure and components of the enclosure, is transportable in the sense that all the components can be transported to a desired site and assembled to form the enclosure.
  • the enclosure includes a means, associated with the first end and the second end of each panel, for supporting the plurality of panels wherein each of the panels is positioned beside another panel forming an enclosure wherein the panels are detachable from the enclosure so the enclosure can be transported.
  • One embodiment includes a plurality of support columns that support the panels. Each of the columns includes one or more recesses within which a first end or second end of each panel is placed in mating relationship. In one embodiment, the columns are vertically disposed and the recess is an elongated, vertically disposed channel.
  • the panels are horizontally disposed and a first end and second end of each panel is positioned in mating relationship with a recess in a column thereby supporting the panels and forming the enclosure.
  • the panels and columns can be easily detached from one another making the enclosure and its components transportable.
  • FIG. 1 is a perspective view of a first embodiment of the enclosure.
  • FIG. 2 is a perspective sectional view of some panels of the enclosure.
  • FIG. 3 is an exploded perspective view of the enclosure.
  • FIG. 4 is an end sectional view of some panels of the enclosure of the first embodiment.
  • FIG. 5 is an exploded perspective view of a second embodiment of the enclosure.
  • FIG. 6 is a perspective view of panels being attached to a support column.
  • FIG. 7 is an end sectional view of some panels of the enclosure of the second embodiment.
  • FIG. 8A is a perspective view of a third embodiment of the enclosure.
  • FIG. 8B is an end sectional view of some of the panels of the third embodiment taken along line B-B in FIG. 8A .
  • FIG. 9 is a side view of some panels of the enclosure.
  • FIG. 10 is an exploded perspective view of the third embodiment of the enclosure.
  • FIG. 11 is a top view of a corner of the enclosure in FIG. 10 .
  • FIG. 12 is an exploded perspective view of the enclosure with a support rod.
  • FIG. 13 is a perspective view of a fourth embodiment of the enclosure.
  • FIG. 14 is an exploded perspective view of the enclosure.
  • FIG. 15 is a perspective view of a fifth embodiment of the enclosure.
  • FIG. 16 is an exploded perspective view of the enclosure.
  • FIG. 17A is a top view of a panel positioned in a column of the fifth embodiment.
  • FIG. 17B is an end view of panels used in the fifth embodiment.
  • FIG. 18 is a perspective view of a cowling.
  • FIG. 19 is a sectional view taken along line 19 - 19 in FIG. 18 .
  • FIG. 20A is an exploded perspective view of a grommet being installed in an enclosure.
  • FIG. 20B is a perspective view of a grommet installed in a panel.
  • FIGS. 1 through 4 A first embodiment of the present invention for a sound attenuation enclosure is illustrated in FIGS. 1 through 4 .
  • the enclosure 10 comprises a plurality of sound insulating panels 12 attached to and supported on support columns 11 .
  • One or more of the panels 12 has a shell-like, or tubular, configuration having an inner chamber 22 filled with a sound retardant material 19 .
  • the columns 11 may also have a similar configuration for retaining the sound retardant material 19 .
  • the panels 12 and/or columns 11 may not contain the sound retardant material, and the components remain hollow.
  • the panels 12 may be fabricated as a solid piece of sound retardant material, and not have a chamber 22 .
  • the panels 12 and columns 11 are preferably fabricated from extrusion of known materials including aluminum, steel, rubber (neoprene, polyisoprene, natural rubber, polyurethane, viton, nitrile, silicon etc.) or a plastic material (polyvinylchloride, polyethylene, polystyrene, nylon etc.).
  • rubber neoprene, polyisoprene, natural rubber, polyurethane, viton, nitrile, silicon etc.
  • plastic material polyvinylchloride, polyethylene, polystyrene, nylon etc.
  • all components described in each of the embodiments may be designed so that the enclosure, including its components, is transportable to and assembled at a desired site. If necessary, the enclosure can be disassembled, and the components moved to another site or stored.
  • the enclosure 10 and its components may range in dimensions depending on the nature of the device to be covered.
  • the enclosure 10 can be used to cover household devices such as pool pumps, air condition units, portable generators or any other items that generates sound at an unacceptable noise level.
  • the enclosure 10 may have commercial applications are where a temporary sound barriers is required to lessen noise impact on the surrounding area, for example military field generators and transformers or building construction/improvement sites.
  • each of the embodiments described herein will vary in part according to the size of the operating system enclosed and the desired level of noise abatement to be achieved.
  • the interior surface of the enclosure 10 would be spaced from a surface of the HVAC about two inches to about four inches; however, the distance the enclosure may be greater or less depending in part on the size of the HVAC unit.
  • the chamber 22 may vary in size according to the materials used to fabricate the components of the enclosure, the type of filler and the sound level generated by the HVAC unit.
  • the chamber may be about 7 mm to 9 mm thick, and wall thickness of the panel 12 may be about 3 mm to about 4 mm thick.
  • the wall thickness may be about 10 mm to about 12 mm thick.
  • the applications relating to larger operating devices, and/or devices that create a higher level of sound of 80 decibels or higher, the wall thickness may be about 2.5′′ to about 4′′.
  • Typical household HVAC units produce noise/sound at levels typically ranging from about 74 decibels to about 78 decibels.
  • the enclosure 10 disclosed herein, at least with respect to use with HVAC units, may reduce the noise level emanating from an enclosed operating system by 15 decibels or to around 60 decibels.
  • the ends of panels 12 are closed in order to retain the sound retardant material 19 within the chamber 22 .
  • the panels 12 are formed from extrusion of a moldable material, one or both ends may be open after extrusion.
  • An end cap (not shown) can be welded on one end of the panel 12 so that the sound retardant material can be placed in the chamber 12 from an open end, which is closed by welding another end cap on the panel 22 .
  • an aperture may be formed on the panel 12 , preferably on one end of the panel 12 , and the sound retardant material 19 may be poured into the chamber 22 and a plug (not shown) is inserted in the aperture to encase the sound retardant material 19 , within the chamber 22 .
  • each of the panels 12 is supported on the columns 11 in such a manner that each panel 12 is positioned in spaced relation to an adjacent consecutive panel 12 forming a gap 104 between the panels 12 .
  • the enclosure 10 is ventilated for dissipation of heat generated by an enclosed mechanical or electro-mechanical operating system.
  • the panels 12 have a top section 15 and a bottom section 16 .
  • Two side sections 17 and 18 are disposed between top section 15 and bottom section 16 .
  • the side section 17 faces an interior of the enclosure 10 and side section 18 faces an exterior of the enclosure 10 .
  • Side sections 17 on the panels 12 form an interior surface of the enclosure 10 .
  • the top section 15 and bottom section 16 are parallel to each other and are inclined at an angle, preferably 45°, with respect to the side sections 17 and 18 . In this manner, consecutive adjacent panels 12 overlap one another. Although the panels 12 are spaced apart, the overlap of the panels provides a physical obstruction to sound pressure waves that may emanate from an enclosed operating device.
  • the surface of the panels 12 facing an interior of the enclosure 10 may be textured to further enhance the sound retarding effects of the enclosure 10 .
  • the surface of the panels 12 includes a series of adjacent cavities 23 and protrusions 29 that can be formed during extrusion.
  • the example shown in FIG. 1 has elongated uniformly configured cavities and ridges.
  • Other textures, such as a dimple configuration, a spike configuration may be effective for sound attenuation.
  • the type of texture may be governed by various factors such as the material composing the panels, the method of manufacture (injection molding, extrusion, slip casting etc.) or level of sound attenuation desired.
  • strips of sound attenuating materials such as acoustic foam may be affixed to and spaced apart along the inside surface of the panels 12 forming the adjacent series of cavities and protrusions. By providing a texture to the surface, the cavities 23 cause viscous losses to the sound pressure waves moving in and out of the cavities 23 .
  • the enclosure 10 includes four columns 11 secured to a base 13 .
  • the base 13 is rectangular and has a notch 27 disposed in each of the four corners for receiving a column 11 . While this embodiment has a rectangular configuration, the invention is not so limited and may include any type of configuration necessary to form an enclosure.
  • Each of the columns 11 includes an elongated channel 24 within which a first end 12 A and second end 12 B of the panels 12 are inserted.
  • the columns 11 are vertically disposed and each end 12 A and 12 B of the panel 12 is inserted within a channel 24 on a respective column 11 .
  • the panels 12 are disposed horizontally between the columns 11 , and a spacer 28 is positioned between adjacent panels 12 so the adjacent panels 12 are positioned in spaced relation to one another.
  • the columns 11 and panels 12 are transported to a desired location.
  • the columns 11 are positioned around the device to be enclosed.
  • the ends 12 A and 12 B of a panel 12 are inserted into the channel 14 preferably by sliding the panel 12 from the top of the column to the bottom of the column 11 .
  • Another panel 12 is then placed in position above or beside the first panel with the spacer 28 disposed there between so the panels 12 are spaced apart. This is repeated until the enclosure 10 is formed.
  • the base 13 is not required to form the enclosure 10 . That is, the columns 11 may be free standing without the aid of the base 13 .
  • the method or means for securing the panels 12 to the columns 11 is not limited to the elongated channel 24 , but may include other securing means.
  • the columns may have holes spaced vertically spaced on the column for receiving the ends of the panels 12 .
  • fastening mechanism as nails, bolts, clamps etc. may be used to secure the panels 12 to columns 11 .
  • a cover 14 may be provided to further attenuate sound and protect an enclosed system from the environment.
  • the cover 14 may take the solid configuration shown in FIG. 1 , or include a wire mesh screen, ventilation slots or the like to permit ventilation of air and heat dissipation.
  • the operating device such as an HVAC unit
  • the enclosure may require, or generate a significant amount of airflow in and out of the enclosure.
  • a cowling 81 as shown in FIGS. 18 and 19 may be used with the enclosure 10 .
  • the cowling 81 has a curved surface 82 that bends outward with respect to an interior of the enclosure 10 .
  • the cowling 81 or cover 14 may have an enclosed inner chamber 83 that is filled with a sound retardant material 19 .
  • the surface 82 of the cowling 81 may be textured include the previously described cavities 23 and protrusions 29 for attenuating sound emanating from device within the enclosure 10 .
  • the operating system 100 within the enclosure 10 may have parts such as a chord 101 or pipe 102 that protrude from the enclosure 10 .
  • the chord 101 may extend through the gap 104 between consecutive panels 12 .
  • the enclosure 10 may have one or more apertures 105 through which a pipe 102 may extend.
  • the panels 12 may be prefabricated with the aperture 105 formed in one or more of the panels 12 ; or, if the panels 12 are fabricated as a solid integral piece of sound retardant material 19 the aperture 105 may be drilled in a panel 12 on site.
  • the pipe 102 may have to be detached from the operating system 100 , the panel 12 with the aperture 105 is aligned with attachment site of the pipe 105 to the operating system 100 and the pipe 102 is reinstalled.
  • a grommet 103 is then inserted in the aperture 105 between pipe 105 and panel 12 sealing the interface between the pipe 102 and the enclosure 10 .
  • a grommet assembly 91 described below, and shown in FIGS. 20A and 20 B, may be used to install the grommet 105 .
  • the grommet 103 preferably has a slit, and is sufficiently flexible to be opened, wrapped around the pipe 102 and popped into the aperture 105 .
  • a second embodiment of the enclosure 10 illustrated in FIGS. 5 , 6 and 7 includes panels 32 supported in spaced relation to one another by columns 31 .
  • the panels 32 include a first set 32 A and a second set 32 B spaced laterally from the first set 32 A toward an exterior of the enclosure. In each set 32 A and 32 B, adjacent panels 32 are spaced apart forming a gap 33 between consecutive panels 32 .
  • the panels 32 in the first set 32 A are positioned with respect to the panels 32 of the second set 32 B so that the first set 32 A covers at least a portion of the gaps 33 between consecutive panels 32 in the second set 32 B.
  • the second set 32 B is positioned with respect to the first set of panels 32 A so that second set of panels 32 B covers at least a portion of the gaps 33 between consecutive panels in the second set 32 B.
  • the panels 32 shown in FIG. 7 have the inclined sections 15 and 16 as in the above-described first embodiment.
  • panels 32 may have a rectangular cross-sectional configuration having an inner chamber 22 that is filled with a sound retardant material 19 . In such a case a portion of one of panels 32 covers the gap 33 between two laterally disposed panels of the other set.
  • the enclosure 10 includes four columns 31 secured to a base 33 .
  • the base 33 is rectangular and has a notch 37 disposed in each of the four corners of the base for receiving a column 31 .
  • this embodiment has a rectangular configuration, the invention is not so limited and may include any type of configuration necessary to form an enclosure.
  • Each of the columns 31 includes a first channel 35 and a second channel 36 that is parallel to the first channel 35 for receiving the ends of the panels 32 .
  • Spacers 38 secured within notches 25 in the channels 35 and 36 , support the panels 32 on the columns 31 .
  • the base 33 is not required to form the enclosure 30 . That is, the columns 31 may be free standing without the aid of the base 33 .
  • the method or means for securing the panels 32 to the columns 31 is not limited to the elongated channel 24 , but may include other securing means.
  • the columns may have holes spaced vertically and laterally on the column for receiving the ends of the panels 32 .
  • fastening mechanism as nails, bolts, clamps etc. may be used to secure the panels 32 to columns 31 .
  • the enclosure 10 of the second embodiment may also include one or more apertures (not shown) similar to the above-described first embodiment to allow parts to protrude out of the enclosure 10 .
  • FIGS. 8A , 8 B, 9 and 10 also includes a similar “staggered” panel configuration as in the second embodiment; however, columns are not necessary to arrange the panels to form an enclosure.
  • the enclosure 10 includes panels 41 including a first set of panels 41 A and a second set of panels 41 B.
  • the first set of panels 41 A includes a plurality panels that are spaced apart forming a gap 43 between each consecutive pair of panels 41 .
  • the second set of panels 41 B are laterally spaced from the first set of panels 41 A toward an exterior of the enclosure 40 . Panels from the first set 41 A cover at least a portion of the gaps 43 between the panels of the second set 41 B; and, panels from the second set 41 B cover at least a portion of the gaps 43 between the panels of the first set 41 A.
  • the panels of the first set 41 A and second set 41 B are the same length.
  • Two notches 44 are formed in each panel 41 of the first set of panels 41 A; and, two notches 45 are formed in each panel of the second set of panels 41 B.
  • the notches 44 and 45 enable the panels 41 to interlock as shown in FIG. 7 .
  • the notches 44 on panel of the first set 41 A are spaced apart D 1
  • the notches 45 in the second set of panels 41 B are spaced a distance D 2 which is greater than the distance D 1 .
  • four panels 41 of the first set 41 A make a rectangle that has a diameter that is smaller in diameter of the rectangle made from the second set 41 B of panels 41 .
  • the panels 41 A and 41 B are displaced laterally with respect to one another.
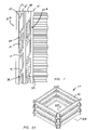
  • FIGS. 10 , 11 and 12 there is illustrated a support rod 47 positioned at each of the corners of the enclosure 10 . More specifically, when the panels 41 are stacked atop one another the corner 48 on the first set of panels 41 A is disposed laterally inward, or toward an interior of the enclosure 10 with respect to a corner 49 on the second set of panels 41 B, thereby forming hole 50 between consecutive levels of the panels 41 and at the corner 48 and 49 of each level. The rod 47 is inserted in the hole 50 to stabilize the panels 41 .
  • the enclosure 10 of the third embodiment may also include one or more apertures (not shown) similar to the above-described first embodiment to allow parts to protrude out of the enclosure 10 .
  • the enclosure 10 includes panels 72 that are positioned with respected to one another so the enclosure 10 and panels 72 do not have the staggered configuration as above described.
  • the panels 72 have a first end 72 A and a second end 72 B.
  • a first notch 73 A is formed on the first end 72 A the panels 72 ; and, a second notch 73 A is formed on the second end 72 B on the panels 72 .
  • the distance between the notches 73 A and 73 B on the panels 72 is equal, so when different levels of panels 72 are stacked on top of one another the enclosure has a relatively flat exterior surface.
  • Pegs 74 and apertures 75 may be added to a top or bottom of the panels 72 . As shown in FIG. 14 , the pegs 74 on one panel are aligned with apertures 75 on a top or bottom of another panel 72 to support the panels 72 relative to one another.
  • the enclosure 10 of the fourth embodiment may also include one or more apertures (not shown) similar to the above-described first embodiment to allow parts to protrude out of the enclosure 10 .
  • FIGS. 15 , 16 and 17 A fifth embodiment of the enclosure 10 is illustrated in FIGS. 15 , 16 and 17 .
  • the enclosure 10 includes a plurality of sound insulating panels 62 supported on a frame 63 .
  • the frame 63 includes a plurality of vertically disposed columns 61 that are positioned on a base 64 .
  • a cover 65 is positioned on top of the panels 62 and columns 61 .
  • the base 64 and cover 65 are optional components. That is, the enclosure 60 may be assembled without the base 64 and cover 65 , and include only the columns 61 standing free and supporting the panels 62 .
  • the enclosure 10 is transportable. That is, all the components of the enclosure 10 can be transported to a desired location and assembled.
  • the columns 61 have recesses within which the ends of the panels are positioned in mating relationship to form the enclosure.
  • the columns 61 include an elongated channel 66 , and the panels have a male end 115 that is adapted to fit within the channel 66 and interlock the two components together. In this manner, two columns 61 can be spaced apart from one another and the male ends 65 of the panels 62 can be inserted in the channels 64 at the top of the column 61 and slid into place. As shown in FIG.
  • panels are stacked on top of one another, in which case some of the panels 62 may be equipped with vents 66 for ventilation of air in and out of the enclosure. In addition, or alternatively, the panels 62 may be spaced apart using spacers (not shown) sufficient to support the panels 62 .
  • the enclosure 10 may include a base 64 and/or a cover 65 .
  • the base 65 may have a plurality of recesses for receiving the columns 61 and/or panels 62 and position the columns 61 and/or panels 62 in mating relationship with base 64 . More specifically, the base 64 has a plurality of recesses 73 spaced apart for receiving a bottom end 61 A of a column 61 . In addition, a channel 74 is disposed between consecutive columns 61 for receiving a bottom panel 62 A.
  • the cover 65 may have a recessed pattern mirroring that of the base 64 for positioning the cover on the columns 61 and panels 62 . In this manner, all the components are interlocked providing some level of structural integrity to the enclosure.
  • the panels 62 may have a male end 115 that fits in mating relationship with the channel 64 on the column 61 interlocking the two components.
  • each panel 62 may have one or more raised portions 110 on a top end 111 of the panel 62 forming a lip 112 .
  • the panels 62 B and 62 C are shown being stacked on top of one another.
  • Each of the panels 62 B and 62 C may also have a recessed portion 114 on a bottom end 113 of each panel 62 so that when panel 62 C is stacked on top of panel 62 B the raised portion 110 of panel 62 B mates with the recessed portion 114 on the bottom end 113 of the other panel 62 C. In this manner, the raised portion on panel 62 B aligns the two panels 62 B and 62 C with respect to one another, and the lip 112 on panel 62 B supports the panel 62 C. The mating of these two components, may further attenuate sound emanating from an enclosed operating system.
  • the operating system within the enclosure 10 for each of the above-described embodiments may have above ground components (cable, chords, piping, conduits or other parts) attached to it and protruding outside the enclosure 10 .
  • the enclosure 10 includes one or more apertures 105 through which the component extends.
  • a grommet 92 is positioned within an aperture 84 (represented by the dotted line in FIG. 20B ) to seal an interface between a pipe 93 and the enclosure 10 .
  • the enclosure 10 includes an assembly 91 , including the grommet 92 , mounted on the enclosure 10 .
  • Two panels 94 that may be shorter than other panels (not shown), are aligned end-to-end and spaced apart forming a gap 97 within which the assembly 91 , including the grommet 92 , is mounted. As shown in FIG.
  • the assembly 91 may include separable members 95 (first member) and 96 (second member) configured to fit within the gap 97 and in mating relationship with each of the panels 94 .
  • the assembly 91 shown in FIGS. 20A and 20B , is positioned at the base of the enclosure 10 ; however, the gap 94 and the assembly 91 may be located anywhere on the enclosure 10 where a component of the operating system protrudes from the enclosure.
  • the components of the enclosure including the panels 94 and columns 99 is transported to the site of the operating system.
  • the grommet 92 is attached to the pipe 93 preferably before the installation of panels 94 .
  • the grommet 92 may be fabricated from a rubber material having a slit 98 and is flexible enough to open the grommet 92 sufficiently to receive the pipe 93 .
  • the first member 95 is preferably positioned underneath the pipe 93 , then the panels 94 are installed forming gap 97 through which the pipe 93 extends.
  • the second member 96 is then installed on top of the grommet 92 and pipe 93 as shown in FIGS. 20A and 20B .
  • an additional support mechanism may be required between consecutively spaced panels.
  • one or more of the panels in each of the above-described panels may be prefabricated with the gap 97 formed in the panels for receiving the pipe 93 and grommet assembly 91 .

Landscapes

  • Physics & Mathematics (AREA)
  • Acoustics & Sound (AREA)
  • Engineering & Computer Science (AREA)
  • Architecture (AREA)
  • Electromagnetism (AREA)
  • Civil Engineering (AREA)
  • Structural Engineering (AREA)
  • Building Environments (AREA)

Abstract

A sound attenuation enclosure comprising a plurality of panels positioned side by side one another forming an enclosure about an operating device that generates noise. The panels are supported by a plurality of columns, and are separable from the columns so the enclosure and its components are transportable. The panels and columns may have an enclosed inner chamber filled with a sound retardant material.

Description

    FIELD OF THE INVENTION
  • This invention relates to devices used to attenuate sound emanating from mechanical or electromechanical operating systems where noise, sound or vibration are a consideration for the operation of such systems.
  • BACKGROUND OF THE INVENTION
  • An ongoing problem associated with mechanical and electro-mechanical operating systems is the level of noise such systems generate. With the continuous technical advances in the fields of metallurgy, electrical and mechanical engineering, manufacturers of equipment are able to minimize the physical dimensions of equipment including the thickness and mass of equipment components. Sound and improved efficiency/performance often cause conflicting results. These changes often result in increased noise pollution levels. Examples of such operating systems include, but are not limited to, HVAC units, pool pumps, gas manifolds, emergency storm generators and sump pumps.
  • Equipment manufacturers often are limited to installing sound blankets or lining the operating system with fiber wool to reduce the noise level emanating from the operating system. Similar principles have been adopted by the gas turbine and automotive industry using combinations of fiber, acoustic foams and composite metal combinations to address the various sound issues. Although sound cancellation schemes have been proposed, no solution has been found to satisfactorily address the broad-spectrum noise cancellation signature of a mechanical or electro-mechanical operating system. The sound blankets placed over gas valves, motors, compressor and various operating systems and provide minimal sound reduction.
  • Such attempts to meet consumer needs have encountered manufacturing and performance issues, produced minimum reliability performance and in some cases health hazards. As an example, fiber glass/wool materials can be a nesting area for rodents. These materials also retain moisture, which causes fungal/bacteria growth. The sound blankets typically have a vinyl jacket filled with a fiberglass material commonly known as R-19. In addition, the blanket contacts the operating system, which can reduce the overall performance and life of the operating system. The blanket acts as an insulating jacket that generates heat. Elevated temperatures with respect to a normal operating temperature places stress on components causing system failures.
  • Sound abatement enclosures are available for sound abatement of larger industrial operating systems. However, these enclosures are typically custom-designed for a specific application of an operating system. As such these enclosures can be extremely expensive and/or cost prohibitive. Accordingly, there remains significant room for improvement in low cost noise abatement for electrical and mechanical systems especially where the system is exposed to the outdoor environment.
  • SUMMARY OF THE INVENTION
  • The present invention for a sound attenuation enclosure comprises a plurality of panels that are supported and arranged with respect to one another to form an enclosure. At least two of the panels are supported side by side and in spaced relation to one another and one or more of these two panels have an inner chamber filled with sound retardant material. In one embodiment the least two panels are supported side by side such that the panels overlap one another.
  • In another embodiment each of the plurality of panels has an inner enclosed chamber filled with a sound retardant material. The panels are supported side by side so that each panel is positioned in spaced relation to an adjacent panel, and the plurality of panels are arranged to form an enclosure. In addition, the panels are arranged so that a top section or bottom section of each panel overlaps a top section or bottom section of an adjacent panel. The overlapping of the panels provides an additional barrier to emanating sound pressure waves, as opposed when panels are aligned side by side but are not overlapping. A surface of the panels that form an inner surface of the enclosure may comprise a series of adjacent cavities and protrusions, which cause viscous losses as sound pressure waves move in and out of the cavities. In addition, or alternatively the inner surface of the enclosure may be lined with sound attenuating materials that form a textured service to have the same effect as the series of cavities on sound pressure waves.
  • The enclosure, and components of the enclosure, is transportable in the sense that all the components can be transported to a desired site and assembled to form the enclosure. Accordingly, the enclosure includes a means, associated with the first end and the second end of each panel, for supporting the plurality of panels wherein each of the panels is positioned beside another panel forming an enclosure wherein the panels are detachable from the enclosure so the enclosure can be transported. One embodiment includes a plurality of support columns that support the panels. Each of the columns includes one or more recesses within which a first end or second end of each panel is placed in mating relationship. In one embodiment, the columns are vertically disposed and the recess is an elongated, vertically disposed channel. The panels are horizontally disposed and a first end and second end of each panel is positioned in mating relationship with a recess in a column thereby supporting the panels and forming the enclosure. The panels and columns can be easily detached from one another making the enclosure and its components transportable.
  • BRIEF DESCRIPTION OF THE DRAWINGS
  • A more particular description of the invention briefly described above will be rendered by reference to specific embodiments thereof that are illustrated in the appended drawings. Understanding that these drawings depict only typical embodiments of the invention and are not therefore to be considered to be limiting of its scope, the invention will be described and explained with additional specificity and detail through the use of the accompanying drawings.
  • FIG. 1 is a perspective view of a first embodiment of the enclosure.
  • FIG. 2 is a perspective sectional view of some panels of the enclosure.
  • FIG. 3 is an exploded perspective view of the enclosure.
  • FIG. 4 is an end sectional view of some panels of the enclosure of the first embodiment.
  • FIG. 5 is an exploded perspective view of a second embodiment of the enclosure.
  • FIG. 6 is a perspective view of panels being attached to a support column.
  • FIG. 7 is an end sectional view of some panels of the enclosure of the second embodiment.
  • FIG. 8A is a perspective view of a third embodiment of the enclosure.
  • FIG. 8B is an end sectional view of some of the panels of the third embodiment taken along line B-B in FIG. 8A.
  • FIG. 9 is a side view of some panels of the enclosure.
  • FIG. 10 is an exploded perspective view of the third embodiment of the enclosure.
  • FIG. 11 is a top view of a corner of the enclosure in FIG. 10.
  • FIG. 12 is an exploded perspective view of the enclosure with a support rod.
  • FIG. 13 is a perspective view of a fourth embodiment of the enclosure.
  • FIG. 14 is an exploded perspective view of the enclosure.
  • FIG. 15 is a perspective view of a fifth embodiment of the enclosure.
  • FIG. 16 is an exploded perspective view of the enclosure.
  • FIG. 17A is a top view of a panel positioned in a column of the fifth embodiment.
  • FIG. 17B is an end view of panels used in the fifth embodiment.
  • FIG. 18 is a perspective view of a cowling.
  • FIG. 19 is a sectional view taken along line 19-19 in FIG. 18.
  • FIG. 20A is an exploded perspective view of a grommet being installed in an enclosure.
  • FIG. 20B is a perspective view of a grommet installed in a panel.
  • DETAILED DESCRIPTION OF THE DRAWINGS
  • A first embodiment of the present invention for a sound attenuation enclosure is illustrated in FIGS. 1 through 4. The enclosure 10 comprises a plurality of sound insulating panels 12 attached to and supported on support columns 11. One or more of the panels 12 has a shell-like, or tubular, configuration having an inner chamber 22 filled with a sound retardant material 19. The columns 11 may also have a similar configuration for retaining the sound retardant material 19.
  • Various sound retardant materials are acceptable, including, but not limited to, rubber, polymer foam, water, gravel, sand, or other dense materials used for sound attenuation. In some instances, the panels 12 and/or columns 11 may not contain the sound retardant material, and the components remain hollow. Alternatively, the panels 12 may be fabricated as a solid piece of sound retardant material, and not have a chamber 22.
  • The panels 12 and columns 11, and those similar components described in all embodiments discussed herein, are preferably fabricated from extrusion of known materials including aluminum, steel, rubber (neoprene, polyisoprene, natural rubber, polyurethane, viton, nitrile, silicon etc.) or a plastic material (polyvinylchloride, polyethylene, polystyrene, nylon etc.). However, other methods such as blow molding, slip casting, pressing and injection molding and materials used with such methods may be used to practice the disclosed invention.
  • In addition, all components described in each of the embodiments may be designed so that the enclosure, including its components, is transportable to and assembled at a desired site. If necessary, the enclosure can be disassembled, and the components moved to another site or stored. The enclosure 10 and its components may range in dimensions depending on the nature of the device to be covered. The enclosure 10 can be used to cover household devices such as pool pumps, air condition units, portable generators or any other items that generates sound at an unacceptable noise level. In addition, the enclosure 10 may have commercial applications are where a temporary sound barriers is required to lessen noise impact on the surrounding area, for example military field generators and transformers or building construction/improvement sites.
  • The dimensions of each of the embodiments described herein will vary in part according to the size of the operating system enclosed and the desired level of noise abatement to be achieved. For example, for a typical household HVAC unit, the interior surface of the enclosure 10 would be spaced from a surface of the HVAC about two inches to about four inches; however, the distance the enclosure may be greater or less depending in part on the size of the HVAC unit. In addition, the chamber 22 may vary in size according to the materials used to fabricate the components of the enclosure, the type of filler and the sound level generated by the HVAC unit. For example, the chamber may be about 7 mm to 9 mm thick, and wall thickness of the panel 12 may be about 3 mm to about 4 mm thick. If the panels 12 are fabricated as a solid mass loaded rubber or aerated cement/rubber mix the wall thickness may be about 10 mm to about 12 mm thick. The applications relating to larger operating devices, and/or devices that create a higher level of sound of 80 decibels or higher, the wall thickness may be about 2.5″ to about 4″.
  • Typical household HVAC units produce noise/sound at levels typically ranging from about 74 decibels to about 78 decibels. The enclosure 10 disclosed herein, at least with respect to use with HVAC units, may reduce the noise level emanating from an enclosed operating system by 15 decibels or to around 60 decibels.
  • The ends of panels 12 are closed in order to retain the sound retardant material 19 within the chamber 22. For example, if the panels 12 are formed from extrusion of a moldable material, one or both ends may be open after extrusion. An end cap (not shown) can be welded on one end of the panel 12 so that the sound retardant material can be placed in the chamber 12 from an open end, which is closed by welding another end cap on the panel 22. In an injection molding process an aperture may be formed on the panel 12, preferably on one end of the panel 12, and the sound retardant material 19 may be poured into the chamber 22 and a plug (not shown) is inserted in the aperture to encase the sound retardant material 19, within the chamber 22.
  • With respect to the first embodiment, each of the panels 12 is supported on the columns 11 in such a manner that each panel 12 is positioned in spaced relation to an adjacent consecutive panel 12 forming a gap 104 between the panels 12. In this manner, the enclosure 10 is ventilated for dissipation of heat generated by an enclosed mechanical or electro-mechanical operating system.
  • With respect to FIGS. 2 and 3, the panels 12 have a top section 15 and a bottom section 16. Two side sections 17 and 18 are disposed between top section 15 and bottom section 16. The side section 17 faces an interior of the enclosure 10 and side section 18 faces an exterior of the enclosure 10. Side sections 17 on the panels 12 form an interior surface of the enclosure 10. The top section 15 and bottom section 16 are parallel to each other and are inclined at an angle, preferably 45°, with respect to the side sections 17 and 18. In this manner, consecutive adjacent panels 12 overlap one another. Although the panels 12 are spaced apart, the overlap of the panels provides a physical obstruction to sound pressure waves that may emanate from an enclosed operating device.
  • The surface of the panels 12 facing an interior of the enclosure 10 may be textured to further enhance the sound retarding effects of the enclosure 10. For example, as shown in FIGS. 2 and 3, the surface of the panels 12 includes a series of adjacent cavities 23 and protrusions 29 that can be formed during extrusion. The example shown in FIG. 1 has elongated uniformly configured cavities and ridges. Other textures, such as a dimple configuration, a spike configuration may be effective for sound attenuation. The type of texture may be governed by various factors such as the material composing the panels, the method of manufacture (injection molding, extrusion, slip casting etc.) or level of sound attenuation desired. In addition, or alternatively, strips of sound attenuating materials such as acoustic foam may be affixed to and spaced apart along the inside surface of the panels 12 forming the adjacent series of cavities and protrusions. By providing a texture to the surface, the cavities 23 cause viscous losses to the sound pressure waves moving in and out of the cavities 23.
  • With respect to FIGS. 2 and 3, the connection of the panels 12 to the columns 11 is illustrated. In the embodiment shown in FIGS. 1 through 4, the enclosure 10 includes four columns 11 secured to a base 13. The base 13 is rectangular and has a notch 27 disposed in each of the four corners for receiving a column 11. While this embodiment has a rectangular configuration, the invention is not so limited and may include any type of configuration necessary to form an enclosure. Each of the columns 11 includes an elongated channel 24 within which a first end 12A and second end 12B of the panels 12 are inserted. The columns 11 are vertically disposed and each end 12A and 12B of the panel 12 is inserted within a channel 24 on a respective column 11. The panels 12 are disposed horizontally between the columns 11, and a spacer 28 is positioned between adjacent panels 12 so the adjacent panels 12 are positioned in spaced relation to one another.
  • Accordingly, in practice the columns 11 and panels 12 are transported to a desired location. The columns 11 are positioned around the device to be enclosed. The ends 12A and 12B of a panel 12 are inserted into the channel 14 preferably by sliding the panel 12 from the top of the column to the bottom of the column 11. Another panel 12 is then placed in position above or beside the first panel with the spacer 28 disposed there between so the panels 12 are spaced apart. This is repeated until the enclosure 10 is formed.
  • The base 13 is not required to form the enclosure 10. That is, the columns 11 may be free standing without the aid of the base 13. In addition, the method or means for securing the panels 12 to the columns 11 is not limited to the elongated channel 24, but may include other securing means. For example, the columns may have holes spaced vertically spaced on the column for receiving the ends of the panels 12. Alternatively, fastening mechanism as nails, bolts, clamps etc. may be used to secure the panels 12 to columns 11.
  • In addition, a cover 14 may be provided to further attenuate sound and protect an enclosed system from the environment. The cover 14 may take the solid configuration shown in FIG. 1, or include a wire mesh screen, ventilation slots or the like to permit ventilation of air and heat dissipation. In some circumstances, the operating device, such as an HVAC unit, within the enclosure may require, or generate a significant amount of airflow in and out of the enclosure. A cowling 81, as shown in FIGS. 18 and 19 may be used with the enclosure 10. The cowling 81 has a curved surface 82 that bends outward with respect to an interior of the enclosure 10. The cowling 81 or cover 14 may have an enclosed inner chamber 83 that is filled with a sound retardant material 19. In addition, the surface 82 of the cowling 81 may be textured include the previously described cavities 23 and protrusions 29 for attenuating sound emanating from device within the enclosure 10.
  • As shown in FIGS. 1 and 3, the operating system 100 within the enclosure 10 may have parts such as a chord 101 or pipe 102 that protrude from the enclosure 10. In as much as the panels 12 are spaced apart, the chord 101 may extend through the gap 104 between consecutive panels 12. In addition, the enclosure 10 may have one or more apertures 105 through which a pipe 102 may extend. The panels 12 may be prefabricated with the aperture 105 formed in one or more of the panels 12; or, if the panels 12 are fabricated as a solid integral piece of sound retardant material 19 the aperture 105 may be drilled in a panel 12 on site. In either case, the pipe 102 may have to be detached from the operating system 100, the panel 12 with the aperture 105 is aligned with attachment site of the pipe 105 to the operating system 100 and the pipe 102 is reinstalled.
  • A grommet 103 is then inserted in the aperture 105 between pipe 105 and panel 12 sealing the interface between the pipe 102 and the enclosure 10. In addition, or alternatively, a grommet assembly 91 described below, and shown in FIGS. 20A and 20B, may be used to install the grommet 105. As described below in more detail, the grommet 103 preferably has a slit, and is sufficiently flexible to be opened, wrapped around the pipe 102 and popped into the aperture 105.
  • A second embodiment of the enclosure 10 illustrated in FIGS. 5, 6 and 7, includes panels 32 supported in spaced relation to one another by columns 31. The panels 32 include a first set 32A and a second set 32B spaced laterally from the first set 32A toward an exterior of the enclosure. In each set 32A and 32B, adjacent panels 32 are spaced apart forming a gap 33 between consecutive panels 32. However, the panels 32 in the first set 32A are positioned with respect to the panels 32 of the second set 32B so that the first set 32A covers at least a portion of the gaps 33 between consecutive panels 32 in the second set 32B. Similarly, the second set 32B is positioned with respect to the first set of panels 32A so that second set of panels 32B covers at least a portion of the gaps 33 between consecutive panels in the second set 32B.
  • The panels 32 shown in FIG. 7 have the inclined sections 15 and 16 as in the above-described first embodiment. However, other shapes may be used. For example panels 32 may have a rectangular cross-sectional configuration having an inner chamber 22 that is filled with a sound retardant material 19. In such a case a portion of one of panels 32 covers the gap 33 between two laterally disposed panels of the other set.
  • With respect to FIGS. 5 and 6, the connection of the panels 32 to the columns 31 is illustrated. In this second embodiment, the enclosure 10 includes four columns 31 secured to a base 33. The base 33 is rectangular and has a notch 37 disposed in each of the four corners of the base for receiving a column 31. While this embodiment has a rectangular configuration, the invention is not so limited and may include any type of configuration necessary to form an enclosure. Each of the columns 31 includes a first channel 35 and a second channel 36 that is parallel to the first channel 35 for receiving the ends of the panels 32. Spacers 38, secured within notches 25 in the channels 35 and 36, support the panels 32 on the columns 31. The columns 31 are vertically disposed and each end of a panel 32 is inserted within a channel 35 or 36 on a respective column 31. The panels 32 are disposed horizontally between the columns 31. Although the embodiment describe herein shows the panels 32 disposed horizontally, and the columns 31 disposed vertically, the enclosure 10 could be arranged so that columns 31 are disposed horizontally and the panels 32 are disposed vertically.
  • The base 33 is not required to form the enclosure 30. That is, the columns 31 may be free standing without the aid of the base 33. In addition, the method or means for securing the panels 32 to the columns 31 is not limited to the elongated channel 24, but may include other securing means. For example, the columns may have holes spaced vertically and laterally on the column for receiving the ends of the panels 32. Alternatively, fastening mechanism as nails, bolts, clamps etc. may be used to secure the panels 32 to columns 31.
  • The enclosure 10 of the second embodiment may also include one or more apertures (not shown) similar to the above-described first embodiment to allow parts to protrude out of the enclosure 10.
  • A third embodiment of the enclosure is illustrated in FIGS. 8A, 8B, 9 and 10, also includes a similar “staggered” panel configuration as in the second embodiment; however, columns are not necessary to arrange the panels to form an enclosure. More specifically, the enclosure 10 includes panels 41 including a first set of panels 41A and a second set of panels 41B. The first set of panels 41A includes a plurality panels that are spaced apart forming a gap 43 between each consecutive pair of panels 41. The second set of panels 41B are laterally spaced from the first set of panels 41A toward an exterior of the enclosure 40. Panels from the first set 41A cover at least a portion of the gaps 43 between the panels of the second set 41B; and, panels from the second set 41B cover at least a portion of the gaps 43 between the panels of the first set 41A.
  • As shown in FIG. 9, the panels of the first set 41A and second set 41B are the same length. Two notches 44 are formed in each panel 41 of the first set of panels 41A; and, two notches 45 are formed in each panel of the second set of panels 41B. The notches 44 and 45 enable the panels 41 to interlock as shown in FIG. 7. The notches 44 on panel of the first set 41A are spaced apart D1, and the notches 45 in the second set of panels 41B are spaced a distance D2 which is greater than the distance D1. Accordingly, four panels 41 of the first set 41A make a rectangle that has a diameter that is smaller in diameter of the rectangle made from the second set 41B of panels 41. When the first set of panels 41B are stacked on the second set of panels 41B, and vice versa, the panels 41A and 41B are displaced laterally with respect to one another.
  • With respect to FIGS. 10, 11 and 12, there is illustrated a support rod 47 positioned at each of the corners of the enclosure 10. More specifically, when the panels 41 are stacked atop one another the corner 48 on the first set of panels 41A is disposed laterally inward, or toward an interior of the enclosure 10 with respect to a corner 49 on the second set of panels 41B, thereby forming hole 50 between consecutive levels of the panels 41 and at the corner 48 and 49 of each level. The rod 47 is inserted in the hole 50 to stabilize the panels 41.
  • The enclosure 10 of the third embodiment may also include one or more apertures (not shown) similar to the above-described first embodiment to allow parts to protrude out of the enclosure 10.
  • In an alternative fourth embodiment illustrated in FIGS. 13 and 14, the enclosure 10 includes panels 72 that are positioned with respected to one another so the enclosure 10 and panels 72 do not have the staggered configuration as above described. The panels 72 have a first end 72A and a second end 72B. A first notch 73A is formed on the first end 72A the panels 72; and, a second notch 73A is formed on the second end 72B on the panels 72. The distance between the notches 73A and 73B on the panels 72 is equal, so when different levels of panels 72 are stacked on top of one another the enclosure has a relatively flat exterior surface. Pegs 74 and apertures 75 may be added to a top or bottom of the panels 72. As shown in FIG. 14, the pegs 74 on one panel are aligned with apertures 75 on a top or bottom of another panel 72 to support the panels 72 relative to one another.
  • The enclosure 10 of the fourth embodiment may also include one or more apertures (not shown) similar to the above-described first embodiment to allow parts to protrude out of the enclosure 10.
  • A fifth embodiment of the enclosure 10 is illustrated in FIGS. 15, 16 and 17. The enclosure 10 includes a plurality of sound insulating panels 62 supported on a frame 63. The frame 63 includes a plurality of vertically disposed columns 61 that are positioned on a base 64. In addition a cover 65 is positioned on top of the panels 62 and columns 61. The base 64 and cover 65 are optional components. That is, the enclosure 60 may be assembled without the base 64 and cover 65, and include only the columns 61 standing free and supporting the panels 62.
  • As in the previously described embodiments, the enclosure 10 is transportable. That is, all the components of the enclosure 10 can be transported to a desired location and assembled. In the embodiment shown in FIGS. 15 and 16, the columns 61 have recesses within which the ends of the panels are positioned in mating relationship to form the enclosure. As shown in FIG. 16, the columns 61 include an elongated channel 66, and the panels have a male end 115 that is adapted to fit within the channel 66 and interlock the two components together. In this manner, two columns 61 can be spaced apart from one another and the male ends 65 of the panels 62 can be inserted in the channels 64 at the top of the column 61 and slid into place. As shown in FIG. 15, panels are stacked on top of one another, in which case some of the panels 62 may be equipped with vents 66 for ventilation of air in and out of the enclosure. In addition, or alternatively, the panels 62 may be spaced apart using spacers (not shown) sufficient to support the panels 62.
  • The enclosure 10 may include a base 64 and/or a cover 65. The base 65 may have a plurality of recesses for receiving the columns 61 and/or panels 62 and position the columns 61 and/or panels 62 in mating relationship with base 64. More specifically, the base 64 has a plurality of recesses 73 spaced apart for receiving a bottom end 61A of a column 61. In addition, a channel 74 is disposed between consecutive columns 61 for receiving a bottom panel 62A. The cover 65 may have a recessed pattern mirroring that of the base 64 for positioning the cover on the columns 61 and panels 62. In this manner, all the components are interlocked providing some level of structural integrity to the enclosure.
  • With respect to FIGS. 17A and 17B, the panels 62 may have a male end 115 that fits in mating relationship with the channel 64 on the column 61 interlocking the two components. In addition, each panel 62 may have one or more raised portions 110 on a top end 111 of the panel 62 forming a lip 112. As shown in FIG. 17B, the panels 62B and 62C are shown being stacked on top of one another. Each of the panels 62B and 62C may also have a recessed portion 114 on a bottom end 113 of each panel 62 so that when panel 62C is stacked on top of panel 62B the raised portion 110 of panel 62B mates with the recessed portion 114 on the bottom end 113 of the other panel 62C. In this manner, the raised portion on panel 62B aligns the two panels 62B and 62C with respect to one another, and the lip 112 on panel 62B supports the panel 62C. The mating of these two components, may further attenuate sound emanating from an enclosed operating system.
  • In many instances the operating system within the enclosure 10 for each of the above-described embodiments may have above ground components (cable, chords, piping, conduits or other parts) attached to it and protruding outside the enclosure 10. In such cases, the enclosure 10 includes one or more apertures 105 through which the component extends.
  • In an embodiment shown in FIGS. 20A and 20B a grommet 92 is positioned within an aperture 84 (represented by the dotted line in FIG. 20B) to seal an interface between a pipe 93 and the enclosure 10. In this embodiment, the enclosure 10 includes an assembly 91, including the grommet 92, mounted on the enclosure 10. Two panels 94, that may be shorter than other panels (not shown), are aligned end-to-end and spaced apart forming a gap 97 within which the assembly 91, including the grommet 92, is mounted. As shown in FIG. 20A, the assembly 91 may include separable members 95 (first member) and 96 (second member) configured to fit within the gap 97 and in mating relationship with each of the panels 94. The assembly 91, shown in FIGS. 20A and 20B, is positioned at the base of the enclosure 10; however, the gap 94 and the assembly 91 may be located anywhere on the enclosure 10 where a component of the operating system protrudes from the enclosure.
  • In practice of each of the above-described embodiments, the components of the enclosure including the panels 94 and columns 99, if the enclosure includes columns 99, is transported to the site of the operating system. The grommet 92 is attached to the pipe 93 preferably before the installation of panels 94. The grommet 92 may be fabricated from a rubber material having a slit 98 and is flexible enough to open the grommet 92 sufficiently to receive the pipe 93. The first member 95 is preferably positioned underneath the pipe 93, then the panels 94 are installed forming gap 97 through which the pipe 93 extends. The second member 96 is then installed on top of the grommet 92 and pipe 93 as shown in FIGS. 20A and 20B. In the above-described embodiments in which the panels 94 may be spaced apart, an additional support mechanism may be required between consecutively spaced panels. Alternatively, one or more of the panels in each of the above-described panels may be prefabricated with the gap 97 formed in the panels for receiving the pipe 93 and grommet assembly 91.
  • While the preferred embodiments of the present invention have been shown and described herein, it will be obvious that such embodiments are provided by way of example only. Numerous variations, changes and substitutions will occur to those of skill in the art without departing from the invention herein. Accordingly, it is intended that the invention be limited only by the spirit and scope of the appended claims.

Claims (22)

1. A modular transportable sound attenuation enclosure, comprising:
a plurality of sound insulating panels and each panel having a first end and a second end;
means, associated with the first end and the second end of each panel, for supporting the plurality of panels wherein each of the panels is positioned beside another panel forming an enclosure wherein the panels are separable from the supporting means so the enclosure can be transported.
2. The invention of claim 1 wherein the supporting means comprises a plurality of columns arranged to support the panels forming the enclosure, and each of the columns having one or more recesses and the first end and second end of each panel are positioned in mating relationship with the one or more recesses on the columns.
3. The invention of claim 2 further comprising a base having a plurality of first recesses spaced apart on the base for receiving in mating relationship a bottom end of each of the columns and supporting the columns thereon in spaced relation to one another and a plurality of second recesses for receiving in mating relationship a bottom of one or more of the panels, and each second recess is disposed between two of the first recesses.
4. The invention of claim 3 further comprising a cover having a plurality of first recesses for receiving in mating relationship a top of each of the columns and a plurality of second recesses disposed thereon and the first and second recesses for receiving a top of one or more of the panels, and each second recess is disposed between two of the first recesses on the cover.
5. The invention of claim 1 wherein the enclosure includes at least three panels and the supporting means comprises a first notch formed in the first end of each of the panels and a second notch formed in the second end of each of the panels wherein the first notch of each panel is positioned in mating relationship with the first notch on another panel, and the second notch on each panel is positioned in mating relationship with the second notch on another panel.
6. The invention of claim 1 further comprising a cowling positioned on a top of the panels and the cowling having a surface that bends outward with respect to an interior of the enclosure.
7. The invention of claim 1 wherein each one or more of the panels has an enclosed inner panel filled with a sound retardant material.
8. The invention of claim 1 wherein each panel is spaced apart from an adjacent panel forming a gap there between and at least a portion of a panel overlaps a portion of an adjacent panel.
9. A modular sound attenuation enclosure, comprising:
a plurality of first sound insulating panels aligned with respect to one another to form a first enclosed level; and,
a plurality of second sound insulating panels aligned with respect to one another to form a second enclosed level, and each of the second panels is positioned above one of the first panels, and the first and second panels are arranged with respect to one another to form an enclosure about a device to attenuate sound emanating from the device.
10. The invention of claim 9 wherein each of the first panels has an enclosed inner chamber filled with a sound retardant material and each of the second panels has an enclosed inner chamber filled with a sound retardant material.
11. The invention of claim 9 further comprising a plurality of columns arranged to support the first and second panels forming the enclosure, and each of the columns having one or more recesses and a first end and a second end of each panel are positioned in mating relationship with the one or more recesses on the columns.
12. The invention of claim 10 wherein the second level of panels is positioned in spaced relation to the first level of panels.
13. The invention of claim 12 further comprising a third level of panels spaced above and aligned with the first level of panels forming a gap there between and the second level of panels is spaced laterally with respect to the first level and second level at least a portion of the second level covering the gap.
14. The invention of claim 9 wherein one or more of the columns has an enclosed inner chamber filled with a sound retardant material.
15. The invention of claim 9 wherein the enclosure includes at least three panels and a first notch formed in the first end of each of the panels and a second notch formed in the second end of each of the panels wherein the first notch of each panel is positioned in mating relationship with the first notch on another panel, and the second notch on each panel is positioned in mating relationship with the second notch on another panel.
16. A modular sound attenuation enclosure, comprising:
a plurality of first sound insulating panels aligned with respect to one another to form a first enclosed level, and each of the panels having an enclosed inner chamber filled with a sound retardant material;
a plurality of second sound insulating panels aligned with respect to one another to form a second enclosed level, each of the second panels is positioned above one of the first panels and each of the second panels has an enclosed inner chamber filled with a sound retardant material; and,
means, associated with a first end and a second end of each first and second panel, for supporting the first and second wherein the first and second panels are detachable from the enclosure so the enclosure can be transported.
17. The invention of claim 16 wherein the supporting means comprises a plurality of columns arranged to support the first and second panels forming the enclosure, and each of the columns having one or more recesses and the first end and second end of each first and second panel are positioned in mating relationship with the one or more recesses on the columns.
18. The invention of claim 16 further comprising a base having a plurality of first recesses spaced apart on the base for receiving in mating relationship a bottom end of each of the columns and supporting the columns thereon in spaced relation to one another and a plurality of second recesses for receiving in mating relationship a bottom of one or more of the first panels, and each second recess is disposed between two of the first recesses.
19. The invention of claim 16 further comprising a cover having a plurality of first recesses for receiving in mating relationship a top of each of the columns and a plurality of second recesses disposed thereon and the first and second recesses for receiving a top of one or more of the second panels, and each second recess is disposed between two of the first recesses on the cover.
20. The invention of claim 16 wherein the enclosure includes at least three panels and the supporting means comprises a first notch formed in the first end of each of the panels and a second notch formed in the second end of each of the panels wherein the first notch of each panel is positioned in mating relationship with the first notch on another panel, and the second notch on each panel is positioned in mating relationship with the second notch on another panel.
21. The invention of claim 16 wherein the first panels are spaced apart from the second panels and at least a portion of the first panel overlap a portion of the second panel.
22. The invention of claim 16 further comprising a third plurality of sound insulating panels aligned with and spaced apart from the first panels forming a gap there between, and the second panels are spaced laterally with respect to the first and third panels and the second panels covering the gap between the first panels and third panels.
US11/554,738 2006-10-31 2006-10-31 Sound Attenuation Enclosure Abandoned US20080098663A1 (en)

Priority Applications (1)

Application Number Priority Date Filing Date Title
US11/554,738 US20080098663A1 (en) 2006-10-31 2006-10-31 Sound Attenuation Enclosure

Applications Claiming Priority (1)

Application Number Priority Date Filing Date Title
US11/554,738 US20080098663A1 (en) 2006-10-31 2006-10-31 Sound Attenuation Enclosure

Publications (1)

Publication Number Publication Date
US20080098663A1 true US20080098663A1 (en) 2008-05-01

Family

ID=39328464

Family Applications (1)

Application Number Title Priority Date Filing Date
US11/554,738 Abandoned US20080098663A1 (en) 2006-10-31 2006-10-31 Sound Attenuation Enclosure

Country Status (1)

Country Link
US (1) US20080098663A1 (en)

Cited By (9)

* Cited by examiner, † Cited by third party
Publication number Priority date Publication date Assignee Title
US20080099274A1 (en) * 2006-10-31 2008-05-01 Robert Vaughan Seel Sound Attenuation Enclosure
US20110179721A1 (en) * 2010-01-25 2011-07-28 Barry Michael I Prefabricated building modules for multi-unit housing
US20110289751A1 (en) * 2010-05-25 2011-12-01 Mark Ammons Field Erectable Abatement System Methods
US20120198794A1 (en) * 2010-05-05 2012-08-09 Turpin Mark E Genset enclosure
US8870166B2 (en) 2010-05-25 2014-10-28 Caldwell Tanks, Inc. Misting array assembly of an abatement system
US20140366471A1 (en) * 2013-06-07 2014-12-18 Oldcastle Architectural, Inc. Concrete masonry unit blocks with dimensional lumber pockets and assemblies of blocks and lumber
US9267304B2 (en) * 2014-07-18 2016-02-23 Silverline Services, LLC Multi-seasonal field device enclosure
US10370847B2 (en) * 2014-12-22 2019-08-06 Dario Alejandro CAFFARATTI GIRO Modular sound-proofed cabin
WO2025193429A1 (en) * 2024-03-14 2025-09-18 Sunbelt Rentals, Inc. Temporary structure with improved wall system

Citations (9)

* Cited by examiner, † Cited by third party
Publication number Priority date Publication date Assignee Title
US3881569A (en) * 1973-09-06 1975-05-06 Jr William O Evans Soundproofing panel construction
US3899043A (en) * 1974-07-29 1975-08-12 Steadley Co Machine cover
US3934382A (en) * 1974-02-27 1976-01-27 Gartung Clifford W Modular sound-absorbing screens
US4120376A (en) * 1976-11-08 1978-10-17 Palmer Charles E Noise control enclosure
US20050120641A1 (en) * 2003-12-05 2005-06-09 Steven Whitehead Low profile plastic panel enclosure
US20060048459A1 (en) * 2004-09-07 2006-03-09 Moore Thomas D Modular insulated panel collapsible sport/utility shanty
US20070074465A1 (en) * 2005-07-29 2007-04-05 Chi-Chih Kuan Combinational housing structure
US7395634B2 (en) * 2003-03-31 2008-07-08 Suncast Corporation Plastic expandable utility shed
US7412801B2 (en) * 2004-10-21 2008-08-19 Panagiotis Papakonstantinou Sound absorbing panel

Patent Citations (9)

* Cited by examiner, † Cited by third party
Publication number Priority date Publication date Assignee Title
US3881569A (en) * 1973-09-06 1975-05-06 Jr William O Evans Soundproofing panel construction
US3934382A (en) * 1974-02-27 1976-01-27 Gartung Clifford W Modular sound-absorbing screens
US3899043A (en) * 1974-07-29 1975-08-12 Steadley Co Machine cover
US4120376A (en) * 1976-11-08 1978-10-17 Palmer Charles E Noise control enclosure
US7395634B2 (en) * 2003-03-31 2008-07-08 Suncast Corporation Plastic expandable utility shed
US20050120641A1 (en) * 2003-12-05 2005-06-09 Steven Whitehead Low profile plastic panel enclosure
US20060048459A1 (en) * 2004-09-07 2006-03-09 Moore Thomas D Modular insulated panel collapsible sport/utility shanty
US7412801B2 (en) * 2004-10-21 2008-08-19 Panagiotis Papakonstantinou Sound absorbing panel
US20070074465A1 (en) * 2005-07-29 2007-04-05 Chi-Chih Kuan Combinational housing structure

Cited By (16)

* Cited by examiner, † Cited by third party
Publication number Priority date Publication date Assignee Title
US20080099274A1 (en) * 2006-10-31 2008-05-01 Robert Vaughan Seel Sound Attenuation Enclosure
US8621787B2 (en) * 2010-01-25 2014-01-07 Ironstate Development, Llc Prefabricated building modules for multi-unit housing
US20110179721A1 (en) * 2010-01-25 2011-07-28 Barry Michael I Prefabricated building modules for multi-unit housing
US9562456B2 (en) 2010-05-05 2017-02-07 Cummins Power Generation Ip, Inc. Exhaust injection muffler
US8601772B2 (en) * 2010-05-05 2013-12-10 Cummins Power Generation Ip, Inc. Genset enclosure
US20120198794A1 (en) * 2010-05-05 2012-08-09 Turpin Mark E Genset enclosure
US8769940B2 (en) 2010-05-05 2014-07-08 Cummins Power Generation Ip, Inc. Marine exhaust catalyst
US8839611B2 (en) 2010-05-05 2014-09-23 Cummins Power Generation Ip, Inc Exhaust injection muffler
US8870166B2 (en) 2010-05-25 2014-10-28 Caldwell Tanks, Inc. Misting array assembly of an abatement system
US9518735B2 (en) 2010-05-25 2016-12-13 Caldwell Tanks, Inc. Nozzle assembly
US20110289751A1 (en) * 2010-05-25 2011-12-01 Mark Ammons Field Erectable Abatement System Methods
US20140366471A1 (en) * 2013-06-07 2014-12-18 Oldcastle Architectural, Inc. Concrete masonry unit blocks with dimensional lumber pockets and assemblies of blocks and lumber
US9574339B2 (en) * 2013-06-07 2017-02-21 Oldcastle Architectural, Inc. Concrete masonry unit blocks with dimensional lumber pockets and assemblies of blocks and lumber
US9267304B2 (en) * 2014-07-18 2016-02-23 Silverline Services, LLC Multi-seasonal field device enclosure
US10370847B2 (en) * 2014-12-22 2019-08-06 Dario Alejandro CAFFARATTI GIRO Modular sound-proofed cabin
WO2025193429A1 (en) * 2024-03-14 2025-09-18 Sunbelt Rentals, Inc. Temporary structure with improved wall system

Similar Documents

Publication Publication Date Title
US20080099274A1 (en) Sound Attenuation Enclosure
US20080099275A1 (en) Sound Attenuation Enclosure
US6105334A (en) Fire resistant lighting enclosure
CN102705968B (en) Hold the shell that the cuboid of air-conditioning and/or ventilation equipment assembly is especially cube shaped
US5960592A (en) Protective enclosure for outdoor equipment
CA1219500A (en) Fireproof covering
US20080098663A1 (en) Sound Attenuation Enclosure
EP2664837A2 (en) On-base enclosure
US20130152497A1 (en) Modular Frame for Fastening a Conduit at a Construction Part
KR100650305B1 (en) Firewalls for openings such as walls containing multiple frames for cable entry
KR101481790B1 (en) Fire wall assembly and bracket structure for the same
US20190154295A1 (en) Pre-fabricated modular fire-rated conduit assembly
JP5356072B2 (en) Building window structure
EP4073409A1 (en) A fire resistant ventilation duct and a method of manufacturing and installing such ventilation duct
KR101141608B1 (en) Powder magazine for preventing dew condensation
JP6691746B2 (en) Building outer wall structure
KR20180066343A (en) Light Weight Partition structure
AU2022100068A4 (en) An acoustic louvre assembly
JP4574538B2 (en) Bus duct support structure
GB2604702A (en) Cavity fire barrier
US20250189164A1 (en) Fire-rated ventilation duct and a method of manufacturing and/or installing such ventilation duct in a fire-rated ventilation duct structure penetration arrangement
JPH0465182B2 (en)
EP4696916A1 (en) System for passive fire protection for air intake ducts or flue extraction ducts
GB2395207A (en) A sleeve for a joist end
FI125369B (en) Pipe element for insulating at least one pipe

Legal Events

Date Code Title Description
AS Assignment

Owner name: SOUND SEAL, LLC, FLORIDA

Free format text: ASSIGNMENT OF ASSIGNORS INTEREST;ASSIGNOR:SEEL, ROBERT VAUGHAN;REEL/FRAME:018458/0549

Effective date: 20061031

STCB Information on status: application discontinuation

Free format text: ABANDONED -- FAILURE TO RESPOND TO AN OFFICE ACTION