US20030196812A1 - Coiled tubing for insertion into coiled tubing - Google Patents
Coiled tubing for insertion into coiled tubing Download PDFInfo
- Publication number
- US20030196812A1 US20030196812A1 US10/339,588 US33958803A US2003196812A1 US 20030196812 A1 US20030196812 A1 US 20030196812A1 US 33958803 A US33958803 A US 33958803A US 2003196812 A1 US2003196812 A1 US 2003196812A1
- Authority
- US
- United States
- Prior art keywords
- coiled tubing
- nitrogen
- earth
- tractor
- location
- Prior art date
- Legal status (The legal status is an assumption and is not a legal conclusion. Google has not performed a legal analysis and makes no representation as to the accuracy of the status listed.)
- Abandoned
Links
- 230000037431 insertion Effects 0.000 title 1
- 238000003780 insertion Methods 0.000 title 1
- 239000012530 fluid Substances 0.000 claims abstract description 35
- 239000000126 substance Substances 0.000 claims description 17
- 238000000034 method Methods 0.000 claims description 7
- 230000015572 biosynthetic process Effects 0.000 claims description 5
- 238000005086 pumping Methods 0.000 claims description 4
- 238000005755 formation reaction Methods 0.000 claims 1
- IJGRMHOSHXDMSA-UHFFFAOYSA-N Atomic nitrogen Chemical compound N#N IJGRMHOSHXDMSA-UHFFFAOYSA-N 0.000 abstract description 118
- 229910052757 nitrogen Inorganic materials 0.000 abstract description 57
- 239000007788 liquid Substances 0.000 abstract description 23
- 239000007789 gas Substances 0.000 abstract description 21
- 229910001220 stainless steel Inorganic materials 0.000 abstract description 16
- 239000010935 stainless steel Substances 0.000 abstract description 16
- 229910001873 dinitrogen Inorganic materials 0.000 abstract description 4
- 238000002347 injection Methods 0.000 abstract description 2
- 239000007924 injection Substances 0.000 abstract description 2
- UFHFLCQGNIYNRP-UHFFFAOYSA-N Hydrogen Chemical compound [H][H] UFHFLCQGNIYNRP-UHFFFAOYSA-N 0.000 abstract 1
- 239000001257 hydrogen Substances 0.000 abstract 1
- 229910052739 hydrogen Inorganic materials 0.000 abstract 1
- 238000004519 manufacturing process Methods 0.000 description 24
- XQCFHQBGMWUEMY-ZPUQHVIOSA-N Nitrovin Chemical compound C=1C=C([N+]([O-])=O)OC=1\C=C\C(=NNC(=N)N)\C=C\C1=CC=C([N+]([O-])=O)O1 XQCFHQBGMWUEMY-ZPUQHVIOSA-N 0.000 description 18
- XLYOFNOQVPJJNP-UHFFFAOYSA-N water Substances O XLYOFNOQVPJJNP-UHFFFAOYSA-N 0.000 description 14
- 239000004033 plastic Substances 0.000 description 7
- 229920003023 plastic Polymers 0.000 description 7
- 239000004576 sand Substances 0.000 description 7
- 229920001875 Ebonite Polymers 0.000 description 6
- 229910000831 Steel Inorganic materials 0.000 description 5
- 239000012528 membrane Substances 0.000 description 5
- 239000010959 steel Substances 0.000 description 5
- 241000191291 Abies alba Species 0.000 description 4
- 238000010586 diagram Methods 0.000 description 4
- 239000000835 fiber Substances 0.000 description 4
- 238000010438 heat treatment Methods 0.000 description 4
- 230000007246 mechanism Effects 0.000 description 4
- 239000012188 paraffin wax Substances 0.000 description 3
- QVGXLLKOCUKJST-UHFFFAOYSA-N atomic oxygen Chemical compound [O] QVGXLLKOCUKJST-UHFFFAOYSA-N 0.000 description 2
- 230000008878 coupling Effects 0.000 description 2
- 238000010168 coupling process Methods 0.000 description 2
- 238000005859 coupling reaction Methods 0.000 description 2
- 239000012774 insulation material Substances 0.000 description 2
- 239000000463 material Substances 0.000 description 2
- 239000000203 mixture Substances 0.000 description 2
- 238000000465 moulding Methods 0.000 description 2
- 239000001301 oxygen Substances 0.000 description 2
- 229910052760 oxygen Inorganic materials 0.000 description 2
- -1 polyethylene Polymers 0.000 description 2
- JOYRKODLDBILNP-UHFFFAOYSA-N Ethyl urethane Chemical compound CCOC(N)=O JOYRKODLDBILNP-UHFFFAOYSA-N 0.000 description 1
- 244000261422 Lysimachia clethroides Species 0.000 description 1
- 241001465754 Metazoa Species 0.000 description 1
- 239000004698 Polyethylene Substances 0.000 description 1
- 239000004743 Polypropylene Substances 0.000 description 1
- 230000004913 activation Effects 0.000 description 1
- 230000000712 assembly Effects 0.000 description 1
- 238000000429 assembly Methods 0.000 description 1
- 230000000903 blocking effect Effects 0.000 description 1
- 239000004020 conductor Substances 0.000 description 1
- 238000005516 engineering process Methods 0.000 description 1
- 238000002309 gasification Methods 0.000 description 1
- 210000003141 lower extremity Anatomy 0.000 description 1
- 238000005259 measurement Methods 0.000 description 1
- 239000002184 metal Substances 0.000 description 1
- QJGQUHMNIGDVPM-UHFFFAOYSA-N nitrogen group Chemical group [N] QJGQUHMNIGDVPM-UHFFFAOYSA-N 0.000 description 1
- 239000003921 oil Substances 0.000 description 1
- 229920000573 polyethylene Polymers 0.000 description 1
- 229920001155 polypropylene Polymers 0.000 description 1
Images
Classifications
-
- E—FIXED CONSTRUCTIONS
- E21—EARTH OR ROCK DRILLING; MINING
- E21B—EARTH OR ROCK DRILLING; OBTAINING OIL, GAS, WATER, SOLUBLE OR MELTABLE MATERIALS OR A SLURRY OF MINERALS FROM WELLS
- E21B43/00—Methods or apparatus for obtaining oil, gas, water, soluble or meltable materials or a slurry of minerals from wells
- E21B43/16—Enhanced recovery methods for obtaining hydrocarbons
- E21B43/166—Injecting a gaseous medium; Injecting a gaseous medium and a liquid medium
- E21B43/168—Injecting a gaseous medium
-
- E—FIXED CONSTRUCTIONS
- E21—EARTH OR ROCK DRILLING; MINING
- E21B—EARTH OR ROCK DRILLING; OBTAINING OIL, GAS, WATER, SOLUBLE OR MELTABLE MATERIALS OR A SLURRY OF MINERALS FROM WELLS
- E21B17/00—Drilling rods or pipes; Flexible drill strings; Kellies; Drill collars; Sucker rods; Cables; Casings; Tubings
- E21B17/20—Flexible or articulated drilling pipes, e.g. flexible or articulated rods, pipes or cables
- E21B17/203—Flexible or articulated drilling pipes, e.g. flexible or articulated rods, pipes or cables with plural fluid passages
-
- E—FIXED CONSTRUCTIONS
- E21—EARTH OR ROCK DRILLING; MINING
- E21B—EARTH OR ROCK DRILLING; OBTAINING OIL, GAS, WATER, SOLUBLE OR MELTABLE MATERIALS OR A SLURRY OF MINERALS FROM WELLS
- E21B17/00—Drilling rods or pipes; Flexible drill strings; Kellies; Drill collars; Sucker rods; Cables; Casings; Tubings
- E21B17/20—Flexible or articulated drilling pipes, e.g. flexible or articulated rods, pipes or cables
- E21B17/206—Flexible or articulated drilling pipes, e.g. flexible or articulated rods, pipes or cables with conductors, e.g. electrical, optical
-
- E—FIXED CONSTRUCTIONS
- E21—EARTH OR ROCK DRILLING; MINING
- E21B—EARTH OR ROCK DRILLING; OBTAINING OIL, GAS, WATER, SOLUBLE OR MELTABLE MATERIALS OR A SLURRY OF MINERALS FROM WELLS
- E21B19/00—Handling rods, casings, tubes or the like outside the borehole, e.g. in the derrick; Apparatus for feeding the rods or cables
- E21B19/22—Handling reeled pipe or rod units, e.g. flexible drilling pipes
-
- E—FIXED CONSTRUCTIONS
- E21—EARTH OR ROCK DRILLING; MINING
- E21B—EARTH OR ROCK DRILLING; OBTAINING OIL, GAS, WATER, SOLUBLE OR MELTABLE MATERIALS OR A SLURRY OF MINERALS FROM WELLS
- E21B43/00—Methods or apparatus for obtaining oil, gas, water, soluble or meltable materials or a slurry of minerals from wells
- E21B43/16—Enhanced recovery methods for obtaining hydrocarbons
- E21B43/166—Injecting a gaseous medium; Injecting a gaseous medium and a liquid medium
Definitions
- This invention relates, generally, to the treatment of oil and gas wells using coiled tubing having two or more strings of smaller tubing embedded therein to provide two or more flow paths, and specifically, to providing within a single tube at least two flow paths there through to allow gas and/or liquid to be pumped into or out of the oil and gas wells being treated.
- tractor trailer unit can be provided with all of the equipment and accessories for running a nitrogen service in combination with a coiled tubing unit to treat such wells.
- the prior art typically brings two tractor trailer assemblies to the well to be treated, one having a coiled tubing unit, and one having the nitrogen unit. Because of the duplicity of the tractor trailer units, this has caused a doubling of the transportation costs, a doubling of the personnel required to have the units arrive at the well, and a doubling of the number of personnel required to run this service.
- FIG. 1 is an elevated, schematic view of a tractor unit which can be used in accordance with the present invention
- FIG. 2 is an elevated, pictorial view of a trailer unit which can be used in accordance with the present invention with the tractor illustrated in FIG. 1;
- FIG. 3 illustrates, in block diagram, the various systems which are used in accordance with the present invention to treat a well with nitrogen;
- FIG. 4 is an elevated, diagrammatic view of an oil or gas well which is being treated with nitrogen from the coiled tubing unit in accordance with the present invention
- FIG. 5 is a pictorial view of three nitrogen generators which can be used as a substitute for the liquid nitrogen tank;
- FIG. 6 is a pictorial view of a unit using membrane technology to pull gaseous nitrogen out of the atmosphere
- FIG. 7 is an elevated pictorial view of a plurality of tanks used for storing compressed nitrogen gas
- FIG. 8( a ) is an elevated, pictorial view of a length of the coiled tubing according to the invention.
- FIG. 8( b ) is a top plan view of one end of the coiled tubing according to FIG. 8( a );
- FIG. 9 is a top plan vice view of an alternative embodiment of one end of the coiled tubing according to the invention.
- FIG. 10 is an end view of an early step in fabricating the coiled tubing according to FIG. 8( b );
- FIG. 10( a ) is an end view of one of the electrical cords embedded in the length of coiled tubing according to the invention.
- FIG. 11 is an end view of an early step in fabricating a length of a coiled tubing according to an alternative embodiment of the invention.
- FIG. 12 is a schematic view on a heated mold which can be used to fabricate any of the coiled tubing embodiments described herein;
- FIG. 13 is an end view of the coiled tubing illustrated in FIGS. 8 ( a ) and 8 ( b ) after being heated and formed in the heated mold illustrated in FIG. 12;
- FIG. 14 is a schematic view, partially in block diagram, illustrating various uses of the coiled tubing embodiments of the present invention.
- FIG. 15 is an elevated, schematic view of a downhole, submersible pump used with the coiled tubing according to the present invention to pump fluid out of an earth borehole;
- FIG. 16 schematically illustrates a length of coiled tubing according to the present invention which can be injected from the earth's surface into the string of production tubing and run down to a submersible pump, wherein the coiled tubing has male fingers at one end which stab into female receptacles associated with the submersible pump to allow electrical lines and fluid lines to be made up and which thus allow the submersible pump to pump fluids from a location beneath the earth's surface up to and above the earth's surface;
- FIG. 17 schematically illustrates yet another embodiment of the utility of the present invention in which a submersible pump is run down through a cased earth borehole at the lower end of a length of coiled tubing in accordance with the present invention which allows the submersible pump to pump fluid from a location beneath the earth's surface to and above the earth's surface;
- FIG. 18 schematically illustrates a system in which a submersible pump is run into a cased earth borehole down to a level of fluid within the cased borehole, in which a tubular string is attached to the submersible pump at its lower end, and which carries with it a length of coiled tubing according to the present invention from the earth's surface down to the fluid which is to be pumped;
- FIG. 19 illustrates a length of coiled tubing according to the present invention being used within the interior of a length of conventional coiled tubing
- FIG. 20 illustrates a section of pipeline through which a length of coiled tubing is pumped, while connected to a pipeline pig, to a location of paraffin buildup, and through which chemicals can be pumped to dissolve such paraffin or other buildup of materials.
- FIG. 1 a tractor 10 having either a gasoline engine or a diesel engine is illustrated and which is used to pull the trailer 20 illustrated in FIG. 2 and which also uses its engine to drive all of the components which are illustrated in FIG. 1. and FIG. 2, on the tractor 10 , and the trailer 20 , respectively.
- the chassis 11 of the tractor 10 may be, for example, a Freightliner.
- the tractor 10 also has a hydraulic tank 12 and a tank hold-down unit 13 which secures the hydraulic tank to the chassis.
- a hydraulic pump 14 has a coupling and a drive mechanism connected to its one end.
- the coupling 16 is connected into a transfer case and drive shaft mechanism 17 .
- a hydraulic pump 18 is one of many hydraulic pumps in the tractor assembly 10 and also includes various hydraulic pumps within the assembly 19 . It should be appreciated that all of the mechanisms illustrated with the tractor 20 in FIG. 2 are driven by hydraulic pumps located on the tractor chassis 10 .
- the assembly 15 is a hydraulic pump which includes a clutch pulley being driven by the engine located within the tractor 10 .
- the tractor bed 21 has an assembly 22 which is used to connect the tractor to the trailer as illustrated in FIG. 2.
- a cryogenic nitrogen tank 32 mounted on the trailer bed 30 which is connected to the tractor bed 21 by way of the mechanism 22 .
- liquid nitrogen has a greatly reduced volume compared to the volume of gaseous nitrogen.
- Nitrogen when frozen to ⁇ 320 EF, is a liquid and accordingly, it is much preferred to transport the liquid nitrogen to the well site to provide additional volume of nitrogen gas which is to be pumped into the well.
- a control cabin 34 mounted on the tractor bed 30 in which the electrical and hydraulic units 36 are controlled by a human operator.
- the nitrogen system 38 which is described in more detail hereinafter is also located on the tractor bed as is a heat exchanger 40 which is used to heat up the pumped liquid nitrogen to a temperature which causes the liquid to become gaseous, which can then be pumped into the well.
- the piping system 42 enables the gaseous nitrogen to be pumped into one end of the coiled tubing to allow the gaseous nitrogen to be pumped out of the other end of the coiled tubing.
- An injector unit 44 is situated on the tractor bed floor.
- a hydraulically driven crane 46 is also situated on the tractor bed floor for situating the coiled tubing injector 44 immediately above the well being treated.
- a hose reel 48 and a coiled tubing reel 50 are also situated on the tractor floor.
- a goose neck 52 is also situated on the tractor floor adjacent the coiled tubing injector system 44 for feeding the coiled tubing from the reel into the injector.
- a stripper 54 is located on the lower end of the coiled tubing injector system 44 for enabling the coiled tubing to be placed into the well being treated.
- a BOP unit 56 is also located on the tractor floor to be used in shutting in the well to be treated, if needed.
- FIG. 3 there is illustrated in block diagram some of the components which are illustrated in FIGS. 1 and 2.
- the liquid nitrogen tank 32 has its output connected into the input of a hydraulic pump 64 whose output is connected into the input of the heat exchanger 40 illustrated in FIG. 2.
- the tractor engine 70 which may be either gasoline powered or diesel powered has a hot water line 72 connected to its radiator and which provides hot water to the heat exchanger 40 .
- a return line 74 from the heat exchanger returns the water from the heat exchanger back into the radiator of the tractor engine 70 .
- the pump 64 is designed to pump the liquid nitrogen having a temperature near ⁇ 320 EF into the input of the heat exchanger 40 . Such pumps are commonly available in the industry for pumping liquid nitrogen.
- the heat exchanger 40 will cause the liquid nitrogen to rise above a gasification point which is near 0 EF so that the output from the heat exchanger is gaseous nitrogen.
- a gas line 76 can then return a portion of the gaseous nitrogen through the valve 78 back into the return line 80 which enables some of the gaseous nitrogen to be returned into the top of the nitrogen tank 32 , if and when desired.
- the output of the heat exchanger 40 is also coupled into one end of the coiled tubing illustrated in the box 82 through as many valves as are necessary for turning the nitrogen on or off to the coiled tubing 82 .
- One such control valve is illustrated as valve 84 .
- the valve 84 would preferably be a three-way valve which can either cut the gaseous nitrogen off so that it would not flow either into the coiled tubing or the valve 78 or would flow into only one or the other of the coiled tubing 82 and the valve 78 .
- a hydraulic pump 90 is connected into a hydraulic motor 92 which is used to drive the chains of the injector 44 which can either move the coiled tubing into the well being treated or pull the coiled tubing out of the well being treated, as desired, depending on the direction of the chain rotation.
- Another hydraulic pump 96 drives a motor 98 to drive the crane 46 illustrated in FIG. 2.
- Another hydraulic pump 100 drives a motor 102 which in turn drives any one or more miscellaneous items requiring a hydraulic activation as desired.
- the tractor engine 70 drives each of the hydraulic pumps 64 , 90 , 96 and 100 as shown by the line 106 .
- the hydraulic pump 64 , 90 , 96 and 100 are preferably driven by one or more belts which can be used with clutch pulleys as desired.
- a compressor unit 108 which is also driven by the tractor engine 70 is run off of the drive line 106 to assist in keeping the liquid nitrogen down to its desired temperature.
- tractor engine 70 is obviously and desirably located on the tractor, and the coiled tubing, the injector, and the crane, as well as the liquid nitrogen tank 32 are preferably located on the tractor, most of the other items identified in FIG. 3 can be found on either the tractor and/or the trailer as desired.
- the important feature of this invention is to recognize that all of the items shown in FIG. 3 are located on a combined tractor/trailer configuration which does not require the use of either another tractor or another trailer.
- FIG. 4 there is a simplified schematic illustrating the process contemplated by this invention for treating a producing oil or gas well which has, for whatever the reason, either quit producing or has started producing with a reduced volume of oil or gas.
- the tractor trailer illustrated in FIGS. 1 and 2 is delivered to the site of the well 110 which typically is cased with steel casing 112 and which has a string of production tubing 114 running down to the pay zone 116 in the surrounding formation and which has a pair of packers 118 and 120 which straddle the pay zone.
- the casing 112 has a plurality of perforations 122 which enable the oil or the gas to leave the pay zone and come into the interior of the well.
- the production tubing 114 has a screen or other holes in it 124 which allow the oil or gas to leave the pay zone 116 , come through the perforations 122 and enter the production tubing 114 which then allows the oil or gas to travel to the earth's surface.
- the packer 118 can remain in the cased borehole as illustrated, unbypassed, and the gaseous nitrogen when bubbled out of the end of the coiled tubing beneath the perforations, will drive sand and/or the water back to the earth's surface through the production tubing itself.
- the gaseous nitrogen be introduced from the earth's surface by passing the gaseous nitrogen through the coiled tubing from the coiled tubing reel located on the bed of the tractor.
- the coiled tubing injector 44 is moved by the crane unit 46 to be immediately above the Christmas tree 130 which is, of course, the well-known oilfield apparatus which is placed at the top of the producing well 110 .
- the coiled tubing 130 is run through a well-known stripper into the interior of the Christmas tree 130 and enters the interior of the production tubing string 114 without causing any leaks of any substance within the well to be vented into the atmosphere.
- the gaseous nitrogen is then caused to exit the lower end of the coiled tubing 130 , usually as the coiled tubing is being pushed into the production tubing, or can be turned on after the coiled tubing is in place in the well, if desired.
- the gaseous nitrogen then causes any water and/or sand which is plugging up the system to be routed through the annulus between the production tubing and the casing to cause the sand and/or the water to be removed from the system, which allows the well to again become productive. While the injector system 44 is shown in block diagram, such injector systems are well-known in the art as described and illustrated in U.S. Pat. No. 5,566,764, the disclosure of which is incorporated herein by reference.
- Such systems normally involve the use of one or two rotating chains which can be caused to rotate in one direction to grab a hold of the coiled tubing and inject it into the tubing within the well, or by reversing the direction of the motor, the tubing can be pulled out of the well.
- the hydraulic pump 90 drives the motor 92 which causes the one or more chains to rotate within the injector 44 , for example, as illustrated with respect to the aforementioned U.S. Pat. No. 5,566,764.
- the present invention contemplates using the liquid nitrogen tank 32 illustrated on the trailer 20 to generate gaseous nitrogen
- the invention also contemplates that instead of using the tank 32 illustrated in FIG. 2 as a source of liquid nitrogen, there are additional sources which can be utilized.
- nitrogen generators can be used, shown in FIG. 5, which extract nitrogen from the atmosphere which can eliminate the costs of transporting and filling nitrogen tanks.
- Some of such nitrogen generators utilize a membrane, shown in FIG. 6, which allows nitrogen-rich air from the earth's atmosphere to be continuously fed into bundle housing. The air reaches the center of the bundle of membrane fibers which at that point, consists mostly of gaseous nitrogen. The nitrogen collects in the mandrel at the center of the bundle.
- the oxygen and other fast gases pass through the wall of the membrane fibers as they go through the fibers to be collected at the end. Oxygen and the other fast gases are continuously collected and are moved from the bundle, thus leaving the nitrogen available to be used for injection into the well being treated.
- the gaseous nitrogen source can be one or more tanks of compressed nitrogen gas such as the tanks 200 , 202 , 204 and 206 illustrated in FIG. 7.
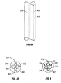
- FIGS. 8 ( a ) and 8 ( b ) there are illustrated a pair of stainless steel tubes 302 and 304 which run along the length of the coiled tubing 306 .
- the coiled tubing 306 may be fabricated from hard plastic, for example, urethane, or may be fabricated from hard rubber, or from mixtures of hard plastic and hard rubber.
- the stainless steel tubes 302 and 304 are embedded within the coiled tubing 306 .
- Also embedded within the coiled tubing 306 are first and second cords 308 and 310 .
- the coiled tubing be essentially circular in cross-action to allow the coiled tubing to be handled by the coiled tubing injector system 44 illustrated in FIG. 4 herein. Because the coiled tubing is circular in cross-section, it allows the coiled tubing to be packed off when passing through the injector system 44 which helps to prevent fluids from leaking out from the wellbore while the coiled tubing is being injected into the wellbore. With this particular embodiment, the cords 308 and 310 assist in maintaining the coiled tubing 306 with a cross-sectional pattern which is essentially circular.
- FIG. 9 an alternative embodiment of the present invention is illustrated in which there are three stainless steel tubes 312 , 314 and 316 which are embodied in the length of coiled tubing 318 which is embodied from hard plastic, hard rubber or a combination of hard plastic and hard rubber which can be formed by heating the length of coiled tubing 318 as described hereinafter.
- the coiled tubing 318 also has embedded therein a trio of cords 320 , 322 and 324 which also assist in maintaining the coiled tubing 318 with a circular cross-section so it can be run through the coiled tubing injector apparatus 44 of FIG. 4.
- the length of coiled tubing 306 which is illustrated in FIGS. 8 ( a ) and 8 ( b ) can be manufactured by molding, for example, by molding the segments 306 ( a ) and 306 ( b ) which are preferably joined at their intersection 307 which allows the segment 306 ( b ) to rotate over and be on top of the segment 306 ( a ) to complete the circular pattern.
- the stainless steel tubes 302 and 304 Prior to rotating the segment 306 ( b ) over on top of segment 306 ( a ), the stainless steel tubes 302 and 304 are placed within the half-moon-shaped troughs 309 and 311 which are on the flat face of the segment 306 ( a ).
- the segment 306 ( b ) also has a pair of troughs 313 and 315 and are configured such that when the segment 306 ( b ) is rotated over to be on top of the segment 306 ( a ), the troughs 313 and 315 will cause the tubes 302 and 304 to be completely encircled.
- the cords 310 and 308 are also embodied, respectively, in troughs 317 and 319 and may be cords such as were discussed with respect to FIGS. 8 ( a ) and 8 ( b ), or may be electrical wires such as will be discussed hereinafter with respect to FIG. 14.
- FIG. 10( a ) illustrates diagrammatically one of the cords 310 when used as an electrical cord and has a pair of electrical lines 321 and 323 embedded within one or more layers of insulation materials 325 and 327 which may be any insulation material of choice, such as rubber, plastic or the like.
- the cord 308 may be, if desired, fabricated in the exact same manner as the cord 310 illustrated in FIG. 10( a ), or may merely be a cord which is used for helping maintain a circular cross-section of the coiled tubing 306 .
- the cords 308 and 310 can be lodged into those troughs and will be maintained there during this other processing of the coiled tubing described hereinafter.
- FIG. 11 illustrates an end view of a preliminary step of forming an alternative embodiment of the coiled tubing in accordance with the present invention.
- the coiled tubing 400 has four troughs 402 , 404 , 406 and 408 , each of which has a mouth which is smaller than either the stainless steel tubes or the cords which will be placed therein, and thus allow the stainless steel tubes or the cords to be pushed into the troughs and to be maintained there during the heat processing steps.
- the stainless steel tubes and the cords can be placed in the troughs in any order desired, such as placing stainless steel tubes within the troughs 402 and 406 , and the cords within the troughs 408 and 404 .
- stainless steel tubes can be placed in the troughs 402 , 404 , 406 and 408 or alternatively, four electrical cords could be placed within the troughs 402 , 404 , 406 and 408 .
- a stainless steel tube and an electrical cord could be placed in a single one or more of the troughs.
- FIG. 12 there is illustrated a heated mold 500 having two segments 500 ( a ) and 500 ( b ) which are hinged together by hinge 502 which allows the segment 500 ( b ) to be rotated over on top of the segment 500 ( a ).
- the segment 500 ( a ) is shown as having a heating coil 504 which is powered by an electrical power supply 506 having any voltage desired, and having electrical lines 508 and 510 which power the heating coil 504 to a desired temperature.
- the segment 500 ( b ) may also have its own heating coil.
- a length of one of the embodiments of the coiled tubing in accordance with the invention is placed within the trough along a length of the heated mold 500 , for example, 10-20 foot long, and then the segment 500 ( b ) is swung over on top of the segment 500 ( a ) and the heater coil 504 is then energized to heat up the coiled tubing, such as the coiled tubing 400 of FIG. 11, or the coiled tubing 306 of FIG. 8( b ), or the coiled tubing 318 of FIG. 9.
- the length of coiled tubing will take on a semi-liquid state and will cause there to be manufactured a completely round length of coiled tubing.
- the mold segments 500 ( a ) and 500 ( b ) can be used to exert pressure against the coiled tubing to make the body of the coiled tubing take on a perfectly round shape.
- Such a finished product is illustrated in FIG. 13 as having a circular shape at its end, and which essentially has no voids or troughs such as are illustrated in FIGS. 8 ( b ) and 11 .
- a length of coiled tubing 600 is illustrated as having a pair of stainless steel tubes 602 and 604 , and which is run into the earth formation through the coiled tubing injector system 44 illustrated in FIG. 4 and which also has a pair of electrical cords 606 connected to a conventional pressure sensor 610 and an electrical cord 608 connected to a conventional temperature sensor 612 , wherein the coiled tubing has been run from a first location slightly above the earth's surface, to a second location beneath the earth's surface 620 by the coiled tubing injector system 44 , wherein the pay zone 618 may be several thousand feet beneath the earth's surface 620 .
- a source of chemicals 630 identified as being “chemical number one”, and a second chemical source 640 , identified as being “chemical number two”, are connected into the stainless steel tubes 602 and 604 , respectively.
- Such an arrangement allows the treating chemical number one and the treating chemical number two to be mixed together downhole, or alternatively, allows chemical number one and chemical number two to be used sequentially, one after the other in treating the pay zone 618 .
- the present invention contemplates that the coiled tubing in accordance with the invention can have any combination of electrical lines and any combination of chemical transport lines such as the stainless steel tubes 602 and 604 to be used in practicing the invention.
- the invention contemplates the use of zero, or one or more electrical lines and the use of zero or one or more liquid or gas transport lines such as the stainless steel tubes 602 and 604 , and contemplates the use of even three or more gas or fluid transport lines and three or more electrical lines or electrical line pairs in practicing the invention.
- FIG. 15 there is illustrated a length of coiled tubing 700 that runs from the first location above the earth's surface 702 to a second location adjacent a pay zone 704 , several thousand feet beneath the surface in the typical case.
- the length of coiled tubing 700 is run down through the injector system 44 in FIG. 4 from slightly above the surface and is run within a string of production tubing 706 through which, the fluids within the pay zone 704 would normally be produced through the perforations 708 in the steel casing 710 , from the pay zone 704 into the equipment at the earth's surface which is conventionally used in collecting the produced oil.
- the coiled tubing is run through a Christmas tree, and because of its being circular in cross-section, can easily be packed off within the christmas tree.
- a pair of packers 712 and 714 straddle the pay zone as is conventional in this art.
- a submersible pump 720 Attached to the lower end of the coiled tubing 700 is a submersible pump 720 which has an inlet 722 so that the pump can receive fluids between the packer 712 and 714 through the pump inlet 722 after the fluid within the area between the packer 712 and 714 enters the screen ports 724 .
- Embedded within the coiled tubing 700 is one or more electrical lines 730 or providing power from the earth's surface to the pump 720 and also embedded within the coiled tubing 700 are one or more tubes which run all the way to the earth's surface from the pump to allow the fluid between the packer 712 and 714 to be pumped to the earth's surface.
- FIG. 16 there is illustrated a length of coiled tubing 800 according to the present invention which runs from a first location at or above the earth's surface to a second location beneath the earth's surface.
- FIG. 16 further illustrates that the earth borehole 802 has a string of steel casing 804 which is typically cemented into the formation surrounding the earth borehole 802 and which has a body of fluid 806 which may take several forms, for example, water, oil from the formation, or the like.
- the pay zone 808 which may contain oil, gas, water or combinations thereof and which may be fed into the interior of the casing 804 by the plurality of perforations 810 . Without regard to how the fluid 806 gets into the borehole, the embodiment of FIG.
- FIG. 16 is intended to allow the fluid to be pumped from its location as illustrated in FIG. 16 back to the earth's surface through the use of a submersible pump 812 .
- the pump 812 is conventional and is used in various forms throughout the oil and gas producing industry.
- the pump 812 is threadedly connected to the string of production tubing 814 . While the embodiment of FIG. 16 includes a pair of straddle packers 818 and 820 such packers may or may not be used with the embodiment illustrated in FIG. 16.
- the length of coiled tubing 800 in accordance with the present invention is run through the production tubing from the injector 44 illustrated in FIG. 4 from a location above the earth's surface down to the location beneath the earth's surface as illustrated in FIG. 16.
- the lower end of the coiled tubing 800 has one or more fingers 822 comprising, preferably, one or more tubes which can allow fluid to be pumped therethrough and one or more electrical lines which empower the pump 812 from the earth's surface.
- a device 830 rests on top of the pump 812 and has a series of receptacles 834 which are sized to accept the fingers 822 .
- the device 830 also has a guide 836 having inwardly slanted walls which guides the fingers 822 into the receptacles 834 to make hermetically sealed connections for the electrical fingers and the fluid guide carrying fingers 822 .
- the electrical lines at the earth's surface feeding the fingers 822 through the coiled tubing 800 are activated to cause the pump to take in fluid through the inlet of 816 to the pump and causes the fluid 806 to be pumped through one or more of the fingers 822 to the earth's surface.
- FIG. 17 there is illustrated an alternative embodiment for using the coiled tubing according to the present invention, which a pump 900 is run into the earth borehole 902 by a length of coiled tubing 904 from the earth's surface down to the location of the fluid 906 .
- the casing 910 may or may not have the packer 908 as illustrated in FIG. 17.
- the coiled tubing 904 according to the present invention will have one or more electrical lines and one or more tubes embedded therein such as are discussed with regard to the other embodiments according to the present invention so that when the electrical lines are activated at the earth's surface, the pump 900 is activated and will pull in fluid 906 through the pump inlet 912 and allow the fluid to be pumped out of the source of fluid 906 to the earth's surface.
- FIG. 18 yet another alternative embodiment for using the coiled tubing in accordance with the present invention.
- the submersible pump 950 having a pump inlet 952 is illustrated as being run into the borehole 954 by a string of oilfield tubulars 956 , for example, production tubing, drill pipe, or the like.
- FIG. 18 also illustrates that a length of coiled tubing 960 which runs from a location at or above the earth's surface down to the pump 950 and the whole system illustrated in FIG.
- the coiled tubing 960 and the tubular string 956 are transported from the earth's surface down into the fluid 970 to allow the electrical lines which run through the coiled tubing 960 to be activated at the earth's surface and turn on the pump 950 , which will thus allow the fluid 970 to be pumped to the earth's surface one the pump 950 has been submerged in the fluid 970 .
- the packer 972 may or may not be utilized with the embodiment FIG. 18.
- the coiled tubing contemplated by this present invention in which the round body made from hard plastic, hard rubber or combinations thereof, and having one or more electrical lines and one or more tubes for transporting fluid, may be inserted within the interior of a conventional length of coiled tubing which is itself a hollow length of metal tubing and which may be already hung off in the well in through which the coiled tubing according to the present invention can be fed by being slightly undersized with respect to the interior diameter of the conventional coiled tubing.
- the coiled tubing in accordance with the present invention can be inserted within the interior of the conventional coiled tubing and the entire assembly injected into a well from above the earth's surface to whatever depth is desired within the well being treated or measured.
- FIG. 19 These alternative embodiments with respect to running the coiled tubing through a length of conventional coiled tubing are illustrated in FIG. 19.
- FIG. 19 there is illustrated a length of borehole 650 which is encased within the steel casing 652 which runs from the earth's surface (not illustrated) down to the area of interest within the earth borehole 650 .
- a string of production tubing 654 also runs from the earth's surface down to the area of interest within the borehole 650 .
- a length of conventional coiled tubing 656 is also illustrated in FIG. 19 and may or may not have already been hung off in the borehole 650 .
- this embodiment of the present invention contemplates either that the coiled tubing 656 has not already been hung off and maybe injected into the well 650 , or the conventional coiled tubing 656 may have already been hung off and the length of coiled tubing 658 can be injected at the earth's surface into the interior of the conventional coiled tubing 656 and run down to the area of interest within the interior of the coiled tubing 656 .
- the coiled tubing 658 in accordance with the present invention includes a pair of chemical tubes 660 and 662 as discussed elsewhere within this application for transporting one or more chemicals down to the point of the well to be treated.
- the coiled tubing 658 also has a pair of cords 664 and 666 which may be embedded within the coiled tubing 658 merely for purposes of maintaining the circular cross section of the coiled tubing or may indeed have electrical lines for running submersible pumps or for being attached to one or more sensors at the lower extremities of the well as discussed elsewhere herein.
- FIG. 20 there is illustrated yet another alternative embodiment of the present invention, which is intended primarily for use with pipelines such as are used for transporting oil or other fluids.
- a pipeline 670 is illustrated in FIG. 20 as being of the type which is maintained slightly above ground level such as is commonly done with the Alyeska Pipeline in Alaska.
- the pipeline 670 is shown as being held above the level of the earth 672 by a pair of yokes 674 and 676 to allow animals in the wild to pass underneath the pipeline 670 .
- a length of coiled tubing such as the coiled tubing 658 in FIG. 19 but which is identified as coiled tubing 678 , is illustrated in FIG.
- the pig 680 is preferably a so-called “poly” pig which typically would be made from either polyethylene or polypropylene or mixtures thereof.
- Such a poly pig such as pig 680 can easily be dissolved by those skilled in this art by pumping one or more chemicals out of the pump 682 , preferably within the annulus 686 between the pipeline wall and the coiled tubing 678 , but can also be pumped within the interior of the coiled tubing 678 through tubes which are embedded within the coiled tubing 678 such as the tubes 660 and 662 illustrated in FIG. 19. After the pig 680 has been dissolved by the additional chemicals, chemicals can be pumped through the tubes within the interior of the coiled tubing 678 to dissolve the obstruction 684 .
- the coiled tubing 678 can also have one or more electrical conductors which are embedded within the coiled tubing 678 and can provide, with appropriate sensors connected to the coiled tubing 678 , parameters such as the temperature, pressure, etc. of the materials encountered within the pipeline 670 .
Landscapes
- Engineering & Computer Science (AREA)
- Life Sciences & Earth Sciences (AREA)
- Geology (AREA)
- Mining & Mineral Resources (AREA)
- Physics & Mathematics (AREA)
- Environmental & Geological Engineering (AREA)
- Fluid Mechanics (AREA)
- General Life Sciences & Earth Sciences (AREA)
- Geochemistry & Mineralogy (AREA)
- Mechanical Engineering (AREA)
- Rigid Pipes And Flexible Pipes (AREA)
- Loading And Unloading Of Fuel Tanks Or Ships (AREA)
Abstract
A single tractor unit is provided for pulling a tractor, in which the tractor itself drives a plurality of hydraulic motors which control a crane unit, a coiled tubing injection unit, and the pumps and motors associated with a liquid nitrogen system which is used for injecting gaseous hydrogen into a workover well with coiled tubing. In an alternative mode, the liquid nitrogen system is replaced with one or more nitrogen generators which gather nitrogen from the earth's atmosphere to be pumped through the coiled tubing into the well being treated. Alternatively, the gaseous nitrogen source is one or more tanks of compressed nitrogen gas.
Coiled tubing is described which embeds one or more stainless steel tubes for transporting gas, liquid or other fluids therethrough and also includes the use of one or more cords which are used to assist in maintaining the coiled tubing as having a circular cross-section, with such cords either being electrical or non-electrical in nature.
Description
- This application is the second divisional application of U.S. patent application Ser. No. 10/170,281, filed Jun. 12, 2002, which is the Continuation-in-Part of U.S. patent application Ser. No. 10/127,092, filed Apr. 22, 2002, for “Combined Nitrogen Treatment System and Coiled Tubing System In One Tractor/Trailer Apparatus.”
- This invention relates, generally, to the treatment of oil and gas wells using coiled tubing having two or more strings of smaller tubing embedded therein to provide two or more flow paths, and specifically, to providing within a single tube at least two flow paths there through to allow gas and/or liquid to be pumped into or out of the oil and gas wells being treated.
- It is known in the art to provide work over operations using gaseous nitrogen to remove sand and/or water or other impediments to production. The prior art has not recognized that a single tractor trailer unit can be provided with all of the equipment and accessories for running a nitrogen service in combination with a coiled tubing unit to treat such wells. The prior art typically brings two tractor trailer assemblies to the well to be treated, one having a coiled tubing unit, and one having the nitrogen unit. Because of the duplicity of the tractor trailer units, this has caused a doubling of the transportation costs, a doubling of the personnel required to have the units arrive at the well, and a doubling of the number of personnel required to run this service.
- It is one of the primary objects of this present invention to provide a combined tractor trailer unit which utilizes a single tractor and a single trailer to provide a service for treating wells with a combined tractor trailer unit through which gaseous nitrogen can be pumped.
- It is also a primary object of this present invention to provide coiled tubing having multiple flow paths through a single tube.
- FIG. 1 is an elevated, schematic view of a tractor unit which can be used in accordance with the present invention;
- FIG. 2 is an elevated, pictorial view of a trailer unit which can be used in accordance with the present invention with the tractor illustrated in FIG. 1;
- FIG. 3 illustrates, in block diagram, the various systems which are used in accordance with the present invention to treat a well with nitrogen;
- FIG. 4 is an elevated, diagrammatic view of an oil or gas well which is being treated with nitrogen from the coiled tubing unit in accordance with the present invention;
- FIG. 5 is a pictorial view of three nitrogen generators which can be used as a substitute for the liquid nitrogen tank;
- FIG. 6 is a pictorial view of a unit using membrane technology to pull gaseous nitrogen out of the atmosphere;
- FIG. 7 is an elevated pictorial view of a plurality of tanks used for storing compressed nitrogen gas;
- FIG. 8( a) is an elevated, pictorial view of a length of the coiled tubing according to the invention;
- FIG. 8( b) is a top plan view of one end of the coiled tubing according to FIG. 8(a);
- FIG. 9 is a top plan vice view of an alternative embodiment of one end of the coiled tubing according to the invention;
- FIG. 10 is an end view of an early step in fabricating the coiled tubing according to FIG. 8( b);
- FIG. 10( a) is an end view of one of the electrical cords embedded in the length of coiled tubing according to the invention;
- FIG. 11 is an end view of an early step in fabricating a length of a coiled tubing according to an alternative embodiment of the invention;
- FIG. 12 is a schematic view on a heated mold which can be used to fabricate any of the coiled tubing embodiments described herein;
- FIG. 13 is an end view of the coiled tubing illustrated in FIGS. 8(a) and 8(b) after being heated and formed in the heated mold illustrated in FIG. 12;
- FIG. 14 is a schematic view, partially in block diagram, illustrating various uses of the coiled tubing embodiments of the present invention; and
- FIG. 15 is an elevated, schematic view of a downhole, submersible pump used with the coiled tubing according to the present invention to pump fluid out of an earth borehole; FIG. 16 schematically illustrates a length of coiled tubing according to the present invention which can be injected from the earth's surface into the string of production tubing and run down to a submersible pump, wherein the coiled tubing has male fingers at one end which stab into female receptacles associated with the submersible pump to allow electrical lines and fluid lines to be made up and which thus allow the submersible pump to pump fluids from a location beneath the earth's surface up to and above the earth's surface;
- FIG. 17 schematically illustrates yet another embodiment of the utility of the present invention in which a submersible pump is run down through a cased earth borehole at the lower end of a length of coiled tubing in accordance with the present invention which allows the submersible pump to pump fluid from a location beneath the earth's surface to and above the earth's surface;
- FIG. 18 schematically illustrates a system in which a submersible pump is run into a cased earth borehole down to a level of fluid within the cased borehole, in which a tubular string is attached to the submersible pump at its lower end, and which carries with it a length of coiled tubing according to the present invention from the earth's surface down to the fluid which is to be pumped;
- FIG. 19 illustrates a length of coiled tubing according to the present invention being used within the interior of a length of conventional coiled tubing; and
- FIG. 20 illustrates a section of pipeline through which a length of coiled tubing is pumped, while connected to a pipeline pig, to a location of paraffin buildup, and through which chemicals can be pumped to dissolve such paraffin or other buildup of materials.
- Referring now to FIG. 1, a
tractor 10 having either a gasoline engine or a diesel engine is illustrated and which is used to pull thetrailer 20 illustrated in FIG. 2 and which also uses its engine to drive all of the components which are illustrated in FIG. 1. and FIG. 2, on thetractor 10, and thetrailer 20, respectively. Thechassis 11 of thetractor 10 may be, for example, a Freightliner. Thetractor 10 also has ahydraulic tank 12 and a tank hold-down unit 13 which secures the hydraulic tank to the chassis. Ahydraulic pump 14 has a coupling and a drive mechanism connected to its one end. Thecoupling 16 is connected into a transfer case anddrive shaft mechanism 17. Ahydraulic pump 18 is one of many hydraulic pumps in thetractor assembly 10 and also includes various hydraulic pumps within theassembly 19. It should be appreciated that all of the mechanisms illustrated with thetractor 20 in FIG. 2 are driven by hydraulic pumps located on thetractor chassis 10. Theassembly 15 is a hydraulic pump which includes a clutch pulley being driven by the engine located within thetractor 10. Thetractor bed 21 has anassembly 22 which is used to connect the tractor to the trailer as illustrated in FIG. 2. - Referring now to FIG. 2 in more detail, mounted on the
trailer bed 30 which is connected to thetractor bed 21 by way of themechanism 22, is acryogenic nitrogen tank 32. As is well known in this art, liquid nitrogen has a greatly reduced volume compared to the volume of gaseous nitrogen. Nitrogen, when frozen to −320 EF, is a liquid and accordingly, it is much preferred to transport the liquid nitrogen to the well site to provide additional volume of nitrogen gas which is to be pumped into the well. Also mounted on thetractor bed 30 is acontrol cabin 34 in which the electrical andhydraulic units 36 are controlled by a human operator. Thenitrogen system 38 which is described in more detail hereinafter is also located on the tractor bed as is aheat exchanger 40 which is used to heat up the pumped liquid nitrogen to a temperature which causes the liquid to become gaseous, which can then be pumped into the well. Thepiping system 42 enables the gaseous nitrogen to be pumped into one end of the coiled tubing to allow the gaseous nitrogen to be pumped out of the other end of the coiled tubing. - An
injector unit 44, also described in more detail hereinafter, is situated on the tractor bed floor. A hydraulically drivencrane 46 is also situated on the tractor bed floor for situating the coiledtubing injector 44 immediately above the well being treated. Ahose reel 48 and a coiledtubing reel 50 are also situated on the tractor floor. Agoose neck 52 is also situated on the tractor floor adjacent the coiledtubing injector system 44 for feeding the coiled tubing from the reel into the injector. Astripper 54 is located on the lower end of the coiledtubing injector system 44 for enabling the coiled tubing to be placed into the well being treated. ABOP unit 56 is also located on the tractor floor to be used in shutting in the well to be treated, if needed. - Referring now to FIG. 3, there is illustrated in block diagram some of the components which are illustrated in FIGS. 1 and 2. The
liquid nitrogen tank 32 has its output connected into the input of ahydraulic pump 64 whose output is connected into the input of theheat exchanger 40 illustrated in FIG. 2. Thetractor engine 70, which may be either gasoline powered or diesel powered has ahot water line 72 connected to its radiator and which provides hot water to theheat exchanger 40. Areturn line 74 from the heat exchanger returns the water from the heat exchanger back into the radiator of thetractor engine 70. Thepump 64 is designed to pump the liquid nitrogen having a temperature near −320 EF into the input of theheat exchanger 40. Such pumps are commonly available in the industry for pumping liquid nitrogen. As the liquid nitrogen is pumped through theheat exchanger 40, the heat exchanger will cause the liquid nitrogen to rise above a gasification point which is near 0 EF so that the output from the heat exchanger is gaseous nitrogen. Agas line 76 can then return a portion of the gaseous nitrogen through the valve 78 back into thereturn line 80 which enables some of the gaseous nitrogen to be returned into the top of thenitrogen tank 32, if and when desired. The output of theheat exchanger 40 is also coupled into one end of the coiled tubing illustrated in thebox 82 through as many valves as are necessary for turning the nitrogen on or off to the coiledtubing 82. One such control valve is illustrated asvalve 84. Thevalve 84 would preferably be a three-way valve which can either cut the gaseous nitrogen off so that it would not flow either into the coiled tubing or the valve 78 or would flow into only one or the other of the coiledtubing 82 and the valve 78. - A
hydraulic pump 90 is connected into ahydraulic motor 92 which is used to drive the chains of theinjector 44 which can either move the coiled tubing into the well being treated or pull the coiled tubing out of the well being treated, as desired, depending on the direction of the chain rotation. - Another
hydraulic pump 96 drives amotor 98 to drive thecrane 46 illustrated in FIG. 2. Anotherhydraulic pump 100 drives amotor 102 which in turn drives any one or more miscellaneous items requiring a hydraulic activation as desired. - It should be appreciated that the
tractor engine 70 drives each of the 64, 90, 96 and 100 as shown by thehydraulic pumps line 106. Coming off of thetractor engine 70, the 64, 90, 96 and 100 are preferably driven by one or more belts which can be used with clutch pulleys as desired. Ahydraulic pump compressor unit 108 which is also driven by thetractor engine 70 is run off of thedrive line 106 to assist in keeping the liquid nitrogen down to its desired temperature. - It should be appreciated that while the
tractor engine 70 is obviously and desirably located on the tractor, and the coiled tubing, the injector, and the crane, as well as theliquid nitrogen tank 32 are preferably located on the tractor, most of the other items identified in FIG. 3 can be found on either the tractor and/or the trailer as desired. The important feature of this invention is to recognize that all of the items shown in FIG. 3 are located on a combined tractor/trailer configuration which does not require the use of either another tractor or another trailer. - Referring now to FIG. 4, there is a simplified schematic illustrating the process contemplated by this invention for treating a producing oil or gas well which has, for whatever the reason, either quit producing or has started producing with a reduced volume of oil or gas. The tractor trailer illustrated in FIGS. 1 and 2 is delivered to the site of the well 110 which typically is cased with
steel casing 112 and which has a string ofproduction tubing 114 running down to thepay zone 116 in the surrounding formation and which has a pair of 118 and 120 which straddle the pay zone. With such wells, thepackers casing 112 has a plurality of perforations 122 which enable the oil or the gas to leave the pay zone and come into the interior of the well. Theproduction tubing 114 has a screen or other holes in it 124 which allow the oil or gas to leave thepay zone 116, come through the perforations 122 and enter theproduction tubing 114 which then allows the oil or gas to travel to the earth's surface. - There are various things which can cause the well in question to quit producing at a rate which it has been experiencing before. There can be sand which enters through the perforations and the holes in the production tubing which plug it up substantially and reduce the amount of oil or gas being produced. Another problem which exists in addition to the sanding problem is the existence of water which may be sitting on top of the oil or gas being produced. Since many of the pay zones contain water, and because of the weight of the water sitting on top of the oil or gas being produced, the oil or gas simply will not proceed up to the surface. To overcome either one of these problems, it is desirable to pump gaseous nitrogen down through the
production tubing 114 to push the sand and/or the water out of theproduction tubing string 114 and back up through the annulus between the steel casing and the production tubing. This can be accomplished either by not using theproduction packer 118 or by having bypass valves which pass through theproduction packer 118 and allow the sand and/or the water to be produced up the annulus through the earth's surface and once again, place the production of the pay zone back to what it was before the problem occurred. In an alternative mode, thepacker 118 can remain in the cased borehole as illustrated, unbypassed, and the gaseous nitrogen when bubbled out of the end of the coiled tubing beneath the perforations, will drive sand and/or the water back to the earth's surface through the production tubing itself. - To accomplish all of this, it is desirable that the gaseous nitrogen be introduced from the earth's surface by passing the gaseous nitrogen through the coiled tubing from the coiled tubing reel located on the bed of the tractor. To get the coiled
tubing 130 into the interior of theproduction tubing string 114, the coiledtubing injector 44 is moved by thecrane unit 46 to be immediately above theChristmas tree 130 which is, of course, the well-known oilfield apparatus which is placed at the top of the producing well 110. Thecoiled tubing 130 is run through a well-known stripper into the interior of theChristmas tree 130 and enters the interior of theproduction tubing string 114 without causing any leaks of any substance within the well to be vented into the atmosphere. The gaseous nitrogen is then caused to exit the lower end of the coiledtubing 130, usually as the coiled tubing is being pushed into the production tubing, or can be turned on after the coiled tubing is in place in the well, if desired. The gaseous nitrogen then causes any water and/or sand which is plugging up the system to be routed through the annulus between the production tubing and the casing to cause the sand and/or the water to be removed from the system, which allows the well to again become productive. While theinjector system 44 is shown in block diagram, such injector systems are well-known in the art as described and illustrated in U.S. Pat. No. 5,566,764, the disclosure of which is incorporated herein by reference. Such systems normally involve the use of one or two rotating chains which can be caused to rotate in one direction to grab a hold of the coiled tubing and inject it into the tubing within the well, or by reversing the direction of the motor, the tubing can be pulled out of the well. As illustrated in FIG. 3, thehydraulic pump 90 drives themotor 92 which causes the one or more chains to rotate within theinjector 44, for example, as illustrated with respect to the aforementioned U.S. Pat. No. 5,566,764. - It should be appreciated that although the present invention contemplates using the
liquid nitrogen tank 32 illustrated on thetrailer 20 to generate gaseous nitrogen, the invention also contemplates that instead of using thetank 32 illustrated in FIG. 2 as a source of liquid nitrogen, there are additional sources which can be utilized. For example, nitrogen generators can be used, shown in FIG. 5, which extract nitrogen from the atmosphere which can eliminate the costs of transporting and filling nitrogen tanks. Some of such nitrogen generators utilize a membrane, shown in FIG. 6, which allows nitrogen-rich air from the earth's atmosphere to be continuously fed into bundle housing. The air reaches the center of the bundle of membrane fibers which at that point, consists mostly of gaseous nitrogen. The nitrogen collects in the mandrel at the center of the bundle. As the air passes through the bundle of membrane fibers, the oxygen and other fast gases pass through the wall of the membrane fibers as they go through the fibers to be collected at the end. Oxygen and the other fast gases are continuously collected and are moved from the bundle, thus leaving the nitrogen available to be used for injection into the well being treated. By stacking a plurality of such nitrogen generators, available volumes are provided which have an increased flow capability. - In an alternative mode, albeit not as preferred as either the liquid nitrogen or the nitrogen generator modes, the gaseous nitrogen source can be one or more tanks of compressed nitrogen gas such as the
200, 202, 204 and 206 illustrated in FIG. 7.tanks - Referring now to FIGS. 8(a) and 8(b), there are illustrated a pair of
302 and 304 which run along the length of the coiledstainless steel tubes tubing 306. Thecoiled tubing 306 may be fabricated from hard plastic, for example, urethane, or may be fabricated from hard rubber, or from mixtures of hard plastic and hard rubber. The 302 and 304 are embedded within the coiledstainless steel tubes tubing 306. Also embedded within the coiledtubing 306 are first and 308 and 310. It is a very important feature of the present invention that, without regard to which of the embodiments of the coiled tubing is used, that the coiled tubing be essentially circular in cross-action to allow the coiled tubing to be handled by the coiledsecond cords tubing injector system 44 illustrated in FIG. 4 herein. Because the coiled tubing is circular in cross-section, it allows the coiled tubing to be packed off when passing through theinjector system 44 which helps to prevent fluids from leaking out from the wellbore while the coiled tubing is being injected into the wellbore. With this particular embodiment, the 308 and 310 assist in maintaining thecords coiled tubing 306 with a cross-sectional pattern which is essentially circular. - Referring now to FIG. 9, an alternative embodiment of the present invention is illustrated in which there are three
312, 314 and 316 which are embodied in the length ofstainless steel tubes coiled tubing 318 which is embodied from hard plastic, hard rubber or a combination of hard plastic and hard rubber which can be formed by heating the length ofcoiled tubing 318 as described hereinafter. Thecoiled tubing 318 also has embedded therein a trio of 320, 322 and 324 which also assist in maintaining thecords coiled tubing 318 with a circular cross-section so it can be run through the coiledtubing injector apparatus 44 of FIG. 4. - Referring now to FIG. 10, the length of
coiled tubing 306 which is illustrated in FIGS. 8(a) and 8(b) can be manufactured by molding, for example, by molding the segments 306(a) and 306(b) which are preferably joined at their intersection 307 which allows the segment 306(b) to rotate over and be on top of the segment 306(a) to complete the circular pattern. Prior to rotating the segment 306(b) over on top of segment 306(a), the 302 and 304 are placed within the half-moon-shapedstainless steel tubes troughs 309 and 311 which are on the flat face of the segment 306(a). The segment 306(b) also has a pair of 313 and 315 and are configured such that when the segment 306(b) is rotated over to be on top of the segment 306(a), thetroughs 313 and 315 will cause thetroughs 302 and 304 to be completely encircled. Thetubes 310 and 308 are also embodied, respectively, incords 317 and 319 and may be cords such as were discussed with respect to FIGS. 8(a) and 8(b), or may be electrical wires such as will be discussed hereinafter with respect to FIG. 14. FIG. 10(a) illustrates diagrammatically one of thetroughs cords 310 when used as an electrical cord and has a pair of 321 and 323 embedded within one or more layers ofelectrical lines 325 and 327 which may be any insulation material of choice, such as rubber, plastic or the like. Theinsulation materials cord 308 may be, if desired, fabricated in the exact same manner as thecord 310 illustrated in FIG. 10(a), or may merely be a cord which is used for helping maintain a circular cross-section of the coiledtubing 306. - Because the
trough 317 and thetrough 319 have a smaller entrance than the diameter of the 308 and 310, respectively, thecords 308 and 310 can be lodged into those troughs and will be maintained there during this other processing of the coiled tubing described hereinafter.cords - FIG. 11 illustrates an end view of a preliminary step of forming an alternative embodiment of the coiled tubing in accordance with the present invention. The
coiled tubing 400 has four 402, 404, 406 and 408, each of which has a mouth which is smaller than either the stainless steel tubes or the cords which will be placed therein, and thus allow the stainless steel tubes or the cords to be pushed into the troughs and to be maintained there during the heat processing steps. In practice, the stainless steel tubes and the cords can be placed in the troughs in any order desired, such as placing stainless steel tubes within thetroughs 402 and 406, and the cords within thetroughs 408 and 404. Alternatively, four stainless steel tubes can be placed in thetroughs 402, 404, 406 and 408 or alternatively, four electrical cords could be placed within thetroughs 402, 404, 406 and 408. As an alternative embodiment, a stainless steel tube and an electrical cord could be placed in a single one or more of the troughs.troughs - Referring now to FIG. 12, there is illustrated a
heated mold 500 having two segments 500(a) and 500(b) which are hinged together byhinge 502 which allows the segment 500(b) to be rotated over on top of the segment 500(a). The segment 500(a) is shown as having aheating coil 504 which is powered by anelectrical power supply 506 having any voltage desired, and having 508 and 510 which power theelectrical lines heating coil 504 to a desired temperature. Although not illustrated, the segment 500(b) may also have its own heating coil. - In the operation of the
heated mold 500, a length of one of the embodiments of the coiled tubing in accordance with the invention is placed within the trough along a length of theheated mold 500, for example, 10-20 foot long, and then the segment 500(b) is swung over on top of the segment 500(a) and theheater coil 504 is then energized to heat up the coiled tubing, such as thecoiled tubing 400 of FIG. 11, or thecoiled tubing 306 of FIG. 8(b), or thecoiled tubing 318 of FIG. 9. Regardless of which of these embodiments, or similar embodiments are used, the length of coiled tubing, whether fabricated from hard plastic or hard rubber or combinations thereof, will take on a semi-liquid state and will cause there to be manufactured a completely round length of coiled tubing. If desired, the mold segments 500(a) and 500(b) can be used to exert pressure against the coiled tubing to make the body of the coiled tubing take on a perfectly round shape. Such a finished product is illustrated in FIG. 13 as having a circular shape at its end, and which essentially has no voids or troughs such as are illustrated in FIGS. 8(b) and 11. - Referring now to FIG. 14, a length of
coiled tubing 600 is illustrated as having a pair of 602 and 604, and which is run into the earth formation through the coiledstainless steel tubes tubing injector system 44 illustrated in FIG. 4 and which also has a pair ofelectrical cords 606 connected to aconventional pressure sensor 610 and anelectrical cord 608 connected to aconventional temperature sensor 612, wherein the coiled tubing has been run from a first location slightly above the earth's surface, to a second location beneath the earth'ssurface 620 by the coiledtubing injector system 44, wherein thepay zone 618 may be several thousand feet beneath the earth'ssurface 620. - In addition to the electrical measurements which can be made by the
610 and 612, a source ofsensor chemicals 630, identified as being “chemical number one”, and a secondchemical source 640, identified as being “chemical number two”, are connected into the 602 and 604, respectively.stainless steel tubes - Such an arrangement allows the treating chemical number one and the treating chemical number two to be mixed together downhole, or alternatively, allows chemical number one and chemical number two to be used sequentially, one after the other in treating the
pay zone 618. - It should be appreciated that even though only two
610 and 612 and twoelectrical lines 602 and 604 are illustrated in FIG. 14, the present invention contemplates that the coiled tubing in accordance with the invention can have any combination of electrical lines and any combination of chemical transport lines such as thestainless steel tubes 602 and 604 to be used in practicing the invention. Thus, the invention contemplates the use of zero, or one or more electrical lines and the use of zero or one or more liquid or gas transport lines such as thestainless steel tubes 602 and 604, and contemplates the use of even three or more gas or fluid transport lines and three or more electrical lines or electrical line pairs in practicing the invention.stainless steel tubes - Referring now to FIG. 15, there is illustrated a length of
coiled tubing 700 that runs from the first location above the earth'ssurface 702 to a second location adjacent apay zone 704, several thousand feet beneath the surface in the typical case. The length ofcoiled tubing 700 is run down through theinjector system 44 in FIG. 4 from slightly above the surface and is run within a string ofproduction tubing 706 through which, the fluids within thepay zone 704 would normally be produced through theperforations 708 in thesteel casing 710, from thepay zone 704 into the equipment at the earth's surface which is conventionally used in collecting the produced oil. In FIG. 4, the coiled tubing is run through a Christmas tree, and because of its being circular in cross-section, can easily be packed off within the christmas tree. A pair of 712 and 714 straddle the pay zone as is conventional in this art.packers - Attached to the lower end of the coiled
tubing 700 is asubmersible pump 720 which has aninlet 722 so that the pump can receive fluids between the 712 and 714 through thepacker pump inlet 722 after the fluid within the area between the 712 and 714 enters thepacker screen ports 724. - Embedded within the coiled
tubing 700 is one or moreelectrical lines 730 or providing power from the earth's surface to thepump 720 and also embedded within the coiledtubing 700 are one or more tubes which run all the way to the earth's surface from the pump to allow the fluid between the 712 and 714 to be pumped to the earth's surface.packer - Referring now to FIG. 16, there is illustrated a length of
coiled tubing 800 according to the present invention which runs from a first location at or above the earth's surface to a second location beneath the earth's surface. FIG. 16 further illustrates that theearth borehole 802 has a string ofsteel casing 804 which is typically cemented into the formation surrounding theearth borehole 802 and which has a body offluid 806 which may take several forms, for example, water, oil from the formation, or the like. Thepay zone 808 which may contain oil, gas, water or combinations thereof and which may be fed into the interior of thecasing 804 by the plurality ofperforations 810. Without regard to how the fluid 806 gets into the borehole, the embodiment of FIG. 16 is intended to allow the fluid to be pumped from its location as illustrated in FIG. 16 back to the earth's surface through the use of asubmersible pump 812. It should be appreciated that thepump 812 is conventional and is used in various forms throughout the oil and gas producing industry. In the embodiment illustrated in FIG. 16, thepump 812 is threadedly connected to the string ofproduction tubing 814. While the embodiment of FIG. 16 includes a pair of 818 and 820 such packers may or may not be used with the embodiment illustrated in FIG. 16.straddle packers - After the
pump 816 has been lowered into the place within the body offluid 806 by running theproduction tubing 814 into the well, the length ofcoiled tubing 800 in accordance with the present invention is run through the production tubing from theinjector 44 illustrated in FIG. 4 from a location above the earth's surface down to the location beneath the earth's surface as illustrated in FIG. 16. The lower end of the coiledtubing 800 has one ormore fingers 822 comprising, preferably, one or more tubes which can allow fluid to be pumped therethrough and one or more electrical lines which empower thepump 812 from the earth's surface. Adevice 830 rests on top of thepump 812 and has a series ofreceptacles 834 which are sized to accept thefingers 822. Thedevice 830 also has aguide 836 having inwardly slanted walls which guides thefingers 822 into thereceptacles 834 to make hermetically sealed connections for the electrical fingers and the fluidguide carrying fingers 822. - In the operation of the apparatus illustrated in FIG. 16, after the
fingers 822 have made up with thereceptacles 834, the electrical lines at the earth's surface feeding thefingers 822 through the coiledtubing 800 are activated to cause the pump to take in fluid through the inlet of 816 to the pump and causes the fluid 806 to be pumped through one or more of thefingers 822 to the earth's surface. - Referring now to FIG. 17, there is illustrated an alternative embodiment for using the coiled tubing according to the present invention, which a
pump 900 is run into theearth borehole 902 by a length ofcoiled tubing 904 from the earth's surface down to the location of the fluid 906. Thecasing 910 may or may not have thepacker 908 as illustrated in FIG. 17. - In utilizing the apparatus according to FIG. 17, there is no production tubing within the
casing 910. Thecoiled tubing 904 according to the present invention will have one or more electrical lines and one or more tubes embedded therein such as are discussed with regard to the other embodiments according to the present invention so that when the electrical lines are activated at the earth's surface, thepump 900 is activated and will pull in fluid 906 through thepump inlet 912 and allow the fluid to be pumped out of the source of fluid 906 to the earth's surface. - Referring now to FIG. 18, yet another alternative embodiment for using the coiled tubing in accordance with the present invention. The
submersible pump 950 having apump inlet 952 is illustrated as being run into theborehole 954 by a string ofoilfield tubulars 956, for example, production tubing, drill pipe, or the like. FIG. 18 also illustrates that a length ofcoiled tubing 960 which runs from a location at or above the earth's surface down to thepump 950 and the whole system illustrated in FIG. 18, including thepump 950, thecoiled tubing 960 and thetubular string 956 are transported from the earth's surface down into the fluid 970 to allow the electrical lines which run through the coiledtubing 960 to be activated at the earth's surface and turn on thepump 950, which will thus allow the fluid 970 to be pumped to the earth's surface one thepump 950 has been submerged in thefluid 970. It should be appreciated that thepacker 972 may or may not be utilized with the embodiment FIG. 18. - Other methods for using the coiled tubing in accordance with the present invention will be obvious to persons reading this specification and reviewing the enclosed drawings, for example, the coiled tubing contemplated by this present invention, in which the round body made from hard plastic, hard rubber or combinations thereof, and having one or more electrical lines and one or more tubes for transporting fluid, may be inserted within the interior of a conventional length of coiled tubing which is itself a hollow length of metal tubing and which may be already hung off in the well in through which the coiled tubing according to the present invention can be fed by being slightly undersized with respect to the interior diameter of the conventional coiled tubing. Alternatively, the coiled tubing in accordance with the present invention can be inserted within the interior of the conventional coiled tubing and the entire assembly injected into a well from above the earth's surface to whatever depth is desired within the well being treated or measured.
- These alternative embodiments with respect to running the coiled tubing through a length of conventional coiled tubing are illustrated in FIG. 19. In FIG. 19, there is illustrated a length of
borehole 650 which is encased within thesteel casing 652 which runs from the earth's surface (not illustrated) down to the area of interest within theearth borehole 650. A string of production tubing 654 also runs from the earth's surface down to the area of interest within theborehole 650. A length of conventional coiled tubing 656 is also illustrated in FIG. 19 and may or may not have already been hung off in theborehole 650. Thus, this embodiment of the present invention contemplates either that the coiled tubing 656 has not already been hung off and maybe injected into the well 650, or the conventional coiled tubing 656 may have already been hung off and the length ofcoiled tubing 658 can be injected at the earth's surface into the interior of the conventional coiled tubing 656 and run down to the area of interest within the interior of the coiled tubing 656. Thecoiled tubing 658 in accordance with the present invention includes a pair of 660 and 662 as discussed elsewhere within this application for transporting one or more chemicals down to the point of the well to be treated. Thechemical tubes coiled tubing 658 also has a pair of 664 and 666 which may be embedded within the coiledcords tubing 658 merely for purposes of maintaining the circular cross section of the coiled tubing or may indeed have electrical lines for running submersible pumps or for being attached to one or more sensors at the lower extremities of the well as discussed elsewhere herein. - Referring now to FIG. 20, there is illustrated yet another alternative embodiment of the present invention, which is intended primarily for use with pipelines such as are used for transporting oil or other fluids. Such a
pipeline 670 is illustrated in FIG. 20 as being of the type which is maintained slightly above ground level such as is commonly done with the Alyeska Pipeline in Alaska. Thepipeline 670 is shown as being held above the level of theearth 672 by a pair of 674 and 676 to allow animals in the wild to pass underneath theyokes pipeline 670. A length of coiled tubing such as thecoiled tubing 658 in FIG. 19 but which is identified as coiledtubing 678, is illustrated in FIG. 20 as being connected between apumpable pig 680 at one of the ends of the coiledtubing 678 and is also connected into a pump andinjector system 682 which pumps a fluid behind thepig 680 to move thepig 680 towards ablockage 684 within thepipeline 670. As is well-known in this type of pipeline, paraffin buildup such as theblockage 684, which although not necessarily completely blocking the pipeline, can create obstructions which hinder the flow of oil or other liquids through the pipeline. Thepig 680 is preferably a so-called “poly” pig which typically would be made from either polyethylene or polypropylene or mixtures thereof. Such a poly pig such aspig 680 can easily be dissolved by those skilled in this art by pumping one or more chemicals out of thepump 682, preferably within theannulus 686 between the pipeline wall and thecoiled tubing 678, but can also be pumped within the interior of the coiledtubing 678 through tubes which are embedded within the coiledtubing 678 such as the 660 and 662 illustrated in FIG. 19. After thetubes pig 680 has been dissolved by the additional chemicals, chemicals can be pumped through the tubes within the interior of the coiledtubing 678 to dissolve theobstruction 684. It should be appreciated that thecoiled tubing 678 can also have one or more electrical conductors which are embedded within the coiledtubing 678 and can provide, with appropriate sensors connected to the coiledtubing 678, parameters such as the temperature, pressure, etc. of the materials encountered within thepipeline 670.
Claims (5)
- 32. A method for treating and/or measuring various parameters in formations surrounding an earth borehole, and/or in fluids located in such boreholes, comprising:injecting a length of first coiled tubing from a first location at or above the earth's surface through the interior of a second length of coiled tubing to a second location in said borehole, wherein said first coiled tubing is substantially circular in cross-section, and has embedded therein, at least one tube for transporting fluids from said first location to said second location and/or for pumping fluid from said second location to said first location; andpumping fluid from said first location to said second location
- 33. The method according to
claim 32 , wherein said at least one tube comprises a first tube and a second tube. - 34. The method according to
claim 33 , wherein first and second chemicals are pumped through said first and second tubes, respectively, from said first location to said second location. - 35. The method according to
claim 34 , wherein said length of first coiled tubing also has at least one electrical line embedded therein running from said first location to said second location. - 36. The method according to
claim 35 , wherein said at least one electrical line comprises a first pair of electrical lines.
Priority Applications (1)
| Application Number | Priority Date | Filing Date | Title |
|---|---|---|---|
| US10/339,588 US20030196812A1 (en) | 2002-04-22 | 2003-01-09 | Coiled tubing for insertion into coiled tubing |
Applications Claiming Priority (3)
| Application Number | Priority Date | Filing Date | Title |
|---|---|---|---|
| US10/127,092 US6702011B2 (en) | 2002-04-22 | 2002-04-22 | Combined nitrogen treatment system and coiled tubing system in one tractor/trailer apparatus |
| US10/170,281 US20030196797A1 (en) | 2002-04-22 | 2002-06-12 | Coiled tubing having multiple strings of smaller tubing embedded therein |
| US10/339,588 US20030196812A1 (en) | 2002-04-22 | 2003-01-09 | Coiled tubing for insertion into coiled tubing |
Related Parent Applications (1)
| Application Number | Title | Priority Date | Filing Date |
|---|---|---|---|
| US10/170,281 Division US20030196797A1 (en) | 2002-04-22 | 2002-06-12 | Coiled tubing having multiple strings of smaller tubing embedded therein |
Publications (1)
| Publication Number | Publication Date |
|---|---|
| US20030196812A1 true US20030196812A1 (en) | 2003-10-23 |
Family
ID=29218288
Family Applications (5)
| Application Number | Title | Priority Date | Filing Date |
|---|---|---|---|
| US10/170,281 Abandoned US20030196797A1 (en) | 2002-04-22 | 2002-06-12 | Coiled tubing having multiple strings of smaller tubing embedded therein |
| US10/339,042 Abandoned US20030196815A1 (en) | 2002-04-22 | 2003-01-09 | Method for operating a submersible pump |
| US10/339,588 Abandoned US20030196812A1 (en) | 2002-04-22 | 2003-01-09 | Coiled tubing for insertion into coiled tubing |
| US10/339,038 Abandoned US20030196813A1 (en) | 2002-04-22 | 2003-01-09 | Method of treating and measuring various parameters in pipelines |
| US10/339,130 Abandoned US20030196811A1 (en) | 2002-04-22 | 2003-01-09 | Method of treating and measuring various parameters in formations |
Family Applications Before (2)
| Application Number | Title | Priority Date | Filing Date |
|---|---|---|---|
| US10/170,281 Abandoned US20030196797A1 (en) | 2002-04-22 | 2002-06-12 | Coiled tubing having multiple strings of smaller tubing embedded therein |
| US10/339,042 Abandoned US20030196815A1 (en) | 2002-04-22 | 2003-01-09 | Method for operating a submersible pump |
Family Applications After (2)
| Application Number | Title | Priority Date | Filing Date |
|---|---|---|---|
| US10/339,038 Abandoned US20030196813A1 (en) | 2002-04-22 | 2003-01-09 | Method of treating and measuring various parameters in pipelines |
| US10/339,130 Abandoned US20030196811A1 (en) | 2002-04-22 | 2003-01-09 | Method of treating and measuring various parameters in formations |
Country Status (5)
| Country | Link |
|---|---|
| US (5) | US20030196797A1 (en) |
| AU (1) | AU2003231737A1 (en) |
| CA (1) | CA2483796C (en) |
| MX (1) | MXPA04010356A (en) |
| WO (1) | WO2003089753A2 (en) |
Cited By (1)
| Publication number | Priority date | Publication date | Assignee | Title |
|---|---|---|---|---|
| US20110284226A1 (en) * | 2010-05-20 | 2011-11-24 | Smith Kenneth L | System And Method For Controlling One Or More Fluid Properties Within A Well In A Geological Volume |
Families Citing this family (24)
| Publication number | Priority date | Publication date | Assignee | Title |
|---|---|---|---|---|
| US20070272416A1 (en) * | 2004-07-02 | 2007-11-29 | Joe Crawford | Hydraulic downhole oil recovery system |
| US20080149325A1 (en) * | 2004-07-02 | 2008-06-26 | Joe Crawford | Downhole oil recovery system and method of use |
| US7165952B2 (en) * | 2004-12-13 | 2007-01-23 | Joe Crawford | Hydraulically driven oil recovery system |
| US20080087437A1 (en) * | 2004-07-02 | 2008-04-17 | Joe Crawford | Downhole oil recovery system and method of use |
| US7832077B2 (en) * | 2005-02-08 | 2010-11-16 | Joe Crawford | Method of manufacturing a coiled tubing system |
| CA2529921C (en) | 2005-12-13 | 2012-06-05 | Foremost Industries Inc. | Coiled tubing injector system |
| US7832468B2 (en) | 2007-10-03 | 2010-11-16 | Pine Tree Gas, Llc | System and method for controlling solids in a down-hole fluid pumping system |
| WO2009103038A1 (en) * | 2008-02-14 | 2009-08-20 | David Randolph Smith | Method and apparatus to treat well stimulation fluids in-situ |
| US20090260807A1 (en) * | 2008-04-18 | 2009-10-22 | Schlumberger Technology Corporation | Selective zonal testing using a coiled tubing deployed submersible pump |
| US20090266537A1 (en) * | 2008-04-25 | 2009-10-29 | Henning Hansen | Combination injection string and distributed sensing string for well evaluation and treatment control |
| US8276658B2 (en) * | 2009-01-30 | 2012-10-02 | Conocophillips Company | Multi-channel, combination coiled tubing strings for hydraulically driven downhole pump |
| WO2012037306A1 (en) * | 2010-09-17 | 2012-03-22 | Schlumberger Canada Limited | Downhole delivery of chemicals with a micro-tubing system |
| CN101972760B (en) * | 2010-09-26 | 2012-04-25 | 中国石油集团工程设计有限责任公司 | Centralized type spherical pig receiving device |
| CN103470245A (en) * | 2013-08-29 | 2013-12-25 | 辽河石油勘探局 | Production test system for mechanized horizontal well coiled tubing |
| US9976402B2 (en) | 2014-09-18 | 2018-05-22 | Baker Hughes, A Ge Company, Llc | Method and system for hydraulic fracture diagnosis with the use of a coiled tubing dual isolation service tool |
| US9708906B2 (en) * | 2014-09-24 | 2017-07-18 | Baker Hughes Incorporated | Method and system for hydraulic fracture diagnosis with the use of a coiled tubing dual isolation service tool |
| US9770805B2 (en) * | 2014-10-07 | 2017-09-26 | Baker Hughes Incorporated | Method for increasing the roughness of injector gripper blocks for coiled tubing operations |
| US10329887B2 (en) * | 2015-03-02 | 2019-06-25 | Baker Hughes, A Ge Company, Llc | Dual-walled coiled tubing with downhole flow actuated pump |
| CN106382097B (en) * | 2016-10-28 | 2018-08-14 | 西南石油大学 | A kind of drilling rig and method using liquid nitrogen injection efficient rock-breaking |
| EP3612713B1 (en) * | 2017-04-17 | 2023-07-26 | Baker Hughes Holdings LLC | Dual-walled coiled tubing with downhole flow actuated pump |
| US10549968B2 (en) * | 2017-12-12 | 2020-02-04 | Schlumberger Technology Corporation | Integrated workstation in well surface equipment structures |
| CN110600901B (en) * | 2019-08-26 | 2021-07-30 | 南方电网科学研究院有限责任公司 | A kind of deep well ground electrode and deep well ground electrode monitoring system |
| CN113882826B (en) * | 2021-09-27 | 2023-03-10 | 河北华通线缆集团股份有限公司 | Concentric double-layer coiled tubing drilling sand pumping test system and method |
| US12091932B2 (en) * | 2022-09-02 | 2024-09-17 | Saudi Arabian Oil Company | Downhole mixing of wellbore treatment fluids |
Citations (3)
| Publication number | Priority date | Publication date | Assignee | Title |
|---|---|---|---|---|
| US6357485B2 (en) * | 1995-09-28 | 2002-03-19 | Fiberspar Corporation | Composite spoolable tube |
| US20020119271A1 (en) * | 1997-10-10 | 2002-08-29 | Fiberspar Corporation | Composite spoolable tube with sensor |
| US6497290B1 (en) * | 1995-07-25 | 2002-12-24 | John G. Misselbrook | Method and apparatus using coiled-in-coiled tubing |
Family Cites Families (4)
| Publication number | Priority date | Publication date | Assignee | Title |
|---|---|---|---|---|
| US5523520A (en) * | 1994-06-24 | 1996-06-04 | Goldsmith Seeds Inc. | Mutant dwarfism gene of petunia |
| US6343657B1 (en) * | 1997-11-21 | 2002-02-05 | Superior Energy Services, Llc. | Method of injecting tubing down pipelines |
| US6230805B1 (en) * | 1999-01-29 | 2001-05-15 | Schlumberger Technology Corporation | Methods of hydraulic fracturing |
| NO20002382D0 (en) * | 2000-05-05 | 2000-05-05 | Havtroll As | Control cable |
-
2002
- 2002-06-12 US US10/170,281 patent/US20030196797A1/en not_active Abandoned
-
2003
- 2003-01-09 US US10/339,042 patent/US20030196815A1/en not_active Abandoned
- 2003-01-09 US US10/339,588 patent/US20030196812A1/en not_active Abandoned
- 2003-01-09 US US10/339,038 patent/US20030196813A1/en not_active Abandoned
- 2003-01-09 US US10/339,130 patent/US20030196811A1/en not_active Abandoned
- 2003-04-21 MX MXPA04010356A patent/MXPA04010356A/en unknown
- 2003-04-21 WO PCT/US2003/012197 patent/WO2003089753A2/en not_active Ceased
- 2003-04-21 AU AU2003231737A patent/AU2003231737A1/en not_active Abandoned
- 2003-04-21 CA CA002483796A patent/CA2483796C/en not_active Expired - Fee Related
Patent Citations (3)
| Publication number | Priority date | Publication date | Assignee | Title |
|---|---|---|---|---|
| US6497290B1 (en) * | 1995-07-25 | 2002-12-24 | John G. Misselbrook | Method and apparatus using coiled-in-coiled tubing |
| US6357485B2 (en) * | 1995-09-28 | 2002-03-19 | Fiberspar Corporation | Composite spoolable tube |
| US20020119271A1 (en) * | 1997-10-10 | 2002-08-29 | Fiberspar Corporation | Composite spoolable tube with sensor |
Cited By (2)
| Publication number | Priority date | Publication date | Assignee | Title |
|---|---|---|---|---|
| US20110284226A1 (en) * | 2010-05-20 | 2011-11-24 | Smith Kenneth L | System And Method For Controlling One Or More Fluid Properties Within A Well In A Geological Volume |
| US8322425B2 (en) * | 2010-05-20 | 2012-12-04 | Chevron U.S.A., Inc. | System and method for controlling one or more fluid properties within a well in a geological volume |
Also Published As
| Publication number | Publication date |
|---|---|
| US20030196813A1 (en) | 2003-10-23 |
| US20030196811A1 (en) | 2003-10-23 |
| US20030196815A1 (en) | 2003-10-23 |
| CA2483796A1 (en) | 2003-10-30 |
| US20030196797A1 (en) | 2003-10-23 |
| MXPA04010356A (en) | 2005-09-12 |
| CA2483796C (en) | 2006-07-18 |
| WO2003089753A2 (en) | 2003-10-30 |
| AU2003231737A1 (en) | 2003-11-03 |
| WO2003089753A3 (en) | 2004-09-10 |
| AU2003231737A8 (en) | 2003-11-03 |
Similar Documents
| Publication | Publication Date | Title |
|---|---|---|
| CA2483796C (en) | Coiled tubing having multiple strings of smaller tubing embedded therein | |
| US6702011B2 (en) | Combined nitrogen treatment system and coiled tubing system in one tractor/trailer apparatus | |
| US10550665B1 (en) | Electronically controlled pressure relief valve system | |
| US6497290B1 (en) | Method and apparatus using coiled-in-coiled tubing | |
| US8651187B2 (en) | Method and apparatus to treat well stimulation fluids in-situ | |
| US7051818B2 (en) | Three in one combined power unit for nitrogen system, fluid system, and coiled tubing system | |
| CA2249432C (en) | Method and apparatus using coiled-in-coiled tubing | |
| US5454419A (en) | Method for lining a casing | |
| US8991492B2 (en) | Methods, systems and apparatus for coiled tubing testing | |
| US10323471B2 (en) | Intelligent injector control system, coiled tubing unit having the same, and method | |
| US20190162060A1 (en) | Ported Casing Collar For Downhole Operations, And Method For Accessing A Formation | |
| US20030192697A1 (en) | Isolation container for a downhole electric pump | |
| WO2008092100A2 (en) | Chemically enhanced gas-lift for oil and gas wells | |
| US20110067883A1 (en) | Jet pump and multi-string tubing system for a fluid production system and method | |
| CA3088313C (en) | Ported casing collar for downhole operations, and method for accessing a formation | |
| US3791447A (en) | Well methods for sand bridge removal using small diameter tubing | |
| US4125162A (en) | Well flow system and method | |
| US8371390B2 (en) | Dual packer for a horizontal well | |
| US20240247563A1 (en) | Process of water shut off in vertical wells completed with electrical submersible pumps | |
| CN112513421B (en) | Distributed fluid injection system for wellbore |
Legal Events
| Date | Code | Title | Description |
|---|---|---|---|
| STCB | Information on status: application discontinuation |
Free format text: ABANDONED -- FAILURE TO RESPOND TO AN OFFICE ACTION |