US20030192674A1 - Heat transport device - Google Patents

Heat transport device Download PDF

Info

Publication number
US20030192674A1
US20030192674A1 US10/400,190 US40019003A US2003192674A1 US 20030192674 A1 US20030192674 A1 US 20030192674A1 US 40019003 A US40019003 A US 40019003A US 2003192674 A1 US2003192674 A1 US 2003192674A1
Authority
US
United States
Prior art keywords
heat
transport device
container
liquid
fluid channel
Prior art date
Legal status (The legal status is an assumption and is not a legal conclusion. Google has not performed a legal analysis and makes no representation as to the accuracy of the status listed.)
Abandoned
Application number
US10/400,190
Inventor
Shigetoshi Ippoushi
Tetsuro Ogushi
Kazushige Nakao
Hiroaki Ishikawa
Toshiyuki Umemoto
Current Assignee (The listed assignees may be inaccurate. Google has not performed a legal analysis and makes no representation or warranty as to the accuracy of the list.)
Mitsubishi Electric Corp
Original Assignee
Mitsubishi Electric Corp
Priority date (The priority date is an assumption and is not a legal conclusion. Google has not performed a legal analysis and makes no representation as to the accuracy of the date listed.)
Filing date
Publication date
Application filed by Mitsubishi Electric Corp filed Critical Mitsubishi Electric Corp
Assigned to MITSUBISHI DENKI KABUSHIKI KAISHA reassignment MITSUBISHI DENKI KABUSHIKI KAISHA ASSIGNMENT OF ASSIGNORS INTEREST (SEE DOCUMENT FOR DETAILS). Assignors: IPPOUSHI, SHIGETOSHI, ISHIKAWA, HIROAKI, NAKAO, KAZUSHIGE, OGUSHI, TETSURO, UMEMOTO, TOSHIYUKI
Priority to US10/618,657 priority Critical patent/US6983790B2/en
Publication of US20030192674A1 publication Critical patent/US20030192674A1/en
Abandoned legal-status Critical Current

Links

Images

Classifications

    • HELECTRICITY
    • H10SEMICONDUCTOR DEVICES; ELECTRIC SOLID-STATE DEVICES NOT OTHERWISE PROVIDED FOR
    • H10WGENERIC PACKAGES, INTERCONNECTIONS, CONNECTORS OR OTHER CONSTRUCTIONAL DETAILS OF DEVICES COVERED BY CLASS H10
    • H10W40/00Arrangements for thermal protection or thermal control
    • H10W40/70Fillings or auxiliary members in containers or in encapsulations for thermal protection or control
    • H10W40/73Fillings or auxiliary members in containers or in encapsulations for thermal protection or control for cooling by change of state
    • FMECHANICAL ENGINEERING; LIGHTING; HEATING; WEAPONS; BLASTING
    • F28HEAT EXCHANGE IN GENERAL
    • F28DHEAT-EXCHANGE APPARATUS, NOT PROVIDED FOR IN ANOTHER SUBCLASS, IN WHICH THE HEAT-EXCHANGE MEDIA DO NOT COME INTO DIRECT CONTACT
    • F28D15/00Heat-exchange apparatus with the intermediate heat-transfer medium in closed tubes passing into or through the conduit walls ; Heat-exchange apparatus employing intermediate heat-transfer medium or bodies
    • F28D15/02Heat-exchange apparatus with the intermediate heat-transfer medium in closed tubes passing into or through the conduit walls ; Heat-exchange apparatus employing intermediate heat-transfer medium or bodies in which the medium condenses and evaporates, e.g. heat pipes
    • F28D15/0233Heat-exchange apparatus with the intermediate heat-transfer medium in closed tubes passing into or through the conduit walls ; Heat-exchange apparatus employing intermediate heat-transfer medium or bodies in which the medium condenses and evaporates, e.g. heat pipes the conduits having a particular shape, e.g. non-circular cross-section, annular
    • FMECHANICAL ENGINEERING; LIGHTING; HEATING; WEAPONS; BLASTING
    • F28HEAT EXCHANGE IN GENERAL
    • F28DHEAT-EXCHANGE APPARATUS, NOT PROVIDED FOR IN ANOTHER SUBCLASS, IN WHICH THE HEAT-EXCHANGE MEDIA DO NOT COME INTO DIRECT CONTACT
    • F28D15/00Heat-exchange apparatus with the intermediate heat-transfer medium in closed tubes passing into or through the conduit walls ; Heat-exchange apparatus employing intermediate heat-transfer medium or bodies
    • F28D15/02Heat-exchange apparatus with the intermediate heat-transfer medium in closed tubes passing into or through the conduit walls ; Heat-exchange apparatus employing intermediate heat-transfer medium or bodies in which the medium condenses and evaporates, e.g. heat pipes
    • F28D15/0266Heat-exchange apparatus with the intermediate heat-transfer medium in closed tubes passing into or through the conduit walls ; Heat-exchange apparatus employing intermediate heat-transfer medium or bodies in which the medium condenses and evaporates, e.g. heat pipes with separate evaporating and condensing chambers connected by at least one conduit; Loop-type heat pipes; with multiple or common evaporating or condensing chambers
    • FMECHANICAL ENGINEERING; LIGHTING; HEATING; WEAPONS; BLASTING
    • F28HEAT EXCHANGE IN GENERAL
    • F28DHEAT-EXCHANGE APPARATUS, NOT PROVIDED FOR IN ANOTHER SUBCLASS, IN WHICH THE HEAT-EXCHANGE MEDIA DO NOT COME INTO DIRECT CONTACT
    • F28D15/00Heat-exchange apparatus with the intermediate heat-transfer medium in closed tubes passing into or through the conduit walls ; Heat-exchange apparatus employing intermediate heat-transfer medium or bodies
    • F28D15/02Heat-exchange apparatus with the intermediate heat-transfer medium in closed tubes passing into or through the conduit walls ; Heat-exchange apparatus employing intermediate heat-transfer medium or bodies in which the medium condenses and evaporates, e.g. heat pipes
    • F28D15/06Control arrangements therefor

Definitions

  • the present invention relates to a heat transport device used for cooling electronics equipment, for example.
  • FIG. 22 is a cross-sectional view of this kind of heat transport device disclosed in Japanese Laid-open Patent Publication No. H7-286788.
  • a pair of flat headers 100 are interconnected by small-diameter tubes 30 and a liquid is sealed inside the heat transport device, leaving a gas phase portion 101 at one end of a fluid channel 52 .
  • the fluid channel 52 is formed of fins 50 , 51 provided inside the headers 100 , and a capillary tube 70 equipped with a heating unit 80 , such as an electric heater, is connected to a particular part of one header 100 .
  • a power source 90 supplies a voltage of a pulse-shaped waveform to the heating unit 80 to heat the liquid inside the capillary tube 70 in a steplike fashion, eventually causing the liquid to bump.
  • the aforementioned conventional heat transport device has a problem that its heat transportation and heat radiating capacities are low. This is because the conventional heat transport device is of a type which dissipates heat by driving the liquid as a result of a small-scale oscillation of the liquid within the capillary tube 70 by means of a bubble lift pump.
  • the liquid used as a working fluid should preferably have properties suited to a bubble lift pump as well as good heat transfer and flow characteristics, it has so far been extremely difficult to satisfy all these requirements. In other words, there has been a problem that it is difficult to increase the amplitude of oscillation and reduce the period of oscillation of the working fluid for improving the performance of the bubble lift pump and to improve the heat transfer and flow characteristics of the working fluid.
  • the present invention is intended to overcome the aforementioned problems of the prior art. Accordingly, it is an object of the invention to provide a heat transport device featuring low acoustic noise performance and improved temperature controllability as well as high heat transportation and heat radiating capacities. It is another object of the invention to provide a heat transport device capable of offering improved performance as a bubble lift pump. It is a further object of the invention to provide a heat transport device using a working fluid having improved heat transfer and flow characteristics.
  • a heat transport device includes a container having a hollow structure in which a fluid channel is formed, at least one each thermal-receiver-type heat exchanger and thermal-radiator-type heat exchanger arranged side by side on an outer wall of the container along the fluid channel, and driving heat exchangers provided at both terminal portions of the container.
  • both ends of the fluid channel are closed to prevent intrusion of external air, and a liquid and gas are sealed in the fluid channel.
  • the driving heat exchangers cause the liquid to oscillate in the container along its fluid channel.
  • the heat transport device offers low acoustic noise performance and improved temperature controllability as well as an enhanced heat transport efficiency.
  • FIGS. 1 A- 1 B are sectional diagrams showing the construction of a heat transport device according to a first embodiment of the invention
  • FIG. 2 is a sectional diagram showing the construction of a heat transport device according to a third embodiment of the invention.
  • FIG. 3 is a sectional diagram showing the construction of a heat transport device according to a fourth embodiment of the invention.
  • FIG. 4 is a sectional diagram showing the construction of a heat transport device according to a variation of the fourth embodiment of the invention.
  • FIG. 5 is a sectional diagram showing the construction of a heat transport device according to another variation of the fourth embodiment of the invention.
  • FIG. 6 is a sectional diagram showing the construction of a heat transport device according to a fifth embodiment of the invention.
  • FIG. 7 is a sectional diagram showing the construction of a heat transport device according to a sixth embodiment of the invention.
  • FIGS. 8 A- 8 B are sectional diagrams showing the construction of a heat transport device according to a variation of the sixth embodiment of the invention.
  • FIGS. 9 A- 9 D are fragmentary sectional diagrams showing the construction of a heat transport device according to a seventh embodiment of the invention.
  • FIGS. 10 A- 10 B are fragmentary sectional diagrams showing the construction of a heat transport device according to an eighth embodiment of the invention.
  • FIGS. 11 A- 11 B are fragmentary sectional diagrams showing the construction of a heat transport device according to a ninth embodiment of the invention.
  • FIG. 12 is a sectional diagram showing the construction of a heat transport device according to a tenth embodiment of the invention.
  • FIG. 13 is a sectional diagram showing the construction of a heat transport device according to a variation of the tenth embodiment of the invention.
  • FIG. 14 is a sectional diagram showing the construction of a heat transport device according to an eleventh embodiment of the invention.
  • FIG. 15 is a sectional diagram showing the construction of a heat transport device according to a twelfth embodiment of the invention.
  • FIG. 16 is a sectional diagram showing the construction of a heat transport device according to a variation of the twelfth embodiment of the invention.
  • FIGS. 17 A- 17 B are sectional diagrams showing the construction of a heat transport device according to another variation of the twelfth embodiment of the invention.
  • FIG. 18 is a sectional diagram showing the construction of a heat transport device according to still another variation of the twelfth embodiment of the invention.
  • FIGS. 19 A- 19 B are sectional diagrams showing the construction of a heat transport device according to a thirteenth embodiment of the invention.
  • FIGS. 20 A- 20 B are sectional diagrams showing the construction of a heat transport device according to a variation of the thirteenth embodiment of the invention.
  • FIGS. 21 A- 21 B are sectional diagrams showing the construction of a heat transport device according to a fourteenth embodiment of the invention.
  • FIG. 22 is a sectional diagram showing the construction of a conventional heat transport device.
  • FIGS. 1 A- 1 B are sectional diagrams showing the construction of a heat transport device according to a first embodiment of the invention, in which the numeral 1 designates a container, the numeral 2 designates thermal-receiver-type heat exchangers, the numeral 3 designates thermal-radiator-type heat exchangers, the numeral 4 designates driving heat exchangers, the numeral 5 designates a liquid, and the numeral 6 designates gas.
  • the interior of the container 1 serves as a fluid channel in which the liquid 5 and the gas 6 can move.
  • the thermal-receiver-type heat exchangers 2 are heat generating portions of an electronic apparatus or its heat radiating portions for releasing heat of the heat generating portions, for example.
  • the thermal-radiator-type heat exchangers 3 are heat receiving portions of external heat transport means or its heat radiating walls which release heat by natural or forced convection, heat conduction or radiation.
  • the thermal-radiator-type heat exchangers 3 may be formed of portions of the container 1 exposed directly to the exterior (e.g., surrounding atmosphere, water or outer space) such that heat is directly dissipated by natural or forced convection or radiation. In this case, fins or the like may be fitted to the exposed portions of the surface of the container 1 .
  • the driving heat exchangers 4 may be heat exchangers like electric heaters which are provided at both terminal portions of the container 1 and can be heated periodically or such a heat source as sunlight of which amount of input heat varies with time.
  • the heat transport device is cyclically heated and cooled at particular intervals. More specifically, a surface of the heat transport device upon which sunlight is incident is heated, while the opposite surface is cooled. This regularly recurring heating and cooling cycle may be used to constitute the driving heat exchangers 4 .
  • the liquid 5 may be a liquid of a single substance, such as distilled water or ethyl alcohol, a mixture of two or more single-substance liquids. In either case, the liquid 5 is a liquid which can undergo phase changes.
  • the gas 6 is a vapor of the liquid 5 , although the gas 6 may contain a small amount of gas other than the vapor of the liquid 5 .
  • the liquid 5 in the container 1 close to the thermal-receiver-type heat exchangers 2 receives heat and becomes warmer, producing high-temperature liquid masses, whereas the liquid 5 in the container 1 close to the thermal-radiator-type heat exchangers 3 releases heat and becomes cooler, producing low-temperature liquid masses.
  • the left-hand driving heat exchanger 4 is once heated and cooled as shown in FIG. 1A, and after a specific period of time has passed, the right-hand driving heat exchanger 4 is heated and cooled as shown in FIG. 1B, where the duration to complete this sequence is referred to as one cycle or period.
  • the two terminal portions of the container 1 are alternately heated by the respective driving heat exchangers 4 in this fashion, vapor develops due to boiling, builds up due to continued boiling or evaporation, and shrinks due to condensation at the left and right ends of the interior of the container 1 with a time delay equal to a half-cycle duration, causing the high-temperature and low-temperature liquid masses formed in a middle part of the container 1 to move left and right as if in oscillating motion.
  • the high-temperature liquid masses move to the locations of the individual thermal-radiator-type heat exchangers 3 , where heat of the high-temperature liquid masses is released, producing low-temperature liquid masses.
  • the low-temperature liquid masses move to the locations of the individual thermal-receiver-type heat exchangers 2 , where the liquid masses receive heat and turn into high-temperature liquid masses.
  • the heat transport device of the present embodiment is constructed in such a manner that the left and right ends of the container 1 are alternately heated at regular intervals by the driving heat exchangers 4 provided at both terminal portions of the container 1 .
  • the liquid 5 is caused to periodically oscillate left and right to and from the locations of the thermal-receiver-type heat exchangers 2 and the thermal-radiator-type heat exchangers 3 , so that heat is transported from the thermal-receiver-type heat exchangers 2 to the thermal-radiator-type heat exchangers 3 .
  • this construction it is possible to easily increase the amplitude of oscillation and reduce the period of oscillation of the liquid 5 by varying the amount of heat input and the interval of heating cycles. This makes it possible to improve heat transport efficiency and control the temperature of the liquid 5 at the locations of the individual thermal-receiver-type heat exchangers 2 .
  • the heat transport device of the embodiment has no moving parts unlike a pump, it provides enhanced durability and reliability and can be made compact and lightweight.
  • the heat transport device does not use gravity and is not easily affected by the effect of gravity due to its construction. Therefore, the heat transport device can be used in the microgravity or zero-gravity environment of space as well as under high-gravity conditions.
  • the internal volume V1 of a portion of the container 1 where each driving heat exchanger 4 is provided be equal to or larger than the internal volume V2 of that portion of the container 1 which is bounded by the center of each thermal-receiver-type heat exchanger 2 and the center of its adjacent thermal-radiator-type heat exchanger 3 . It is also preferable that the total volume V3 of the liquid 5 be approximately equal to a value obtained by subtracting the volume V1 from the total internal volume V of the container 1 .
  • the liquid 5 can be caused to oscillate with a large amplitude.
  • masses of the liquid 5 move between multiple pairs of the thermal-receiver-type heat exchangers 2 and the thermal-radiator-type heat exchangers 3 , so that heat is transported from the thermal-receiver-type heat exchangers 2 to the thermal-radiator-type heat exchangers 3 with a higher efficiency.
  • FIG. 2 is a sectional diagram showing the construction of a heat transport device according to a third embodiment of the invention, in which elements identical or similar to those depicted in FIGS. 1 A- 1 B are designated by the same reference numerals. What is characteristic of the third embodiment is that it employs a combination of a low-boiling liquid 7 and a high-boiling liquid 8 separated from each other.
  • the low-boiling liquid 7 should be a liquid which shows a large volumetric change with a small amount of heat input.
  • it should be a liquid having a large amount of latent heat and a large difference in density between the liquid and vapor phases.
  • the high-boiling liquid 8 should be a liquid which has a higher boiling point than the low-boiling liquid 7 , high fluidity and good heat transportation performance.
  • it should be a liquid having a small viscosity coefficient, a large heat capacity and a high thermal conductivity.
  • Fluorinert which is a trademark of a product of Sumitomo 3M Ltd. expressed by the chemical formula C 6 F 14
  • Freon HFC134a may be used as the low-boiling liquid 7 while water may be used as the high-boiling liquid 8 , for example.
  • FIGS. 3 - 5 are sectional diagrams showing the construction of a heat transport device according to a fourth embodiment of the invention and variations thereof, in which elements identical or similar to those depicted in FIGS. 1 A- 1 B are designated by the same reference numerals.
  • the fourth embodiment employs a double pipe structure having outer pipes connected to the container 1 as shown in FIG. 3, a double pipe structure in which both terminal portions of the container 1 are folded back as shown in FIG. 4, or a double pipe structure in which both terminal portions of the container 1 are connected to separate vessels as shown in FIG. 5.
  • heat is exchanged between the liquid 5 and the gas 6 through an outer wall of the container 1 when the liquid 5 has returned to either of the terminal portions of the container 1 where the driving heat exchangers 4 are provided.
  • the gas 6 is cooled and condensed, causing a drop in internal pressure and producing a great liquid driving pressure.
  • FIG. 6 is a sectional diagram showing the construction of a heat transport device according to a fifth embodiment of the invention, in which elements identical or similar to those depicted in FIGS. 1 A- 1 B are designated by the same reference numerals.
  • the construction of this embodiment is characterized in that porous elements 9 formed of a porous material or having grooves which produce capillary action are fitted inside the terminal portions of the container 1 where the driving heat exchangers 4 are provided.
  • the porous elements 9 serve to release the gas 6 by evaporating the liquid 5 and thereby maintain a driving force for moving the liquid 5 for an extended period of time, making it possible to increase the distance of oscillation-assisted movement of the liquid 5 .
  • pores (or grooves) in the porous elements 9 act just like nuclei for producing the gas (vapor bubbles) 6 , so that the gas 6 can easily develop and, as a consequence, it becomes possible to reduce the period of oscillation of the liquid 5 .
  • FIG. 7 is a sectional diagram showing the construction of a heat transport device according to a sixth embodiment of the invention, in which elements identical or similar to those depicted in FIGS. 1 A- 1 B are designated by the same reference numerals.
  • the construction of this embodiment is characterized in that there are provided turbulence accelerators 10 in the container 1 at its portions where the thermal-receiver-type heat exchangers 2 and the thermal-radiator-type heat exchangers 3 are provided.
  • the turbulence accelerators 10 produce turbulences in the liquid 5 as it oscillates left and right. This construction makes it possible to considerably enhance the heat transfer performance of the heat transport device without causing a substantial increase in pressure loss within a fluid channel in the whole container 1 .
  • FIG. 7 The construction of the heat transport device of FIG. 7 may be modified by replacing the turbulence accelerators 10 with microchannel chips 11 as shown in FIGS. 8 A- 8 B, of which FIG. 8B is a sectional view of the microchannel chip 11 taken along lines A-A of FIG. 8A.
  • the microchannel chip 11 is formed of multiple straight fins, pin fins, a porous material or foam metal, and has a number of narrow flow paths. This variation of the embodiment offers the same advantageous effect as the construction of FIG. 7.
  • FIGS. 9 A- 9 D are fragmentary sectional diagrams showing the construction of a heat transport device according to a seventh embodiment of the invention, in which elements identical or similar to those depicted in FIGS. 1 A- 1 B are designated by the same reference numerals.
  • a hole 13 is formed in an inside wall surface 12 of the container 1 and a plug-like insert 14 is fitted in the hole 13 in such a fashion that a hollow space is formed at the bottom of the hole 13 as shown in FIG. 9A.
  • the gas 6 is formed at the bottom of the hole 13 in a stable fashion, so that a vapor bubble 15 easily develops from between the inside wall surface 12 and the insert 14 . Since the space between the insert 14 and the bottom of the hole 13 serves as a nucleus for bubble formation and the vapor bubble 15 produced therefrom stirs up the liquid 5 adjacent to the inside wall surface 12 , heat transfer efficiency is increased close to the inside wall surface 12 . In addition, it is possible to controllably select the position where the vapor bubble 15 is produced by providing the hole 13 and the insert 14 at a desired location.
  • one or more grooves should be formed along a side surface of the insert 14 to connect the hollow space at the bottom of the hole 13 to the liquid 5 lying in contact with the inside wall surface 12 as illustrated in FIGS. 9 B- 9 D.
  • the heat transfer efficiency can be further improved by forming more than one such hole 13 fitted with the insert 14 in the inside wall surface 12 .
  • FIGS. 10 A- 10 B are fragmentary sectional diagrams showing the construction of a heat transport device according to an eighth embodiment of the invention, FIG. 10B being an enlarged view of a portion A shown in FIG. 10A.
  • elements identical or similar to those depicted in FIGS. 1 A- 1 B are designated by the same reference numerals.
  • the construction of this embodiment is characterized in that there is formed a cavity 16 in a bottom surface of the insert 14 itself as shown in FIG. 10A.
  • angle ⁇ formed by surfaces of the hole 13 and the insert 14 increases when the cavity 16 is formed in the bottom surface of the insert 14 .
  • FIGS. 11 A- 11 B are sectional diagrams showing the construction of a heat transport device according to a ninth embodiment of the invention, FIG. 11B being an enlarged view of a portion A shown in FIG. 11A.
  • elements identical or similar to those depicted in FIGS. 1 A- 1 B are designated by the same reference numerals.
  • a hole 13 fitted with an insert 14 having the same structure as that of the seventh or eighth embodiment is provided at least at one terminal portion of the inside wall surface 12 of the container 1 where the driving heat exchanger 4 is provided.
  • a vapor bubble 15 develops more easily from the inside wall surface 12 of the container 1 at its terminal portion where the driving heat exchanger 4 is provided, making it possible to reduce the period of oscillation of the liquid 5 .
  • the hole 13 fitted with the insert 14 is provided at the terminal portion of the container 1 , the vapor bubble 15 develops from that portion of the container 1 . This makes it possible to increase the distance of movement of the liquid 5 and further enhance the heat transfer performance of the heat transport device.
  • the gas 6 can stay at the bottom of the hole 13 in a more stable fashion and the vapor bubble 15 can develop more easily.
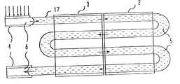
  • FIGS. 12 - 13 are sectional diagrams showing the construction of a heat transport device according to a tenth embodiment of the invention and a variation thereof, in which elements identical or similar to those depicted in FIGS. 1 A- 1 B are designated by the same reference numerals.
  • the tenth embodiment is characterized in that it employs a meandering pipe 17 instead of the container 1 of the foregoing embodiments.
  • thermal-receiver-type heat exchanger 2 and a thermal-radiator-type heat exchanger 3 are flat-shaped as shown in FIG. 13, the overall surface area of heat exchange increases, offering a higher efficiency of heat exchange.
  • FIG. 14 is a sectional diagram showing the construction of a heat transport device according to an eleventh embodiment of the invention, in which elements identical or similar to those depicted in FIGS. 1 A- 1 B are designated by the same reference numerals.
  • the construction of this embodiment is characterized in that both terminal portions of a meandering pipe 17 are joined to each other with a Peltier element 18 placed in between, the Peltier element 18 serving as a driving heat exchanger.
  • the direction of an electric current flowing through the Peltier element 18 is periodically reversed so that one end of the meandering pipe 17 is heated while the other end of the meandering pipe 17 is cooled, and vice versa, causing the liquid 5 in the meandering pipe 17 to oscillate.
  • FIG. 15 is a sectional diagram showing the construction of a heat transport device according to a twelfth embodiment of the invention, in which elements identical or similar to those depicted in FIGS. 1 A- 1 B are designated by the same reference numerals.
  • the construction of this embodiment is characterized in that a meandering pipe 17 is structured such that heat is properly transferred between adjacent portions of the wall of the meandering pipe 17 .
  • the adjacent portions of the wall of the meandering pipe 17 are in mutual contact and joined together by welding, brazing or adhesive bonding.
  • a meandering groove is formed in a flat plate and a meandering fluid channel 19 is fitted in the meandering groove, forming a single structure with the flat plate. Since adjacent portions of the wall of the meandering fluid channel 19 are joined to each other by the flat plate, heat is properly transferred between them.
  • a meandering pipe 17 may be molded by a material having a high thermal conductivity such that adjacent portions of the wall of the meandering pipe 17 are united into a single structure and heat is properly transferred between those portions.
  • a meandering fluid channel 19 is formed by making contiguous inner walls in a container. Since adjacent portions of the meandering fluid channel 19 are separated by the contiguous inner walls but formed in a single structure, heat is properly transferred between those portions.
  • the aforementioned constructions of this embodiment provide an improved efficiency of heat exchange between a thermal-receiver-type heat exchanger 2 and a thermal-radiator-type heat exchanger 3 as heat is not only transported by oscillation of the liquid 5 but dissipated between the adjacent portions of the meandering pipe 17 or of the meandering fluid channel 19 .
  • FIGS. 16 and 17 A- 17 B provide flat-shaped heat transport devices which can be easily bent or otherwise deformed. If there is an obstacle in a heat radiating area where the thermal-radiator-type heat exchanger 3 should be situated, the heat transport device may be formed in an odd shape as illustrated in FIG. 18.
  • the thermal-radiator-type heat exchanger 3 is formed of multiple fins 20 attached to radiating portions of a meandering fluid channel 19 to effectively use their two opposite surfaces.
  • FIGS. 19 A- 19 B, 20 A- 20 B are sectional diagrams showing the construction of a heat transport device according to a thirteenth embodiment of the invention and a variation thereof, in which elements identical or similar to those depicted in FIGS. 1 A- 1 B are designated by the same reference numerals.
  • the heat transport device of this embodiment has a meandering fluid channel 19 similar to that of the twelfth embodiment, but there are formed bypass holes 21 in inner walls separating adjacent portions of the meandering fluid channel 19 .
  • the embodiment makes it possible to dissipate heat more positively.
  • FIG. 21A is a sectional plan view showing the construction of a heat transport device according to a fourteenth embodiment of the invention and FIG. 21B is a horizontal sectional view taken along lines C-C of FIG. 21A.
  • elements identical or similar to those depicted in FIGS. 1 A- 1 B are designated by the same reference numerals.
  • the construction of this embodiment is characterized in that multiple layers of meandering fluid channels 19 are stacked one on top of another in a manner that the flow direction of the liquid 5 , in one layer is the same as, opposite to, or perpendicular to the flow direction of the liquid 5 in another layer.
  • This embodiment helps achieve a higher heat transfer efficiency as heat is dissipated in two- or three-dimensional form.

Landscapes

  • Engineering & Computer Science (AREA)
  • Life Sciences & Earth Sciences (AREA)
  • Sustainable Development (AREA)
  • Physics & Mathematics (AREA)
  • Thermal Sciences (AREA)
  • Mechanical Engineering (AREA)
  • General Engineering & Computer Science (AREA)

Abstract

A heat transport device includes a container having a hollow structure in which a fluid channel is formed, at least one each thermal-receiver-type heat exchanger and thermal-radiator-type heat exchanger arranged side by side on an outer wall of the container along the fluid channel, and driving heat exchangers provided at both terminal portions of the container. In this heat transport device, both ends of the fluid channel are closed to prevent intrusion of external air, and a liquid and gas are sealed in the fluid channel. The driving heat exchangers cause the liquid to oscillate in the container along its fluid channel. The heat transport device provides low acoustic noise performance and improved temperature controllability, high heat transportation and heat radiating capacities, as well as improved heat transfer and fluid flow characteristics.

Description

    BACKGROUND OF THE INVENTION
  • 1. Field of the Invention [0001]
  • The present invention relates to a heat transport device used for cooling electronics equipment, for example. [0002]
  • 2. Description of the Background Art [0003]
  • To meet the requirements for reliability, lightweight design and low acoustic noise performance, a heat pipe having no moving parts unlike pumps has conventionally been used as a heat transport device for cooling electronics equipment, for example. It has however become difficult in recent years to cool electronic and other types of equipment by using heat pipes as a-result of a rapid increase in the amount of heat radiated from the equipment. [0004]
  • In addition, as it is fairly difficult to control the temperature with a heat pipe, there has been a pending need for a heat transport device which allows easy temperature control. [0005]
  • Under these circumstances, a new heat transport device was developed taking into consideration low acoustic noise performance and good temperature controllability. FIG. 22 is a cross-sectional view of this kind of heat transport device disclosed in Japanese Laid-open Patent Publication No. H7-286788. [0006]
  • In the heat transport device shown in FIG. 22, a pair of [0007] flat headers 100 are interconnected by small-diameter tubes 30 and a liquid is sealed inside the heat transport device, leaving a gas phase portion 101 at one end of a fluid channel 52. The fluid channel 52 is formed of fins 50, 51 provided inside the headers 100, and a capillary tube 70 equipped with a heating unit 80, such as an electric heater, is connected to a particular part of one header 100. In this heat transport device, a power source 90 supplies a voltage of a pulse-shaped waveform to the heating unit 80 to heat the liquid inside the capillary tube 70 in a steplike fashion, eventually causing the liquid to bump. This produces the effect of a so-called bubble lift pump, in which the liquid is driven by a rapid pressure increase as a result of evaporation at one end of the fluid channel 52, while volumetric changes are absorbed by the gas phase portion 101 at the other end of the fluid channel 52.
  • The aforementioned conventional heat transport device has a problem that its heat transportation and heat radiating capacities are low. This is because the conventional heat transport device is of a type which dissipates heat by driving the liquid as a result of a small-scale oscillation of the liquid within the capillary tube [0008] 70 by means of a bubble lift pump.
  • Although the liquid used as a working fluid should preferably have properties suited to a bubble lift pump as well as good heat transfer and flow characteristics, it has so far been extremely difficult to satisfy all these requirements. In other words, there has been a problem that it is difficult to increase the amplitude of oscillation and reduce the period of oscillation of the working fluid for improving the performance of the bubble lift pump and to improve the heat transfer and flow characteristics of the working fluid. [0009]
  • SUMMARY OF THE INVENTION
  • The present invention is intended to overcome the aforementioned problems of the prior art. Accordingly, it is an object of the invention to provide a heat transport device featuring low acoustic noise performance and improved temperature controllability as well as high heat transportation and heat radiating capacities. It is another object of the invention to provide a heat transport device capable of offering improved performance as a bubble lift pump. It is a further object of the invention to provide a heat transport device using a working fluid having improved heat transfer and flow characteristics. [0010]
  • According to the invention, a heat transport device includes a container having a hollow structure in which a fluid channel is formed, at least one each thermal-receiver-type heat exchanger and thermal-radiator-type heat exchanger arranged side by side on an outer wall of the container along the fluid channel, and driving heat exchangers provided at both terminal portions of the container. In this heat transport device, both ends of the fluid channel are closed to prevent intrusion of external air, and a liquid and gas are sealed in the fluid channel. The driving heat exchangers,cause the liquid to oscillate in the container along its fluid channel. [0011]
  • Since the driving heat exchangers provided at both terminal portions of the container cause the liquid to oscillate along the fluid channel, the heat transport device offers low acoustic noise performance and improved temperature controllability as well as an enhanced heat transport efficiency. [0012]
  • These and other objects, features and advantages of the invention will become more apparent upon reading the following detailed description along with the accompanying drawings. [0013]
  • BRIEF DESCRIPTION OF THE DRAWINGS
  • FIGS. [0014] 1A-1B are sectional diagrams showing the construction of a heat transport device according to a first embodiment of the invention;
  • FIG. 2 is a sectional diagram showing the construction of a heat transport device according to a third embodiment of the invention; [0015]
  • FIG. 3 is a sectional diagram showing the construction of a heat transport device according to a fourth embodiment of the invention; [0016]
  • FIG. 4 is a sectional diagram showing the construction of a heat transport device according to a variation of the fourth embodiment of the invention; [0017]
  • FIG. 5 is a sectional diagram showing the construction of a heat transport device according to another variation of the fourth embodiment of the invention; [0018]
  • FIG. 6 is a sectional diagram showing the construction of a heat transport device according to a fifth embodiment of the invention; [0019]
  • FIG. 7 is a sectional diagram showing the construction of a heat transport device according to a sixth embodiment of the invention; [0020]
  • FIGS. [0021] 8A-8B are sectional diagrams showing the construction of a heat transport device according to a variation of the sixth embodiment of the invention;
  • FIGS. [0022] 9A-9D are fragmentary sectional diagrams showing the construction of a heat transport device according to a seventh embodiment of the invention;
  • FIGS. [0023] 10A-10B are fragmentary sectional diagrams showing the construction of a heat transport device according to an eighth embodiment of the invention;
  • FIGS. [0024] 11A-11B are fragmentary sectional diagrams showing the construction of a heat transport device according to a ninth embodiment of the invention;
  • FIG. 12 is a sectional diagram showing the construction of a heat transport device according to a tenth embodiment of the invention; [0025]
  • FIG. 13 is a sectional diagram showing the construction of a heat transport device according to a variation of the tenth embodiment of the invention; [0026]
  • FIG. 14 is a sectional diagram showing the construction of a heat transport device according to an eleventh embodiment of the invention; [0027]
  • FIG. 15 is a sectional diagram showing the construction of a heat transport device according to a twelfth embodiment of the invention; [0028]
  • FIG. 16 is a sectional diagram showing the construction of a heat transport device according to a variation of the twelfth embodiment of the invention; [0029]
  • FIGS. [0030] 17A-17B are sectional diagrams showing the construction of a heat transport device according to another variation of the twelfth embodiment of the invention;
  • FIG. 18 is a sectional diagram showing the construction of a heat transport device according to still another variation of the twelfth embodiment of the invention; [0031]
  • FIGS. [0032] 19A-19B are sectional diagrams showing the construction of a heat transport device according to a thirteenth embodiment of the invention;
  • FIGS. [0033] 20A-20B are sectional diagrams showing the construction of a heat transport device according to a variation of the thirteenth embodiment of the invention;
  • FIGS. [0034] 21A-21B are sectional diagrams showing the construction of a heat transport device according to a fourteenth embodiment of the invention; and
  • FIG. 22 is a sectional diagram showing the construction of a conventional heat transport device.[0035]
  • DESCRIPTION OF THE PREFERRED EMBODIMENTS
  • Specific embodiments of the invention are now described with reference to the appended drawings. [0036]
  • First Embodiment
  • FIGS. [0037] 1A-1B are sectional diagrams showing the construction of a heat transport device according to a first embodiment of the invention, in which the numeral 1 designates a container, the numeral 2 designates thermal-receiver-type heat exchangers, the numeral 3 designates thermal-radiator-type heat exchangers, the numeral 4 designates driving heat exchangers, the numeral 5 designates a liquid, and the numeral 6 designates gas.
  • As shown in FIGS. [0038] 1A-1B, appropriate quantities of the liquid 5 and the gas 6 are sealed in the container 1 and one each or more thermal-receiver-type heat exchangers 2 and thermal-radiator-type heat exchangers 3 are alternately arranged side by side on an outer wall of the container 1 along its length, with the driving heat exchangers 4 provided at both terminal portions of the container 1.
  • The interior of the [0039] container 1 serves as a fluid channel in which the liquid 5 and the gas 6 can move. The thermal-receiver-type heat exchangers 2 are heat generating portions of an electronic apparatus or its heat radiating portions for releasing heat of the heat generating portions, for example. The thermal-radiator-type heat exchangers 3 are heat receiving portions of external heat transport means or its heat radiating walls which release heat by natural or forced convection, heat conduction or radiation. The thermal-radiator-type heat exchangers 3 may be formed of portions of the container 1 exposed directly to the exterior (e.g., surrounding atmosphere, water or outer space) such that heat is directly dissipated by natural or forced convection or radiation. In this case, fins or the like may be fitted to the exposed portions of the surface of the container 1.
  • The driving [0040] heat exchangers 4 may be heat exchangers like electric heaters which are provided at both terminal portions of the container 1 and can be heated periodically or such a heat source as sunlight of which amount of input heat varies with time. In a case where the heat transport device is installed on an apparatus like an artificial satellite orbiting the earth, for example, the heat transport device is cyclically heated and cooled at particular intervals. More specifically, a surface of the heat transport device upon which sunlight is incident is heated, while the opposite surface is cooled. This regularly recurring heating and cooling cycle may be used to constitute the driving heat exchangers 4.
  • The [0041] liquid 5 may be a liquid of a single substance, such as distilled water or ethyl alcohol, a mixture of two or more single-substance liquids. In either case, the liquid 5 is a liquid which can undergo phase changes. The gas 6 is a vapor of the liquid 5, although the gas 6 may contain a small amount of gas other than the vapor of the liquid 5.
  • In the heat transport device constructed as shown in FIGS. [0042] 1A-1B, the liquid 5 in the container 1 close to the thermal-receiver-type heat exchangers 2 receives heat and becomes warmer, producing high-temperature liquid masses, whereas the liquid 5 in the container 1 close to the thermal-radiator-type heat exchangers 3 releases heat and becomes cooler, producing low-temperature liquid masses. Let us assume that the left-hand driving heat exchanger 4 is once heated and cooled as shown in FIG. 1A, and after a specific period of time has passed, the right-hand driving heat exchanger 4 is heated and cooled as shown in FIG. 1B, where the duration to complete this sequence is referred to as one cycle or period. If the two terminal portions of the container 1 are alternately heated by the respective driving heat exchangers 4 in this fashion, vapor develops due to boiling, builds up due to continued boiling or evaporation, and shrinks due to condensation at the left and right ends of the interior of the container 1 with a time delay equal to a half-cycle duration, causing the high-temperature and low-temperature liquid masses formed in a middle part of the container 1 to move left and right as if in oscillating motion. As a result of this oscillating motion, the high-temperature liquid masses move to the locations of the individual thermal-radiator-type heat exchangers 3, where heat of the high-temperature liquid masses is released, producing low-temperature liquid masses. On the other hand, the low-temperature liquid masses move to the locations of the individual thermal-receiver-type heat exchangers 2, where the liquid masses receive heat and turn into high-temperature liquid masses.
  • As discussed above, the heat transport device of the present embodiment is constructed in such a manner that the left and right ends of the [0043] container 1 are alternately heated at regular intervals by the driving heat exchangers 4 provided at both terminal portions of the container 1. As a result, the liquid 5 is caused to periodically oscillate left and right to and from the locations of the thermal-receiver-type heat exchangers 2 and the thermal-radiator-type heat exchangers 3, so that heat is transported from the thermal-receiver-type heat exchangers 2 to the thermal-radiator-type heat exchangers 3. According to this construction, it is possible to easily increase the amplitude of oscillation and reduce the period of oscillation of the liquid 5 by varying the amount of heat input and the interval of heating cycles. This makes it possible to improve heat transport efficiency and control the temperature of the liquid 5 at the locations of the individual thermal-receiver-type heat exchangers 2.
  • Since the heat transport device of the embodiment has no moving parts unlike a pump, it provides enhanced durability and reliability and can be made compact and lightweight. [0044]
  • Furthermore, unlike a heat pipe which utilizes gravity, the heat transport device does not use gravity and is not easily affected by the effect of gravity due to its construction. Therefore, the heat transport device can be used in the microgravity or zero-gravity environment of space as well as under high-gravity conditions. [0045]
  • Second Embodiment
  • In the heat transport device of FIGS. [0046] 1A-1B, it is preferable that the internal volume V1 of a portion of the container 1 where each driving heat exchanger 4 is provided be equal to or larger than the internal volume V2 of that portion of the container 1 which is bounded by the center of each thermal-receiver-type heat exchanger 2 and the center of its adjacent thermal-radiator-type heat exchanger 3. It is also preferable that the total volume V3 of the liquid 5 be approximately equal to a value obtained by subtracting the volume V1 from the total internal volume V of the container 1.
  • If the heat transport device is designed such that the internal volumes V1, V2 and the volume V3 satisfy the relationships V1≧V2 and V3≈V˜V1, the [0047] liquid 5 can be caused to oscillate with a large amplitude. When a larger oscillation of the liquid 5 is produced in this fashion, masses of the liquid 5 move between multiple pairs of the thermal-receiver-type heat exchangers 2 and the thermal-radiator-type heat exchangers 3, so that heat is transported from the thermal-receiver-type heat exchangers 2 to the thermal-radiator-type heat exchangers 3 with a higher efficiency.
  • Third Embodiment
  • FIG. 2 is a sectional diagram showing the construction of a heat transport device according to a third embodiment of the invention, in which elements identical or similar to those depicted in FIGS. [0048] 1A-1B are designated by the same reference numerals. What is characteristic of the third embodiment is that it employs a combination of a low-boiling liquid 7 and a high-boiling liquid 8 separated from each other.
  • The low-boiling [0049] liquid 7 should be a liquid which shows a large volumetric change with a small amount of heat input. For example, it should be a liquid having a large amount of latent heat and a large difference in density between the liquid and vapor phases. On the other hand, the high-boiling liquid 8 should be a liquid which has a higher boiling point than the low-boiling liquid 7, high fluidity and good heat transportation performance. For example, it should be a liquid having a small viscosity coefficient, a large heat capacity and a high thermal conductivity. Specifically, Fluorinert (which is a trademark of a product of Sumitomo 3M Ltd. expressed by the chemical formula C6F14) or Freon HFC134a may be used as the low-boiling liquid 7 while water may be used as the high-boiling liquid 8, for example.
  • By using the combination of the low-boiling [0050] liquid 7 and the high-boiling liquid 8 separated from each other, it is possible to cause a large oscillation of the high-boiling liquid 8 with a small amount of energy consumption by the driving heat exchangers 4 (resulting in a high coefficient of performance) and reduce the period of oscillation.
  • Even if the amount of heat input through the thermal-receiver-[0051] type heat exchangers 2 is large and the temperature of liquid masses close to the thermal-receiver-type heat exchangers 2 increases, vapor develops, builds up and condenses in a stable manner at the locations of the driving heat exchangers 4, because the low-boiling liquid 7 is present at both terminal portions of the container 1. Consequently, it is possible to cause the high-boiling liquid 8 to oscillate and transport heat in a stable manner. Accordingly, the present embodiment helps increase the amount of maximum transportable heat.
  • Fourth Embodiment
  • FIGS. [0052] 3-5 are sectional diagrams showing the construction of a heat transport device according to a fourth embodiment of the invention and variations thereof, in which elements identical or similar to those depicted in FIGS. 1A-1B are designated by the same reference numerals. The fourth embodiment employs a double pipe structure having outer pipes connected to the container 1 as shown in FIG. 3, a double pipe structure in which both terminal portions of the container 1 are folded back as shown in FIG. 4, or a double pipe structure in which both terminal portions of the container 1 are connected to separate vessels as shown in FIG. 5.
  • According to the fourth embodiment, heat is exchanged between the liquid [0053] 5 and the gas 6 through an outer wall of the container 1 when the liquid 5 has returned to either of the terminal portions of the container 1 where the driving heat exchangers 4 are provided. The gas 6 is cooled and condensed, causing a drop in internal pressure and producing a great liquid driving pressure. With the double pipe structures of FIGS. 3-5, it is possible to cause the liquid 5 to oscillate at shorter recurring cycles and transport heat from the thermal-receiver-type heat exchangers 2 to the thermal-radiator-type heat exchangers 3 with a higher efficiency.
  • Fifth Embodiment
  • FIG. 6 is a sectional diagram showing the construction of a heat transport device according to a fifth embodiment of the invention, in which elements identical or similar to those depicted in FIGS. [0054] 1A-1B are designated by the same reference numerals. The construction of this embodiment is characterized in that porous elements 9 formed of a porous material or having grooves which produce capillary action are fitted inside the terminal portions of the container 1 where the driving heat exchangers 4 are provided.
  • With the provision of the [0055] porous elements 9 at the terminal portions of the container 1 where the driving heat exchangers 4 are provided, it is possible to supplement the amount of the liquid 5 consumed by evaporation or boiling with the aid of the capillary action. Furthermore, since inside wall surfaces of the container 1 at its terminal portions can easily retain the liquid 5, they become less likely to dry out. It is therefore possible to use high heat flux heat exchangers as the driving heat exchangers 4.
  • Furthermore, the [0056] porous elements 9 serve to release the gas 6 by evaporating the liquid 5 and thereby maintain a driving force for moving the liquid 5 for an extended period of time, making it possible to increase the distance of oscillation-assisted movement of the liquid 5.
  • In addition, pores (or grooves) in the [0057] porous elements 9 act just like nuclei for producing the gas (vapor bubbles) 6, so that the gas 6 can easily develop and, as a consequence, it becomes possible to reduce the period of oscillation of the liquid 5.
  • Sixth Embodiment
  • FIG. 7 is a sectional diagram showing the construction of a heat transport device according to a sixth embodiment of the invention, in which elements identical or similar to those depicted in FIGS. [0058] 1A-1B are designated by the same reference numerals. The construction of this embodiment is characterized in that there are provided turbulence accelerators 10 in the container 1 at its portions where the thermal-receiver-type heat exchangers 2 and the thermal-radiator-type heat exchangers 3 are provided.
  • Located at the portions of the [0059] container 1 where the thermal-receiver-type heat exchangers 2 and the thermal-radiator-type heat exchangers 3 are provided, the turbulence accelerators 10 produce turbulences in the liquid 5 as it oscillates left and right. This construction makes it possible to considerably enhance the heat transfer performance of the heat transport device without causing a substantial increase in pressure loss within a fluid channel in the whole container 1.
  • The construction of the heat transport device of FIG. 7 may be modified by replacing the [0060] turbulence accelerators 10 with microchannel chips 11 as shown in FIGS. 8A-8B, of which FIG. 8B is a sectional view of the microchannel chip 11 taken along lines A-A of FIG. 8A. The microchannel chip 11 is formed of multiple straight fins, pin fins, a porous material or foam metal, and has a number of narrow flow paths. This variation of the embodiment offers the same advantageous effect as the construction of FIG. 7.
  • Seventh Embodiment
  • FIGS. [0061] 9A-9D are fragmentary sectional diagrams showing the construction of a heat transport device according to a seventh embodiment of the invention, in which elements identical or similar to those depicted in FIGS. 1A-1B are designated by the same reference numerals. In this embodiment, a hole 13 is formed in an inside wall surface 12 of the container 1 and a plug-like insert 14 is fitted in the hole 13 in such a fashion that a hollow space is formed at the bottom of the hole 13 as shown in FIG. 9A.
  • According to the construction of this embodiment, the [0062] gas 6 is formed at the bottom of the hole 13 in a stable fashion, so that a vapor bubble 15 easily develops from between the inside wall surface 12 and the insert 14. Since the space between the insert 14 and the bottom of the hole 13 serves as a nucleus for bubble formation and the vapor bubble 15 produced therefrom stirs up the liquid 5 adjacent to the inside wall surface 12, heat transfer efficiency is increased close to the inside wall surface 12. In addition, it is possible to controllably select the position where the vapor bubble 15 is produced by providing the hole 13 and the insert 14 at a desired location.
  • Preferably, one or more grooves should be formed along a side surface of the [0063] insert 14 to connect the hollow space at the bottom of the hole 13 to the liquid 5 lying in contact with the inside wall surface 12 as illustrated in FIGS. 9B-9D.
  • The heat transfer efficiency can be further improved by forming more than one [0064] such hole 13 fitted with the insert 14 in the inside wall surface 12.
  • Eighth Embodiment
  • FIGS. [0065] 10A-10B are fragmentary sectional diagrams showing the construction of a heat transport device according to an eighth embodiment of the invention, FIG. 10B being an enlarged view of a portion A shown in FIG. 10A. In these Figures, elements identical or similar to those depicted in FIGS. 1A-1B are designated by the same reference numerals. The construction of this embodiment is characterized in that there is formed a cavity 16 in a bottom surface of the insert 14 itself as shown in FIG. 10A.
  • As depicted in FIG. 10B, angle θ formed by surfaces of the [0066] hole 13 and the insert 14 increases when the cavity 16 is formed in the bottom surface of the insert 14. An advantage of this structure is that the gas 6 can stay in the hollow space bounded by the bottom of the hole 13 and the cavity 16 in a more stable fashion and the vapor bubble 15 can develop more easily.
  • Ninth Embodiment
  • FIGS. [0067] 11A-11B are sectional diagrams showing the construction of a heat transport device according to a ninth embodiment of the invention, FIG. 11B being an enlarged view of a portion A shown in FIG. 11A. In these Figures, elements identical or similar to those depicted in FIGS. 1A-1B are designated by the same reference numerals. In this embodiment, a hole 13 fitted with an insert 14 having the same structure as that of the seventh or eighth embodiment is provided at least at one terminal portion of the inside wall surface 12 of the container 1 where the driving heat exchanger 4 is provided.
  • In this embodiment, a [0068] vapor bubble 15 develops more easily from the inside wall surface 12 of the container 1 at its terminal portion where the driving heat exchanger 4 is provided, making it possible to reduce the period of oscillation of the liquid 5.
  • Since the [0069] hole 13 fitted with the insert 14 is provided at the terminal portion of the container 1, the vapor bubble 15 develops from that portion of the container 1. This makes it possible to increase the distance of movement of the liquid 5 and further enhance the heat transfer performance of the heat transport device.
  • If a cavity [0070] 16 is formed in a bottom surface of the insert 14, the gas 6 can stay at the bottom of the hole 13 in a more stable fashion and the vapor bubble 15 can develop more easily.
  • Tenth Embodiment
  • FIGS. [0071] 12-13 are sectional diagrams showing the construction of a heat transport device according to a tenth embodiment of the invention and a variation thereof, in which elements identical or similar to those depicted in FIGS. 1A-1B are designated by the same reference numerals. The tenth embodiment is characterized in that it employs a meandering pipe 17 instead of the container 1 of the foregoing embodiments.
  • By using the meandering [0072] pipe 17 in any of the foregoing embodiments, heat can be easily carried away from randomly located heat sources.
  • If a thermal-receiver-[0073] type heat exchanger 2 and a thermal-radiator-type heat exchanger 3 are flat-shaped as shown in FIG. 13, the overall surface area of heat exchange increases, offering a higher efficiency of heat exchange.
  • Eleventh Embodiment
  • FIG. 14 is a sectional diagram showing the construction of a heat transport device according to an eleventh embodiment of the invention, in which elements identical or similar to those depicted in FIGS. [0074] 1A-1B are designated by the same reference numerals. The construction of this embodiment is characterized in that both terminal portions of a meandering pipe 17 are joined to each other with a Peltier element 18 placed in between, the Peltier element 18 serving as a driving heat exchanger.
  • In this embodiment, the direction of an electric current flowing through the [0075] Peltier element 18 is periodically reversed so that one end of the meandering pipe 17 is heated while the other end of the meandering pipe 17 is cooled, and vice versa, causing the liquid 5 in the meandering pipe 17 to oscillate.
  • Since the [0076] gas 6 produced by the heating condenses when cooled as a result of the reversing of the electric current, a large pressure difference is produced between both terminal portions of the meandering pipe 17. This makes it possible to reduce the period of oscillation of the liquid 5, enabling more efficient heat transfer operation.
  • Furthermore, since the pressure difference between both terminal portions of the meandering [0077] pipe 17 can be increased as stated above, a resultant driving force permits satisfactory heat transfer operation even when the length of the meandering pipe 17 is increased or the liquid 5 has a large flow resistance.
  • Twelfth Embodiment
  • FIG. 15 is a sectional diagram showing the construction of a heat transport device according to a twelfth embodiment of the invention, in which elements identical or similar to those depicted in FIGS. [0078] 1A-1B are designated by the same reference numerals. The construction of this embodiment is characterized in that a meandering pipe 17 is structured such that heat is properly transferred between adjacent portions of the wall of the meandering pipe 17. In the construction shown in FIG. 15, the adjacent portions of the wall of the meandering pipe 17 are in mutual contact and joined together by welding, brazing or adhesive bonding.
  • In one variation of the embodiment shown in FIG. 16, a meandering groove is formed in a flat plate and a meandering [0079] fluid channel 19 is fitted in the meandering groove, forming a single structure with the flat plate. Since adjacent portions of the wall of the meandering fluid channel 19 are joined to each other by the flat plate, heat is properly transferred between them.
  • Alternatively, a meandering [0080] pipe 17 may be molded by a material having a high thermal conductivity such that adjacent portions of the wall of the meandering pipe 17 are united into a single structure and heat is properly transferred between those portions.
  • In another variation of the embodiment shown in FIGS. [0081] 17A-17B, a meandering fluid channel 19 is formed by making contiguous inner walls in a container. Since adjacent portions of the meandering fluid channel 19 are separated by the contiguous inner walls but formed in a single structure, heat is properly transferred between those portions.
  • The aforementioned constructions of this embodiment provide an improved efficiency of heat exchange between a thermal-receiver-[0082] type heat exchanger 2 and a thermal-radiator-type heat exchanger 3 as heat is not only transported by oscillation of the liquid 5 but dissipated between the adjacent portions of the meandering pipe 17 or of the meandering fluid channel 19.
  • The variations of the embodiment shown in FIGS. [0083] 16 and 17A-17B provide flat-shaped heat transport devices which can be easily bent or otherwise deformed. If there is an obstacle in a heat radiating area where the thermal-radiator-type heat exchanger 3 should be situated, the heat transport device may be formed in an odd shape as illustrated in FIG. 18. In this variation of the embodiment, the thermal-radiator-type heat exchanger 3 is formed of multiple fins 20 attached to radiating portions of a meandering fluid channel 19 to effectively use their two opposite surfaces.
  • Thirteenth Embodiment
  • FIGS. [0084] 19A-19B, 20A-20B are sectional diagrams showing the construction of a heat transport device according to a thirteenth embodiment of the invention and a variation thereof, in which elements identical or similar to those depicted in FIGS. 1A-1B are designated by the same reference numerals. The heat transport device of this embodiment has a meandering fluid channel 19 similar to that of the twelfth embodiment, but there are formed bypass holes 21 in inner walls separating adjacent portions of the meandering fluid channel 19.
  • Since the [0085] liquid 5 is allowed to pass from one side of the inner wall to the other through the bypass holes 21 in this construction, the embodiment makes it possible to dissipate heat more positively.
  • Fourteenth Embodiment
  • FIG. 21A is a sectional plan view showing the construction of a heat transport device according to a fourteenth embodiment of the invention and FIG. 21B is a horizontal sectional view taken along lines C-C of FIG. 21A. In these Figures, elements identical or similar to those depicted in FIGS. [0086] 1A-1B are designated by the same reference numerals. The construction of this embodiment is characterized in that multiple layers of meandering fluid channels 19 are stacked one on top of another in a manner that the flow direction of the liquid 5, in one layer is the same as, opposite to, or perpendicular to the flow direction of the liquid 5 in another layer.
  • This embodiment helps achieve a higher heat transfer efficiency as heat is dissipated in two- or three-dimensional form. [0087]

Claims (9)

What is claimed is:
1. A heat transport device comprising:
a container having a hollow structure in which a fluid channel is formed, both ends of the fluid channel being closed to prevent intrusion of external air, and a liquid and gas being sealed in the fluid channel;
at least one each thermal-receiver-type heat exchanger and thermal-radiator-type heat exchanger arranged on an outer wall of the container along the fluid channel; and
driving heat exchangers provided at both terminal portions of the container for causing said liquid to oscillate along the fluid channel.
2. The heat transport device according to claim 1, wherein the internal volume of each terminal portion of the container where the driving heat exchanger is provided is equal to or larger than the internal volume of that portion of the container which is bounded by the center of the thermal-receiver-type heat exchanger and the center of the thermal-radiator-type heat exchanger.
3. The heat transport device according to claim 1, wherein said liquid is a combination of two types of liquids having different boiling points.
4. The heat transport device according to claim 1, wherein each terminal portion of the container where the driving heat exchanger is provided is formed into a double pipe structure.
5. The heat transport device according to claim 1, wherein a porous element which produces capillary action is fitted inside at least one of the terminal portions of the container where the driving heat exchangers are provided.
6. The heat transport device according to claim 1, wherein means serving as a nucleus for bubble formation is provided in at least one of the terminal portions of the container where the driving heat exchangers are provided.
7. The heat transport device according to claim 1, wherein said fluid channel in which the liquid flows is a meandering fluid channel.
8. The heat transport device according to claim 7, wherein adjacent portions of the wall of the meandering fluid channel are united, together forming a single structure.
9. The heat transport device according to claim 7, wherein the driving heat exchangers are formed of a Peltier element, and wherein the terminal portions of the container are joined to each other via the Peltier element.
US10/400,190 2002-04-02 2003-03-27 Heat transport device Abandoned US20030192674A1 (en)

Priority Applications (1)

Application Number Priority Date Filing Date Title
US10/618,657 US6983790B2 (en) 2003-03-27 2003-07-15 Heat transport device, semiconductor apparatus using the heat transport device and extra-atmospheric mobile unit using the heat transport device

Applications Claiming Priority (2)

Application Number Priority Date Filing Date Title
JPJP2002-099461 2002-04-02
JP2002099461 2002-04-02

Related Child Applications (1)

Application Number Title Priority Date Filing Date
US10/618,657 Continuation-In-Part US6983790B2 (en) 2003-03-27 2003-07-15 Heat transport device, semiconductor apparatus using the heat transport device and extra-atmospheric mobile unit using the heat transport device

Publications (1)

Publication Number Publication Date
US20030192674A1 true US20030192674A1 (en) 2003-10-16

Family

ID=28786225

Family Applications (1)

Application Number Title Priority Date Filing Date
US10/400,190 Abandoned US20030192674A1 (en) 2002-04-02 2003-03-27 Heat transport device

Country Status (1)

Country Link
US (1) US20030192674A1 (en)

Cited By (17)

* Cited by examiner, † Cited by third party
Publication number Priority date Publication date Assignee Title
WO2005055319A3 (en) * 2003-12-08 2005-09-09 Noise Limit Aps A cooling system with a bubble pump
WO2006048611A1 (en) * 2004-11-03 2006-05-11 Xyratex Technology Limited A temperature control apparatus for a hard disk drive and a method of varying the temperature of a hard disk drive
US20100319884A1 (en) * 2008-02-08 2010-12-23 National University Corporation Yokohama National University Self-excited oscillating flow heat pipe
US20120279682A1 (en) * 2011-05-02 2012-11-08 Commissariat A L'energvie Atomique Et Aux Energies Alternatives Heat transfer device and system
US20130048254A1 (en) * 2011-08-31 2013-02-28 Troy W. Livingston Heat transfer bridge
CN105674780A (en) * 2016-04-06 2016-06-15 中国科学院工程热物理研究所 Anti-gravity heat pipe
US9468130B2 (en) 2011-11-04 2016-10-11 Fujitsu Limited Micro channel cooling device, micro channel cooling system, and electronic instrument
EP3144625A1 (en) * 2015-09-21 2017-03-22 ABB Schweiz AG Cooling assembly and method for manufacturing the same
CN106839845A (en) * 2012-01-18 2017-06-13 张跃 Hot wing
US9750160B2 (en) * 2016-01-20 2017-08-29 Raytheon Company Multi-level oscillating heat pipe implementation in an electronic circuit card module
US10436520B2 (en) * 2017-03-31 2019-10-08 Korea Advanced Institute Of Science And Technology Plate pulsating heat spreader with artificial cavities
US11009927B2 (en) 2013-12-13 2021-05-18 Shinko Electric Industries Co., Ltd. Loop heat pipe, method of manufacturing the same, and electronic device
US11320209B2 (en) 2019-11-04 2022-05-03 Industrial Technology Research Institute Pulsating heat pipe
EP4230946A1 (en) * 2022-02-21 2023-08-23 Nokia Technologies Oy Oscillating heat pipes
US20240200880A1 (en) * 2022-12-16 2024-06-20 Raytheon Company Tunable thermal transfer within an oscillating heat pipe
US12145194B2 (en) * 2022-11-25 2024-11-19 Nedec Co., Ltd. Casting products for cooling heating elements and method of manufacturing the same
WO2026068870A1 (en) * 2024-09-30 2026-04-02 Robert Bosch Gmbh Pulsating heat pipe heat sink

Cited By (26)

* Cited by examiner, † Cited by third party
Publication number Priority date Publication date Assignee Title
US20070273024A1 (en) * 2003-12-08 2007-11-29 Henry Madsen Cooling System with a Bubble Pump
WO2005055319A3 (en) * 2003-12-08 2005-09-09 Noise Limit Aps A cooling system with a bubble pump
US8061155B2 (en) * 2004-11-03 2011-11-22 Xyratex Technology Limited Temperature control apparatus for a hard disk drive and a method of varying the temperature of a hard disk drive
WO2006048611A1 (en) * 2004-11-03 2006-05-11 Xyratex Technology Limited A temperature control apparatus for a hard disk drive and a method of varying the temperature of a hard disk drive
GB2434910A (en) * 2004-11-03 2007-08-08 Xyratex Tech Ltd A temperature control, apparatus for a hard disk drive and a method of varying the temperature of a hard disk drive
US20080112075A1 (en) * 2004-11-03 2008-05-15 Xyratex Technology Limited Tempreature Control Apparatus for a Hard Disk Drive and a Method of Varying the Temperature of Hard Drive
GB2434910B (en) * 2004-11-03 2008-07-30 Xyratex Tech Ltd A temperature control, apparatus for a hard disk drive and a method of varying the temperature of a hard disk drive
US20100319884A1 (en) * 2008-02-08 2010-12-23 National University Corporation Yokohama National University Self-excited oscillating flow heat pipe
US20120279682A1 (en) * 2011-05-02 2012-11-08 Commissariat A L'energvie Atomique Et Aux Energies Alternatives Heat transfer device and system
US20130048254A1 (en) * 2011-08-31 2013-02-28 Troy W. Livingston Heat transfer bridge
US9468130B2 (en) 2011-11-04 2016-10-11 Fujitsu Limited Micro channel cooling device, micro channel cooling system, and electronic instrument
CN106839845A (en) * 2012-01-18 2017-06-13 张跃 Hot wing
US11789505B2 (en) 2013-12-13 2023-10-17 Shinko Electric Industries Co., Ltd. Loop heat pipe
US11009927B2 (en) 2013-12-13 2021-05-18 Shinko Electric Industries Co., Ltd. Loop heat pipe, method of manufacturing the same, and electronic device
EP3144625A1 (en) * 2015-09-21 2017-03-22 ABB Schweiz AG Cooling assembly and method for manufacturing the same
CN106922108A (en) * 2015-09-21 2017-07-04 Abb瑞士股份有限公司 Cooling component and its manufacture method
US10077947B2 (en) * 2015-09-21 2018-09-18 Abb Schweiz Ag Cooling assembly and method for manufacturing the same
US20170082379A1 (en) * 2015-09-21 2017-03-23 Abb Schweiz Ag Cooling assembly and method for manufacturing the same
US9750160B2 (en) * 2016-01-20 2017-08-29 Raytheon Company Multi-level oscillating heat pipe implementation in an electronic circuit card module
CN105674780A (en) * 2016-04-06 2016-06-15 中国科学院工程热物理研究所 Anti-gravity heat pipe
US10436520B2 (en) * 2017-03-31 2019-10-08 Korea Advanced Institute Of Science And Technology Plate pulsating heat spreader with artificial cavities
US11320209B2 (en) 2019-11-04 2022-05-03 Industrial Technology Research Institute Pulsating heat pipe
EP4230946A1 (en) * 2022-02-21 2023-08-23 Nokia Technologies Oy Oscillating heat pipes
US12145194B2 (en) * 2022-11-25 2024-11-19 Nedec Co., Ltd. Casting products for cooling heating elements and method of manufacturing the same
US20240200880A1 (en) * 2022-12-16 2024-06-20 Raytheon Company Tunable thermal transfer within an oscillating heat pipe
WO2026068870A1 (en) * 2024-09-30 2026-04-02 Robert Bosch Gmbh Pulsating heat pipe heat sink

Similar Documents

Publication Publication Date Title
US6983790B2 (en) Heat transport device, semiconductor apparatus using the heat transport device and extra-atmospheric mobile unit using the heat transport device
US20030192674A1 (en) Heat transport device
Marengo et al. Pulsating heat pipes: experimental analysis, design and applications
EP2238400B1 (en) Heat pipes incorporating microchannel heat exchangers
TWI415558B (en) Heat sink assembly for cooling electronic devices
US5737923A (en) Thermoelectric device with evaporating/condensing heat exchanger
US7841387B2 (en) Pump-free water-cooling system
Khandekar et al. Closed and open loop pulsating heat pipes
JP6603701B2 (en) Air conditioner with at least one heat pipe, in particular a thermosyphon
JP4123017B2 (en) Heat transport element, semiconductor device using heat transport element, and extraterrestrial moving body using heat transport element
US6679316B1 (en) Passive thermal spreader and method
ES2769812T3 (en) Mechanism to mitigate high heat flow conditions in a thermosiphon evaporator or condenser
US20090266514A1 (en) Heat exchange device
JP2001035980A (en) Micro cooling device
JP5681487B2 (en) Heat pipe dissipation system and method
CN102829660A (en) Pulse heat pipe exchanger based on foamed materials
CN110455106A (en) A heat dissipation device with a three-dimensional pulsating heat pipe
CN104676545A (en) Heat absorbing device, heat radiating device and LED (light-emitting diode) mining lamp radiating system
US20150308750A1 (en) Slug Pump Heat Pipe
CN103327792A (en) Passive-driven micro-channel heat-sink cooling device
JP3713633B2 (en) Closed temperature control system
Faghri et al. Review of advances in heat pipe analysis and numerical simulation
AU2014250674B2 (en) Heat pipes incorporating microchannel heat exchangers
CN219876605U (en) Three-dimensional phase change radiator
CN117308390A (en) Self-driven phase-change cooling temperature control device

Legal Events

Date Code Title Description
AS Assignment

Owner name: MITSUBISHI DENKI KABUSHIKI KAISHA, JAPAN

Free format text: ASSIGNMENT OF ASSIGNORS INTEREST;ASSIGNORS:IPPOUSHI, SHIGETOSHI;OGUSHI, TETSURO;NAKAO, KAZUSHIGE;AND OTHERS;REEL/FRAME:014138/0372;SIGNING DATES FROM 20030317 TO 20030324

STCB Information on status: application discontinuation

Free format text: EXPRESSLY ABANDONED -- DURING EXAMINATION