US20030190837A1 - Battery holder having means for securely retaining battery in position - Google Patents

Battery holder having means for securely retaining battery in position Download PDF

Info

Publication number
US20030190837A1
US20030190837A1 US10/116,293 US11629302A US2003190837A1 US 20030190837 A1 US20030190837 A1 US 20030190837A1 US 11629302 A US11629302 A US 11629302A US 2003190837 A1 US2003190837 A1 US 2003190837A1
Authority
US
United States
Prior art keywords
battery
base section
holder
positive
negative
Prior art date
Legal status (The legal status is an assumption and is not a legal conclusion. Google has not performed a legal analysis and makes no representation as to the accuracy of the status listed.)
Granted
Application number
US10/116,293
Other versions
US6623293B1 (en
Inventor
Jerry Wu
Current Assignee (The listed assignees may be inaccurate. Google has not performed a legal analysis and makes no representation or warranty as to the accuracy of the list.)
Hon Hai Precision Industry Co Ltd
Original Assignee
Individual
Priority date (The priority date is an assumption and is not a legal conclusion. Google has not performed a legal analysis and makes no representation as to the accuracy of the date listed.)
Filing date
Publication date
Application filed by Individual filed Critical Individual
Priority to US10/116,293 priority Critical patent/US6623293B1/en
Assigned to HON HAI PRECISION IND. CO., LTD. reassignment HON HAI PRECISION IND. CO., LTD. ASSIGNMENT OF ASSIGNORS INTEREST (SEE DOCUMENT FOR DETAILS). Assignors: WU, JERRY
Priority to TW091211437U priority patent/TW555163U/en
Priority to CN02247258U priority patent/CN2562378Y/en
Application granted granted Critical
Publication of US6623293B1 publication Critical patent/US6623293B1/en
Publication of US20030190837A1 publication Critical patent/US20030190837A1/en
Anticipated expiration legal-status Critical
Expired - Fee Related legal-status Critical Current

Links

Images

Classifications

    • HELECTRICITY
    • H01ELECTRIC ELEMENTS
    • H01MPROCESSES OR MEANS, e.g. BATTERIES, FOR THE DIRECT CONVERSION OF CHEMICAL ENERGY INTO ELECTRICAL ENERGY
    • H01M50/00Constructional details or processes of manufacture of the non-active parts of electrochemical cells other than fuel cells, e.g. hybrid cells
    • H01M50/20Mountings; Secondary casings or frames; Racks, modules or packs; Suspension devices; Shock absorbers; Transport or carrying devices; Holders
    • H01M50/204Racks, modules or packs for multiple batteries or multiple cells
    • H01M50/207Racks, modules or packs for multiple batteries or multiple cells characterised by their shape
    • H01M50/213Racks, modules or packs for multiple batteries or multiple cells characterised by their shape adapted for cells having curved cross-section, e.g. round or elliptic
    • HELECTRICITY
    • H01ELECTRIC ELEMENTS
    • H01MPROCESSES OR MEANS, e.g. BATTERIES, FOR THE DIRECT CONVERSION OF CHEMICAL ENERGY INTO ELECTRICAL ENERGY
    • H01M50/00Constructional details or processes of manufacture of the non-active parts of electrochemical cells other than fuel cells, e.g. hybrid cells
    • H01M50/20Mountings; Secondary casings or frames; Racks, modules or packs; Suspension devices; Shock absorbers; Transport or carrying devices; Holders
    • H01M50/202Casings or frames around the primary casing of a single cell or a single battery
    • HELECTRICITY
    • H01ELECTRIC ELEMENTS
    • H01MPROCESSES OR MEANS, e.g. BATTERIES, FOR THE DIRECT CONVERSION OF CHEMICAL ENERGY INTO ELECTRICAL ENERGY
    • H01M50/00Constructional details or processes of manufacture of the non-active parts of electrochemical cells other than fuel cells, e.g. hybrid cells
    • H01M50/20Mountings; Secondary casings or frames; Racks, modules or packs; Suspension devices; Shock absorbers; Transport or carrying devices; Holders
    • H01M50/244Secondary casings; Racks; Suspension devices; Carrying devices; Holders characterised by their mounting method
    • HELECTRICITY
    • H01ELECTRIC ELEMENTS
    • H01MPROCESSES OR MEANS, e.g. BATTERIES, FOR THE DIRECT CONVERSION OF CHEMICAL ENERGY INTO ELECTRICAL ENERGY
    • H01M50/00Constructional details or processes of manufacture of the non-active parts of electrochemical cells other than fuel cells, e.g. hybrid cells
    • H01M50/20Mountings; Secondary casings or frames; Racks, modules or packs; Suspension devices; Shock absorbers; Transport or carrying devices; Holders
    • H01M50/262Mountings; Secondary casings or frames; Racks, modules or packs; Suspension devices; Shock absorbers; Transport or carrying devices; Holders with fastening means, e.g. locks
    • H01M50/264Mountings; Secondary casings or frames; Racks, modules or packs; Suspension devices; Shock absorbers; Transport or carrying devices; Holders with fastening means, e.g. locks for cells or batteries, e.g. straps, tie rods or peripheral frames
    • HELECTRICITY
    • H01ELECTRIC ELEMENTS
    • H01MPROCESSES OR MEANS, e.g. BATTERIES, FOR THE DIRECT CONVERSION OF CHEMICAL ENERGY INTO ELECTRICAL ENERGY
    • H01M50/00Constructional details or processes of manufacture of the non-active parts of electrochemical cells other than fuel cells, e.g. hybrid cells
    • H01M50/20Mountings; Secondary casings or frames; Racks, modules or packs; Suspension devices; Shock absorbers; Transport or carrying devices; Holders
    • H01M50/284Mountings; Secondary casings or frames; Racks, modules or packs; Suspension devices; Shock absorbers; Transport or carrying devices; Holders with incorporated circuit boards, e.g. printed circuit boards [PCB]
    • HELECTRICITY
    • H01ELECTRIC ELEMENTS
    • H01MPROCESSES OR MEANS, e.g. BATTERIES, FOR THE DIRECT CONVERSION OF CHEMICAL ENERGY INTO ELECTRICAL ENERGY
    • H01M50/00Constructional details or processes of manufacture of the non-active parts of electrochemical cells other than fuel cells, e.g. hybrid cells
    • H01M50/50Current conducting connections for cells or batteries
    • HELECTRICITY
    • H05ELECTRIC TECHNIQUES NOT OTHERWISE PROVIDED FOR
    • H05KPRINTED CIRCUITS; CASINGS OR CONSTRUCTIONAL DETAILS OF ELECTRIC APPARATUS; MANUFACTURE OF ASSEMBLAGES OF ELECTRICAL COMPONENTS
    • H05K3/00Apparatus or processes for manufacturing printed circuits
    • H05K3/30Assembling printed circuits with electric components, e.g. with resistor
    • H05K3/301Assembling printed circuits with electric components, e.g. with resistor by means of a mounting structure
    • YGENERAL TAGGING OF NEW TECHNOLOGICAL DEVELOPMENTS; GENERAL TAGGING OF CROSS-SECTIONAL TECHNOLOGIES SPANNING OVER SEVERAL SECTIONS OF THE IPC; TECHNICAL SUBJECTS COVERED BY FORMER USPC CROSS-REFERENCE ART COLLECTIONS [XRACs] AND DIGESTS
    • Y02TECHNOLOGIES OR APPLICATIONS FOR MITIGATION OR ADAPTATION AGAINST CLIMATE CHANGE
    • Y02EREDUCTION OF GREENHOUSE GAS [GHG] EMISSIONS, RELATED TO ENERGY GENERATION, TRANSMISSION OR DISTRIBUTION
    • Y02E60/00Enabling technologies; Technologies with a potential or indirect contribution to GHG emissions mitigation
    • Y02E60/10Energy storage using batteries

Definitions

  • the present invention generally relates to a battery holder for holding and mounting a battery to for example a circuit board, and more particular to a battery holder having improved conductive contacts for both electrically engaging and reliably retaining the battery in place when the battery is inserted into the battery holder.
  • Battery holders have been employed for holding various forms of batteries, such as back up batteries for real time clocks in desk top computers. These batteries are typically 1 ⁇ 2 AA batteries and the battery holder is installed on the main or other circuit boards of the computer by terminal tails which are inserted into the circuit boards and soldered to the appropriate electrical circuit of the boards.
  • a 1 ⁇ 2 AA battery has a cylindrical body having a first flat end surface, serving as a negative terminal, and a second end surface from which a protrusion concentrically projects, serving as a positive terminal.
  • the battery holder is equipped with positive and negative contacts that electrically and respectively engage with positive and negative terminals of the battery for routing the electrical current from the battery to a power-consuming device to which the contacts of the battery holder are connected. Batteries of this type are sometimes adopted as backup power supply in a computer system. In that case, the positive and negative contacts of the battery holder are electrically connected to a main circuit board of the computer system.
  • the battery holder disclosed in each of the above mentioned U.S. patents is not provided with an effective means to retain the battery in place.
  • the battery may be moved out of the holder or deviated from its original position during transportation or under a vibrating environment, thereby adversely affecting the electrical connection between the terminals of the battery and corresponding contacts of the battery holder.
  • an improved battery holder is required to overcome the disadvantages of the prior art.
  • a first object of the present invention is to provide a battery holder equipped with a conductive contact which can effectively retain the battery in place when the battery is inserted into the battery holder;
  • a second object of the present invention is to provide a battery holder equipped with a conductive contact which has a low manufacturing cost and is simple in assembling.
  • a battery holder in accordance with the present invention is adapted to retain a battery having opposite first and second end faces, the first end face forming a first electrical terminal of the battery, a reduced projection extending from the second end face to form a second electrical terminal of the battery.
  • the battery holder comprises an insulative housing and a pair of first and second conductive contacts fastened to opposite ends of the housing.
  • the housing has two opposite side walls and two opposite first and second end blocks connected with the side walls to cooperatively define a receiving space for receiving a battery.
  • the first and second conductive contacts are respectively engaged with the first and second end blocks of the housing, and each forms a base section, a spring arm extending from one end of the base section for electrically connecting with one of the first and second electrical terminals of the battery when the battery is inserted in the receiving space, and a soldering tail extending from another end of the base section for soldering to a circuit board. Furthermore, one of the first and second conductive contacts forms a pair of clip members extending from opposite lateral sides of the base section for conductively abutting against an outer surface of the battery when the battery is disposed in the receiving space, thereby preventing the battery from moving or offsetting under variation situations.
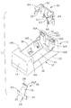
  • FIG. 1 is an exploded perspective view of a battery holder in accordance with the present invention
  • FIG. 2 is another exploded perspective view of the battery holder of FIG. 1;
  • FIG. 3 is an assembled perspective view of FIG. 1;
  • FIG. 4 is an assembled perspective view of FIG. 2;
  • FIG. 5 is another perspective view of FIG. 3;
  • FIG. 6 is a top view of FIG. 3;
  • FIG. 7 is a cross-sectional view taken along line 7 - 7 of FIG. 6;
  • FIG. 8 is a cross-sectional view taken along line 8 - 8 of FIG. 6;
  • FIG. 9 is a cross-sectional view taken along line 9 - 9 of FIG. 6;
  • FIG. 10 is an assembled perspective view of the battery holder of FIG. 3 and a battery
  • FIG. 11 is a top view of FIG. 10;
  • FIG. 12 is a cross-sectional view taken along line 12 - 12 of FIG. 11;
  • FIG. 13 is a cross-sectional view taken along line 13 - 13 of FIG. 13.
  • a preferred embodiment of a battery holder 1 constructed in accordance with the present invention is adopted for holding a battery 40 (FIG. 10) having a cylindrical body 42 and opposite end surfaces respectively forming a flat negative terminal 44 and a protruded positive terminal 46 (both see FIG. 12) for electrically connecting with an underlying circuit board (not shown).
  • the battery holder 1 comprises a one-piece insulative housing 10 and first and second conductive contacts 20 , 60 attached to opposite ends of the housing 10 .
  • the housing 10 comprises a body 12 having a bottom surface 13 to be positioned on the circuit board.
  • the body 12 further comprises front and rear end blocks 14 , 16 connected by two opposite side walls 18 whereby a receiving space 15 is defined therebetween for receipt of the battery 40 .
  • Each side wall 18 has a curved inner face 182 in the space 15 for supporting the battery 40 in the holder body 12 .
  • the inner faces 182 of the side walls 18 are space from each other, thereby defining a bottom opening 184 therebetween.
  • the bottom opening 184 communicates with the receiving space 15 .
  • the front end block 14 defines an elongate recess 142 communicating with the receiving space 15 for receiving the first conductive contact 20 and a pair of slits 149 in the bottom surface 13 and communicating with the recess 142 .
  • the front end block 14 forms a stopping bar 143 at an upper portion thereof and a pair of flanges 146 projecting from opposite ends of the stopping bar 143 toward the receiving space 15 .
  • the rear end block 16 of the holder body 12 has an inner surface 162 on which two opposite raised portions 164 are formed and connected by a cross bar 168 therebetween.
  • a notch 163 is defined therebetween the raised portions 164 and the cross bar 168 .
  • a receiving slit 166 is formed between each raised portion 164 and the inner surface 162 of the rear end block 16 and communicates with the notch 163 for receiving the second conductive contact 60 . Additionally, a through hole 132 is defined in the bottom face 13 of the housing 10 and communicates with the receiving slit 166 .
  • the first conductive contact 20 serving as a negative electrode of the battery holder 1 , comprises a base section 22 having opposite, barbed edges 24 to be interferentially retained in the slits 149 of the front end block 14 .
  • a spring arm 26 in a convex shape, extends from the base section 22 and substantially runs along the elongate recess 142 , and has a convex portion 262 and a free end 28 extending from the convex portion 262 .
  • the convex configuration of the spring arm 26 ensures the sparing arm 26 to be resilient enough to have a reliable engagement with the negative terminal 44 of the battery 40 when the battery 40 is inserted into the battery holder 1 .
  • a soldering tail 25 extends from the base section 22 in a direction substantially opposite to the spring arm 26 . The soldering tail 25 projects beyond the bottom surface 13 of the holder body 12 for being soldered to the circuit board (not shown).
  • the second contact 60 serving as a positive electrode of the battery holder 1 , is received in the receiving slit 166 of the rear end block 16 .
  • the second blade 60 comprises a base section 62 , two clip members 64 formed on opposite lateral sides of the base section 62 and a soldering tail 66 depending from the base section 62 .
  • the base section 62 is disposed in the receiving slits 166 of the rear end block 16 and forms a curved resilient beam 63 located in the notch 163 for conductively contacting with the positive terminal 46 of the battery 40 .
  • a pair of barbs 67 are formed on the base section 62 and project outwardly to interferentially engage with the rear end block 16 to secure the second contact 60 in position.
  • the soldering tail 66 extends through the hole 132 and beneath the bottom face 13 of the housing 10 for soldering to the circuit board.
  • the clip members 64 vertically extend from upper portions of the lateral sides of the base section 62 , wherein the lateral sides extend perpendicularly from lateral edges of the base section 62 towards a middle of the battery holder 1 , and form a pair of curved projections 65 facing with each other.
  • the projections 65 are thus formed to have a predetermined resiliency so that they can exert a clamping force to the circumferential periphery 45 of the battery 40 , thereby preventing the battery 40 from moving out of its installed position when it is inserted in the receiving space 15 of the battery holder 1 .
  • the negative blade 20 is inserted into the elongate recess 142 of the front end block 14 from a position above the housing 10 to a position where the barbed edges 24 thereof are interferingly retained in the receiving slits 149 , and the free end 28 thereof is abutted against the stopping bar 143 .
  • the positive contact 60 is then inserted into the receiving slits 166 of the rear end block 16 from a position above of the housing 10 to a position wherein the barbs 67 thereof are interferringly retained in the slit 166 for holding the positive contact 60 in position.
  • the soldering tail 66 of the second contact 60 extends through the hole 132 and beneath the bottom face 13 for soldering to the circuit board. Meanwhile, the resilient beam 63 of the base section 62 is positioned in the notch 163 between the raised portions 164 .
  • the battery 40 is inserted into the receiving space 15 of the housing 10 and the negative and positive terminals 44 , 46 thereof are conductively contacted with the curved portion 262 of the negative contact 20 and the resilient beam 63 of the positive contact 60 , respectively.
  • the curved projections 65 of the clip members 64 exert a clamping force against an upper portion of the circumferential periphery 45 of the battery 40 for preventing the battery 40 from moving out of the housing 10 due to vibration or unexpected force occurred to the holder 1 /battery 40 assembly.
  • reliable electrical connections between the negative and positive terminals 44 , 46 of the battery 40 and the negative and positive contacts 20 , 60 of the holder 1 are effectively ensured by the clip members 64 of the present invention.

Landscapes

  • Chemical & Material Sciences (AREA)
  • Chemical Kinetics & Catalysis (AREA)
  • Electrochemistry (AREA)
  • General Chemical & Material Sciences (AREA)
  • Battery Mounting, Suspending (AREA)

Abstract

A battery holder (1) comprises an insulative housing (10) defining a receiving space (15) for receiving a battery (40) and a pair of negative and positive conductive contacts (20, 60) fastened to opposite ends of the housing. Each of the negative and positive conductive contacts forms a base section (22, 62), a spring arm (26, 63) extending from one end of the base section for electrically connecting with a corresponding negative or positive terminal of the battery, and a soldering tail (25, 66) extending from another end of the base section for soldering to a circuit board. Furthermore, one of the first and second conductive contacts forms a pair of clip members (64) extending from opposite sides of the base section for conductively abutting against an outer surface (45) of the battery for preventing the battery from moving or offsetting under variation situations.

Description

    BACKGROUND OF THE INVENTION
  • 1. Field of the Invention [0001]
  • The present invention generally relates to a battery holder for holding and mounting a battery to for example a circuit board, and more particular to a battery holder having improved conductive contacts for both electrically engaging and reliably retaining the battery in place when the battery is inserted into the battery holder. [0002]
  • 2. Description of Prior Art [0003]
  • Battery holders have been employed for holding various forms of batteries, such as back up batteries for real time clocks in desk top computers. These batteries are typically ½ AA batteries and the battery holder is installed on the main or other circuit boards of the computer by terminal tails which are inserted into the circuit boards and soldered to the appropriate electrical circuit of the boards. [0004]
  • Such ½ AA battery holders are disclosed in U.S. Pat. Nos. 5,211,579, 5,395,263, 6,124,056, 5,827,619. Generally, a ½ AA battery has a cylindrical body having a first flat end surface, serving as a negative terminal, and a second end surface from which a protrusion concentrically projects, serving as a positive terminal. The battery holder is equipped with positive and negative contacts that electrically and respectively engage with positive and negative terminals of the battery for routing the electrical current from the battery to a power-consuming device to which the contacts of the battery holder are connected. Batteries of this type are sometimes adopted as backup power supply in a computer system. In that case, the positive and negative contacts of the battery holder are electrically connected to a main circuit board of the computer system. [0005]
  • However, the battery holder disclosed in each of the above mentioned U.S. patents is not provided with an effective means to retain the battery in place. Thus, the battery may be moved out of the holder or deviated from its original position during transportation or under a vibrating environment, thereby adversely affecting the electrical connection between the terminals of the battery and corresponding contacts of the battery holder. Hence, an improved battery holder is required to overcome the disadvantages of the prior art. [0006]
  • BRIEF SUMMARY OF THE INVENTION
  • A first object of the present invention is to provide a battery holder equipped with a conductive contact which can effectively retain the battery in place when the battery is inserted into the battery holder; [0007]
  • A second object of the present invention is to provide a battery holder equipped with a conductive contact which has a low manufacturing cost and is simple in assembling. [0008]
  • A battery holder in accordance with the present invention is adapted to retain a battery having opposite first and second end faces, the first end face forming a first electrical terminal of the battery, a reduced projection extending from the second end face to form a second electrical terminal of the battery. The battery holder comprises an insulative housing and a pair of first and second conductive contacts fastened to opposite ends of the housing. The housing has two opposite side walls and two opposite first and second end blocks connected with the side walls to cooperatively define a receiving space for receiving a battery. The first and second conductive contacts are respectively engaged with the first and second end blocks of the housing, and each forms a base section, a spring arm extending from one end of the base section for electrically connecting with one of the first and second electrical terminals of the battery when the battery is inserted in the receiving space, and a soldering tail extending from another end of the base section for soldering to a circuit board. Furthermore, one of the first and second conductive contacts forms a pair of clip members extending from opposite lateral sides of the base section for conductively abutting against an outer surface of the battery when the battery is disposed in the receiving space, thereby preventing the battery from moving or offsetting under variation situations. [0009]
  • Other objects, advantages and novel features of the invention will become more apparent from the following detailed description of the present embodiment when taken in conjunction with the accompanying drawings.[0010]
  • BRIEF DESCRIPTION OF THE DRAWINGS
  • FIG. 1 is an exploded perspective view of a battery holder in accordance with the present invention; [0011]
  • FIG. 2 is another exploded perspective view of the battery holder of FIG. 1; [0012]
  • FIG. 3 is an assembled perspective view of FIG. 1; [0013]
  • FIG. 4 is an assembled perspective view of FIG. 2; [0014]
  • FIG. 5 is another perspective view of FIG. 3; [0015]
  • FIG. 6 is a top view of FIG. 3; [0016]
  • FIG. 7 is a cross-sectional view taken along line [0017] 7-7 of FIG. 6;
  • FIG. 8 is a cross-sectional view taken along line [0018] 8-8 of FIG. 6;
  • FIG. 9 is a cross-sectional view taken along line [0019] 9-9 of FIG. 6;
  • FIG. 10 is an assembled perspective view of the battery holder of FIG. 3 and a battery; [0020]
  • FIG. 11 is a top view of FIG. 10; [0021]
  • FIG. 12 is a cross-sectional view taken along line [0022] 12-12 of FIG. 11; and
  • FIG. 13 is a cross-sectional view taken along line [0023] 13-13 of FIG. 13.
  • DETAILED DESCRIPTION OF THE INVENTION
  • With reference to the drawings and in particular to FIGS. [0024] 1 to 4, a preferred embodiment of a battery holder 1 constructed in accordance with the present invention is adopted for holding a battery 40 (FIG. 10) having a cylindrical body 42 and opposite end surfaces respectively forming a flat negative terminal 44 and a protruded positive terminal 46 (both see FIG. 12) for electrically connecting with an underlying circuit board (not shown). The battery holder 1 comprises a one-piece insulative housing 10 and first and second conductive contacts 20, 60 attached to opposite ends of the housing 10.
  • The [0025] housing 10 comprises a body 12 having a bottom surface 13 to be positioned on the circuit board. The body 12 further comprises front and rear end blocks 14, 16 connected by two opposite side walls 18 whereby a receiving space 15 is defined therebetween for receipt of the battery 40. Each side wall 18 has a curved inner face 182 in the space 15 for supporting the battery 40 in the holder body 12. The inner faces 182 of the side walls 18 are space from each other, thereby defining a bottom opening 184 therebetween. The bottom opening 184 communicates with the receiving space 15.
  • Further referring to FIG. 7, the [0026] front end block 14 defines an elongate recess 142 communicating with the receiving space 15 for receiving the first conductive contact 20 and a pair of slits 149 in the bottom surface 13 and communicating with the recess 142. The front end block 14 forms a stopping bar 143 at an upper portion thereof and a pair of flanges 146 projecting from opposite ends of the stopping bar 143 toward the receiving space 15. The rear end block 16 of the holder body 12 has an inner surface 162 on which two opposite raised portions 164 are formed and connected by a cross bar 168 therebetween. A notch 163 is defined therebetween the raised portions 164 and the cross bar 168. A receiving slit 166 is formed between each raised portion 164 and the inner surface 162 of the rear end block 16 and communicates with the notch 163 for receiving the second conductive contact 60. Additionally, a through hole 132 is defined in the bottom face 13 of the housing 10 and communicates with the receiving slit 166.
  • The first [0027] conductive contact 20, serving as a negative electrode of the battery holder 1, comprises a base section 22 having opposite, barbed edges 24 to be interferentially retained in the slits 149 of the front end block 14. A spring arm 26, in a convex shape, extends from the base section 22 and substantially runs along the elongate recess 142, and has a convex portion 262 and a free end 28 extending from the convex portion 262. The convex configuration of the spring arm 26 ensures the sparing arm 26 to be resilient enough to have a reliable engagement with the negative terminal 44 of the battery 40 when the battery 40 is inserted into the battery holder 1. A soldering tail 25 extends from the base section 22 in a direction substantially opposite to the spring arm 26. The soldering tail 25 projects beyond the bottom surface 13 of the holder body 12 for being soldered to the circuit board (not shown).
  • The [0028] second contact 60, serving as a positive electrode of the battery holder 1, is received in the receiving slit 166 of the rear end block 16. The second blade 60 comprises a base section 62, two clip members 64 formed on opposite lateral sides of the base section 62 and a soldering tail 66 depending from the base section 62. The base section 62 is disposed in the receiving slits 166 of the rear end block 16 and forms a curved resilient beam 63 located in the notch 163 for conductively contacting with the positive terminal 46 of the battery 40. Additionally, a pair of barbs 67 are formed on the base section 62 and project outwardly to interferentially engage with the rear end block 16 to secure the second contact 60 in position. The soldering tail 66 extends through the hole 132 and beneath the bottom face 13 of the housing 10 for soldering to the circuit board. The clip members 64 vertically extend from upper portions of the lateral sides of the base section 62, wherein the lateral sides extend perpendicularly from lateral edges of the base section 62 towards a middle of the battery holder 1, and form a pair of curved projections 65 facing with each other. The projections 65 are thus formed to have a predetermined resiliency so that they can exert a clamping force to the circumferential periphery 45 of the battery 40, thereby preventing the battery 40 from moving out of its installed position when it is inserted in the receiving space 15 of the battery holder 1.
  • In assembly, referring to FIGS. [0029] 3 to 9, the negative blade 20 is inserted into the elongate recess 142 of the front end block 14 from a position above the housing 10 to a position where the barbed edges 24 thereof are interferingly retained in the receiving slits 149, and the free end 28 thereof is abutted against the stopping bar 143. The positive contact 60 is then inserted into the receiving slits 166 of the rear end block 16 from a position above of the housing 10 to a position wherein the barbs 67 thereof are interferringly retained in the slit 166 for holding the positive contact 60 in position. The soldering tail 66 of the second contact 60 extends through the hole 132 and beneath the bottom face 13 for soldering to the circuit board. Meanwhile, the resilient beam 63 of the base section 62 is positioned in the notch 163 between the raised portions 164.
  • In use, referring to FIGS. [0030] 10 to 13, the battery 40 is inserted into the receiving space 15 of the housing 10 and the negative and positive terminals 44, 46 thereof are conductively contacted with the curved portion 262 of the negative contact 20 and the resilient beam 63 of the positive contact 60, respectively. Meanwhile, the curved projections 65 of the clip members 64 exert a clamping force against an upper portion of the circumferential periphery 45 of the battery 40 for preventing the battery 40 from moving out of the housing 10 due to vibration or unexpected force occurred to the holder 1/battery 40 assembly. Thus, reliable electrical connections between the negative and positive terminals 44, 46 of the battery 40 and the negative and positive contacts 20, 60 of the holder 1 are effectively ensured by the clip members 64 of the present invention.
  • It is to be understood, however, that even though numerous characteristics and advantages of the present invention have been set forth in the foregoing description, together with details of the structure and function of the invention, the disclosure is illustrative only, and changes may be made in detail, especially in matters of shape, size, and arrangement of parts within the principles of the invention to the full extent indicated by the broad general meaning of the terms in which the appended claims are expressed. [0031]

Claims (19)

What is claimed is:
1. A battery holder adapted to retain an elongate battery having opposite first and second terminals at opposite end faces of the battery, comprising:
an insulative housing having opposite side walls and opposite first and second end blocks connected with the side walls to cooperatively define a receiving space therebetween adapted for receiving a battery; and
a pair of first and second conductive contacts being respectively engaged with the first and second end blocks, each of the first and second conductive contacts forming a base section, a spring arm extending from one end of the base section adapted for electrically connecting with one of the first and second electrical terminals of the battery, and a soldering tail extending from another end of the base section adapted for soldering to a circuit board; wherein
one of the first and second conductive contacts further forms a pair of clip members extending from opposite sides of the base section thereof, adapted for exerting a clamping force against a circumferential periphery of the battery when the battery is disposed in the receiving space.
2. The battery holder as claimed in claim 1, wherein the first end block defines a recess in an inner surface thereof and communicating with the receiving space for receiving the first conductive contact.
3. The battery holder as claimed in claim 2, wherein the first end block forms a stopping bar adjacent to the recess, and wherein the spring arm of the first conductive contact has a free end abutted against the stopping bar.
4. The battery holder as claimed in claim 3, wherein the base section of the first conductive contact forms several barbs on opposite sides thereof to be interferingly retained in the recess.
5. The battery holder as claimed in claim 1, wherein the second end block defines a slit for receiving the base section of the second conductive contact.
6. The battery holder as claimed in claim 5, wherein the base section of the second conductive contact forms several barbs for interferingly engaging with the slit.
7. The battery holder as claimed in claim 6, wherein each clip member extends vertically from an upper portion of the lateral side of the base section of the second conductive contact and forms a curved projection for abutting against an upper portion of the outer surface of the battery.
8. A battery holder assembly comprising:
an elongate battery having negative and positive terminals on opposite ends thereof, respectively;
a battery holder holding the battery and adapted for to electrically connecting the battery to a circuit board, comprising,
a dielectric housing defining a receiving space receiving the battery therein, and
negative and positive conductive contacts secured to opposite ends of the dielectric housing, each of the contacts forming a base section retained in the dielectric housing, a resilient beam conductively contacting a corresponding terminal of the battery, and a soldering tail adapted for soldering to the circuit board; wherein
one of the pair of negative and positive conductive contacts further forms a pair of clip members extending from opposite sides of the base section thereof, the clip members exerting a clamping force against a circumferential periphery of the battery to thereby hold the battery in the receiving space.
9. The battery holder assembly as claimed in claim 8, wherein the housing of the battery holder has opposite side walls and opposite first and second end blocks which cooperatively define the receiving space.
10. The battery holder as claimed in claim 9, wherein the first end block defines a recess in an inner surface thereof and communicating with the receiving space for receiving the first conductive contact.
11. The battery holder as claimed in claim 10, wherein the first end block forms a stopping bar adjacent to the recess, and wherein the resilient beam of the first conductive contact has a free end abutted against the stopping bar.
12. The battery holder as claimed in claim 11, wherein the base section of the first conductive contact forms several barbs on opposite sides thereof to be interferingly retained in the recess.
13. The battery holder as claimed in claim 9, wherein the second end block defines a slit for receiving the base section of the second conductive contact.
14. The battery holder as claimed in claim 13, wherein the base section of the second conductive contact forms several barbs for interferingly engaging with the slit.
15. The battery holder as claimed in claim 8, wherein each clip member extends vertically from an upper portion of the lateral side of the base section of the second conductive contact and forms a curved projection for abutting against an upper portion of the outer surface of the battery.
16. A battery holder assembly comprising:
an elongated battery defining a main body with positive and negative terminals at two opposite ends;
a battery holder defining a receiving space in which the battery is disposed;
positive and negative contacts located at two opposite ends of the holder and mechanically and electrically contacting the corresponding positive and negative terminals, respectively;
one of said positive and negative contacts further defining at least one clip member extending transversely to grasp the main body of the battery; and
at least a flange integrally formed on the holder and extending transversely to grasp the main body of the battery; wherein
said flange is located close to the other of said positive and negative contacts.
17. The assembly as claimed in claim 16, wherein said one of the positive and negative contacts is installed into the holder downwardly while the other of said positive and negative contacts is installed into the holder upwardly.
18. The assembly as claimed in claim 16, wherein said one of the positive and negative contacts is the positive contact and said other is the negative contact.
19. The assembly as claimed in claim 16, wherein the clip member grasps the main body of the battery around the positive terminal, and said flange grasps the main body of the battery around the negative terminal.
US10/116,293 2002-04-03 2002-04-03 Battery holder having means for securely retaining battery in position Expired - Fee Related US6623293B1 (en)

Priority Applications (3)

Application Number Priority Date Filing Date Title
US10/116,293 US6623293B1 (en) 2002-04-03 2002-04-03 Battery holder having means for securely retaining battery in position
TW091211437U TW555163U (en) 2002-04-03 2002-07-26 Battery holder having means for securely retaining battery in position
CN02247258U CN2562378Y (en) 2002-04-03 2002-08-23 Battery seats

Applications Claiming Priority (1)

Application Number Priority Date Filing Date Title
US10/116,293 US6623293B1 (en) 2002-04-03 2002-04-03 Battery holder having means for securely retaining battery in position

Publications (2)

Publication Number Publication Date
US6623293B1 US6623293B1 (en) 2003-09-23
US20030190837A1 true US20030190837A1 (en) 2003-10-09

Family

ID=22366307

Family Applications (1)

Application Number Title Priority Date Filing Date
US10/116,293 Expired - Fee Related US6623293B1 (en) 2002-04-03 2002-04-03 Battery holder having means for securely retaining battery in position

Country Status (3)

Country Link
US (1) US6623293B1 (en)
CN (1) CN2562378Y (en)
TW (1) TW555163U (en)

Cited By (12)

* Cited by examiner, † Cited by third party
Publication number Priority date Publication date Assignee Title
US7347749B1 (en) * 2006-10-13 2008-03-25 Lotes Co., Ltd. Electrical connector with pivoting terminal
CN100530855C (en) * 2006-09-11 2009-08-19 鸿富锦精密工业(深圳)有限公司 Battery contact flat spring
DE102008061717A1 (en) * 2008-12-12 2010-06-17 Continental Automotive Gmbh Tachograph device
ITBO20100418A1 (en) * 2010-06-30 2011-12-31 Ova G Bargellini S P A SUPPORT GROUP FOR BATTERIES AND SIMILARS AND A RESPECTIVE EMERGENCY LAMP PROVIDED WITH A SUPPORT GROUP FOR BATTERIES AND THE LIKE.
US20120184137A1 (en) * 2011-01-19 2012-07-19 Molex Incorporated High current electrical connector
US20140004737A1 (en) * 2012-07-01 2014-01-02 Chou Hsien Tsai Battery holder
US20140342206A1 (en) * 2013-05-20 2014-11-20 Nintendo Co., Ltd. Battery accommodation structure and battery accommodation method
JP2014229391A (en) * 2013-05-20 2014-12-08 任天堂株式会社 Battery housing structure and battery housing method
KR20160135178A (en) * 2014-03-19 2016-11-25 필립모리스 프로덕츠 에스.에이. Monolithic plane with electrical contacts and methods for manufacturing the same
WO2020182751A1 (en) * 2019-03-11 2020-09-17 Nicoventures Trading Limited Aerosol provision device
US11742154B2 (en) 2017-05-24 2023-08-29 Panasonic Intellectual Property Management Co., Ltd. Electricity storage module and electricity storage unit
US12127595B2 (en) 2019-03-11 2024-10-29 Nicoventures Trading Limited Aerosol provision device

Families Citing this family (15)

* Cited by examiner, † Cited by third party
Publication number Priority date Publication date Assignee Title
TW562247U (en) * 2002-12-06 2003-11-11 Hon Hai Prec Ind Co Ltd Battery connector
DE10308612B3 (en) * 2003-02-27 2004-11-18 Siemens Ag Electrical connection through a partition
WO2008007237A2 (en) * 2006-06-08 2008-01-17 Koninklijke Philips Electronics N.V. Submount for electronic components
CN201054454Y (en) * 2007-05-07 2008-04-30 富士康(昆山)电脑接插件有限公司 electrical connector
US7815337B2 (en) * 2007-11-16 2010-10-19 Grossman Victor A Flexible battery container and method of use
CN201130757Y (en) * 2007-11-16 2008-10-08 富士康(昆山)电脑接插件有限公司 electrical connector
CN201252318Y (en) * 2008-01-10 2009-06-03 富士康(昆山)电脑接插件有限公司 Electric connector
US7857668B2 (en) * 2008-04-11 2010-12-28 Avx Corporation Connector module for ruggedized applications
US20120077356A1 (en) * 2010-09-29 2012-03-29 Omron Corporation Socket for electrolytic capacitors
US8246379B1 (en) * 2011-04-20 2012-08-21 Cheng Uei Precision Industry Co., Ltd. Battery connector
CN202840021U (en) * 2012-08-14 2013-03-27 美国莫列斯股份有限公司 Electrical connector
US9803882B2 (en) 2013-03-15 2017-10-31 Honeywell International Inc. Housing for an electronic device internal walls
CN206349421U (en) * 2016-11-29 2017-07-21 深圳市艾维普思科技股份有限公司 Battery compartment and electronic cigarette
CN206931629U (en) * 2017-04-20 2018-01-26 深圳市大疆创新科技有限公司 Battery fastening structure and electronic installation
CN115911724B (en) * 2022-11-25 2023-09-19 哈尔滨昆宇新能源有限公司 Integrated liquid cooling battery box

Family Cites Families (5)

* Cited by examiner, † Cited by third party
Publication number Priority date Publication date Assignee Title
US3181974A (en) * 1962-05-16 1965-05-04 Barb Inc Releasable battery clip
US5211579A (en) * 1992-05-15 1993-05-18 Molex Incorporated Battery holder
US5395263A (en) * 1993-03-24 1995-03-07 C & K Systems, Inc. Dual battery holder
US5586907A (en) * 1995-08-25 1996-12-24 The Whitaker Corporation Battery connector
DE69821106D1 (en) * 1998-10-23 2004-02-19 Renata Ag Itingen Button cell holder with vertical positioning

Cited By (26)

* Cited by examiner, † Cited by third party
Publication number Priority date Publication date Assignee Title
CN100530855C (en) * 2006-09-11 2009-08-19 鸿富锦精密工业(深圳)有限公司 Battery contact flat spring
US7347749B1 (en) * 2006-10-13 2008-03-25 Lotes Co., Ltd. Electrical connector with pivoting terminal
US20080090474A1 (en) * 2006-10-13 2008-04-17 Lotes Co., Ltd. Electrical connector with pivoting terminal
DE102008061717A1 (en) * 2008-12-12 2010-06-17 Continental Automotive Gmbh Tachograph device
DE102008061717B4 (en) * 2008-12-12 2011-09-15 Continental Automotive Gmbh Tachograph device
ITBO20100418A1 (en) * 2010-06-30 2011-12-31 Ova G Bargellini S P A SUPPORT GROUP FOR BATTERIES AND SIMILARS AND A RESPECTIVE EMERGENCY LAMP PROVIDED WITH A SUPPORT GROUP FOR BATTERIES AND THE LIKE.
EP2403033A1 (en) * 2010-06-30 2012-01-04 Schneider Electric Industrie Italia S.p.A. Supporting assembly for batteries and corresponding emergency lamp provided with such supporting assembly.
US20120184137A1 (en) * 2011-01-19 2012-07-19 Molex Incorporated High current electrical connector
US8696382B2 (en) * 2011-01-19 2014-04-15 Molex Incorporated High current electrical connector
US20140004737A1 (en) * 2012-07-01 2014-01-02 Chou Hsien Tsai Battery holder
EP2806480A3 (en) * 2013-05-20 2014-12-31 Nintendo Co., Ltd. Battery accomodation structure and battery accomodation method
JP2014229391A (en) * 2013-05-20 2014-12-08 任天堂株式会社 Battery housing structure and battery housing method
US20140342206A1 (en) * 2013-05-20 2014-11-20 Nintendo Co., Ltd. Battery accommodation structure and battery accommodation method
KR20220103197A (en) * 2014-03-19 2022-07-21 필립모리스 프로덕츠 에스.에이. Monolithic plane with electrical contacts and methods for manufacturing the same
JP2017513463A (en) * 2014-03-19 2017-06-01 フィリップ・モーリス・プロダクツ・ソシエテ・アノニム Method for manufacturing monolithic plane with electrical contacts and left
US10433582B2 (en) 2014-03-19 2019-10-08 Philip Morris Products S.A. Monolithic plane with electrical contacts and methods for manufacturing the same
JP2019187447A (en) * 2014-03-19 2019-10-31 フィリップ・モーリス・プロダクツ・ソシエテ・アノニム Monolithic plane having electric contact point and method for manufacturing the same
KR102420698B1 (en) * 2014-03-19 2022-07-15 필립모리스 프로덕츠 에스.에이. Electrically operated aerosol generating devices having a monolithic ground plane and methods of assembling the same
KR20160135178A (en) * 2014-03-19 2016-11-25 필립모리스 프로덕츠 에스.에이. Monolithic plane with electrical contacts and methods for manufacturing the same
KR102532404B1 (en) 2014-03-19 2023-05-16 필립모리스 프로덕츠 에스.에이. Monolithic plane with electrical contacts and methods for manufacturing the same
US11779054B2 (en) 2014-03-19 2023-10-10 Philip Morris Products S.A. Monolithic plane with electrical contacts and methods for manufacturing the same
US11742154B2 (en) 2017-05-24 2023-08-29 Panasonic Intellectual Property Management Co., Ltd. Electricity storage module and electricity storage unit
WO2020182751A1 (en) * 2019-03-11 2020-09-17 Nicoventures Trading Limited Aerosol provision device
US20220191979A1 (en) * 2019-03-11 2022-06-16 Nicoventures Trading Limited Aerosol provision device
US12127595B2 (en) 2019-03-11 2024-10-29 Nicoventures Trading Limited Aerosol provision device
US12369231B2 (en) * 2019-03-11 2025-07-22 Nicoventures Trading Limited Aerosol provision device

Also Published As

Publication number Publication date
US6623293B1 (en) 2003-09-23
TW555163U (en) 2003-09-21
CN2562378Y (en) 2003-07-23

Similar Documents

Publication Publication Date Title
US6623293B1 (en) Battery holder having means for securely retaining battery in position
US5876241A (en) Horizontal battery connector
US5211579A (en) Battery holder
US7467963B2 (en) Locking structure for card edge connector
US7794285B1 (en) Audio jack connector
US6638105B1 (en) Self-retaining board lock for electrical connector
US6669504B2 (en) Coin battery connector
US7628660B2 (en) Battery connector having a bracket
JP3114220U (en) Electrical connector
US6368156B1 (en) Audio jack conveniently and reliably mounted on a circuit board
US6086418A (en) Electrical connector
JP3746515B2 (en) Mobile phone connection system
US6530804B1 (en) Battery holder
JPH07147170A (en) Plug socket with plug locking mechanism
JP2649776B2 (en) Electrical connector
US20050124192A1 (en) Electrical connector with an improved retainer
JPH0950838A (en) Surface engaging type electric connector
US20010002346A1 (en) Battery connector
CN110729583B (en) Positive reverse plug USB plug
US20020155743A1 (en) PGA socket and contact
US6652302B1 (en) Electrical connector with pivotable contact
US6568963B2 (en) Electrical connector assembly with improved contacts
US6579119B1 (en) Battery holder
US20050130506A1 (en) Connector
JPH07211370A (en) Electric connector to be mounted on printed circuit board

Legal Events

Date Code Title Description
AS Assignment

Owner name: HON HAI PRECISION IND. CO., LTD., TAIWAN

Free format text: ASSIGNMENT OF ASSIGNORS INTEREST;ASSIGNOR:WU, JERRY;REEL/FRAME:012768/0341

Effective date: 20020319

FPAY Fee payment

Year of fee payment: 4

REMI Maintenance fee reminder mailed
LAPS Lapse for failure to pay maintenance fees
STCH Information on status: patent discontinuation

Free format text: PATENT EXPIRED DUE TO NONPAYMENT OF MAINTENANCE FEES UNDER 37 CFR 1.362

FP Lapsed due to failure to pay maintenance fee

Effective date: 20110923