RU63243U1 - Сепаратор автономный центробежный проточного типа для нефтешламов - Google Patents
Сепаратор автономный центробежный проточного типа для нефтешламов Download PDFInfo
- Publication number
- RU63243U1 RU63243U1 RU2006144091/22U RU2006144091U RU63243U1 RU 63243 U1 RU63243 U1 RU 63243U1 RU 2006144091/22 U RU2006144091/22 U RU 2006144091/22U RU 2006144091 U RU2006144091 U RU 2006144091U RU 63243 U1 RU63243 U1 RU 63243U1
- Authority
- RU
- Russia
- Prior art keywords
- separator
- mechanical impurities
- oil sludge
- centrifugal flow
- autonomous
- Prior art date
Links
- 239000010802 sludge Substances 0.000 title abstract description 7
- 239000012535 impurity Substances 0.000 claims abstract description 14
- 238000005086 pumping Methods 0.000 claims abstract description 9
- 238000000034 method Methods 0.000 claims abstract description 6
- 238000000926 separation method Methods 0.000 claims abstract description 4
- 239000007788 liquid Substances 0.000 claims abstract 2
- 239000002351 wastewater Substances 0.000 claims 1
- 238000004140 cleaning Methods 0.000 description 5
- 239000000725 suspension Substances 0.000 description 3
- 239000012530 fluid Substances 0.000 description 2
- 230000008021 deposition Effects 0.000 description 1
- 150000002894 organic compounds Chemical class 0.000 description 1
- 239000002245 particle Substances 0.000 description 1
- 238000007670 refining Methods 0.000 description 1
- 239000013049 sediment Substances 0.000 description 1
- 239000000126 substance Substances 0.000 description 1
Landscapes
- Centrifugal Separators (AREA)
Abstract
Сепаратор автономный центробежный проточного типа для нефтешламов, являющийся частью трубопровода, включающий конический корпус с встроенным направляющим аппаратом и турбиной, осуществляющий процесс центробежного разделения продукта (жидкости) от механических примесей с использованием кинетической энергии пара и перекачивающего продукта, причем выгрузка отделенных механических примесей происходит без остановки процесса перекачки.
Description
Предлагаемое устройство относится к устройствам центробежного разделения суспензий и может быть использовано в химической, газоперерабатывающей, нефтеперерабатывающей и других областях промышленности.
Известно устройство, представляющее собой центробежный очиститель для очистки рабочих жидкостей гидросистем, содержащий корпус, ротор с соплами, верхними и нижними дисками, полую ось, в которую осуществляют подвод исходной жидкости (авторское свидетельство СССР №301162 МПК В01D 21/26).
Известен также центробежный очиститель, содержащий корпус, ротор с регулируемыми соплами, установленные на полой оси верхний диск, усеченный конус и нижний диск (авторское свидетельство СССР №659168 МПК В01D 21/26).
Недостатками вышеперечисленных очистителей являются возможность выноса частиц осевших загрязнений из ротора, что снижает эффективность очистки.
Наиболее близким к предлагаемому устройству является центробежный очиститель (авторское свидетельство СССР №957929 М.Кл. В01D 21/26), содержащий корпус, установленный на полом валу с
отверстиями, ротор с механическим приводом, выполненный в виде верхнего усеченного конуса с расширением книзу и нижнего диска с цилиндрическими перфорированными стаканами и лопатками, колпак и днище, снабженный радиальными лопатками, установленными на верхнем конусе и днище ротора.
К недостаткам данного очистителя следует отнести зависимость работы от электромеханического привода.
Предлагаемое устройство предназначено для улавливания, сбора и выгрузки механических примесей при перекачке нефтешламов, полученных в результате зачистки нефтехранилищ от донных отложений без использования электромеханического привода, совмещая очистку с транспортировкой.
Технической задачей является устранение вышеуказанных недостатков и повышение эффективности очистки нефтешламов при перекачке.
Технический результат достигается тем, что в устройстве отделение механических примесей производится с использованием кинетической энергии перекачиваемого продукта и пара, а выгрузка накопившихся механических примесей производится без прекращения процесса перекачки.
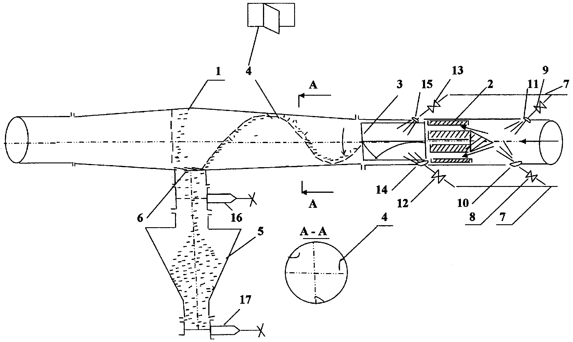
На чертеже фиг.1 изображен сепаратор, горизонтальный разрез:
разрез А-А.
Сепаратор представляет собой конусообразный трубчатый корпус 1 с встроенными в него направляющим аппаратом 2 с лопатками и турбиной 3. На внутренних стенках вдоль корпуса сепаратора 1 расположены направляющие-ловушки 4, направленные в приемник-накопитель 5. Вход в накопитель перекрывают щелевидные заслонки 6, а в корпус сепаратора перед направляющими аппарата 2 вварены тангенциальные вводы 8 и 9, через которые пар из паропровода 7 поступает на форсунки 10 и 11, направленные под углом к оси сепаратора. В корпус сепаратора напротив
турбины также вварены тангенциальные вводы подачи пара 12 и 13 с форсунками 14, 10, направленные под углом к оси сепаратора.
Сепаратор для очистки нефтешлама работает следующим образом:
Поток перекачиваемого нефтешлама под действием пара из 2-х форсунок 10, 11 из тангенциальных вводов 8, 9 перед направляющим аппаратом 2 получает предварительное вращение. Далее поток суспензии, протекая через направляющий аппарат 2 с уменьшенным проходным сечением, увеличивает скорость и получает при этом дополнительное вращение.
Из направляющего аппарата вращающийся поток суспензии попадает на лопатки турбины 3, заставляя ее вращаться. Скорость вращения турбины увеличивается также под действием пара еще двух форсунок 14, 15 тангенциальных вводов 12, 13. Таким образом, нефтешламы под действием пара нагреваются, разжижаются, последовательно увеличивая скорость вращения потока. При этом тяжелые механические примеси под действием центробежной силы отбрасываются лопатками турбины 3 к стенкам расширяющегося корпуса сепаратора, где скорость потока значительно снижена и, попадая в направляющие-ловушки 4, потоком переносятся по касательной вдоль корпуса сепаратора в приемник-накопитель 5, где, теряя скорость и резко меняя направление движения, оседают на дно.
Выгрузка механических примесей из накопителя производится последовательным закрытием задвижки 16 и открытием задвижки 17. При этом конструктивные особенности накопителя позволяют производить смыв паром органических соединений механических примесей при их осаждении, а также производить качественную их выгрузку, не прерывая процесса перекачки.
Таким образом, конструкция сепаратора выгодно отличается от известных устройств отсутствием электромеханического привода и
возможностью монтажа сепаратора на любом участке перекачивающего трубопровода, которые сочетаются с достаточно эффективной очисткой продукта от механических примесей и возможностью освобождать накопитель от механических примесей, не прерывая процесс перекачки.
Claims (4)
1. Сепаратор автономный центробежный проточного типа для нефтепродуктов и сточных вод, отличающийся тем, что для центробежного разделения жидкости и механических примесей используется кинетическая энергия перекачиваемого продукта, при этом для дополнительной подачи перекачиваемого продукта на турбину с лопатками используются обводные каналы, причем на внутренних стенках корпуса сепаратора расположены ловушки для улавливания механических примесей.
2. Сепаратор по п.1, отличающийся тем, что ловушки внутри корпуса сепаратора располагаются по объемной спирали.
3. Сепаратор по п.1, отличающийся тем, что механические примеси, улавливаемые ловушками, попадают в накопитель через щелевидные заслонки.
Priority Applications (1)
| Application Number | Priority Date | Filing Date | Title |
|---|---|---|---|
| RU2006144091/22U RU63243U1 (ru) | 2006-12-11 | 2006-12-11 | Сепаратор автономный центробежный проточного типа для нефтешламов |
Applications Claiming Priority (1)
| Application Number | Priority Date | Filing Date | Title |
|---|---|---|---|
| RU2006144091/22U RU63243U1 (ru) | 2006-12-11 | 2006-12-11 | Сепаратор автономный центробежный проточного типа для нефтешламов |
Publications (1)
| Publication Number | Publication Date |
|---|---|
| RU63243U1 true RU63243U1 (ru) | 2007-05-27 |
Family
ID=38311433
Family Applications (1)
| Application Number | Title | Priority Date | Filing Date |
|---|---|---|---|
| RU2006144091/22U RU63243U1 (ru) | 2006-12-11 | 2006-12-11 | Сепаратор автономный центробежный проточного типа для нефтешламов |
Country Status (1)
| Country | Link |
|---|---|
| RU (1) | RU63243U1 (ru) |
-
2006
- 2006-12-11 RU RU2006144091/22U patent/RU63243U1/ru not_active IP Right Cessation
Similar Documents
| Publication | Publication Date | Title |
|---|---|---|
| JP3848372B2 (ja) | 液体から固体粒子を不連続に分離するための装置及び方法 | |
| JP2015120157A (ja) | ガス混合物から油を分離する為の装置、及びガス混合物から油を分離する為の方法 | |
| RU2013136786A (ru) | Дноуглубительное устройство и способ удаления осадочных отложений со дна | |
| JP5264001B1 (ja) | 浮上油分離回収装置 | |
| DK146616B (da) | Apparat til opsamling af forureninger navnlig olie, fra en overfladeforurenet vaeske | |
| CN206837644U (zh) | 一种新型污水处理装置 | |
| JP4213644B2 (ja) | 液処理装置 | |
| DK159908B (da) | Centrifuge med energigenindvinding | |
| KR102574743B1 (ko) | 원심 저감 분리기 | |
| CN102861479B (zh) | 自清洗旋流复合精密除沙器 | |
| US5281195A (en) | Centrifugal liquid cleaning apparatus and method | |
| RU63243U1 (ru) | Сепаратор автономный центробежный проточного типа для нефтешламов | |
| WO2007011233A1 (en) | Fluid separator | |
| RU63242U1 (ru) | Сепаратор автономный центробежный проточного типа для нефтепродуктов и сточных вод | |
| CN108452587A (zh) | 一种离心过滤机 | |
| CN115708971B (zh) | 一种灌溉用水的循环除砂装置 | |
| JP4775913B2 (ja) | サイクロン式濾過装置 | |
| CN108654180B (zh) | 污水旋转过滤方法以及用于污水处理的过滤器 | |
| RU120577U1 (ru) | Устройство для очистки жидких сред от примесей | |
| RU2559277C1 (ru) | Сепаратор механических примесей для жидкости | |
| RU197197U1 (ru) | Устройство для очистки жидкости от механических частиц | |
| CN120771608B (zh) | 一种带有预筛分功能的螺旋阶梯式淤泥截留装置 | |
| RU78085U1 (ru) | Фильтр для очистки жидкостей | |
| JP4944532B2 (ja) | 繊維材料懸濁液を処理するための装置 | |
| JP7259163B2 (ja) | ポンプ装置及びサイクロン型水処理装置 |
Legal Events
| Date | Code | Title | Description |
|---|---|---|---|
| MM1K | Utility model has become invalid (non-payment of fees) |
Effective date: 20111212 |
