RU40887U1 - Устройство для лечения ран и полостей - Google Patents
Устройство для лечения ран и полостей Download PDFInfo
- Publication number
- RU40887U1 RU40887U1 RU2004112334/22U RU2004112334U RU40887U1 RU 40887 U1 RU40887 U1 RU 40887U1 RU 2004112334/22 U RU2004112334/22 U RU 2004112334/22U RU 2004112334 U RU2004112334 U RU 2004112334U RU 40887 U1 RU40887 U1 RU 40887U1
- Authority
- RU
- Russia
- Prior art keywords
- tube
- cavities
- guide tube
- treatment
- treating wounds
- Prior art date
Links
- 206010052428 Wound Diseases 0.000 claims abstract description 15
- 208000027418 Wounds and injury Diseases 0.000 claims abstract description 15
- 230000002262 irrigation Effects 0.000 claims abstract description 7
- 238000003973 irrigation Methods 0.000 claims abstract description 7
- 239000013013 elastic material Substances 0.000 claims 1
- 206010000269 abscess Diseases 0.000 description 3
- 239000003814 drug Substances 0.000 description 3
- 230000001225 therapeutic effect Effects 0.000 description 3
- 238000002604 ultrasonography Methods 0.000 description 3
- 206010060921 Abdominal abscess Diseases 0.000 description 2
- 238000005406 washing Methods 0.000 description 2
- 239000000853 adhesive Substances 0.000 description 1
- 230000001070 adhesive effect Effects 0.000 description 1
- 238000004140 cleaning Methods 0.000 description 1
- 229940079593 drug Drugs 0.000 description 1
- 210000000416 exudates and transudate Anatomy 0.000 description 1
- 238000011010 flushing procedure Methods 0.000 description 1
- 238000002695 general anesthesia Methods 0.000 description 1
- 239000007788 liquid Substances 0.000 description 1
- 238000002690 local anesthesia Methods 0.000 description 1
- 239000000463 material Substances 0.000 description 1
- 239000011505 plaster Substances 0.000 description 1
- 230000000069 prophylactic effect Effects 0.000 description 1
Landscapes
- Media Introduction/Drainage Providing Device (AREA)
Abstract
Полезная модель относится к области медицинской технике, предназначенной для лечения гнойных ран и полостей организма. Цель создания полезной модели - повышение эффективности лечения. Устройство содержит аспирационную и ирригационную трубки, размещенные с возможностью перемещения в трубке-направителя, и образующее П-образные перфорированные участки над торцом трубки-направителя
Description
Полезная модель относится к области медицины, а именно к медицинской технике предназначенной для лечения ран и полостей организма и может быть использована для дренирования абсцесса брюшной полости под узи-контролем.
Известно устройство для лечения ран и полостей содержащее подводящую лечебный раствор трубку и лепестки 1.
Недостатком данного устройства является низкая эффективность лечебного воздействия.
Известно устройство для лечения полостей содержащее многоканальную трубку, соединенную с полыми перфорированными лепестками 2.
Недостатком данного устройства является повышенная сложность и трудоемкость использования.
Известен дренаж ран и полостей, содержащий две перфорированные трубки, соединенные между собой по образующей 3.
Недостатком данного устройства является низкая эффективность лечебного воздействия.
Известно также устройство для лечения ран и полостей, содержащее две эластичные перфорированные трубки 4.
Недостатком данного устройства является низкая эффективность лечения вследствии того, что аспирационный раствор не омывает всю поверхность раны или полости.
Целью создания полезной модели является повышение эффективности лечения за счет получения возможности наиболее полного смывания поверхности раны или полости.
Эта цель достигается тем, что аспирационная и ирригационная трубки размещены с возможностью перемещения в трубке-направителя, их рабочие перфорированные участки выходят из трубки-направителя, изогнуты П-образно, а торцы жестко закреплены к торцу трубке-направителя, причем отверстия перфорации трубок могут быть выполнены на внешней или внутренней стороне П-образного участка, а также могут быть выполнены по винтовой линии.
Сравнение предлагаемого устройства с другими, известными в области медицины устройствами, показало его соответствие критериям полезной модели.
Полезная модель поясняется графическим материалом, на котором изображено предлогаемое устройство.
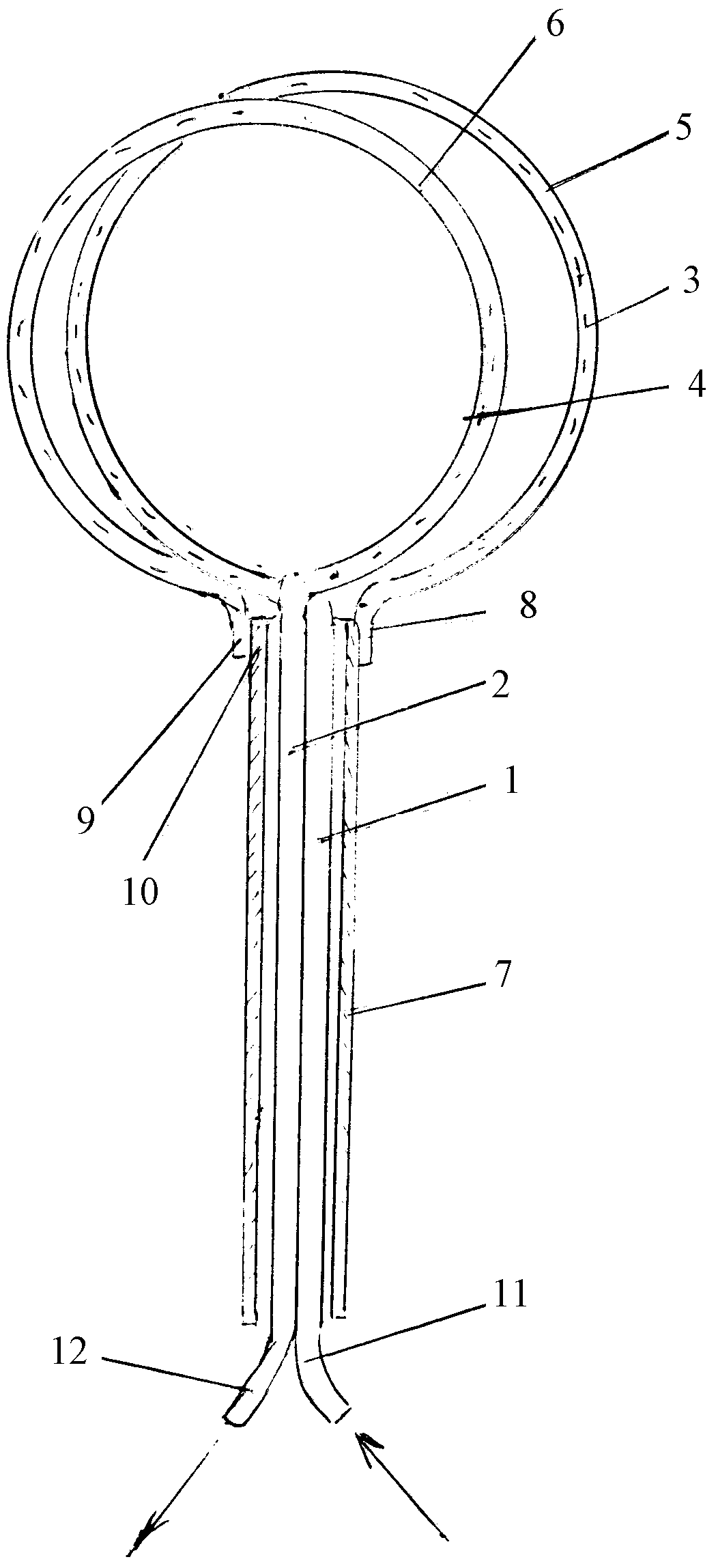
Устройство для лечения ран и полостей содержит аспирационную 1 и ирригационную 2 трубки, снабженные отверстиями 3 и 4 перфорации на рабочих участках 5 и 6. Трубки 1 и 2 расположены с возможностью перемещения в трубке-направителе 7, их рабочие участки 5 и 6 выходят из трубке-направителя 7, изогнуты П-образно, торцы 8 и 9 жестко закреплены к торцу 10 трубке-направителя 7. Отверстия перфорации 3 и 4 на трубках 1 и 2 могут быть
выполнены по винтовой линии, расположены на внешней или внутренней стороне П-образных участков. Проксимальные концы 11 и 12 трубок 1 и 2 подсоединены к источникам лекарственного раствора и вакуума (на чертеже не показано). Устройство для лечения ран и полостей используют следующем образом. Под местной или общей анестезией под узи-контролем делают прокол абсцесса троакаром, с последующей аспирацией гнойного содержимого. Устройство вводят в полость абсцесса с фиксацией лейкопластырем. Продвигают трубки 1 и 2 в полость абсцесса, разводя ее стенки и раскрывая карманы. По трубке 1 подают лечебный раствор, по трубке 2 удаляется промывная жидкость и эксудат.
Использование предлогаемого устройства позволяет проводить аспирацию лечебно-профилактическим раствором гнойных ран и полостей, качественное промывание и очистку полости и ее боковых карманов, что в свою очередь повышает эффективность и сокращает сроки лечения.
Устройство возможно и целесообразно использовать для дренирования абсцессов брюшной полости под узи-контролем.
ИСТОЧНИК ИНФОРМАЦИИ:
1. Патент США №4692153, кл. А 61 М 25/00, 1987 г.
2. Авторское свидетельство СССР №1591994, кл. А 61 М 31/00, 1990 г.
3. Авторское свидетельство СССР №1292791, кл. А 61 М 27/00, 1987 г.
4. Авторское свидетельство СССР №11091175, кл. А 61 М 27/00, 1981 г.
Claims (5)
1. Устройство для лечения ран и полостей, содержащее аспирационную и ирригационную трубки из эластичного материала с перфорированными рабочими участками, отличающееся тем, что аспирационная и ирригационная трубки размещены с возможностью перемещения в трубке-направителе, их рабочие перфорированные участки выходят из трубки-направителя, изогнуты П-образно, а торцы жестко закреплены к торцу трубки-направителя.
2. Устройство для лечения ран и полостей по п.1, отличающееся тем, что отверстия перфорации аспирационной трубки выполнены на внешней или внутренней стороне П-образного участка трубки.
3. Устройство для лечения ран и полостей по пп.1 и 2, отличающееся тем, что отверстия перфорации ирригационной трубки выполнены на внешней или внутренней стороне П-образного участка.
4. Устройство для лечения ран и полостей по п.1, отличающееся тем, что отверстия перфорации аспирационной трубки выполнены по винтовой линии.
Priority Applications (1)
| Application Number | Priority Date | Filing Date | Title |
|---|---|---|---|
| RU2004112334/22U RU40887U1 (ru) | 2004-04-22 | 2004-04-22 | Устройство для лечения ран и полостей |
Applications Claiming Priority (1)
| Application Number | Priority Date | Filing Date | Title |
|---|---|---|---|
| RU2004112334/22U RU40887U1 (ru) | 2004-04-22 | 2004-04-22 | Устройство для лечения ран и полостей |
Publications (1)
| Publication Number | Publication Date |
|---|---|
| RU40887U1 true RU40887U1 (ru) | 2004-10-10 |
Family
ID=37439257
Family Applications (1)
| Application Number | Title | Priority Date | Filing Date |
|---|---|---|---|
| RU2004112334/22U RU40887U1 (ru) | 2004-04-22 | 2004-04-22 | Устройство для лечения ран и полостей |
Country Status (1)
| Country | Link |
|---|---|
| RU (1) | RU40887U1 (ru) |
-
2004
- 2004-04-22 RU RU2004112334/22U patent/RU40887U1/ru not_active IP Right Cessation
Similar Documents
| Publication | Publication Date | Title |
|---|---|---|
| SU1818103A1 (en) | Device for treatment of contaminated wounds | |
| CN106730073B (zh) | 肛周术后封闭式双腔冲洗负压引流装置及使用方法 | |
| RU2537779C2 (ru) | Способ местного лечения воспалительных заболеваний полости матки и устройство для его осуществления | |
| RU40887U1 (ru) | Устройство для лечения ран и полостей | |
| ES2877164T3 (es) | Dispositivo médico, en particular para el tratamiento de fístulas | |
| RU125853U1 (ru) | Устройство для местного лечения воспалительных заболеваний полости матки | |
| ATE332724T1 (de) | Befestigbarer katheter | |
| RU2405586C1 (ru) | Устройство для введения лекарственных веществ в полость носа при тампонаде | |
| RU2557427C1 (ru) | Дренажное устройство | |
| RU42957U1 (ru) | Дренажное устройство | |
| RU238277U1 (ru) | Катетер для верхнечелюстной пазухи | |
| CN215995017U (zh) | 一种改进的肛瘘术后引流冲洗装置 | |
| CN221618136U (zh) | 一种口腔颌面部间隙感染冲洗引流装置 | |
| RU33011U1 (ru) | Система для дренирования гнойных полостей | |
| RU224370U1 (ru) | Игла-канюля Лунева для зондирования и промывания верхнечелюстной пазухи | |
| CN221206293U (zh) | 一种髋关节冲洗引流组件 | |
| CN1529568A (zh) | 对血管或海绵体进行超声波作用的方法、系统和仪器 | |
| RU85339U1 (ru) | Хирургический дренаж | |
| RU2160609C1 (ru) | Устройство для дренирования брюшной полости | |
| CN215652998U (zh) | 用于治疗毒蛇咬伤的冲洗装置 | |
| CN100387315C (zh) | 乳腺脓肿微创治疗管 | |
| RU150872U1 (ru) | Устройство для дренирования гнойных полостей | |
| RU207634U1 (ru) | Дренажная система для постоянного промывания гнойных полостей | |
| RU2775683C1 (ru) | Двухпросветный полиирригационный дренаж | |
| RU33711U1 (ru) | Многопросветный дренаж |
Legal Events
| Date | Code | Title | Description |
|---|---|---|---|
| MM1K | Utility model has become invalid (non-payment of fees) |
