RU29434U1 - Узел для гашения скорости истечения жидкости в резервуар - Google Patents
Узел для гашения скорости истечения жидкости в резервуар Download PDFInfo
- Publication number
- RU29434U1 RU29434U1 RU2002129429/20U RU2002129429U RU29434U1 RU 29434 U1 RU29434 U1 RU 29434U1 RU 2002129429/20 U RU2002129429/20 U RU 2002129429/20U RU 2002129429 U RU2002129429 U RU 2002129429U RU 29434 U1 RU29434 U1 RU 29434U1
- Authority
- RU
- Russia
- Prior art keywords
- tank
- damping
- rate
- chambers
- chamber
- Prior art date
Links
Landscapes
- Physical Or Chemical Processes And Apparatus (AREA)
Description
УЗЕЛ ДЛЯ ГАШЕНИЯ СКОРОСТИ ИСТЕЧЕНИЯ ЖИДКОСТИ В
РЕЗЕРВУАР
Полезная модель относится к технике защиты от вредных проявлений статического электричества и является гидротехническим устройством предназначенным для ограничения скорости истечения жидкости в резервуар и при его заполнении, преимущественно нефтепродуктами.
Процесс заполнения резервуаров нефтепродуктами является потенциально опасным вследствие того, что закачиваемый продукт приобретает заряды статического электричества, в результате чего в объёме резервуара возникает электрическое поле. Когда напряжённость электрического поля становится достаточной для развития ионизационных процессов, в пространстве над поверхностью жидкости начинают развиваться электрические разряды. (Б.К. Максимов, А.А. Обух, А.В. Тихонов. Электростатическая безопасность при заполнении резервуаров нефтепродуктами. -М.: Энергоатомиздат, 1989).
Искровые разряды статического электричества, при определённых условиях могут стать источником зажигания легковоспламеняющихся и горючих жидкостей, которыми наполняются резервуары в различных производственных процессах.
Существующая проблема может быть решена с применением специальной аппаратуры или специально разработанных конструкций, позволяющих устранить подобные эффекты.
Известно устройство для заполнения ёмкости электризующейся жидкостью, содержащее подводящий трубопровод с релаксационным наконечником на выходе, выполненным в виде, по крайней мере, двух отрезков труб с общей входной полостью (авторское свидетельство СССР № 1387207, Кл. Н 05 F 3/02, 1988).
Н 05 F 3/00
Недостатком указанного устройства является то, что оно может эксплуатироваться при заполнении резервуаров только в строго определённом режиме, при относительно постоянном расходе и напоре жидкости в подводящем трубопроводе. Изменение параметров, характеризующих движение жидкости по подводящему трубопроводу, влечёт за собой реконструкцию релаксационного наконечника (изменение количества и длины отрезков труб).
Известен наконечник трубопровода, содержащий насадок, формирующий придонный поток жидкости, выполненный в виде камеры с входным отверстием и формирователем потока (авторское свидетельство СССР № 858214, Кл. Н 05 F 1/00, 1981).
Основным его недостатком является то, что данный наконечник может быть расположен исключительно в нижней части резервуаров, что крайне затруднит их чистку и проведение других операций. В резервуарах производств, содержащих перемешивающие устройства, змеевики и другие конструктивные элементы, использование такой системы исключено.
Известен узел гашения скорости истечения жидкости в резервуар, включающий насадку в виде диффузора и камеру гашения цилиндрической формы, выполненную с возможностью крепления на оконечном трубопроводе, имеющем перфорированную зону. При этом может быть использовано более одной камеры гашения жёстко соединённых между собой, а их диаметр больше диаметра оконечного трубопровода. Данный узел принят за прототип, так как является наиболее близким к предлагаемой полезной модели по технической сущности и достигаемому результату (авторское свидетельство СССР № 1647929, Кл. Н 05 F 3/00, 1991).
Его недостатком является то, что он не обеспечивает эффективного снижения скорости и уменьшения турбулентности потока жидкости достаточных для предотвращения возникновения потенциалов статического электричества в резервуаре. Это ведёт к повышению взрывоопасное™процессазаполнениярезервуара
легковоспламеняющимися и горючими жидкостями. Кроме того, данный узел может быть расположен исключительно в нижней части резервуаров, что крайне затруднит их чистку и проведение других операций. В резервуарах производств, содержащих перемешивающие устройства, змеевики и другие конструктивные элементы, использование такой системы исключено. При этом он ограничивает скорость истечения жидкости в резервуар только в начальный период его заполнения.
Полезная модель направлена на снижение скорости и уменьшение турбулентности потока жидкости до значений, достаточных для предотвращения возникновения потенциалов статического электричества в резервуаре и, тем самым, снижение взрывоопасное™ процесса заполнения резервуара электризующейся жидкостью, преимущественно нефтепродуктами.
Поставленная задача достигается тем, что в предлагаемом узле гашения скорости истечения жидкости в резервуар, включающем две жёстко соединённые между собой камеры гашения цилиндрической формы и зоны перфорации, при этом диаметры камер гашения больше диаметра оконечного трубопровода, камеры гашения размещены коаксиально одна в другой, внутренняя камера выполнена с возможностью крепления на оконечном трубопроводе, при этом верхняя часть внутренней камеры выполнена в виде диффузора, зоны перфорации выполнены в обеих камерах, при этом во внутренней камере перфорация выполнена в боковой поверхности камеры, а в наружной - в её основании.
Отличием от прототипа является то, что камеры гашения размещены коаксиально одна в другой, верхняя часть внутренней камеры выполнена в виде диффузора, зоны перфорации выполнены в обеих камерах, при этом во внутренней камере перфорация выполнена в боковой поверхности камеры, а в наружной - в её основании.
Наличие отличительных признаков позволяет сделать вывод о соответствии заявляемого устройства критерию «новизна.
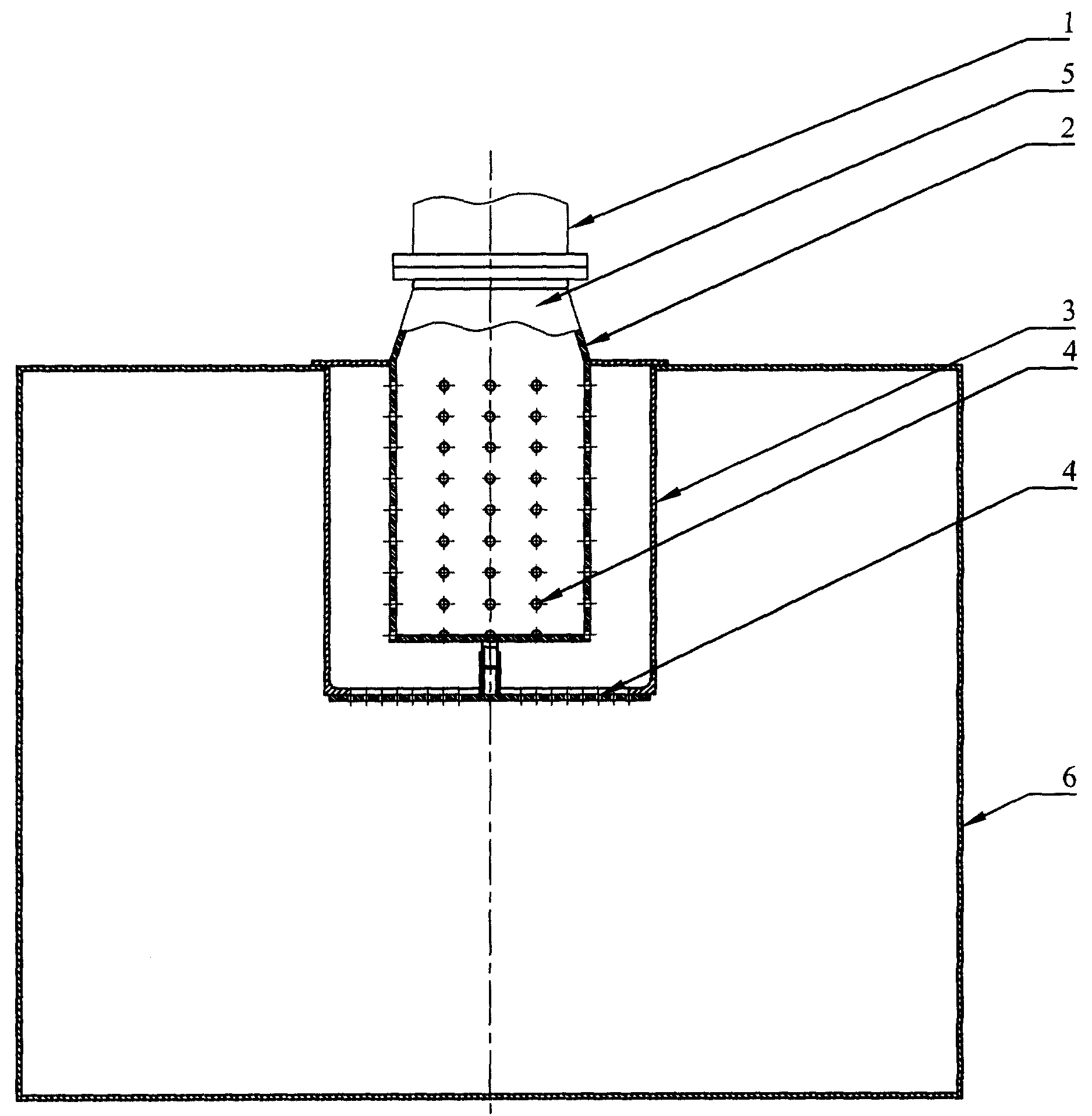
Предлагаемый узел иллюстрируется чертежом, где на фиг. представлен центральный вертикальный продольный разрез узла.
Узел состоит из оконечного трубопровода 1, к которому крепится внутренняя камера гашения скорости потока жидкости 2, коаксиально расположенная в наружной камере гашения 3 и жёстко соединённая с ней. Зоны перфорации 4 выполнены в обеих камерах. При этом в камере 2 перфорация 4 выполнена в боковой поверхности, а в камере 3 - в основании. Верхняя часть внутренней камеры гашения 2 выполнена в виде диффузора 5. Узел для гашения скорости истечения жидкости размещён в резервуаре 6.
Узел работает следующим образом. Жидкость, двигающаяся с повышенной скоростью по оконечному трубопроводу 1, поступает в диффузор 5, в котором, с ростом площади поперечного сечения, средняя скорость потока падает, так как общий коэффициент сопротивления диффузора становится до определённых пределов меньшим, чем для такой же длины участка оконечного трубопровода 1 постоянного сечения с площадью, равной начальной площади сечения диффузора. Угол расширения диффузора выполнен относительно небольшим, обеспечивающим устойчивый режим течения жидкости, так называемое безотрывное течение, которое не вызывает турбулентного перемешивания потока и отрыва пограничного слоя от стенки диффузора и связанного с этим сильного вихреобразования. Затем поток жидкости поступает во
внутреннюю камеру 2, основание которой в начальный момент наполнения камеры является отражательным экраном, где происходит гашение большей части кинетической энергии потока жидкости. Затем через перфорированную зону 4 в боковой поверхности внутренней камеры 2, поток жидкости направляется в наружную камеру 3, где происходит дальнейшее гашение его энергии. При этом суммарная площадь сечений отверстий перфорированной зоны 4 внутренней камеры 2 должна быть больше или равной площади сечения оконечного трубопровода (условие предотвращения гидравлического удара). Из наружной камеры 3 через перфорированную зону 4 в её основании, поток жидкости с увеличенной суммой потерь кинетической энергии поступает в резервуар 6. При этом суммарная площадь сечений отверстий перфорированной зоны 4 наружной камеры 3 должна быть больше или равной суммарной площади сечений отверстий перфорированной зоны 4 внутренней камеры 3. Суммарная величина потерь энергии потока в предлагаемом узле приводит к снижению скорости истечения жидкости в резервуар до требуемых значений, определяемых условиями взрывобезопасности.
Предлагаемый узел позволяет снизить скорость и уменьшить турбулентность потока жидкости, предотвращая, за счёт увеличения пути до выхода частиц жидкости на поверхность жидкости, накопление потенциалов статического электричества в резервуаре и, тем самым, снижая взрывоопасность процесса заполнения резервуара электризующейся жидкостью, преимущественно нефтепродуктами. Поступающий в узел поток жидкости находится в нём достаточное время для существенного снижения ранее приобретённого при движении по оконечному трубопроводу заряда. Скорость движения жидкости в предлагаемом узле меньше, чем на предшествующем участке наполнительной магистрали. Поток жидкости на выходе из узла не имеет резких гидродинамических параметров.
Формула полезной модели
Claims (1)
- Узел для гашения скорости истечения жидкости в резервуар, включающий две камеры гашения цилиндрической формы и зоны перфорации, при этом камеры гашения жестко соединены между собой, а их диаметры больше диаметра оконечного трубопровода, одна из камер выполнена с возможностью крепления на оконечном трубопроводе, отличающийся тем, что камеры гашения размещены коаксиально одна в другой, верхняя часть внутренней камеры выполнена в виде диффузора, зоны перфорации выполнены в обеих камерах, при этом во внутренней камере перфорация выполнена в боковой поверхности камеры, а в наружной - в ее основании.
Priority Applications (1)
| Application Number | Priority Date | Filing Date | Title |
|---|---|---|---|
| RU2002129429/20U RU29434U1 (ru) | 2002-11-04 | 2002-11-04 | Узел для гашения скорости истечения жидкости в резервуар |
Applications Claiming Priority (1)
| Application Number | Priority Date | Filing Date | Title |
|---|---|---|---|
| RU2002129429/20U RU29434U1 (ru) | 2002-11-04 | 2002-11-04 | Узел для гашения скорости истечения жидкости в резервуар |
Publications (1)
| Publication Number | Publication Date |
|---|---|
| RU29434U1 true RU29434U1 (ru) | 2003-05-10 |
Family
ID=48233647
Family Applications (1)
| Application Number | Title | Priority Date | Filing Date |
|---|---|---|---|
| RU2002129429/20U RU29434U1 (ru) | 2002-11-04 | 2002-11-04 | Узел для гашения скорости истечения жидкости в резервуар |
Country Status (1)
| Country | Link |
|---|---|
| RU (1) | RU29434U1 (ru) |
-
2002
- 2002-11-04 RU RU2002129429/20U patent/RU29434U1/ru not_active IP Right Cessation
Similar Documents
| Publication | Publication Date | Title |
|---|---|---|
| Hreiz et al. | On the effect of the nozzle design on the performances of gas–liquid cylindrical cyclone separators | |
| Wang et al. | Behavior and dynamics of bubble breakup in gas pipeline leaks and accidental subsea oil well blowouts | |
| Seyfried et al. | Experiments on conduit flow and eruption behavior of basaltic volcanic eruptions | |
| RU2164629C1 (ru) | Способ кавитации потока жидкости и устройство для его осуществления | |
| Yang et al. | Experimental and numerical study of separation characteristics in gas-liquid cylindrical cyclone | |
| HRP20171967T1 (hr) | Katalitički reaktor s ureðajem za gašenje predviðenim s tangencijalnim injektiranjem fluida za gašenje | |
| Kim et al. | Characteristics of the internal flow in a diesel injection nozzle | |
| RU141353U1 (ru) | Генератор полидисперсной высокократной пены вихревого типа | |
| RU29434U1 (ru) | Узел для гашения скорости истечения жидкости в резервуар | |
| WO2001079656A1 (fr) | Dispositif destine a l'exploitation des puits petroliers au moyen de l'extraction par ejection et du jaillissement (et variantes) | |
| CA2963237C (en) | A method of preparing an emulsion, a device for preparing said emulsion, and a vehicle | |
| RU138822U1 (ru) | Система пожаротушения в вертикальных резервуарах | |
| RU2452542C1 (ru) | Система пожаротушения в вертикальных резервуарах | |
| RU2405607C1 (ru) | Модуль пожаротушения | |
| RU152713U1 (ru) | Устройство для подачи ингибитора | |
| RU2681568C1 (ru) | Водосбросное сооружение | |
| EP3767069A1 (en) | A vortex device and a method for hydroacoustic treatment of a fluid | |
| RU180526U1 (ru) | Устройство для гашения энергии потока жидкости | |
| RU2341616C2 (ru) | Концевой участок раструбного типа напорного водопропускного сооружения с вертикальным выпуском воды | |
| RU2254156C1 (ru) | Способ порошкового пожаротушения и устройство для его осуществления | |
| RU2553956C1 (ru) | Система пожаротушения в вертикальных резервуарах | |
| RU2456419C1 (ru) | Резервуар для хранения жидких грузов | |
| Ibrahim et al. | Effect of liquid viscosity on two-phase flow development in a vertical large diameter pipe | |
| RU184285U1 (ru) | Устройство для очистки внутренней поверхности труб | |
| Wirth et al. | Critical mass-flow in orifice-nozzles at the disintegration of superheated liquids |
Legal Events
| Date | Code | Title | Description |
|---|---|---|---|
| MM1K | Utility model has become invalid (non-payment of fees) |
Effective date: 20061105 |
