RU2392697C1 - Туннельный магниторезистивный элемент - Google Patents
Туннельный магниторезистивный элемент Download PDFInfo
- Publication number
- RU2392697C1 RU2392697C1 RU2009116572/28A RU2009116572A RU2392697C1 RU 2392697 C1 RU2392697 C1 RU 2392697C1 RU 2009116572/28 A RU2009116572/28 A RU 2009116572/28A RU 2009116572 A RU2009116572 A RU 2009116572A RU 2392697 C1 RU2392697 C1 RU 2392697C1
- Authority
- RU
- Russia
- Prior art keywords
- current
- effect
- tunnel
- conductivity
- layer
- Prior art date
Links
- 230000005291 magnetic effect Effects 0.000 claims abstract description 35
- 230000005294 ferromagnetic effect Effects 0.000 claims abstract description 33
- 230000000694 effects Effects 0.000 claims abstract description 26
- 239000000758 substrate Substances 0.000 claims abstract description 7
- 239000004065 semiconductor Substances 0.000 abstract description 5
- 238000004377 microelectronic Methods 0.000 abstract description 2
- 230000007723 transport mechanism Effects 0.000 abstract description 2
- 239000000126 substance Substances 0.000 abstract 1
- 230000005415 magnetization Effects 0.000 description 14
- 229910052751 metal Inorganic materials 0.000 description 9
- 239000002184 metal Substances 0.000 description 9
- 230000005641 tunneling Effects 0.000 description 6
- 229910002182 La0.7Sr0.3MnO3 Inorganic materials 0.000 description 4
- 229910017028 MnSi Inorganic materials 0.000 description 4
- 230000006399 behavior Effects 0.000 description 3
- 230000008859 change Effects 0.000 description 3
- 239000002800 charge carrier Substances 0.000 description 3
- 230000001419 dependent effect Effects 0.000 description 3
- 239000000463 material Substances 0.000 description 3
- 230000007246 mechanism Effects 0.000 description 3
- 238000000034 method Methods 0.000 description 3
- 230000008569 process Effects 0.000 description 3
- 229910019236 CoFeB Inorganic materials 0.000 description 2
- 229910004298 SiO 2 Inorganic materials 0.000 description 2
- 150000002739 metals Chemical class 0.000 description 2
- 238000005036 potential barrier Methods 0.000 description 2
- 230000007704 transition Effects 0.000 description 2
- BQENXCOZCUHKRE-UHFFFAOYSA-N [La+3].[La+3].[O-][Mn]([O-])=O.[O-][Mn]([O-])=O.[O-][Mn]([O-])=O Chemical class [La+3].[La+3].[O-][Mn]([O-])=O.[O-][Mn]([O-])=O.[O-][Mn]([O-])=O BQENXCOZCUHKRE-UHFFFAOYSA-N 0.000 description 1
- 230000005540 biological transmission Effects 0.000 description 1
- 239000000969 carrier Substances 0.000 description 1
- 238000010835 comparative analysis Methods 0.000 description 1
- 238000005516 engineering process Methods 0.000 description 1
- 230000006870 function Effects 0.000 description 1
- 230000005389 magnetism Effects 0.000 description 1
- 238000004519 manufacturing process Methods 0.000 description 1
- 239000002086 nanomaterial Substances 0.000 description 1
- 230000005855 radiation Effects 0.000 description 1
- 230000005418 spin wave Effects 0.000 description 1
- 238000004544 sputter deposition Methods 0.000 description 1
- 230000001629 suppression Effects 0.000 description 1
- 239000013598 vector Substances 0.000 description 1
Images
Landscapes
- Hall/Mr Elements (AREA)
Abstract
Туннельный магниторезистивный элемент относится к микроэлектронике, а именно к элементной базе спинтроники - новой области развития современной электроники, поскольку в его работе используются механизмы спин-зависимого электронного транспорта, и может быть использован при создании принципиально новых элементов, предназначенных для хранения, обработки и передачи информации. В туннельном магниторезистивном элементе, содержащем подложку с двумя ферромагнитными проводящими слоями, разделенными тонким слоем диэлектрика, токовые контакты крепятся к верхнему ферромагнитному слою структуры, который имеет проводимость, меньшую, чем проводимости нижнего слоя, а магниторезистивный эффект реализуется за счет переключения токового канала между слоями с различной проводимостью, управляемого воздействием магнитного поля на магнитные туннельные переходы под токовыми контактами. Изобретение обеспечивает реализацию большой величины магниторезистивного (МР) эффекта в туннельной структуре при использовании СЕР (current in plane) геометрии, когда ток параллелен плоскости интерфейсов слоистой структуры и в возможность эффективного управления величиной МР эффекта током смещения, протекающим через структуру. 5 ил.
Description
Изобретение относится к микроэлектронике, а именно к элементной базе спинтроники - новой области развития современной электроники, поскольку в его работе используются механизмы спин-зависимого электронного транспорта. И может быть использовано при создании принципиально новых элементов, предназначенных для хранения, обработки и передачи информации.
Известно, что для создания магниторезистивных (МР) устройств используют материалы манганитов с эффектом колоссального магнитосопротивления [Э.Л.Нагаев. Манганиты лантана и другие магнитные полупроводники. УФН, Т.166, В.8, С.833-853 (1996)]. Величина магнитосопротивления MR=(R(H)-R(0))/R(0) в них может достигать больших значений.
Но с практической точки зрения они оказались малопригодны из-за больших величин магнитного поля Н, в которых достигаются приемлемые для практических приложений величины магниторезистивного эффекта, и сильной зависимости эффекта от температуры.
Наиболее близким к заявляемому изобретению является МР элемент на основе многослойных наноструктур с ферромагнитными (ФМ) слоями, в основе работы которого лежат механизмы спин-зависимого электронного транспорта [A.Barthelemy, A.Fert, J-P. Contour, et al. Magnetoresistance and spin electronics. J. Magn. Magn. Mater, v.242-245, pp.68-76 (2002)]. Структуры типа ФМ метал/нормальный металл/ФМ металл (FM/N/FM структуры) обладают эффектом гигантского магнитосопротивления - зависимостью сопротивления структуры от взаимной ориентации намагниченностей магнитных слоев структуры. Указанные структуры уже нашли свое применение в качестве магниторезистивных считывающих головок для дисков магнитной памяти.
Большие величины МР эффекта, что необходимо для многих практических приложений, можно реализовать в магнитных туннельных структурах типа ФМ металл/диэлектрик/ФМ металл (FM/I/FM структуры). Такие структуры рассматриваются как перспективные элементы для реализации оперативной магнитной памяти, всевозможных магниточувствительных датчиков, магнитоуправляемых детекторов СВЧ-излучения [Springer Series in Surface Science: Giant Magnetoresistance Device / Ed. Hirota E., Springer, 2002. - 177 p.; A.A.Tulapurkar, Y.Suzuki, A.Fukushima, H.Kubota, H.Maehara, К.Tsunekawa, D.D.Djayaprawira, N. Watanabe & S. Yuasa, Spin-torque diode effect in magnetic tunnel junctions. Nature (London) v.438, N 17, p.339-342 (2005)]. Ток в МР элементах на основе туннельных структур пропускается перпендикулярно интерфейсам слоев, СРР (current perpendicular to the plane) геометрия, магнитное поле прикладывается в плоскости структуры. В основе работы МР элемента на основе магнитной туннельной структуры лежит механизм спин-зависимого туннелирования между двумя ферромагнитными слоями с металлической проводимостью через потенциальный барьер (тонкий слой диэлектрика). В ФМ металлах носители заряда оказываются поляризованными по спину - из-за обменного расщепления число носителей со спином «вверх» (вдоль направления намагниченности материала) и спином «вниз» (антипараллельно намагниченности) различается. Это приводит к тому, что сопротивление туннельного перехода RT зависит от взаимной ориентации намагниченностей М1 и М2 ФМ слоев
здесь и - единичные векторы вдоль намагниченностей первого и второго ферромагнитных слоев, М1 и М2, ΔR=R↑↓-R↑↑ - изменение сопротивления при изменении состояния с антипараллельного расположения М1 и М2 на параллельное. Если коэрцитивные поля ФМ электродов различны, то взаимной ориентацией и, следовательно, сопротивлением RT можно эффективно управлять с помощью внешнего магнитного поля, т.е. реализуется магниторезистивный эффект. Для туннельного перехода CoFeB/MgO/CoFeB получены величины магнитосопротивления при комнатной температуре, достигающие 500% в магнитных полях, не превышающих несколько эрстед [Shinji Yuasa Giant Tunneling Magnetoresistance in MgO-Based Magnetic Tunnel Junctions. Journal of the Physical Society of Japan, v.77, N3, 0313001 (13 p.)]. Величина и знак туннельного магнитосопротивления определяется особенностями функции плотности состояний вблизи уровня Ферми ФМ электродов. Различаются два типа ФМ металлов: MASC ферромагнетики, у которых носители заряда преимущественно имеют спины, параллельные намагниченности; и MISC ферромагнетики, носители заряда у которых ориентированы антипараллельно намагниченности. Если у туннельной структуры ферромагнитные слои одинакового типа, туннельное сопротивление минимально при параллельной ориентации намагниченностей электродов. Напротив, если при изготовлении структуры используются разные типы ферромагнетиков, то сопротивление минимально при антипараллельной ориентации намагниченностей.
К недостаткам МР элементов на основе туннельного магнитосопротивления следует отнести:
1) быстрое подавление МР эффекта при увеличении напряжения смещения на структуре [J.S.Moodera, J.Nowak and R.J.M. van Veedonk. Interface Magnetism and Spin Wave Scattering in Ferromagnet-Insulator-Ferromagnet Tunnel Junctions. Phys. Rev. Lett. v.80, p.2941-2944 (1998)];
2) CPP геометрия, при которой ток перпендикулярен плоскости интерфейсов структуры, что не всегда удобно для практических приложений, например, при разработке гибридных структур ФМ/полупроводник, совместимых с традиционной планарной полупроводниковой технологией.
Технический результат предлагаемого изобретения заключается в реализации большой величины МР эффекта в туннельной структуре при использовании CIP (current in plane) геометрии, когда ток параллелен плоскости интерфейсов слоистой структуры и в возможности эффективного управления величиной МР эффекта током смещения, протекающим через структуру.
Указанный технический результат достигается тем, что в туннельном магнито-резистивном элементе, содержащем подложку с двумя ферромагнитными проводящими слоями, разделенными тонким слоем диэлектрика, новым является то, что токовые контакты крепятся к верхнему ферромагнитному слою структуры, который имеет проводимость, меньшую, чем проводимости нижнего слоя, а магниторезистивный эффект реализуется за счет переключения токового канала между слоями с различной проводимостью, управляемого воздействием магнитного поля на магнитные туннельные переходы под токовыми контактами.
В CIP геометрии, в отличие от прототипа, в котором используется CPP геометрия, токовые контакты крепятся к верхнему слою туннельной структуры - ФМ пленке с проводимостью, меньшей, чем у нижнего ФМ слоя структуры; при низких величинах тока напряжение смещения на туннельных переходах между ФМ проводящими слоями под токовыми контактами мало, сопротивление туннельных переходов велико и ток течет по верхнему слою структуры; увеличение тока влечет за собой увеличение напряжения смещения на туннельных переходах, в результате их сопротивление становится меньше сопротивления верхнего слоя, и происходит переключение токового канала из верхнего слоя структуры в нижний с низким сопротивлением; внешнее магнитное поле, как и в случае прототипа, изменяет сопротивление туннельных переходов, управляя тем самым процессом переключения токовых каналов; с учетом разницы в транспортных характеристиках слоев, переключение токовых каналов, вызванное изменением магнитного поля, приводит к МР эффекту, величина которого зависит от величины тока через структуру.
Сопоставительный анализ с прототипом показывает, что в заявляемом устройстве используется туннельная структура в CIP геометрии, а МР эффект реализуется за счет переключения магнитным полем токовых каналов между ФМ слоями туннельной структуры с различными транспортными характеристиками, а туннельные магнитные Переходы под токовыми контактами играют роль элементов, управляющих процессом переключения токовых каналов. Таким образом, заявляемое устройство соответствует критерию изобретения «новизна». При изучении других известных технических решений в данной области техники признаки, отличающие заявляемое изобретение от прототипа, не были выявлены, и потому они обеспечивают заявляемому техническому решению соответствие критерию «изобретательский уровень».
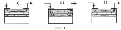
На фиг.1 приведен пример конструкции предлагаемого туннельного МР элемента: 1 - подложка; 2 - ферромагнетик с металлической проводимостью; 3 - слой диэлектрика; 4 - ферромагнетик с проводимостью, меньшей, чем у ферромагнетика 2; 5 - токовые контакты; 6 - область туннельного перехода для тока, текущего через структуру; стрелками показаны токовые пути. На фиг.2 показана типичная ВАХ структуры: 7 - ВАХ верхнего слоя структуры; 8 - ВАХ туннельного перехода; 9 - результирующая ВАХ структуры; 10 - величина тока Ith, при которой сопротивление верхнего слоя структуры становится больше сопротивления нижнего слоя; на вставке к фиг.2 приведена эквивалентная электрическая схема структуры; R1 - сопротивление верхнего слоя в структуре; R2 - сопротивление нижнего слоя; RT - сопротивление туннельного перехода между слоями; IM - ток по верхнему слою структуры; IT - ток через туннельные переходы в структуре. На фиг.3 дана схематичная иллюстрация переключения токовых каналов при изменении тока I через структуру и магнитного поля H (черные стрелки - токовые пути; белые стрелки - намагниченности слоев): показаны при режима работы структуры: а) I<Ith, H=0, намагниченности слоев антипараллельны; б) I>Ith, H=0, намагниченности слоев антипараллельны; в) I>Ith, в магнитном поле H намагниченности слоев ориентированы параллельно. Фиг.4 показывает типичную ВАХ структуры без магнитного поля (H=0) и в магнитном поле (H), и соответствующее поведение магнитосопротивления; кружками помечены участки ВАХ, соответствующие различным режимам работы структуры (см. фиг.3). На фиг.5 ВАХ практически реализованной структуры La0.7Sr0.3MnO3/обедненный слой манганита/MnSi без магнитного поля (11) и в магнитном поле (12) и соответствующее поведение магнитосопротивления при температуре Т=5К. Отрицательное магнитосопротивление, независящее от тока, в области малых токов связано со свойствами манганита и в предлагаемом устройстве не используется.
Устройство представляет собой трехслойную структуру. На подложку последовательно наносятся: слой ФМ с металлическим типом проводимости; тонкий (несколько нм) слой диэлектрика; верхний слой с проводимостью, меньшей проводимости нижнего слоя, фиг.1. Два токовых контакта крепятся на верхнем слое структуры. Для определенности рассматриваем случай структуры со слоями, изготовленными из различного типа ФМ (MASC и MISC ферромагнетиков). Тогда в отсутствие магнитного поля намагниченности верхнего М1 и нижнего М2 слоев антипараллельны, и сопротивление туннельного перехода меньше, чем при параллельной ориентации М1 и М2. Для одинаковых типов ФМ слоев принципиально механизм реализации МР остается прежним, изменится только знак МР эффекта при воздействии магнитного поля.
Работает устройство следующим образом. При малых токах I через структуру, меньших некоторой величины Ith, сопротивление туннельных переходов под токовыми контактами RT больше сопротивления верхнего слоя R1 и ток течет по верхнему слою структуры, имеющему линейную вольт-амперную характеристику (ВАХ), фиг.2. При увеличении 7 происходит увеличение напряжения смещения Vb на туннельных переходах под токовыми контактами (Vb≠V, Vb=Vb(I)), что влечет за собой уменьшение RT, типичная ВАХ туннельного перехода показана на фиг.2. При I больше Ith, RT становится меньше R1 и ток начинает течь преимущественно по нижнему слою, сопротивление которого R2 много меньше R1. Результирующую ВАХ структуры (фиг.2), отражающую процесс переключения токовых контактов при I>Ith, можно представить, используя эквивалентную электрическую схему устройства (вставка на фиг.2). Описанный сценарий реализуется в отсутствие магнитного поля, когда М1 и М2 антипараллельны, и RT в зависимости от поля имеет минимальное значение. Магнитное поле, приложенное в плоскости структуры стремится выстроить М1 и М2 параллельно RT при увеличении поля растет, становится больше R1 и токовый канал переключается в верхний слой структуры с линейной ВАХ, что означает увеличение сопротивления структуры в целом при увеличении поля, т.е. реализуется эффект положительного магнитосопротивления с величиной магнитосопротивления, зависящей от величины тока через структуру, фиг.3 и 4.
Пример практически реализованной структуры соответствует фиг.1, где 1 -подложка SiO2; 2 - слой MnSi; 3 - обедненный слой манганита; 4 - пленка La0.7Sr0.3MnO3. Такая структура La0.7Sr0.3MnO3/обедненный слой манганита/MnSi изготовлена методом лазерного напыления на подложке SiO2. Обедненный слой манганита играет роль потенциального барьера между слоями La0.7Sr0.3MnO3 и MnSi с полупроводниковой и металлической проводимостью соответственно. Оба проводящих слоя ниже 30 К находятся в ФМ состоянии, формируя тем самым магнитный туннельный переход. На фиг.5 приведена реальная ВАХ структуры в CIP геометрии и соответствующее поведение магнитосопротивления в зависимости от величины тока. Видно, что МР эффект имеет пороговый характер, наблюдается только при I>Ith, и зависит от величины тока.
В данном примере величина магнитосопротивления может превышать 300%, к тому же не наблюдается насыщение эффекта, что принципиально позволяет рассчитывать на получение еще больших величин магниторезистивного эффекта. Насыщение магниторезистивного эффекта имеет место уже в магнитных полях полях ~1 кЭ. Подбором материалов слоев в структуре можно увеличить температуры, при которых наблюдается МР эффект, и уменьшить величины рабочих магнитных полей магниторезистивного элемента.
Claims (1)
- Туннельный магниторезистивный элемент, содержащий подложку с двумя ферромагнитными проводящими слоями, разделенными тонким слоем диэлектрика, отличающийся тем, что токовые контакты крепятся к верхнему ферромагнитному слою структуры, который имеет проводимость, меньшую, чем проводимости нижнего слоя, а магниторезистивный эффект реализуется за счет переключения токового канала между слоями с различной проводимостью, управляемого воздействием магнитного поля на магнитные туннельные переходы под токовыми контактами.
Priority Applications (1)
| Application Number | Priority Date | Filing Date | Title |
|---|---|---|---|
| RU2009116572/28A RU2392697C1 (ru) | 2009-04-29 | 2009-04-29 | Туннельный магниторезистивный элемент |
Applications Claiming Priority (1)
| Application Number | Priority Date | Filing Date | Title |
|---|---|---|---|
| RU2009116572/28A RU2392697C1 (ru) | 2009-04-29 | 2009-04-29 | Туннельный магниторезистивный элемент |
Publications (1)
| Publication Number | Publication Date |
|---|---|
| RU2392697C1 true RU2392697C1 (ru) | 2010-06-20 |
Family
ID=42682923
Family Applications (1)
| Application Number | Title | Priority Date | Filing Date |
|---|---|---|---|
| RU2009116572/28A RU2392697C1 (ru) | 2009-04-29 | 2009-04-29 | Туннельный магниторезистивный элемент |
Country Status (1)
| Country | Link |
|---|---|
| RU (1) | RU2392697C1 (ru) |
Cited By (2)
| Publication number | Priority date | Publication date | Assignee | Title |
|---|---|---|---|---|
| RU2561232C1 (ru) * | 2014-06-17 | 2015-08-27 | Федеральное государственное бюджетное учреждение науки институт физики им. Л.В. Киренского Сибирского отделения Российской академии наук | Чувствительный элемент на основе магнитоимпеданса |
| RU2792686C1 (ru) * | 2022-03-01 | 2023-03-23 | Общество с ограниченной ответственностью "Новые спинтронные технологии" (ООО "НСТ") | Спектроанализатор |
Citations (4)
| Publication number | Priority date | Publication date | Assignee | Title |
|---|---|---|---|---|
| RU2120142C1 (ru) * | 1996-07-02 | 1998-10-10 | Институт проблем управления РАН | Магнитный инвертор |
| RU2175797C1 (ru) * | 2000-11-08 | 2001-11-10 | Институт проблем управления РАН | Магниторезистивный датчик |
| EP1949466A1 (en) * | 2005-10-14 | 2008-07-30 | Commissariat à l'Energie Atomique | A magnetoresistive tunnel junction magnetic device and its application to mram |
| RU2342748C1 (ru) * | 2007-04-16 | 2008-12-27 | Федеральное государственное унитарное предприятие "Всероссийский научно-исследовательский институт "Градиент" | Широкополосная многолучевая зеркальная антенна |
-
2009
- 2009-04-29 RU RU2009116572/28A patent/RU2392697C1/ru not_active IP Right Cessation
Patent Citations (4)
| Publication number | Priority date | Publication date | Assignee | Title |
|---|---|---|---|---|
| RU2120142C1 (ru) * | 1996-07-02 | 1998-10-10 | Институт проблем управления РАН | Магнитный инвертор |
| RU2175797C1 (ru) * | 2000-11-08 | 2001-11-10 | Институт проблем управления РАН | Магниторезистивный датчик |
| EP1949466A1 (en) * | 2005-10-14 | 2008-07-30 | Commissariat à l'Energie Atomique | A magnetoresistive tunnel junction magnetic device and its application to mram |
| RU2342748C1 (ru) * | 2007-04-16 | 2008-12-27 | Федеральное государственное унитарное предприятие "Всероссийский научно-исследовательский институт "Градиент" | Широкополосная многолучевая зеркальная антенна |
Non-Patent Citations (1)
| Title |
|---|
| A. Barthelemy, A. Fert, J-P. Contour, et. al. Magnetoresistance and spin electronics. J. Magn. Magn. Mater, v.242-245, pp.68-76 (2002). * |
Cited By (3)
| Publication number | Priority date | Publication date | Assignee | Title |
|---|---|---|---|---|
| RU2561232C1 (ru) * | 2014-06-17 | 2015-08-27 | Федеральное государственное бюджетное учреждение науки институт физики им. Л.В. Киренского Сибирского отделения Российской академии наук | Чувствительный элемент на основе магнитоимпеданса |
| RU2792686C1 (ru) * | 2022-03-01 | 2023-03-23 | Общество с ограниченной ответственностью "Новые спинтронные технологии" (ООО "НСТ") | Спектроанализатор |
| RU2810638C1 (ru) * | 2023-10-24 | 2023-12-28 | Федеральное государственное бюджетное научное учреждение "Федеральный исследовательский центр Институт прикладной физики им. А.В. Гапонова-Грехова Российской академии наук" (ИПФ РАН) | Туннельный магниторезистивный элемент с вихревым распределением намагниченности в свободном слое и способ его изготовления |
Similar Documents
| Publication | Publication Date | Title |
|---|---|---|
| KR100678758B1 (ko) | 스핀주입 소자 및 스핀주입 소자를 이용한 자기 장치 | |
| US7679155B2 (en) | Multiple magneto-resistance devices based on doped magnesium oxide | |
| KR101825318B1 (ko) | 스핀필터 구조체를 포함하는 자기 터널 접합 소자 | |
| JP4231506B2 (ja) | 磁性スイッチ素子とそれを用いた磁気メモリ | |
| JP5580059B2 (ja) | スピン電界効果論理素子 | |
| EP3683829A1 (en) | METHOD FOR MANUFACTURING LAYERED STRUCTURE OF MAGNETIC BODY AND BiSb, MAGNETORESISTIVE MEMORY, AND PURE SPIN INJECTION SOURCE | |
| CN108123028B (zh) | 巨磁致电阻器件、磁子场效应晶体管和磁子隧道结 | |
| US10262711B2 (en) | Magnetic memory | |
| US10483459B2 (en) | Magnetic memory | |
| CN108010549A (zh) | 一种自旋极化电流发生器及其磁性装置 | |
| US10490249B2 (en) | Data writing method, inspection method, spin device manufacturing method, and magnetoresistance effect element | |
| KR20180022870A (ko) | 낮은 표류 필드 자기 메모리 | |
| JP6780871B2 (ja) | 磁気トンネルダイオード及び磁気トンネルトランジスタ | |
| KR101873695B1 (ko) | 스핀필터 구조체를 포함하는 자기 터널 접합 소자 | |
| Jose et al. | Multiferroics for spintronic applications | |
| RU2392697C1 (ru) | Туннельный магниторезистивный элемент | |
| Fert | Historical overview: From electron transport in magnetic materials to spintronics | |
| Bhuyan | A modern review of the spintronic technology: fundamentals, materials, devices, circuits, Challenges, and Current Research Trends | |
| KR101144211B1 (ko) | 자기저항소자 | |
| Nan et al. | A diode-enhanced scheme for giant magnetoresistance amplification and reconfigurable logic | |
| US12106879B2 (en) | Nano spintronic device using spin current of ferromagnetic material and heavy metal channel | |
| Jiang et al. | Low-frequency magnetic and resistance noise in magnetoresistive tunnel junctions | |
| Chun et al. | Three-state dual spin valve structure | |
| KR20100119196A (ko) | 자기저항소자 및 이를 포함하는 반도체 메모리 소자 | |
| COEY et al. | Three-state dual spin valve structure |
Legal Events
| Date | Code | Title | Description |
|---|---|---|---|
| PD4A | Correction of name of patent owner | ||
| PD4A | Correction of name of patent owner | ||
| QB4A | Licence on use of patent |
Free format text: LICENCE Effective date: 20121226 |
|
| MM4A | The patent is invalid due to non-payment of fees |
Effective date: 20140430 |