RU2276103C2 - Method of decontamination of liquids and the installation for its realization - Google Patents

Method of decontamination of liquids and the installation for its realization Download PDF

Info

Publication number
RU2276103C2
RU2276103C2 RU2004117934/15A RU2004117934A RU2276103C2 RU 2276103 C2 RU2276103 C2 RU 2276103C2 RU 2004117934/15 A RU2004117934/15 A RU 2004117934/15A RU 2004117934 A RU2004117934 A RU 2004117934A RU 2276103 C2 RU2276103 C2 RU 2276103C2
Authority
RU
Russia
Prior art keywords
liquid
saturation
gas
disinfected
pressure
Prior art date
Application number
RU2004117934/15A
Other languages
Russian (ru)
Other versions
RU2004117934A (en
Inventor
Юрий Ефимович Ващенко (RU)
Юрий Ефимович Ващенко
Павел Сергеевич Русинов (RU)
Павел Сергеевич Русинов
Владимир Николаевич Жердев (RU)
Владимир Николаевич Жердев
Original Assignee
Индивидуальный предприниматель без образования юридического лица Ващенко Юрий Ефимович (ИПБОЮЛ Ващенко Ю.Е.)
Priority date (The priority date is an assumption and is not a legal conclusion. Google has not performed a legal analysis and makes no representation as to the accuracy of the date listed.)
Filing date
Publication date
Application filed by Индивидуальный предприниматель без образования юридического лица Ващенко Юрий Ефимович (ИПБОЮЛ Ващенко Ю.Е.) filed Critical Индивидуальный предприниматель без образования юридического лица Ващенко Юрий Ефимович (ИПБОЮЛ Ващенко Ю.Е.)
Priority to RU2004117934/15A priority Critical patent/RU2276103C2/en
Publication of RU2004117934A publication Critical patent/RU2004117934A/en
Application granted granted Critical
Publication of RU2276103C2 publication Critical patent/RU2276103C2/en

Links

Images

Landscapes

  • Apparatus For Disinfection Or Sterilisation (AREA)

Abstract

FIELD: ecology; methods and installations for decontamination of liquids.
SUBSTANCE: the invention is pertaining to the field of ecology, in particular, to the method and the installation for decontamination of liquids. The method includes destruction of the cells of the micro-organisms present in the liquids by the decompression created by a by-pass of the liquid preliminary saturated by a gas from the container with the greater pressure into the container with the smaller pressure. The liquid subjected to decontamination is saturated by the air in the hermetic container under the excessive pressure of no less than 3 kg/cm2, keep the saturated liquid under this pressure for no less than 60 minutes. After that the saturated liquid is by-passed from the container of saturation into the container of desaturation connected with the air atmosphere through the openings with their diameter of 0.5-1.5 mm and the constant pressure fall on them of no less than 3 kg/cm2, for the purpose the air is continuously pumped through the by-pass openings into the container of saturation with the air volume of no less than the volumetric consumption of the liquid subjected to the decontamination. The installation for decontamination of the liquid contains the devices of the gas saturation and desaturation of the subjected to the decontamination liquid and the intracellular liquid of the present in them micro-organisms. The device of the gas saturation consists of the hermetic container of saturation equipped with the safety vent valve, the gas saturation reservoir uniformly distributed in its lower part and having the holes with a diameter of 0.05-0.1 mm, which cavity is connected by the pipeline with the source of the compressed gas through the controlled gate. The device of desaturation consists of the container connected with the atmosphere and equipped with the gas desaturation reservoir mounted in its upper part and having the holes with their diameter of 0.5-1.5 mm, the total passing cross area of which is less than the area of the passing cross-section of the feeding pipeline. At that the cavity of the gas desaturation reservoir is connected by the pipeline with the lower part of the container of the gas saturation through the controlled gate. The technical result of the invention is the improved quality of decontamination, reduction of the costs and time necessary for the liquids decontamination, improved protection of environments, elimination of introduction of toxicity into the decontaminated liquids, conservation of their useful properties and qualities.
EFFECT: the invention ensures the improved quality of decontamination, reduced the costs and time necessary for the liquids decontamination, improved protection of environments, elimination of the toxicity entry into the decontaminated liquids, conservation of their useful properties and qualities.
13 cl, 2 dwg

Description

Изобретение относится к области экологии и позволяет повысить качество обеззараживания жидкостей (например, питьевой и сточной воды, молока, фруктовых соков, вина, пива, и т.д.), улучшить экологию и безопасность окружающей среды, сократить затраты средств и времени на обеззараживание, сохранить полезные качества обеззараживаемых жидкостей.The invention relates to the field of ecology and can improve the quality of disinfection of liquids (for example, drinking and waste water, milk, fruit juices, wine, beer, etc.), improve the ecology and environmental safety, reduce the cost and time of disinfection, to preserve the beneficial qualities of disinfected fluids.

Известен способ обеззараживания поверхности твердых объектов декомпрессией с помощью химически нейтрального газа, включающий газонасыщение внутриклеточной жидкости микроорганизмов, находящихся на поверхности обеззараживаемых объектов, и ее резкое разнасыщение (патент №2045150, А 01 F 25/00).A known method of disinfecting the surface of solid objects by decompression using a chemically neutral gas, including gas saturation of the intracellular fluid of microorganisms located on the surface of disinfected objects, and its sharp desaturation (patent No. 2045150, A 01 F 25/00).

Недостатком известного способа является то, что с его помощью можно обеззараживать только поверхность твердых объектов, а для обеззараживания жидкостей он не применим.The disadvantage of this method is that it can be used to disinfect only the surface of solid objects, and for the disinfection of liquids it is not applicable.

Наиболее близким аналогом к заявленному способу по своему назначению и совокупности сходных существенных признаков является способ обеззараживания жидкости, включающий разрушение клеток присутствующих в ней микроорганизмов декомпрессией, создаваемой путем перепуска предварительно насыщенной газом жидкости из емкости с большим давлением в емкость с меньшим давлением (RU 2114791, 10.07.98, C 02 F 3/02).The closest analogue to the claimed method for its intended purpose and a set of similar essential features is a method of disinfecting a liquid, including the destruction of cells of the microorganisms present in it by decompression, created by transferring a liquid pre-saturated with gas from a container with high pressure to a container with lower pressure (RU 2114791, 10.07 .98, C 02 F 3/02).

Недостатком известного способа является отсутствие параметров технологии насыщения и разнасыщения жидкости, обеспечивающих качественное обеззараживание при оптимальных затратах средств и времени.The disadvantage of this method is the lack of parameters of the technology of saturation and desaturation of the liquid, providing high-quality disinfection at the optimal cost of time and money.

Целью предложенного способа является устранение этих недостатков, то есть упрощение и удешевление технологии обеззараживания жидкости, сокращение затрат средств и времени.The aim of the proposed method is to eliminate these disadvantages, that is, simplification and cheapening of the technology of disinfecting liquids, reducing costs and time.

Поставленная цель достигается тем, что в предложенном способе, включающем разрушение клеток присутствующих в ней микроорганизмов декомпрессией, создаваемой перепуском предварительно насыщенной газом жидкости из полости с большим давлением в полость с меньшим давлением, обеззараживаемую жидкость насыщают воздухом в герметичной емкости под избыточным давлением не менее 3 кг/см2, выдерживают газонасыщенную жидкость под этим давлением в течение не менее 60 минут, после чего перепускают ее из емкости насыщения в емкость разнасыщения, сообщенную с атмосферой, через отверстия диаметром 0,5-1,5 мм с постоянным перепадом давления на них не менее 3 кг/см2, для чего в емкость насыщения непрерывно подают воздух объемным расходом не менее объемного расхода перепускаемой обеззараживаемой жидкости.This goal is achieved by the fact that in the proposed method, including the destruction of the cells of the microorganisms present in it by decompression, created by transferring a pre-saturated liquid from a cavity with a high pressure to a cavity with a lower pressure, the disinfected liquid is saturated with air in a sealed container under an overpressure of at least 3 kg / cm 2 , the gas-saturated liquid is maintained under this pressure for at least 60 minutes, after which it is passed from the saturation tank to the unsaturation tank, connected with the atmosphere through openings with a diameter of 0.5-1.5 mm with a constant pressure drop of at least 3 kg / cm 2 , for which purpose air is continuously supplied to the saturation tank with a volume flow of at least a volume flow of the bypassed disinfected liquid.

Совокупность существенных признаков предложенного способа проявляет новые свойства, заключающиеся в том, что обеззараживание жидкости производят недорогим доступным газом (воздухом), при этом качество обеззараживания обеспечивают конкретными параметрами технологии (давлением и временем насыщения и разнасыщения обеззараживаемой жидкости), конкретными характеристиками элементов установки (диаметром перепускных отверстий, соотношениями размеров и характеристик агрегатов).The set of essential features of the proposed method exhibits new properties, namely, that the disinfection of the liquid is carried out with an affordable gas (air), while the quality of the disinfection is ensured by specific technology parameters (pressure and time of saturation and desaturation of the disinfected liquid), specific characteristics of the installation elements (diameter of the bypass holes, ratios of sizes and characteristics of units).

Таким образом, совокупность существенных признаков предложенного способа соответствует критериям «существенные отличия» и «новизна».Thus, the set of essential features of the proposed method meets the criteria of "significant differences" and "novelty."

Время насыщения газом внутриклеточной жидкости микроорганизмов значительно больше времени насыщения обеззараживаемой жидкости, так как внутриклеточная жидкость микроорганизмов отделена от насыщающего газа клеточной оболочкой (стенкой клетки) и не контактирует с ним. Различные микроорганизмы имеют разную величину клеток, разную их форму, разную толщину, плотность и прочность стенок клетки (оболочки) и т.п., поэтому газонасыщение их внутриклеточной жидкости в каждом конкретном случае (для каждого конкретного микроорганизма) требует разного по величине внешнего давления и разного времени выдержки под этим давлением.The time of saturation of the intracellular fluid of microorganisms with gas is much longer than the saturation of the disinfected fluid, since the intracellular fluid of microorganisms is separated from the saturating gas by the cell membrane (cell wall) and does not come into contact with it. Different microorganisms have different cell sizes, different shapes, different thicknesses, densities and strengths of cell walls (membranes), etc., therefore, gas saturation of their intracellular fluid in each case (for each specific microorganism) requires a different external pressure and different exposure times under this pressure.

Применение более растворимого в жидкости насыщающего газа позволяет снизить требуемое давление и/или сократить требуемое время выдержки обеззараживаемой жидкости под давлением, то есть позволяет упростить технологию и ускорить обеззараживание декомпрессией. Например, если вместо воздуха применить углекислый газ, который в 33 раза больше и быстрее растворяется в жидкости, или его смесь с воздухом, то можно значительно уменьшить требуемое внешнее давление и требуемое время выдержки жидкости под давлением (время насыщения внутриклеточной жидкости микроорганизмов).The use of a more gas-soluble saturating gas allows to reduce the required pressure and / or to reduce the required exposure time of the disinfected liquid under pressure, that is, it allows to simplify the technology and accelerate disinfection by decompression. For example, if carbon dioxide is used instead of air, which dissolves 33 times more and faster in a liquid, or its mixture with air, it is possible to significantly reduce the required external pressure and the required exposure time of the liquid under pressure (time of saturation of the intracellular liquid of microorganisms).

Обеззараживание жидкости по предложенному способу производят следующим образом.Disinfection of the liquid according to the proposed method is as follows.

На первом этапе газонасыщают обеззараживаемую жидкость и внутриклеточную жидкость находящихся в ней микроорганизмов воздухом при заранее выбранном давлении в течение заранее выбранного времени до равновесного состояния, при котором растворяют во внутриклеточной жидкости микроорганизмов требуемое для разрушения их клетки пороговой декомпрессией количество воздуха (например, для уничтожения клеток стафилококка их необходимо выдерживать под давлением воздуха не менее 3 кг/см2 в течение не менее 60 минут).At the first stage, the disinfected liquid and the intracellular liquid of the microorganisms in it are saturated with air at a predetermined pressure for a predetermined time until an equilibrium state is achieved in which the amount of air required to destroy their cells by threshold decompression is dissolved in the intracellular liquid of microorganisms (for example, to destroy staph cells they must be maintained under air pressure of at least 3 kg / cm 2 for at least 60 minutes).

На втором этапе резко разнасыщают внутриклеточную жидкость этих микроорганизмов резким снижением давления в жидкости (внешнее давление для клеток микроорганизмов), при котором из внутриклеточной жидкости искусственно организуемой пороговой декомпрессией резко выделяют растворенный воздух, который вначале растягивает, а затем разрывает оболочку клеток (уничтожают микроорганизмы).At the second stage, the intracellular fluid of these microorganisms is sharply dispersed by a sharp decrease in the pressure in the fluid (external pressure for microorganism cells), in which dissolved air is sharply released from the intracellular fluid by artificially organized threshold decompression, which initially stretches and then breaks the cell membrane (destroy microorganisms).

Газонасыщение внутриклеточной жидкости микроорганизмов, находящихся в обеззараживаемой жидкости, могут производить двумя вариантами. Наиболее приемлемый вариант выбирают применительно к имеющимся условиям, возможностям, свойствам и количеству обеззараживаемой жидкости, свойствам насыщающего газа, свойствам уничтожаемых микроорганизмов и т.д.Gas saturation of the intracellular fluid of microorganisms located in the disinfected fluid can produce two options. The most acceptable option is chosen in relation to the existing conditions, capabilities, properties and quantity of the disinfected liquid, the properties of the saturating gas, the properties of the destroyed microorganisms, etc.

Первый вариант газонасыщения предпочтителен для относительно небольших объемов обеззараживаемой жидкости, более прост в эксплуатации, так как не требует высокого давления газонасыщения, но требует относительно большого времени газонасыщения.The first variant of gas saturation is preferable for relatively small volumes of disinfectable liquid, it is simpler to operate, since it does not require high gas saturation pressure, but requires a relatively long gas saturation time.

При первом варианте обеззараживаемую жидкость помещают в замкнутую емкость, изолируют ее от атмосферы, создают в ней давление не менее 3 кг/см2, мелкими пузырьками, под избыточным давлением, в течение не менее 60 минут вдувают (барботируют) воздух в жидкость со стороны днища емкости (снизу), например, через коллектор насыщения, имеющий отверстия, например, 0,05-0,1 мм. Поднимающиеся вверх мелкие пузырьки воздуха под действием давления растворяются в обеззараживаемой жидкости и насыщают ее до равновесного состояния (принцип получения газированной воды). Чем выше давление в емкости, тем большее количество воздуха растворится в обеззараживаемой жидкости и во внутриклеточной жидкости микроорганизмов.In the first embodiment, the disinfected liquid is placed in a closed container, it is isolated from the atmosphere, a pressure of at least 3 kg / cm 2 is created in it, small bubbles, under overpressure, blow (bubble) air into the liquid from the bottom for at least 60 minutes containers (bottom), for example, through a saturation collector having openings, for example, 0.05-0.1 mm. Small air bubbles rising up under pressure dissolve in the disinfected liquid and saturate it to an equilibrium state (the principle of producing sparkling water). The higher the pressure in the container, the greater the amount of air dissolved in the disinfected liquid and in the intracellular fluid of microorganisms.

Количество воздуха, растворенного в обеззараживаемой жидкости и во внутриклеточной жидкости микроорганизмов, зависит не только от давления, но и от температуры обеззараживаемой жидкости и воздуха. Чем ниже температура, тем большее количество воздуха может быть растворено в жидкости. Свойства жидкости и насыщающего газа тоже влияют на газонасыщение - например углекислого газа в жидкости растворяется в 33 раза больше и быстрее, чем воздуха (азота).The amount of air dissolved in the disinfected fluid and in the intracellular fluid of microorganisms depends not only on pressure, but also on the temperature of the disinfected fluid and air. The lower the temperature, the more air can be dissolved in the liquid. The properties of a liquid and a saturating gas also affect gas saturation - for example, carbon dioxide in a liquid dissolves 33 times more and faster than air (nitrogen).

Поднимающееся сверх нормы (при барботажном газонасыщении, то есть при постоянной подаче в емкость насыщающего газа) давление в замкнутой емкости при необходимости стравливают через предохранительный клапан емкости насыщения.Rising above the norm (with bubble gas saturation, that is, with a constant supply of saturating gas to the tank), the pressure in the closed tank, if necessary, is vented through the safety valve of the saturation tank.

Требуемую величину газонасыщения обеззараживаемой жидкости обеспечивают не только временем и давлением насыщения, но и величиной объема пропускаемого через жидкость насыщающего газа, которую рассчитывают исходя из объема насыщаемой жидкости.The required gas saturation of the disinfected liquid is provided not only by the time and saturation pressure, but also by the volume of the saturating gas passed through the liquid, which is calculated based on the volume of the saturated liquid.

Величину давления в замкнутой емкости газонасыщения и время выдержки обеззараживаемой жидкости под давлением в этой емкости выбирают экспериментально из условия достижения требующегося газонасыщения внутриклеточной жидкости микроорганизмов, обеспечивающего их уничтожение при последующей пороговой декомпрессии.The pressure value in the closed gas saturation tank and the exposure time of the disinfected liquid under pressure in this tank are chosen experimentally from the condition of achieving the required gas saturation of the intracellular fluid of microorganisms, ensuring their destruction during the subsequent threshold decompression.

Значения требующихся величин вышеуказанных косвенных параметров газонасыщения определяют экспериментально при отработке технологического процесса обеззараживания конкретных жидкостей для уничтожения имеющихся в них конкретных микроорганизмов и обеспечивают их (с некоторым запасом) при выполнении рабочего процесса обеззараживания жидкостей.The values of the required values of the above indirect gas saturation parameters are determined experimentally during the development of the technological process for the disinfection of specific liquids to destroy the specific microorganisms present in them and provide them (with some margin) when performing the working process of disinfecting liquids.

Экспериментальными работами авторы определили, что для гарантированного уничтожения пороговой декомпрессией микробов стафилококка на внешней поверхности твердых предметов их внутриклеточную жидкость необходимо насыщать воздухом до равновесного состояния при внешнем давлении не ниже 3 кг/см2 в течение времени не менее 60 минут при температуре не выше 15°С.The authors determined by experimental work that, to ensure threshold destruction of staphylococcus microbes on the external surface of solid objects by threshold decompression, their intracellular fluid must be saturated with air to an equilibrium state with an external pressure of at least 3 kg / cm 2 for at least 60 minutes at a temperature of no higher than 15 ° FROM.

При внешнем давлении воздуха менее 3 кг/см2 эффект обеззараживания (уничтожения микроорганизмов стафилококка) отсутствует независимо от времени выдержки микроорганизмов под этим давлением. Отсутствие эффекта обеззараживания можно объяснить тем, что количества воздуха, растворенного при этих условиях в клеточной жидкости микроорганизмов, недостаточно для разрыва оболочки их клеток при резком сбросе давления (недостаточная величина пороговой декомпрессии).With an external air pressure of less than 3 kg / cm 2, the effect of disinfection (destruction of microorganisms of staphylococcus) is absent regardless of the exposure time of microorganisms under this pressure. The absence of the disinfection effect can be explained by the fact that the amount of air dissolved under these conditions in the cell fluid of microorganisms is not enough to rupture their cell membranes with a sharp pressure drop (insufficient threshold decompression).

Авторы предполагают, что в случае применения углекислого газа или его смеси с воздухом время выдержки обеззараживаемых предметов под давлением газонасыщения можно уменьшить до 2 минут, а при одновременном повышении давления дополнительно уменьшить его (до 30 сек при повышении давления выдержки до 10 кг/см2).The authors suggest that in the case of the use of carbon dioxide or its mixture with air, the exposure time of disinfected objects under gas saturation pressure can be reduced to 2 minutes, and while increasing the pressure, it can be further reduced (up to 30 sec with an increase in the holding pressure to 10 kg / cm 2 ) .

Для уменьшения времени требуемого газонасыщения обеззараживаемую жидкость целесообразно механически перемешивать.To reduce the time required gas saturation disinfected liquid, it is advisable to mechanically mix.

Оптимальные значения величин вышеуказанных параметров технологии газонасыщения (давления и времени выдержки под давлением), обеспечивающих нужное газонасыщение и качественное обеззараживание жидкости декомпрессией, определяют в каждом конкретном случае применительно к имеющимся условиям, свойствам обеззараживаемых жидкостей и применяемых насыщающих газов, проницаемости и прочности клеток микроорганизмов, имеющихся в обеззараживаемых жидкостях, и т.д. Авторы предполагают, что вышеуказанные давление и время выдержки под давлением для всех микроорганизмов примерно одинаковое.The optimal values of the above parameters of gas saturation technology (pressure and holding time under pressure), providing the desired gas saturation and high-quality disinfection of the liquid by decompression, are determined in each case in relation to the existing conditions, properties of the disinfected liquids and applied saturating gases, the permeability and cell strength of microorganisms available in disinfected liquids, etc. The authors suggest that the above pressures and pressurization times are approximately the same for all microorganisms.

Величину объема емкости газонасыщения, вид насыщающего газа, величину его расхода и давления впрыска в обеззараживаемую жидкость, величину давления и времени газонасыщения обеззараживаемой жидкости и внутриклеточной жидкости находящихся в ней микроорганизмов назначают из условия получения величины газонасыщения внутриклеточной жидкости микроорганизмов, находящихся в обеззараживаемой жидкости, за время выдержки в емкости газонасыщения, обеспечивающей уничтожение микроорганизмов последующей пороговой декомпрессией на перепускных отверстиях коллектора в емкости разнасыщения.The value of the volume of gas saturation capacity, the type of saturating gas, its flow rate and injection pressure into the disinfected liquid, the pressure and gas saturation time of the disinfected liquid and the intracellular liquid of the microorganisms inside it are assigned from the condition for obtaining the gas saturation value of the intracellular liquid of the microorganisms in the disinfected liquid over time extracts in a gas saturation tank, which ensures the destruction of microorganisms by subsequent threshold decompression to bypass x the holes of the collector in the tank desaturation.

Второй вариант газонасыщения предпочтителен для относительно большого объема обеззараживаемой жидкости, более сложен в эксплуатации, так как требует высокого давления газонасыщения, за счет которого сокращают время газонасыщения внутриклеточной жидкости микроорганизмов.The second variant of gas saturation is preferable for a relatively large volume of disinfectable liquid, is more difficult to operate, since it requires a high gas saturation pressure, due to which the time of gas saturation of the intracellular fluid of microorganisms is reduced.

Во втором варианте обеззараживаемую жидкость насыщают воздухом при заборе из источника, в подающем насосе и/или в занасосном трубопроводе-ресивере, впрыском воздуха в поток движущейся обеззараживаемой жидкости, при этом воздух впрыскивают по всей площади потока, под углом к направлению его движения, мелкими пузырьками, например, через коллектор насыщения с отверстиями 0,05 - 0,1 мм.In the second embodiment, the disinfected liquid is saturated with air at the intake from the source, in the feed pump and / or in the suction pipe-receiver, air is injected into the flow of the moving disinfected liquid, while air is injected over the entire flow area, at an angle to the direction of its movement, with small bubbles , for example, through a saturation collector with holes of 0.05 - 0.1 mm.

Величину объема занасосного трубопровода-ресивера, величину расхода и давления протекающей по нему обеззараживаемой жидкости, вид насыщающего газа, величину его расхода и давления назначают из условия получения требуемой величины равновесного газонасыщения внутриклеточной жидкости микроорганизмов, находящихся в обеззараживаемой жидкости, за время ее транспортировки от источника до перепускных отверстий коллектора в емкости разнасыщения, обеспечивающего уничтожение микроорганизмов пороговой декомпрессией на перепускных отверстиях.The volume of the drift pipe-receiver, the flow rate and pressure of the disinfectable fluid flowing through it, the type of saturating gas, the flow rate and pressure thereof are determined from the conditions for obtaining the required equilibrium gas saturation of the intracellular fluid of the microorganisms in the disinfected fluid during its transportation from the source to bypass holes of the collector in the reservoir of desaturation, ensuring the destruction of microorganisms by threshold decompression on the bypass holes s.

После газонасыщения обеззараживаемую жидкость резко разнасыщают перепуском через отверстия коллектора диаметром 0,5-1,5 мм из емкости насыщения с избыточным давлением в емкость разнасыщения без избыточного давления (с атмосферным давлением).After gas saturation, the disinfected liquid is sharply saturated by passing through the openings of the collector with a diameter of 0.5-1.5 mm from the saturation tank with overpressure to the container of desaturation without overpressure (with atmospheric pressure).

На перепускных отверстиях (непосредственно на них и после них) происходит резкое снижение избыточного давления в проходящей через них жидкости, из которой резко выделяется в атмосферу растворенный воздух. Одновременно из внутриклеточной жидкости микроорганизмов, находящихся в этой жидкости, также резко выделяется растворенный в ней воздух, который остается внутри клетки и вначале растягивает ее, а потом разрывает в наиболее слабом месте (уничтожает микроорганизм пороговой декомпрессией). Обеззараженная таким образом жидкость поступает в открытую емкость разнасыщения, которая одновременно может быть емкостью-хранилищем обеззараженной жидкости, а из нее направляется потребителю.At the bypass holes (directly on and after them), there is a sharp decrease in excess pressure in the liquid passing through them, from which dissolved air is sharply released into the atmosphere. At the same time, the air dissolved in it also sharply stands out from the intracellular fluid of microorganisms in this fluid, which remains inside the cell and at first stretches it and then breaks it in the weakest place (destroys the microorganism by threshold decompression). The liquid disinfected in this way enters the open container of unsaturation, which at the same time can be the storage tank of the disinfected liquid, and from it is sent to the consumer.

Следует иметь ввиду, что если перепускные отверстия коллектора будут большого диаметра (например, 100 мм), то в «толстой» струе истекающей из него жидкости может не быть эффективной пороговой декомпрессии, следовательно, может не быть и качественного обеззараживания жидкости. Создание эффективной пороговой декомпрессии возможно только в относительно мелкой струе истекающей через перепускные отверстия жидкости (диаметром не более 1,5 мм), а еще лучше в распыливающейся струе, например в тангенциально закрученной. Для сокращения времени обеззараживания большого количества жидкости используют коллектор разнасыщения, имеющий большое количество требуемых мелких отверстий, суммарная площадь проходного сечения которых обязательно должна быть меньше площади проходного сечения подводящего трубопровода (иначе перед мелкими отверстиями не будет требуемого избыточного давления, на них не будет требуемого перепада давления и эффективной декомпрессии).It should be borne in mind that if the bypass holes of the collector are large in diameter (for example, 100 mm), then in a “thick” stream of liquid flowing out of it there may not be an effective threshold decompression, therefore, there may be no qualitative disinfection of the liquid. Creating an effective threshold decompression is possible only in a relatively small stream of liquid flowing out through the bypass holes (with a diameter of not more than 1.5 mm), and even better in a sprayed stream, for example tangentially swirling. To reduce the disinfection time of a large amount of liquid, a desaturation collector is used that has a large number of required small holes, the total passage area of which must be less than the passage area of the supply pipe (otherwise there will not be the required excess pressure in front of the small holes, they will not have the required pressure drop and effective decompression).

Для того чтобы избыточное давление в замкнутой емкости насыщения при перетоке жидкости из нее в емкость разнасыщения не уменьшалось (чтобы из внутриклеточной жидкости микроорганизмов, находящихся в обеззараживаемой жидкости, раньше времени не выделялся растворенный в ней газ), в емкость насыщения все время подают воздух объемным расходом, не менее объемного расхода жидкости, перепускаемой через отверстия коллектора в емкости разнасыщения (например, продолжают барботаж воздуха). При отсутствии такого сопровождающего наддува емкости насыщения часть воздуха из внутриклеточной жидкости микроорганизмов будет медленно выделяться еще в емкости насыщения, а оставшегося растворенного воздуха может не хватить для разрыва клетки пороговой декомпрессией при последующем резком ее разнасыщении на перепускных отверстиях.In order to prevent the excess pressure in the closed saturation tank during the flow of fluid from it into the desaturation tank (so that the gas dissolved in it does not evolve from the intracellular fluid of the microorganisms in the disinfected liquid), the air is constantly supplied with a volumetric flow rate to the saturation tank , not less than the volumetric flow rate of the fluid bypassed through the openings of the collector in the reservoir of desaturation (for example, continue to bubble air). In the absence of such an accompanying saturation capacity boost, part of the air from the intracellular liquid of microorganisms will slowly be released even in the saturation capacity, and the remaining dissolved air may not be enough for the cell to rupture by threshold decompression with subsequent sharp unsaturation at the bypass holes.

Системы забора, обеззараживания, хранения, подачи жидкости потребителю периодически обеззараживают химически активным веществом, например хлором, который периодически, например один раз в сутки, кратковременно впрыскивают в обеззараживаемую или в заменяющую ее жидкость на входе в насос, подающий обеззараживаемую жидкость из источника к установке обеззараживания и далее к потребителю.The systems for collecting, disinfecting, storing, supplying liquid to the consumer are periodically disinfected with a chemically active substance, for example chlorine, which is periodically, for example, once a day, briefly injected into the disinfected or substitute liquid at the pump inlet, which supplies the disinfected liquid from the source to the disinfection unit and further to the consumer.

Известна установка обеззараживания твердых объектов декомпрессией с помощью химически нейтрального газа, содержащая камеру насыщения и разнасыщения внутриклеточной жидкости микроорганизмов, находящихся на поверхности обеззараживаемых твердых объектов (патент №2045150, А 01 F 25/00).A known installation for disinfection of solid objects by decompression using a chemically neutral gas, containing a chamber for saturation and desaturation of the intracellular fluid of microorganisms located on the surface of disinfected solid objects (patent No. 2045150, A 01 F 25/00).

Недостатком известной установки является то, что она может обеззараживать только поверхность твердых объектов, а для обеззараживания жидкостей не применима.A disadvantage of the known installation is that it can only disinfect the surface of solid objects, and is not applicable for disinfecting liquids.

Наиболее близким аналогом к заявленной установке по своему назначению и совокупности сходных существенных признаков является установка обеззараживания жидкости, включающая устройства газонасыщения и разнасыщения обеззараживаемой жидкости и внутриклеточной жидкости находящихся в ней микроорганизмов декомпрессией (RU 2114791, 10.07.98, C 02 F 3/02).The closest analogue to the claimed installation for its intended purpose and a set of similar essential features is a liquid disinfection installation, including gas saturation and desaturation devices of the disinfected liquid and intracellular liquid of microorganisms contained in it by decompression (RU 2114791, 10.07.98, C 02 F 3/02).

Недостатком известной установки является отсутствие параметров элементов и технологии насыщения и разнасыщения жидкости, обеспечивающих качественное обеззараживание при оптимальных затратах средств и времени.A disadvantage of the known installation is the lack of parameters of the elements and the technology of saturation and desaturation of the liquid, providing high-quality disinfection at the optimal cost of time and money.

Целью предложенной установки является устранение этих недостатков, то есть упрощение и удешевление технологии обеззараживания жидкости, сокращение затрат средств и времени.The purpose of the proposed installation is to eliminate these disadvantages, that is, simplification and cheapening of the technology of disinfecting liquids, reducing costs and time.

Поставленная цель достигается тем, что в установке для обеззараживания жидкости, содержащей устройства газонасыщения и разнасыщения обеззараживаемой жидкости и внутриклеточной жидкости находящихся в ней микроорганизмов, устройство газонасыщения выполнено из герметичной емкости насыщения, оснащенной предохранительным дренажным клапаном, коллектором газонасыщения, равномерно распределенным в ее нижней части и имеющим отверстия диаметром 0,05-0,1 мм, полость которого соединена трубопроводом с источником сжатого газа через управляемый клапан, а устройство разнасыщения выполнено из емкости, сообщенной с атмосферой и оснащенной коллектором разнасыщения, монтированным в ее верхней части и имеющим отверстия диаметром 0,5-1,5 мм, суммарная площадь проходного сечения которых меньше площади проходного сечения подводящего трубопровода, при этом полость коллектора разнасыщения соединена трубопроводом с нижней частью емкости газонасыщения через управляемый клапан.This goal is achieved by the fact that in the installation for disinfecting a liquid containing gas saturation and desaturation devices of the disinfected liquid and the intracellular liquid of the microorganisms inside it, the gas saturation device is made of a sealed saturation tank equipped with a safety drain valve, a gas saturation manifold evenly distributed in its lower part and having holes with a diameter of 0.05-0.1 mm, the cavity of which is connected by a pipeline to a source of compressed gas through a controlled the valve, and the device of desaturation is made of a tank in communication with the atmosphere and equipped with a manifold of desaturation mounted in its upper part and having openings with a diameter of 0.5-1.5 mm, the total area of the passage section of which is less than the area of the passage section of the supply pipe, while Unsaturation collector is connected by pipeline to the lower part of the gas saturation tank through a controlled valve.

Совокупность существенных признаков предложенной установки проявляет новые свойства, заключающиеся в том, что обеззараживание жидкости производят недорогим доступным газом (воздухом), при этом качество обеззараживания обеспечивают конкретными параметрами технологии (давлением и временем насыщения и разнасыщения обеззараживаемой жидкости), конкретными характеристиками элементов установки (диаметром перепускных отверстий, соотношениями размеров и характеристик агрегатов).The set of essential features of the proposed installation exhibits new properties, namely, that the disinfection of the liquid is carried out with an affordable gas (air), while the quality of the disinfection is ensured by specific technology parameters (pressure and time of saturation and desaturation of the disinfected liquid), specific characteristics of the installation elements (diameter of the bypass holes, ratios of sizes and characteristics of units).

Таким образом, совокупность существенных признаков предложенной установки соответствует критериям «существенные отличия» и «новизна».Thus, the set of essential features of the proposed installation meets the criteria of "significant differences" and "novelty."

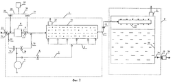
Предложенная установка может быть выполнена в двух вариантах (в зависимости от возможностей и потребностей производства, местных условий, свойств и количества обеззараживаемых жидкостей, свойств применяемых газов насыщения), которые изображены на Фиг.1 и 2.The proposed installation can be performed in two versions (depending on the capabilities and needs of the production, local conditions, properties and amount of disinfected liquids, properties of the saturation gases used), which are shown in Figs. 1 and 2.

В обоих вариантах установка содержит устройство 1 газонасыщения обеззараживаемой жидкости и устройство 9 ее разнасыщения. На днище емкости 13 устройства 1 газонасыщения первого варианта установки монтирован коллектор 2 газонасыщения, соединенный трубопроводом 3 через клапан 4 с источником 5 насыщающего газа (например, воздуха), трубопроводом 6 через клапан 7 и насос 8 с источником обеззараживаемой жидкости (например, питьевой воды).In both versions, the installation comprises a gas saturation device 1 of the disinfected liquid and a device 9 for its desaturation. On the bottom of the tank 13 of the gas saturation device 1 of the first installation variant, a gas saturation collector 2 is mounted, connected by a pipe 3 through a valve 4 to a source 5 of saturating gas (for example, air), a pipe 6 through a valve 7 and a pump 8 with a source of disinfected liquid (for example, drinking water) .

Устройство 9 разнасыщения обеззараживаемой жидкости одинаково в первом и во втором вариантах установки. В верхней части емкости 20 устройства 9 разнасыщения монтирован коллектор 10 разнасыщения, соединенный трубопроводом 11 через клапан 12 с нижней частью емкости газонасыщения 1. Суммарная площадь отверстий коллектора разнасыщения 10 меньше площади проходного сечения трубопровода 11.The device 9 of the disinfectant disinfected liquid is the same in the first and second installation options. In the upper part of the tank 20 of the device of desaturation mounted collector 10 desaturation, connected by a pipe 11 through a valve 12 with the lower part of the tank of gas saturation 1. The total area of the holes of the collector of desaturation 10 is less than the area of the passage section of the pipe 11.

В первом варианте конструкции предложенной установки (Фиг.1) устройство 1 газонасыщения обеззараживаемой жидкости выполнено в виде емкости 13 избыточного (высокого) давления, дополнительно оснащенной датчиком 14 максимального уровня, датчиком 15 минимального уровня, уровнемером 16 находящейся в ней обеззараживаемой жидкости, а верхняя часть емкости 13 соединена с источником 5 сжатого насыщающего газа (воздуха) трубопроводом 17 через клапан 18 (на Фиг.2 позиции 13, 14, 15, 16, 17, 18 отсутствуют за ненадобностью). Объем емкости 13, ее конфигурацию и прочность определяют и назначают в каждом конкретном случае исходя из возможностей и потребностей производства и конструкции установки.In the first embodiment of the design of the proposed installation (Figure 1), the gas saturation device 1 of the disinfected liquid is made in the form of an overpressure (high) pressure tank 13, additionally equipped with a maximum level sensor 14, a minimum level sensor 15, a disinfected liquid level gauge 16, and the upper part containers 13 are connected to a source 5 of compressed saturating gas (air) by a pipe 17 through a valve 18 (in FIG. 2, positions 13, 14, 15, 16, 17, 18 are not needed). The volume of the tank 13, its configuration and strength are determined and assigned in each case based on the capabilities and needs of the production and design of the installation.

Во втором варианте конструкции предложенной установки (Фиг.2) устройство 1 газонасыщения обеззараживаемой жидкости выполнено из трубопровода-ресивера 19 без вышеуказанного дополнительного оснащения (без датчиков уровня 14 и 15, уровнемера 16, без дополнительного соединения с источником 5 сжатого воздуха трубопроводом 17 через клапан 18). Объем трубопровода-ресивера 19, его длину, конфигурацию и прочность определяют и назначают исходя из возможностей и потребностей производства и конструкции установки. При этом производительность насоса 8 должна быть больше расхода обеззараживаемой жидкости через отверстия коллектора 10 разнасыщения жидкости.In the second embodiment of the design of the proposed installation (Figure 2), the gas saturation device 1 of the disinfected liquid is made of the receiver pipe 19 without the above additional equipment (without level sensors 14 and 15, the level gauge 16, without additional connection to the compressed air source 5 by the pipe 17 through the valve 18 ) The volume of the receiver pipe 19, its length, configuration, and strength are determined and assigned based on the capabilities and needs of the production and installation design. In this case, the performance of the pump 8 should be greater than the flow rate of the disinfected liquid through the holes of the collector 10 of the fluid desaturation.

Напорность насоса 8 и его объемный расход назначают и обеспечивают в каждом конкретном случае исходя из возможностей и потребностей производства и конструкции установки.The pressure of the pump 8 and its volumetric flow rate are assigned and provided in each case based on the capabilities and needs of the production and design of the installation.

Устройство 9 разнасыщения обеззараживаемой жидкости выполнено в виде емкости 20 без избыточного давления, сообщенной с атмосферой через малоперепадный дренажно-предохранительный клапан 21. Объем емкости 20, ее конфигурацию и прочность определяют и назначают исходя из возможностей и потребностей производства и конструкции установки.The device 9 for disinfecting the disinfectable liquid is made in the form of a tank 20 without excess pressure communicated with the atmosphere through a low-pressure drainage and safety valve 21. The volume of the tank 20, its configuration and strength are determined and assigned based on the capabilities and needs of the production and installation design.

Емкость 13 и трубопровод-ресивер 19 сообщены с атмосферой через дренажно-предохранительные клапаны 22, настроенные на требуемое давление равновесного газонасыщения обеззараживаемой жидкости и внутриклеточной жидкости находящихся в ней микроорганизмов.The tank 13 and the pipe-receiver 19 are in communication with the atmosphere through the drainage safety valves 22, tuned to the required pressure of the equilibrium gas saturation of the disinfected fluid and the intracellular fluid of the microorganisms inside it.

Источник 5 сжатого насыщающего газа (воздуха) в обоих вариантах устройства 1 газонасыщения может быть подсоединен трубопроводом 23 к входу в насос 8 через клапан 24 и трубопроводом 25 к выходу из насоса 8 через клапан 26.The source 5 of compressed saturating gas (air) in both versions of the gas saturation device 1 can be connected by a pipe 23 to the inlet to the pump 8 through the valve 24 and by a pipe 25 to the outlet of the pump 8 through the valve 26.

Источник 27 химически активного окислителя, например хлора, подсоединен трубопроводом 28 через клапан 29 к входу в насос 8, а трубопроводом 30 через клапан 31 к выходу из насоса 8.A source 27 of a reactive oxidizing agent, such as chlorine, is connected by a pipe 28 through a valve 29 to the inlet to the pump 8, and by a pipe 30 through the valve 31 to the outlet of the pump 8.

Вход в устройство 1 газонасыщения соединен с источником обеззараживаемой жидкости трубопроводом 32 через клапан 33 и насос 8, а выход из устройства 9 разнасыщения соединен с потребителем обеззараженной жидкости трубопроводом 34 через клапан 35 и насос 36.The entrance to the gas saturation device 1 is connected to the source of the disinfected liquid by a pipe 32 through the valve 33 and the pump 8, and the output from the device of the disinfectant 9 is connected to the consumer of the disinfected liquid by the pipe 34 through the valve 35 and the pump 36.

Обеззараживание жидкости с помощью предложенной декомпрессионной установки производят следующим образом.The disinfection of the liquid using the proposed decompression installation is as follows.

В исходном положении все клапаны установки в закрытом положении. Открывают клапаны 33 и 7 и обеззараживаемая жидкость по трубопроводу 32 поступает в устройство 1 газонасыщения. Насос 8 забирает обеззараживаемую жидкость из источника, повышает ее давление до требуемого уровня и подает ее по трубопроводу 6 через открытый клапан 7 в первом варианте конструкции устройства 1 в емкость 13 (Фиг.1), во втором варианте конструкции устройства 1 - в трубопровод-ресивер 19 (Фиг.2).In the initial position, all installation valves are in the closed position. Valves 33 and 7 are opened and the disinfected liquid is piped through the pipe 32 to the gas saturation device 1. The pump 8 takes the disinfected liquid from the source, increases its pressure to the required level and feeds it through the pipe 6 through the open valve 7 in the first embodiment of the device 1 to the tank 13 (Figure 1), in the second embodiment of the device 1 to the receiver pipe 19 (FIG. 2).

В первом варианте конструкции устройства 1, после заполнения емкости 13 обеззараживаемой жидкостью, по сигналу датчика уровня 14 и/или по визуальному контролю уровнемера 16 или одновременно с началом заполнения емкости 13 открывают клапан 4 и подают по магистрали 3 насыщающий газ (например, воздух) из источника 5 в коллектор газонасыщения 2. Через отверстия диаметром 0,05-0,15 коллектора 2 воздух поступает в обеззараживаемую жидкость, барботирует (поднимается через нее вверх) и растворяется в ней (Фиг.1). Впрыскиваемым воздухом (газом насыщения) и подаваемой обеззараживаемой жидкостью в емкости 13 поднимают давление до требуемой величины.In the first embodiment of the device 1, after filling the tank 13 with disinfectable liquid, by the signal of the level sensor 14 and / or by visual inspection of the level gauge 16 or simultaneously with the beginning of filling the tank 13, open valve 4 and supply saturating gas (for example, air) from line 3 source 5 into the gas saturation collector 2. Through holes with a diameter of 0.05-0.15 of the collector 2, air enters the disinfected liquid, sparges (rises through it) and dissolves in it (Figure 1). Injected air (saturation gas) and supplied by the disinfected liquid in the tank 13 raise the pressure to the desired value.

По сигналу датчика уровня 14 и/или по визуальному контролю уровнемера 16 закрывают клапан 7 (выключают насос 8, если нет параллельных автономных устройств 1 газонасыщения обеззараживаемой жидкости), прекращают подавать обеззараживаемую жидкость в емкость 13, а насыщающий газ (воздух) продолжают подавать в емкость 13 в течение всего времени насыщения внутриклеточной жидкости микроорганизмов, находящихся в обеззараживаемой жидкости (например, в течение не менее 60 минут при избыточном давлении не менее 3 кг/см2).By the signal of the level sensor 14 and / or by visual inspection of the level gauge 16, the valve 7 is closed (the pump 8 is turned off if there are no parallel autonomous gas saturation devices 1 for the disinfected liquid), the disinfected liquid is ceased to be supplied to the tank 13, and the saturation gas (air) is continued to be supplied to the tank 13 during the entire time of saturation of the intracellular fluid of microorganisms located in the disinfected fluid (for example, for at least 60 minutes at an overpressure of at least 3 kg / cm 2 ).

Во втором варианте конструкции устройства 1 газонасыщения одновременно с началом заполнения трубопровода-ресивера 19 обеззараживаемой жидкостью открывают клапан 4 и подают по магистрали 3 насыщающий газ по магистрали 6 из источника 5 в коллектор насыщения 2. Через отверстия диаметром 0,05-0,15 коллектора 2 насыщающий газ поступает в обеззараживаемую жидкость, захватывается потоком обеззараживаемой жидкости, частично барботирует (поднимается) через нее вверх и растворяется в ней (Фиг.2).In the second embodiment, the design of the gas saturation device 1, at the same time as the filling of the receiver pipe 19 with disinfectable liquid begins, open valve 4 and supply saturating gas through line 3 from line 5 from source 5 to saturation collector 2. Through openings with a diameter of 0.05-0.15 collector 2 the saturating gas enters the disinfected liquid, is captured by the flow of the disinfected liquid, partially sparges (rises) through it, and dissolves in it (Figure 2).

Величину объема и конфигурацию емкости 13 и трубопровода-ресивера 19, величину давления в них смеси жидкости с газом, вид насыщающего газа, величину времени нахождения в них смеси жидкости с газом, величину расхода и общее количество впрыскиваемого насыщающего газа назначают из условия растворения во внутриклеточной жидкости микроорганизмов количества газа, обеспечивающего разрушение клетки микроорганизма пороговой декомпрессией при последующем перепуске газонасыщенной жидкости через отверстия коллектора 10 разнасыщения.The volume and configuration of the tank 13 and the receiver pipe 19, the pressure in them of the liquid-gas mixture, the type of saturating gas, the amount of time spent in them of the liquid-gas mixture, the flow rate and the total amount of injected saturated gas are prescribed from the condition of dissolution in the intracellular fluid microorganisms of the amount of gas that ensures the destruction of microorganism cells by threshold decompression during the subsequent bypass of a gas-saturated liquid through the holes of the reservoir of desaturation 10.

Величину выбранного давления насыщения обеззараживаемой жидкости в емкости 13 и в трубопроводе-ресивере 19 поддерживают (регулируют) дренажно-предохранительными клапанами 22, которые сбрасывают излишнее давление (газ насыщения) в атмосферу.The value of the selected saturation pressure of the disinfected liquid in the tank 13 and in the receiver pipe 19 is supported (regulated) by drainage safety valves 22, which release excess pressure (saturation gas) into the atmosphere.

Для сокращения времени газонасыщения обеззараживаемой жидкости (в случае применения первого варианта устройства 1 газонасыщения) открывают клапаны 24 и/или 26 и насыщающий газ по трубопроводам, соответственно, 23 и/или 25 из источника 5 подают, соответственно, на вход в насос 8 и/или на выход из насоса 8. В этом случае с помощью насоса 8 производят предварительное (дополнительное) насыщение обеззараживаемой жидкости газом (воздухом) перед ее последующим окончательным донасыщением в емкости 13.To reduce the gas saturation time of the disinfected liquid (in the case of the first embodiment of the gas saturation device 1), the valves 24 and / or 26 are opened and the saturating gas is piped, respectively, 23 and / or 25 from the source 5, respectively, to the inlet of the pump 8 and / or to exit pump 8. In this case, using pump 8, preliminary (additional) saturation of the disinfected liquid with gas (air) is performed before its subsequent final saturation in the tank 13.

После насыщения обеззараживаемой жидкости и внутриклеточной жидкости микроорганизмов требуемым количеством газа через определенное количество времени, например по сигналу таймера в первом варианте насыщения (на Фиг.1 не показан), открывают клапан 12 и обеззараживаемая жидкость по трубопроводу 12 из емкости 13 (во втором варианте без автоматики, без временной выдержки по таймеру, из трубопровода-ресивера 19) поступает в коллектор 10 разнасыщения. При истечении газонасыщенной жидкости из перепускных отверстий коллектора 10 в ней резко снижается давление, из нее и из внутриклеточной жидкости микроорганизмов резко выделяется растворенный газ, который пороговой декомпрессией разрушает клетки микроорганизмов.After saturation of the disinfected fluid and the intracellular fluid of microorganisms with the required amount of gas after a certain amount of time, for example, according to the timer signal in the first saturation option (not shown in Fig. 1), the valve 12 and the disinfected fluid are opened via line 12 from the tank 13 (in the second embodiment without automation, without a temporary shutter timer, from the pipe-receiver 19) enters the manifold 10 desaturation. When a gas-saturated liquid flows from the bypass holes of the collector 10, the pressure in it drastically decreases, and dissolved gas is sharply released from it and from the intracellular liquid of microorganisms, which destroys the cells of microorganisms by threshold decompression.

При использовании для газонасыщения обеззараживаемой жидкости первого варианта конструкции устройства 1 газонасыщения одновременно с открытием клапана 12 открывают клапан 18 и насыщающий газ (воздух) из источника 5 по трубопроводу 17 поступает в верхнюю часть емкости 13. При этом объемный расход этого газа в емкость 13 должен быть не менее объемного расхода газонасыщенной жидкости, выдавливаемой из емкости 13 через перепускные отверстия коллектора разнасыщения 10, что позволяет поддерживать (не уменьшать) давление в емкости 13 при перетоке газонасыщенной жидкости из емкости 13 с избыточным давлением в емкость 20 без избыточного давления.When the first embodiment of the device 1 is used for gas saturation of the disinfected liquid, simultaneously with the valve 12 being opened, valve 18 is opened and the saturating gas (air) from the source 5 through the pipe 17 enters the upper part of the tank 13. In this case, the volumetric flow of this gas to the tank 13 should be not less than a volumetric flow rate of a gas-saturated liquid squeezed out of a container 13 through the bypass openings of the unregistration collector 10, which allows maintaining (not reducing) the pressure in the container 13 during gas overflow saturated liquid from the tank 13 with an overpressure in the tank 20 without excessive pressure.

После передавливания всей газонасыщенной жидкости из емкости 13 в емкость 20, то есть по сигналу датчика уровня 15 и/или по визуальному контролю уровнемера 16, закрывают клапан 12, открывают клапан 7 (если насос 8 был выключен, то его включают), по трубопроводу 6 в емкость 13 из источника поступает для очередного газонасыщения новая порция обеззараживаемой жидкости и вышеописанный цикл насыщения - разнасыщения повторяется. Клапаны 24 и 26 при этом постоянно открыты и насыщающий газ постоянно поступает из источника 5 в коллектор 12 насыщения (в емкость 13).After squeezing all the gas-saturated liquid from the tank 13 into the tank 20, that is, by the signal of the level sensor 15 and / or by visual inspection of the level gauge 16, close the valve 12, open the valve 7 (if the pump 8 was turned off, then turn it on), through the pipeline 6 for the next gas saturation, a new portion of the disinfected liquid and the above-described saturation cycle — the unsaturation is repeated — enter the container 13 from the source. The valves 24 and 26 are constantly open and the saturating gas constantly flows from the source 5 to the saturation collector 12 (into the tank 13).

При применении второго варианта конструкции устройства 1 газонасыщения обеззараживаемой жидкости процесс насыщения - разнасыщения производят постоянно (беспрерывно, без цикличности) за счет обеспечения требуемого газонасыщения за время протекания жидкости от насоса 8 по трубопроводу-ресиверу 19 до коллектора разнасыщения 10 (за счет времени нахождения обеззараживаемой жидкости в трубопроводе-ресивере 19). При этом производительность насоса 8 обеспечивает больший расход жидкости через коллектор разнасыщения 10.When applying the second embodiment of the design of the gas saturation device 1 of the disinfected liquid, the saturation process is carried out continuously (continuously, without cycling) by providing the required gas saturation during the flow of fluid from the pump 8 through the receiver pipe 19 to the reservoir of desaturation 10 (due to the time the disinfected liquid is located in the receiver pipe 19). In this case, the performance of the pump 8 provides a greater flow rate of the liquid through the reservoir of desaturation 10.

Из коллектора 10 разнасыщенная и обеззараженная пороговой декомпрессией жидкость (вода) попадает в емкость 20 устройства 9 и ее по трубопроводу 34 через клапан 35 насосом 36 подают потребителю. Чтобы в емкости 20 за счет притока разнасыщенной и обеззараженной жидкости и притока газа разнасыщения не поднималось давление (если объемный расход обеззараженной жидкости потребителю окажется меньше ее объемного притока), газ разнасыщения стравливают в атмосферу через малоперепадный предохранительный клапан 21.From the collector 10, a liquid (water) that is unsaturated and disinfected with threshold decompression enters the tank 20 of the device 9 and is supplied to the consumer through a pipe 34 through a valve 35 by a pump 36. In order that pressure does not increase in the vessel 20 due to the influx of a de-saturated and disinfected liquid and the influx of a de-saturation gas (if the volumetric flow rate of the decontaminated liquid to the consumer is less than its volume influx), the de-saturated gas is vented to the atmosphere through a low-pressure relief valve 21.

Периодически, например один раз в сутки, установку (системы забора обеззараживаемой жидкости, насыщения и разнасыщения, хранения и доставки ее потребителю) кратковременно обрабатывают (обеззараживают) химически активным веществом, например хлором. Для этой профилактической операции, не останавливая процесса декомпрессионного обеззараживания жидкости (если это не пищевая продукция, а, например, водопроводная или сточная вода), кратковременно, например на несколько минут, открывают клапаны 29 и 31 и по трубопроводам 28 и 30 из источника 27 впрыскивают в трубопровод 6 (до и/или после насоса 8) в нужном количестве химически активное вещество (например, хлор). Это вещество растворяется в обеззараживаемой жидкости и транспортируется обеззараживаемой (а затем и обеззараженной) жидкостью по всем системам установки и уничтожает микроорганизмы на внутренней поверхности их стенок.Periodically, for example, once a day, the installation (systems for withdrawing a disinfected liquid, saturation and unsaturation, storage and delivery to the consumer) is briefly treated (disinfected) with a chemically active substance, for example chlorine. For this preventive operation, without stopping the process of decompression disinfection of the liquid (if it is not food products, but, for example, tap or waste water), briefly, for example, for several minutes, open valves 29 and 31 and inject them from pipelines 28 and 30 from source 27 in the pipeline 6 (before and / or after the pump 8) in the right amount of a chemically active substance (for example, chlorine). This substance dissolves in the disinfected liquid and is transported by the disinfected (and then disinfected) liquid through all installation systems and destroys microorganisms on the inner surface of their walls.

Если обеззараживаемая жидкость является пищевым продуктом, то для вышеуказанной профилактической операции кратковременно останавливают процесс ее декомпрессионного обеззараживания, заменяют пищевую жидкость промывочной водой, в которую вышеуказанной технологией впрыскивают химически активное вещество, а после обеззараживания установки сливают промывочную воду и продолжают процесс декомпрессионного обеззараживания пищевой жидкости.If the disinfected liquid is a food product, then for the above preventive operation the process of its decompression disinfection is stopped for a short time, the food liquid is replaced with washing water into which chemically active substance is injected with the above technology, and after the disinfection of the installation, the washing water is drained and the process of decompressed disinfection of food liquid is continued.

Для обеспечения беспрерывности процесса обеззараживания жидкости (беспрерывного цикла насыщения и цикла разнасыщения жидкости) и увеличения производительности установка может иметь несколько автономных устройств газонасыщения, соединенных параллельно с источником обеззараживаемой жидкости, источником сжатого газа насыщения, устройством разнасыщения через автономные управляемые клапаны.To ensure the continuity of the liquid disinfection process (continuous cycle of saturation and the cycle of desaturation of the liquid) and increase productivity, the installation may have several autonomous gas saturation devices connected in parallel with the source of the disinfected liquid, the source of compressed saturation gas, and the device of desaturation through autonomous controlled valves.

Применение предложенных способа и установок обеззараживания жидкостей позволит сократить затраты средств и времени на обеззараживание жидкости, повысить качество обеззараживания, сохранить полезные свойства обеззараживаемых жидкостей, улучшить экологию окружающей среды и технику безопасности при обеззараживании.The application of the proposed method and installations for disinfecting liquids will reduce the cost of funds and time for disinfecting liquids, improve the quality of disinfection, preserve the beneficial properties of disinfectable liquids, improve the environment and safety during disinfection.

Claims (13)

1. Способ обеззараживания жидкости, включающий разрушение клеток присутствующих в ней микроорганизмов декомпрессией, создаваемой путем перепуска предварительно насыщенной газом жидкости из емкости с большим давлением в емкость с меньшим давлением, отличающийся тем, что обеззараживаемую жидкость насыщают воздухом в герметичной емкости под избыточным давлением не менее 3 кг/см2, выдерживают насыщенную жидкость под этим давлением в течение не менее 60 мин, после чего перепускают ее из емкости насыщения в емкость разнасыщения, сообщенную с атмосферой, через отверстия диаметром 0,5-1,5 мм с постоянным перепадом давления на них не менее 3 кг/см2, для чего в емкость насыщения непрерывно подают воздух объемным расходом не менее объемного расхода обеззараживаемой жидкости через перепускные отверстия.1. A method of disinfecting a liquid, including the destruction of the cells of microorganisms present in it by decompression, created by transferring a liquid pre-saturated with gas from a container with high pressure to a container with lower pressure, characterized in that the disinfected liquid is saturated with air in a sealed container under an overpressure of at least 3 kg / cm 2, saturated liquid maintained at this pressure for at least 60 min, after which the recirculation of its saturation capacity in raznasyscheniya capacitance provided by the atmosphere through holes 0.5-1.5 mm in diameter with a constant pressure drop across them at least 3 kg / cm 2, for which a saturation capacity continuously supplied air volume flow rate no less than the volume flow of disinfected fluid through the bypass openings. 2. Способ по п.1, отличающийся тем, что обеззараживаемую жидкость насыщают воздухом в емкости насыщения путем впрыска воздуха в ее нижнюю часть под избыточным давлением по всей площади днища мелкими пузырьками, например, через коллектор впрыска на днище емкости насыщения с отверстиями 0,05-0,1 мм.2. The method according to claim 1, characterized in that the disinfected liquid is saturated with air in a saturation vessel by injecting air into its lower part under excessive pressure over the entire area of the bottom with small bubbles, for example, through an injection manifold on the bottom of the saturation vessel with openings of 0.05 -0.1 mm. 3. Способ по п.1, отличающийся тем, что обеззараживаемую жидкость насыщают воздухом при ее заборе из источника путем впрыска воздуха в поток жидкости на вход в насос и/или в занасосный трубопровод-ресивер, при этом воздух впрыскивают по всей площади потока жидкости под углом к направлению его движения мелкими пузырьками, например, через коллектор с отверстиями диаметром 0,05-0,1 мм.3. The method according to claim 1, characterized in that the disinfected liquid is saturated with air when it is drawn from the source by injecting air into the liquid stream at the inlet to the pump and / or into the intake pipe-receiver, while the air is injected over the entire area of the liquid stream under angle to the direction of its movement in small bubbles, for example, through a collector with holes with a diameter of 0.05-0.1 mm 4. Способ по п.1, отличающийся тем, что в насыщающий обеззараживаемую жидкость воздух добавляют углекислый газ, обеспечивающий уменьшение давления насыщающей газовой смеси в емкости насыщения, времени выдержки газонасыщенной жидкости в ней под давлением, перепада давления на отверстиях коллектора при перепуске газонасыщенной жидкости из емкости насыщения в емкость разнасыщения.4. The method according to claim 1, characterized in that carbon dioxide is added to the air saturating the disinfected liquid, which provides a decrease in the pressure of the saturating gas mixture in the saturation tank, the exposure time of the gas-saturated liquid in it under pressure, the pressure drop across the manifold openings when passing the gas-saturated liquid from saturation capacitance into the unsaturation capacity. 5. Способ по п.4, отличающийся тем, что величину объема занасосного трубопровода-ресивера, величину расхода и давления протекающей по нему обеззараживаемой жидкости, состав насыщающего газа, величину его расхода и давления впрыска в обеззараживаемую жидкость назначают из условия получения требуемой величины газонасыщения внутриклеточной жидкости микроорганизмов в обеззараживаемой жидкости за время транспортировки этой жидкости от насоса до емкости разнасыщения, обеспечивающих уничтожение микроорганизмов пороговой декомпрессией на перепускных отверстиях в емкости разнасыщения.5. The method according to claim 4, characterized in that the volume of the drift pipe-receiver, the flow rate and pressure of the disinfected liquid flowing through it, the composition of the saturating gas, the value of its flow rate and the injection pressure into the disinfected liquid are prescribed from the condition for obtaining the required intracellular gas saturation value the liquid of microorganisms in the disinfected liquid during the transportation of this liquid from the pump to the capacity of unsaturation, ensuring the destruction of microorganisms by threshold decompression on bypass openings in the reservoir of desaturation. 6. Способ по п.1, отличающийся тем, что систему декомпрессионного обеззараживания жидкости периодически, например один раз в сутки, обрабатывают (обеззараживают) активным химическим веществом, например хлором, для чего кратковременно, например в течение нескольких минут, впрыскивают его в обеззараживаемую жидкость на входе в систему декомпрессионного обеззараживания.6. The method according to claim 1, characterized in that the decompression disinfection system of the liquid is periodically, for example once a day, treated (disinfected) with an active chemical substance, for example chlorine, for which it is injected into the disinfected liquid for a short time, for example for several minutes at the entrance to the decompression disinfection system. 7. Установка для обеззараживания жидкости, содержащая устройства газонасыщения и разнасыщения обеззараживаемой жидкости и внутриклеточной жидкости находящихся в ней микроорганизмов, отличающаяся тем, что устройство газонасыщения выполнено из герметичной емкости насыщения, оснащенной предохранительным дренажным клапаном, коллектором газонасыщения, равномерно распределенным в ее нижней части и имеющим отверстия диаметром 0,05-0,1 мм, полость которого соединена трубопроводом с источником сжатого газа через управляемый клапан, а устройство разнасыщения выполнено из емкости, сообщенной с атмосферой и оснащенной коллектором разнасыщения, монтированным в ее верхней части и имеющим отверстия диаметром 0,5-1,5 мм, суммарная площадь проходного сечения которых меньше площади проходного сечения подводящего трубопровода, при этом полость коллектора разнасыщения соединена трубопроводом с нижней частью емкости газонасыщения через управляемый клапан.7. Installation for disinfecting a liquid containing gas saturation and desaturation devices of the disinfected liquid and the intracellular liquid of the microorganisms inside it, characterized in that the gas saturation device is made of a sealed saturation tank equipped with a safety drain valve, a gas saturation manifold evenly distributed in its lower part and having holes with a diameter of 0.05-0.1 mm, the cavity of which is connected by a pipeline to a source of compressed gas through a controlled valve, and the device of the desaturations is made of a container in communication with the atmosphere and equipped with a desaturation collector mounted in its upper part and having openings with a diameter of 0.5-1.5 mm, the total passage area of which is smaller than the passage section of the supply pipe, while the cavity of the desaturation collector is connected pipeline with the lower part of the gas saturation tank through a controlled valve. 8. Установка по п.7, отличающаяся тем, что емкость насыщения оснащена таймером, который управляет клапаном на трубопроводе подачи насыщенной обеззараживаемой жидкости из нижней части емкости насыщения в коллектор разнасыщения.8. Installation according to claim 7, characterized in that the saturation tank is equipped with a timer that controls the valve on the pipeline supplying a saturated disinfected liquid from the bottom of the saturation tank to the reservoir of desaturation. 9. Установка по п.7, отличающаяся тем, что емкость насыщения оснащена датчиками максимального и/или минимального уровня обеззараживаемой жидкости, и/или уровнемером, по показаниям которых управляют закрытием и открытием клапана на трубопроводе, соединяющем емкость газонасыщения с источником обеззараживаемой жидкости, и клапана на трубопроводе, соединяющем нижнюю часть емкости газонасыщения с коллектором разнасыщения.9. The installation according to claim 7, characterized in that the saturation tank is equipped with sensors for maximum and / or minimum level of the disinfected liquid, and / or a level gauge, according to the readings of which control the closing and opening of the valve on the pipeline connecting the gas saturation tank to the source of the disinfected liquid, and valve on the pipeline connecting the lower part of the gas saturation tank with the reservoir of desaturation. 10. Установка по п.7, отличающаяся тем, что она оснащена несколькими автономными устройствами газонасыщения под избыточным давлением до равновесного состояния обеззараживаемой жидкости и внутриклеточной жидкости находящихся в ней микроорганизмов, соединенными параллельно через автономные управляемые клапаны с источником обеззараживаемой жидкости, источником насыщающего газа, устройством разнасыщения.10. The installation according to claim 7, characterized in that it is equipped with several autonomous gas saturation devices under excessive pressure to the equilibrium state of the disinfected liquid and the intracellular liquid of the microorganisms inside it, connected in parallel through autonomous controlled valves with a source of disinfected liquid, a source of saturating gas, a device desaturations. 11. Установка по п.7, отличающаяся тем, что в ней устройство газонасыщения обеззараживаемой жидкости и внутриклеточной жидкости находящихся в ней микроорганизмов выполнено из трубопровода-ресивера высокого давления, вход которого соединен через насос высокого давления с источником обеззараживаемой жидкости и через коллектор газонасыщения с источником сжатого газа, а выход - через коллектор разнасыщения с емкостью разнасыщения обеззараживаемой жидкости, при этом насос имеет производительность, а трубопровод-ресивер имеет объем, которые обеспечивают время транспортировки обеззараживаемой жидкости до коллектора разнасыщения, достаточное для требуемого газонасыщения внутриклеточной жидкости микроорганизмов, находящихся в обеззараживаемой жидкости.11. Installation according to claim 7, characterized in that the gas saturation device of the disinfected liquid and the intracellular liquid of the microorganisms inside it is made of a high pressure receiver pipe, the inlet of which is connected through a high pressure pump to a source of disinfected liquid and through a gas saturation collector to a source compressed gas, and the output is through the reservoir of desaturation with the capacity of the desaturation of the disinfected liquid, while the pump has a capacity, and the receiver pipe has a volume that ensure the transportation of disinfected fluid to the collector raznasyscheniya sufficient for the desired gas saturation intracellular fluid microorganisms present in the disinfected liquid. 12. Установка по п.11, отличающаяся тем, что в ней производительность насоса высокого давления больше расхода обеззараживаемой жидкости через коллектор разнасыщения.12. Installation according to claim 11, characterized in that in it the performance of the high pressure pump is greater than the flow rate of the disinfected liquid through the reservoir of desaturation. 13. Установка по п.7, отличающаяся тем, что в ней устройство газонасыщения обеззараживаемой жидкости и внутриклеточной жидкости находящихся в ней микроорганизмов оснащено дренажно-предохранительными клапанами, настроенными на требуемое давление равновесного газонасыщения.13. Installation according to claim 7, characterized in that the gas saturation device of the disinfected liquid and the intracellular liquid of the microorganisms inside it is equipped with drainage safety valves that are configured to the required pressure of equilibrium gas saturation.
RU2004117934/15A 2004-06-16 2004-06-16 Method of decontamination of liquids and the installation for its realization RU2276103C2 (en)

Priority Applications (1)

Application Number Priority Date Filing Date Title
RU2004117934/15A RU2276103C2 (en) 2004-06-16 2004-06-16 Method of decontamination of liquids and the installation for its realization

Applications Claiming Priority (1)

Application Number Priority Date Filing Date Title
RU2004117934/15A RU2276103C2 (en) 2004-06-16 2004-06-16 Method of decontamination of liquids and the installation for its realization

Publications (2)

Publication Number Publication Date
RU2004117934A RU2004117934A (en) 2005-11-20
RU2276103C2 true RU2276103C2 (en) 2006-05-10

Family

ID=35867023

Family Applications (1)

Application Number Title Priority Date Filing Date
RU2004117934/15A RU2276103C2 (en) 2004-06-16 2004-06-16 Method of decontamination of liquids and the installation for its realization

Country Status (1)

Country Link
RU (1) RU2276103C2 (en)

Cited By (2)

* Cited by examiner, † Cited by third party
Publication number Priority date Publication date Assignee Title
RU2325329C2 (en) * 2006-07-03 2008-05-27 Институт прикладной механики Российской Академии Наук (ИПРИМ РАН) Method of liquid mediums sterilization
RU2542106C1 (en) * 2013-08-15 2015-02-20 Федеральное государственное бюджетное научное учреждение "Краснодарский научно-исследовательский институт хранения и переработки сельскохозяйственной продукции" (ФГБНУ КНИИХП) Method for food liquid disinfection and installation for method implementation

Families Citing this family (1)

* Cited by examiner, † Cited by third party
Publication number Priority date Publication date Assignee Title
DE102017011752A1 (en) * 2017-12-19 2019-06-19 Messer Industriegase Gmbh Method for inactivating microorganisms in food

Citations (3)

* Cited by examiner, † Cited by third party
Publication number Priority date Publication date Assignee Title
DE3734025A1 (en) * 1987-10-08 1989-04-20 Juchem Franz Gmbh & Co Kg Process for preserving a water-containing food
RU2114791C1 (en) * 1995-10-18 1998-07-10 Волгоградский государственный технический университет Water disinfection apparatus
RU2222238C2 (en) * 2001-08-29 2004-01-27 Подосинников Вячеслав Васильевич Method for canning of liquid or pasty food products

Patent Citations (3)

* Cited by examiner, † Cited by third party
Publication number Priority date Publication date Assignee Title
DE3734025A1 (en) * 1987-10-08 1989-04-20 Juchem Franz Gmbh & Co Kg Process for preserving a water-containing food
RU2114791C1 (en) * 1995-10-18 1998-07-10 Волгоградский государственный технический университет Water disinfection apparatus
RU2222238C2 (en) * 2001-08-29 2004-01-27 Подосинников Вячеслав Васильевич Method for canning of liquid or pasty food products

Cited By (2)

* Cited by examiner, † Cited by third party
Publication number Priority date Publication date Assignee Title
RU2325329C2 (en) * 2006-07-03 2008-05-27 Институт прикладной механики Российской Академии Наук (ИПРИМ РАН) Method of liquid mediums sterilization
RU2542106C1 (en) * 2013-08-15 2015-02-20 Федеральное государственное бюджетное научное учреждение "Краснодарский научно-исследовательский институт хранения и переработки сельскохозяйственной продукции" (ФГБНУ КНИИХП) Method for food liquid disinfection and installation for method implementation

Also Published As

Publication number Publication date
RU2004117934A (en) 2005-11-20

Similar Documents

Publication Publication Date Title
US6106731A (en) System and method for ozonating water for animal houses
US8900459B2 (en) Versatile water purification systems and methods
US8721876B2 (en) Water treatment system
US20230192516A1 (en) Dynamic produced water treatment apparatus and system
US20140027388A1 (en) Water purification system
US20040211731A1 (en) Method for monitoring and controlling chlorine levels in an aqueous medium
US5637230A (en) Water treatment method and apparatus for adding calcium hypochlorite to potable water
WO1999055450A1 (en) Oxygenating apparatus, method for oxygenating a liquid therewith, and applications thereof
CA2802307C (en) System for producing and distributing an ozonated fluid
AU2008322775B2 (en) Water treatment apparatus
EP3241807B1 (en) Method for purifying liquid
RU2276103C2 (en) Method of decontamination of liquids and the installation for its realization
US6779539B1 (en) Dispensing apparatus for delivering controlled amounts of water soluble material to a process stream
US12071359B2 (en) Dynamic produced water treatment apparatus and system with oxygen recovery
US8540872B1 (en) Portable water treatment plant
US6238573B1 (en) Chlorinator and method of using it
SK281134B6 (en) Method and apparatus for batchwise biological and chemical purification of soil water
CN204474384U (en) A kind of novel chlorinating equipment of Sewage treatment systems
JPWO2008105242A1 (en) Disinfection method using expansion of dissolved gas
CN218822994U (en) Pipeline assembly air leakage detection equipment
RU156852U1 (en) MOBILE WATER TREATMENT STATION
JPS55127105A (en) Sterilizing method of membrane type separation module
JPS6044088A (en) Membrane separation apparatus
JPH05317854A (en) Method for preserving apparatus for desalination of seawater by reverse osmosis at the time of stopping
US20070017857A1 (en) Liquid disinfectant system for use with aerobic wastewater treatment plants

Legal Events

Date Code Title Description
MM4A The patent is invalid due to non-payment of fees

Effective date: 20060617