RU2216503C1 - Liquefied gas charger - Google Patents

Liquefied gas charger Download PDF

Info

Publication number
RU2216503C1
RU2216503C1 RU2002110046A RU2002110046A RU2216503C1 RU 2216503 C1 RU2216503 C1 RU 2216503C1 RU 2002110046 A RU2002110046 A RU 2002110046A RU 2002110046 A RU2002110046 A RU 2002110046A RU 2216503 C1 RU2216503 C1 RU 2216503C1
Authority
RU
Russia
Prior art keywords
gas
valves
installation
liquefied gas
springs
Prior art date
Application number
RU2002110046A
Other languages
Russian (ru)
Other versions
RU2002110046A (en
Inventor
П.М. Калужский
Г.Г. Зелютков
В.И. Иванов
Original Assignee
Общество с ограниченной ответственностью Научно-производственная фирма "ТИМ"
Priority date (The priority date is an assumption and is not a legal conclusion. Google has not performed a legal analysis and makes no representation as to the accuracy of the date listed.)
Filing date
Publication date
Application filed by Общество с ограниченной ответственностью Научно-производственная фирма "ТИМ" filed Critical Общество с ограниченной ответственностью Научно-производственная фирма "ТИМ"
Priority to RU2002110046A priority Critical patent/RU2216503C1/en
Application granted granted Critical
Publication of RU2216503C1 publication Critical patent/RU2216503C1/en
Publication of RU2002110046A publication Critical patent/RU2002110046A/en

Links

Images

Landscapes

  • Filling Or Discharging Of Gas Storage Vessels (AREA)
  • Details Of Valves (AREA)

Abstract

FIELD: transport engineering. SUBSTANCE: proposed plant is designed for charging vehicles with liquefied gas. Plant contains filter, gas cutoff device, turbine rate converter, electromagnetic valve and overload shearing clutch. Said clutch consists of base with weakening groove in middle, bodies of valves with holes to let gas in and out. Valves are provided with holes in guide part to pass gas. Guide parts of valves thrust against locks of springs, thus providing open position of valves irrespective of rigidity of springs. EFFECT: improved reliability of overload shearing clutch and safety of plant. 2 dwg

Description

Предложенное устройство относится к газовой промышленности, в частности к установкам для заправки транспортных средств сжиженным газом пропан-бутан, и может быть использовано в промышленности для операций с жидким газом. The proposed device relates to the gas industry, in particular to installations for filling vehicles with liquefied gas propane-butane, and can be used in industry for operations with liquid gas.

Известны установки для заполнения емкостей сжиженным газом, к которым оператор в стационарных условиях подключает шлангом баллон к заправочной установке, открывает вентиль и по мере наполнения баллона перекрывает вентиль и снимает шланг с баллона. Known installations for filling containers with liquefied gas, to which the operator in stationary conditions connects a cylinder with a hose to a gas station, opens the valve and closes the valve as the cylinder is filled and removes the hose from the cylinder.

Такие устройства не могут работать при заправке автотранспортных средств в условиях самообслуживания, т.к. водитель может забыть снять шланг с баллона своего автомобиля и с началом движения повредит установку заправки. Such devices cannot work when refueling vehicles in a self-service environment, as the driver may forget to remove the hose from the cylinder of his car and, with the start of movement, will damage the gas station.

Известны также установки для заправки автотранспорта сжиженным газом, в которых установлены предохранительные разрывные муфты. Например, срываемая муфта типа "PULL-AWAY" для трансферта жидкостей. There are also known installations for refueling vehicles with liquefied gas, in which safety explosive couplings are installed. For example, a “PULL-AWAY” type breakaway coupling for fluid transfer.

Муфта выполнена как полый цилиндр с наружной ослабляющей проточкой. Один конец муфты закреплен на установке, второй соединен с питающим шлангом. Внутри муфты размещены два клапана, развернутые навстречу друг другу таким образом, что рабочие штоки смыкаются, оставляя клапаны открытыми для прохода жидкого газа. В случае нештатного рывка за шланг муфта разрывается по ослабляющей проточке. При этом клапаны закрываются и утечка газа прекращается как из установки, так и из баллона автотранспорта. Смотри проспект фирмы "AUREX" Польша. The coupling is made as a hollow cylinder with an external weakening groove. One end of the coupling is fixed to the installation, the second is connected to the supply hose. Two valves are placed inside the coupling, deployed towards each other in such a way that the working rods are closed, leaving the valves open for the passage of liquid gas. In the event of an abnormal jerk over the hose, the sleeve breaks along a weakening groove. At the same time, the valves are closed and the gas leak stops both from the installation and from the vehicle balloon. See the prospectus of AUREX Poland.

Недостатком является ненадежность муфты, так как требуется точное изготовление и идентичность по физическим свойствам пружин. Известна установка заправки сжиженным газом (SU 1692932 А1, В 67 D 5/10 от 23.11.1991 г.). Установка включает корпус, фильтр, газоотсекатель, турбинный преобразователь расхода, электромагнитный клапан. The disadvantage is the unreliability of the clutch, as it requires accurate manufacture and identity in the physical properties of the springs. A known installation of refueling with liquefied gas (SU 1692932 A1, B 67 D 5/10 of 11/23/1991). The installation includes a housing, a filter, a gas cutter, a turbine flow converter, and an electromagnetic valve.

Эта установка принята за ближайший аналог (прототип). This setting is taken as the closest analogue (prototype).

Недостатком является ненадежность установки, так как в ней отсутствует разрывная муфта. Оператор после налива цистерны может забыть убрать шланг наливной линии и с началом движения заправленной цистерны будет повреждена наливная линия. The disadvantage is the unreliability of the installation, since it does not have an explosive coupling. After filling the tanker, the operator may forget to remove the hose of the filling line and the filling line will be damaged when the tank starts moving.

Технический результат и задача, заключающиеся в устранении указанных недостатков, - повышение надежности и безопасности установки. Это достигнуто новыми техническими решениями, находящимися в причинно-следственной связи с техническим результатом. The technical result and the task of eliminating these drawbacks is to increase the reliability and safety of the installation. This is achieved by new technical solutions that are in causal connection with the technical result.

Сущность заявленной установки выражается в совокупности нижеследующих существенных признаков. The essence of the claimed installation is expressed in the combination of the following essential features.

Известна установка заправки сжиженным газом, содержащая фильтр, газоотсекатель, турбинный преобразователь расхода, электромагнитный клапан, отличительными признаками которой является то, что она содержит размещенную снаружи установки разрывную муфту, состоящую из основания с ослабляющей проточкой посередине, корпусов клапанов с отверстиями в направляющих частях для подвода и отвода газа, пружин, фиксаторов пружин и уплотнительных колец. A known installation of refueling liquefied gas containing a filter, gas cutter, turbine flow transducer, solenoid valve, the distinguishing features of which is that it contains an explosive coupling located outside the installation, consisting of a base with a weakening groove in the middle, valve bodies with holes in the guide parts for supply and gas outlet, springs, spring retainers and o-rings.

Отличительными от прототипа признаками является так же то, что направляющие части выполнены таким образом, что при открытых клапанах они упираются в фиксаторы пружин. Distinctive features from the prototype is also the fact that the guide parts are made in such a way that when the valves are open, they abut against the spring clips.

Приведенная совокупность существенных признаков в сравнении с известным уровнем техники позволяет сделать вывод о соответствии предлагаемого технического решения критерию "новизна". The above set of essential features in comparison with the prior art allows us to conclude that the proposed technical solution meets the criterion of "novelty."

В то же время совокупность отличительных признаков, приводящих к решению поставленной задачи, явным образом не следует из уровня техники, поэтому предлагаемое техническое решение соответствует критерию "изобретательский уровень". At the same time, the totality of the distinguishing features leading to the solution of the problem, does not explicitly follow from the prior art, therefore, the proposed technical solution meets the criterion of "inventive step".

Перечень фигур на чертежах:
фиг. 1 - общий вид установки заправки сжиженным газом. Поступление сжиженного газа обозначено стрелкой;
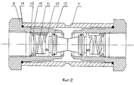
фиг.2 - общий вид разрывной муфты в разрезе.
The list of figures in the drawings:
FIG. 1 is a general view of a liquefied gas refueling installation. The flow of liquefied gas is indicated by an arrow;
figure 2 is a General view of the explosive coupling in the context.

Предлагаемая установка заправки сжиженным газом (в дальнейшем "установка") состоит из фильтра 1, газоотсекателя 2, турбинного преобразователя расхода 3, электромагнитного клапана 4, размещенных в корпусе 6 установки. Разрывная муфта 5 помещена снаружи установки. Муфта (фиг. 2) состоит из основания разрывной муфты с проточкой посередине 9, корпусов клапанов 8, клапана с отверстиями в направляющей части для прохода газа 12, пружин 11, фиксаторов пружин 10, стопорных колец 13, уплотнительных колец 14, 15. Клапаны одинаково открыты независимо от жесткости рабочих пружин 11. The proposed installation of refueling with liquefied gas (hereinafter “installation”) consists of a filter 1, a gas cutter 2, a turbine flow converter 3, an electromagnetic valve 4, located in the housing 6 of the installation. Explosive clutch 5 is placed outside the installation. The clutch (Fig. 2) consists of the base of the burst clutch with a groove in the middle 9, valve bodies 8, valves with holes in the guide part for the passage of gas 12, springs 11, spring retainers 10, snap rings 13, o-rings 14, 15. Valves are the same open regardless of the rigidity of the working springs 11.

Такое исполнение разрывной муфты обеспечивает надежную работу установки ввиду надежного удерживания клапанов в открытом состоянии. This design of the burst sleeve ensures reliable operation of the installation due to the reliable holding of the valves in the open state.

В случае разрыва основания муфты по ослабляющей проточке рывком за шланг 7 пружины 11 прижмут клапаны 12 с уплотнительными кольцами 15 к корпусу клапана 8 и закроют проход газа. In the event of a break in the base of the coupling along the weakening groove, jerk the hose 7 of the spring 11 and press the valves 12 with o-rings 15 to the valve body 8 and close the gas passage.

Предложенное техническое решение позволяет повысить надежность и обеспечить безопасность работы установки заправки сжиженным газом. The proposed technical solution improves reliability and ensures the safety of the operation of the liquefied gas refueling installation.

Claims (1)

Установка заправки сжиженным газом, включающая фильтр, газоотсекатель, турбинный преобразователь расхода, электромагнитный клапан, отличающаяся тем, что она содержит размещенную снаружи установку разрывную муфту в виде основания с ослабляющей проточкой посередине, корпусов клапанов с отверстиями в направляющих частях для подвода и отвода газа, пружин, фиксаторов пружин и уплотнительные кольца, при этом направляющие части выполнены так, что при открытых клапанах они упираются в фиксаторы пружин. A liquefied gas refueling installation, including a filter, a gas cutter, a turbine flow transducer, an electromagnetic valve, characterized in that it contains an externally mounted installation of a bursting sleeve in the form of a base with an attenuating groove in the middle, valve bodies with holes in the guide parts for gas inlet and outlet, springs , spring retainers and O-rings, while the guide parts are designed so that with the valves open, they abut against the spring retainers.
RU2002110046A 2002-04-17 2002-04-17 Liquefied gas charger RU2216503C1 (en)

Priority Applications (1)

Application Number Priority Date Filing Date Title
RU2002110046A RU2216503C1 (en) 2002-04-17 2002-04-17 Liquefied gas charger

Applications Claiming Priority (1)

Application Number Priority Date Filing Date Title
RU2002110046A RU2216503C1 (en) 2002-04-17 2002-04-17 Liquefied gas charger

Publications (2)

Publication Number Publication Date
RU2216503C1 true RU2216503C1 (en) 2003-11-20
RU2002110046A RU2002110046A (en) 2004-02-10

Family

ID=32027675

Family Applications (1)

Application Number Title Priority Date Filing Date
RU2002110046A RU2216503C1 (en) 2002-04-17 2002-04-17 Liquefied gas charger

Country Status (1)

Country Link
RU (1) RU2216503C1 (en)

Cited By (1)

* Cited by examiner, † Cited by third party
Publication number Priority date Publication date Assignee Title
RU215017U1 (en) * 2021-10-13 2022-11-24 Олег Николаевич Шалин Universal safety connecting-disconnecting mechanism for connecting pipelines of pneumatic and hydraulic systems

Citations (2)

* Cited by examiner, † Cited by third party
Publication number Priority date Publication date Assignee Title
US3913633A (en) * 1974-10-21 1975-10-21 Weil Mclain Company Inc Liquid dispensing and vapor recovery system
SU1692932A1 (en) * 1989-07-24 1991-11-23 Нижегородский Проектный Филиал Всесоюзного Научно-Исследовательского Института По Переработке Нефти System for automatically charging tank cars with liquified gas

Patent Citations (2)

* Cited by examiner, † Cited by third party
Publication number Priority date Publication date Assignee Title
US3913633A (en) * 1974-10-21 1975-10-21 Weil Mclain Company Inc Liquid dispensing and vapor recovery system
SU1692932A1 (en) * 1989-07-24 1991-11-23 Нижегородский Проектный Филиал Всесоюзного Научно-Исследовательского Института По Переработке Нефти System for automatically charging tank cars with liquified gas

Cited By (1)

* Cited by examiner, † Cited by third party
Publication number Priority date Publication date Assignee Title
RU215017U1 (en) * 2021-10-13 2022-11-24 Олег Николаевич Шалин Universal safety connecting-disconnecting mechanism for connecting pipelines of pneumatic and hydraulic systems

Also Published As

Publication number Publication date
RU2002110046A (en) 2004-02-10

Similar Documents

Publication Publication Date Title
US4090524A (en) Frangible valved fitting
CN103863096B (en) Pressure storage system and method for operating the same
US8381763B2 (en) Gas filling and dispensing device, vessel with such device, and operational circuit
US4341235A (en) Device for connecting a pressure fluid source to a fluid motor
KR101497148B1 (en) Emergency shut-off valve for fuel distribution system
US8066024B2 (en) Emergency shutoff valve for use in a fuel dispensing system
JP5774659B2 (en) Pressure gauge
US5022423A (en) Safety valve
RU2216503C1 (en) Liquefied gas charger
US5542445A (en) Temperature and impact sensitive safety valve
US11719373B2 (en) Coupling with pressure relief
US8800588B2 (en) Glass bulb thermally-activated pressure relief device, safety inspection method, and equipment
US20150321836A1 (en) Receiver for reductant tank
RU25500U1 (en) FILLING A LIQUEFIED GAS
US11346484B2 (en) Disconnectable fluid coupling
EP3011217B1 (en) High-pressure fluid conduit
KR101818159B1 (en) Safety Manifold Valve
RU2700487C1 (en) Hydraulic drive protection system
US20040187921A1 (en) Tap for gas or liquid cylinder
WO2007027432A2 (en) Safety system hose
RU2117856C1 (en) Pipe line for transportation of fluid media
SU1488651A1 (en) DEVICE FOR EMERGENCY PIPELINE OVERLAP
RU2429187C1 (en) Indicating rotating cut-off clutch
GB2192692A (en) Bi-directional flow control device
US20180180212A1 (en) Safety System for Conduits

Legal Events

Date Code Title Description
MM4A The patent is invalid due to non-payment of fees

Effective date: 20130418