RU22016U1 - Профиль фасада карниза - Google Patents
Профиль фасада карнизаInfo
- Publication number
- RU22016U1 RU22016U1 RU2001127190/20U RU2001127190U RU22016U1 RU 22016 U1 RU22016 U1 RU 22016U1 RU 2001127190/20 U RU2001127190/20 U RU 2001127190/20U RU 2001127190 U RU2001127190 U RU 2001127190U RU 22016 U1 RU22016 U1 RU 22016U1
- Authority
- RU
- Russia
- Prior art keywords
- profile
- facade
- cornice
- steel
- bends
- Prior art date
Links
Landscapes
- Buildings Adapted To Withstand Abnormal External Influences (AREA)
Description
Область техники
Полезная модель относится к приспособлениям для навешивания занавесок драпировок и других принадлежностей для окон, в частности к конструкции декоративных планок (фасада) карниза
Уровень техники
Известен профиль фасада карниза(Свидетельство РФ №12946, кло А 47 Н 1/00, 2000Го), содержащий тонкостенную планку из металла с декоративными продольными выгибами, ребрами жесткости и с захватами для декоративной вставки в его центральной части При этом тонкостенная планка выполнена монолитно с направляющей балкой .
Недостатком известной конструкции является то, что невозможно изменение внешнего вида карниза заменой его фасадной планки„
Сущность полезной модели
В основу полезной модели поставлена задача создания профиля фасада карниза, конструкция которого позволяет изменять его внешний вид заменой планки о
Решение поставленной задачи достигается тем, что в профиле фасада карниза, содержащем тонкостенную планку из металла с декоративными продольными выгибами, ребрами жесткости и с захватами для декоративной вставки в его центральной части, согласно полезной модели он дополнительно содержит не менее одного захвата держателей профиля и выполнен из стали, и/или стали с полимерным покрытием, и/или ламинированным покрытием холодной прокаткой, и/или из алюминия экструзией металла
При этом захваты выполнены в виде загибов краев планки в сторону держателей карниза или Побразной формы, а планка выполнена толщиной О о 3 1о2 ммо Планка выполнена одноцветной или
многоцветной с высотой 20- 150 мм. , Введение v держателей профиля позволяет
выполнять профиль фасада карниза съемным и как следствие;, изменять внешний вид карниза заменой декоративной планки„ Выполнение при этом профиля из стали и/или стали с полимерным покрытием, и/или ламинированным покрытием холодной прокаткой7 и/или из алюминия экструзией металла позволяет дополнительно изменять внешний вид фасада карниза
Краткое описание чертежей На фиг о 1 представлен пример предлагаемого
конструктивного исполнения профиля фасада
карниза
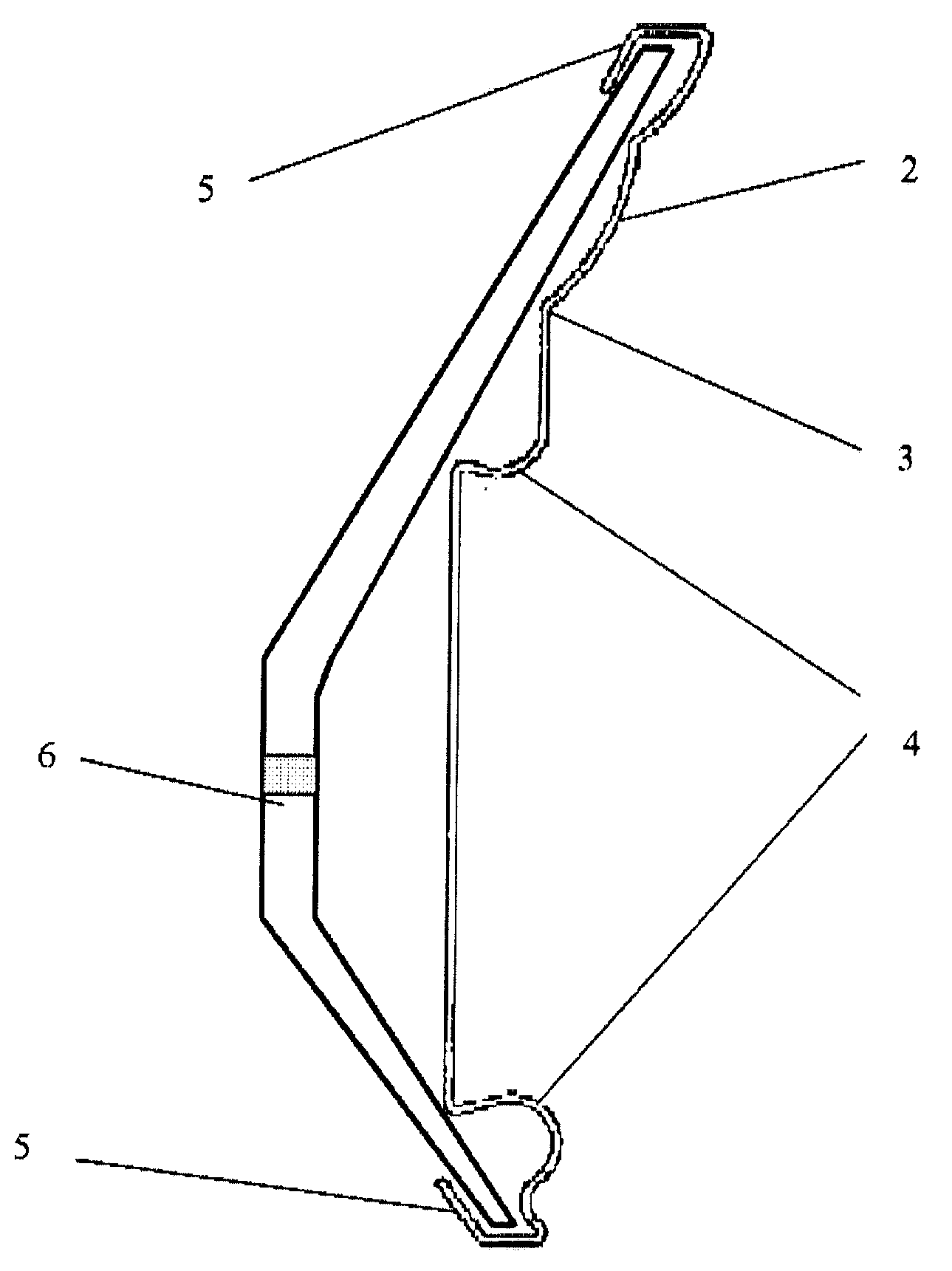
Позициями на фиг о 1 обозначеныs
1- Планка;
2- Декоративные продольные выгибы;
3- Ребра жесткости;
4- Захваты для декоративной вставки;
5- Захваты держателя;
6- Держатель.
Лучший вариант исполнения„
Профиль фасада карниза содержит тонкостенную планку 1 из металла с декоративными продольными выгибами 2 ребрами жесткости 3 и с захватами для декоративной вставки и не менее одного захвата 5 держателя профиля . Захваты 5 держателя 6 выполнены в виде загибов краев планки 1 в сторону держателей б, например П-образной формы Планка 1 выполнена толш;иной 0 3 - 1„2 мм Она выполнена одноцветной или многоцветной с высотой 20- 150 мМо Планка 1 изготовлена из стали, и/или стали с полимерным покрытием, и/или ламинированным покрытием холодной прокаткой. При другом варианте исполнения, не выходящем за пределы полезной модели, она выполнена из алюминия экструзией металла
Возможно выполнение планки 1 фигурной в виде сочетания выпуклых и вогнутого дугообразных элементов 2, охватывающих паз, расположенный в центральной части планки 1, сечение паза
выполнено трапециидальной формы с сужением в сторону лицевой части планки 1 под углом 60 - 80 градусов Кроме того, в верхней части планка 1 содержит три выпуклых дугообразных элемента 2 с радиусами 9-1- 11 мм, 14 -§- 1бмм и 2 5 3 , 5 мм соответственно а в нижней - выпуклый элемент 2 с радиусом 3 -I- 3 о 4 мм и вогнутый 2-е радиусом 2 -ь 2 о 2 мм„
Изготовление и установка профиля„
Профиль фасада карниза изготавливают из стали толщиной 0,3 - мм холодной прокаткой с высотой 20 - 150 мм Возможно выполнение планки 1 с полимерным или ламинированым покрытиями требуемых цветов. Для этого перед прокаткой сталь покрывают полимерным покрытием или ламинируют„ Изготовленый профиль закрепляют захватами 5 к держателю б установленному на несущей балке
Данная полезная модель не ограничивается приведенным примером осуществления. В рамках данной полезной модели возможно и другое исполнение конструкции профиля фасада карниза не выходящие за пределы описанной полезной модели, В частности;, возможно исполнение профиля фасада карниза с указанными выше параметрами из алюминия или его сплавов экструзией металла,
Промьшленная применимость,
Заявляемый профиль фасада карниза может быть выполнен по известным технологиям и на существующем оборудовании. В настоящее время изготовлена опытная партия профилей фасада карниза на предприятиях ИПЛАНА и готовится их серийное производство.
Claims (7)
1. Профиль фасада карниза, выполненный в виде тонкостенной планки из металла с декоративными продольными выгибами, ребрами жесткости и с захватами для декоративной вставки в его центральной части, отличающийся тем, что он дополнительно содержит не менее одного захвата держателей профиля и выполнен из стали, и/или стали с полимерным покрытием, и/или ламинированным покрытием холодной прокаткой, и/или выполнен из алюминия экструзией металла.
2. Профиль фасада карниза по п.1, отличающийся тем, что захваты выполнены в виде загибов краев профиля в сторону держателей карниза.
3. Профиль фасада карниза по п.2, отличающийся тем, что загибы выполнены П-образной формы.
4. Профиль фасада карниза по пп.1-3, отличающийся тем, что он выполнен толщиной 0,3-1,2 мм.
5. Профиль фасада карниза по пп.1-4, отличающийся тем, что он выполнен одноцветным.
6. Профиль фасада карниза по пп.1-4, отличающийся тем, что он выполнен многоцветным.
Priority Applications (1)
| Application Number | Priority Date | Filing Date | Title |
|---|---|---|---|
| RU2001127190/20U RU22016U1 (ru) | 2001-10-17 | 2001-10-17 | Профиль фасада карниза |
Applications Claiming Priority (1)
| Application Number | Priority Date | Filing Date | Title |
|---|---|---|---|
| RU2001127190/20U RU22016U1 (ru) | 2001-10-17 | 2001-10-17 | Профиль фасада карниза |
Publications (1)
| Publication Number | Publication Date |
|---|---|
| RU22016U1 true RU22016U1 (ru) | 2002-03-10 |
Family
ID=37502515
Family Applications (1)
| Application Number | Title | Priority Date | Filing Date |
|---|---|---|---|
| RU2001127190/20U RU22016U1 (ru) | 2001-10-17 | 2001-10-17 | Профиль фасада карниза |
Country Status (1)
| Country | Link |
|---|---|
| RU (1) | RU22016U1 (ru) |
-
2001
- 2001-10-17 RU RU2001127190/20U patent/RU22016U1/ru active Protection Beyond IP Right Term
Similar Documents
| Publication | Publication Date | Title |
|---|---|---|
| US4038802A (en) | Tubular spindle cover | |
| RU22016U1 (ru) | Профиль фасада карниза | |
| RU22017U1 (ru) | Профиль фасада карниза | |
| CN209817232U (zh) | 一种可调型轻钢龙骨吊顶 | |
| CN208088603U (zh) | 单元式幕墙挂件 | |
| CN218176312U (zh) | 防风卡扣金属天花板及其组件 | |
| RU2016146491A (ru) | Составной профиль для дверей, окон или фасадных элементов | |
| WO2018160484A1 (en) | Arched island ceiling | |
| CN207609058U (zh) | 一种格栅系统 | |
| CN209066684U (zh) | 一种grc幕墙连接系统 | |
| CA2225825A1 (en) | Roll forming structural steel profiles with galvanised coating | |
| US20210254339A1 (en) | Galvanized Steel Structures | |
| CN210507848U (zh) | 变形缝预埋组装式盖板结构 | |
| RU164684U1 (ru) | Устройство для монтажа натяжного потолка | |
| RU193384U1 (ru) | Металлический профиль для ограждения | |
| RU29646U1 (ru) | Карниз для штор | |
| CN208331754U (zh) | 一种超薄壁型材 | |
| CN218758220U (zh) | 一种快速安装的铝方通天花结构 | |
| CN210597807U (zh) | 一种搪瓷板吊顶挂装结构 | |
| CN210493333U (zh) | 一种装饰型材结构 | |
| CN205477143U (zh) | 一种节能型框架幕墙的点窗式结构 | |
| RU187740U1 (ru) | Профиль карнизный | |
| RU21055U1 (ru) | Подвесной потолок | |
| IT202000010207A1 (it) | Metodo per la verniciatura di profili estrusi in alluminio | |
| CN106761188A (zh) | 一种外开门窗用铝型材 |
Legal Events
| Date | Code | Title | Description |
|---|---|---|---|
| ND1K | Extending utility model patent duration | ||
| ND1K | Extending utility model patent duration |
Extension date: 20141017 |
