RU2198822C2 - Устройство для открывания и закрывания окон летательного аппарата - Google Patents

Устройство для открывания и закрывания окон летательного аппарата Download PDF

Info

Publication number
RU2198822C2
RU2198822C2 RU2000119173A RU2000119173A RU2198822C2 RU 2198822 C2 RU2198822 C2 RU 2198822C2 RU 2000119173 A RU2000119173 A RU 2000119173A RU 2000119173 A RU2000119173 A RU 2000119173A RU 2198822 C2 RU2198822 C2 RU 2198822C2
Authority
RU
Russia
Prior art keywords
rod
cover
power cylinder
blind hole
opening
Prior art date
Application number
RU2000119173A
Other languages
English (en)
Other versions
RU2000119173A (ru
Inventor
О.Н. Жданов
Б.Ш. Махтин
Original Assignee
Федеральное государственное унитарное предприятие "Государственный космический научно-производственный центр им.М.В. Хруничева"
Priority date (The priority date is an assumption and is not a legal conclusion. Google has not performed a legal analysis and makes no representation as to the accuracy of the date listed.)
Filing date
Publication date
Application filed by Федеральное государственное унитарное предприятие "Государственный космический научно-производственный центр им.М.В. Хруничева" filed Critical Федеральное государственное унитарное предприятие "Государственный космический научно-производственный центр им.М.В. Хруничева"
Priority to RU2000119173A priority Critical patent/RU2198822C2/ru
Publication of RU2000119173A publication Critical patent/RU2000119173A/ru
Application granted granted Critical
Publication of RU2198822C2 publication Critical patent/RU2198822C2/ru

Links

Images

Landscapes

  • Pressure Vessels And Lids Thereof (AREA)
  • Sealing Devices (AREA)

Abstract

Изобретение относится к космической технике. Устройство для открывания и закрывания окон летательного аппарата содержит силовой цилиндр (3) с каналом (4) для подвода рабочей среды в штоковую полость, крышку (6) с проушинами (8) и эластичным уплотнительным элементом (7), шарнирный подшипник с наружным кольцом и внутренним кольцом, закрепленным посредством ограничительных шайб в проушинах крышки, и пружину, размещенную в глухом отверстии штока. Шток силового цилиндра выполнен с глухим отверстием и снабжен хвостовиком с выполненным в нем пазом, в котором размещено наружное кольцо шарнирного подшипника. Продольная ось паза перпендикулярна оси штока. Крышка установлена с возможностью регулировки закрытия окна. Изобретение повышает надежность. 4 ил.

Description

Устройство относится к космической технике и может быть использовано для сброса давления из полости летательного аппарата, а также обеспечения ее пыле- и влагозащищенности.
Из известных конструктивных решений наиболее близким к заявленному устройству является устройство для открывания и закрывания дренажных окон летательного аппарата, содержащее силовой цилиндр с каналом для подвода рабочей среды и штоковой полостью, крышку с проушинами и эластичным уплотнительным элементом, шарнирный подшипник с наружным кольцом и внутренним кольцом, закрепленным посредством ограничительных шайб в проушинах крышки, и пружину (патент РФ 2132812, кл. В 65 D 90/54, приоритет 27.03.98). Недостатком данного устройства является недостаточная надежность конструкции.
Техническим результатом предлагаемого изобретения является повышение надежности конструкции.
Технический результат достигается тем, что в устройстве для открывания и закрывания окон летательного аппарата, содержащем силовой цилиндр с каналом для подвода рабочей среды и штоковой полостью, крышку с проушинами и эластичным уплотнительным элементом, шарнирный подшипник с наружным кольцом и внутренним кольцом, закрепленным посредством ограничительных шайб в проушинах крышки, и пружину, в соответствии с предлагаемым изобретением шток силового цилиндра выполнен с глухим отверстием и снабжен хвостовиком с выполненным в нем пазом, в котором размещено наружное кольцо шарнирного подшипника, при этом продольная ось паза перпендикулярна оси штока, канал силового цилиндра выполнен с возможностью подвода рабочей среды в штоковую полость, пружина размещена в глухом отверстии штока, а крышка установлена с возможностью регулировки закрытия окна.
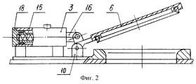
На фиг. 1 представлено устройство для открывания и закрывания окон летательного аппарата; на фиг.2 - то же устройство в открытом положении; на фиг.3 и 4 - в увеличенном масштабе виды А и Б соответственно.
Заявленное устройство содержит основание 1, крепящееся к корпусу 2 летательного аппарата, в котором имеется окно, силовой цилиндр 3 с каналом 4 для подвода рабочей среды и штоковой полостью 5. Крышка 6 имеет эластичный уплотнительный элемент 7, проушины 8 и при помощи оси 9 установлена в стойке 10, имеющей возможность регулировки своего положения и, следовательно, положения крышки на основании 1, например, за счет прокладок, для надежного закрытия окна. Устройство содержит также шарнирный подшипник с наружным кольцом 11 и внутренним кольцом 12, которое через шайбы 13, имеющие кольцевые выступы, неподвижно закреплено при помощи пальца 14 в проушинах 8. Пружина 15 размещена в глухом отверстии штока 16, что позволяет оптимизировать размеры силового цилиндра 3 и исключить влияние на нее внешних факторов. Шток 16 снабжен хвостовиком 17 с пазом, в котором размещено наружное кольцо 11 шарнирного подшипника. Продольная ось паза перпендикулярна оси штока 16. Силовой цилиндр 3 снабжен заглушкой 18.
Работает устройство следующим образом.
Наличие давления в штоковой полости 5 силового цилиндра 3 заставляет шток 16 двигаться к заглушке 18, увлекая за собой крышку 6, что обеспечивает открытие окна. При сбросе давления из полости 5 крышка 6 под действием пружины 15 поворачивается на оси 9 и закрывает окно.

Claims (1)

  1. Устройство для открывания и закрывания окон летательного аппарата, содержащее силовой цилиндр с каналом для подвода рабочей среды и штоковой полостью, крышку с проушинами и эластичным уплотнительным элементом, шарнирный подшипник с наружным кольцом и внутренним кольцом, закрепленным посредством ограничительных шайб в проушинах крышки, и пружину, отличающееся тем, что шток силового цилиндра выполнен с глухим отверстием и снабжен хвостовиком с выполненным в нем пазом, в котором размещено наружное кольцо шарнирного подшипника, при этом продольная ось паза перпендикулярна оси штока, канал силового цилиндра выполнен с возможностью подвода рабочей среды в штоковую полость, пружина размещена в глухом отверстии штока, а крышка установлена с возможностью регулировки закрытия окна.
RU2000119173A 2000-07-20 2000-07-20 Устройство для открывания и закрывания окон летательного аппарата RU2198822C2 (ru)

Priority Applications (1)

Application Number Priority Date Filing Date Title
RU2000119173A RU2198822C2 (ru) 2000-07-20 2000-07-20 Устройство для открывания и закрывания окон летательного аппарата

Applications Claiming Priority (1)

Application Number Priority Date Filing Date Title
RU2000119173A RU2198822C2 (ru) 2000-07-20 2000-07-20 Устройство для открывания и закрывания окон летательного аппарата

Publications (2)

Publication Number Publication Date
RU2000119173A RU2000119173A (ru) 2002-07-20
RU2198822C2 true RU2198822C2 (ru) 2003-02-20

Family

ID=20238061

Family Applications (1)

Application Number Title Priority Date Filing Date
RU2000119173A RU2198822C2 (ru) 2000-07-20 2000-07-20 Устройство для открывания и закрывания окон летательного аппарата

Country Status (1)

Country Link
RU (1) RU2198822C2 (ru)

Cited By (1)

* Cited by examiner, † Cited by third party
Publication number Priority date Publication date Assignee Title
RU2480373C1 (ru) * 2011-12-01 2013-04-27 Федеральное государственное унитарное предприятие "Государственный космический научно-производственный центр имени М.В. Хруничева" Устройство для открывания и закрывания окон летательного аппарата

Citations (3)

* Cited by examiner, † Cited by third party
Publication number Priority date Publication date Assignee Title
US4848404A (en) * 1987-02-18 1989-07-18 Doyle Hickok Hydraulic valve
RU2039679C1 (ru) * 1992-12-14 1995-07-20 Самарское конструкторское бюро Авиационного научно-технического комплекса им.А.Н.Туполева Устройство для открытия грузовой двери летательного аппарата
RU2132812C1 (ru) * 1998-03-27 1999-07-10 Государственный космический научно-производственный центр им.М.В.Хруничева Устройство для открывания и закрывания дренажных окон летательного аппарата (варианты)

Patent Citations (3)

* Cited by examiner, † Cited by third party
Publication number Priority date Publication date Assignee Title
US4848404A (en) * 1987-02-18 1989-07-18 Doyle Hickok Hydraulic valve
RU2039679C1 (ru) * 1992-12-14 1995-07-20 Самарское конструкторское бюро Авиационного научно-технического комплекса им.А.Н.Туполева Устройство для открытия грузовой двери летательного аппарата
RU2132812C1 (ru) * 1998-03-27 1999-07-10 Государственный космический научно-производственный центр им.М.В.Хруничева Устройство для открывания и закрывания дренажных окон летательного аппарата (варианты)

Cited By (1)

* Cited by examiner, † Cited by third party
Publication number Priority date Publication date Assignee Title
RU2480373C1 (ru) * 2011-12-01 2013-04-27 Федеральное государственное унитарное предприятие "Государственный космический научно-производственный центр имени М.В. Хруничева" Устройство для открывания и закрывания окон летательного аппарата

Similar Documents

Publication Publication Date Title
US5502874A (en) Speed regulating valve for fluid filled door closers
US8763638B2 (en) Check valve
RU2005125922A (ru) Ротационный клапан и узел уплотнения
JPH0711218B2 (ja) ドアクローザ及びホルダ
JP6996830B2 (ja) 減圧弁
US4185356A (en) Door closer
US4386446A (en) Door closer
RU2198822C2 (ru) Устройство для открывания и закрывания окон летательного аппарата
JP6006150B2 (ja) ドアクローザ
US20240107212A1 (en) Wearable device and acoustic module waterproof protection mechanism thereof
US4541373A (en) Oil lash adjuster
JP2009270597A (ja) ダンパー装置
US2948915A (en) Hydraulic hold open mechanism for hinged members
CN201747178U (zh) 冻干机箱门铰链预紧装置
CN103697204B (zh) 具有应急关闭功能的排气阀
JP5014049B2 (ja) ダンパー装置
JPS6222686Y2 (ru)
SU1076659A1 (ru) Тормоз гидроцилиндра
JP2002005318A (ja) スイング逆止弁
RU2000119173A (ru) Устройство для открывания и закрывания окон летательного аппарата
JPH0549985U (ja) フロアーヒンジ
KR950010338Y1 (ko) 양 방향 여닫이 문의 유압힌지
KR910004710Y1 (ko) 진공실린더를 이용한 도어크로저(door closer)
RU154989U1 (ru) Привод устройства для регулирования температуры в теплице
SU841770A1 (ru) Пневматический молоток

Legal Events

Date Code Title Description
MM4A The patent is invalid due to non-payment of fees

Effective date: 20180721

NF4A Reinstatement of patent

Effective date: 20200226