RU2189772C2 - Подлокотник со встроенным поворотным столиком - Google Patents
Подлокотник со встроенным поворотным столиком Download PDFInfo
- Publication number
- RU2189772C2 RU2189772C2 RU2000128326/12A RU2000128326A RU2189772C2 RU 2189772 C2 RU2189772 C2 RU 2189772C2 RU 2000128326/12 A RU2000128326/12 A RU 2000128326/12A RU 2000128326 A RU2000128326 A RU 2000128326A RU 2189772 C2 RU2189772 C2 RU 2189772C2
- Authority
- RU
- Russia
- Prior art keywords
- rod
- armrest
- stem
- longitudinal
- guide
- Prior art date
Links
- 230000009466 transformation Effects 0.000 claims abstract description 14
- 238000004519 manufacturing process Methods 0.000 abstract description 3
- 238000010276 construction Methods 0.000 abstract 1
- 239000000126 substance Substances 0.000 abstract 1
- 230000008447 perception Effects 0.000 description 2
- 208000019901 Anxiety disease Diseases 0.000 description 1
- 238000009434 installation Methods 0.000 description 1
Images
Landscapes
- Chair Legs, Seat Parts, And Backrests (AREA)
Abstract
Изобретение относится к мебели и может использоваться в домашних условиях, в офисах, аудиториях, отелях и т.п. Изобретение обеспечивает простоту конструкции подлокотника, упрощение изготовления, удобство и надежность в эксплуатации. Подлокотник со встроенным поворотным столиком содержит каркас с лицевой панелью, закрывающей спереди полость подлокотника и шарнирно закрепленной на основании каркаса, выдвижную столешницу и механизм трансформации. Механизм включает шток Г-образной формы с шарниром на торце поперечного плеча для установки столешницы с возможностью ее поворота в плоскости, перпендикулярной поперечному плечу штока, поводок, закрепленный на продольном плече штока, копир, задающий траекторию движения штока при трансформации столика в рабочее положение и обратно. Столик имеет свободную ориентацию в рабочем положении и приводится в это положение поворотом столешницы вокруг оси шарнира и вместе со штоком - вокруг оси его продольного плеча. 2 з.п. ф-лы, 4 ил.
Description
Изобретение относится к мебели, предназначенной для использования в домашних условиях, в офисах, отелях, кемпингах, в залах заседаний, учебных аудиториях и т.п.
Известен подлокотник со встроенным поворотным столиком, размещенным в полости подлокотника с возможностью трансформации в рабочее положение с помощью механизма трансформации патент США 3632161, кл. А 47 С 7/70, 1972.
Однако известная конструкция довольно сложная в изготовлении, многодетальная и неудобная в использовании.
Известны подлокотники со встроенным столиком по патентам США 5217277, кл. А 47 В 88/02, 1993, 5087096, кл. А 47 В 39/00, 1992, по Европейским патентам ЕР 0084845, кл. А 47 С 7/70, 1983, 0395079, кл. А 47 С 7/70, 1990, в которых шарнирно установленная столешница установлена в полости подлокотника и выдвигается в рабочее положение с помощью механизма трансформации через боковую стенку либо через открытый спереди паз.
Недостатком всех известных конструкций являются ограниченные возможности изменения ориентации столика в рабочем положении, сложность конструкции шарнирных устройств, наличие открытых шарнирных устройств, ухудшающих эстетическое восприятие внешнего вида подлокотника.
Наиболее близким аналогом изобретения является подлокотник со встроенным поворотным столиком, содержащий каркас, размещенные в полости подлокотника выдвижную столешницу и механизм трансформации, включающий шток, установленный в направляющей с возможностью продольного перемещения, на котором шарнирно установлена столешница - авторское свидетельство СССР 1362439, кл. А 47 С 7/70, 1985.
Недостатками известного устройства являются выполнение столешницы из двух шарнирно соединенных частей, ориентирование столика в рабочем положении только в одну сторону сидящего в кресле, необходимость ручного воздействия на стопорные стердства и фиксации при переводе в рабочее положение и обратно, наличие открытого спереди и сверху паза для перемещения столешницы, что ухудшает эстетическое восприятие внешнего вида подлокотника.
Задачей изобретения является обеспечение простоты и надежности конструкции, улучшение внешнего вида, эксплуатационных качеств за счет возможности свободной ориентации столика в рабочем положении и приведения столика в рабочее положение и обратно воздействием только на столешницу.
Указанный технический результат достигается за счет того, что в подлокотнике со встроенным поворотным столиком, содержащем каркас, размещенные в полости подлокотника выдвижную столешницу и механизм трансформации, включающий шток, установленный в направляющей с возможностью продольного перемещения, на котором шарнирно установлена столешница, шток выполнен Г-образным с шарниром на торце поперечного плеча для установки столешницы с возможностью поворота в плоскости, перпендикулярной этому плечу штока, продольное плечо которого установлено в направляющей с возможностью вращения вокруг своей оси, копир, задающий траекторию движения штока при трансформации столика, имеющий горизонтальную и вертикальную плоскости с фигурным пазом, в котором размещен поводок, жестко закрепленный на продольном плече штока, при этом шток связан пружиной с задней стенкой каркаса, а направляющая и копир неподвижно закреплены на верхней части каркаса с максимально возможным удалением вертикальной плоскости копира от продольного плеча штока.
Подлокотник снабжен шарнирно закрепленной на основании каркаса лицевой панелью для закрывания спереди полости подлокотника, удерживаемой в закрытом положении, например, защелкой. Направляющая для штока выполнена в виде П-образной скобы с отверстиями для установки продольного плеча штока.
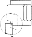
На фиг.1 представлен подлокотник кресла со встроенным столиком, на фиг.2 - то же, вид сверху, на фиг.3 - механизм трансформации столика, на фиг.4 - то же в изометрической проекции.
Подлокотник со встроенным поворотным столиком состоит из каркаса 1, полость которого закрыта спереди лицевой панелью 2, закрепленной шарнирно на основании каркаса, размещенных в полости выдвижной столешницы 3 и механизма трансформации, включающего шток 4 Г-образной формы с шарниром на торце поперечного плеча для установки столешницы с возможностью ее поворота в плоскости, перпендикулярной поперечному плечу, направляющую 5, например, в виде П-образной скобы с отверстиями, в которых размещено продольное плечо штока с возможностью продольного перемещения и вращения вокруг своей оси, и копир 6, имеющий горизонтальную и вертикальную плоскости, параллельные плечам штока, с фигурным пазом 7, в котором размещен поводок 8, жестко закрепленный на продольном плече штока перпендикулярно плоскости, проходящей через плечи штока. Шток 4 связан пружиной 9 с задней стенкой каркаса подлокотника. Направляющая 5 и копир 6 неподвижно закреплены на верхней части каркаса подлокотника с максимально возможным по условиям компоновки удалением вертикальной плоскости копира от продольного плеча штока.
Перевод столика из сложенного в подлокотник положения в рабочее положение производится путем перемещения столешницы в двух плоскостях - в плоскости, параллельной боковой стенке подлокотника, и в плоскости, перпендикулярной ей. Для этого открывают вниз лицевую панель 2 подлокотника, выдвигают столешницу 3 вперед и вверх, поворачивая ее вокруг оси шарнира поперечного плеча штока 4. В положении 3 кромка 10 столешницы упирается в торец верхней части каркаса 1 и при дальнейшем повороте выдвигает вперед шток 4, растягивая пружину 9. При этом поводок 8 перемещается в вертикальной плоскости, параллельной боковой стенке подлокотника, по продольному участку фигурного паза 7 на горизонтальной плоскости копира 6 из крайнего заднего в крайнее переднее положение. Из положения 3 столешница перемещается в горизонтальное положение 3. При этом шток 4 поворачивается в направляющей 5 вокруг оси продольного плеча, а поводок 8 перемещается в вертикальной плоскости, перпендикулярной боковой стенке подлокотника, по поперечным участкам фигурного паза 7 на горизонтальной, а затем вертикальной плоскостях копира 6. При достижении столешницей горизонтального положения поводок 8 заходит в продольный паз на вертикальной плоскости копира, давая возможность штоку 4 под воздействием пружины 9 переместиться назад в продольном направлении, надежно фиксируя столешницу в горизонтальном положении.
После завершения перевода столика в рабочее положение лицевая панель 2 подлокотника может быть закрыта.
В рабочем положении столешница может поворачиваться в горизонтальной плоскости вокруг оси шарнира короткого плеча штока на 360o, занимая любое удобное для сидящего в кресле пользователя положение (фиг.2).
Перевод столика в сложенное положение осуществляется в обратной последовательности.
Подлокотник со встроенным поворотным столиком может применяться как в правом, так и в левом зеркальном исполнении боковой стенки любого предмета мебели для сидения и лежания.
Встроенный столик не портит внешний вид подлокотника, в сложенном положении занимает мало места и полностью скрыт в полости подлокотника.
Механизм трансформации столика прост по конструкции, технологически не сложен в изготовлении, удобен и надежен в эксплуатации.
Claims (3)
1. Подлокотник со встроенным поворотным столиком, содержащий каркас, размещенные в полости подлокотника выдвижную столешницу и механизм трансформации, включающий шток, установленный в направляющей с возможностью продольного перемещения, на котором шарнирно установлена столешница, отличающийся тем, что шток механизма трансформации выполнен Г-образным с шарниром на торце поперечного плеча для установки столешницы с возможностью поворота в плоскости, перпендикулярной этому плечу штока, продольное плечо которого установлено в направляющей с возможностью вращения вокруг своей оси, копир, задающий траекторию движения штока при трансформации столика, имеющий горизонтальную и вертикальную плоскости с фигурным пазом, в котором размещен поводок, жестко закрепленный на продольном плече штока, при этом шток связан пружиной с задней стенкой каркаса, а направляющая и копир неподвижно закреплены на верхней части каркаса с максимально возможным удалением вертикальной плоскости копира от продольного плеча штока.
2. Подлокотник по п. 1, отличающийся тем, что он снабжен шарнирно закрепленной на основании каркаса лицевой панелью для закрывания спереди полости подлокотника, удерживаемой в закрытом положении, например, защелкой.
3. Подлокотник по любому из пп. 1 и 2, отличающийся тем, что направляющая выполнена в виде П-образной скобы с отверстиями для установки продольного плеча штока.
Priority Applications (1)
| Application Number | Priority Date | Filing Date | Title |
|---|---|---|---|
| RU2000128326/12A RU2189772C2 (ru) | 2000-11-15 | 2000-11-15 | Подлокотник со встроенным поворотным столиком |
Applications Claiming Priority (1)
| Application Number | Priority Date | Filing Date | Title |
|---|---|---|---|
| RU2000128326/12A RU2189772C2 (ru) | 2000-11-15 | 2000-11-15 | Подлокотник со встроенным поворотным столиком |
Publications (2)
| Publication Number | Publication Date |
|---|---|
| RU2189772C2 true RU2189772C2 (ru) | 2002-09-27 |
| RU2000128326A RU2000128326A (ru) | 2003-01-20 |
Family
ID=20242028
Family Applications (1)
| Application Number | Title | Priority Date | Filing Date |
|---|---|---|---|
| RU2000128326/12A RU2189772C2 (ru) | 2000-11-15 | 2000-11-15 | Подлокотник со встроенным поворотным столиком |
Country Status (1)
| Country | Link |
|---|---|
| RU (1) | RU2189772C2 (ru) |
Cited By (3)
| Publication number | Priority date | Publication date | Assignee | Title |
|---|---|---|---|---|
| RU2410007C2 (ru) * | 2007-10-23 | 2011-01-27 | Граммер Аг | Сиденье с откидным столом |
| RU171653U1 (ru) * | 2016-12-02 | 2017-06-08 | Давид Ильич Минасянц | Каркас мебельного подлокотника |
| RU201952U1 (ru) * | 2016-10-25 | 2021-01-25 | АЛБИРАЛ ДИСПЛЭЙ СОЛЮШНС, Эс. Эл. | Скрываемый аппарат в сборе |
Citations (5)
| Publication number | Priority date | Publication date | Assignee | Title |
|---|---|---|---|---|
| US3632161A (en) * | 1970-07-13 | 1972-01-04 | Universal Oil Prod Co | Side arm stowable table |
| EP0084845A3 (en) * | 1982-01-21 | 1984-01-18 | Firma Willibald Grammer | Travelling seat |
| SU1362439A1 (ru) * | 1985-07-04 | 1987-12-30 | А. Е. Слюсарь | Выдвижной складной столик |
| EP0395079A1 (en) * | 1989-04-28 | 1990-10-31 | Kabushiki Kaisha Kotobuki | Apparatus for displacing extensible/contractible board for chair in case of emergency |
| US5129702A (en) * | 1990-03-26 | 1992-07-14 | David Ervin | Adjustable fold-away table having furniture attachment bracket |
-
2000
- 2000-11-15 RU RU2000128326/12A patent/RU2189772C2/ru not_active IP Right Cessation
Patent Citations (6)
| Publication number | Priority date | Publication date | Assignee | Title |
|---|---|---|---|---|
| US3632161A (en) * | 1970-07-13 | 1972-01-04 | Universal Oil Prod Co | Side arm stowable table |
| EP0084845A3 (en) * | 1982-01-21 | 1984-01-18 | Firma Willibald Grammer | Travelling seat |
| SU1362439A1 (ru) * | 1985-07-04 | 1987-12-30 | А. Е. Слюсарь | Выдвижной складной столик |
| EP0395079A1 (en) * | 1989-04-28 | 1990-10-31 | Kabushiki Kaisha Kotobuki | Apparatus for displacing extensible/contractible board for chair in case of emergency |
| US5087096A (en) * | 1989-04-28 | 1992-02-11 | Kabushiki Kaisha Kotobuki | Apparatus for displacing extensible/contractible board for chair in case of emergency |
| US5129702A (en) * | 1990-03-26 | 1992-07-14 | David Ervin | Adjustable fold-away table having furniture attachment bracket |
Cited By (3)
| Publication number | Priority date | Publication date | Assignee | Title |
|---|---|---|---|---|
| RU2410007C2 (ru) * | 2007-10-23 | 2011-01-27 | Граммер Аг | Сиденье с откидным столом |
| RU201952U1 (ru) * | 2016-10-25 | 2021-01-25 | АЛБИРАЛ ДИСПЛЭЙ СОЛЮШНС, Эс. Эл. | Скрываемый аппарат в сборе |
| RU171653U1 (ru) * | 2016-12-02 | 2017-06-08 | Давид Ильич Минасянц | Каркас мебельного подлокотника |
Similar Documents
| Publication | Publication Date | Title |
|---|---|---|
| CN105361487B (zh) | 椅子和家具 | |
| CA2680686A1 (en) | Adjustment device for a reclining chair | |
| CN109393818B (zh) | 电动功能沙发 | |
| NO172563B (no) | Bord med bevegelig arbeidsplate | |
| RU2010135415A (ru) | Предмет мебели для сидения и соединительный элемент для этого предмета мебели | |
| US3087757A (en) | Chair | |
| RU2008128181A (ru) | Предмет трансформируемой мебели | |
| RU2189772C2 (ru) | Подлокотник со встроенным поворотным столиком | |
| US2089999A (en) | Collapsible tool cabinet unit | |
| US3140894A (en) | Convertible desk chair | |
| US1448788A (en) | Combined dresser and table | |
| KR101805268B1 (ko) | 책상의 경사각도 조절장치 | |
| US3885844A (en) | Bathroom cabinet, especially for hospitals | |
| CN211155427U (zh) | 可折叠手柄及锅具 | |
| KR200232954Y1 (ko) | 식탁을 구비한 냉장고 | |
| JPH11276271A (ja) | 吊戸棚 | |
| CN219867702U (zh) | 一种便捷调节角度轨道灯 | |
| CN113273858A (zh) | 一种穿衣镜的收纳结构 | |
| CN207905575U (zh) | 一种烤箱开门结构 | |
| KR200495778Y1 (ko) | 양방향으로 개방되는 도어 개방 연동 구조, 전기 조리기 | |
| JPS5938921Y2 (ja) | 劇場用椅子のメモ台 | |
| CN221690749U (zh) | 一种具有可调节卫浴镜的卫浴柜 | |
| JP2010240169A (ja) | ポータブルトイレの蓋部構造 | |
| CN221592963U (zh) | 一种平移式烟机面板开合结构 | |
| CN220909447U (zh) | 家具用反弹器 |
Legal Events
| Date | Code | Title | Description |
|---|---|---|---|
| MM4A | The patent is invalid due to non-payment of fees |
Effective date: 20041116 |