RU2158181C1 - Apparatus for disintegrating large-size polymeric products - Google Patents

Apparatus for disintegrating large-size polymeric products Download PDF

Info

Publication number
RU2158181C1
RU2158181C1 RU99105241A RU99105241A RU2158181C1 RU 2158181 C1 RU2158181 C1 RU 2158181C1 RU 99105241 A RU99105241 A RU 99105241A RU 99105241 A RU99105241 A RU 99105241A RU 2158181 C1 RU2158181 C1 RU 2158181C1
Authority
RU
Russia
Prior art keywords
shaft
shafts
central
cutting
peripheral
Prior art date
Application number
RU99105241A
Other languages
Russian (ru)
Inventor
А.Н. Свешников
П.В. Анисимов
А.В. Михайлов
Original Assignee
Свешников Алексей Николаевич
Анисимов Павел Вячеславович
Михайлов Алексей Викторович
Общество с ограниченной ответственностью "Техно-Спектр"
Priority date (The priority date is an assumption and is not a legal conclusion. Google has not performed a legal analysis and makes no representation as to the accuracy of the date listed.)
Filing date
Publication date
Application filed by Свешников Алексей Николаевич, Анисимов Павел Вячеславович, Михайлов Алексей Викторович, Общество с ограниченной ответственностью "Техно-Спектр" filed Critical Свешников Алексей Николаевич
Priority to RU99105241A priority Critical patent/RU2158181C1/en
Application granted granted Critical
Publication of RU2158181C1 publication Critical patent/RU2158181C1/en

Links

Images

Classifications

    • YGENERAL TAGGING OF NEW TECHNOLOGICAL DEVELOPMENTS; GENERAL TAGGING OF CROSS-SECTIONAL TECHNOLOGIES SPANNING OVER SEVERAL SECTIONS OF THE IPC; TECHNICAL SUBJECTS COVERED BY FORMER USPC CROSS-REFERENCE ART COLLECTIONS [XRACs] AND DIGESTS
    • Y02TECHNOLOGIES OR APPLICATIONS FOR MITIGATION OR ADAPTATION AGAINST CLIMATE CHANGE
    • Y02WCLIMATE CHANGE MITIGATION TECHNOLOGIES RELATED TO WASTEWATER TREATMENT OR WASTE MANAGEMENT
    • Y02W30/00Technologies for solid waste management
    • Y02W30/50Reuse, recycling or recovery technologies
    • Y02W30/62Plastics recycling; Rubber recycling

Landscapes

  • Crushing And Pulverization Processes (AREA)

Abstract

FIELD: equipment for coarse disintegration of polymeric materials. SUBSTANCE: apparatus includes central and peripheral shafts with cutting discs mounted in housing. There are spacing sleeves between shafts. Apparatus also includes calibrating grate. Central shafts are mounted with possibility of rotation one towards another. Peripheral shafts are mounted higher than central ones in parallel with them. Cutting discs of each shaft are arranged between cutting discs of adjacent shaft. Each central shaft is kinematically joined with adjacent peripheral shaft by means of gearing. Ratio of diameter of spacing sleeve of central shaft to width of cutting member of disc is selected according to relation: 0.4KZ <D/l<0.64KZ, where K - gear ratio, Z- quantity of cutting members of disc of peripheral shaft, D - diameter of spacing sleeve of central shaft, l- width of cutting member. EFFECT: simplified design of apparatus, reduced disintegration cycle. 2 dwg

Description

Заявляемое изобретение относится к оборудованию для грубого измельчения полимерных материалов и может быть использовано в химической, деревообрабатывающей и других отраслях промышленности. The claimed invention relates to equipment for coarse grinding of polymeric materials and can be used in chemical, woodworking and other industries.

Аналогом предлагаемого технического решения является устройство для измельчения автомобильных покрышек, состоящее из смонтированных в корпусе с возможностью встречного вращения валов с дисковыми ножами и проставочными кольцами и осей с наборами зубчатых дисков, причем оси расположены под валами и кинематически связаны с ними цепной передачей. Режущие элементы зубчатых дисков размещены в промежутках между дисковыми ножами (патент США N 3931935, н.кл. 241-24, 1976). An analogue of the proposed technical solution is a device for grinding automobile tires, consisting of shafts mounted in a housing with the possibility of counter-rotation of shafts with circular knives and spacer rings and axles with sets of gear disks, the axles being located under the shafts and kinematically connected to them by a chain drive. The cutting elements of the gear discs are located in the spaces between the circular knives (US Pat. No. 3,931,935, n.c. 241-24, 1976).

Существенные признаки аналога "корпус", "валы с дисковыми ножами", "оси с наборами зубчатых дисков", "кинематическая связь вала с примыкающей к нему осью", "размещение режущих элементов зубчатых дисков в промежутках между дисковыми ножами" совпадают с существенными признаками заявляемого изобретения. The essential features of the analogue “body”, “shafts with circular knives”, “axes with sets of gear discs”, “kinematic connection of the shaft with an adjacent axis”, “placement of cutting elements of gear discs in the spaces between the circular knives” coincide with the essential features of the claimed inventions.

Однако это устройство недостаточно эффективно измельчает материал из-за расположения осей с наборами зубчатых дисков под валами с дисковыми ножами. However, this device does not effectively crush the material due to the location of the axes with sets of gear discs under the shafts with circular knives.

Другим аналогом заявляемого изобретения служит измельчитель древесины, включающий корпус, основные режущие вальцы, расположенные выше и параллельно им дополнительные вальцы, выступающие режущие элементы которых входят во впадины дисков основных режущих вальцов, цепную передачу между основным и дополнительным вальцами, калибровочные обечайки с отверстиями. Режущие элементы на каждом вальце расположены по сходящейся к середине вальца спирали по направлению его вращения (а.с. СССР N 1792368, м.кл. B 27 L 11/00, 1993). Another analogue of the claimed invention is a wood shredder, comprising a housing, main cutting rollers located above and parallel to them additional rollers, protruding cutting elements of which enter the hollows of the disks of the main cutting rollers, a chain transmission between the main and additional rollers, calibration shells with holes. The cutting elements on each roller are arranged along a spiral converging toward the middle of the roller in the direction of its rotation (USSR AS N 1792368, microliter B 27 L 11/00, 1993).

Существенные признаки аналога "корпус", "основные и дополнительные режущие вальцы", "их расположение", "расположение режущих элементов во впадинах дисков соседнего вальца", "кинематическая связь основного и дополнительного вальцов" и "наличие калибровочных обечаек" совпадают с существенными признаками предлагаемого устройства. The essential features of the analogue "body", "primary and secondary cutting rollers", "their location", "the location of the cutting elements in the hollows of the disks of the adjacent roller", "kinematic connection of the primary and secondary rollers" and "the presence of calibration shells" coincide with the essential features of the proposed devices.

Измельчитель создает условия самозатягивания кусков древесины в режущие вальцы и дате возможность получить материал с длиной частиц, соответствующей размеру отверстий обечаек, но имеет при этом недостаточную производительность. The chopper creates the conditions for self-tightening pieces of wood into the cutting rollers and the date the ability to obtain material with a particle length corresponding to the size of the holes of the shells, but it has insufficient productivity.

Наиболее близкий аналог заявляемого изобретения по решаемой задаче и достигаемому техническому результату - устройство для измельчения крупногабаритных резиновых отходов, содержащее установленные в корпусе с возможностью встречного вращения центральные валы с режущими дисками и смонтированные выше и параллельно им периферийные валы с режущими дисками. Кинематически центральные и периферийные валы не связаны между собой, а направление вращения при этом для пары левых и пары правых валов совпадают. Между дисками расположены распорные втулки, а режущие элементы дисков каждого вала размещены в промежутках между дисками соседнего вала. Под центральными валами имеется колосниковая решетка; над периферийными роторами касательно к ним закреплены горизонтальные пластины для сбора недоизмельченных отходов (а.с. СССР N 1348190, м.кл. B 29 B 17/00, 1987). The closest analogue of the claimed invention for the problem to be achieved and the technical result achieved is a device for grinding large-sized rubber waste containing central shafts with cutting disks mounted in the housing with the possibility of counter rotation and mounted peripheral shafts with cutting disks mounted above and parallel to them. Kinematically, the central and peripheral shafts are not interconnected, and the direction of rotation is the same for a pair of left and a pair of right shafts. Between the disks are spacer sleeves, and the cutting elements of the disks of each shaft are placed in the spaces between the disks of the adjacent shaft. Under the central shafts there is a grate; above the peripheral rotors, horizontal plates are fixed to them for collecting unrefined waste (AS USSR N 1348190, mcl B 29 B 17/00, 1987).

Существенные признаки наиболее близкого аналога "установленные в корпусе с возможностью встречного вращения валы", их расположение, выполнение, размещение режущих элементов дисков валов, "калибрующая решетка" совпадает с существенными признаками заявляемого изобретения. The essential features of the closest analogue "installed in the housing with the possibility of counter-rotation of the shafts", their location, execution, placement of the cutting elements of the drives of the shafts, the "calibrating grate" coincides with the essential features of the claimed invention.

Это устройство имеет недостаточную производительность. This device has poor performance.

Задачей, на решение которой направлено заявляемое изобретение, является повышение производительности устройства за счет сокращения продолжительности процесса измельчения материала. Другой вид технического результата, получение которого может обеспечить заявляемое изобретение по сравнению с прототипом, заключается в упрощение конструкции устройства. The problem to which the invention is directed, is to increase the productivity of the device by reducing the duration of the process of grinding material. Another type of technical result, the receipt of which can provide the claimed invention in comparison with the prototype, is to simplify the design of the device.

Для достижения указанного технического результата устройство для измельчения крупногабаритных полимерных материалов содержит установленные в корпусе центральные и периферийные валы с режущими дисками, чередующимися с распорными втулками, и калибрующую решетку, при этом центральные валы установлены с возможностью встречного вращения, периферийные валы смонтированы выше центральных валов и параллельно им, а режущие элементы дисков каждого вала размещены в промежутках между дисками соседнего вала, причем центральный вал кинематически связан с примыкающим к нему периферийным валом посредством зубчатой передачи, а отношение диаметра распорной втулки центрального вала к ширине режущего элемента выбрано из соотношения

Figure 00000002

где K - передаточное число зубчатой передачи;
Z - число режущих элементов диска периферийного вала;
D - диаметр распорной втулки центрального вала;
l - ширина режущего элемента.To achieve the technical result, the device for grinding large polymer materials contains central and peripheral shafts installed in the housing with cutting disks alternating with spacer sleeves, and a calibrating grate, while the central shafts are installed with the possibility of counter rotation, the peripheral shafts are mounted above the central shafts and parallel him, and the cutting elements of the disks of each shaft are located in the gaps between the disks of the adjacent shaft, and the central shaft is kinematic and connected with the adjoining peripheral shaft via a gear train, and the ratio of the diameter of the spacer to the central shaft of the cutting element width ratio is selected from
Figure 00000002

where K is the gear ratio;
Z is the number of cutting elements of the peripheral shaft disk;
D is the diameter of the spacer sleeve of the Central shaft;
l is the width of the cutting element.

Существенные отличительные от прототипа признаки предлагаемого устройства - "центральный вал кинематически связан с примыкающим к нему периферийным валом посредством зубчатой передачи" и "отношение диаметра распорной втулки центрального вала к ширине режущего элемента выбрано из соотношения

Figure 00000003

где K - передаточное число зубчатой передачи;
Z - число режущих элементов диска периферийного вала;
D - диаметр распорной втулки центрального вала;
l - ширина режущего элемента"
Изобретение иллюстрируется чертежами, где на фиг. 1 схематично представлено устройство для измельчения крупногабаритных полимерных материалов, поперечный разрез; на фиг. 2 - схема установки режущих дисков на валах с механизмом привода.Significant distinguishing features of the prototype of the proposed device are “the central shaft is kinematically connected to the peripheral shaft adjacent to it by means of a gear transmission” and “the ratio of the diameter of the spacer sleeve of the central shaft to the width of the cutting element is selected from the ratio
Figure 00000003

where K is the gear ratio;
Z is the number of cutting elements of the peripheral shaft disk;
D is the diameter of the spacer sleeve of the Central shaft;
l is the width of the cutting element "
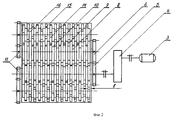
The invention is illustrated by drawings, where in FIG. 1 schematically shows a device for grinding large polymer materials, a cross section; in FIG. 2 is a diagram of the installation of cutting discs on shafts with a drive mechanism.

Устройство для измельчения крупногабаритных полимерных материалов содержит установленные в корпусе 1 центральные валы 2, расположенные параллельно друг другу и с возможностью встречного вращения от привода 3 через редуктор 4 и шестерни 5 и 6. На валах 2 закреплены при помощи шпонок 7 режущие диски 8 с режущими элементами 9. Между дисками 8 на валы 2 посажены распорные втулки 10. The device for grinding large polymer materials contains central shafts 2 installed in the housing 1, parallel to each other and with the possibility of counter rotation from the drive 3 through a gearbox 4 and gears 5 and 6. On the shafts 2, cutting disks 8 with cutting elements are fixed using keys dowels 7 9. Between the disks 8 on the shafts 2 are set spacers 10.

Со стороны подачи материала на измельчение параллельно валам 2 установлены с возможностью вращения от них посредством зубчатых передач 11 периферийные валы 12, на которых при помощи шпонок 13 закреплены режущие диски 14 с режущими элементами 15. Между дисками 14 на валы 12 посажены распорные втулки 16. On the supply side of the material for grinding, parallel to the shafts 2, peripheral shafts 12 are mounted for rotation from them by means of gears 11, on which cutting disks 14 with cutting elements 15 are mounted using keys 13. Spacer sleeves 16 are mounted on the shafts 12 between the disks 14.

Режущие диски 8 и 14 соответственно валов 2 и 12 входят в промежутки между режущими дисками 8 и 14 соседнего вала. Режущие диски 8 и 4 размещены на валах 2 и 12 со сдвигом режущих элементов 9 и 15 относительно соседних дисков. The cutting discs 8 and 14 of the shafts 2 and 12, respectively, are included in the gaps between the cutting discs 8 and 14 of the adjacent shaft. The cutting discs 8 and 4 are placed on the shafts 2 and 12 with a shift of the cutting elements 9 and 15 relative to adjacent disks.

Отношение диаметра D распорной втулки 10 центрального вала 2 к ширине l режущих элементов 9 и 15 соответственно дисков 8 и 14 выбрано в пределах от 0,4 до 0,64 произведения передаточного числа K зубчатой передачи 11 на число Z режущих элементов 15 диска 14 периферийного вала 12. The ratio of the diameter D of the spacer sleeve 10 of the central shaft 2 to the width l of the cutting elements 9 and 15 of the disks 8 and 14, respectively, is selected in the range from 0.4 to 0.64 of the product of the gear ratio K of the gear 11 by the number Z of the cutting elements 15 of the disk 14 of the peripheral shaft 12.

В зоне выхода измельченного материала в корпусе 1 установлена калибрующая решетка 17 с отверстиями, расположенными в шахматном порядке. In the exit zone of the crushed material in the housing 1 there is a calibrating grating 17 with holes staggered.

Устройство работает следующим образом. The device operates as follows.

Подлежащий измельчению материал подают на режущие диски 8 центральных валов 2. Проходя между режущими элементами 9 материал разрезается на куски, которые сжимаются и выдавливаются между дисками 8. Застрявшие между дисками 8 куски разрезаются режущими элементами 15 периферийных валов 12, перемещаются между дисками 8 и 14 в зону загрузки и подвергаются повторному измельчению. Мелкие куски измельченного материала просыпаются через отверстия калибрующей решетки 17 в приемный бункер готового продукта (не показан). Куски материала, не застрявшие между дисками 8, захватываются режущими элементами 9 и перемещаются к дискам 14 периферийных валов 12, которые подают их на повторное измельчение. The material to be crushed is fed to the cutting disks 8 of the central shafts 2. Passing between the cutting elements 9, the material is cut into pieces that are compressed and squeezed between the disks 8. The pieces stuck between the disks 8 are cut by the cutting elements 15 of the peripheral shafts 12 and are moved between the disks 8 and 14 into loading area and are subjected to repeated grinding. Small pieces of crushed material are woken through the openings of the calibrating grate 17 into the receiving hopper of the finished product (not shown). Pieces of material that are not stuck between the disks 8 are captured by the cutting elements 9 and moved to the disks 14 of the peripheral shafts 12, which feed them for re-grinding.

Благодаря выбранному отношению диаметра распорной втулки 10 центрального вала 2 к ширине режущих элементов 9 и 15 достигается высокая производительность измельчения, при выходе отношения из указанных пределов производительность заявляемого устройства резко падает (в два раза). Due to the selected ratio of the diameter of the spacer sleeve 10 of the central shaft 2 to the width of the cutting elements 9 and 15, high grinding performance is achieved, when the ratio leaves the specified limits, the productivity of the inventive device drops sharply (twice).

Claims (1)

Устройство для измельчения крупногабаритных полимерных материалов, содержащее установленные в корпусе центральные и периферийные валы с режущими дисками, между которыми расположены распорные втулки, и калибрующую решетку, при этом центральные валы установлены с возможностью встречного вращения, периферийные валы смонтированы выше центральных валов и параллельно им, а режущие диски каждого вала размещены в промежутках между режущими дисками соседнего вала, отличающееся тем, что каждый центральный вал кинематически связан с соседним периферийным валом посредством зубчатой передачи, а отношение диаметра распорной втулки центрального вала к ширине режущего элемента диска выбрано из соотношения
Figure 00000004

где K - передаточное число зубчатой передачи;
Z - число режущих элементов диска периферийного вала;
D - диаметр распорной втулки центрального вала;
l - ширина режущего элемента.
A device for grinding large polymeric materials, containing central and peripheral shafts installed in the housing with cutting discs between which spacer sleeves are located, and a calibrating grate, while the central shafts are mounted for counter rotation, the peripheral shafts are mounted above and parallel to the central shafts, and the cutting discs of each shaft are located in the spaces between the cutting discs of the adjacent shaft, characterized in that each central shaft is kinematically connected to the adjacent peripheral shaft by means of a gear transmission, and the ratio of the diameter of the spacer sleeve of the Central shaft to the width of the cutting element of the disk is selected from the ratio
Figure 00000004

where K is the gear ratio;
Z is the number of cutting elements of the peripheral shaft disk;
D is the diameter of the spacer sleeve of the Central shaft;
l is the width of the cutting element.
RU99105241A 1999-03-16 1999-03-16 Apparatus for disintegrating large-size polymeric products RU2158181C1 (en)

Priority Applications (1)

Application Number Priority Date Filing Date Title
RU99105241A RU2158181C1 (en) 1999-03-16 1999-03-16 Apparatus for disintegrating large-size polymeric products

Applications Claiming Priority (1)

Application Number Priority Date Filing Date Title
RU99105241A RU2158181C1 (en) 1999-03-16 1999-03-16 Apparatus for disintegrating large-size polymeric products

Publications (1)

Publication Number Publication Date
RU2158181C1 true RU2158181C1 (en) 2000-10-27

Family

ID=20217187

Family Applications (1)

Application Number Title Priority Date Filing Date
RU99105241A RU2158181C1 (en) 1999-03-16 1999-03-16 Apparatus for disintegrating large-size polymeric products

Country Status (1)

Country Link
RU (1) RU2158181C1 (en)

Cited By (3)

* Cited by examiner, † Cited by third party
Publication number Priority date Publication date Assignee Title
RU2217307C1 (en) * 2002-04-10 2003-11-27 Таганрогский государственный радиотехнический университет Device for milling of waste of fibrous materials
RU2233200C1 (en) * 2003-01-09 2004-07-27 Открытое акционерное общество "ЦНИИподземмаш" Device for cutting and disintegrating exhausted vessels
CN108789957A (en) * 2018-07-04 2018-11-13 胡兴旺 A kind of plastic products reclaimer

Citations (7)

* Cited by examiner, † Cited by third party
Publication number Priority date Publication date Assignee Title
GB1412706A (en) * 1973-12-04 1975-11-05 Tire Gator Tyre shredding device
GB2123710A (en) * 1982-06-25 1984-02-08 Shoji Nakagomi Crushing apparatus
SU1348190A1 (en) * 1986-02-12 1987-10-30 Всесоюзный Научно-Исследовательский Институт Резинотехнического Машиностроения Apparatus for grinding large-size rubber waste
DE3723928A1 (en) * 1987-05-16 1988-11-24 Poettinger Alois Landmasch CUTTER ROLLER REDUCERS
US5074479A (en) * 1990-03-20 1991-12-24 Clyde Lamar Rubber tire shredder
RU2036097C1 (en) * 1992-12-25 1995-05-27 Балашов Михаил Михайлович Plastic material reprocessing apparatus
RU2053852C1 (en) * 1993-04-14 1996-02-10 Кудрявцев Леонид Алексеевич Device for comminution of rubber/fabric/metalcord wastes

Patent Citations (7)

* Cited by examiner, † Cited by third party
Publication number Priority date Publication date Assignee Title
GB1412706A (en) * 1973-12-04 1975-11-05 Tire Gator Tyre shredding device
GB2123710A (en) * 1982-06-25 1984-02-08 Shoji Nakagomi Crushing apparatus
SU1348190A1 (en) * 1986-02-12 1987-10-30 Всесоюзный Научно-Исследовательский Институт Резинотехнического Машиностроения Apparatus for grinding large-size rubber waste
DE3723928A1 (en) * 1987-05-16 1988-11-24 Poettinger Alois Landmasch CUTTER ROLLER REDUCERS
US5074479A (en) * 1990-03-20 1991-12-24 Clyde Lamar Rubber tire shredder
RU2036097C1 (en) * 1992-12-25 1995-05-27 Балашов Михаил Михайлович Plastic material reprocessing apparatus
RU2053852C1 (en) * 1993-04-14 1996-02-10 Кудрявцев Леонид Алексеевич Device for comminution of rubber/fabric/metalcord wastes

Cited By (3)

* Cited by examiner, † Cited by third party
Publication number Priority date Publication date Assignee Title
RU2217307C1 (en) * 2002-04-10 2003-11-27 Таганрогский государственный радиотехнический университет Device for milling of waste of fibrous materials
RU2233200C1 (en) * 2003-01-09 2004-07-27 Открытое акционерное общество "ЦНИИподземмаш" Device for cutting and disintegrating exhausted vessels
CN108789957A (en) * 2018-07-04 2018-11-13 胡兴旺 A kind of plastic products reclaimer

Similar Documents

Publication Publication Date Title
EP0643627B1 (en) Device for plasticising thermoplastic material
US4052013A (en) Apparatus for shredding rubber tires and other scrap materials
US5411216A (en) Tire shredder and process for shredding tires
CA1119574A (en) Comminuting unit
EP1301281B1 (en) Comminution of granulated material
US6695240B2 (en) Shredding apparatus
RU2053852C1 (en) Device for comminution of rubber/fabric/metalcord wastes
RU2158181C1 (en) Apparatus for disintegrating large-size polymeric products
US20060049291A1 (en) Blade system for a shredding apparatus
CN201684627U (en) Chip and its circuit board shredder
KR101530509B1 (en) Crushing apparatus of used vinyl
DE102007028399B4 (en) Apparatus for producing combustible pellets from renewable raw materials
US3726208A (en) Comminuting method and apparatus
CN119406487A (en) A crushing device and method for secondary utilization of dog chew waste
EP0998980A1 (en) Motor driven parallel-shaft disintegrator
RU12996U1 (en) DEVICE FOR GRINDING LARGE-SIZED POLYMERIC MATERIALS
SU1348190A1 (en) Apparatus for grinding large-size rubber waste
SU939069A1 (en) Apparatus for crushing soft and mean-hardness loose materials
CN116889919B (en) Cement kiln solid waste treatment device and application method thereof
RU2149057C1 (en) Disintegrator
DE9415955U1 (en) Shredding device
CA1172227A (en) Apparatus and method for comminuting solid materials
DE202014007067U1 (en) Device for crushing logs, rinds, splinters or other bulk materials to dry and agglomerate grain size
CN214487284U (en) Self-adaptive traditional Chinese medicine tuber grinding device
CN109126635A (en) A kind of granulator