RU2014503C1 - Ротационный компрессор - Google Patents
Ротационный компрессор Download PDFInfo
- Publication number
- RU2014503C1 RU2014503C1 SU4904957A RU2014503C1 RU 2014503 C1 RU2014503 C1 RU 2014503C1 SU 4904957 A SU4904957 A SU 4904957A RU 2014503 C1 RU2014503 C1 RU 2014503C1
- Authority
- RU
- Russia
- Prior art keywords
- chamber
- suction
- discharge
- blades
- windows
- Prior art date
Links
- 239000002131 composite material Substances 0.000 claims description 2
- 230000006835 compression Effects 0.000 abstract description 3
- 238000007906 compression Methods 0.000 abstract description 3
- 230000000694 effects Effects 0.000 abstract description 2
- 239000000126 substance Substances 0.000 abstract 1
- 238000000034 method Methods 0.000 description 2
- 239000010754 BS 2869 Class F Substances 0.000 description 1
- 238000010835 comparative analysis Methods 0.000 description 1
Images
Landscapes
- Applications Or Details Of Rotary Compressors (AREA)
Abstract
Использование: для сжатия и перемещения газа. Сущность изобретения: на двух концентричных валах установлены лопасти, размещенные в корпусе с окнами всасывания и нагнетания с образованием рабочих камер. Газораспределительный кожух закреплен на лопастях. Механизм привода валов размещен в камере синхронизации. Кожух выполнен составным из торцовых и цилиндрических элементов, попарно закрепленных на каждой лопасти. Каждый элемент закреплен на двух лопастях. Окна попарно расположены на цилиндрической и торцовых поверхностях рабочей камеры. Два окна всасывания первой ступени сообщены с камерой всасывания. Два окна нагнетания первой ступени сообщены с окном всасывания второй ступени. Окно нагнетания второй ступени сообщено с камерой нагнетания. 2 з.п. ф-лы, 3 ил.
Description
Изобретение относится к компрессоростроению и предназначено для сжатия и перемещения газа из области низкого давления в область высокого давления.
Известна конструкция ротационного компрессора, содержащего корпус с цилиндрической рабочей камерой и устройствами газораспределения, камерой синхронизации, концентричные валы, на каждом из которых установлено по одной лопасти, образующих в рабочей камере две торообразные рабочие ячейки переменного объема, и механизм привода валов (Патент США N 2673027, Н.кл. 418-38, 1954).
Недостатком такого компрессора является неуравновешенность лопастей и низкий коэффициент использования объема рабочей камеры, значительную часть которого занимают лопасти.
Наиболее близкой является конструкция ротационного компрессора, содержащего корпус с рабочей камерой и камерой синхронизации, камерами всасывания и нагнетания, несколькими окнами всасывания и нагнетания, размещенные в корпусе концентричные валы, на каждом из которых установлены несколько лопастей, образующих в рабочей камере несколько рабочих ячеек переменного объема и механизм привода валов; при этом на лопастях одного из валов закреплен кожух, в котором выполнены газораспределительные отверстия так, что каждое из этих отверстий постоянно сообщается с одной из рабочих ячеек и попеременно сообщается с одним из окон всасывания и с одним из окон нагнетания (Патент США N 4169697, кл. F 01 C 1/42, Н. кл. 418/34, 1979).
В таком компрессоре полностью уравновешены лопасти, закрепленные на валах, и существенно лучше используется объем рабочей камеры при одном и том же максимальном угле раствора рабочих ячеек. Это выгодно отличает конструкцию прототипа от конструкции описанного выше аналога. Однако существенным недостатком такого компрессора является неудачная конструкция газораспределительных отверстий: во-первых, их малое проходное сечение обусловливает повышенные гидравлические потери в процессах всасывания и нагнетания, что снижает экономичность работы компрессора; во-вторых, объем этих отверстий, равный произведению площади их проходного сечения на толщину кожуха, является дополнительным мертвым объемом рабочих ячеек и приводит к снижению производительности компрессора (см., например, Пластинин П.И. Теория и расчет поршневых компрессоров. - М., 1987, с. 42-46).
Целью изобретения является повышение экономичности и производительности.
Поставленная цель достигается тем, что ротационный компрессор содержит корпус с рабочей камерой, камерами всасывания и нагнетания, камерой синхронизации, окнами всасывания, окнами нагнетания, двумя концентричными валами, на каждом из которых установлены лопасти, размещенные в рабочей камере, и механизм привода валов, размещенный в камере синхронизации, причем на лопастях закреплен газораспределительный кожух, при этом окна всасывания и нагнетания расположены попарно на цилиндрической и на каждой торцевой поверхностях рабочей камеры, а газораспределительный кожух выполнен составным из торцевых и цилиндрических элементов так, что на каждом валу установлены по два торцевых и одному цилиндрическому элементу, причем на каждой лопасти закреплено по два элемента, и каждый элемент закреплен на двух лопастях.
В ротационном компрессоре все окна всасывания сообщены с одной камерой всасывания, а все окна нагнетания сообщены с одной камерой нагнетания.
В ротационном компрессоре два окна всасывания сообщены с одной камерой всасывания, два окна нагнетания сообщены с третьим окном всасывания, а третье окно нагнетания сообщено с камерой нагнетания компрессора.
Сопоставительный анализ с прототипом позволяет сделать вывод, что заявляемое техническое решение содержит ряд конструктивных признаков, связанных с устройством газораспределительного кожуха и размещением окон всасывания и нагнетания в рабочей камере, которых нет в прототипе. Это позволяет сделать вывод о том, что заявляемое техническое решение соответствует критерию "новизна".
Анализ существующей патентной и научно-технической литературы показал, что предлагаемая совокупность заявляемых конструктивных признаков для достижения поставленной цели в настоящее время не известна, что позволяет считать существенными признаки отраженные в формуле изобретения.
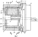
На фиг. 1 схематично показана конструкция заявляемого компрессора; на фиг. 2 - разрез А-А на фиг. 1; на фиг. 3 - разрез Б-Б на фиг. 1.
Ротационный компрессор (фиг. 1, 2, 3) содержит корпус 1 с рабочей камерой 2, камерами всасывания 3, 4, 5 и нагнетания 6, 7, 8, камерой синхронизации 9, окнами всасывания 10, 11, 12, окнами нагнетания 13, 14, 15, двумя концентричными валами 16, 17. На валу 17 установлены лопасти 18, 19, 20, на валу 16 - лопасти 21, 22, 23.
На валу 16 установлена часть газораспределительного кожуха, состоящая из элементов 24, 25, 26, так, что цилиндрический элемент 24 закреплен на лопастях 22 и 23, торцовый элемент 25 - на лопастях 21 и 23, торцовый элемент 26 - на лопастях 21 и 22. На валу 17 установлена часть газораспределительного кожуха, состоящая из элементов 27, 28, 29, так, что торцовый элемент 27 установлен на лопастях 20 и 19, торцовый элемент 29 - на лопастях 18 и 20, цилиндрический элемент 28 - на лопастях 18 и 19.
При этом окна 12 и 15 размещены на цилиндрической стенке рабочей камеры 2, окна 11 и 14 - на одной из торцовых стенок этой камеры, а окна 10 и 13 - на другой торцовой стенке камеры 2. Угловой сдвиг между одноименными точками контура окон всасывания 10, 11, 12 составляет 120о; угловой сдвиг между одноименными точками контура окон нагнетания 13, 14, 15 также составляет 120о.
Вариант конструкции предполагает, что камеры всасывания 3, 4, 5 объединены в одну камеру всасывания, с которой сообщены окна 10, 11, 12. И камеры нагнетания 6, 7, 8 объединены в одну камеру нагнетания, с которой сообщены окна 13, 14, 15.
Вариант конструкции предполагает, что камеры всасывания 3, 4 объединены в одну камеру всасывания, с которой сообщены окна 10, 11; камеры 6, 7 соединены с камерой 5 так, что окна нагнетания 13, 14 через камеры 6, 7, 5 сообщены с окном всасывания 12; а окно нагнетания 15 сообщено с камерой нагнетания 8.
Ротационный компрессор работает следующим образом.
При вращении приводного вала крутящий момент через механизм синхронизации (условно не показан), размещенный в камере 9, передается на валы 16, 17 и лопасти 18, 19, 20 и 21, 22, 23 с закрепленными на них элементами кожуха 24, 25, 26 и 27, 28, 29. При этом лопасти 18, 19, 20 вращаются в камере 2 с одной переменной угловой скоростью, а лопасти 21, 22, 23 - с другой переменной угловой скоростью, так, что образованные между этими лопастями рабочие ячейки периодически изменяют свой объем от минимальной величины до максимальной и наоборот. Причем при вращении валов и лопастей каждая рабочая ячейка переменного объема взаимодействует поочередно только с одним окном всасывания и одним окном нагнетания. Например, рабочая ячейка, расположенная между лопастями 18 и 23, взаимодействует только с окнами 12 и 15: при увеличении объема - с окном всасывания 12, при уменьшении - с окном нагнетания 15. От окон 11 и 14 эта ячейка постоянно отделена торцовым элементом 25, а от окон 10 и 13 - торцовым элементом 29. При этом в этой ячейке осуществляется цикл компремирования рабочего газа, сопровождающийся всасыванием газа из камеры 5 через окно 12 и выталкиванием газа в камеру 8 через окно 15.
Аналогично протекает рабочий процесс и в остальных пяти рабочих ячейках: с окнами 12 и 15 взаимодействует также ячейка, расположенная между лопастями 19 и 22; с окнами 11 и 14 взаимодействуют ячейки, расположенные между лопастями 19 и 21, а также 20 и 23; с окнами 10 и 13 взаимодействуют ячейки, расположенные между лопастями 20 и 22, а также 18 и 21.
Работа компрессора при этом сопровождается минимальными гидравлическими потерями в окнах всасывания и нагнетания, так как площади проходного сечения последних не ограничены конструкцией кожуха (как в прототипе), а могут занимать максимальную площадь соответствующей поверхности рабочей камеры 2: ширина окон 12 и 15 определяется шириной рабочей камеры 2, измеренной вдоль оси валов 16 и 17; ширина окон 10, 11, 13, 14 определяется разницей величин радиусов цилиндрической поверхности камеры 2 и ступиц валов 16 и 17. Снижение гидравлических потерь в окнах газораспределения ведет к снижению индикаторной мощности и, следовательно, к повышению экономичности компрессора в целом.
Мертвый объем в заявляемом компрессоре полностью определяется минимальным расстоянием между соседними взаимодействующими лопастями. Предлагаемая конструкция газораспределительного кожуха, при которой кромки его элементов 24, 25, 26 и 27, 28, 29 выставлены "заподлицо" с соответствующими поверхностями лопастей, на которых они закреплены, исключают наличие дополнительных мертвых объемов в камере 2. Это позволяет, по сравнению с прототипом, снизить объемные потери, то есть повысить производительность компрессора. В том случае, когда камеры 3, 4, 5 объединены в одну камеру всасывания, а камеры 6, 7, 8 - в одну камеру нагнетания, все шесть рабочих ячеек работают как одна ступень компрессора. При этом давление газа в них повышается от давления всасывания до давления нагнетания.
В том случае, когда камеры 3, 4 объединены в одну камеру всасывания, камеры 5, 6, 7 объединены в одну промежуточную камеру, и камера 8 является камерой нагнетания компрессора, четыре рабочие ячейки работают как первая ступень компрессора (это ячейки лопастями 20 и 22, 18 и 21, 19 и 21, 20 и 23), а две ячейки работают как вторая ступень (это ячейки между лопастями 19 и 22, 18 и 23). То есть газ после сжатия в ячейках первой ступени до некоторого промежуточного давления через камеры 5, 6, 7 и окна 12, 13, 14 подается в ячейки второй ступени, где сжимается до конечного давления и подается в камеру нагнетания 8.
Таким образом, предлагаемое устройство позволяет обеспечить повышение экономичности и производительности за счет конструкции газораспределительного кожуха и соответствующего размещения окон газораспределения в рабочей камере. По сравнению с прототипом (Патент США N 4169697, кл. F 01 C 1/42, 1979), экономичность компрессора может быть повышена на 2-3%, а его производительность - до 5% в зависимости от толщины элементов кожуха и соотношения величин давлений всасывания и нагнетания. Экономический эффект от использования заявляемого изобретения привести не можем ввиду отсутствия необходимых данных.
Claims (3)
1. РОТАЦИОННЫЙ КОМПРЕССОР, содержащий корпус с окнами всасывания и нагнетания, два концентричных вала с установленными на них лопастями, размещенными в корпусе с образованием рабочих камер, газораспределительный кожух, закрепленный на лопастях, и механизм привода валов, размещенный в камере синхронизации, отличающийся тем, что, с целью повышения экономичности и производительности, газораспределительный кожух выполнен составным из торцевых и цилиндрических элементов, попарно закрепленных на каждой из лопастей, при этом каждый из элементов закреплен на двух лопастях, а окна всасывания и нагнетания попарно расположены на цилиндрической и торцевых поверхностях рабочей камеры.
2. Компрессор по п.1, отличающийся тем, что окна всасывания сообщены с камерой всасывания, а окна нагнетания сообщены с камерой нагнетания.
3. Компрессор по п.1, отличающийся тем, что он выполнен двухступенчатым, при этом два окна всасывания первой ступени сообщены с камерой всасывания, два окна нагнетания первой ступени сообщены с окном всасывания второй ступени, а окно нагнетания второй ступени сообщено с камерой нагнетания.
Priority Applications (1)
| Application Number | Priority Date | Filing Date | Title |
|---|---|---|---|
| SU4904957 RU2014503C1 (ru) | 1991-01-24 | 1991-01-24 | Ротационный компрессор |
Applications Claiming Priority (1)
| Application Number | Priority Date | Filing Date | Title |
|---|---|---|---|
| SU4904957 RU2014503C1 (ru) | 1991-01-24 | 1991-01-24 | Ротационный компрессор |
Publications (1)
| Publication Number | Publication Date |
|---|---|
| RU2014503C1 true RU2014503C1 (ru) | 1994-06-15 |
Family
ID=21556982
Family Applications (1)
| Application Number | Title | Priority Date | Filing Date |
|---|---|---|---|
| SU4904957 RU2014503C1 (ru) | 1991-01-24 | 1991-01-24 | Ротационный компрессор |
Country Status (1)
| Country | Link |
|---|---|
| RU (1) | RU2014503C1 (ru) |
Cited By (6)
| Publication number | Priority date | Publication date | Assignee | Title |
|---|---|---|---|---|
| RU2173796C1 (ru) * | 2000-01-10 | 2001-09-20 | Открытое акционерное общество "Авиадвигатель" | Компрессор газотурбинного двигателя |
| RU2175405C1 (ru) * | 2000-02-16 | 2001-10-27 | Открытое акционерное общество "Авиадвигатель" | Компрессор газотурбинного двигателя |
| RU2175404C1 (ru) * | 2000-02-03 | 2001-10-27 | Открытое акционерное общество "Авиадвигатель" | Статор компрессора газотурбинного двигателя |
| RU2189499C2 (ru) * | 2000-05-26 | 2002-09-20 | Открытое акционерное общество "Авиадвигатель" | Компрессор газотурбинного двигателя |
| RU2235908C2 (ru) * | 2002-11-12 | 2004-09-10 | Открытое акционерное общество "Авиадвигатель" | Компрессор газотурбинного двигателя |
| RU2302558C1 (ru) * | 2005-11-24 | 2007-07-10 | Открытое акционерное общество "Авиадвигатель" | Компрессор газотурбинного двигателя |
-
1991
- 1991-01-24 RU SU4904957 patent/RU2014503C1/ru active
Cited By (6)
| Publication number | Priority date | Publication date | Assignee | Title |
|---|---|---|---|---|
| RU2173796C1 (ru) * | 2000-01-10 | 2001-09-20 | Открытое акционерное общество "Авиадвигатель" | Компрессор газотурбинного двигателя |
| RU2175404C1 (ru) * | 2000-02-03 | 2001-10-27 | Открытое акционерное общество "Авиадвигатель" | Статор компрессора газотурбинного двигателя |
| RU2175405C1 (ru) * | 2000-02-16 | 2001-10-27 | Открытое акционерное общество "Авиадвигатель" | Компрессор газотурбинного двигателя |
| RU2189499C2 (ru) * | 2000-05-26 | 2002-09-20 | Открытое акционерное общество "Авиадвигатель" | Компрессор газотурбинного двигателя |
| RU2235908C2 (ru) * | 2002-11-12 | 2004-09-10 | Открытое акционерное общество "Авиадвигатель" | Компрессор газотурбинного двигателя |
| RU2302558C1 (ru) * | 2005-11-24 | 2007-07-10 | Открытое акционерное общество "Авиадвигатель" | Компрессор газотурбинного двигателя |
Similar Documents
| Publication | Publication Date | Title |
|---|---|---|
| US5071323A (en) | Scroll compressor with bypass release passage in stationary scroll member | |
| US3560119A (en) | Fluid pump or motor | |
| US4844708A (en) | Elliptical-drive oscillating compressor and pump | |
| US3472445A (en) | Rotary positive displacement machines | |
| US4802830A (en) | Vane compressor without occurrence of vane chattering | |
| US4504201A (en) | Mechanical pumps | |
| RU2014503C1 (ru) | Ротационный компрессор | |
| JP4823455B2 (ja) | ギヤとこのギヤによる一対の係合ギヤを備えた流体機械 | |
| US5071328A (en) | Double rotor compressor with two stage inlets | |
| US20070044751A1 (en) | Rotary piston power system | |
| US3954355A (en) | Rotary energy converter | |
| CN109915371B (zh) | 一种非等角啮合的旋叶式变容机构 | |
| US3876348A (en) | Rotary engine converter | |
| US5846066A (en) | Vacuum pumps with claw-type rotor and roots-type rotor near the outlet | |
| EP0053868A3 (en) | Nutating piston pump | |
| RU43925U1 (ru) | Машина объемного действия | |
| US3890941A (en) | Rotary energy converter | |
| US4099896A (en) | Rotary compressor | |
| RU2022175C1 (ru) | Двухроторный вакуумный насос | |
| JPS64383A (en) | Two-shaft multi-blade fluid machine | |
| CN112780553A (zh) | 转子组件、压缩机和空调 | |
| SU1687879A1 (ru) | Ротационна пластинчата машина | |
| KR100324771B1 (ko) | 2단 압축용 밀폐형 압축기 | |
| RU1775009C (ru) | Объемна роторна машина | |
| SU1681054A1 (ru) | Ротационный компрессор |