RU166345U1 - Программируемое устройство автоматизированного контроля электрической прочности изоляции - Google Patents
Программируемое устройство автоматизированного контроля электрической прочности изоляции Download PDFInfo
- Publication number
- RU166345U1 RU166345U1 RU2016126637/28U RU2016126637U RU166345U1 RU 166345 U1 RU166345 U1 RU 166345U1 RU 2016126637/28 U RU2016126637/28 U RU 2016126637/28U RU 2016126637 U RU2016126637 U RU 2016126637U RU 166345 U1 RU166345 U1 RU 166345U1
- Authority
- RU
- Russia
- Prior art keywords
- output
- input
- voltage
- inputs
- bkvn
- Prior art date
Links
- 238000009413 insulation Methods 0.000 title claims abstract description 31
- 238000012360 testing method Methods 0.000 claims abstract description 53
- LIDGFHXPUOJZMK-UHFFFAOYSA-N 2,6-dimethyl-1-oxidopyridin-1-ium Chemical compound CC1=CC=CC(C)=[N+]1[O-] LIDGFHXPUOJZMK-UHFFFAOYSA-N 0.000 claims abstract description 36
- 230000015556 catabolic process Effects 0.000 claims abstract description 30
- 238000012544 monitoring process Methods 0.000 claims abstract description 10
- 239000004973 liquid crystal related substance Substances 0.000 claims abstract description 9
- 238000012545 processing Methods 0.000 claims abstract description 8
- 238000002955 isolation Methods 0.000 claims description 13
- 230000011664 signaling Effects 0.000 claims description 9
- 230000015572 biosynthetic process Effects 0.000 description 6
- 239000004020 conductor Substances 0.000 description 6
- 238000011161 development Methods 0.000 description 5
- 238000010586 diagram Methods 0.000 description 5
- 230000003321 amplification Effects 0.000 description 3
- 238000003199 nucleic acid amplification method Methods 0.000 description 3
- 238000004891 communication Methods 0.000 description 2
- 230000007547 defect Effects 0.000 description 2
- 238000001514 detection method Methods 0.000 description 2
- 238000010292 electrical insulation Methods 0.000 description 2
- 238000004519 manufacturing process Methods 0.000 description 2
- 239000000463 material Substances 0.000 description 2
- 238000000034 method Methods 0.000 description 2
- 229910052754 neon Inorganic materials 0.000 description 2
- GKAOGPIIYCISHV-UHFFFAOYSA-N neon atom Chemical compound [Ne] GKAOGPIIYCISHV-UHFFFAOYSA-N 0.000 description 2
- 102100024735 Resistin Human genes 0.000 description 1
- 230000005540 biological transmission Effects 0.000 description 1
- 244000309464 bull Species 0.000 description 1
- 230000007717 exclusion Effects 0.000 description 1
- 239000002184 metal Substances 0.000 description 1
- 230000001681 protective effect Effects 0.000 description 1
- 101150091950 retn gene Proteins 0.000 description 1
- 210000003462 vein Anatomy 0.000 description 1
- 230000000007 visual effect Effects 0.000 description 1
- 238000012800 visualization Methods 0.000 description 1
Images
Classifications
-
- G—PHYSICS
- G01—MEASURING; TESTING
- G01R—MEASURING ELECTRIC VARIABLES; MEASURING MAGNETIC VARIABLES
- G01R31/00—Arrangements for testing electric properties; Arrangements for locating electric faults; Arrangements for electrical testing characterised by what is being tested not provided for elsewhere
- G01R31/12—Testing dielectric strength or breakdown voltage ; Testing or monitoring effectiveness or level of insulation, e.g. of a cable or of an apparatus, for example using partial discharge measurements; Electrostatic testing
- G01R31/14—Circuits therefor, e.g. for generating test voltages, sensing circuits
Landscapes
- Physics & Mathematics (AREA)
- General Physics & Mathematics (AREA)
- Testing Relating To Insulation (AREA)
Abstract
1. Программируемое устройство автоматизированного контроля электрической прочности изоляции, содержащее корпус с крышкой, блок управления и контроля (БУК) в виде микроконтроллера (МК), клавиатуры (КЛ) и жидкокристаллического индикатора (ЖКИ), блок коммутации высоковольтного напряжения (БКВН) с реле (РЛ) и датчиком пробоя (ДП), блок соединителей (БС) с коммутирующими элементами (КЭ), блок внешнего электропитания (БВЭП), источник внутреннего электропитания (ИВЭП) и источник высоковольтного испытательного напряжения (ИВИН), отличающееся тем, что БУК снабжен программируемой логической интегральной схемой (ПЛИС), конвертором (КВ) и модулем обработки сигнала (МОС), БКВН снабжен первым и вторым коммутаторами (КМ), ДП выполнен в виде высоковольтного оптрона (ВОП) и токоограничивающего резистора (ТОР), БС снабжен двумя высоковольтными шинами (ВШ) «А» и «Б», а каждый КЭ - первым и вторым коммутирующими высоковольтными оптронами (КВО), при этом вход БВЭП подключен к сети промышленного напряжения, первый выход БВЭП соединен с входом ИВЭП, а второй выход БВЭП - с входом ИВИН, выход ИВЭП через первый вход БУК соединен с входом КВ, первый выход которого соединен с первым входом МК, второй выход КВ соединен через первый выход БУК с первым входом БКВН, а четвертый выход КВ - с первым входом ПЛИС, второй вход которой соединен с выходом КЛ, а выход ПЛИС соединен с третьим входом МК, четвертый выход МК соединен с входом ЖКИ, а пятый выход МК через второй выход БУК - со вторым входом БКВН, первый и второй входы БКВН соединены соответственно с первым и вторым входами РЛ, первый и второй выходы РЛ - с первыми входами первого и второго КМ, вторые входы которых соединены соответственно через четвертый и
Description
Полезная модель относится к радиоэлектронике и вычислительной технике и может быть использована для автоматизированного контроля электрической прочности изоляции различных электрических или электронных цепей электротехнических или радиоэлектронных изделий.
За прототип выбрано программируемое устройство для автоматизированного контроля электрической прочности изоляции по патенту РФ №146953, 2014 г., МКИ8 G01R 31/02, G01F 17/00, опубл. Бюл. №29, 2014 г.
Устройство-прототип содержит корпус с крышкой, рабочую станцию с монитором и управляющий контроллер (блок управления и контроля в виде микроконтроллера, клавиатуры и жидкокристаллического индикатора∗,∗) - название в заявляемом устройстве, здесь и далее), блок соединителей (блок соединителей с коммутирующими элементами∗), блоки коммутации высоковольтного испытательного напряжения с реле и блок фиксации пробоя (блок коммутации высоковольтного напряжения с реле и датчиком пробоя∗), блок внешнего электропитания, источник внутреннего электропитания и программируемый высоковольтный источник испытательного напряжения (источник высоковольтного испытательного напряжения∗).
Примечание: корпус с крышкой в формуле устройства-прототипа отсутствуют, однако можно сделать вывод об их наличии и включить в материалы заявки.
Недостатками устройства-прототипа являются:
- недостаточная безопасность работы оператора из-за отсутствия гальванической изоляции элементов управления (монитора и клавиатуры) рабочей станции от цепей электропитания и высоковольтных цепей и невозможности автоматического (при поднятой защитной крышки корпуса) снятия высоковольтного напряжения с блока соединителей при подключении испытываемых изделий;
- отсутствие возможности предварительной экспресс проверки, т.е. кратковременной, например, в течение 1 секунды подачи высоковольтного напряжения на каждую цепь испытываемого изделия, например двухсотжильного электрического кабеля, с целью предварительного определения короткого замыкания между жилами, поскольку при полной проверке с выдержкой, например, в течение 1 минуты (в зависимости от требований технических условий на конкретное изделие) испытательного высоковольтного напряжения, короткое замыкание может быть обнаружено в одной из последних жил, что, после устранения дефекта, приведет к необходимости повторной проверки предыдущих жил;
- отсутствие звукового сигнала об окончании проверки в случае соответствия изоляции техническим условиям или фиксации пробоя изоляции испытываемых изделий;
- отсутствие визуальных сигналов о формировании высоковольтного напряжения на выходе высоковольтного источника испытательного напряжения и появления высоковольтного напряжения на коммутирующих элементах блока соединителей;
- отсутствие защиты блока фиксации пробоя от выхода из строя при включении в цепь высоковольтного напряжения;
- невозможность автоматического подключения коммутирующих элементов блока соединителей и соответственно полюсов испытываемых изделий к необходимому полюсу высоковольтного источника испытательного напряжения;
- невозможность определения прохождения переменного коммутирующего высоковольтного напряжения через «0», что не позволяет исключить подачу напряжения на цепи испытываемого изделия в моменты близкие к амплитудным значениям.
Решаемыми задачами являются:
- повышение безопасности работы оператора введением двух ступеней гальванической развязки элементов управления - клавиатуры и жидкокристаллического индикатора блока управления и контроля и силовых цепей путем использования в первой ступени конвертора, например преобразователя DC/DC, реле, например электромеханического, и модуля обработки сигнала (выпрямления и усиления сигнала окончания контроля), например оптрона, а во второй - двух коммутаторов, например в виде высоковольтных оптронов со встроенными детекторами определения и управления прохождением переменного коммутируемого высоковольтного напряжения через «0» и датчика пробоя в виде высоковольтного оптрона и мощного токоограничивающего резистора, а также применением концевого выключателя, который при подъеме крышки корпуса размыкает цепь и снимает высоковольтное напряжение с блока соединителей;
- введение предварительной экспресс проверки кратковременной подачей испытательного высоковольтного напряжения на каждую цепь испытываемого изделия путем применения наряду с микроконтроллером программируемой логической интегральной схемы, позволяющей оператору с клавиатуры вводить темп проверки и количество проверяемых цепей с отображением данных на жидкокристаллическом индикаторе при необходимости;
- введение звукового сигнала окончания контроля в случае соответствия изоляции техническим условиям или фиксации пробоя изоляции испытываемого изделия путем применения звукового сигнализатора, например электромагнитного;
- введение индикаторов напряжения, например неоновых ламп, о формировании высоковольтного напряжения на выходе источника высоковольтного испытательного напряжения и появления высоковольтного напряжения на коммутирующих элементах блока соединителей;
- повышение защищенности датчика пробоя путем включения его в высоковольтную цепь через мощный токоограничивающий резистор;
- обеспечение автоматического подключения коммутирующих элементов блока соединителей и соответственно полюсов испытываемых изделий к необходимому полюсу источника высоковольтного испытательного напряжения путем снабжения каждого коммутирующего элемента двумя коммутирующими высоковольтными оптронами, управляемыми с клавиатуры через программируемую логическую интегральную схему и микроконтроллер;
- обеспечение плавности повышения испытательного высоковольтного напряжения, например, в пределах 5 миллисекунд при частоте 50 Гц, путем применения коммутаторов (высоковольтных оптронов) со встроенными детекторами определения и управления прохождением переменного коммутируемого испытательного высоковольтного напряжения через «0», что позволяет исключить (блокировать) подачу высоковольтного напряжения на цепи испытываемого изделия в моменты близкие к амплитудным значениям, и соответственно предохранить от пробоя (повреждения) изоляции при возможных «скачках» испытательного высоковольтного напряжения.
Сущность полезной состоит в том, что в программируемом устройстве автоматизированного контроля электрической прочности изоляции, содержащем корпус с крышкой, блок управления и контроля (БУК) в виде микроконтроллера (МК), клавиатуры (КЛ) и жидкокристаллического индикатора (ЖКИ), блок коммутации высоковольтного напряжения (БКВН) с реле (РЛ) и датчиком пробоя (ДП), блок соединителей (БС) с коммутирующими элементами (КЭ), блок внешнего электропитания (БВЭП), источник внутреннего электропитания (ИВЭП) и источник высоковольтного испытательного напряжения (ИВИН),
БУК снабжен программируемой логической интегральной схемой (ПЛИС), конвертором (KB) и модулем обработки сигнала (МОС), БКВН снабжен первым и вторым коммутаторами (КМ), ДП выполнен в виде высоковольтного оптрона (ВОП) и токоограничивающего резистора (ТОР), БС снабжен двумя высоковольтными шинами (ВШ) «А» и «Б», а каждый КЭ - первым и вторым коммутирующими высоковольтными оптронами (КВО), подключающими входы КЭ к ВШ «А» и «Б» и соответственно к первому и второму КМ и полюсам ИВЭП.
Кроме того, в вариантах устройства корпус может быть снабжен концевым выключателем (КВК), который при подъеме крышки корпуса размыкает цепь и снимает высоковольтное напряжение с КЭ БС, также в состав могут быть введены звуковой сигнализатор (ЗС) окончания контроля в случае соответствия изоляции техническим условиям или фиксации пробоя изоляции испытываемого изделия, а также первый, второй, третий и четвертый индикаторы напряжений (ИН) наличия высоковольтного напряжения на выходах ИВИН и на входах КЭ БС.
Сущность полезной модели поясняется также электрическими функциональными схемами устройства, блока управления и контроля, блока коммутации высоковольтного напряжения и блока соединителей, показанным соответственно на фиг. 1, 2, 3 и 4.
На фиг. 1 приняты следующие обозначения:
1 - корпус,
2 - крышка,
3 - блок внешнего электропитания (БВЭП), 220В, 50 Гц, собственная разработка,
4 - источник внутреннего электропитания (ИВЭП), Nes 15-5, фирма «Меаn Well»,
5 - источник высоковольтного испытательного напряжения (ИВИН), трансформатор RSTN 75, 1 - 400 - 23 - 02, фирма «Michael Rieder»,
6 - блок управления и контроля (БУК), собственная разработка,
7 - блок коммутации высоковольтного напряжения (БКВН), собственная разработка,
8 - блок соединителей (БС), собственная разработка,
9, 10, 11 и 12 - первый, второй, третий и четвертый индикаторы напряжения (ИН), лампа неоновая с держателем, 220 В, N701R, фирма «ЧИП и ДИП»,
13 - концевой выключатель (КВК), В614, фирма «ЧИП и ДИП».
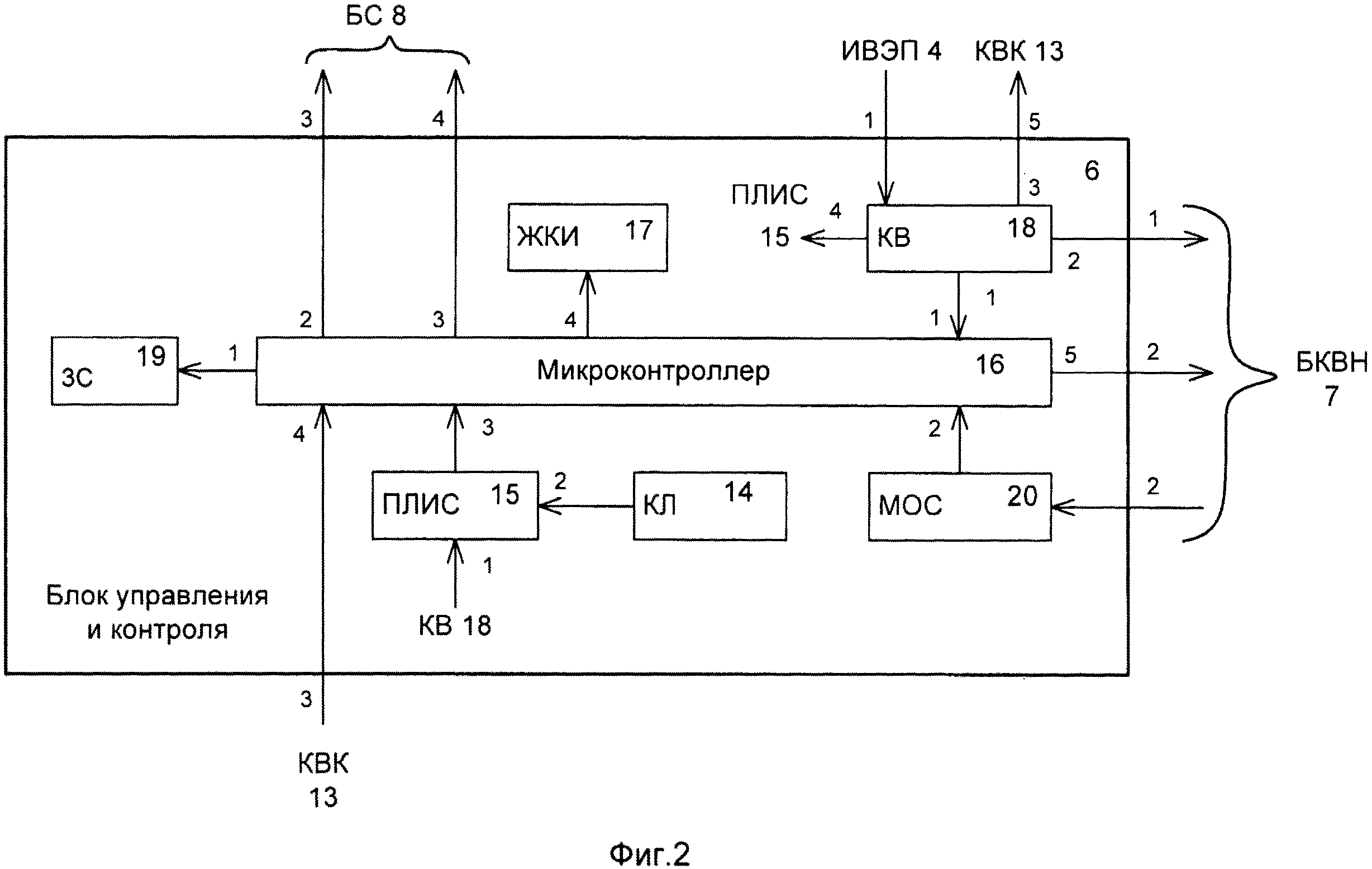
На фиг. 2 приняты следующие обозначения:
14 - клавиатура (КЛ), АК1604 - N - WWB Платан, ЗАО «Компонентс»,
15 - программируемая логическая интегральная схема (ПЛИС), EPM712BSTC, фирма «Альтера»,
16 - микроконтроллер (МК), Atmega 128, фирма «Atmel»,
17 - жидкокристаллический индикатор (ЖКИ), МТ - 16S2P -3YLG, фирма «МЭЛТ»,
18 - конвертор (KB), преобразователь DC/DC AM3N - 0505 SZ, компания «Компэл»,
19 - звуковой сигнализатор (ЗС), НСМ1206Х, компания «Компэл»,
20 - модуль обработки сигнала (МОС), оптрон HCPL-0600, фирма «Промэлектроника».
На фиг. 3 приняты следующие обозначения:
21 - реле (РЛ), G5V-1, фирма «Omron»,
22 и 23 - первый и второй коммутаторы (КМ), высоковольтные оптроны МОС 3063М, фирма «Fairchild»,
24 - датчик пробоя (ДП), собственная разработка,
25 - высоковольтный оптрон (ВОП), КР 3010, фирма «Протон»,
26 - токоограничивающий резистор (TOP), SQP10Bт, 11,2 кОм, фирма «ЧИП и ДИП».
На фиг. 4 приняты следующие обозначения
27 - коммутирующие элементы (КЭ), ТВ - 2 (385), фирма «Автаком»,
28 - высоковольтная шина (ВШ) «А», конструктивный элемент (проводник на плате печатного монтажа),
29 - ВШ «Б», конструктивный элемент (проводник на плате печатного монтажа),
30 и 31 - первые и вторые коммутирующие высоковольтные оптроны (КВО), МОС 3063М, фирма «Fairchild».
Описание элементов заявляемого устройства
Блок внешнего электропитания (БВЭП) 3 предназначен для распределения сетевого напряжения 220 В, 50 Гц между ИВЭП 4 и ИВИН 5.
Источник внутреннего электропитания (ИВЭП) 4 предназначен для формирования напряжения 5 В для питания МК 16 и ПЛИС 15 БУК 6, РЛ 21 БКВН 7, КВК 13 корпуса 1.
Источник высоковольтного испытательного напряжения (ИВИН) 5 предназначен для формирования высоковольтного напряжения амплитудой 500 В, частотой 50 Гц и подачи его на проверяемые изделия через РЛ 21, первый и второй КМ 22 и 23 БКВН 7 и через ВШ «А» 28 и ВШ «Б» 29, первые и вторые КВО 30 и 31 и КЭ 27 БС 8, а также подачи сигналов на первые и вторые ИН 9 и 10.
Блок управления и контроля (БУК) 6 предназначен для формирования сигналов управления БКВН 7 и БС 8 посредством КЛ 14, ПЛИС 15, МК 16 и ЖКИ 17, а также для контроля процесса испытаний посредством обратной связи МК 16 с БС 8, ДП 24 БКВН 7, МОС 20 и визуализации на ЖКИ 17.
Блок коммутации высоковольтного напряжения (БКВН) 7 предназначен для обеспечения коммутации испытательного напряжения на БС 8 и соответственно на проверяемые изделия посредством РЛ 21, первого и второго КМ 22 и 23, а также для обеспечения обратной связи МК 16 БУК 6 с БС 8 посредством ДП 24.
Блок соединителей (БС) 8 предназначен для подключения проверяемых изделий посредством КЭ 27 и обеспечения подачи и коммутации испытательного напряжения на проверяемые изделия посредством ВШ «А» 28 и ВШ «Б» 29 и первых и вторых КВО 30 и 31, а также для обеспечения обратной связи с МК 16 БУК 6 и подачи сигналов на третьи и четвертые ИН 11 и 12.
Первый и второй индикаторы напряжения (ИН) 9 и 10 предназначены для визуализации наличия высоковольтного напряжения на выходах ИВИН 5.
Третий и четвертый индикаторы напряжения (ИН) 11 и 12 предназначены для визуализации наличия высоковольтного напряжения на входах КЭ 27 БС 8.
Концевой выключатель (КВК) 13 предназначен для размыкания цепи и снятия высоковольтного напряжения с КЭ 27 БС 8 при подъеме крышки 2 корпуса 1.
Клавиатура (КЛ) 14 БУК 6 предназначена для введения исходных данных контроля проверяемых изделий в МК 16 через ПЛИС 15 с отображением информации на ЖКИ 17.
Программируемая логическая интегральная схема (ПЛИС) 15 БУК 6 предназначена для программирования и введения параметров контроля проверяемых изделий в МК 16 посредством КЛ 14.
Микроконтроллер (МК) 16 БУК 6 предназначен для производства процесса испытаний в заданном оператором режиме, а также для управления, связи и контроля ЗС 19, БС 8, ЖКИ 17, БКВН 7 и МОС 20.
Жидкокристаллический индикатор (ЖКИ) 17 БУК 6 предназначен для получения и визуализации информации от МК 16.
Конвертор (KB) 18 БУК 6 предназначен для получения напряжения 5 В от ИВЭП 4, преобразования напряжения 5 В в 5 Ви (изолированное) и распределения питания между МК 16, БКВН 7, КВК 13 и ПЛИС 14, а также для образования совместно с МОС 20 БУК 6 и РЛ 21 первой ступени гальванической развязки КЛ 14 и ЖКИ 17 БУК 6 от электрических цепей ИВЭП 4 и ИВИН 5.
Звуковой сигнализатор (ЗС) 19 БУК 6 предназначен для оповещения об окончания контроля в случае соответствия изоляции техническим условиям или фиксации пробоя изоляции (нарушения электрической прочности) испытываемого изделия по сигналу от МК 16.
Модуль обработки сигнала (МОС) 20 БУК 6 предназначен для выпрямления и усиления сигнала окончания контроля в случае соответствия изоляции техническим условиям или фиксации пробоя изоляции от ДП 24 БКВН 7 и передачи этого сигнала в МК 16, а также для образования совместно с KB 18, РЛ 21 БКВН 7 первой ступени гальванической развязки КЛ 14 и ЖКИ 17 БУК 6 от электрических цепей ИВЭП 4 и ИВИН 5.
Реле (РЛ) 21 БКВН 7 предназначено для подачи напряжения питания 5 В от KB 18 БУК 6 и сигналов управления от МК 16 БУК 6 первому и второму КМ 21 и 22, а также для образования совместно с KB 18, МОС 20 БУК 6 первой ступени гальванической развязки КЛ 14 и ЖКИ 17 БУК 6 от электрических цепей ИВЭП 4 и ИВИН 5.
Первый и второй коммутаторы (КМ) 22 и 23 БКВН 7 предназначены для приема испытательного напряжения от ИВИН 5 и подачи его на проверяемые изделия посредством ВШ «А» 28 и ВШ «Б» 29, первых и вторых КВО 30 и 31 и КЭ 27 БС 8, а также для образования совместно с ДП 24 второй ступени гальванической развязки КЛ 14 и ЖКИ 17 БУК 6 от электрических цепей ИВЭП 4 и ИВИН 5. Кроме того, применение в качестве первого и второго КМ 22 и 23 высоковольтных оптронов со встроенными детекторами определения и управления прохождением переменного коммутируемого высоковольтного напряжения через «0» позволяет исключить подачу высоковольтного напряжения на испытываемые изделия в моменты близкие к амплитудным значениям, что обеспечивает плавное повышение испытательного высоковольтного напряжения в пределах 5 миллисекунд при частоте 50 Гц и соответственно предохранение от пробоя (повреждения) изоляции испытываемого изделия при возможных «скачках» испытательного высоковольтного напряжения.
Датчик пробоя (ДП) 24 БКВН 7 и высоковольтный оптрон (ВОП) 25 в его составе предназначены для получения сигнала окончания контроля в случае соответствия изоляции техническим условиям или фиксации пробоя изоляции (нарушения электрической прочности) испытываемого изделия от БС 8 в случае пробоя изоляции проверяемого изделия и передачи этого сигнала в МОС 20 и МК 16 БУК 6, а также для образования совместно с первым и вторым КМ 22 и 23 второй ступени гальванической развязки КЛ 14 и ЖКИ 17 БУК 6 от электрических цепей ИВЭП 4 и ИВИН 5.
Токоограничивающий резистор (ТОР) 26 в составе ДП 24 БКВН 7 предназначен его для защиты от выхода из строя при включении в цепь высоковольтного напряжения.
Коммутирующие элементы (КЭ) 27 БС 6 предназначены для подключения испытываемых изделий, подачи и коммутации на полюса этих изделий высоковольтного испытательного напряжения от ИВИН 5 через первый и второй КМ 22 и 23 БКВН 7 и ВШ «А» и «Б» 28 и 29.
Первые и вторые коммутирующие высоковольтные оптроны (КВО) 30 и 31 БС 6 предназначены для подключения КЭ 27 к ВШ «А» и «Б» 28 и 29 БС 6 и соответственно полюсов испытываемых изделий к необходимому полюсу ИВИП 5 по сигналам управления от МК 16 БУК 6.
Описание работы программируемого устройства автоматизированного контроля электрической прочности изоляции
Все составные части заявляемого устройства установлены в металлическом корпусе 1 с крышкой 2 и заземляющей шиной (на схеме не обозначена) и находятся в конструктивном единстве и функциональной взаимосвязи, внутренний электромонтаж осуществляется через разъемы∗∗ (∗∗)- на схемах не показаны, здесь и далее) составных частей, а также монтажными жгутами∗∗ и перемычками∗∗, т.е. технический результат обеспечивается совокупностью признаков всех элементов конструкции, при этом исключение одного из элементов конструкции исключает и возможность качественного функционирования в соответствии с решаемыми задачами.
Собирают схему устройства.
Сеть промышленного напряжения 220 В, 50 Гц подключают к входу БВЭП 3, первый выход БВЭП 3 соединяют с входом ИВЭП 4, а второй выход БВЭП 3 - с входом ИВИН 5, выход ИВЭП 4 через первый вход БУК 6 соединяют с входом KB 18, первый выход которого соединяют с первым входом МК 16, второй выход KB 18 соединяют через первый выход БУК 6 с первым входом БКВН 7, а четвертый выход KB 18 - с первым входом ПЛИС 15, второй вход которой соединяют с выходом КЛ 14, а выход ПЛИС 15 соединяют с третьим входом МК 16, четвертый выход МК 16 соединяют с входом ЖКИ 17, а пятый выход МК 16 через второй выход БУК 6 - со вторым входом БКВН 7, первый и второй входы БКВН 7 соединяют соответственно с первым и вторым входами РЛ 21, первый и второй выходы РЛ 21 - с первыми входами первого и второго КМ 22 и 23, вторые входы которых соединяют соответственно через четвертый и пятый входы БКВН 7 с первым и вторым выходами ИВИН 5, а выходы первого и второго КМ 22 и 23 соответственно через первый и второй выходы БКВН 7 соединяют с первым и вторым входами БС 6 и соответственно через ВШ «А» и «Б» 28 и 29 с первыми входами первых и вторых КВО 30 и 31 и первыми и вторыми входами каждого КЭ 27 16, второй и третий выходы МК 16 соединяют соответственно через третий и четвертый выходы БУК 6 с третьими и четвертыми входами БС 8 и соответственно со вторыми входами первых и вторых КВО 30 и 31 и первыми и вторыми входами каждого КЭ 27, кроме того, первые входы вторых КВО 31 соединяют между собой и через первый выход БС 8 с третьим входом БКВН 7 и соответственно с входом ТОР 26, являющимся входом ДП 24, выход ТОР 26 соединяют с входом ВОП 25, выход которого, являющийся выходом ДП 24 через третий выход БКВН 7 соединяют со вторым входом БУК 6 и соответственно с входом МОС 20, выход которого соединяют со вторым входом МК 16, вход КВК 13 соединяют через крышку 2, корпус 1 и пятый выход БУК 6 с третьим выходом KB 18, первый выход КВК 13 через третий вход БУК 6 соединяют с четвертым входом МК 16, а второй выход КВК 13 - с заземляющей шиной корпуса 1, вход ЗС 19 соединяют с первым выходом МК 16, входы первого и второго ИН 9 и 10 соединяют соответственно с первым и вторым выходами ИВИН 5, а входы третьего и четвертого ИН 11 и 12 соединяют соответственно через второй и третий выходы БС 8 и ВШ «А» и «Б» 28 и 29 с КЭ 27. При этом KB 18, РЛ 21 и МОС 20 образуют первую ступень гальванической развязки (ГР) КЛ 14 и ЖКИ 17 от электрических цепей БВЭП 3 и ИВИН 5, а первый и второй КМ 22 и 23 и ДП 24 - вторую ступень ГР, указанные элементы KB 18, РЛ 21, МОС 20, КМ 22 и 23 и ДП 24 обладают функцией гальванической изоляции и надежно за счет двух ступеней разделяют высоковольтное и низкое напряжения для обеспечения защиты персонала в случае пробоя изоляции путем исключения попадания высоковольтного напряжения на элементы управления и контроля КЛ 14 и ЖКИ 17.
Контролируемое (испытываемое) изделие, например многожильный электрический кабель, (на схемах не обозначено) подключают к соответствующим входам КЭ 27 БС 8 при отсутствии высоковольтного напряжения на КЭ 27 БС 8 (при поднятой крышке 2 и разомкнутом КВК 13).
БВЭП 3 и ИВЭП 4 обеспечивают электропитание +5 В соответствующих составных частей устройства, а ИВИН 5 - необходимое испытательное напряжение 500 В (по амплитуде), KB 18 формирует напряжение +5 Ви (изолированное), КВК 13 при подъеме крышки 2 корпуса 1 размыкает цепь и снимает высоковольтное напряжением с КЭ 27 БС8, первый, второй, третий и четвертый ИН 9, 10, 11 и 12 сигнализируют о наличии высоковольтного напряжения на выходах ИВИН 5 и на входах КЭ 27 БС 8, а встроенные детекторы∗∗ определения и управления прохождением переменного коммутируемого высоковольтного напряжения через «0» первого и второго КМ 22 и 23 исключают подачу высоковольтного напряжения на испытываемые изделия в моменты близкие к амплитудным значениям, а также обеспечивают плавное повышение испытательного высоковольтного напряжения в пределах 5 миллисекунд при частоте 50 Гц и соответственно предохранение от пробоя (повреждения) изоляции испытываемого изделия при возможных «скачках» испытательного высоковольтного напряжения.
Посредством КЛ 14, ПЛИС 15 и МК 16 устанавливают (программируют) режимы предварительной экспресс проверки (кратковременной подачи высоковольтного напряжения на каждую цепь испытываемого изделия, с целью предварительного определения короткого замыкания между жилами) или полной проверки, при этом на ЖКИ отображается введенная информация.
Посредством МК 16 при закрытой крышке 2 корпуса 1 формируют управляющие сигналы для ЗС 19, первых и вторых КВО 30 и 31, ЖКИ 17, РЛ 21 и соответственно для первого и второго КМ 22 и 23 БКВН 7, а также принимают информационные сигналы от МОС 20, КЛ 14 через ПЛИС 15 и от КВК 13.
Посредством МК 16 управляют первыми и вторыми КВО 30 и 31 и подключают необходимые полюсы испытываемого изделия к тому или иному полюсу ИВИН 5 через КМ 22 и 23 и ВШ «А» и «Б» 28 и 29.
Посредством МК 16 и РЛ 21 управляют первым и вторым КМ 22 и 23, которые через ВШ 28 и 29 подают испытательное напряжение на входы КЭ 27 и соответственно на испытываемые изделия при выбранном режиме проверки.
Производят предварительную экспресс проверку, для максимально возможной гарантии от пробоя изоляции при полной проверке, занимающей значительно большее время по сравнению с предварительной, поскольку при полной проверке короткое замыкание может быть обнаружено в одной из последних жил электрического кабеля, что, после устранения дефекта, приведет к необходимости повторной проверки предыдущих жил, и соответственно к затратам дополнительного времени, при этом первыми и вторыми КВО 30 и 31 полюсы «А» (условно) жил испытываемого изделия поочередно подключают к полюсу «А» (условно) ИВИН 5, а полюс «Б» (условно) одной из жил изделия подключают к полюсу «Б» (условно) ИВИН 5, затем кратковременно с выдержкой в течение 1 секунды подают высоковольтное испытательное напряжение 500 В, в зависимости от требований технических условий (ТУ) на конкретное изделие, и фиксируют отсутствие или наличие короткого замыкания, т.е. пробоя изоляции между упомянутыми жилами и изоляцией отдельно подключенной жилы и т.д. по каждой жиле изделия.
После предварительной экспресс проверки производят полную или основную проверку, при этом полюсы «А» (условно) жил испытываемого изделия подключают к полюсу «А» (условно) ИВИН 5, а полюсы «Б» (условно) - к полюсу «Б» (условно) ИВИН 5, затем поочередно, на каждую жилу подают высоковольтное испытательное напряжение 500 В с выдержкой в течение 1 минуты, в зависимости от ТУ на конкретное изделие.
После завершения проверки (контроля) в случае соответствия изоляции техническим условиям или фиксации пробоя изоляции испытываемого изделия информационные сигналы от вторых КВО 31 БС 8 поступают в ТОР 26 и ВОП 25 ДП 24 БКВН 7 и далее в МСО 20 для выпрямления и усиления, а затем в МК 16 и ЗС 19 для звуковой сигнализации и в ЖКИ 17 для отображения полученной информации.
Технический результат от использования полезной модели заключается:
- в повышении безопасности работы оператора введением двух ступеней гальванической развязки элементов управления и силовых цепей, звукового сигнала об окончании проверки в случае соответствия изоляции техническим условиям или фиксации пробоя изоляции испытываемых изделий, индикаторов напряжения о формировании высоковольтного напряжения на выходе источника высоковольтного испытательного напряжения и появления высоковольтного напряжения на коммутирующих элементах блока соединителей, повышением защищенности датчика пробоя, а также предохранением от пробоя (повреждения) изоляции при возможных «скачках» испытательного высоковольтного напряжения;
- в повышение удобства работы введением предварительной экспресс проверки кратковременной подачей испытательного высоковольтного напряжения на каждую цепь испытываемого изделия и автоматического подключения КЭ БС и соответственно полюсов испытываемых изделий к необходимому полюсу источника ИВИН.
Указанный технический результат достигается совокупностью отличительных признаков, а именно снабжением блока управления и контроля (БУК) программируемой логической интегральной схемой (ПЛИС), конвертором (KB) и модулем обработки сигнала (МОС), в снабжении блока коммутации высоковольтного напряжения (БКВН) первым и вторым коммутаторами (КМ), выполнением датчика пробоя (ДП) в виде высоковольтного оптрона (ВОП) и токоограничивающего резистора (ТОР), снабжением блока соединителей (БС) двумя высоковольтными шинами (ВШ) «А» и «Б», а каждого коммутирующего элемента (КЭ) - первым и вторым коммутирующими высоковольтными оптронами (КВО), снабжением корпуса устройства концевым выключателем (КВК) для снятия высоковольтного напряжения с КЭ БС, введением звукового сигнализатора (ЗС) окончания контроля электрической прочности изоляции испытываемого изделия, а также введением первого, второго, третьего и четвертого индикаторов напряжений (ИН) наличия высоковольтного напряжения на выходах источника высоковольтного испытательного напряжения ИВИН и на входах КЭ БС.
Представленные описание и схемы заявляемого устройства позволяют, применяя существующие материалы и унифицированные покупные комплектующие изделия, изготовить его промышленным способом и использовать для автоматизированного контроля электрической прочности изоляции различных электрических или электронных цепей электротехнических или радиоэлектронных изделий.
Перечень обозначений на фиг. 1
1 - корпус,
2 - крышка,
3 - блок внешнего электропитания (БВЭП),
4 - источник внутреннего электропитания (ИВЭП),
5 - источник высоковольтного испытательного напряжения (ИВИН),
6 - блок управления и контроля (БУК),
7 - блок коммутации высоковольтного напряжения (БКВН),
8 - блок соединителей (БС),
9, 10, 11 и 12 - первый, второй, третий и четвертый индикаторы напряжения (ИН),
13 - концевой выключатель (КВК).
Перечень обозначений на фиг. 2
14 - клавиатура (КЛ),
15 - программируемая логическая интегральная схема (ПЛИС),
16 - микроконтроллер (МК),
17 - жидкокристаллический индикатор (ЖКИ),
18 - конвертор (KB),
19 - звуковой сигнализатор (ЗС),
20 - модуль обработки сигнала (МОС).
Перечень обозначений на фиг. 3
21 - реле (РЛ),
22 и 23 - первый и второй коммутаторы (КМ),
24 - датчик пробоя (ДП),
25 - высоковольтный оптрон (ВОП),
26 - токоограничивающий резистор (ТОР).
Перечень обозначений на фиг. 4
27 - коммутирующие элементы (КЭ),
28 - высоковольтная шина (ВШ) «А»,
29 - ВШ «Б»,
30 и 31 - первые и вторые коммутирующие высоковольтные оптроны (КВО).
Claims (3)
1. Программируемое устройство автоматизированного контроля электрической прочности изоляции, содержащее корпус с крышкой, блок управления и контроля (БУК) в виде микроконтроллера (МК), клавиатуры (КЛ) и жидкокристаллического индикатора (ЖКИ), блок коммутации высоковольтного напряжения (БКВН) с реле (РЛ) и датчиком пробоя (ДП), блок соединителей (БС) с коммутирующими элементами (КЭ), блок внешнего электропитания (БВЭП), источник внутреннего электропитания (ИВЭП) и источник высоковольтного испытательного напряжения (ИВИН), отличающееся тем, что БУК снабжен программируемой логической интегральной схемой (ПЛИС), конвертором (КВ) и модулем обработки сигнала (МОС), БКВН снабжен первым и вторым коммутаторами (КМ), ДП выполнен в виде высоковольтного оптрона (ВОП) и токоограничивающего резистора (ТОР), БС снабжен двумя высоковольтными шинами (ВШ) «А» и «Б», а каждый КЭ - первым и вторым коммутирующими высоковольтными оптронами (КВО), при этом вход БВЭП подключен к сети промышленного напряжения, первый выход БВЭП соединен с входом ИВЭП, а второй выход БВЭП - с входом ИВИН, выход ИВЭП через первый вход БУК соединен с входом КВ, первый выход которого соединен с первым входом МК, второй выход КВ соединен через первый выход БУК с первым входом БКВН, а четвертый выход КВ - с первым входом ПЛИС, второй вход которой соединен с выходом КЛ, а выход ПЛИС соединен с третьим входом МК, четвертый выход МК соединен с входом ЖКИ, а пятый выход МК через второй выход БУК - со вторым входом БКВН, первый и второй входы БКВН соединены соответственно с первым и вторым входами РЛ, первый и второй выходы РЛ - с первыми входами первого и второго КМ, вторые входы которых соединены соответственно через четвертый и пятый входы БКВН с первым и вторым выходами ИВИН, а выходы первого и второго КМ соответственно через первый и второй выходы БКВН соединены с первым и вторым входами БС и соответственно через ВШ «А» и «Б» - с первыми входами первых и вторых КВО и первыми и вторыми входами каждого КЭ, второй и третий выходы МК соединены соответственно через третий и четвертый выходы БУК с третьими и четвертыми входами БС и соответственно со вторыми входами первых и вторых КВО и первыми и вторыми входами каждого КЭ, кроме того, первые входы вторых КВО соединены между собой и через первый выход БС с третьим входом БКВН и соответственно с входом ТОР, являющимся входом ДП, выход ТОР соединен с входом ВОП, выход которого, являющийся выходом ДП, через третий выход БКВН соединен со вторым входом БУК и соответственно с входом МОС, выход которого соединен со вторым входом МК, причем КВ, РЛ и МОС образуют первую ступень гальванической развязки (ГР) КЛ и ЖКИ от электрических цепей БВЭП и ИВИН, а первый и второй КМ и ДП - вторую ступень ГР, БВЭП и ИВЭП обеспечивают электропитание составных частей устройства, а ИВИН - необходимое испытательное напряжение.
2. Устройство по п. 1, отличающееся тем, что корпус снабжен концевым выключателем (КВК), который при подъеме крышки корпуса размыкает цепь и снимает высоковольтное напряжением с КЭ БС, при этом вход КВК соединен через крышку, корпус и пятый выход БУК с третьим выходом КВ, первый выход КВК через третий вход БУК соединен с четвертым входом МК, а второй выход КВК - с заземляющей шиной корпуса.
3. Устройство по п. 1, отличающееся тем, что в состав введены звуковой сигнализатор (ЗС) окончания контроля в случае соответствия изоляции техническим условиям или фиксации пробоя изоляции испытываемого изделия, при этом вход ЗС соединен с первым выходом МК БУК, а также первый, второй, третий и четвертый индикаторы напряжений (ИН) наличия высоковольтного напряжения на выходах ИВИН и на входах КЭ БС, при этом входы первого и второго ИН соединены соответственно с первым и вторым выходами ИВИН, а входы третьего и четвертого ИН соединены соответственно через второй и третий выходы БС и ВШ «А» и «Б» с КЭ.
Priority Applications (1)
| Application Number | Priority Date | Filing Date | Title |
|---|---|---|---|
| RU2016126637/28U RU166345U1 (ru) | 2016-07-01 | 2016-07-01 | Программируемое устройство автоматизированного контроля электрической прочности изоляции |
Applications Claiming Priority (1)
| Application Number | Priority Date | Filing Date | Title |
|---|---|---|---|
| RU2016126637/28U RU166345U1 (ru) | 2016-07-01 | 2016-07-01 | Программируемое устройство автоматизированного контроля электрической прочности изоляции |
Publications (1)
| Publication Number | Publication Date |
|---|---|
| RU166345U1 true RU166345U1 (ru) | 2016-11-20 |
Family
ID=57792778
Family Applications (1)
| Application Number | Title | Priority Date | Filing Date |
|---|---|---|---|
| RU2016126637/28U RU166345U1 (ru) | 2016-07-01 | 2016-07-01 | Программируемое устройство автоматизированного контроля электрической прочности изоляции |
Country Status (1)
| Country | Link |
|---|---|
| RU (1) | RU166345U1 (ru) |
Cited By (1)
| Publication number | Priority date | Publication date | Assignee | Title |
|---|---|---|---|---|
| RU2776635C1 (ru) * | 2022-03-21 | 2022-07-22 | Общество с ограниченной ответственностью Научно-производственное предприятие "ЭКРА" | Комплект автоматизированных испытаний электротехнического оборудования повышенным напряжением |
-
2016
- 2016-07-01 RU RU2016126637/28U patent/RU166345U1/ru not_active IP Right Cessation
Cited By (1)
| Publication number | Priority date | Publication date | Assignee | Title |
|---|---|---|---|---|
| RU2776635C1 (ru) * | 2022-03-21 | 2022-07-22 | Общество с ограниченной ответственностью Научно-производственное предприятие "ЭКРА" | Комплект автоматизированных испытаний электротехнического оборудования повышенным напряжением |
Similar Documents
| Publication | Publication Date | Title |
|---|---|---|
| KR101016378B1 (ko) | 접지선의 누설전류 계측이 용이한 배전반 | |
| JPH066916A (ja) | 配線接続判定方法および装置 | |
| RU166345U1 (ru) | Программируемое устройство автоматизированного контроля электрической прочности изоляции | |
| RU166053U1 (ru) | Устройство автоматизированного контроля электрической прочности изоляции | |
| CN113608013A (zh) | 一种非接触式用电检测装置及其检测方法 | |
| RU2365013C1 (ru) | Способ автоматического повторного включения линии электропередачи | |
| EP2778693B1 (en) | Apparatus to verify an electrically safe work condition | |
| CN207976549U (zh) | 一种用于高压开关检测设备的悬挂式电源控制器 | |
| JP5883363B2 (ja) | 点灯及び極性試験用電源装置 | |
| CN204008911U (zh) | 一种线圈设备测试装置 | |
| CN104181413A (zh) | 多功能型继电保护实验装置及使用方法 | |
| KR100971996B1 (ko) | 수배전반의 전력 제어 표준화를 위한 하네스 연결 장치 | |
| CN204649952U (zh) | 基于同步测量的变压器套管监测装置检测平台 | |
| CN209471149U (zh) | 一种高压逆变器测试系统的辅助接线装置 | |
| JP2017211219A (ja) | 計器用変流器二次側配線接続状態の確認装置 | |
| CN202886458U (zh) | 一种旁路柔性电缆运行电流实时检测报警装置 | |
| CN102982636B (zh) | 变、配电设施小动物检测及报警方法 | |
| US20230208968A1 (en) | Telephone Line Testing Apparatus With Remote Control | |
| RU178299U1 (ru) | Устройство непрерывного контроля сопротивления изоляции погружного электрокабеля и непрерывного контроля сопротивления обмоток погружного электродвигателя электропогружной насосной установки | |
| CN204925295U (zh) | 一种控制点测量电路和设备接地测量系统 | |
| CN209963629U (zh) | 电力系统用金属封闭出线柜 | |
| CN205015427U (zh) | 基于高精度检测电流的中性点多点接地检测装置 | |
| CN204695499U (zh) | 一种高压试验区防误入装置 | |
| CN104423284A (zh) | 一种高压带电显示闭锁装置 | |
| CN106501558A (zh) | 一种电力输电线路参数测试时的安全接线方法 |
Legal Events
| Date | Code | Title | Description |
|---|---|---|---|
| MM9K | Utility model has become invalid (non-payment of fees) |
Effective date: 20170702 |
