RU1603581C - Устройство для нанесения покрытий - Google Patents
Устройство для нанесения покрытий Download PDFInfo
- Publication number
- RU1603581C RU1603581C SU4312297A RU1603581C RU 1603581 C RU1603581 C RU 1603581C SU 4312297 A SU4312297 A SU 4312297A RU 1603581 C RU1603581 C RU 1603581C
- Authority
- RU
- Russia
- Prior art keywords
- gas
- nozzle
- heating element
- powder
- particles
- Prior art date
Links
- 238000000576 coating method Methods 0.000 title claims abstract description 6
- 238000010438 heat treatment Methods 0.000 claims abstract description 12
- 239000000843 powder Substances 0.000 claims abstract description 8
- 239000011248 coating agent Substances 0.000 claims description 2
- 239000000126 substance Substances 0.000 abstract 1
- 239000002245 particle Substances 0.000 description 10
- 229910045601 alloy Inorganic materials 0.000 description 1
- 239000000956 alloy Substances 0.000 description 1
- 230000015572 biosynthetic process Effects 0.000 description 1
- 239000011247 coating layer Substances 0.000 description 1
- 238000005260 corrosion Methods 0.000 description 1
- 238000010586 diagram Methods 0.000 description 1
- 239000012212 insulator Substances 0.000 description 1
- 229910052751 metal Inorganic materials 0.000 description 1
- 239000002184 metal Substances 0.000 description 1
- 239000000203 mixture Substances 0.000 description 1
- 229910001120 nichrome Inorganic materials 0.000 description 1
- 230000001681 protective effect Effects 0.000 description 1
- 230000001105 regulatory effect Effects 0.000 description 1
- 229910052715 tantalum Inorganic materials 0.000 description 1
- GUVRBAGPIYLISA-UHFFFAOYSA-N tantalum atom Chemical compound [Ta] GUVRBAGPIYLISA-UHFFFAOYSA-N 0.000 description 1
Images
Landscapes
- Nozzles (AREA)
- Other Surface Treatments For Metallic Materials (AREA)
Abstract
Изобретение относится к устройствам для газодинамического нанесения порошковых покрытий и может быть использовано в машиностроении для нанесения защитных антикоррозионных износостойких покрытий на изделия, допускающие ограниченное термическое воздействие. Цель - увеличение производительности и экономичности устройства. Для этого устройство снабжено узлом подогрева с системой регулирования величины температуры рабочего газа, нагревательный элемент которого выполнен в виде полой трубки с площадью поперечного сечения канала, не менее чем в 10 раз превышающей площадь критического сечения сопла. При этом вход нагревательного элемента соединен с порошковым дозатором, а выход со сверхзвуковым соплом. 1 ил.
Description
Изобретение относится к устройствам для нанесения порошковых покрытий, к устройствам газодинамического типа, в которых формируется высокоскоростной поток частиц и образование покрытия осуществляется за счет удара и кинетической энергии частиц порошка. Изобретение может быть использовано для нанесения защитных антикоррозионных, износостойких, электро- и магнитопроводящих покрытий, в том числе на изделия, допускающие ограниченное термическое воздействие.
Цель изобретения - увеличение производительности и экономичности устройства.
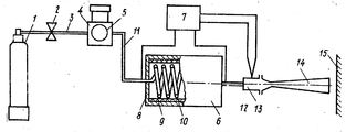
На чертеже представлена схема устройства.
Устройство состоит из источника сжатого газа 1 с давлением на выходе 20 атм и температурой 0-20оС, соединенного через вентиль 2 и газопровод 3 с дозатором частиц 4 барабанного типа с электродвигателем 5 и узлом подогрева 6 газа с системой 7 регулирования величины температуры рабочего газа, состоящим из металлического корпуса 8 с теплоизолятором 9 и нагревательного элемента 10, выполненного в виде полой трубки из сплава сопротивления, например нихрома, тантала, мегапира, вход которой соединен газопроводом 11 с дозатором 4, а выход через газопровод 12 и согласующий переходник 13 со сверхзвуковым соплом 14 прямоугольного-полукруглого сечения.
Устройство работает следующим образом. Сжатый воздух или другой газ из источника 1 с помощью вентиля 2 подают в газопровод 3 и через дозатор 4 с отключенным электродвигателем 5 и узел нагрева 6 к соплу 14, обеспечивая расчетный режим работы сопла 14. К узлу нагрева 6 подают электроэнергию, нагревают газ до требуемой температуры в диапазоне 30-450оС. Включают электродвигатель 5 дозатора 4 и числом его оборотов задают расход частиц, поступающих по газопроводу 11 в нагревательный элемент 10.
Длина элемента 10 выбирается такой, чтобы обеспечивалось температурное равновесие газа и частиц на выходе. Нагретая газопорошковая смесь поступает через газопровод 12 и переходник 13 в сверхзвуковое сопло 14, в котором частицы, ускоряющиеся в расширяющемся газе, приобретают скорость, близкую к скорости газа, а температура газа в сопле устанавливается ниже, чем в нагревательном элементе, обеспечивая работу сопла не менее 1000 ч. Так как скорость газа в критическом сечении сопла Vк равна скорости звука в газе и зависит от температуры газа То, т.е. Vк = А, где А - коэффициент, зависящий от типа газа, то, плавно меняя То, изменяют скорость напыляемых частиц. На выходе из сопла частицы с заданной скоростью и концентрацией соударяются с перемещающейся поперек оси сопла поверхностью изделия 15 и образуют на ней слой покрытия из пластически деформированных частиц заданной толщины, значение которой регулируется расходом частиц и скоростью перемещения напыляемой поверхности.
Claims (1)
- УСТРОЙСТВО ДЛЯ НАНЕСЕНИЯ ПОКРЫТИЙ, содержащее порошковый дозатор с емкостью для порошка, каналы подвода газа и сверхзвуковое прямоугольное сопло, отличающееся тем, что, с целью увеличения производительности и экономичности устройства, оно снабжено узлом подогрева с системой регулирования величины температуры рабочего газа, нагревательный элемент которого выполнен в виде полой трубки с площадью поперечного сечения канала, не менее чем в 10 раз превышающей площадь критического сечения сопла, при этом вход нагревательного элемента соединен с порошковым дозатором, а выход со сверхзвуковым соплом.
Priority Applications (2)
| Application Number | Priority Date | Filing Date | Title |
|---|---|---|---|
| SU4312297 RU1603581C (ru) | 1987-10-05 | 1987-10-05 | Устройство для нанесения покрытий |
| SU4312297 RU1773072C (ru) | 1987-10-05 | 1987-10-05 | Способ нанесения металлопорошковых покрытий |
Applications Claiming Priority (1)
| Application Number | Priority Date | Filing Date | Title |
|---|---|---|---|
| SU4312297 RU1603581C (ru) | 1987-10-05 | 1987-10-05 | Устройство для нанесения покрытий |
Publications (1)
| Publication Number | Publication Date |
|---|---|
| RU1603581C true RU1603581C (ru) | 1994-12-15 |
Family
ID=30440784
Family Applications (2)
| Application Number | Title | Priority Date | Filing Date |
|---|---|---|---|
| SU4312297 RU1603581C (ru) | 1987-10-05 | 1987-10-05 | Устройство для нанесения покрытий |
| SU4312297 RU1773072C (ru) | 1987-10-05 | 1987-10-05 | Способ нанесения металлопорошковых покрытий |
Family Applications After (1)
| Application Number | Title | Priority Date | Filing Date |
|---|---|---|---|
| SU4312297 RU1773072C (ru) | 1987-10-05 | 1987-10-05 | Способ нанесения металлопорошковых покрытий |
Country Status (1)
| Country | Link |
|---|---|
| RU (2) | RU1603581C (ru) |
Families Citing this family (3)
| Publication number | Priority date | Publication date | Assignee | Title |
|---|---|---|---|---|
| RU2205897C1 (ru) * | 2001-12-26 | 2003-06-10 | Общество С Ограниченной Ответственностью Обнинский Центр Порошкового Напыления | Способ нанесения покрытий |
| RU2306368C1 (ru) * | 2006-04-25 | 2007-09-20 | Рязанский военный автомобильный институт имени генерала армии В.П. ДУБЫНИНА | Способ нанесения покрытий |
| PL2104753T3 (pl) * | 2006-11-07 | 2014-12-31 | Starck H C Gmbh | Sposób powlekania podłoża i powleczony produkt |
-
1987
- 1987-10-05 RU SU4312297 patent/RU1603581C/ru active
- 1987-10-05 RU SU4312297 patent/RU1773072C/ru active
Non-Patent Citations (1)
| Title |
|---|
| Авторское свидетельство СССР N 1327569, кл. C 23C 4/00, 1984. * |
Also Published As
| Publication number | Publication date |
|---|---|
| RU1773072C (ru) | 1995-03-10 |
Similar Documents
| Publication | Publication Date | Title |
|---|---|---|
| RU2100474C1 (ru) | Устройство для газодинамического нанесения покрытий из порошковых материалов | |
| EP1200200B2 (en) | Kinetic spray coating method and apparatus | |
| US7637441B2 (en) | Cold gas spray gun | |
| US6811812B2 (en) | Low pressure powder injection method and system for a kinetic spray process | |
| RU2288970C1 (ru) | Устройство для газодинамического нанесения покрытий и способ нанесения покрытий | |
| US5302414A (en) | Gas-dynamic spraying method for applying a coating | |
| Stoltenhoff et al. | An analysis of the cold spray process and its coatings | |
| RU2213805C2 (ru) | Способ нанесения покрытий из порошковых материалов и устройство для его осуществления | |
| US20060275554A1 (en) | High performance kinetic spray nozzle | |
| US20050214474A1 (en) | Kinetic spray nozzle system design | |
| JPS56161870A (en) | Method and apparatus for coating long pipe having small diameter | |
| JPH1096657A5 (ru) | ||
| RU98119848A (ru) | Способ получения покрытия из порошковых материалов и устройство для его осуществления | |
| RU1603581C (ru) | Устройство для нанесения покрытий | |
| US20060251821A1 (en) | Multi-sectioned pulsed detonation coating apparatus and method of using same | |
| RU2247174C2 (ru) | Устройство газодинамического напыления порошковых материалов | |
| EP3608441A1 (en) | Cold spray gun and cold spray apparatus equipped with same | |
| US7335341B2 (en) | Method for securing ceramic structures and forming electrical connections on the same | |
| RU2201472C2 (ru) | Способ газодинамического нанесения покрытий и сопловой блок для его осуществления | |
| RU2037336C1 (ru) | Установка для сверхзвукового газопламенного напыления покрытий | |
| RU2229944C2 (ru) | Устройство для газодинамического нанесения покрытий из порошковых материалов | |
| RU2094523C1 (ru) | Устройство для электродугового высокоскоростного проволочного напыления | |
| RU2194091C2 (ru) | Устройство для нанесения покрытий на внутренние поверхности деталей | |
| RU2035241C1 (ru) | Устройство для газопламенного напыления покрытий | |
| RU163745U1 (ru) | Портативное устройство для газодинамического напыления покрытий |