RU106909U1 - Водопроводный кран со штоком - Google Patents
Водопроводный кран со штоком Download PDFInfo
- Publication number
- RU106909U1 RU106909U1 RU2011106153/13U RU2011106153U RU106909U1 RU 106909 U1 RU106909 U1 RU 106909U1 RU 2011106153/13 U RU2011106153/13 U RU 2011106153/13U RU 2011106153 U RU2011106153 U RU 2011106153U RU 106909 U1 RU106909 U1 RU 106909U1
- Authority
- RU
- Russia
- Prior art keywords
- water
- hollow
- shaped body
- central part
- water tap
- Prior art date
Links
- XLYOFNOQVPJJNP-UHFFFAOYSA-N water Substances O XLYOFNOQVPJJNP-UHFFFAOYSA-N 0.000 title claims abstract description 37
- 238000005406 washing Methods 0.000 description 2
- 238000010276 construction Methods 0.000 description 1
- 238000004519 manufacturing process Methods 0.000 description 1
Landscapes
- Domestic Plumbing Installations (AREA)
Abstract
1. Водопроводный кран со штоком, содержащий полый Т-образный корпус, в центральной части, направленной вниз, которого размещен вертикальный шток, отличающийся тем, что на концах Т-образного корпуса установлены вентили с указанием устанавливаемой степени расхода воды, к которым подведена горячая и холодная вода, вертикальный шток выполнен полым и снабжен регулятором потока воды через него, а на конце его установлен полый упор для рук. ! 2. Водопроводный кран по п.1, отличающийся тем, что на внешней стороне центральной части закреплен индикатор температуры. ! 3. Водопроводный кран по п.1, отличающийся тем, что Т-образный корпус полностью или частично выполнен прозрачным. ! 4. Водопроводный кран по п.1, отличающийся тем, что центральная часть выполнена в виде сменного резервуара.
Description
Водопроводный кран со штоком относится к механическим средствам управления подачи воды с помощью клапанного регулятора и предназначен для применения в умывальниках и рукомойниках.
Известен смеситель и кран-дозатор (Патент РФ №2273783, МПК F16K 11/08 (2006.01), оп. 10.04.2006). Он содержит корпус со штуцерами, подводящими холодную и теплую воду, а также кран-дозатор. В штуцеры вмонтированы обратные клапаны. К его недостатку относится сложность конструкции.
Известен водопроводный клапан со стержневой ручкой управления (Заявка на изобретение РФ №2009125584, МПК F16K 31/60 (2006.01), оп. 20.01.2011). Он содержит корпус, впускное и выпускное отверстия для прохождения воды через кран и рычаг с регулировочным клапаном. К его недостатку также относится сложность конструкции.
Наиболее близким к заявляемому водопроводному крану со штоком является водопроводный кран с фиксатором клапана (Заявка на изобретение РФ №2004110072, МПК Е03С 1/04, F01K 1/00 (2004.01), оп. 20.10.2005). Он содержит Т-образную трубку - корпус и кран со стержнем (штоком). Шток - это кинематический элемент, осуществляющий передачу поступательного усилия к запирающему элементу (ГОСТ Р 52720-2007. Арматура трубопроводная. Термины и определения.).
Оно не удобно в применении, а также его устройство не позволяет целенаправленно регулировать подачу, температуру и расход воды.
Новый водопроводный кран со штоком также содержит полый Т-образный корпус, в центральной части, направленной вниз, которого размещен вертикальный шток.
Новым является то, что на концах Т-образного корпуса установлены вентили с указанием устанавливаемой степени расхода воды, к которым подведена горячая и холодная вода, вертикальный шток выполнен полым и снабжен регулятором потока воды через него, а на конце его установлен полый упор для рук.
Вариантом является кран, в котором на внешней стороне центральной части закреплен индикатор температуры.
Вариантом является кран, в котором Т-образный корпус полностью или частично выполнен прозрачным.
Вариантом является кран, в котором центральная часть выполнена в виде сменного резервуара.
Техническим результатом нового крана является регулировка и контроль за подачей воды, а также индикация температуры воды для использования.
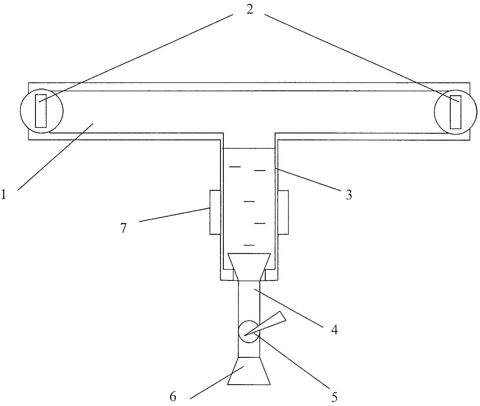
На рисунке схематично изображен новый водопроводный кран со штоком в разрезе. Он содержит Т-образный корпус 1 с установленными на его концах вентилями 2, к которым подключена горячая и холодная вода, в центральной его части резервуар 3, направленной вниз, размещен шток 4, выполненный полым с регулятором потока 5 и с упором для рук 6 снизу. А снаружи закреплен индикатор температуры воды 7.
Водопроводный кран используется следующим образом. Внутрь Т-образного корпуса 1 с помощью вентилей 2 горячей и холодной воды в резервуар 3 напускается вода до достижения нужной температуры, которая определяется индикатором температуры 7. После этого шток 4 поднимается и опускается для получения дозированной подачи воды с целью умывания рук или споласкивания, где не требуется много воды. А если требуется непрерывный поток воды, регулятор потока 5 поворотом открывает шток 4.
Предложенная полезная модель позволяет экономно использовать поступление воды из рукомойника и получать на выходе умеренный поток нужной температуры, либо дозировать воду лишь малыми порциями для умывания рук.
Изготовление и устройство водопроводного крана простое, в использовании удобное и промышленно применимо.
Claims (4)
1. Водопроводный кран со штоком, содержащий полый Т-образный корпус, в центральной части, направленной вниз, которого размещен вертикальный шток, отличающийся тем, что на концах Т-образного корпуса установлены вентили с указанием устанавливаемой степени расхода воды, к которым подведена горячая и холодная вода, вертикальный шток выполнен полым и снабжен регулятором потока воды через него, а на конце его установлен полый упор для рук.
2. Водопроводный кран по п.1, отличающийся тем, что на внешней стороне центральной части закреплен индикатор температуры.
3. Водопроводный кран по п.1, отличающийся тем, что Т-образный корпус полностью или частично выполнен прозрачным.
Priority Applications (1)
| Application Number | Priority Date | Filing Date | Title |
|---|---|---|---|
| RU2011106153/13U RU106909U1 (ru) | 2011-02-18 | 2011-02-18 | Водопроводный кран со штоком |
Applications Claiming Priority (1)
| Application Number | Priority Date | Filing Date | Title |
|---|---|---|---|
| RU2011106153/13U RU106909U1 (ru) | 2011-02-18 | 2011-02-18 | Водопроводный кран со штоком |
Publications (1)
| Publication Number | Publication Date |
|---|---|
| RU106909U1 true RU106909U1 (ru) | 2011-07-27 |
Family
ID=44753828
Family Applications (1)
| Application Number | Title | Priority Date | Filing Date |
|---|---|---|---|
| RU2011106153/13U RU106909U1 (ru) | 2011-02-18 | 2011-02-18 | Водопроводный кран со штоком |
Country Status (1)
| Country | Link |
|---|---|
| RU (1) | RU106909U1 (ru) |
-
2011
- 2011-02-18 RU RU2011106153/13U patent/RU106909U1/ru not_active IP Right Cessation
Similar Documents
| Publication | Publication Date | Title |
|---|---|---|
| WO2018010684A1 (zh) | 热水器系统及其控制方法 | |
| ATE542075T1 (de) | Thermostat-mischbatterie | |
| RU106909U1 (ru) | Водопроводный кран со штоком | |
| ATE522791T1 (de) | Verteilerventil mit integrierter durchflussmesseinrichtung | |
| CN204647433U (zh) | 一种智能温控淋浴龙头 | |
| WO2012006697A1 (en) | Heating system for water collected in hot water pipes | |
| RU81975U1 (ru) | Установка смешанного водоснабжения | |
| CN209484847U (zh) | 一种带机械恒温调控的电热水器 | |
| FR2978997B1 (fr) | Mitigeur thermostatique monocommande a ouverture prioritaire en eau froide puis pour la distribution d'eau sanitaire a une temperature donnee | |
| CN201085555Y (zh) | 洗浴喷淋装置 | |
| RU167910U1 (ru) | Водосберегающий привод смесителя | |
| CN205446799U (zh) | 一种恒温阀门组件 | |
| US20060130918A1 (en) | No water waste valve | |
| AU2007100068A4 (en) | The jet shower | |
| RU77881U1 (ru) | Установка для автоматического отключения воды | |
| CN203334381U (zh) | 带报警防漏水坐便器 | |
| RU117939U1 (ru) | Насадка на кран | |
| AU2009100090A4 (en) | In Line Water Saver Controller | |
| RU32851U1 (ru) | Устройство для подачи воды | |
| CN221278588U (zh) | 一种厨房抽拉带皂液龙头 | |
| RU81506U1 (ru) | Душевая установка | |
| CN203604725U (zh) | 旋转出水嘴巴及手喷出水双模式水龙头 | |
| CN104514915A (zh) | 具有多规格出水量的水龙头装置 | |
| RU138639U1 (ru) | Термостатическое смесительное устройство | |
| RU147869U1 (ru) | Водосберегающая насадка на смеситель |
Legal Events
| Date | Code | Title | Description |
|---|---|---|---|
| MM1K | Utility model has become invalid (non-payment of fees) |
Effective date: 20120219 |
