KR20230169661A - Body temperature adjustable wearable protector - Google Patents

Body temperature adjustable wearable protector Download PDF

Info

Publication number
KR20230169661A
KR20230169661A KR1020220070073A KR20220070073A KR20230169661A KR 20230169661 A KR20230169661 A KR 20230169661A KR 1020220070073 A KR1020220070073 A KR 1020220070073A KR 20220070073 A KR20220070073 A KR 20220070073A KR 20230169661 A KR20230169661 A KR 20230169661A
Authority
KR
South Korea
Prior art keywords
upper body
user
unit
mounting
belt
Prior art date
Legal status (The legal status is an assumption and is not a legal conclusion. Google has not performed a legal analysis and makes no representation as to the accuracy of the status listed.)
Granted
Application number
KR1020220070073A
Other languages
Korean (ko)
Other versions
KR102819109B1 (en
Inventor
이종성
Original Assignee
(주) 솔리렉스
Priority date (The priority date is an assumption and is not a legal conclusion. Google has not performed a legal analysis and makes no representation as to the accuracy of the date listed.)
Filing date
Publication date
Application filed by (주) 솔리렉스 filed Critical (주) 솔리렉스
Priority to KR1020220070073A priority Critical patent/KR102819109B1/en
Publication of KR20230169661A publication Critical patent/KR20230169661A/en
Application granted granted Critical
Publication of KR102819109B1 publication Critical patent/KR102819109B1/en
Active legal-status Critical Current
Anticipated expiration legal-status Critical

Links

Images

Classifications

    • AHUMAN NECESSITIES
    • A61MEDICAL OR VETERINARY SCIENCE; HYGIENE
    • A61FFILTERS IMPLANTABLE INTO BLOOD VESSELS; PROSTHESES; DEVICES PROVIDING PATENCY TO, OR PREVENTING COLLAPSING OF, TUBULAR STRUCTURES OF THE BODY, e.g. STENTS; ORTHOPAEDIC, NURSING OR CONTRACEPTIVE DEVICES; FOMENTATION; TREATMENT OR PROTECTION OF EYES OR EARS; BANDAGES, DRESSINGS OR ABSORBENT PADS; FIRST-AID KITS
    • A61F5/00Orthopaedic methods or devices for non-surgical treatment of bones or joints; Nursing devices ; Anti-rape devices
    • A61F5/01Orthopaedic devices, e.g. long-term immobilising or pressure directing devices for treating broken or deformed bones such as splints, casts or braces
    • A61F5/02Orthopaedic corsets
    • A61F5/026Back straightening devices with shoulder braces to force back the shoulder to obtain a correct curvature of the spine
    • AHUMAN NECESSITIES
    • A61MEDICAL OR VETERINARY SCIENCE; HYGIENE
    • A61FFILTERS IMPLANTABLE INTO BLOOD VESSELS; PROSTHESES; DEVICES PROVIDING PATENCY TO, OR PREVENTING COLLAPSING OF, TUBULAR STRUCTURES OF THE BODY, e.g. STENTS; ORTHOPAEDIC, NURSING OR CONTRACEPTIVE DEVICES; FOMENTATION; TREATMENT OR PROTECTION OF EYES OR EARS; BANDAGES, DRESSINGS OR ABSORBENT PADS; FIRST-AID KITS
    • A61F7/00Heating or cooling appliances for medical or therapeutic treatment of the human body
    • A61F7/02Compresses or poultices for effecting heating or cooling
    • AHUMAN NECESSITIES
    • A61MEDICAL OR VETERINARY SCIENCE; HYGIENE
    • A61FFILTERS IMPLANTABLE INTO BLOOD VESSELS; PROSTHESES; DEVICES PROVIDING PATENCY TO, OR PREVENTING COLLAPSING OF, TUBULAR STRUCTURES OF THE BODY, e.g. STENTS; ORTHOPAEDIC, NURSING OR CONTRACEPTIVE DEVICES; FOMENTATION; TREATMENT OR PROTECTION OF EYES OR EARS; BANDAGES, DRESSINGS OR ABSORBENT PADS; FIRST-AID KITS
    • A61F5/00Orthopaedic methods or devices for non-surgical treatment of bones or joints; Nursing devices ; Anti-rape devices
    • A61F5/01Orthopaedic devices, e.g. long-term immobilising or pressure directing devices for treating broken or deformed bones such as splints, casts or braces
    • A61F2005/0197Orthopaedic devices, e.g. long-term immobilising or pressure directing devices for treating broken or deformed bones such as splints, casts or braces with spring means
    • AHUMAN NECESSITIES
    • A61MEDICAL OR VETERINARY SCIENCE; HYGIENE
    • A61FFILTERS IMPLANTABLE INTO BLOOD VESSELS; PROSTHESES; DEVICES PROVIDING PATENCY TO, OR PREVENTING COLLAPSING OF, TUBULAR STRUCTURES OF THE BODY, e.g. STENTS; ORTHOPAEDIC, NURSING OR CONTRACEPTIVE DEVICES; FOMENTATION; TREATMENT OR PROTECTION OF EYES OR EARS; BANDAGES, DRESSINGS OR ABSORBENT PADS; FIRST-AID KITS
    • A61F7/00Heating or cooling appliances for medical or therapeutic treatment of the human body
    • A61F2007/0054Heating or cooling appliances for medical or therapeutic treatment of the human body with a closed fluid circuit, e.g. hot water
    • AHUMAN NECESSITIES
    • A61MEDICAL OR VETERINARY SCIENCE; HYGIENE
    • A61FFILTERS IMPLANTABLE INTO BLOOD VESSELS; PROSTHESES; DEVICES PROVIDING PATENCY TO, OR PREVENTING COLLAPSING OF, TUBULAR STRUCTURES OF THE BODY, e.g. STENTS; ORTHOPAEDIC, NURSING OR CONTRACEPTIVE DEVICES; FOMENTATION; TREATMENT OR PROTECTION OF EYES OR EARS; BANDAGES, DRESSINGS OR ABSORBENT PADS; FIRST-AID KITS
    • A61F7/00Heating or cooling appliances for medical or therapeutic treatment of the human body
    • A61F7/02Compresses or poultices for effecting heating or cooling
    • A61F2007/0268Compresses or poultices for effecting heating or cooling having a plurality of compartments being filled with a heat carrier
    • A61F2007/0269Compresses or poultices for effecting heating or cooling having a plurality of compartments being filled with a heat carrier with separable compartments, e.g. reconnectable

Landscapes

  • Health & Medical Sciences (AREA)
  • Vascular Medicine (AREA)
  • Animal Behavior & Ethology (AREA)
  • Engineering & Computer Science (AREA)
  • Biomedical Technology (AREA)
  • Heart & Thoracic Surgery (AREA)
  • Veterinary Medicine (AREA)
  • Life Sciences & Earth Sciences (AREA)
  • Public Health (AREA)
  • General Health & Medical Sciences (AREA)
  • Thermal Sciences (AREA)
  • Physics & Mathematics (AREA)
  • Nursing (AREA)
  • Orthopedic Medicine & Surgery (AREA)
  • Orthopedics, Nursing, And Contraception (AREA)

Abstract

The present invention relates to a wearable musculoskeletal protection device. More specifically, the present invention comprises: an upper body support part manufactured with a flexible material with a certain area, positioned on the back and waist of the user, and having an installation space formed downwardly; a pair of shoulder strap parts for attaching the upper body support part to the shoulder by each arm of the user, inserted thereto; an upper body mounting part fixing the upper body support part to the upper body of the user; a muscle support part whose upper part is connected to the upper body support part to raise the bent upper body of the user by elastic force and whose lower part is positioned behind each leg of the user a lower mounting part fixing each muscle support part to the knee of the user; a pelvic mounting part fixing the muscle support part to the pelvis of the user; and a heat medium part attached to the installation space of the upper body support part and maintaining a warm or cold state. According to the present invention, as described above, when the waist or upper body is bent to lift an object, the musculoskeletal system can be assisted to easily raise the body by elastic force, thereby preventing and minimizing accidents such as muscle pain. Also, the user's body temperature can be maintained at a temperature that is easy to work at, thereby improving work efficiency.

Description

체온 조절 가능한 웨어러블 보호대{Body temperature adjustable wearable protector}Body temperature adjustable wearable protector}

본 발명은 웨어러블 보호대에 관한 것으로, 더욱 상세하게는 물건을 들어올리기 위해 허리 또는 상체를 굽혔을 경우, 탄발력에 의해 용이하게 몸을 세울 수 있도록 근골격계를 보조할 수 있어 근육통 등의 안전사고를 방지 및 최소화시킬 수 있으며, 사용자의 체온을 용이한 작업을 위한 온도로 유지시킬 수 있어 작업효율성을 향상시킬 수 있는 체온 조절 가능한 웨어러블 보호대에 관한 것이다.The present invention relates to a wearable protector, and more specifically, when the waist or upper body is bent to lift an object, it can assist the musculoskeletal system to easily stand up by elastic force, thereby preventing safety accidents such as muscle pain. It relates to a wearable protector that can regulate body temperature and minimize the user's body temperature, and can improve work efficiency by maintaining the user's body temperature at a temperature for easy work.

일반적으로, 건강한 사람이라면 간단히 행할 수 있는 동작이라도 신체 장애자 또는 근력이 쇠약한 노약자는 이를 행하기가 쉽지 않다.In general, even if a healthy person can easily perform a movement, it is not easy for a physically disabled person or an elderly person with weak muscles to perform it.

따라서, 신체 장애자 또는 노약자 등을 대상으로 이러한 동작을 보조하기 위한 다양한 근력 보조 장치에 관한 기술 개발이 진행되고 있다.Accordingly, the development of technology for various muscle strength assisting devices to assist such movements for the physically disabled or the elderly is in progress.

예를 들어, 공개특허 10-2012-0064410호에는 '근력 보조 외골격 장치'에 대하여 개시되어 있으며, 단단한 소재의 외골격을 통해 근력을 보조해 주는 구조이어서, 사용자의 편의성이 매우 저하되고, 사용을 위한 공간이 많이 필요하게 될 수 있다.For example, Publication Patent Publication No. 10-2012-0064410 discloses a 'muscle strength assisting exoskeleton device', which is a structure that assists strength through an exoskeleton made of hard material, so user convenience is greatly reduced and it is difficult to use. This may require a lot of space.

그러나 종래의 근력 보조 장치에서는 복잡한 관절 구조를 구동하기 위한 다양한 메커니즘이 적용되어 복잡한 링크 관절 구조가 사용되고 있으며, 금속 재질의 제품 무게를 지지하기 위한 외부 구조물에 대한 체결 구조를 포함하여 이물감에 따른 불편한 문제점이 있다.However, in conventional muscle strength assist devices, a complex link joint structure is used by applying various mechanisms to drive the complex joint structure, and there is an uncomfortable problem due to the feeling of a foreign body, including a fastening structure to an external structure to support the weight of the product made of metal. There is.

특히, 종래 보조장치는 고가임에 따라, 사람들이 쉽게 구매하지 못하여 실용성이 낮은 문제점이 있다.In particular, because conventional auxiliary devices are expensive, people cannot easily purchase them, which has the problem of low practicality.

그리고 착용하여 작업할 경우, 주변온도에 의해 체온이 변하고, 이 변화한 체온이 근력 보조 장치에 의해 축적되어 피로도를 상승시키는 문제점이 있다.Also, when working while wearing the device, there is a problem that body temperature changes depending on the surrounding temperature, and this changed body temperature is accumulated by the muscle strength assist device, increasing fatigue.

이에 따라, 이물감을 최소화시키고, 작업자가 일하기 적당한 체온을 유지할 수 있도록 하여 편리함과 안전사고를 방지할 수 있는 기술에 대한 개발이 절실히 요구되고 있는 실정이다.Accordingly, there is an urgent need for the development of technology that can minimize foreign body sensation and allow workers to maintain an appropriate body temperature for work, thereby providing convenience and preventing safety accidents.

이에 본 발명은 상기와 같은 문제점들을 해소하기 위해 안출된 것으로써, 유연성을 갖는 재질로 일정 면적으로 제작되며, 사용자의 등과 허리에 위치되고, 내부에 하측으로 개방된 설치공간부가 형성되는 상체지지부, 사용자의 각 팔이 끼워져 상기 상체지지부를 어깨에 장착하기 위한 한 쌍의 어깨걸이부, 상기 상체지지부를 사용자의 상체에 고정시키기 위한 상체장착부, 탄발력에 의해 사용자의 굽혀진 상체를 세워주도록 상단부가 상기 상체지지부에 연결되고, 하단부가 사용자의 각 다리 뒷쪽으로 위치되는 근력보조부, 상기 각 근력보조부를 사용자의 무릎부분에 고정시키기 위한 하부장착부, 상기 근력보조부를 사용자의 골반에 고정시키기 위한 골반장착부, 및 상기 상체지지부의 설치공간부에 장착가능하며, 보온 또는 보냉상태를 유지시키기 위한 열매체부,를 포함하여 물건을 들어올리기 위해 허리 또는 상체를 굽혔을 경우, 탄발력에 의해 용이하게 몸을 세울 수 있도록 근골격계를 보조할 수 있어 근육통 등의 안전사고를 방지 및 최소화시킬 수 있으며, 사용자의 체온을 용이한 작업을 위한 온도로 유지시킬 수 있어 작업효율성을 향상시킬 수 있는 체온 조절 가능한 웨어러블 보호대를 제공하는 것이 목적이다.Accordingly, the present invention was devised to solve the above problems. An upper body support part is made of a flexible material and has a certain area, is located on the user's back and waist, and has an installation space open to the bottom inside. A pair of shoulder rests for each arm of the user to fit into the upper body support unit on the shoulder, an upper body mounting unit for fixing the upper body support unit to the user's upper body, and an upper end unit for erecting the user's bent upper body by elastic force. A muscle auxiliary unit connected to the upper body support unit, the lower end of which is located behind each leg of the user, a lower mounting unit for fixing each muscle auxiliary unit to the user's knee, a pelvic mounting unit for fixing the muscle auxiliary unit to the user's pelvis, and a heat medium part that can be mounted on the installation space of the upper body support part and maintains a warm or cold state, so that when the waist or upper body is bent to lift an object, the body can be easily erected by elastic force. It can assist the musculoskeletal system to prevent and minimize safety accidents such as muscle pain, and provides a wearable protector that can regulate body temperature to improve work efficiency by maintaining the user's body temperature at a temperature for easy work. That is the purpose.

상기 목적을 이루기 위한 본 발명은, 유연성을 갖는 재질로 일정 면적으로 제작되며, 사용자의 등과 허리에 위치되고, 내부에 하측으로 개방된 설치공간부가 형성되는 상체지지부, 사용자의 각 팔이 끼워져 상기 상체지지부를 어깨에 장착하기 위한 한 쌍의 어깨걸이부, 상기 상체지지부를 사용자의 상체에 고정시키기 위한 상체장착부, 탄발력에 의해 사용자의 굽혀진 상체를 세워주도록 상단부가 상기 상체지지부에 연결되고, 하단부가 사용자의 각 다리 뒷쪽으로 위치되는 근력보조부, 상기 각 근력보조부를 사용자의 무릎부분에 고정시키기 위한 하부장착부, 상기 근력보조부를 사용자의 골반에 고정시키기 위한 골반장착부, 및 상기 상체지지부의 설치공간부에 장착가능하며, 보온 또는 보냉상태를 유지시키기 위한 열매체부,를 포함한다.The present invention for achieving the above object is an upper body support part that is made of a flexible material and has a certain area, is located on the user's back and waist, and has an installation space open downward inside, and each arm of the user is inserted into the upper body. A pair of shoulder rests for mounting the support unit on the shoulder, an upper body mounting unit for fixing the upper body support unit to the user's upper body, an upper end connected to the upper body support unit to support the user's bent upper body by elastic force, and a lower end unit. a muscle auxiliary unit located behind each leg of the user, a lower mounting part for fixing each muscle auxiliary unit to the user's knee, a pelvic mounting unit for fixing the muscle auxiliary unit to the user's pelvis, and an installation space for the upper body support unit. It can be mounted on and includes a heat medium part to maintain a warm or cold state.

바람직하게, 상기 열매체부는, 탄성을 갖는 구형상으로, 열매체가 수납되는 복수의 캡슐, 및 탄성을 갖고 상기 캡슐들이 충진되며, 상기 수납주머니에 삽입되는 열매체주머니,를 포함한다.Preferably, the heat medium portion has a spherical shape having elasticity and includes a plurality of capsules in which the heat medium is stored, and a heat medium bag filled with the elastic capsules and inserted into the storage bag.

그리고 상기 열매체주머니는, 전면부가 사용자의 허리에 접하도록 중앙부가 볼록하게 돌출형성된다.In addition, the heat medium pocket has a central portion that protrudes convexly so that the front portion is in contact with the user's waist.

또한, 상기 상체지지부는, 복수의 통기공이 형성된다.Additionally, the upper body support portion is formed with a plurality of ventilation holes.

그리고 상기 상체장착부는, 상기 상체지지부의 일측 중앙부에 구비되는 제1상체장착밸트, 상기 상체지지부의 타측 중앙부에 구비되는 제2상체장착밸트, 및 사용자의 상체를 감싼 상기 제1상체장착밸트와 제2상체장착밸트를 상호 고정시키기 위한 상체장착고정부,를 포함한다.And the upper body mounting portion includes a first upper body mounting belt provided in the central portion of one side of the upper body support portion, a second upper body mounting belt provided in the central portion of the other side of the upper body supporting portion, and the first upper body mounting belt and a second upper body mounting belt surrounding the user's upper body. It includes an upper body mounting fixing part for fixing the two upper body mounting belts to each other.

또한, 상기 근력보조부는, 탄성을 갖고, 사용자의 각 다리 뒷쪽에 각각 위치되며, 하단부가 상기 하부장착부에 의해 해당 무릎부분에 장착되는 메인밸트부, 및 상기 각 메인밸트부의 상단부를 상기 상체지지부에 탈부착 가능하도록 연결시키기 위한 보조연결부,를 포함한다.In addition, the muscle strength auxiliary unit has elasticity, is located on the back of each leg of the user, a main belt unit whose lower end is mounted on the corresponding knee portion by the lower mounting unit, and an upper end of each main belt unit is attached to the upper body support unit. Includes an auxiliary connection part for attaching and detachable connection.

또한, 상기 보조연결부는, 일정 길이로, 상기 해당 메인보조부의 상단부에 고정되는 보조연결밸트, 상기 보조연결밸트가 통과되도록 상기 상체지지부에 구비되는 보조연결고리, 상기 보조연결밸트의 일면에 구비되는 보조연결벨벳, 및 상기 보조연결벨벳에 걸려지도록 상기 보조연결밸브의 단부에 구비되는 보조연결걸이,를 포함한다.In addition, the auxiliary connection part has a certain length and includes an auxiliary connection belt fixed to the upper end of the main auxiliary part, an auxiliary connection ring provided on the upper body support so that the auxiliary connection belt passes, and an auxiliary connection belt provided on one side of the auxiliary connection belt. It includes an auxiliary connection velvet, and an auxiliary connection hanger provided at an end of the auxiliary connection valve to be hung on the auxiliary connection velvet.

그리고 상기 하부장착부는, 상기 각 메인밸트부의 하단부에 일체로 분기되어 사용자의 무릎을 감싸도록 구비되는 하부장착밸트, 상기 분기된 하부장착밸트의 각 단부를 고정시키기 위한 하부고정부, 및 상기 하부고정부에 의해 고정된 상기 분기된 하부장착밸트의 각 단부를 사용자의 무릎으로 쪼이기 위한 하부쪼임부,를 포함한다.And the lower mounting part includes a lower mounting belt that is integrally branched at the lower end of each main belt portion and provided to surround the user's knee, a lower fixing part for fixing each end of the branched lower mounting belt, and the lower fixing part. It includes a lower tightening portion for tightening each end of the branched lower mounting belt fixed by the government to the user's knee.

또한, 상기 하부고정부는 벨크로이다.Additionally, the lower fixing part is Velcro.

그리고 상기 분기된 하부장착밸트는, 각 단부가 사용자의 무릎 하단부를 감싸도록 구비되고, 상기 하부쪼임부는, 무릎 하단부 안쪽을 쪼이도록 구비된다.Each end of the branched lower mounting belt is provided to surround the lower part of the user's knee, and the lower tightening part is provided to squeeze the inside of the lower part of the knee.

또한, 상기 하부쪼임부는 벨크로이다.In addition, the lower fastening part is Velcro.

그리고 상기 골반장착부는, 상기 메인밸트부 중 어느 하나에 구비되는 제1골반장착밸트, 상기 메인밸트부 중 다른 하나에 구비되는 제2골반장착밸트, 사용자의 골반을 감싼 상기 제1골반장착밸트와 제2골반장착밸트를 상호 고정시키기 위한 골반고정부, 상기 각 메인밸트부를 상호 연결하여 사이 간격을 유지시키기 위한 제2골반고정부,를 포함한다.And the pelvic mounting portion includes a first pelvic mounting belt provided in one of the main belt portions, a second pelvic mounting belt provided in another one of the main belt portions, and the first pelvic mounting belt surrounding the user's pelvis. It includes a pelvic fixing part for fixing the second pelvic mounting belts to each other, and a second pelvic fixing part for connecting each main belt part to maintain a gap between them.

또한, 상기 골반고정부는 벨크로이다.Additionally, the pelvic fixation part is Velcro.

그리고 상기 제2골반고정부는, 일정 길이를 갖고, 일단부가 상기 메인밸트부 중 어느 하나에 설치되는 제2골반고정끈, 일정 길이를 갖고, 타단부가 상기 메인밸트부 중 다른 하나에 설치되는 제2골반체결끈, 상기 제2골반고정끈의 타단부에 구비되는 제2골반체결암부, 및 상기 제2골반체결암부에 대응되도록 상기 제2골반체결끈의 일단부에 구비되는 제2골반체결수부,를 포함하고, 착용자에 맞도록 상기 제2골반체결수부의 위치를 조절한 후, 상기 제2골반체결암부에 체결시킨다.And the second pelvic fixation part is a second pelvic fixation strap that has a certain length and one end is installed in one of the main belt parts, and a second pelvic fixation strap that has a certain length and the other end is installed in another one of the main belt parts. A second pelvic fastening strap, a second pelvic fastening arm portion provided at the other end of the second pelvic fastening strap, and a second pelvic fastening arm portion provided at one end of the second pelvic fastening strap to correspond to the second pelvic fastening arm portion. , and after adjusting the position of the second pelvic fastening arm to suit the wearer, it is fastened to the second pelvic fastening arm.

또한, 상기 어깨걸이부는, 길이로 신축성을 갖고, 사용자의 어깨 중 어느 하나에 걸려지기 위한 제1어깨걸이밸트, 및 길이로 신축성을 갖고, 사용자의 어깨 중 다른 하나에 걸려지기 위한 제2어깨걸이밸트,를 포함한다.In addition, the shoulder rest portion includes a first shoulder belt having elasticity in length and being hung on one of the user's shoulders, and a second shoulder belt having elasticity in length and being hung on the other one of the user's shoulders. Includes belt.

그리고 상기 각 근력보조부와 연장되어 사용자의 발부분에 고정시키기 위한 발장착부,를 더 포함한다.And it further includes a foot mounting part that extends from each of the muscle auxiliary parts and is fixed to the user's foot.

또한, 상기 발장착부는, 상단부가 상기 각 근력보조부의 하단부에 연결되고, 하단부가 사용자의 발부근에 위치되는 발장착밸트, 사용자의 발뒷꿈치가 끼워져 발바닥을 감싸도록 내부에 발끼움공을 갖고, 발장착밸트의 하단부에 일체로 형성되는 발고정부, 및 상기 사용자의 발등을 감싸도록 발의 좌측와 우측에 위치된 상기 발고정부의 해당 부위를 쪼으기 위한 발쪼임부,를 포함한다.In addition, the foot mounting unit has an upper end connected to the lower end of each muscle auxiliary unit, a foot mounting belt whose lower end is located near the user's foot, and a foot fitting hole inside so that the user's heel is inserted and surrounds the sole of the foot, It includes a foot fixing part integrally formed at the lower end of the foot mounting belt, and a foot pinching part for pecking the corresponding portion of the foot fixing part located on the left and right sides of the foot so as to surround the instep of the user's foot.

그리고 탄성을 갖고, 상기 열매체부의 외측을 감싸 보호하며, 상기 상체지지부의 수납주머니에 설치되어 굽혀진 허리를 용이하게 펼수 있도록 지지하기 위한 허리보호장치,를 더 포함한다.It further includes a waist protection device that has elasticity, surrounds and protects the outside of the heat medium portion, and is installed in the storage pocket of the upper body support portion to support a bent waist so that it can be easily straightened.

또한, 상기 허리보호장치는, 탄성을 갖는 베이스프레임, 탄성을 갖고, 허리에 접하도록 중앙부가 볼록하게 돌출형성되어 상기 베이스프레임과의 사이에 상기 열매체부가 수용되기 위한 탄성공간부를 형성하는 탄성지지프레임, 및 상기 탄성지지프레임의 상단부와 하단부를 상기 베이스프레임에 연결시키되, 탄성지지프레임의 변형이 가능하도록 연결시키는 탄성연결부,를 포함한다.In addition, the waist protection device includes a base frame having elasticity, an elastic support frame having elasticity, a central portion of which is formed to be convexly protruding to contact the waist, and an elastic space portion for receiving the heat medium portion between the base frame and the base frame. , and an elastic connection part that connects the upper and lower ends of the elastic support frame to the base frame and allows the elastic support frame to be deformed.

그리고 사용자가 허리를 굽힐 경우, 상기 탄성연결부에 의해 탄성지지프레임이 변형되면서 베이스프레임을 따라 이동되되, 탄발력에 의해 허리를 굽혀진 반대방향으로 가압하는 상태가 유지되며, 사용자가 허리를 펼 경우, 가압상태를 유지시키는 탄성지지프레임의 탄발력에 의해 허리를 용이하게 펼 수 있도록 지지한다.When the user bends the waist, the elastic support frame is deformed by the elastic connection and moves along the base frame, but the elastic force maintains the state of pressing the waist in the opposite direction of the bent waist. When the user straightens the waist, the elastic support frame is deformed and moved along the base frame. , Supports the waist to be easily straightened by the elastic force of the elastic support frame that maintains the pressurized state.

또한, 상기 베이스프레임의 상단부는 탄성지지프레임의상단부보다 길게 형성되어 돌출되며, 상기 탄성연결부는, 상기 탄성지지프레임의 하단부와 베이스프레임의 하단부를 고정시키는 하단연결부, 및 상기 탄성지지프레임의 상단부에 구비되어 베이스프레임의 상단부를 따라 이동 가능하게 연결되는 상단연결부,를 포함한다.In addition, the upper end of the base frame is formed to be longer and protrudes than the upper end of the elastic support frame, and the elastic connection part includes a lower end connection part that secures the lower end of the elastic support frame and the lower end of the base frame, and a lower end part of the elastic support frame. It includes an upper connection part that is provided and movably connected along the upper part of the base frame.

그리고 상기 상단연결부는, 상기 베이스프에임의 상단부에 길이방향으로 길게 형성된 상단가이드공, 상기 탄성지지프레임의 상단부에 돌출형성되어 상기 상단가이드공에 관통형성되는 상단가이드돌기, 및 상기 상단가이드공에 관통형성된 상단가이드돌기에 체결되어 이탈되는 것을 방지하기 위한 상단너트,를 포함한다.And the upper connection part includes an upper guide hole formed long in the longitudinal direction at the upper end of the base frame, an upper guide protrusion protruding from the upper end of the elastic support frame and penetrating the upper guide hole, and the upper guide hole. It includes an upper nut that is fastened to the penetrating upper guide protrusion to prevent it from coming off.

그리고 변형되는 상기 탄성지지프레임에 의해 변형되는 탄성공간부에 위치된 열매체의 일부가 이동되어 열매체가 파손되는 것을 방지하기 위한 열매체보호부,를 더 포함한다.It further includes a heat medium protection unit for preventing the heat medium from being damaged due to movement of a portion of the heat medium located in the elastic space portion deformed by the deformable elastic support frame.

또한, 상기 열매체보호부는, 상기 베이스프레임의 양측단부 중간부에 각각 형성되는 설치공간부, 유연성을 갖고, 각 상기 설치공간부에 구비되는 보호프레임, 및 신축성을 갖고, 상기 보호프레임을 베이스프레임에 결합시키기 위한 보호천,을 포함한다.In addition, the heat medium protection unit includes an installation space formed in the middle of both ends of the base frame, a protection frame that is flexible and provided in each installation space, and has elasticity, and attaches the protection frame to the base frame. Includes protective cloth for bonding.

그리고 상기 보호천은 설치공간부 전체를 덮도록 구비되고, 상기 보호프레임은, 일정 면적을 갖는 단위체로, 상기 보호천을 따라 복수 설치된다.The protective cloth is provided to cover the entire installation space, and the protective frame is a unit having a certain area and is installed in plural numbers along the protective cloth.

또한, 상기 단위체는, 인접한 다른 단위체와 단위연결부에 의해 연결되되, 상기 탄성지지프레임이 변형되어 열매체가 이동될 경우, 상기 보호천이 늘어가면서 상기 단위연결부가 분리되어 이동된 열매체 일부가 위치되 공간이 형성되며, 상기 탄성지지프레임이 원위치될 경우, 보호천의 신축성에 의해 단위연결부가 결합되어 원위치된다.In addition, the unit is connected to other adjacent units by a unit connection, but when the elastic support frame is deformed and the heat medium is moved, the protective cloth is stretched and the unit connection is separated, creating a space where a part of the moved heat medium is located. It is formed, and when the elastic support frame is returned to its original position, the unit connections are combined and returned to its original position by the elasticity of the protective cloth.

그리고 상기 단위연결부는, 어느 하나의 단위체에 돌출형성되는 제1연결고리, 및 상기 제1연결고리에 걸리도록 인접한 다른 단위체에 돌출형성되는 제2연결고리,를 포함한다.And the unit connecting portion includes a first connecting ring protruding from one unit, and a second connecting ring protruding from another adjacent unit so as to be caught by the first connecting ring.

상기한 바와 같이, 본 발명에 의한 체온 조절 가능한 웨어러블 보호대에 의하면, 물건을 들어올리기 위해 허리 또는 상체를 굽혔을 경우, 탄발력에 의해 용이하게 몸을 세울 수 있도록 근골격계를 보조할 수 있어 근육통 등의 안전사고를 방지 및 최소화시킬 수 있으며, 사용자의 체온을 용이한 작업을 위한 온도로 유지시킬 수 있어 작업효율성을 향상시킬 수 있게 하는 매우 유용하고 효과적인 발명이다.As described above, according to the wearable protector capable of controlling body temperature according to the present invention, when the waist or upper body is bent to lift an object, the musculoskeletal system can be assisted to easily stand up by elastic force, thereby reducing muscle pain, etc. It is a very useful and effective invention that can prevent and minimize safety accidents and improve work efficiency by maintaining the user's body temperature at a temperature for easy work.

도 1은 본 발명에 따른 웨어러블 보호대를 도시한 도면이고,
도 2는 본 발명에 따른 열매체부를 도시한 도면이며,
도 3은 본 발명에 따른 근력보조부와 하부장착부, 골반장착부를 도시한 도면이고,
도 4는 본 발명에 따른 골반장착부의 제2골반고정부를 도시한 도면이며,
도 5는 본 발명에 따른 어깨걸이부와 상체장착부를 도시한 도면이고,
도 6은 본 발명에 따른 웨어러블 보호대에 더 구비되는 허리보호장치를 도시한 도면이며,
도 7은 본 발명에 따른 허리보호장치의 상단연결부를 도시한 도면이고,
도 8은 본 발명에 따른 허리보호장치에 열매체보호부가 더 구비된 상태를 도시한 도면이며,
도 9는 본 발명에 따른 열매체보호부의 다른 실시 예를 도시한 도면이고,
도 10a는 본 발명에 따른 웨어러블 보호대의 하부장착부를 도시한 도면이며,
도 10b는 본 발명에 따른 웨어러블 보호대에 더 구비된 발장착부를 도시한 도면이다.
1 is a diagram showing a wearable protector according to the present invention,
Figure 2 is a diagram showing a heat medium unit according to the present invention,
Figure 3 is a diagram showing the muscle auxiliary part, lower mounting part, and pelvic mounting part according to the present invention;
Figure 4 is a diagram showing the second pelvic fixation part of the pelvic mounting part according to the present invention;
Figure 5 is a diagram showing the shoulder rest and upper body mounting part according to the present invention;
Figure 6 is a diagram showing a waist protection device further provided in the wearable protector according to the present invention;
Figure 7 is a diagram showing the upper connection part of the waist protection device according to the present invention;
Figure 8 is a diagram showing a state in which the waist protection device according to the present invention is further provided with a heat medium protection unit;
Figure 9 is a diagram showing another embodiment of the heat medium protection unit according to the present invention,
Figure 10a is a diagram showing the lower mounting portion of the wearable protector according to the present invention;
Figure 10b is a diagram showing a foot mounting portion further provided in the wearable protector according to the present invention.

이하, 본 발명에 따른 바람직한 실시 형태를 첨부된 도면을 참조하여 상세하게 설명한다. 첨부된 도면과 함께 이하에 개시될 상세한 설명은 본 발명의 예시적인 실시형태를 설명하고자 하는 것이며, 본 발명이 실시될 수 있는 유일한 실시형태를 나타내고자 하는 것이 아니다. 이하의 상세한 설명은 본 발명의 완전한 이해를 제공하기 위해서 구체적 세부사항을 포함한다. 그러나, 본 발명이 속하는 기술분야에서 통상의 지식을 가진 자는 본 발명이 이러한 구체적 세부사항 없이도 실시될 수 있음을 안다.Hereinafter, preferred embodiments according to the present invention will be described in detail with reference to the attached drawings. The detailed description set forth below in conjunction with the accompanying drawings is intended to illustrate exemplary embodiments of the invention and is not intended to represent the only embodiments in which the invention may be practiced. The following detailed description includes specific details to provide a thorough understanding of the invention. However, those skilled in the art will recognize that the present invention may be practiced without these specific details.

몇몇 경우, 본 발명의 개념이 모호해지는 것을 피하기 위하여 공지의 구조 및 장치는 생략되거나, 각 구조 및 장치의 핵심기능을 중심으로 한 블록도 형식으로 도시될 수 있다.In some cases, in order to avoid ambiguity of the concept of the present invention, well-known structures and devices may be omitted or may be shown in block diagram form focusing on the core functions of each structure and device.

명세서 전체에서, 어떤 부분이 어떤 구성요소를 "포함(comprising 또는 including)"한다고 할 때, 이는 특별히 반대되는 기재가 없는 한 다른 구성요소를 제외하는 것이 아니라 다른 구성요소를 더 포함할 수 있는 것을 의미한다. 또한, 명세서에 기재된 "…부"의 용어는 적어도 하나의 기능이나 동작을 처리하는 단위를 의미한다. 또한, "일(a 또는 an)", "하나(one)", "그(the)" 및 유사 관련어는 본 발명을 기술하는 문맥에 있어서(특히, 이하의 청구항의 문맥에서) 본 명세서에 달리 지시되거나 문맥에 의해 분명하게 반박되지 않는 한, 단수 및 복수 모두를 포함하는 의미로 사용될 수 있다.Throughout the specification, when a part is said to “comprise or include” a certain element, this means that it does not exclude other elements but may further include other elements, unless specifically stated to the contrary. do. Additionally, the term “… unit” used in the specification refers to a unit that processes at least one function or operation. In addition, the terms "a or an", "one", "the", and similar related terms are used in the context of describing the invention (particularly in the context of the claims below) as used herein. It may be used in both singular and plural terms, unless indicated otherwise or clearly contradicted by context.

본 발명의 실시예들을 설명함에 있어서 공지 기능 또는 구성에 대한 구체적인 설명이 본 발명의 요지를 불필요하게 흐릴 수 있다고 판단되는 경우에는 그 상세한 설명을 생략할 것이다. 그리고 후술되는 용어들은 본 발명의 실시예에서의 기능을 고려하여 정의된 용어들로서 이는 사용자, 운용자의 의도 또는 관례 등에 따라 달라질 수 있다. 그러므로 그 정의는 본 명세서 전반에 걸친 내용을 토대로 내려져야 할 것이다.In describing embodiments of the present invention, if a detailed description of a known function or configuration is judged to unnecessarily obscure the gist of the present invention, the detailed description will be omitted. The terms described below are terms defined in consideration of functions in the embodiments of the present invention, and may vary depending on the intention or custom of the user or operator. Therefore, the definition should be made based on the contents throughout this specification.

이하, 본 발명의 바람직한 실시 예를 첨부된 도면을 참조하여 설명한다.Hereinafter, preferred embodiments of the present invention will be described with reference to the attached drawings.

도 1은 본 발명에 따른 웨어러블 보호대를 도시한 도면이고, 도 2는 본 발명에 따른 열매체부를 도시한 도면이며, 도 3은 본 발명에 따른 근력보조부와 하부장착부, 골반장착부를 도시한 도면이고, 도 4는 본 발명에 따른 골반장착부의 제2골반고정부를 도시한 도면이며, 도 5는 본 발명에 따른 어깨걸이부와 상체장착부를 도시한 도면이고, 도 6은 본 발명에 따른 웨어러블 보호대에 더 구비되는 허리보호장치를 도시한 도면이며, 도 7은 본 발명에 따른 허리보호장치의 상단연결부를 도시한 도면이고, 도 8은 본 발명에 따른 허리보호장치에 열매체보호부가 더 구비된 상태를 도시한 도면이며, 도 9는 본 발명에 따른 열매체보호부의 다른 실시 예를 도시한 도면이고, 도 10a는 본 발명에 따른 웨어러블 보호대의 하부장착부를 도시한 도면이며, 도 10b는 본 발명에 따른 웨어러블 보호대에 더 구비된 발장착부를 도시한 도면이다.Figure 1 is a diagram showing a wearable protector according to the present invention, Figure 2 is a diagram showing a heat medium part according to the present invention, Figure 3 is a diagram showing a muscle auxiliary part, a lower mounting part, and a pelvic mounting part according to the present invention, Figure 4 is a diagram showing the second pelvic fixing part of the pelvic mounting part according to the present invention, Figure 5 is a diagram showing the shoulder rest and upper body mounting part according to the present invention, and Figure 6 is a diagram showing the wearable protector according to the present invention. It is a diagram showing a waist protection device further provided, and Figure 7 is a diagram showing the upper connection part of the waist protection device according to the present invention, and Figure 8 is a state in which the heat medium protection part is further provided in the waist protection device according to the present invention. It is a drawing showing another embodiment of the heat medium protection unit according to the present invention, Figure 10a is a drawing showing a lower mounting part of the wearable protector according to the present invention, and Figure 10b is a drawing showing a wearable protector according to the present invention. This is a drawing showing a foot mounting portion further provided on the protector.

도면에서 도시한 바와 같이, 체온 조절 가능한 웨어러블 보호대(10)는 상체지지부(100)와 근력보조부(200), 어깨걸이부(300), 상체장착부(120), 하부장착부(400), 골반장착부(500) 및 열매체부(640)를 포함한다.As shown in the drawing, the wearable protector 10 capable of controlling body temperature includes an upper body support part 100, a muscle auxiliary part 200, a shoulder rest part 300, an upper body mounting part 120, a lower mounting part 400, and a pelvic mounting part ( 500) and a heat medium unit 640.

상체지지부(100)는 유연성을 갖는 재질로 일정 면적으로 제작되며, 사용자의 등과 허리에 위치되고, 내부에 하측으로 개방된 설치공간부(110)가 형성된다.The upper body support unit 100 is made of a flexible material and has a certain area, is located on the user's back and waist, and has an installation space 110 open downwardly therein.

이 상체지지부(100)는 복수의 통기공(102)이 형성되어 사용자의 등을 식혀주거나 땀을 배출 및 건조시킬 수 있다.This upper body support unit 100 is formed with a plurality of ventilation holes 102 to cool the user's back or to discharge and dry sweat.

그리고 근력보조부(200)는 한 쌍으로, 탄발력에 의해 사용자의 굽혀진 상체를 세워주도록 상단부가 상체지지부(100)에 연결되고, 하단부가 사용자의 각 다리 뒷쪽으로 위치된다.And the muscle strength auxiliary unit 200 is a pair, the upper part of which is connected to the upper body support unit 100 to support the user's bent upper body by elastic force, and the lower part is located behind each leg of the user.

어깨걸이부(300)는 한 쌍으로, 사용자의 각 팔이 끼워져 상체지지부(100)를 장착하기 위해 구비되는 것으로, 사용자의 어깨에 장착시킨다.The shoulder rest units 300 are a pair, and are provided so that each arm of the user is inserted into the upper body support unit 100, and are mounted on the user's shoulders.

또한 상체장착부(120)는 상체지지부(100)를 사용자의 상체에 고정시키기 위해 구비된다.Additionally, the upper body mounting unit 120 is provided to secure the upper body support unit 100 to the user's upper body.

하부장착부(400)는 각 근력보조부(200)를 사용자의 무릎부분에 고정시키기 위해 구비된다.The lower mounting unit 400 is provided to secure each muscle auxiliary unit 200 to the user's knee.

그리고 골반장착부(500)는 해당 근력보조부(200)를 사용자의 골반에 고정시키기 위해 구비된다.And the pelvic mounting unit 500 is provided to fix the muscle auxiliary unit 200 to the user's pelvis.

열매체부(640)는 상체지지부(100)의 설치공간부(110)에 장착가능하며, 보온 또는 보냉상태를 유지시키기 위해 구비된다.The heat medium unit 640 can be mounted on the installation space 110 of the upper body support unit 100 and is provided to maintain a warm or cold insulation state.

이러한 체온 조절 가능한 웨어러블 보호대(10)의 작동상태를 살펴보면, 사용자가 장착 후, 허리 또는 상체를 굽힐 경우, 인장된 후, 탄발력에 의해 상체나 허리를 용이하게 펼수 있어 물건을 용이하게 들어올릴 수 있고, 신체를 보호할 수 있다.Looking at the operating state of this temperature-adjustable wearable protector (10), when the user bends the waist or upper body after wearing it, the upper body or waist can be easily stretched by elastic force after being tensioned, allowing the user to easily lift an object. Yes, it can protect the body.

특히, 열매체부(640)에 의해 사용자의 체온을 일하기 적당한 온도로 유지시킬 수 있어 작업효율을 더욱 향상시킬 수 있다.In particular, the heat medium unit 640 can maintain the user's body temperature at an appropriate temperature for working, thereby further improving work efficiency.

이를 위한, 열매체부(640)는 도 2에서 도시한 바와 같이, 캡슐(642)과 열매체주머니(644)를 포함한다.For this purpose, the heat medium portion 640 includes a capsule 642 and a heat medium bag 644, as shown in FIG. 2.

캡슐(642)은 탄성을 갖는 구형상으로 복수 형성되며, 열매체가 각각 수납된다.A plurality of capsules 642 are formed in an elastic spherical shape and each accommodates a heat medium.

그리고 열매체주머니(644)는 탄성을 갖고 캡슐(642)들이 충진되며, 설치공간부(110)에 삽입된다.And the heat medium bag 644 has elasticity, is filled with capsules 642, and is inserted into the installation space 110.

이 열매체주머니(644)는 전면부가 사용자의 허리에 접하도록 중앙부가 볼록하게 돌출형성된다.The heat medium bag 644 is formed to have a convex central portion so that the front portion is in contact with the user's waist.

이에, 사용자의 체온과 열교환될 수 있어 피로도를 절감시키고, 작업효율을 향상시킬 수 있다.Accordingly, heat can be exchanged with the user's body temperature, thereby reducing fatigue and improving work efficiency.

그리고 근력보조부(200)는 도 3에서 도시한 바와 같이, 메인밸트부(210)와 보조연결부(220)를 포함한다.And, as shown in FIG. 3, the muscle auxiliary unit 200 includes a main belt unit 210 and an auxiliary connection unit 220.

메인밸트부(210)는 탄성을 갖고, 사용자의 각 다리 뒷쪽에 각각 위치되며, 하단부가 하부장착부(400)에 의해 해당 무릎부분에 장착된다.The main belt portion 210 has elasticity and is located on the back of each leg of the user, and the lower end is mounted on the corresponding knee portion by the lower mounting portion 400.

그리고 보조연결부(220)는 각 메인밸트부(210)의 상단부를 상체지지부(100)에 탈부착 가능하도록 연결시키기 위해 구비된다.And the auxiliary connection part 220 is provided to connect the upper end of each main belt part 210 to the upper body support part 100 in a detachable manner.

여기서, 보조연결부(220)는 보조연결밸트(222)와 보조연결고리(224), 보조연결벨벳(226) 및 보조연결걸이(228)를 포함한다.Here, the auxiliary connection part 220 includes an auxiliary connection belt 222, an auxiliary connection ring 224, an auxiliary connection velvet 226, and an auxiliary connection hanger 228.

보조연결밸트(222)는 일정 길이로, 해당 메인밸트부(210)의 상단부에 고정된다.The auxiliary connection belt 222 has a certain length and is fixed to the upper part of the main belt part 210.

또한 보조연결고리(224)는 보조연결밸트(222)가 통과되도록 상체지지부(100)에 구비된다.Additionally, the auxiliary connection ring 224 is provided on the upper body support portion 100 to allow the auxiliary connection belt 222 to pass through.

보조연결벨벳(226)은 보조연결밸트(222)의 일면에 구비된다.The auxiliary connection velvet 226 is provided on one side of the auxiliary connection belt 222.

그리고 보조연결걸이(228)는 보조연결벨벳(226)에 걸려지도록 보조연결밸브(222)의 단부에 구비된다.And the auxiliary connection hanger 228 is provided at the end of the auxiliary connection valve 222 so as to be hung on the auxiliary connection velvet 226.

또한 하부장착부(400)는 하부장착밸트(410)와 하부고정부(420) 및 하부쪼임부(430)를 포함한다.Additionally, the lower mounting portion 400 includes a lower mounting belt 410, a lower fixing portion 420, and a lower tightening portion 430.

하부장착밸트(410)는 각 메인밸트부(100)의 하단부에 일체로 분기되어 사용자의 무릎을 감싸도록 구비된다.The lower mounting belt 410 is integrally branched at the lower end of each main belt portion 100 to surround the user's knees.

그리고 하부고정부(420)는 분기된 하부장착밸트(410)의 각 단부를 고정시키기 위해 구비된다.And the lower fixing part 420 is provided to fix each end of the branched lower mounting belt 410.

하부쪼임부(430)는 하부고정부(420)에 의해 고정된 분기된 하부장착밸트(410)의 각 단부를 사용자의 무릎으로 쪼이기 위해 구비된다.The lower tightening part 430 is provided to tighten each end of the branched lower mounting belt 410 fixed by the lower fixing part 420 to the user's knee.

여기서, 하부고정부(420)는 벨크로로, 벨벳과 고리가 분기된 각 하부장착밸트(410)에 각각 형성된다.Here, the lower fixing part 420 is made of Velcro and is formed on each lower mounting belt 410 in which velvet and rings are branched.

그리고 분기된 하부장착밸트(410)는 각 단부가 사용자의 무릎 하단부를 감싸도록 구비되고, 하부쪼임부(430)는 무릎 하단부 안쪽을 쪼이도록 구비된다.Each end of the branched lower mounting belt 410 is provided to surround the lower part of the user's knee, and the lower tightening part 430 is provided to tighten the inside of the lower part of the knee.

이를 위한, 하부쪼임부(430)는 벨크로, 벨벳과 고리가 하부고정부(420)에 의해 고정된 분기된 각 하부장착밸트(410)의 각단부를 무릎 하단부 안쪽으로 쪼여 더욱 견고하게 장착시킬 수 있다.For this purpose, the lower fastening part 430 can be installed more firmly by fastening each end of each branched lower mounting belt 410, where Velcro, velvet and loops are fixed by the lower fixing part 420, to the inside of the lower part of the knee. .

그리고 골반장착부(500)는 제1골반장착밸트(510)와 제2골반장착밸트(520), 골반고정부(530) 및 제2골반고정부(540)를 포함한다.And the pelvic mounting part 500 includes a first pelvic mounting belt 510, a second pelvic mounting belt 520, a pelvic fixing part 530, and a second pelvic fixing part 540.

제1골반장착밸트(510)는 메인밸트부(100) 중 어느 하나에 구비된다.The first pelvic mounting belt 510 is provided on one of the main belt parts 100.

또한 제2골반장착밸트(520)는 메인밸트부(100) 중 다른 하나에 구비된다.Additionally, the second pelvic mounting belt 520 is provided on the other one of the main belt parts 100.

골반고정부(530)는 사용자의 골반을 감싼 제1골반장착밸트(510)와 제2골반장착밸트(520)를 상호 고정시키기 위해 구비된다.The pelvic fixing unit 530 is provided to mutually fix the first pelvic mounting belt 510 and the second pelvic mounting belt 520 surrounding the user's pelvis.

그리고 제2골반고정부(540)는 각 메인밸트부(100)를 상호 연결하여 사이 간격을 유지시키기 위해 구비된다.And the second pelvic fixing part 540 is provided to connect each main belt part 100 to each other and maintain the gap between them.

여기서, 골반고정부(530)는 벨크로로, 벨벳과 고리가 제1골반장착밸트(510)와 제2골반장착밸트(520)에 각각 구비되어 상호 고정시킨다.Here, the pelvic fixing part 530 is made of Velcro, and the velvet and loop are provided on the first pelvic mounting belt 510 and the second pelvic mounting belt 520, respectively, to fasten them to each other.

또한 제2골반고정부(540)는 도 4에서 도시한 바와 같이, 제2골반고정끈(542)과 제2골반체결끈(544), 제2골반체결암부(546) 및 제2골반체결수부(548)를 포함한다.In addition, as shown in FIG. 4, the second pelvic fixing unit 540 includes a second pelvic fixing strap 542, a second pelvic fastening strap 544, a second pelvic fastening arm portion 546, and a second pelvic fastening hand portion. Includes (548).

제2골반고정끈(542)은 일정 길이를 갖고, 일단부가 메인밸트부(100) 중 어느 하나에 설치된다.The second pelvic fixation strap 542 has a certain length, and one end is installed on one of the main belt parts 100.

그리고 제2골반체결끈(544)은 일정 길이를 갖고, 타단부가 메인밸트부(100) 중 다른 하나에 설치된다.And the second pelvic fastening strap 544 has a certain length, and the other end is installed on another one of the main belt parts 100.

제2골반체결암부(546)는 제2골반고정끈(542)의 타단부에 구비된다.The second pelvic fastening arm portion 546 is provided at the other end of the second pelvic fixation strap 542.

또한 제2골반체결수부(548)는 제2골반체결암부(546)에 대응되도록 제2골반체결끈(544)의 일단부에 구비된다.Additionally, the second pelvic fastening arm portion 548 is provided at one end of the second pelvic fastening strap 544 to correspond to the second pelvic fastening arm portion 546.

이러한 제2골반고정부(540)의 작동상태를 살펴보면, 착용자에 맞도록 제2골반체결수부(548)의 위치를 조절한 후, 제2골반체결암부(546)에 체결시킨다.Looking at the operating state of the second pelvic fastener 540, the position of the second pelvic fastener 548 is adjusted to suit the wearer, and then fastened to the second pelvic fastener arm 546.

그리고 어깨걸이부(300)는 도 5에서 도시한 바와 같이, 제1어깨걸이밸트(310)와 제2어깨걸이밸트(320)를 포함한다.And, as shown in FIG. 5, the shoulder rest portion 300 includes a first shoulder belt 310 and a second shoulder belt 320.

제1어깨걸이밸트(310)는 길이로 신축성을 갖고, 사용자의 어깨 중 어느 하나에 걸려지기 위해 구비된다.The first shoulder belt 310 has elasticity in length and is provided to be hung on one of the user's shoulders.

또한 제2어깨걸이밸트(320)는 길이로 신축성을 갖고, 사용자의 어깨 중 다른 하나에 걸려지기 위해 구비된다.Additionally, the second shoulder belt 320 has elasticity in length and is provided to be hung on the other one of the user's shoulders.

그리고 상체장착부(120)는 제1상체장착밸트(122)와 제2상체장착밸트(124) 및 상체장착고정부(126)를 포함한다.And the upper body mounting portion 120 includes a first upper body mounting belt 122, a second upper body mounting belt 124, and an upper body mounting fixing portion 126.

제1상체장착밸트(122)는 상체지지부(100)의 일측 중앙부에 구비되고, 제2상체장착밸트(124)는 상체지지부(100)의 타측 중앙부에 구비된다.The first upper body mounting belt 122 is provided in the central portion of one side of the upper body support portion 100, and the second upper body mounting belt 124 is provided in the central portion of the other side of the upper body support portion 100.

또한 상체장착고정부(126)는 사용자의 상체를 감싼 제1상체장착밸트(122)와 제2상체장착밸트(124)를 상호 고정시키기 위해 구비된다.Additionally, the upper body mounting fixing part 126 is provided to mutually fix the first upper body mounting belt 122 and the second upper body mounting belt 124 surrounding the user's upper body.

이 상체장착고정부(126)는 제1상체장착밸트(122)와 제2상체장착밸트(124)의 상호 접하는 단부를 상호 탈부착시킬 수 있는 것으로, 사용자의 신체에 맞도록 조절됨이 당연하다.This upper body mounting fixing part 126 is capable of attaching and detaching the ends of the first upper body mounting belt 122 and the second upper body mounting belt 124 from each other, and is naturally adjusted to suit the user's body.

그리고 열매체부(640)가 위치되는 상체지지부(100)에는 온도에 따라 색상이 변하는 온도확인부(130)가 더 구비된다.And the upper body support part 100 where the heat medium part 640 is located is further provided with a temperature confirmation part 130 whose color changes depending on the temperature.

이 온도확인부(130)는 시온시약을 코팅 또는 분사에 의해 도포된다.This temperature check unit 130 is applied by coating or spraying the Zion reagent.

이에, 열매체부(640)의 온도를 육안으로 용이하게 확인하여 교체 여부 등의 신속한 대응을 유도할 수 있다.Accordingly, it is possible to easily check the temperature of the heat medium portion 640 with the naked eye, leading to prompt response, such as whether to replace it.

그리고 체온 조절 가능한 웨어러블 보호대(10)는 도 6에서 도시한 바와 같이, 허리보호장치(600)를 더 포함한다.And the wearable protector 10 capable of controlling body temperature further includes a waist protection device 600, as shown in FIG. 6.

이 허리보호장치(600)는 탄성을 갖고, 상체지지부(100)에 구비되어 굽혀진 허리를 용이하게 펼수 있도록 지지하기 위해 구비된다.This waist protection device 600 has elasticity and is provided on the upper body support unit 100 to support the bent waist so that it can be easily straightened.

이러한 허리보호장치(600)는 베이스프레임(610)과 탄성지지프레임(620), 탄성연결부(630)를 포함한다.This waist protection device 600 includes a base frame 610, an elastic support frame 620, and an elastic connection part 630.

베이스프레임(610)은 탄성을 갖는 것으로, 길게 형성된 판형상이다.The base frame 610 is elastic and has a long plate shape.

그리고 탄성지지프레임(620)은 탄성을 갖고, 허리에 접하도록 중앙부가 볼록하게 돌출형성되어 베이스프레임(610)과의 사이에 탄성공간부를 형성한다.Additionally, the elastic support frame 620 has elasticity and has a central portion that protrudes convexly to contact the waist, thereby forming an elastic space between the elastic support frame 610 and the base frame 610.

탄성연결부(630)는 탄성지지프레임(620)의 상단부와 하단부를 베이스프레임(610)에 연결시키되, 탄성지지프레임(620)의 변형이 가능하도록 연결시킨다.The elastic connection part 630 connects the upper and lower ends of the elastic support frame 620 to the base frame 610, and connects the elastic support frame 620 so that it can be deformed.

여기서, 허리보호장치(600)의 탄성공간부에 열매체부(640)가 위치된다.Here, the heat medium portion 640 is located in the elastic space portion of the waist protection device 600.

이에, 사용자가 허리를 굽힐 경우, 탄성연결부(630)에 의해 탄성지지프레임(620)이 변형되면서 베이스프레임(610)을 따라 이동되되, 탄발력에 의해 허리를 굽혀진 반대방향으로 가압하는 상태가 유지된다.Accordingly, when the user bends the waist, the elastic support frame 620 is deformed by the elastic connection portion 630 and moves along the base frame 610, but is pressed in the opposite direction to the bent waist by the elastic force. maintain.

이에, 사용자가 허리를 펼 경우, 가압상태를 유지시키는 탄성지지프레임(620)의 탄발력에 의해 허리를 용이하게 펼 수 있도록 지지한다.Accordingly, when the user unfolds the waist, the elastic force of the elastic support frame 620 that maintains the pressed state supports the waist so that the waist can be easily expanded.

여기서, 베이스프레임(610)의 상단부는 탄성지지프레임(620)의 상단부보다 길게 형성되어 돌출되어 변형되는 탄성지지프레임(620)이 변형될 수 있는 공간을 제공한다.Here, the upper end of the base frame 610 is formed to be longer than the upper end of the elastic support frame 620 and protrudes to provide a space in which the deformed elastic support frame 620 can be deformed.

그리고 탄성연결부(630)는 하단연결부(632)와 상단연결부(634)를 포함한다.And the elastic connection part 630 includes a lower connection part 632 and an upper connection part 634.

하단연결부(632)는 탄성지지프레임(620)의 하단부와 베이스프레임(610)의 하단부를 고정시킨다.The lower connection part 632 fixes the lower end of the elastic support frame 620 and the lower end of the base frame 610.

또한 상단연결부(634)는 탄성지지프레임(620)의 상단부에 구비되어 베이스프레임(610)의 상단부를 따라 이동 가능하게 연결된다.In addition, the upper connection part 634 is provided at the upper end of the elastic support frame 620 and is movably connected along the upper end of the base frame 610.

이에, 탄성지지프레임(620)이 변형될 수 있는 공간을 제공한다.Accordingly, a space in which the elastic support frame 620 can be deformed is provided.

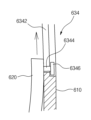
이러한 상단연결부(634)는 도 7에서 도시한 바와 같이, 상단가이드공(6342)과 상단가이드돌기(6344) 및 상단너트(6346)를 포함한다.As shown in FIG. 7, this upper connection portion 634 includes an upper guide hole 6342, an upper guide protrusion 6344, and an upper nut 6346.

상단가이드공(6342)은 베이스프레임(610)의 상단부에 길이방향으로 길게 형성된다.The upper guide hole 6342 is formed to be long in the longitudinal direction at the upper end of the base frame 610.

이 상단가이드공(6342)은 적어도 두 개 이상 형성되어 변형되는 탄성지지프레임(620)이 기울어짐없이 용이하게 이동될 수 있도록 가이드함이 바람직하다.It is desirable that at least two upper guide holes 6342 are formed to guide the deformable elastic support frame 620 so that it can be easily moved without tilting.

그리고 상단가이드돌기(6344)는 탄성지지프레임(620)의 상단부에 돌출형성되어 상단가이드공(6342)에 관통형성된다.And the upper guide protrusion 6344 protrudes from the upper end of the elastic support frame 620 and penetrates the upper guide hole 6342.

상단너트(6346)는 상단가이드공(6342)에 관통형성된 상단가이드돌기(6344)에 체결되어 이탈되는 것을 방지하기 위해 구비된다.The top nut 6346 is fastened to the top guide protrusion 6344 formed through the top guide hole 6342 to prevent it from coming off.

여기서, 상단너트(6346)는 베이스프레임(610)의 후면보다 돌출되지 않도록 함몰되도록 위치됨이 바람직하다.Here, the top nut 6346 is preferably positioned to be recessed so as not to protrude beyond the rear of the base frame 610.

그리고 열매체(640)는 탄성을 갖는 구형상의 캡슐(642)에 수납되고, 캡슐(642)은 탄성을 갖는 주머니(644)에 복수 수납된다.The heat medium 640 is stored in an elastic spherical capsule 642, and a plurality of capsules 642 are stored in an elastic bag 644.

여기서, 보온 보냉 가능한 허리보호장치(600)는 도 8에서 도시한 바와 같이, 열매체보호부(650)를 더 포함한다.Here, the waist protection device 600 capable of keeping warm or cold further includes a heat medium protection unit 650, as shown in FIG. 8.

열매체보호부(650)는 변형되는 탄성지지프레임(620)에 의해 변형되는 탄성공간부에 위치된 열매체(640)의 일부가 이동되어 열매체(640)가 파손되는 것을 방지하기 위해 구비된다.The heat medium protection unit 650 is provided to prevent the heat medium 640 from being damaged due to movement of a portion of the heat medium 640 located in the elastic space deformed by the deformed elastic support frame 620.

이러한 열매체보호부(650)는 설치공간부(652)와 보호프레임(654) 및 보호천(656)을 포함한다.This heat medium protection unit 650 includes an installation space 652, a protection frame 654, and a protection cloth 656.

설치공간부(652)는 베이스프레임(610)의 양측단부 중간부에 각각 형성된다.The installation space 652 is formed in the middle of both ends of the base frame 610, respectively.

그리고 보호프레임(654)은 유연성을 갖고, 각 설치공간부(652)에 구비된다.And the protective frame 654 is flexible and is provided in each installation space 652.

보호천(656)은 신축성을 갖고, 보호프레임(654)을 베이스프레임(610)에 결합시키기 위해 구비된다.The protective cloth 656 has elasticity and is provided to couple the protective frame 654 to the base frame 610.

이에, 탄성지지프레임(620)에 의해 변형에 의해 열매체(640)의 캡슐(642)들이 열매체보호부(650) 방향으로 이동되면서 보호천(656)이 늘어남에 따라, 공간이 확보된다.Accordingly, the capsules 642 of the heat medium 640 are moved in the direction of the heat medium protection unit 650 due to deformation by the elastic support frame 620 and the protective cloth 656 is stretched, thereby securing space.

한편, 도 9에서 도시한 바와 같이, 보호천(656)은 설치공간부(652) 전체를 덮도록 구비되고, 보호프레임(654)은 일정 면적을 갖는 단위체(654a)로, 보호천(656)을 따라 복수 설치된다.Meanwhile, as shown in FIG. 9, the protective cloth 656 is provided to cover the entire installation space 652, and the protective frame 654 is a unit 654a with a certain area, and the protective cloth 656 Multiple installations follow.

이 단위체(654a)는 상호 일정 간격으로 이격되록 설치되거나 상호 연결되게 설치된다.These units 654a are installed to be spaced apart from each other at regular intervals or are installed to be connected to each other.

후자의 경우, 인접한 다른 단위체와 단위연결부(658)에 의해 연결되되, 탄성지지프레임(620)이 변형되어 열매체(640)가 이동될 경우, 보호천(642)이 늘어나면서 단위연결부(658)가 분리된다.In the latter case, it is connected to another adjacent unit by a unit connection portion 658, but when the elastic support frame 620 is deformed and the heat medium 640 moves, the protective cloth 642 stretches and the unit connection portion 658 separated.

이에, 이동된 열매체(640) 일부가 위치될 공간이 형성되며, 탄성지지프레임(620)이 원위치될 경우, 보호천(642)의 신축성에 의해 단위연결부(658)가 결합되어 원위치된다.Accordingly, a space is formed in which a portion of the moved heat medium 640 is positioned, and when the elastic support frame 620 is returned to its original position, the unit connection portion 658 is coupled and returned to its original position by the elasticity of the protective cloth 642.

여기서, 단위연결부(658)는 제1연결고리(658a)와 제2연결고리(658b)를 포함한다.Here, the unit connection portion 658 includes a first connection ring 658a and a second connection ring 658b.

제1연결고리(658a)는 어느 하나의 단위체에 돌출형성되고, 제2연결고리(658b)는 제1연결고리(658a)에 걸리도록 인접한 다른 단위체에 돌출형성된다.The first connection ring 658a protrudes from one unit, and the second connection ring 658b protrudes from another adjacent unit so as to be caught by the first connection ring 658a.

이에, 탄성지지프레임(620)이 변형되어 열매체(640)가 이동될 경우, 보호천(642)이 늘어나면서 제1연결고리(658a)와 제2연결고리(658b)가 분리되어 각 단위체(654a)가 이격된다.Accordingly, when the elastic support frame 620 is deformed and the heat medium 640 is moved, the protective cloth 642 is stretched and the first connection ring 658a and the second connection ring 658b are separated to form each unit 654a. ) are spaced apart.

반대로, 탄성지지프레임(620)의 형상이 원위치될 경우, 보호천(642)의 탄성에 의해 제1연결고리(658a)와 제2연결고리(658b)가 결합되어 각 단위체(654a)들이 상호 결합된다.Conversely, when the shape of the elastic support frame 620 is returned to its original position, the first connection ring 658a and the second connection ring 658b are coupled by the elasticity of the protective cloth 642, so that each unit 654a is coupled to each other. do.

또한 도 10a와 10b에서 도시한 바와 같이, 근육 보조장치(10)는 발장착부(700)를 더 포함한다.Also, as shown in FIGS. 10A and 10B, the muscle assist device 10 further includes a foot mounting portion 700.

이 발장착부(700)는 각 근력보조부(200)와 연장되어 사용자의 발부분에 고정시키기 위해 구비된다.This foot mounting unit 700 extends from each muscle auxiliary unit 200 and is provided to be fixed to the user's foot.

이러한 발장착부(700)는 발장착밸트(710)와 발고정부(720) 및 발쪼임부(730)를 포함한다.This foot mounting portion 700 includes a foot mounting belt 710, a foot fixing portion 720, and a foot tightening portion 730.

발장착밸트(710)는 상단부가 각 근력보조부(200)의 하단부에 연결되고, 하단부가 사용자의 발부근에 위치된다.The upper end of the foot mounting belt 710 is connected to the lower end of each muscle auxiliary unit 200, and the lower end is located near the user's feet.

그리고 발고정부(720)는 사용자의 발뒷꿈치가 끼워져 발바닥을 감싸도록 내부에 발끼움공(722)을 갖고, 발장착밸트(710)의 하단부에 일체로 형성된다.And the foot fixing unit 720 has a foot fitting hole 722 inside so that the user's heel is inserted and surrounds the sole of the foot, and is formed integrally with the lower end of the foot mounting belt 710.

다시 말해, 발고정부(720)는 링형상으로 형성된다.In other words, the foot fixing part 720 is formed in a ring shape.

발쪼임부(730)는 사용자의 발등을 감싸도록 발의 좌측과 우측에 위치된 발고정부(720)의 해당 부위를 쪼으기 위해 구비된다.The foot pinching unit 730 is provided to peck the corresponding portions of the foot fixing unit 720 located on the left and right sides of the foot so as to surround the user's instep.

이 발쪼임부(730)는 신축성을 갖는 것으로, 하나의 띠형상으로 형성되거나 분리되어 벨크로로 탈부착될 수 있다.This foot tightening part 730 has elasticity and can be formed into a single strip shape or separated and attached and detached with Velcro.

이에, 하부장착부(400)를 보조하여 사용자의 발에 견고하게 장착시킬 수 있어 하부장착부(400)는 물론, 골반장착부(500)와 함께 견고한 장착이 가능해짐에 따라, 하측으로 가해지는 탄발력을 효과적으로 전달시킬 수 있어 근육을 보조할 수 있다.Accordingly, by assisting the lower mounting portion 400, it can be firmly mounted on the user's foot, enabling solid mounting not only with the lower mounting portion 400 but also with the pelvic mounting portion 500, thereby reducing the elastic force applied to the lower side. It can be delivered effectively to assist muscles.

이러한 발장착부(700)는 각 실시 예의 다른 구성들과 결합되어 사용됨이 당연하다.It is natural that this foot mounting unit 700 is used in combination with other components of each embodiment.

10 : 웨어러블 근골격계 보호대 100 : 상체지지부
110 : 설치공간부 120 : 상체장착부
200 : 근력보조부 300 : 어깨걸이부
400 : 하부장착부 500 : 골반장착부
10: Wearable musculoskeletal protector 100: Upper body support
110: installation space 120: upper body mounting part
200: Muscle auxiliary unit 300: Shoulder rest unit
400: lower mounting part 500: pelvic mounting part

Claims (10)

유연성을 갖는 재질로 일정 면적으로 제작되며, 사용자의 등과 허리에 위치되고, 내부에 하측으로 개방된 설치공간부가 형성되는 상체지지부;
사용자의 각 팔이 끼워져 상기 상체지지부를 어깨에 장착하기 위한 한 쌍의 어깨걸이부;
상기 상체지지부를 사용자의 상체에 고정시키기 위한 상체장착부;
탄발력에 의해 사용자의 굽혀진 상체를 세워주도록 상단부가 상기 상체지지부에 연결되고, 하단부가 사용자의 각 다리 뒷쪽으로 위치되는 근력보조부;
상기 각 근력보조부를 사용자의 무릎부분에 고정시키기 위한 하부장착부;
상기 근력보조부를 사용자의 골반에 고정시키기 위한 골반장착부; 및
상기 상체지지부의 설치공간부에 장착가능하며, 보온 또는 보냉상태를 유지시키기 위한 열매체부;를 포함하는 체온 조절 가능한 웨어러블 보호대.
An upper body support part made of a flexible material with a certain area, located on the user's back and waist, and having an installation space opened downwardly therein;
a pair of shoulder rests for each arm of the user to fit into the upper body support unit on the shoulder;
an upper body mounting portion for fixing the upper body support portion to the user's upper body;
a muscle strength auxiliary unit whose upper end is connected to the upper body support unit to support the user's bent upper body by elastic force, and whose lower end is located behind each leg of the user;
a lower mounting part for fixing each muscle auxiliary unit to the user's knee;
A pelvic mounting unit for fixing the muscle auxiliary unit to the user's pelvis; and
A wearable protector capable of controlling body temperature, including a heat medium part that can be mounted on the installation space of the upper body support part and maintains a warm or cold state.
제1항에 있어서, 상기 열매체부는,
탄성을 갖는 구형상으로, 열매체가 수납되는 복수의 캡슐; 및
탄성을 갖고 상기 캡슐들이 충진되며, 상기 수납주머니에 삽입되는 열매체주머니;를 포함하는 체온 조절 가능한 웨어러블 보호대.
The method of claim 1, wherein the heat medium unit,
A plurality of capsules having a spherical shape having elasticity and storing a heat medium; and
A wearable protector capable of controlling body temperature, including a heat medium pocket that has elasticity, is filled with the capsules, and is inserted into the storage bag.
제2항에 있어서, 상기 열매체주머니는,
전면부가 사용자의 허리에 접하도록 중앙부가 볼록하게 돌출형성되는 것을 특징으로 하는 체온 조절 가능한 웨어러블 보호대.
The method of claim 2, wherein the heat medium bag is:
A wearable protector capable of regulating body temperature, characterized in that the central part is convexly formed so that the front part is in contact with the user's waist.
제1항에 있어서, 상기 상체장착부는,
상기 상체지지부의 일측 중앙부에 구비되는 제1상체장착밸트;
상기 상체지지부의 타측 중앙부에 구비되는 제2상체장착밸트; 및
사용자의 상체를 감싼 상기 제1상체장착밸트와 제2상체장착밸트를 상호 고정시키기 위한 상체장착고정부;를 포함하는 체온 조절 가능한 웨어러블 보호대.
The method of claim 1, wherein the upper body mounting unit,
A first upper body mounting belt provided at a central portion of one side of the upper body support portion;
a second upper body mounting belt provided at the center of the other side of the upper body support unit; and
A wearable protector capable of controlling body temperature, including an upper body mounting fixing part for mutually fixing the first upper body mounting belt and the second upper body mounting belt surrounding the user's upper body.
제1항에 있어서, 상기 근력보조부는,
탄성을 갖고, 사용자의 각 다리 뒷쪽에 각각 위치되며, 하단부가 상기 하부장착부에 의해 해당 무릎부분에 장착되는 메인밸트부; 및
상기 각 메인밸트부의 상단부를 상기 상체지지부에 탈부착 가능하도록 연결시키기 위한 보조연결부;를 포함하는 체온 조절 가능한 웨어러블 보호대.
The method of claim 1, wherein the muscle auxiliary unit,
A main belt portion that has elasticity and is located on the back of each leg of the user, and the lower end is mounted on the corresponding knee portion by the lower mounting portion; and
A wearable protector capable of regulating body temperature, including an auxiliary connection part for attaching and detachably connecting the upper end of each main belt part to the upper body support part.
제5항에 있어서, 상기 보조연결부는,
일정 길이로, 상기 해당 메인보조부의 상단부에 고정되는 보조연결밸트;
상기 보조연결밸트가 통과되도록 상기 상체지지부에 구비되는 보조연결고리;
상기 보조연결밸트의 일면에 구비되는 보조연결벨벳; 및
상기 보조연결벨벳에 걸려지도록 상기 보조연결밸브의 단부에 구비되는 보조연결걸이;를 포함하는 체온 조절 가능한 웨어러블 보호대.
The method of claim 5, wherein the auxiliary connection unit,
An auxiliary connection belt of a certain length and fixed to the upper end of the main auxiliary part;
An auxiliary connection ring provided on the upper body support portion to allow the auxiliary connection belt to pass through;
An auxiliary connection velvet provided on one side of the auxiliary connection belt; and
A wearable protector capable of regulating body temperature, including an auxiliary connection hanger provided at an end of the auxiliary connection valve so as to be hung on the auxiliary connection velvet.
제6항에 있어서, 상기 하부장착부는,
상기 각 메인밸트부의 하단부에 일체로 분기되어 사용자의 무릎을 감싸도록 구비되는 하부장착밸트;
상기 분기된 하부장착밸트의 각 단부를 고정시키기 위한 하부고정부; 및
상기 하부고정부에 의해 고정된 상기 분기된 하부장착밸트의 각 단부를 사용자의 무릎으로 쪼이기 위한 하부쪼임부;를 포함하는 체온 조절 가능한 웨어러블 보호대.
The method of claim 6, wherein the lower mounting portion,
a lower mounting belt that is integrally branched at the lower end of each main belt portion and provided to surround the user's knees;
a lower fixing part for fixing each end of the branched lower mounting belt; and
A wearable protector capable of controlling body temperature, including a lower tightening part for squeezing each end of the branched lower mounting belt fixed by the lower fixing part with the user's knees.
제5항에 있어서, 상기 골반장착부는,
상기 메인밸트부 중 어느 하나에 구비되는 제1골반장착밸트;
상기 메인밸트부 중 다른 하나에 구비되는 제2골반장착밸트;
사용자의 골반을 감싼 상기 제1골반장착밸트와 제2골반장착밸트를 상호 고정시키기 위한 골반고정부; 및
상기 각 메인밸트부를 상호 연결하여 사이 간격을 유지시키기 위한 제2골반고정부;를 포함하는 체온 조절 가능한 웨어러블 보호대.
The method of claim 5, wherein the pelvic mounting unit,
A first pelvic mounting belt provided on any one of the main belt parts;
A second pelvic mounting belt provided on another one of the main belt parts;
a pelvic fixing unit for mutually fixing the first pelvic mounting belt and the second pelvic mounting belt surrounding the user's pelvis; and
A wearable protector capable of regulating body temperature, including a second pelvic fixation unit for connecting each of the main belt units to maintain a gap between them.
제1항에 있어서,
탄성을 갖고, 상기 열매체부의 외측을 감싸 보호하며, 상기 상체지지부의 수납주머니에 설치되어 굽혀진 허리를 용이하게 펼수 있도록 지지하기 위한 허리보호장치;를 더 포함하는 체온 조절 가능한 웨어러블 보호대.

상기 허리보호장치는,
탄성을 갖는 베이스프레임;
탄성을 갖고, 허리에 접하도록 중앙부가 볼록하게 돌출형성되어 상기 베이스프레임과의 사이에 상기 열매체부가 수용되기 위한 탄성공간부를 형성하는 탄성지지프레임; 및
상기 탄성지지프레임의 상단부와 하단부를 상기 베이스프레임에 연결시키되, 탄성지지프레임의 변형이 가능하도록 연결시키는 탄성연결부;를 포함하는 체온 조절 가능한 웨어러블 보호대.

제1항에 있어서,
사용자가 허리를 굽힐 경우, 상기 탄성연결부에 의해 탄성지지프레임이 변형되면서 베이스프레임을 따라 이동되되, 탄발력에 의해 허리를 굽혀진 반대방향으로 가압하는 상태가 유지되며,
사용자가 허리를 펼 경우, 가압상태를 유지시키는 탄성지지프레임의 탄발력에 의해 허리를 용이하게 펼 수 있도록 지지하는 것을 특징으로 하는 체온 조절 가능한 웨어러블 보호대.


제1항에 있어서,
상기 베이스프레임의 상단부는 탄성지지프레임의상단부보다 길게 형성되어 돌출되며,
상기 탄성연결부는,
상기 탄성지지프레임의 하단부와 베이스프레임의 하단부를 고정시키는 하단연결부; 및
상기 탄성지지프레임의 상단부에 구비되어 베이스프레임의 상단부를 따라 이동 가능하게 연결되는 상단연결부;를 포함하는 체온 조절 가능한 웨어러블 보호대.
According to paragraph 1,
A wearable protector capable of regulating body temperature, further comprising a waist protection device that has elasticity, protects the outside of the heat medium unit, and is installed in the storage pocket of the upper body support unit to support a bent waist to easily straighten.

The waist protection device is,
An elastic base frame;
An elastic support frame that has elasticity and has a central portion that protrudes convexly to contact the waist to form an elastic space between the base frame and the base frame for receiving the heat medium portion; and
A wearable protector capable of controlling body temperature, including an elastic connection part that connects the upper and lower ends of the elastic support frame to the base frame and allows the elastic support frame to be deformed.

According to paragraph 1,
When the user bends the waist, the elastic support frame is deformed by the elastic connection and moves along the base frame, but the elastic force maintains the state of pressing the waist in the opposite direction of the bending,
A wearable protector that can regulate body temperature, characterized in that it supports the user to easily unfold the waist by the elasticity of the elastic support frame that maintains the pressurized state when the user unfolds the waist.


According to paragraph 1,
The upper end of the base frame is formed to be longer and protrudes than the upper end of the elastic support frame,
The elastic connection part,
A lower connection part that secures the lower end of the elastic support frame and the lower end of the base frame; and
A wearable protector capable of controlling body temperature, including a top connection part provided at the top of the elastic support frame and movably connected along the top of the base frame.
제9항에 있어서,
변형되는 상기 탄성지지프레임에 의해 변형되는 탄성공간부에 위치된 열매체부의 일부가 이동되어 열매체부가 파손되는 것을 방지하기 위한 열매체보호부;를 더 포함하는 체온 조절 가능한 웨어러블 보호대.


상기 열매체보호부는,
상기 베이스프레임의 양측단부 중간부에 각각 형성되는 설치공간부;
유연성을 갖고, 각 상기 설치공간부에 구비되는 보호프레임; 및
신축성을 갖고, 상기 보호프레임을 베이스프레임에 결합시키기 위한 보호천;을 포함하는 체온 조절 가능한 웨어러블 보호대.



According to clause 9,
A wearable protector capable of regulating body temperature, further comprising a heat medium protection unit for preventing damage to the heat medium unit due to movement of a portion of the heat medium unit located in the elastic space portion deformed by the elastic support frame.


The heat medium protection unit,
Installation space portions formed in the middle of both ends of the base frame;
A protective frame that has flexibility and is provided in each of the installation spaces; and
A wearable protector capable of controlling body temperature, including a protective cloth having elasticity and coupling the protective frame to the base frame.



KR1020220070073A 2022-06-09 2022-06-09 Body temperature adjustable wearable protector Active KR102819109B1 (en)

Priority Applications (1)

Application Number Priority Date Filing Date Title
KR1020220070073A KR102819109B1 (en) 2022-06-09 2022-06-09 Body temperature adjustable wearable protector

Applications Claiming Priority (1)

Application Number Priority Date Filing Date Title
KR1020220070073A KR102819109B1 (en) 2022-06-09 2022-06-09 Body temperature adjustable wearable protector

Publications (2)

Publication Number Publication Date
KR20230169661A true KR20230169661A (en) 2023-12-18
KR102819109B1 KR102819109B1 (en) 2025-06-11

Family

ID=89309322

Family Applications (1)

Application Number Title Priority Date Filing Date
KR1020220070073A Active KR102819109B1 (en) 2022-06-09 2022-06-09 Body temperature adjustable wearable protector

Country Status (1)

Country Link
KR (1) KR102819109B1 (en)

Citations (6)

* Cited by examiner, † Cited by third party
Publication number Priority date Publication date Assignee Title
JP2012152366A (en) * 2011-01-26 2012-08-16 Keishu Kadoshima Work supporting device
KR20140040197A (en) * 2014-03-14 2014-04-02 최재주 Apparatus for correcting backbone
JP3199825U (en) * 2015-06-30 2015-09-10 富貴子 山村 Underwear for temperature adjustment and trimmed underwear for kimono
KR101892657B1 (en) * 2016-08-16 2018-08-28 주식회사 에프엠에스코리아 PCM package for wearing
KR102190685B1 (en) * 2020-03-13 2020-12-14 이홍열 remedying belt for spine fixing and pulling
KR20210034775A (en) * 2019-09-22 2021-03-31 (주) 솔리렉스 Wearable musculoskeletal guard

Patent Citations (6)

* Cited by examiner, † Cited by third party
Publication number Priority date Publication date Assignee Title
JP2012152366A (en) * 2011-01-26 2012-08-16 Keishu Kadoshima Work supporting device
KR20140040197A (en) * 2014-03-14 2014-04-02 최재주 Apparatus for correcting backbone
JP3199825U (en) * 2015-06-30 2015-09-10 富貴子 山村 Underwear for temperature adjustment and trimmed underwear for kimono
KR101892657B1 (en) * 2016-08-16 2018-08-28 주식회사 에프엠에스코리아 PCM package for wearing
KR20210034775A (en) * 2019-09-22 2021-03-31 (주) 솔리렉스 Wearable musculoskeletal guard
KR102190685B1 (en) * 2020-03-13 2020-12-14 이홍열 remedying belt for spine fixing and pulling

Also Published As

Publication number Publication date
KR102819109B1 (en) 2025-06-11

Similar Documents

Publication Publication Date Title
CA2961159C (en) Physiotherapeutic, ambulatory, and mobility vest
US5399153A (en) Adjustable knee support
US20040225245A1 (en) Knee brace with directional elastic
EP0735847B1 (en) Derotating orthotic devices for the correction of scoliotic deformities
US10772785B2 (en) Personal augmentation suit and method for assisted human motion
US20090227927A1 (en) Orthopedic walking brace
WO1999043275A1 (en) A cervical spinal orthosis having a movable chest plate
US5571076A (en) Vertically-applied support for the muscles and bones of the vertebral column
WO2020069149A1 (en) Ankle brace devices, systems, and methods
CN115103659A (en) Interface for an exoskeleton
KR101801868B1 (en) Scoliosis brace
KR101695276B1 (en) Scoliosis brace
KR102335274B1 (en) Wearable musculoskeletal guard
KR20230169661A (en) Body temperature adjustable wearable protector
WO2023155322A1 (en) Flexible exoskeleton for working at heights
KR101575998B1 (en) Assistant apparatus for sitting works
KR102335273B1 (en) X-bend type wearable musculoskeletal guard
KR20230160627A (en) Waist protector and wearable protector using same
CN216759869U (en) Flexible exoskeleton for high-place operation
US5681268A (en) Arm support and carpal nerve protection device
KR101895004B1 (en) Scoliosis brace
CA3178061A1 (en) Scoliosis brace
JP2004283423A (en) Lumbago protector
US20120289874A1 (en) Spinal Posture Brace
WO2000054709A1 (en) A cervical spinal orthosis having a movable chest plate

Legal Events

Date Code Title Description
PA0109 Patent application

Patent event code: PA01091R01D

Comment text: Patent Application

Patent event date: 20220609

PA0201 Request for examination
PG1501 Laying open of application
E902 Notification of reason for refusal
PE0902 Notice of grounds for rejection

Comment text: Notification of reason for refusal

Patent event date: 20240327

Patent event code: PE09021S01D

E90F Notification of reason for final refusal
PE0902 Notice of grounds for rejection

Comment text: Final Notice of Reason for Refusal

Patent event date: 20250122

Patent event code: PE09021S02D

E701 Decision to grant or registration of patent right
PE0701 Decision of registration

Patent event code: PE07011S01D

Comment text: Decision to Grant Registration

Patent event date: 20250329

PG1601 Publication of registration