KR20190101456A - 혈압 센서의 배치 및 접촉 품질의 사용자 피드백을 제공하기 위한 시스템 및 방법 - Google Patents
혈압 센서의 배치 및 접촉 품질의 사용자 피드백을 제공하기 위한 시스템 및 방법 Download PDFInfo
- Publication number
- KR20190101456A KR20190101456A KR1020197023037A KR20197023037A KR20190101456A KR 20190101456 A KR20190101456 A KR 20190101456A KR 1020197023037 A KR1020197023037 A KR 1020197023037A KR 20197023037 A KR20197023037 A KR 20197023037A KR 20190101456 A KR20190101456 A KR 20190101456A
- Authority
- KR
- South Korea
- Prior art keywords
- user
- feedback
- blood pressure
- sensor
- quality
- Prior art date
- Legal status (The legal status is an assumption and is not a legal conclusion. Google has not performed a legal analysis and makes no representation as to the accuracy of the status listed.)
- Ceased
Links
- 230000036772 blood pressure Effects 0.000 title claims abstract description 74
- 238000000034 method Methods 0.000 title claims abstract description 49
- 238000013442 quality metrics Methods 0.000 claims abstract description 41
- 238000009530 blood pressure measurement Methods 0.000 claims abstract description 19
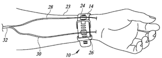
- 210000000707 wrist Anatomy 0.000 claims description 71
- 210000001367 artery Anatomy 0.000 claims description 33
- 230000003287 optical effect Effects 0.000 claims description 8
- 230000009471 action Effects 0.000 claims description 5
- 238000005259 measurement Methods 0.000 abstract description 25
- 238000012544 monitoring process Methods 0.000 abstract description 11
- 238000010586 diagram Methods 0.000 description 39
- 238000004891 communication Methods 0.000 description 22
- 230000033001 locomotion Effects 0.000 description 22
- 230000006870 function Effects 0.000 description 20
- 238000004458 analytical method Methods 0.000 description 17
- 238000012545 processing Methods 0.000 description 13
- 206010020772 Hypertension Diseases 0.000 description 11
- 230000007246 mechanism Effects 0.000 description 11
- 230000000007 visual effect Effects 0.000 description 11
- 239000000463 material Substances 0.000 description 9
- 210000002321 radial artery Anatomy 0.000 description 9
- 230000003595 spectral effect Effects 0.000 description 9
- 238000001514 detection method Methods 0.000 description 8
- 230000035487 diastolic blood pressure Effects 0.000 description 8
- 238000001228 spectrum Methods 0.000 description 8
- 210000002559 ulnar artery Anatomy 0.000 description 8
- 230000035488 systolic blood pressure Effects 0.000 description 7
- 230000008901 benefit Effects 0.000 description 6
- 210000004204 blood vessel Anatomy 0.000 description 6
- 239000008280 blood Substances 0.000 description 5
- 210000004369 blood Anatomy 0.000 description 5
- 230000017531 blood circulation Effects 0.000 description 5
- 230000036541 health Effects 0.000 description 5
- 238000012986 modification Methods 0.000 description 5
- 230000004048 modification Effects 0.000 description 5
- 210000000056 organ Anatomy 0.000 description 5
- 210000002302 brachial artery Anatomy 0.000 description 4
- 208000006011 Stroke Diseases 0.000 description 3
- 230000036760 body temperature Effects 0.000 description 3
- 229920001971 elastomer Polymers 0.000 description 3
- 210000003414 extremity Anatomy 0.000 description 3
- 230000009975 flexible effect Effects 0.000 description 3
- 239000004033 plastic Substances 0.000 description 3
- 230000004044 response Effects 0.000 description 3
- 206010019280 Heart failures Diseases 0.000 description 2
- HBBGRARXTFLTSG-UHFFFAOYSA-N Lithium ion Chemical compound [Li+] HBBGRARXTFLTSG-UHFFFAOYSA-N 0.000 description 2
- 238000003491 array Methods 0.000 description 2
- 239000004020 conductor Substances 0.000 description 2
- 230000008602 contraction Effects 0.000 description 2
- 238000000354 decomposition reaction Methods 0.000 description 2
- 239000000835 fiber Substances 0.000 description 2
- 230000005802 health problem Effects 0.000 description 2
- 230000006698 induction Effects 0.000 description 2
- 230000010354 integration Effects 0.000 description 2
- 229910001416 lithium ion Inorganic materials 0.000 description 2
- 230000007774 longterm Effects 0.000 description 2
- 229910052751 metal Inorganic materials 0.000 description 2
- 239000002184 metal Substances 0.000 description 2
- 208000010125 myocardial infarction Diseases 0.000 description 2
- 238000005457 optimization Methods 0.000 description 2
- 230000008569 process Effects 0.000 description 2
- 239000005060 rubber Substances 0.000 description 2
- 239000004065 semiconductor Substances 0.000 description 2
- 230000035807 sensation Effects 0.000 description 2
- 230000003068 static effect Effects 0.000 description 2
- 208000024891 symptom Diseases 0.000 description 2
- XLYOFNOQVPJJNP-UHFFFAOYSA-N water Substances O XLYOFNOQVPJJNP-UHFFFAOYSA-N 0.000 description 2
- 208000024172 Cardiovascular disease Diseases 0.000 description 1
- WQZGKKKJIJFFOK-GASJEMHNSA-N Glucose Natural products OC[C@H]1OC(O)[C@H](O)[C@@H](O)[C@@H]1O WQZGKKKJIJFFOK-GASJEMHNSA-N 0.000 description 1
- 208000005434 White Coat Hypertension Diseases 0.000 description 1
- 230000001133 acceleration Effects 0.000 description 1
- 239000000956 alloy Substances 0.000 description 1
- 229910045601 alloy Inorganic materials 0.000 description 1
- 229910052782 aluminium Inorganic materials 0.000 description 1
- XAGFODPZIPBFFR-UHFFFAOYSA-N aluminium Chemical compound [Al] XAGFODPZIPBFFR-UHFFFAOYSA-N 0.000 description 1
- 230000033115 angiogenesis Effects 0.000 description 1
- QVGXLLKOCUKJST-UHFFFAOYSA-N atomic oxygen Chemical compound [O] QVGXLLKOCUKJST-UHFFFAOYSA-N 0.000 description 1
- 230000004888 barrier function Effects 0.000 description 1
- 239000000560 biocompatible material Substances 0.000 description 1
- 230000005540 biological transmission Effects 0.000 description 1
- 230000001413 cellular effect Effects 0.000 description 1
- 239000000919 ceramic Substances 0.000 description 1
- 230000001684 chronic effect Effects 0.000 description 1
- 239000003086 colorant Substances 0.000 description 1
- 230000000295 complement effect Effects 0.000 description 1
- 239000002131 composite material Substances 0.000 description 1
- 238000004590 computer program Methods 0.000 description 1
- 238000012790 confirmation Methods 0.000 description 1
- 239000006059 cover glass Substances 0.000 description 1
- 239000013078 crystal Substances 0.000 description 1
- 230000034994 death Effects 0.000 description 1
- 231100000517 death Toxicity 0.000 description 1
- 230000007423 decrease Effects 0.000 description 1
- 238000003745 diagnosis Methods 0.000 description 1
- 201000010099 disease Diseases 0.000 description 1
- 208000037265 diseases, disorders, signs and symptoms Diseases 0.000 description 1
- 229940079593 drug Drugs 0.000 description 1
- 239000003814 drug Substances 0.000 description 1
- 230000000694 effects Effects 0.000 description 1
- 239000000806 elastomer Substances 0.000 description 1
- 238000005516 engineering process Methods 0.000 description 1
- 230000007613 environmental effect Effects 0.000 description 1
- 238000000605 extraction Methods 0.000 description 1
- 230000008713 feedback mechanism Effects 0.000 description 1
- 210000001105 femoral artery Anatomy 0.000 description 1
- 238000007667 floating Methods 0.000 description 1
- 239000011521 glass Substances 0.000 description 1
- 239000008103 glucose Substances 0.000 description 1
- PCHJSUWPFVWCPO-UHFFFAOYSA-N gold Chemical compound [Au] PCHJSUWPFVWCPO-UHFFFAOYSA-N 0.000 description 1
- 229910052737 gold Inorganic materials 0.000 description 1
- 239000010931 gold Substances 0.000 description 1
- 235000004280 healthy diet Nutrition 0.000 description 1
- 208000019622 heart disease Diseases 0.000 description 1
- 229910001385 heavy metal Inorganic materials 0.000 description 1
- 230000001631 hypertensive effect Effects 0.000 description 1
- 238000007654 immersion Methods 0.000 description 1
- 230000006872 improvement Effects 0.000 description 1
- 239000010985 leather Substances 0.000 description 1
- 239000007788 liquid Substances 0.000 description 1
- 238000012423 maintenance Methods 0.000 description 1
- 238000002483 medication Methods 0.000 description 1
- 230000006386 memory function Effects 0.000 description 1
- 238000010606 normalization Methods 0.000 description 1
- 229910052760 oxygen Inorganic materials 0.000 description 1
- 239000001301 oxygen Substances 0.000 description 1
- 230000035515 penetration Effects 0.000 description 1
- 238000013186 photoplethysmography Methods 0.000 description 1
- 229920000642 polymer Polymers 0.000 description 1
- 229920001296 polysiloxane Polymers 0.000 description 1
- 230000005855 radiation Effects 0.000 description 1
- 230000036387 respiratory rate Effects 0.000 description 1
- 230000001953 sensory effect Effects 0.000 description 1
- 239000010703 silicon Substances 0.000 description 1
- 229910052710 silicon Inorganic materials 0.000 description 1
- 229910052709 silver Inorganic materials 0.000 description 1
- 239000004332 silver Substances 0.000 description 1
- 239000010935 stainless steel Substances 0.000 description 1
- 229910001220 stainless steel Inorganic materials 0.000 description 1
- 239000000758 substrate Substances 0.000 description 1
- 230000001360 synchronised effect Effects 0.000 description 1
- 230000002123 temporal effect Effects 0.000 description 1
- 238000012546 transfer Methods 0.000 description 1
- 239000002023 wood Substances 0.000 description 1
Images
Classifications
-
- A—HUMAN NECESSITIES
- A61—MEDICAL OR VETERINARY SCIENCE; HYGIENE
- A61B—DIAGNOSIS; SURGERY; IDENTIFICATION
- A61B5/00—Measuring for diagnostic purposes; Identification of persons
- A61B5/02—Detecting, measuring or recording for evaluating the cardiovascular system, e.g. pulse, heart rate, blood pressure or blood flow
- A61B5/021—Measuring pressure in heart or blood vessels
- A61B5/02108—Measuring pressure in heart or blood vessels from analysis of pulse wave characteristics
-
- A—HUMAN NECESSITIES
- A61—MEDICAL OR VETERINARY SCIENCE; HYGIENE
- A61B—DIAGNOSIS; SURGERY; IDENTIFICATION
- A61B5/00—Measuring for diagnostic purposes; Identification of persons
- A61B5/02—Detecting, measuring or recording for evaluating the cardiovascular system, e.g. pulse, heart rate, blood pressure or blood flow
- A61B5/0205—Simultaneously evaluating both cardiovascular conditions and different types of body conditions, e.g. heart and respiratory condition
-
- A—HUMAN NECESSITIES
- A61—MEDICAL OR VETERINARY SCIENCE; HYGIENE
- A61B—DIAGNOSIS; SURGERY; IDENTIFICATION
- A61B5/00—Measuring for diagnostic purposes; Identification of persons
- A61B5/02—Detecting, measuring or recording for evaluating the cardiovascular system, e.g. pulse, heart rate, blood pressure or blood flow
- A61B5/024—Measuring pulse rate or heart rate
- A61B5/02416—Measuring pulse rate or heart rate using photoplethysmograph signals, e.g. generated by infrared radiation
-
- A—HUMAN NECESSITIES
- A61—MEDICAL OR VETERINARY SCIENCE; HYGIENE
- A61B—DIAGNOSIS; SURGERY; IDENTIFICATION
- A61B5/00—Measuring for diagnostic purposes; Identification of persons
- A61B5/02—Detecting, measuring or recording for evaluating the cardiovascular system, e.g. pulse, heart rate, blood pressure or blood flow
- A61B5/024—Measuring pulse rate or heart rate
- A61B5/02438—Measuring pulse rate or heart rate with portable devices, e.g. worn by the patient
-
- A—HUMAN NECESSITIES
- A61—MEDICAL OR VETERINARY SCIENCE; HYGIENE
- A61B—DIAGNOSIS; SURGERY; IDENTIFICATION
- A61B5/00—Measuring for diagnostic purposes; Identification of persons
- A61B5/02—Detecting, measuring or recording for evaluating the cardiovascular system, e.g. pulse, heart rate, blood pressure or blood flow
- A61B5/026—Measuring blood flow
- A61B5/0295—Measuring blood flow using plethysmography, i.e. measuring the variations in the volume of a body part as modified by the circulation of blood therethrough, e.g. impedance plethysmography
-
- A—HUMAN NECESSITIES
- A61—MEDICAL OR VETERINARY SCIENCE; HYGIENE
- A61B—DIAGNOSIS; SURGERY; IDENTIFICATION
- A61B5/00—Measuring for diagnostic purposes; Identification of persons
- A61B5/68—Arrangements of detecting, measuring or recording means, e.g. sensors, in relation to patient
- A61B5/6801—Arrangements of detecting, measuring or recording means, e.g. sensors, in relation to patient specially adapted to be attached to or worn on the body surface
- A61B5/6802—Sensor mounted on worn items
- A61B5/681—Wristwatch-type devices
-
- A—HUMAN NECESSITIES
- A61—MEDICAL OR VETERINARY SCIENCE; HYGIENE
- A61B—DIAGNOSIS; SURGERY; IDENTIFICATION
- A61B5/00—Measuring for diagnostic purposes; Identification of persons
- A61B5/74—Details of notification to user or communication with user or patient; User input means
- A61B5/746—Alarms related to a physiological condition, e.g. details of setting alarm thresholds or avoiding false alarms
-
- A—HUMAN NECESSITIES
- A61—MEDICAL OR VETERINARY SCIENCE; HYGIENE
- A61B—DIAGNOSIS; SURGERY; IDENTIFICATION
- A61B5/00—Measuring for diagnostic purposes; Identification of persons
- A61B5/68—Arrangements of detecting, measuring or recording means, e.g. sensors, in relation to patient
- A61B5/6801—Arrangements of detecting, measuring or recording means, e.g. sensors, in relation to patient specially adapted to be attached to or worn on the body surface
- A61B5/684—Indicating the position of the sensor on the body
-
- A—HUMAN NECESSITIES
- A61—MEDICAL OR VETERINARY SCIENCE; HYGIENE
- A61B—DIAGNOSIS; SURGERY; IDENTIFICATION
- A61B5/00—Measuring for diagnostic purposes; Identification of persons
- A61B5/68—Arrangements of detecting, measuring or recording means, e.g. sensors, in relation to patient
- A61B5/6801—Arrangements of detecting, measuring or recording means, e.g. sensors, in relation to patient specially adapted to be attached to or worn on the body surface
- A61B5/6843—Monitoring or controlling sensor contact pressure
-
- A—HUMAN NECESSITIES
- A61—MEDICAL OR VETERINARY SCIENCE; HYGIENE
- A61B—DIAGNOSIS; SURGERY; IDENTIFICATION
- A61B5/00—Measuring for diagnostic purposes; Identification of persons
- A61B5/68—Arrangements of detecting, measuring or recording means, e.g. sensors, in relation to patient
- A61B5/6801—Arrangements of detecting, measuring or recording means, e.g. sensors, in relation to patient specially adapted to be attached to or worn on the body surface
- A61B5/6844—Monitoring or controlling distance between sensor and tissue
-
- A—HUMAN NECESSITIES
- A61—MEDICAL OR VETERINARY SCIENCE; HYGIENE
- A61B—DIAGNOSIS; SURGERY; IDENTIFICATION
- A61B5/00—Measuring for diagnostic purposes; Identification of persons
- A61B5/72—Signal processing specially adapted for physiological signals or for diagnostic purposes
- A61B5/7203—Signal processing specially adapted for physiological signals or for diagnostic purposes for noise prevention, reduction or removal
- A61B5/7207—Signal processing specially adapted for physiological signals or for diagnostic purposes for noise prevention, reduction or removal of noise induced by motion artifacts
-
- A—HUMAN NECESSITIES
- A61—MEDICAL OR VETERINARY SCIENCE; HYGIENE
- A61B—DIAGNOSIS; SURGERY; IDENTIFICATION
- A61B5/00—Measuring for diagnostic purposes; Identification of persons
- A61B5/72—Signal processing specially adapted for physiological signals or for diagnostic purposes
- A61B5/7221—Determining signal validity, reliability or quality
-
- A—HUMAN NECESSITIES
- A61—MEDICAL OR VETERINARY SCIENCE; HYGIENE
- A61B—DIAGNOSIS; SURGERY; IDENTIFICATION
- A61B5/00—Measuring for diagnostic purposes; Identification of persons
- A61B5/72—Signal processing specially adapted for physiological signals or for diagnostic purposes
- A61B5/7235—Details of waveform analysis
- A61B5/7264—Classification of physiological signals or data, e.g. using neural networks, statistical classifiers, expert systems or fuzzy systems
Landscapes
- Health & Medical Sciences (AREA)
- Life Sciences & Earth Sciences (AREA)
- Engineering & Computer Science (AREA)
- Cardiology (AREA)
- Physics & Mathematics (AREA)
- Public Health (AREA)
- Physiology (AREA)
- Biomedical Technology (AREA)
- Heart & Thoracic Surgery (AREA)
- Medical Informatics (AREA)
- Molecular Biology (AREA)
- Surgery (AREA)
- Animal Behavior & Ethology (AREA)
- General Health & Medical Sciences (AREA)
- Biophysics (AREA)
- Veterinary Medicine (AREA)
- Pathology (AREA)
- Signal Processing (AREA)
- Artificial Intelligence (AREA)
- Vascular Medicine (AREA)
- Hematology (AREA)
- Pulmonology (AREA)
- Computer Vision & Pattern Recognition (AREA)
- Psychiatry (AREA)
- Evolutionary Computation (AREA)
- Fuzzy Systems (AREA)
- Mathematical Physics (AREA)
- Measuring Pulse, Heart Rate, Blood Pressure Or Blood Flow (AREA)
Applications Claiming Priority (5)
| Application Number | Priority Date | Filing Date | Title |
|---|---|---|---|
| US201762442917P | 2017-01-05 | 2017-01-05 | |
| US62/442,917 | 2017-01-05 | ||
| US15/847,595 US20180184920A1 (en) | 2017-01-05 | 2017-12-19 | System and method for providing user feeedback of blood pressure sensor placement and contact quality |
| US15/847,595 | 2017-12-19 | ||
| PCT/IB2017/058420 WO2018127774A1 (en) | 2017-01-05 | 2017-12-27 | System and method for providing user feedback of blood pressure sensor placement and contact quality |
Publications (1)
| Publication Number | Publication Date |
|---|---|
| KR20190101456A true KR20190101456A (ko) | 2019-08-30 |
Family
ID=62709127
Family Applications (1)
| Application Number | Title | Priority Date | Filing Date |
|---|---|---|---|
| KR1020197023037A Ceased KR20190101456A (ko) | 2017-01-05 | 2017-12-27 | 혈압 센서의 배치 및 접촉 품질의 사용자 피드백을 제공하기 위한 시스템 및 방법 |
Country Status (8)
| Country | Link |
|---|---|
| US (1) | US20180184920A1 (enExample) |
| EP (1) | EP3565460A4 (enExample) |
| JP (2) | JP2020503938A (enExample) |
| KR (1) | KR20190101456A (enExample) |
| CN (1) | CN110381817A (enExample) |
| BR (1) | BR112019013859A8 (enExample) |
| CA (1) | CA3049173A1 (enExample) |
| WO (1) | WO2018127774A1 (enExample) |
Cited By (1)
| Publication number | Priority date | Publication date | Assignee | Title |
|---|---|---|---|---|
| KR20240114204A (ko) * | 2023-01-16 | 2024-07-23 | 주식회사 루아랩 | 이원적인 측정수단을 이용한 호흡 측정 장치 |
Families Citing this family (59)
| Publication number | Priority date | Publication date | Assignee | Title |
|---|---|---|---|---|
| US9192334B2 (en) | 2013-01-31 | 2015-11-24 | KHN Solutions, Inc. | Method and system for monitoring intoxication |
| US8878669B2 (en) | 2013-01-31 | 2014-11-04 | KHN Solutions, Inc. | Method and system for monitoring intoxication |
| US9788772B2 (en) | 2013-01-31 | 2017-10-17 | KHN Solutions, Inc. | Wearable system and method for monitoring intoxication |
| US9250228B2 (en) * | 2014-01-22 | 2016-02-02 | KHN Solutions, Inc. | Method and system for remotely monitoring intoxication |
| US10335045B2 (en) | 2016-06-24 | 2019-07-02 | Universita Degli Studi Di Trento | Self-adaptive matrix completion for heart rate estimation from face videos under realistic conditions |
| CN108498069A (zh) * | 2017-02-23 | 2018-09-07 | 光宝电子(广州)有限公司 | 穿戴式电子装置及其紧急求救方法 |
| KR20200067831A (ko) * | 2017-07-17 | 2020-06-12 | 라이브메트릭 (메디컬) 에스.에이. | 웨어러블 장치를 이용한 심실 보조 장치 조정 방법 및 시스템 |
| KR102407094B1 (ko) * | 2017-07-25 | 2022-06-08 | 삼성전자주식회사 | 생체정보 측정 장치 및 방법 |
| US10545578B2 (en) * | 2017-12-22 | 2020-01-28 | International Business Machines Corporation | Recommending activity sensor usage by image processing |
| USD920137S1 (en) * | 2018-03-07 | 2021-05-25 | Intel Corporation | Acoustic imaging device |
| US11324449B2 (en) * | 2018-03-22 | 2022-05-10 | KHN Solutions, Inc. | Method and system for transdermal alcohol monitoring |
| US11262064B1 (en) * | 2018-03-22 | 2022-03-01 | Michael Boyd | Wrist light system and method of use |
| US11006895B2 (en) | 2018-03-22 | 2021-05-18 | KHN Solutions, Inc. | Method and system for transdermal alcohol monitoring |
| US10974019B2 (en) * | 2018-04-16 | 2021-04-13 | Pulsewear Llc | System for delivering ultra-low frequency (ULF), variable-intensity, non-vibratory tactile stimuli for regulating physiological processes, and modulating mental states |
| KR102751479B1 (ko) * | 2018-07-06 | 2025-01-09 | 삼성전자주식회사 | 생체 정보 측정 장치 및 방법 |
| CN112584738B (zh) * | 2018-08-30 | 2024-04-23 | 奥林巴斯株式会社 | 记录装置、图像观察装置、观察系统、观察系统的控制方法及存储介质 |
| KR102649997B1 (ko) * | 2019-03-18 | 2024-03-22 | 삼성전자주식회사 | 전자 장치 및 전자 장치의 동작 방법 |
| KR102785093B1 (ko) * | 2019-05-29 | 2025-03-20 | 웨어투비 엘티디. | 조정 가능한 비침습적 웨어러블 모니터링 디바이스 |
| EP3881759A1 (en) * | 2020-03-19 | 2021-09-22 | Nederlandse Organisatie voor toegepast- natuurwetenschappelijk Onderzoek TNO | Fetal heart rate monitoring device and method of controlling thereof |
| CA3173464A1 (en) | 2020-04-01 | 2021-10-07 | Omid SAYADI | Speech-controlled health monitoring systems and methods |
| CN113520307B (zh) * | 2020-04-20 | 2023-04-18 | 华为技术有限公司 | 一种可穿戴设备 |
| CN113545745B (zh) * | 2020-04-23 | 2023-03-10 | 华为技术有限公司 | 可穿戴电子设备的使用监测方法、介质及其电子设备 |
| KR20210155163A (ko) * | 2020-06-15 | 2021-12-22 | 삼성전자주식회사 | 혈압 추정 장치 및 방법 |
| DE102020117132A1 (de) * | 2020-06-30 | 2021-12-30 | Drägerwerk AG & Co. KGaA | Medizingerät zum Bestimmen eines Herzzeitvolumen-abhängigen Parameters |
| CN114052685B (zh) * | 2020-08-06 | 2023-10-13 | 华为技术有限公司 | 电子设备及计算机可读存储介质 |
| KR20220021083A (ko) * | 2020-08-12 | 2022-02-22 | 삼성디스플레이 주식회사 | 표시 장치 |
| US12458289B1 (en) * | 2020-08-14 | 2025-11-04 | Tula Health, Inc. | Systems, apparatuses, and methods for determining an optimal position of a physiological sensor against a subject |
| JP2023538378A (ja) | 2020-08-19 | 2023-09-07 | マシモ・コーポレイション | ウェアラブルデバイス用のストラップ |
| US11744476B2 (en) * | 2020-08-20 | 2023-09-05 | Apple Inc. | Blood pressure measurement using device with piezoelectric sensor |
| CN114631778B (zh) * | 2020-12-16 | 2025-05-02 | Oppo广东移动通信有限公司 | 可穿戴设备控制方法、可穿戴设备以及存储介质 |
| US12458283B2 (en) | 2021-01-12 | 2025-11-04 | Khn Solutions, Llc | Method and system for remote transdermal alcohol monitoring |
| US11602306B2 (en) | 2021-01-12 | 2023-03-14 | KHN Solutions, Inc. | Method and system for remote transdermal alcohol monitoring |
| US12251204B2 (en) | 2021-02-03 | 2025-03-18 | Apple Inc. | Blood pressure monitoring system including a liquid filled sensor |
| EP4287934A1 (en) * | 2021-02-05 | 2023-12-13 | Rockley Photonics Limited | System |
| CN114947757A (zh) * | 2021-02-25 | 2022-08-30 | 中国科学院苏州纳米技术与纳米仿生研究所 | 一种可穿戴设备 |
| US12150742B1 (en) * | 2021-03-12 | 2024-11-26 | Verily Life Sciences Llc | Hand-held apparatus for noninvasive measurement of a heart performance metric |
| US11744737B2 (en) * | 2021-05-25 | 2023-09-05 | Shaanxi University Of Science And Technology | Skin audible watch for orientation identification and an orientation identification method |
| JP7537836B2 (ja) * | 2021-05-26 | 2024-08-21 | ミネベアミツミ株式会社 | バイタルセンサ |
| WO2022249717A1 (ja) * | 2021-05-26 | 2022-12-01 | ミネベアミツミ株式会社 | バイタルセンサ |
| EP4111912A3 (en) * | 2021-06-04 | 2023-03-08 | Apple Inc. | Pneumatic haptic device having actuation cells for producing a haptic output over a bed mattress |
| US11347320B1 (en) | 2021-06-29 | 2022-05-31 | Google Llc | Gesture calibration for devices |
| EP4373386A1 (en) * | 2021-07-21 | 2024-05-29 | Masimo Corporation | Wearable band for health monitoring device |
| USD1036293S1 (en) | 2021-08-17 | 2024-07-23 | Masimo Corporation | Straps for a wearable device |
| US12007727B2 (en) * | 2021-09-14 | 2024-06-11 | Apple Inc. | Watch band with fit detection |
| CA3179882A1 (en) * | 2021-10-25 | 2023-04-25 | The Royal Institution For The Advancement Of Learning/Mcgill University | System and method for wearable device contact force estimation and adjustment feedback |
| US20230157555A1 (en) * | 2021-11-25 | 2023-05-25 | Shenzhen GOODIX Technology Co., Ltd. | Blood-volume-based cuff-less non-invasive blood pressure monitoring |
| WO2023102475A1 (en) * | 2021-12-01 | 2023-06-08 | Marani Health, Inc. | Systems and methods for remote pregnancy monitoring and management |
| KR20230125663A (ko) | 2022-02-21 | 2023-08-29 | 삼성전자주식회사 | 생체정보 추정 장치 및 방법 |
| CN115500800B (zh) * | 2022-03-25 | 2024-10-25 | 张烁 | 一种穿戴式生理参数检测系统 |
| JP2024006108A (ja) * | 2022-06-30 | 2024-01-17 | ミネベアミツミ株式会社 | 脈波測定装置の調整方法、脈波測定システム、及び脈波測定装置 |
| USD1095288S1 (en) | 2022-07-20 | 2025-09-30 | Masimo Corporation | Set of straps for a wearable device |
| CN117481625A (zh) * | 2022-07-25 | 2024-02-02 | 荣耀终端有限公司 | 可穿戴设备的血压测量方法和可穿戴设备 |
| CN117481624B (zh) * | 2022-07-25 | 2025-03-28 | 荣耀终端股份有限公司 | 可穿戴设备的血压测量方法和可穿戴设备 |
| USD1083653S1 (en) | 2022-09-09 | 2025-07-15 | Masimo Corporation | Band |
| USD1092244S1 (en) | 2023-07-03 | 2025-09-09 | Masimo Corporation | Band for an electronic device |
| CN116172536B (zh) * | 2023-03-08 | 2025-10-14 | 维沃移动通信有限公司 | 电子设备、检测组件控制方法、装置及存储介质 |
| CN116077065B (zh) * | 2023-04-12 | 2023-07-11 | 苏州维伟思医疗科技有限公司 | 穿戴式心电装置的监测方法及穿戴式心电监测装置 |
| WO2025090419A1 (en) | 2023-10-27 | 2025-05-01 | Khn Solutions, Llc | Method and system for detecting and maintaining performance of an alcohol sensing device |
| US20250241591A1 (en) * | 2024-01-25 | 2025-07-31 | Japan Display Inc. | Sensor device and sensing method |
Family Cites Families (27)
| Publication number | Priority date | Publication date | Assignee | Title |
|---|---|---|---|---|
| US6533729B1 (en) * | 2000-05-10 | 2003-03-18 | Motorola Inc. | Optical noninvasive blood pressure sensor and method |
| JP4036101B2 (ja) * | 2003-01-21 | 2008-01-23 | オムロンヘルスケア株式会社 | 圧脈波検出プローブ |
| WO2006094171A1 (en) * | 2005-03-01 | 2006-09-08 | Masimo Laboratories, Inc. | Multiple wavelength sensor drivers |
| JP2008237533A (ja) * | 2007-03-27 | 2008-10-09 | Citizen Holdings Co Ltd | 脈波測定装置 |
| JP5376768B2 (ja) * | 2007-03-30 | 2013-12-25 | シチズンホールディングス株式会社 | 脈波測定装置 |
| JP5395484B2 (ja) * | 2009-03-25 | 2014-01-22 | シチズンホールディングス株式会社 | 装着装置 |
| US8986207B2 (en) * | 2009-11-12 | 2015-03-24 | Covidien Lp | Systems and methods for providing sensor arrays for detecting physiological characteristics |
| US20130144176A1 (en) * | 2010-06-25 | 2013-06-06 | Drexel University | Non-invasive blood pressure sensor |
| US8672842B2 (en) * | 2010-08-24 | 2014-03-18 | Evacusled Inc. | Smart mattress |
| US8761853B2 (en) * | 2011-01-20 | 2014-06-24 | Nitto Denko Corporation | Devices and methods for non-invasive optical physiological measurements |
| JP2012223267A (ja) * | 2011-04-18 | 2012-11-15 | Seiko Epson Corp | 超音波測定装置、および超音波測定装置の測定制御方法 |
| CN104080398B (zh) * | 2012-01-29 | 2017-10-24 | 合理医疗创新有限公司 | 导出受试者的个人胸参数 |
| US9204809B2 (en) * | 2012-02-01 | 2015-12-08 | Hong Kong Applied Science and Technology Research Institute Company Limited | Blood pressure measuring device and method of calibrating thereof |
| US20130303923A1 (en) * | 2012-05-11 | 2013-11-14 | Biomedix, Inc. | System and method for vascular testing |
| US20140081160A1 (en) * | 2012-09-20 | 2014-03-20 | Jiannan Xiang | Flexible Multi-point Pulse Sensor |
| EP2934288A1 (en) * | 2012-12-20 | 2015-10-28 | Boston Scientific Scimed, Inc. | Real-time feedback for electrode contact during mapping |
| JP6146058B2 (ja) * | 2013-03-06 | 2017-06-14 | セイコーエプソン株式会社 | 生体情報検出装置及びプログラム |
| US8812091B1 (en) * | 2013-03-15 | 2014-08-19 | Apn Health, Llc | Multi-channel cardiac measurements |
| US9014790B2 (en) * | 2013-06-03 | 2015-04-21 | Fitbit, Inc. | Heart rate data collection |
| US11497406B2 (en) * | 2014-07-31 | 2022-11-15 | Samsung Electronics Co., Ltd | Apparatus and method for enhancing accuracy of a contactless body temperature measurement |
| US9794653B2 (en) * | 2014-09-27 | 2017-10-17 | Valencell, Inc. | Methods and apparatus for improving signal quality in wearable biometric monitoring devices |
| JP6366462B2 (ja) * | 2014-10-31 | 2018-08-01 | オムロンヘルスケア株式会社 | 血圧測定装置 |
| KR20160115017A (ko) * | 2015-03-25 | 2016-10-06 | 삼성전자주식회사 | 생체 정보 검출 장치 및 방법 |
| US10765331B2 (en) * | 2015-04-02 | 2020-09-08 | Microsoft Technology Licensing, Llc | Wearable pulse sensing device signal quality estimation |
| US9662023B2 (en) * | 2015-06-16 | 2017-05-30 | Qualcomm Incorporated | Robust heart rate estimation |
| US10799180B2 (en) * | 2015-11-14 | 2020-10-13 | Zeto, Inc. | System and method for testing contact quality of electrical-biosignal electrodes |
| CN105653876A (zh) * | 2016-01-22 | 2016-06-08 | 中国科学院微电子研究所 | 基于三维成像的脉搏波图像采集与存储方法 |
-
2017
- 2017-12-19 US US15/847,595 patent/US20180184920A1/en active Pending
- 2017-12-27 KR KR1020197023037A patent/KR20190101456A/ko not_active Ceased
- 2017-12-27 CN CN201780088055.4A patent/CN110381817A/zh active Pending
- 2017-12-27 BR BR112019013859A patent/BR112019013859A8/pt not_active Application Discontinuation
- 2017-12-27 WO PCT/IB2017/058420 patent/WO2018127774A1/en not_active Ceased
- 2017-12-27 EP EP17890256.5A patent/EP3565460A4/en active Pending
- 2017-12-27 CA CA3049173A patent/CA3049173A1/en active Pending
- 2017-12-27 JP JP2019536178A patent/JP2020503938A/ja active Pending
-
2022
- 2022-10-12 JP JP2022164211A patent/JP2022188252A/ja active Pending
Cited By (1)
| Publication number | Priority date | Publication date | Assignee | Title |
|---|---|---|---|---|
| KR20240114204A (ko) * | 2023-01-16 | 2024-07-23 | 주식회사 루아랩 | 이원적인 측정수단을 이용한 호흡 측정 장치 |
Also Published As
| Publication number | Publication date |
|---|---|
| CN110381817A (zh) | 2019-10-25 |
| US20180184920A1 (en) | 2018-07-05 |
| BR112019013859A2 (pt) | 2020-04-14 |
| EP3565460A1 (en) | 2019-11-13 |
| JP2020503938A (ja) | 2020-02-06 |
| CA3049173A1 (en) | 2018-07-12 |
| JP2022188252A (ja) | 2022-12-20 |
| WO2018127774A1 (en) | 2018-07-12 |
| EP3565460A4 (en) | 2020-08-26 |
| BR112019013859A8 (pt) | 2023-03-28 |
Similar Documents
| Publication | Publication Date | Title |
|---|---|---|
| KR20190101456A (ko) | 혈압 센서의 배치 및 접촉 품질의 사용자 피드백을 제공하기 위한 시스템 및 방법 | |
| US11000193B2 (en) | Blood pressure measurement system using force resistive sensor array | |
| US12059233B2 (en) | Blood pressure sensors | |
| US11534071B2 (en) | Blood pressure measurement | |
| US11317814B2 (en) | Systems and methods for collecting physiological information of a user | |
| US11717177B2 (en) | Blood pressure measurement | |
| US20060195020A1 (en) | Methods, systems, and apparatus for measuring a pulse rate | |
| WO2017074713A1 (en) | Non-invasive continuous blood pressure monitoring with reduced motion artifacts | |
| CN107427239A (zh) | 将压力换能到非侵入性脉搏的传感器 | |
| KR20160047838A (ko) | 생체 신호 처리 방법 및 그 장치 | |
| JP5742520B2 (ja) | 生体情報処理装置及び生体情報処理方法 | |
| JP2020526353A (ja) | ウェアラブルセンサを使用して生理学的パラメタを測定する機器 | |
| WO2007053146A1 (en) | Methods, systems and apparatus for measuring a pulse rate | |
| WO2015189687A1 (en) | An integrated device to calcutate heart rate and body activity accurately | |
| JP2006296700A (ja) | 脈拍数測定装置 | |
| JP6837881B2 (ja) | 生体情報測定装置、方法及びプログラム | |
| US20240081660A1 (en) | Sensorized earphone device for out-of-ear measurements | |
| BR112019013848B1 (pt) | Sensor para aquisição de sinal de pressão arterial e dispositivo vestível para medir a pressão arterial de um usuário | |
| CN118159186A (zh) | 可穿戴电子装置及其操作方法 |
Legal Events
| Date | Code | Title | Description |
|---|---|---|---|
| PA0105 | International application |
Patent event date: 20190805 Patent event code: PA01051R01D Comment text: International Patent Application |
|
| PG1501 | Laying open of application | ||
| A201 | Request for examination | ||
| PA0201 | Request for examination |
Patent event code: PA02012R01D Patent event date: 20201217 Comment text: Request for Examination of Application |
|
| E902 | Notification of reason for refusal | ||
| PE0902 | Notice of grounds for rejection |
Comment text: Notification of reason for refusal Patent event date: 20220401 Patent event code: PE09021S01D |
|
| E902 | Notification of reason for refusal | ||
| PE0902 | Notice of grounds for rejection |
Comment text: Notification of reason for refusal Patent event date: 20221012 Patent event code: PE09021S01D |
|
| E90F | Notification of reason for final refusal | ||
| PE0902 | Notice of grounds for rejection |
Comment text: Final Notice of Reason for Refusal Patent event date: 20230501 Patent event code: PE09021S02D |
|
| E601 | Decision to refuse application | ||
| PE0601 | Decision on rejection of patent |
Patent event date: 20230711 Comment text: Decision to Refuse Application Patent event code: PE06012S01D Patent event date: 20230501 Comment text: Final Notice of Reason for Refusal Patent event code: PE06011S02I Patent event date: 20221012 Comment text: Notification of reason for refusal Patent event code: PE06011S01I Patent event date: 20220401 Comment text: Notification of reason for refusal Patent event code: PE06011S01I |