KR20180098752A - 향상된 방열 성능을 가진 패널 가진형 스피커 - Google Patents

향상된 방열 성능을 가진 패널 가진형 스피커 Download PDF

Info

Publication number
KR20180098752A
KR20180098752A KR1020170025253A KR20170025253A KR20180098752A KR 20180098752 A KR20180098752 A KR 20180098752A KR 1020170025253 A KR1020170025253 A KR 1020170025253A KR 20170025253 A KR20170025253 A KR 20170025253A KR 20180098752 A KR20180098752 A KR 20180098752A
Authority
KR
South Korea
Prior art keywords
yoke
panel
frame
magnetic circuit
coupled
Prior art date
Legal status (The legal status is an assumption and is not a legal conclusion. Google has not performed a legal analysis and makes no representation as to the accuracy of the status listed.)
Granted
Application number
KR1020170025253A
Other languages
English (en)
Other versions
KR101900855B1 (ko
Inventor
이동진
Original Assignee
에스텍 주식회사
Priority date (The priority date is an assumption and is not a legal conclusion. Google has not performed a legal analysis and makes no representation as to the accuracy of the date listed.)
Filing date
Publication date
Application filed by 에스텍 주식회사 filed Critical 에스텍 주식회사
Priority to KR1020170025253A priority Critical patent/KR101900855B1/ko
Publication of KR20180098752A publication Critical patent/KR20180098752A/ko
Application granted granted Critical
Publication of KR101900855B1 publication Critical patent/KR101900855B1/ko
Active legal-status Critical Current
Anticipated expiration legal-status Critical

Links

Images

Classifications

    • HELECTRICITY
    • H04ELECTRIC COMMUNICATION TECHNIQUE
    • H04RLOUDSPEAKERS, MICROPHONES, GRAMOPHONE PICK-UPS OR LIKE ACOUSTIC ELECTROMECHANICAL TRANSDUCERS; DEAF-AID SETS; PUBLIC ADDRESS SYSTEMS
    • H04R9/00Transducers of moving-coil, moving-strip, or moving-wire type
    • H04R9/02Details
    • H04R9/022Cooling arrangements
    • HELECTRICITY
    • H04ELECTRIC COMMUNICATION TECHNIQUE
    • H04RLOUDSPEAKERS, MICROPHONES, GRAMOPHONE PICK-UPS OR LIKE ACOUSTIC ELECTROMECHANICAL TRANSDUCERS; DEAF-AID SETS; PUBLIC ADDRESS SYSTEMS
    • H04R9/00Transducers of moving-coil, moving-strip, or moving-wire type
    • H04R9/02Details
    • H04R9/025Magnetic circuit
    • HELECTRICITY
    • H04ELECTRIC COMMUNICATION TECHNIQUE
    • H04RLOUDSPEAKERS, MICROPHONES, GRAMOPHONE PICK-UPS OR LIKE ACOUSTIC ELECTROMECHANICAL TRANSDUCERS; DEAF-AID SETS; PUBLIC ADDRESS SYSTEMS
    • H04R9/00Transducers of moving-coil, moving-strip, or moving-wire type
    • H04R9/02Details
    • H04R9/04Construction, mounting, or centering of coil

Landscapes

  • Physics & Mathematics (AREA)
  • Engineering & Computer Science (AREA)
  • Acoustics & Sound (AREA)
  • Signal Processing (AREA)
  • Audible-Bandwidth Dynamoelectric Transducers Other Than Pickups (AREA)

Abstract

패널 가진형 스피커가 개시된다. 본 발명에 따른 패널 가진형 스피커는, 자기회로부의 요크의 측판의 외면에 복수의 방열편이 형성되어 자기회로부의 외측으로 노출된다. 그러면, 자기회로부의 외측으로 노출된 요크의 표면적이 상대적으로 넓으므로, 코일에서 발생되어 요크의 내부에 존재하는 열이 요크를 통하여 신속하게 외부로 방열된다. 이로 인해, 패널이 열에 의하여 손상되는 것을 방지할 수 있는 효과가 있을 수 있고, 보이스코일이 열화되는 것을 방지할 수 있는 효과가 있을 수 있다.

Description

향상된 방열 성능을 가진 패널 가진형 스피커 {PANEL EXCITATION TYPE SPEAKER WITH ENHANCED RADIATION PERFORMANCE}
본 발명은 패널을 진동시켜 음향을 재생하는 패널 가진형 스피커에 관한 것이다.
스피커란 전기적 신호를 진동판의 진동으로 바꾸어 공기에 소밀파(疏密波)를 발생시켜 음파를 복사(輻射)하는 음향기기이다.
다이나믹형 스피커는 프레임, 상기 프레임에 설치되며 자기력을 발생하는 자기회로부, 상기 프레임에 설치되며 상기 자기회로부와 작용하여 진동하면서 음향을 재생하는 진동판을 가지는 음향발생부를 포함한다.
다이나믹형 스피커는, 음향발생부의 진폭에 대응되는 만큼의 공간이 필요하므로, 더욱 박형화되는 평판 디스플레이 장치에 설치하여 사용하기에는 한계가 있다.
상기와 같은 문제점을 해소하기 위하여, 평판 디스플레이 장치의 패널에 스피커를 설치하고, 상기 패널을 진동시켜 음향을 재생하는 패널 가진형 스피커가 개발되어 사용되고 있다.
상기 패널이 진동하면서 음향을 재생하므로, 패널 가진형 스피커가 설치된 평판 디스플레이 장치의 경우, 음향이 영상이 표시되는 패널로부터 재생되므로, 음향의 입체감이 향상된다.
도 1은 종래의 패널 가진형 스피커의 일부 분해 사시도로서, 이를 설명한다.
도시된 바와 같이, 종래의 패널 가진형 스피커는 패널(P)에 설치되는 합성수지재의 프레임(10), 프레임(10)에 설치되며 자기력을 발생하는 자기회로부(20) 및 프레임(10)에 설치되며 자기회로부(20)와 작용하여 진동하면서 패널(P)을 진동시키는 익사이터(Exciter)(30)를 포함한다.
자기회로부(20)는 프레임(10)에 결합된 "U"형상의 금속재의 요크(21), 요크(21)의 내부에 순차적으로 적층 설치된 마그네트(23)와 폴피스(25)를 포함하고, 익사이터(30)는 보빈(31a)과 보빈(31a)의 일측 외주면에 권선된 코일(31b)을 가지는 보이스코일(31)을 포함한다.
그리고, 보빈(31a)의 타단면(他端面)에는 링형상의 캡(41)이 결합되고, 캡(41)에는 접착테이프(45)의 일면이 접착된다. 그리고, 접착테이프(45)의 타면은 패널(P)에 접착된다.
그리하여, 전기적 신호가 코일(31b)에 인가되면, 자기회로부(20)와 코일(31b)의 작용에 의하여 보이스코일(31)이 진동하고, 보이스코일(31)의 진동에 의하여 패널(P)이 진동하면서 음향을 재생한다.
보이스코일(31)의 진동시에는, 코일(31b)에 전기적 신호가 공급되므로 코일(31b)에서 많은 열이 발생한다. 이때, 코일(31b)에서 발생된 열이 신속하게 외부로 방열되지 않으면, 열이 패널(P)측으로 전달되어 패널(P)을 손상시킬 수 있고, 보이스코일(31)을 열화시킬 수 있다.
그런데, 종래의 패널 가진형 스피커는 자기회로부(20)의 외측으로 노출된 금속재의 요크(21)의 표면적이 상대적으로 작으므로, 코일(31b)에서 발생된 열이 신속하게 방열되지 못하는 단점이 있다.
패널 가진형 스피커와 관련한 선행기술은 한국공개특허번호 제10-2009-0039372호(2009년 04월 22일) 등에 개시되어 있다.
본 발명의 목적은 상기와 같은 종래 기술의 모든 문제점들을 해결할 수 있는 패널 가진형 스피커를 제공하는 것일 수 있다.
본 발명의 다른 목적은, 자기회로부의 외측으로 노출된 요크의 표면적을 상대적으로 넓게 구성하여, 보이스코일에서 발생되는 열을 신속하게 방열시킬 수 있는 패널 가진형 스피커를 제공함에 있다.
본 발명의 실시예에 따른 패널 가진형 스피커는, 패널측에 결합되는 프레임; 상기 프레임에 결합되는 요크, 상기 요크의 내부에 설치되는 마그네트 및 상기 마그네트에 설치되는 폴피스를 가지며 자기력을 발생하는 자기회로부; 일측은 상기 자기회로부측에 위치되고 타측은 상기 패널측에 결합되며, 상기 자기회로부와 작용하여 진동하면서 상기 패널을 진동시키는 보이스코일을 가지는 익사이터(Exciter)를 포함하며, 상기 요크의 외면에는, 상기 보이스코일의 진동시, 상기 보이스코일에서 발생되어 상기 요크로 전달된 열을 방열시키기 위한 복수의 방열편이 형성될 수 있다.
본 실시예에 따른 패널 가진형 스피커는, 자기회로부의 요크의 측판의 외면에 복수의 방열편이 형성되어 자기회로부의 외측으로 노출된다. 그러면, 자기회로부의 외측으로 노출된 요크의 표면적이 상대적으로 넓으므로, 코일에서 발생되어 요크의 내부에 존재하는 열이 요크를 통하여 신속하게 외부로 방열된다. 이로 인해, 패널이 열에 의하여 손상되는 것을 방지할 수 있는 효과가 있을 수 있고, 보이스코일이 열화되는 것을 방지할 수 있는 효과가 있을 수 있다.
도 1은 종래의 패널 가진형 스피커의 일부 분해 사시도.
도 2는 발명의 제1실시예에 따른 패널 가진형 스피커의 사시도.
도 3은 도 2의 분해 사시도.
도 4는 도 2의 단면도.
도 5는 본 발명의 제2실시예에 따른 패널 가진형 스피커의 요크의 배면 사시도.
도 6은 본 발명의 제3실시예에 따른 패널 가진형 스피커의 사시도.
도 7은 본 발명의 제4실시예에 따른 패널 가진형 스피커의 배면 사시도.
본 명세서에서 각 도면의 구성요소들에 참조번호를 부가함에 있어서 동일한 구성 요소들에 한해서는 비록 다른 도면상에 표시되더라도 가능한 한 동일한 번호를 가지도록 하고 있음에 유의하여야 한다.
한편, 본 명세서에서 서술되는 용어의 의미는 다음과 같이 이해되어야 할 것이다.
단수의 표현은 문맥상 명백하게 다르게 정의하지 않는 한 복수의 표현을 포함하는 것으로 이해되어야 하고, "제1", "제2" 등의 용어는 하나의 구성요소를 다른 구성요소로부터 구별하기 위한 것으로, 이들 용어들에 의해 권리범위가 한정되어서는 아니 된다.
"포함하다" 또는 "가지다" 등의 용어는 하나 또는 그 이상의 다른 특징이나 숫자, 단계, 동작, 구성요소, 부분품 또는 이들을 조합한 것들의 존재 또는 부가 가능성을 미리 배제하지 않는 것으로 이해되어야 한다.
"적어도 하나"의 용어는 하나 이상의 관련 항목으로부터 제시 가능한 모든 조합을 포함하는 것으로 이해되어야 한다. 예를 들어, "제1항목, 제2항목 및 제3항목 중에서 적어도 하나"의 의미는 제1항목, 제2항목 또는 제3항목 각각 뿐만 아니라 제1항목, 제2항목 및 제3항목 중에서 2개 이상으로부터 제시될 수 있는 모든 항목의 조합을 의미한다.
"및/또는"의 용어는 하나 이상의 관련 항목으로부터 제시 가능한 모든 조합을 포함하는 것으로 이해되어야 한다. 예를 들어, "제1항목, 제2항목 및/또는 제3항목"의 의미는 제1항목, 제2항목 또는 제3항목뿐만 아니라 제1항목, 제2항목 또는 제3항목들 중 2개 이상으로부터 제시될 수 있는 모든 항목의 조합을 의미한다.
어떤 구성요소가 다른 구성요소에 "연결된다 또는 설치된다"고 언급된 때에는, 그 다른 구성요소에 직접적으로 연결 또는 설치될 수도 있지만, 중간에 다른 구성요소가 존재할 수도 있다고 이해되어야 할 것이다. 반면에, 어떤 구성요소가 다른 구성요소에 "직접 연결된다 또는 설치된다"라고 언급된 때에는 중간에 다른 구성요소가 존재하지 않는 것으로 이해되어야 할 것이다. 한편, 구성요소들 간의 관계를 설명하는 다른 표현들, 즉 "∼사이에"와 "바로 ∼사이에" 또는 "∼에 이웃하는"과 "∼에 직접 이웃하는" 등도 마찬가지로 해석되어야 한다.
이하에서는, 본 발명의 실시예들에 따른 패널 가진형 스피커에 대하여 첨부된 도면을 참조하여 상세히 설명한다.
제1실시예
도 2는 발명의 일 실시예에 따른 패널 가진형 스피커의 사시도이고, 도 3은 도 2의 분해 사시도이며, 도 4는 도 2의 단면도이다.
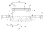
도시된 바와 같이, 본 실시예에 따른 패널 가진형 스피커는 프레임(110), 프레임(110)에 설치된 자기회로부(130) 및 프레임(110)에 설치된 익사이터(Exciter)(150)를 포함할 수 있다.
이하, 프레임(110)을 포함한 다른 구성요소들의 면을 지칭함에 있어서, 평판디스플레이의 장치의 패널(P)을 향하는 면을 "전면"이라고 하고, 그 반대 반향을 향하는 면을 "후면"이라 한다.
프레임(110)은 합성수지재로 형성될 수 있으며, 중앙부측에 공간부(111)가 형성될 수 있다. 그리고, 프레임(110)은 평판디스플레이 장치의 패널(P)의 후면측에 결합 지지될 수 있다. 더 구체적으로 설명하면, 프레임(110)의 모서리부측에는 결합공(113)이 형성될 수 있고, 패널(P)의 후면에는 보스(Boss)(B)가 형성될 수 있다. 그리하여, 결합부재(121)가 결합공(113)을 관통하여 보스(B)에 결합되면, 프레임(110)이 패널(P)에 결합 지지될 수 있다.
자기회로부(130)는 자기력을 발생할 수 있으며, 요크(131), 마그네트(133) 및 플레이트(135)를 포함할 수 있다.
요크(131)는 금속재로 형성될 수 있으며, 프레임(110)의 후면측에 결합 지지될 수 있다. 요크(131)는 원형의 받침판(131a)과 받침판(131a)의 테두리부에서 상측으로 연장된 측판(131b)을 가지면서, "U"형상으로 형성될 수 있다.
측판(131b)의 전단부측은 프레임(110)의 공간부(111)에 삽입될 수 있다. 이때, 공간부(111)를 형성하는 프레임(110)의 내주면에는 단면(段面)(111a)이 형성될 수 있고, 측판(131b)의 전단면(前端面)은 단면(111a)에 접촉 지지될 수 있다.
프레임(110)의 후면에는 측판(131b)의 외면을 감싸서 지지하는 복수의 제1지지편(115)이 간격을 가지면서 설치될 수 있고, 제1지지편(115)의 단부측에는 받침판(131a)의 후면 테두리부측을 지지하는 제2지지편(117)이 형성될 수 있다.
그러므로, 프레임(110)의 단면(111a)에 접촉 지지되는 측판(131b)의 전단면, 제1지지편(115)에 의하여 외면이 지지되는 측판(131b) 및 제2지지편(117)에 의하여 후면이 지지되는 받침판(131a)에 의하여, 요크(131)가 프레임(110)에 결합 지지된다.
마그네트(133)는 받침판(131a)의 전면에 설치되어 요크(131)의 내부에 위치될 수 있고, 플레이트(135)는 마그네트(133)에 설치되어 요크(131)의 내부에 위치될 수 있다. 이때, 요크(131)의 측판(131b)의 내주면과 마그네트(133)의 외주면 사이 및 요크(131)의 측판(131b)의 내주면과 플레이트(135)의 외주면 사이에는 갭(G)이 형성될 수 있다.
익사이터(150)는 자기회로부(130)와 작용하여 패널(P)의 전면에서 후면을 향하는 방향 및 후면에서 전면을 향하는 방향으로 진동할 수 있으며, 보이스코일(151)과 댐퍼(155)를 포함할 수 있다.
보이스코일(151)은 보빈(151a)과 코일(151b)을 포함할 수 있다. 보빈(151a)의 부위 중, 패널(P)측을 향하는 보빈(151a)의 전방측 부위는 프레임(110)의 내부에 위치될 수 있고, 보빈(151a)의 후방측 부위는 자기회로부(130)의 갭(G)에 위치될 수 있다. 그리고, 코일(151b)은 보빈(151a)의 후방측 부위 외주면에 권선될 수 있다.
그리하여, 음 신호를 포함하는 전기적 신호가 코일(151b)에 공급되면, 코일(151b)과 자기회로부(130)의 작용에 의하여 보이스코일(151)이 패널(P)의 전면에서 후면을 향하는 방향 및 후면에서 전면을 향하는 방향으로 진동한다. 패널(P)의 전면에서 후면을 향하는 방향 및 후면에서 전면을 향하는 방향은 패널(P)의 두께 방향임은 당연하다.
댐퍼(155)는 링형상으로 형성되어 외주면측은 프레임(110)에 지지되고, 내주면측은 보빈(151b)의 외주면에 접착될 수 있다. 그리하여, 댐퍼(155)는 보이스코일(151)이 패널(P)의 두께 방향과 수직하는 패널(P)의 폭 방향으로 유동하는 것을 방지할 수 있다.
패널(P)측을 향하는 보빈(151a)의 전단면(前端面)은 패널(P)에 결합될 수 있다. 보빈(151a)을 패널(P)에 결합하기 위하여, 보빈(151a)의 전단면에는 링 형상의 캡(141)이 결합될 수 있고, 캡(141)에는 양면테이프 등과 같은 접착부재(145)의 후면이 접착될 수 있다. 그리고, 접착부재(145)의 전면은 패널(P)에 접착될 수 있다. 그러면, 보이스코일(151)이 진동이 패널(P)에 전달되고, 패널(P)이 진동하면서 음향을 재생할 수 있다.
평판디스플레이 장치의 패널(P)이 진동하면서 음향을 재생하면, 음향의 입체감이 향상될 수 있다.
익사이터(150)의 보이스코일(151)의 진동시, 코일(151b)에 전기적 신호가 인가되므로, 코일(151b)에서 많은 열이 발생한다. 그런데, 코일(151b)에서 발생되는 열이 패널(P)측으로 전달되면, 패널(P)이 손상될 수 있고, 보이스코일(151)이 열화될 수 있으므로, 코일(151b)에서 발생된 열을 신속하게 외부로 방열시켜야 한다.
본 실시예에 따른 패널 가진형 스피커는 코일(151b)에서 발생된 열을 패널(P)과 이격된 금속재의 요크(131)를 통하여 신속하게 방열시킬 수 있도록 구성될 수 있다. 이를 위하여, 요크(131)의 측판(131b)의 외면에는 복수의 방열편(131c)이 형성될 수 있다. 그러면, 자기회로부(130)의 외측으로 노출된 요크(131) 부위의 표면적이 상대적으로 넓으므로, 코일(151b)에서 발생된 열이 요크(131)를 통하여 외부로 신속하게 방열될 수 있다.
전술한 바와 같이, 프레임(110)은 결합부재(121)에 의하여 패널(P)에 결합된다. 이때, 방열편(131c)은 결합부재(121)에 의하여 프레임(110)에 결합될 수 있다. 그러면, 요크(131)가 프레임(110)에 더욱 견고하게 결합될 수 있다.
그리고, 방열편(131c)은 상호 인접하는 제1지지편(115)과 제1지지편(115) 사이를 통과할 수 있다.
본 실시예에 따른 패널 가진형 스피커는 요크(131)의 측판(131b)의 외면에 복수의 방열편(131c)이 형성되어 자기회로부(130)의 외측으로 노출된다. 그러면, 자기회로부(130)의 외측으로 노출된 요크(131)의 표면적이 상대적으로 넓으므로, 코일(151b)에서 발생되어 요크(131)의 내부에 존재하는 열이 요크(131)를 통하여 신속하게 외부로 방열된다. 이로 인해, 패널(P)이 열에 의하여 손상되는 것이 방지될 수 있고, 보이스코일(151)이 열화되는 것을 방지할 수 있다.
제2실시예
도 5는 본 발명의 제2실시예에 따른 패널 가진형 스피커의 요크의 배면 사시도로서, 제1실시예와의 차이점만을 설명한다.
도시된 바와 같이, 익사이터(150)의 코일(151b)(도 2 및 도 3 참조)에서 발생된 열을 요크(231)의 외부로 더욱 신속하게 방열하기 위하여, 요크(231)의 받침판(231a)의 후면에는 요철(凹凸)(231aa)이 연속적으로 형성될 수 있다. 그러면, 자기회로부(230)의 외측으로 노출된 요크(231)의 표면적이 상대적으로 더욱 넓으므로, 요크(231)의 내부의 열이 더욱 신속하게 방열될 수 있다.
제3실시예
도 6은 본 발명의 제3실시예에 따른 패널 가진형 스피커의 사시도로서, 제1실시예와의 차이점만을 설명한다.
도시된 바와 같이, 자기회로부(330)의 요크(331)의 방열편(331c)은 결합부재(321)에 의하여 패널(P)(도 2 참조)에 결합될 수 있고, 프레임(310)은 요크(331)의 방열편(331c)을 매개로 패널(P)에 결합될 수 있다. 즉, 방열편(331c)이 위치되는 프레임(310)의 부위를 제거하여 방열편(331c)만을 패널(P)에 결합하고, 프레임(310)은 요크(331)에 결합되어 패널(P)에 결합되는 형태로 설치될 수 있다.
본 발명의 제2실시예에 따른 구성을 제3실시예에도 적용할 수 있음은 당연하다.
제4실시예
도 7은 본 발명의 제4실시예에 따른 패널 가진형 스피커의 배면 사시도로서, 제1실시예와의 차이점만을 설명한다.
도시된 바와 같이, 프레임(410)의 중앙부에는 구획된 2개의 공간부가 형성될 수 있고, 상기 각 공간부에 자기회로부(430) 및 익사이터가 각각 설치될 수 있다. 즉, 자기회로부(430) 및 상기 익사이터는 2개 설치될 수 있다.
그리고, 2개의 자기회로부(430) 중, 어느 하나의 자기회로부(430)의 요크(431)에 형성된 방열편(431c)은 프레임(410)의 일단부측에 위치되고, 다른 하나의 자기회로부(430)의 요크(431)에 형성된 방열편(431c)은 프레임(410)의 타단부측에 위치될 수 있다. 이는, 상호 인접하는 요크(431)의 부위에 각각 방열편(431c)이 형성될 경우, 방열편(431c)이 상호 물리적 및 열적으로 간섭하는 것을 방지하기 위함이다.
이때, 어느 하나의 자기회로부(430)의 요크(431)에 형성된 방열편(431c)은 프레임(410)의 일단부 외측을 향하고, 다른 하나의 자기회로부(430)의 요크(431)에 형성된 방열편(431c)은 프레임(410)의 타단부 외측을 향하면서, 상호 반대 방향을 향할 수 있다.
이상에서 설명한 본 발명은 전술한 실시예 및 첨부된 도면에 한정되는 것이 아니고, 본 발명의 기술적 사상을 벗어나지 않는 범위 내에서 여러 가지 치환, 변형 및 변경이 가능하다는 것은 본 발명이 속하는 기술 분야에서 통상의 지식을 가진 자에게 있어 명백할 것이다. 그러므로, 본 발명의 범위는 후술하는 특허청구범위에 의하여 나타내어지며, 특허청구범위의 의미 및 범위 그리고 그 등가 개념으로부터 도출되는 모든 변경 또는 변형된 형태가 본 발명의 범위에 포함되는 것으로 해석되어야 한다.
110: 프레임
130: 자기회로부
131: 요크
131c: 방열편
150: 익사이터

Claims (7)

  1. 패널측에 결합되는 프레임;
    상기 프레임에 결합되는 요크, 상기 요크의 내부에 설치되는 마그네트 및 상기 마그네트에 설치되는 폴피스를 가지며 자기력을 발생하는 자기회로부;
    일측은 상기 자기회로부측에 위치되고 타측은 상기 패널측에 결합되며, 상기 자기회로부와 작용하여 진동하면서 상기 패널을 진동시키는 보이스코일을 가지는 익사이터(Exciter)를 포함하며,
    상기 요크의 외면에는, 상기 보이스코일의 진동시, 상기 보이스코일에서 발생되어 상기 요크로 전달된 열을 방열시키기 위한 복수의 방열편이 형성된 것을 특징으로 하는 패널 가진형 스피커.
  2. 제1항에 있어서,
    상기 프레임은 결합부재에 의하여 상기 패널에 결합되고,
    상기 방열편은 상기 결합부재에 의하여 상기 프레임에 결합되는 것을 특징으로 하는 패널 가진형 스피커.
  3. 제1항에 있어서,
    상기 방열편은 결합부재에 의하여 상기 패널에 결합되고,
    상기 프레임은 상기 요크의 상기 방열편을 매개로 상기 패널에 결합되는 것을 특징으로 하는 패널 가진형 스피커.
  4. 제1항에 있어서,
    상기 요크는 상기 마그네트가 일면에 설치되는 받침판과 상기 받침판의 테두리부에서 상측으로 연장된 측판을 가지는 "U"형상으로 형성되고,
    상기 측판의 단면(端面)은 상기 프레임에 접촉 지지되며,
    상기 프레임에는 상기 측판의 외면을 감싸서 지지하는 복수의 제1지지편이 간격을 가지면서 설치되고,
    상기 제1지지편의 단부측에는 상기 받침판의 타면 테두리부측을 지지하는 제2지지편이 형성된 것을 특징으로 하는 패널 가진형 스피커.
  5. 제4항에 있어서,
    상기 받침판의 타면에는 요철(凹凸)이 연속적으로 형성된 것을 특징으로 하는 패널 가진형 스피커.
  6. 제1항에 있어서,
    상기 자기회로부 및 상기 익사이터는 각각 2개 설치되고,
    어느 하나의 상기 자기회로부의 상기 요크에 형성된 상기 방열편은 상기 프레임의 일단부측 위치되고, 다른 하나의 상기 자기회로부의 상기 요크에 형성된 상기 방열편은 상기 프레임의 타단부측에 위치된 것을 특징으로 하는 패널 가진형 스피커.
  7. 제6항에 있어서,
    어느 하나의 상기 자기회로부의 상기 요크에 형성된 상기 방열편은 상기 프레임의 일단부 외측을 향하고, 다른 하나의 상기 자기회로부의 상기 요크에 형성된 상기 방열편은 상기 프레임의 타단부 외측을 향하면서 상호 반대 방향을 향하는 것을 특징으로 하는 패널 가진형 스피커.
KR1020170025253A 2017-02-27 2017-02-27 향상된 방열 성능을 가진 패널 가진형 스피커 Active KR101900855B1 (ko)

Priority Applications (1)

Application Number Priority Date Filing Date Title
KR1020170025253A KR101900855B1 (ko) 2017-02-27 2017-02-27 향상된 방열 성능을 가진 패널 가진형 스피커

Applications Claiming Priority (1)

Application Number Priority Date Filing Date Title
KR1020170025253A KR101900855B1 (ko) 2017-02-27 2017-02-27 향상된 방열 성능을 가진 패널 가진형 스피커

Publications (2)

Publication Number Publication Date
KR20180098752A true KR20180098752A (ko) 2018-09-05
KR101900855B1 KR101900855B1 (ko) 2018-09-20

Family

ID=63594601

Family Applications (1)

Application Number Title Priority Date Filing Date
KR1020170025253A Active KR101900855B1 (ko) 2017-02-27 2017-02-27 향상된 방열 성능을 가진 패널 가진형 스피커

Country Status (1)

Country Link
KR (1) KR101900855B1 (ko)

Cited By (5)

* Cited by examiner, † Cited by third party
Publication number Priority date Publication date Assignee Title
KR102152980B1 (ko) * 2019-06-14 2020-09-07 에스텍 주식회사 패널 가진형 익사이터
KR102211087B1 (ko) * 2019-11-25 2021-02-02 에스텍 주식회사 방열 성능을 개선한 익사이터
KR20210018657A (ko) * 2019-08-08 2021-02-18 주식회사 이엠텍 음향 발생 액츄에이터
KR20210152666A (ko) * 2020-06-09 2021-12-16 에스텍 주식회사 익사이터
KR102407589B1 (ko) * 2021-10-29 2022-06-10 정경환 세라믹 진동체를 포함하는 화재 방재용 스피커 어셈블리

Families Citing this family (1)

* Cited by examiner, † Cited by third party
Publication number Priority date Publication date Assignee Title
KR102115383B1 (ko) * 2019-06-11 2020-05-26 에스텍 주식회사 진동 패널 장착용 익사이터

Family Cites Families (2)

* Cited by examiner, † Cited by third party
Publication number Priority date Publication date Assignee Title
JP3985987B2 (ja) * 1999-09-27 2007-10-03 パイオニア株式会社 スピーカ装置およびスピーカ装置用冷却装置
JP3808469B2 (ja) * 2003-12-10 2006-08-09 Necアクセステクニカ株式会社 スピーカ用アクチュエータおよびパネル型スピーカ

Cited By (5)

* Cited by examiner, † Cited by third party
Publication number Priority date Publication date Assignee Title
KR102152980B1 (ko) * 2019-06-14 2020-09-07 에스텍 주식회사 패널 가진형 익사이터
KR20210018657A (ko) * 2019-08-08 2021-02-18 주식회사 이엠텍 음향 발생 액츄에이터
KR102211087B1 (ko) * 2019-11-25 2021-02-02 에스텍 주식회사 방열 성능을 개선한 익사이터
KR20210152666A (ko) * 2020-06-09 2021-12-16 에스텍 주식회사 익사이터
KR102407589B1 (ko) * 2021-10-29 2022-06-10 정경환 세라믹 진동체를 포함하는 화재 방재용 스피커 어셈블리

Also Published As

Publication number Publication date
KR101900855B1 (ko) 2018-09-20

Similar Documents

Publication Publication Date Title
KR101900855B1 (ko) 향상된 방열 성능을 가진 패널 가진형 스피커
KR102563628B1 (ko) 디스플레이 장치
EP3163908B1 (en) Speaker module
KR101911369B1 (ko) 양방향으로 음향을 복사할 수 있는 패널 가진형 스피커
KR102874535B1 (ko) 디스플레이 장치
WO2018070399A1 (ja) 平板スピーカおよび表示装置
US20140056464A1 (en) Micro-Speaker
KR20180121294A (ko) 표시 장치
US8958596B2 (en) Vibration system and speaker using the same
US20170034628A1 (en) Speaker
KR102032166B1 (ko) 패널 가진형 스피커
US6622817B1 (en) Sound reproduction device working according to the bending wave principle
KR101843127B1 (ko) 패널 가진형 스피커
WO2013176053A1 (ja) ハイブリッドスピーカ
KR101870211B1 (ko) 패널 가진형 스피커
KR102252025B1 (ko) 음향 발생 액츄에이터
US7570774B2 (en) Speaker having improved sound-radiating function to both directions
KR102737713B1 (ko) 디스플레이 장치
JP5327616B2 (ja) スピーカユニット
KR101844922B1 (ko) 패널 가진형 스피커
KR102048000B1 (ko) 중저음 발생용 음향발생부를 구비한 패널 가진형 스피커
JP2008259049A (ja) 電磁変換器及びスピーカ装置
KR102190412B1 (ko) 마이크로 스피커
KR101413965B1 (ko) 시스템 스피커
KR102044941B1 (ko) 중저음 발생용 음향발생부를 구비한 패널 가진형 스피커

Legal Events

Date Code Title Description
A201 Request for examination
PA0109 Patent application

St.27 status event code: A-0-1-A10-A12-nap-PA0109

PA0201 Request for examination

St.27 status event code: A-1-2-D10-D11-exm-PA0201

E902 Notification of reason for refusal
PE0902 Notice of grounds for rejection

St.27 status event code: A-1-2-D10-D21-exm-PE0902

E13-X000 Pre-grant limitation requested

St.27 status event code: A-2-3-E10-E13-lim-X000

P11-X000 Amendment of application requested

St.27 status event code: A-2-2-P10-P11-nap-X000

P13-X000 Application amended

St.27 status event code: A-2-2-P10-P13-nap-X000

E902 Notification of reason for refusal
PE0902 Notice of grounds for rejection

St.27 status event code: A-1-2-D10-D21-exm-PE0902

E13-X000 Pre-grant limitation requested

St.27 status event code: A-2-3-E10-E13-lim-X000

P11-X000 Amendment of application requested

St.27 status event code: A-2-2-P10-P11-nap-X000

P13-X000 Application amended

St.27 status event code: A-2-2-P10-P13-nap-X000

PG1501 Laying open of application

St.27 status event code: A-1-1-Q10-Q12-nap-PG1501

E701 Decision to grant or registration of patent right
PE0701 Decision of registration

St.27 status event code: A-1-2-D10-D22-exm-PE0701

PR0701 Registration of establishment

St.27 status event code: A-2-4-F10-F11-exm-PR0701

PR1002 Payment of registration fee

St.27 status event code: A-2-2-U10-U11-oth-PR1002

Fee payment year number: 1

PG1601 Publication of registration

St.27 status event code: A-4-4-Q10-Q13-nap-PG1601

PN2301 Change of applicant

St.27 status event code: A-5-5-R10-R13-asn-PN2301

St.27 status event code: A-5-5-R10-R11-asn-PN2301

PR1001 Payment of annual fee

St.27 status event code: A-4-4-U10-U11-oth-PR1001

Fee payment year number: 4

PR1001 Payment of annual fee

St.27 status event code: A-4-4-U10-U11-oth-PR1001

Fee payment year number: 5

PR1001 Payment of annual fee

St.27 status event code: A-4-4-U10-U11-oth-PR1001

Fee payment year number: 6

PR1001 Payment of annual fee

St.27 status event code: A-4-4-U10-U11-oth-PR1001

Fee payment year number: 7

PR1001 Payment of annual fee

St.27 status event code: A-4-4-U10-U11-oth-PR1001

Fee payment year number: 8

U11 Full renewal or maintenance fee paid

Free format text: ST27 STATUS EVENT CODE: A-4-4-U10-U11-OTH-PR1001 (AS PROVIDED BY THE NATIONAL OFFICE)

Year of fee payment: 8