KR20180053342A - 점진적인 전력 웨이크-업 메커니즘 - Google Patents
점진적인 전력 웨이크-업 메커니즘 Download PDFInfo
- Publication number
- KR20180053342A KR20180053342A KR1020187010139A KR20187010139A KR20180053342A KR 20180053342 A KR20180053342 A KR 20180053342A KR 1020187010139 A KR1020187010139 A KR 1020187010139A KR 20187010139 A KR20187010139 A KR 20187010139A KR 20180053342 A KR20180053342 A KR 20180053342A
- Authority
- KR
- South Korea
- Prior art keywords
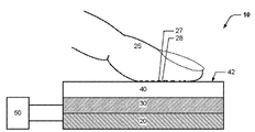
- fingerprint image
- zones
- metric level
- metric
- determining
- Prior art date
- Legal status (The legal status is an assumption and is not a legal conclusion. Google has not performed a legal analysis and makes no representation as to the accuracy of the status listed.)
- Withdrawn
Links
Images
Classifications
-
- G—PHYSICS
- G06—COMPUTING OR CALCULATING; COUNTING
- G06F—ELECTRIC DIGITAL DATA PROCESSING
- G06F9/00—Arrangements for program control, e.g. control units
- G06F9/06—Arrangements for program control, e.g. control units using stored programs, i.e. using an internal store of processing equipment to receive or retain programs
- G06F9/44—Arrangements for executing specific programs
- G06F9/4401—Bootstrapping
- G06F9/4418—Suspend and resume; Hibernate and awake
-
- G—PHYSICS
- G06—COMPUTING OR CALCULATING; COUNTING
- G06F—ELECTRIC DIGITAL DATA PROCESSING
- G06F1/00—Details not covered by groups G06F3/00 - G06F13/00 and G06F21/00
- G06F1/26—Power supply means, e.g. regulation thereof
- G06F1/32—Means for saving power
- G06F1/3203—Power management, i.e. event-based initiation of a power-saving mode
- G06F1/3206—Monitoring of events, devices or parameters that trigger a change in power modality
- G06F1/3231—Monitoring the presence, absence or movement of users
-
- G—PHYSICS
- G06—COMPUTING OR CALCULATING; COUNTING
- G06F—ELECTRIC DIGITAL DATA PROCESSING
- G06F3/00—Input arrangements for transferring data to be processed into a form capable of being handled by the computer; Output arrangements for transferring data from processing unit to output unit, e.g. interface arrangements
- G06F3/01—Input arrangements or combined input and output arrangements for interaction between user and computer
- G06F3/048—Interaction techniques based on graphical user interfaces [GUI]
- G06F3/0487—Interaction techniques based on graphical user interfaces [GUI] using specific features provided by the input device, e.g. functions controlled by the rotation of a mouse with dual sensing arrangements, or of the nature of the input device, e.g. tap gestures based on pressure sensed by a digitiser
- G06F3/0488—Interaction techniques based on graphical user interfaces [GUI] using specific features provided by the input device, e.g. functions controlled by the rotation of a mouse with dual sensing arrangements, or of the nature of the input device, e.g. tap gestures based on pressure sensed by a digitiser using a touch-screen or digitiser, e.g. input of commands through traced gestures
-
- G—PHYSICS
- G06—COMPUTING OR CALCULATING; COUNTING
- G06F—ELECTRIC DIGITAL DATA PROCESSING
- G06F1/00—Details not covered by groups G06F3/00 - G06F13/00 and G06F21/00
- G06F1/26—Power supply means, e.g. regulation thereof
- G06F1/32—Means for saving power
- G06F1/3203—Power management, i.e. event-based initiation of a power-saving mode
- G06F1/3206—Monitoring of events, devices or parameters that trigger a change in power modality
-
- G—PHYSICS
- G06—COMPUTING OR CALCULATING; COUNTING
- G06F—ELECTRIC DIGITAL DATA PROCESSING
- G06F1/00—Details not covered by groups G06F3/00 - G06F13/00 and G06F21/00
- G06F1/26—Power supply means, e.g. regulation thereof
- G06F1/32—Means for saving power
- G06F1/3203—Power management, i.e. event-based initiation of a power-saving mode
- G06F1/3234—Power saving characterised by the action undertaken
-
- G—PHYSICS
- G06—COMPUTING OR CALCULATING; COUNTING
- G06F—ELECTRIC DIGITAL DATA PROCESSING
- G06F21/00—Security arrangements for protecting computers, components thereof, programs or data against unauthorised activity
- G06F21/30—Authentication, i.e. establishing the identity or authorisation of security principals
- G06F21/31—User authentication
- G06F21/32—User authentication using biometric data, e.g. fingerprints, iris scans or voiceprints
-
- G—PHYSICS
- G06—COMPUTING OR CALCULATING; COUNTING
- G06F—ELECTRIC DIGITAL DATA PROCESSING
- G06F3/00—Input arrangements for transferring data to be processed into a form capable of being handled by the computer; Output arrangements for transferring data from processing unit to output unit, e.g. interface arrangements
- G06F3/01—Input arrangements or combined input and output arrangements for interaction between user and computer
- G06F3/03—Arrangements for converting the position or the displacement of a member into a coded form
- G06F3/041—Digitisers, e.g. for touch screens or touch pads, characterised by the transducing means
- G06F3/043—Digitisers, e.g. for touch screens or touch pads, characterised by the transducing means using propagating acoustic waves
-
- G—PHYSICS
- G06—COMPUTING OR CALCULATING; COUNTING
- G06F—ELECTRIC DIGITAL DATA PROCESSING
- G06F3/00—Input arrangements for transferring data to be processed into a form capable of being handled by the computer; Output arrangements for transferring data from processing unit to output unit, e.g. interface arrangements
- G06F3/01—Input arrangements or combined input and output arrangements for interaction between user and computer
- G06F3/048—Interaction techniques based on graphical user interfaces [GUI]
- G06F3/0484—Interaction techniques based on graphical user interfaces [GUI] for the control of specific functions or operations, e.g. selecting or manipulating an object, an image or a displayed text element, setting a parameter value or selecting a range
-
- G—PHYSICS
- G06—COMPUTING OR CALCULATING; COUNTING
- G06F—ELECTRIC DIGITAL DATA PROCESSING
- G06F3/00—Input arrangements for transferring data to be processed into a form capable of being handled by the computer; Output arrangements for transferring data from processing unit to output unit, e.g. interface arrangements
- G06F3/01—Input arrangements or combined input and output arrangements for interaction between user and computer
- G06F3/048—Interaction techniques based on graphical user interfaces [GUI]
- G06F3/0487—Interaction techniques based on graphical user interfaces [GUI] using specific features provided by the input device, e.g. functions controlled by the rotation of a mouse with dual sensing arrangements, or of the nature of the input device, e.g. tap gestures based on pressure sensed by a digitiser
- G06F3/0488—Interaction techniques based on graphical user interfaces [GUI] using specific features provided by the input device, e.g. functions controlled by the rotation of a mouse with dual sensing arrangements, or of the nature of the input device, e.g. tap gestures based on pressure sensed by a digitiser using a touch-screen or digitiser, e.g. input of commands through traced gestures
- G06F3/04883—Interaction techniques based on graphical user interfaces [GUI] using specific features provided by the input device, e.g. functions controlled by the rotation of a mouse with dual sensing arrangements, or of the nature of the input device, e.g. tap gestures based on pressure sensed by a digitiser using a touch-screen or digitiser, e.g. input of commands through traced gestures for inputting data by handwriting, e.g. gesture or text
-
- G—PHYSICS
- G06—COMPUTING OR CALCULATING; COUNTING
- G06F—ELECTRIC DIGITAL DATA PROCESSING
- G06F9/00—Arrangements for program control, e.g. control units
- G06F9/06—Arrangements for program control, e.g. control units using stored programs, i.e. using an internal store of processing equipment to receive or retain programs
- G06F9/44—Arrangements for executing specific programs
- G06F9/4401—Bootstrapping
- G06F9/4406—Loading of operating system
-
- G06K9/0002—
-
- G06K9/00087—
-
- G—PHYSICS
- G06—COMPUTING OR CALCULATING; COUNTING
- G06V—IMAGE OR VIDEO RECOGNITION OR UNDERSTANDING
- G06V40/00—Recognition of biometric, human-related or animal-related patterns in image or video data
- G06V40/10—Human or animal bodies, e.g. vehicle occupants or pedestrians; Body parts, e.g. hands
- G06V40/12—Fingerprints or palmprints
- G06V40/13—Sensors therefor
- G06V40/1306—Sensors therefor non-optical, e.g. ultrasonic or capacitive sensing
-
- G—PHYSICS
- G06—COMPUTING OR CALCULATING; COUNTING
- G06V—IMAGE OR VIDEO RECOGNITION OR UNDERSTANDING
- G06V40/00—Recognition of biometric, human-related or animal-related patterns in image or video data
- G06V40/10—Human or animal bodies, e.g. vehicle occupants or pedestrians; Body parts, e.g. hands
- G06V40/12—Fingerprints or palmprints
- G06V40/1365—Matching; Classification
-
- H—ELECTRICITY
- H04—ELECTRIC COMMUNICATION TECHNIQUE
- H04M—TELEPHONIC COMMUNICATION
- H04M2250/00—Details of telephonic subscriber devices
- H04M2250/22—Details of telephonic subscriber devices including a touch pad, a touch sensor or a touch detector
Landscapes
- Engineering & Computer Science (AREA)
- Theoretical Computer Science (AREA)
- General Engineering & Computer Science (AREA)
- Physics & Mathematics (AREA)
- General Physics & Mathematics (AREA)
- Software Systems (AREA)
- Human Computer Interaction (AREA)
- Computer Security & Cryptography (AREA)
- Multimedia (AREA)
- Computer Hardware Design (AREA)
- Acoustics & Sound (AREA)
- Image Input (AREA)
- Collating Specific Patterns (AREA)
- Measurement Of The Respiration, Hearing Ability, Form, And Blood Characteristics Of Living Organisms (AREA)
- Power Sources (AREA)
- Telephone Function (AREA)
Applications Claiming Priority (5)
| Application Number | Priority Date | Filing Date | Title |
|---|---|---|---|
| US201562217538P | 2015-09-11 | 2015-09-11 | |
| US62/217,538 | 2015-09-11 | ||
| US15/260,132 US10261804B2 (en) | 2015-09-11 | 2016-09-08 | Gradual power wake-up mechanism |
| US15/260,132 | 2016-09-08 | ||
| PCT/US2016/050909 WO2017044716A1 (en) | 2015-09-11 | 2016-09-09 | Gradual power wake-up mechanism |
Publications (1)
| Publication Number | Publication Date |
|---|---|
| KR20180053342A true KR20180053342A (ko) | 2018-05-21 |
Family
ID=56997547
Family Applications (1)
| Application Number | Title | Priority Date | Filing Date |
|---|---|---|---|
| KR1020187010139A Withdrawn KR20180053342A (ko) | 2015-09-11 | 2016-09-09 | 점진적인 전력 웨이크-업 메커니즘 |
Country Status (6)
| Country | Link |
|---|---|
| US (1) | US10261804B2 (enExample) |
| EP (1) | EP3347806B1 (enExample) |
| JP (1) | JP2018537746A (enExample) |
| KR (1) | KR20180053342A (enExample) |
| CN (2) | CN113721830A (enExample) |
| WO (1) | WO2017044716A1 (enExample) |
Families Citing this family (53)
| Publication number | Priority date | Publication date | Assignee | Title |
|---|---|---|---|---|
| US10503948B2 (en) * | 2014-03-06 | 2019-12-10 | Qualcomm Incorporated | Multi-spectral ultrasonic imaging |
| WO2017052727A1 (en) * | 2015-09-25 | 2017-03-30 | Cressputi Research Llc | Light sensing display |
| CN105740690B (zh) * | 2016-03-14 | 2018-01-19 | 广东欧珀移动通信有限公司 | 一种解锁方法及移动终端 |
| US10445547B2 (en) | 2016-05-04 | 2019-10-15 | Invensense, Inc. | Device mountable packaging of ultrasonic transducers |
| US10315222B2 (en) | 2016-05-04 | 2019-06-11 | Invensense, Inc. | Two-dimensional array of CMOS control elements |
| US10656255B2 (en) | 2016-05-04 | 2020-05-19 | Invensense, Inc. | Piezoelectric micromachined ultrasonic transducer (PMUT) |
| US10670716B2 (en) | 2016-05-04 | 2020-06-02 | Invensense, Inc. | Operating a two-dimensional array of ultrasonic transducers |
| US10706835B2 (en) | 2016-05-10 | 2020-07-07 | Invensense, Inc. | Transmit beamforming of a two-dimensional array of ultrasonic transducers |
| US11673165B2 (en) | 2016-05-10 | 2023-06-13 | Invensense, Inc. | Ultrasonic transducer operable in a surface acoustic wave (SAW) mode |
| US10408797B2 (en) * | 2016-05-10 | 2019-09-10 | Invensense, Inc. | Sensing device with a temperature sensor |
| US10600403B2 (en) | 2016-05-10 | 2020-03-24 | Invensense, Inc. | Transmit operation of an ultrasonic sensor |
| US10632500B2 (en) | 2016-05-10 | 2020-04-28 | Invensense, Inc. | Ultrasonic transducer with a non-uniform membrane |
| US10539539B2 (en) | 2016-05-10 | 2020-01-21 | Invensense, Inc. | Operation of an ultrasonic sensor |
| US10562070B2 (en) | 2016-05-10 | 2020-02-18 | Invensense, Inc. | Receive operation of an ultrasonic sensor |
| US10452887B2 (en) | 2016-05-10 | 2019-10-22 | Invensense, Inc. | Operating a fingerprint sensor comprised of ultrasonic transducers |
| US10441975B2 (en) | 2016-05-10 | 2019-10-15 | Invensense, Inc. | Supplemental sensor modes and systems for ultrasonic transducers |
| CA3045246A1 (en) * | 2016-11-29 | 2018-06-07 | P&P Ultra G Ltd. | Preventing unauthorized use of devices |
| KR20180086087A (ko) * | 2017-01-20 | 2018-07-30 | 삼성전자주식회사 | 지문 정보 처리 방법 |
| KR102316278B1 (ko) * | 2017-04-07 | 2021-10-22 | 삼성전자 주식회사 | 지문 정보를 저장하기 위한 전자 장치 및 방법 |
| US10489627B2 (en) | 2017-04-28 | 2019-11-26 | The Board Of Trustees Of The Leland Stanford Junior University | Acoustic biometric touch scanner |
| US9953205B1 (en) | 2017-04-28 | 2018-04-24 | The Board Of Trustees Of The Leland Stanford Junior University | Acoustic biometric touch scanner |
| US10846501B2 (en) | 2017-04-28 | 2020-11-24 | The Board Of Trustees Of The Leland Stanford Junior University | Acoustic biometric touch scanner |
| US10891461B2 (en) | 2017-05-22 | 2021-01-12 | Invensense, Inc. | Live fingerprint detection utilizing an integrated ultrasound and infrared sensor |
| US10474862B2 (en) | 2017-06-01 | 2019-11-12 | Invensense, Inc. | Image generation in an electronic device using ultrasonic transducers |
| US10643052B2 (en) | 2017-06-28 | 2020-05-05 | Invensense, Inc. | Image generation in an electronic device using ultrasonic transducers |
| JP2020530622A (ja) | 2017-08-09 | 2020-10-22 | ザ ボード オブ トラスティーズ オブ ザ レランド スタンフォード ジュニア ユニバーシティー | 対話型生体タッチスキャナ |
| US10936841B2 (en) | 2017-12-01 | 2021-03-02 | Invensense, Inc. | Darkfield tracking |
| US10984209B2 (en) | 2017-12-01 | 2021-04-20 | Invensense, Inc. | Darkfield modeling |
| US10997388B2 (en) | 2017-12-01 | 2021-05-04 | Invensense, Inc. | Darkfield contamination detection |
| US11151355B2 (en) | 2018-01-24 | 2021-10-19 | Invensense, Inc. | Generation of an estimated fingerprint |
| US10755067B2 (en) * | 2018-03-22 | 2020-08-25 | Invensense, Inc. | Operating a fingerprint sensor comprised of ultrasonic transducers |
| CN108595044B (zh) * | 2018-03-29 | 2020-08-04 | 维沃移动通信有限公司 | 一种触摸屏的控制方法及终端 |
| WO2019231380A1 (en) | 2018-05-28 | 2019-12-05 | Fingerprint Cards Ab | Method for determining a finger motion on a fingerprint sensor |
| US10936843B2 (en) | 2018-12-28 | 2021-03-02 | Invensense, Inc. | Segmented image acquisition |
| CN109919910B (zh) * | 2019-01-25 | 2021-06-22 | 合肥工业大学 | 基于差异图融合和改进水平集的sar图像变化检测方法 |
| US11188735B2 (en) | 2019-06-24 | 2021-11-30 | Invensense, Inc. | Fake finger detection using ridge features |
| US11216681B2 (en) | 2019-06-25 | 2022-01-04 | Invensense, Inc. | Fake finger detection based on transient features |
| CN110263752B (zh) * | 2019-06-27 | 2022-01-11 | Oppo广东移动通信有限公司 | 指纹识别方法及相关产品 |
| CN110287680A (zh) * | 2019-06-29 | 2019-09-27 | Oppo广东移动通信有限公司 | 指纹解锁方法及相关产品 |
| US11216632B2 (en) | 2019-07-17 | 2022-01-04 | Invensense, Inc. | Ultrasonic fingerprint sensor with a contact layer of non-uniform thickness |
| US11176345B2 (en) | 2019-07-17 | 2021-11-16 | Invensense, Inc. | Ultrasonic fingerprint sensor with a contact layer of non-uniform thickness |
| US11232549B2 (en) | 2019-08-23 | 2022-01-25 | Invensense, Inc. | Adapting a quality threshold for a fingerprint image |
| US11392789B2 (en) | 2019-10-21 | 2022-07-19 | Invensense, Inc. | Fingerprint authentication using a synthetic enrollment image |
| CN115551650A (zh) | 2020-03-09 | 2022-12-30 | 应美盛公司 | 具有非均匀厚度的接触层的超声指纹传感器 |
| US11243300B2 (en) | 2020-03-10 | 2022-02-08 | Invensense, Inc. | Operating a fingerprint sensor comprised of ultrasonic transducers and a presence sensor |
| US11328165B2 (en) | 2020-04-24 | 2022-05-10 | Invensense, Inc. | Pressure-based activation of fingerprint spoof detection |
| US11995909B2 (en) | 2020-07-17 | 2024-05-28 | Tdk Corporation | Multipath reflection correction |
| US12174295B2 (en) | 2020-08-07 | 2024-12-24 | Tdk Corporation | Acoustic multipath correction |
| US12416807B2 (en) | 2021-08-20 | 2025-09-16 | Tdk Corporation | Retinal projection display system |
| US12260050B2 (en) | 2021-08-25 | 2025-03-25 | Tdk Corporation | Differential receive at an ultrasonic transducer |
| CN116935450A (zh) * | 2022-03-29 | 2023-10-24 | 上海思立微电子科技有限公司 | 一种指纹检测方法及指纹模组 |
| JP7413481B1 (ja) * | 2022-10-21 | 2024-01-15 | レノボ・シンガポール・プライベート・リミテッド | 情報処理装置、及び制御方法 |
| US11900710B1 (en) * | 2023-01-30 | 2024-02-13 | Qualcomm Incorporated | Personalized fingerprint sensor system parameters |
Family Cites Families (18)
| Publication number | Priority date | Publication date | Assignee | Title |
|---|---|---|---|---|
| JPS6413678A (en) * | 1987-07-07 | 1989-01-18 | Nec Corp | Device for inputting fingerprint image |
| JP4022861B2 (ja) | 2002-04-10 | 2007-12-19 | 日本電気株式会社 | 指紋認証システム、指紋認証方法及び指紋認証プログラム |
| GB2401979B (en) | 2003-05-21 | 2007-03-21 | Research In Motion Ltd | Apparatus and method of input and finger print recognition on a handheld electronic device |
| JP2005222472A (ja) * | 2004-02-09 | 2005-08-18 | Sony Corp | 指紋センサー、指紋照合装置および指紋読み取り方法 |
| KR100891324B1 (ko) | 2005-08-29 | 2009-03-31 | 삼성전자주식회사 | 휴대용 개인단말장치를 이용한 지문인식 시스템 및지문특징 추출장치 및 방법 |
| CN201315608Y (zh) * | 2008-11-28 | 2009-09-23 | 深圳市隆宇世纪科技有限公司 | 内置指纹识别模块的手机 |
| US8872908B2 (en) * | 2009-08-26 | 2014-10-28 | Lumidigm, Inc | Dual-imager biometric sensor |
| US9466121B2 (en) * | 2012-09-11 | 2016-10-11 | Qualcomm Incorporated | Devices and methods for augmented reality applications |
| US9111125B2 (en) * | 2013-02-08 | 2015-08-18 | Apple Inc. | Fingerprint imaging and quality characterization |
| US8953853B2 (en) * | 2013-03-15 | 2015-02-10 | Google Technology Holdings LLC | Sensing characteristics of adjacent fingers for user authentication |
| US9261991B2 (en) | 2013-05-28 | 2016-02-16 | Google Technology Holdings LLC | Multi-layered sensing with multiple resolutions |
| US9323393B2 (en) * | 2013-06-03 | 2016-04-26 | Qualcomm Incorporated | Display with peripherally configured ultrasonic biometric sensor |
| US9086749B2 (en) * | 2013-08-30 | 2015-07-21 | Qualcomm Incorporated | System and method for improved processing of touch sensor data |
| US9967100B2 (en) * | 2013-11-05 | 2018-05-08 | Samsung Electronics Co., Ltd | Method of controlling power supply for fingerprint sensor, fingerprint processing device, and electronic device performing the same |
| US9542783B2 (en) | 2013-11-15 | 2017-01-10 | Google Technology Holdings LLC | Method and apparatus for authenticating access to a multi-level secure environment of an electronic device |
| KR20150139396A (ko) | 2014-07-11 | 2015-12-11 | 크루셜텍 (주) | 상이한 지문 입력 방식을 지원하는 지문 인증 방법 및 전자 장치 |
| CN104318222B (zh) * | 2014-11-14 | 2019-10-11 | 深圳市汇顶科技股份有限公司 | 用于指纹检测的检测方法和装置 |
| CN105528592A (zh) | 2016-01-18 | 2016-04-27 | 北京集创北方科技股份有限公司 | 一种指纹扫描和手势识别方法及装置 |
-
2016
- 2016-09-08 US US15/260,132 patent/US10261804B2/en active Active
- 2016-09-09 KR KR1020187010139A patent/KR20180053342A/ko not_active Withdrawn
- 2016-09-09 CN CN202111025759.1A patent/CN113721830A/zh active Pending
- 2016-09-09 JP JP2018512388A patent/JP2018537746A/ja not_active Ceased
- 2016-09-09 CN CN201680051698.7A patent/CN108027702A/zh active Pending
- 2016-09-09 EP EP16770831.2A patent/EP3347806B1/en active Active
- 2016-09-09 WO PCT/US2016/050909 patent/WO2017044716A1/en not_active Ceased
Also Published As
| Publication number | Publication date |
|---|---|
| EP3347806B1 (en) | 2019-12-11 |
| JP2018537746A (ja) | 2018-12-20 |
| CN108027702A (zh) | 2018-05-11 |
| US20170075700A1 (en) | 2017-03-16 |
| CN113721830A (zh) | 2021-11-30 |
| US10261804B2 (en) | 2019-04-16 |
| WO2017044716A1 (en) | 2017-03-16 |
| EP3347806A1 (en) | 2018-07-18 |
Similar Documents
| Publication | Publication Date | Title |
|---|---|---|
| US10261804B2 (en) | Gradual power wake-up mechanism | |
| US10733409B2 (en) | Hybrid capacitive and ultrasonic sensing | |
| US11366543B2 (en) | Biometric sensor with force detection and ultrasonic imaging capability | |
| US11651610B2 (en) | Heart rate and respiration rate measurement using a fingerprint sensor | |
| US10262188B2 (en) | Liveness and spoof detection for ultrasonic fingerprint sensors | |
| CN109154877B (zh) | 在手持型装置中提供虚拟按钮 | |
| US10254901B2 (en) | Method and integrated circuit to generate a signal to operate a sensor array | |
| JP6526649B2 (ja) | 圧電力検知アレイ | |
| US20180373393A1 (en) | Methods and Apparatuses for Detecting Touch Motion with Ultrasonic Sensors | |
| US9867134B2 (en) | Electronic device generating finger images at a progressively slower capture rate and related methods | |
| US9830497B2 (en) | Correction of diffraction effects in an ultrasonic sensor | |
| TWI691882B (zh) | 可自動調整感測信號處理參數的指紋感測方法、指紋感測器及資訊處理裝置 | |
| EP3721659B1 (en) | Method for transitioning a device controller comprised in an electronic device, and an electronic device |
Legal Events
| Date | Code | Title | Description |
|---|---|---|---|
| PA0105 | International application |
Patent event date: 20180410 Patent event code: PA01051R01D Comment text: International Patent Application |
|
| PG1501 | Laying open of application | ||
| PC1203 | Withdrawal of no request for examination |