KR20160003586U - A drain connection for washstand - Google Patents

A drain connection for washstand Download PDF

Info

Publication number
KR20160003586U
KR20160003586U KR2020150002235U KR20150002235U KR20160003586U KR 20160003586 U KR20160003586 U KR 20160003586U KR 2020150002235 U KR2020150002235 U KR 2020150002235U KR 20150002235 U KR20150002235 U KR 20150002235U KR 20160003586 U KR20160003586 U KR 20160003586U
Authority
KR
South Korea
Prior art keywords
pipe
hole
drain
connection
drain pipe
Prior art date
Legal status (The legal status is an assumption and is not a legal conclusion. Google has not performed a legal analysis and makes no representation as to the accuracy of the status listed.)
Ceased
Application number
KR2020150002235U
Other languages
Korean (ko)
Inventor
이성진
Original Assignee
이성진
Priority date (The priority date is an assumption and is not a legal conclusion. Google has not performed a legal analysis and makes no representation as to the accuracy of the date listed.)
Filing date
Publication date
Application filed by 이성진 filed Critical 이성진
Priority to KR2020150002235U priority Critical patent/KR20160003586U/en
Publication of KR20160003586U publication Critical patent/KR20160003586U/en
Ceased legal-status Critical Current

Links

Images

Classifications

    • EFIXED CONSTRUCTIONS
    • E03WATER SUPPLY; SEWERAGE
    • E03CDOMESTIC PLUMBING INSTALLATIONS FOR FRESH WATER OR WASTE WATER; SINKS
    • E03C1/00Domestic plumbing installations for fresh water or waste water; Sinks
    • E03C1/12Plumbing installations for waste water; Basins or fountains connected thereto; Sinks
    • E03C1/14Wash-basins connected to the waste-pipe
    • EFIXED CONSTRUCTIONS
    • E03WATER SUPPLY; SEWERAGE
    • E03CDOMESTIC PLUMBING INSTALLATIONS FOR FRESH WATER OR WASTE WATER; SINKS
    • E03C1/00Domestic plumbing installations for fresh water or waste water; Sinks
    • E03C1/12Plumbing installations for waste water; Basins or fountains connected thereto; Sinks
    • E03C1/22Outlet devices mounted in basins, baths, or sinks

Landscapes

  • Engineering & Computer Science (AREA)
  • Environmental & Geological Engineering (AREA)
  • Health & Medical Sciences (AREA)
  • Life Sciences & Earth Sciences (AREA)
  • Hydrology & Water Resources (AREA)
  • Public Health (AREA)
  • Water Supply & Treatment (AREA)
  • Sink And Installation For Waste Water (AREA)

Abstract

본 고안은 세면대용 배수관 연결구에 관한 것으로, 보다 상세하게는 세면기에 담수된 물을 하수관으로 이동시키는 배수관과 배수트랩을 연결시 너트에 의한 체결방식이 아닌 끼움체결방식으로 신속하게 체결결합되고, 파손시 교체가 편리하며, 역류시 누수를 방지할 수 있는 세면대용 배수관 연결구는 세면대에 담수된 물을 하수관으로 이동시키는 배수관과 배수트랩을 연결결합시키는 세면대용 배수관 연결구에 있어서, 상기 배수트랩에 배수관이 연결되는 상부 연결통공 내측에는 삽입홈부가 형성되고 상기 배수트랩의 삽입홈부가 삽입결합되도록 상부 외주면에는 ㄷ 자형 돌기가 형성되고 중심부에는 상기 배수관이 내설될 수 있도록 관통공이 형성된 연결구가 설치되어 이루어진 구조이다. More particularly, the present invention relates to a connection pipe for a drainage pipe for a washstand, and more particularly to a drain pipe connecting a drain pipe and a drain trap for transferring water to a sewage pipe, The drainage pipe connection pipe for the washstand which can prevent water leakage during backflow is a drainage pipe connection pipe for connecting the drainage pipe for transferring the water dewatered to the drainage pipe to the drainage pipe and the drainage trap for connection to the drainage pipe, The upper connection hole is formed with an insertion groove, and the upper end of the insertion hole is formed with a C-shaped protrusion, and a center hole is formed with a through hole to allow the drain pipe to be inserted therein. .

Description

세면대용 배수관 연결구 {A drain connection for washstand}{A drain connection for wash stand}

본 고안은 세면대용 배수관 연결구에 관한 것으로, 보다 상세하게는 세면기에 담수된 물을 하수관으로 이동시키는 배수관과 배수트랩을 연결시 너트에 의한 체결방식이 아닌 끼움체결방식으로 신속하게 체결결합되고, 파손시 교체가 편리하며, 역류시 누수를 방지할 수 있는 세면대용 배수관 연결구에 관한 것이다.
More particularly, the present invention relates to a connection pipe for a drainage pipe for a washstand, and more particularly to a drain pipe connecting a drain pipe and a drain trap for transferring water to a sewage pipe, The present invention relates to a drainage pipe connector for a washstand that can be easily replaced and can prevent leakage during backflow.

일반적으로 세면대는 각 가정이나, 호텔 등과 같은 객실의 욕실 및 공공장소의 화장실 등에 설치되어 세면대에 물을 담아 손이나 세수 등을 하는데 사용되는 것이다. Generally, a sink is installed in a bathroom of a guest room such as a home or a hotel, and a toilet in a public place, and is used to put water in the sink to hand or wash water.

이러한 세면대에 설치되는 배수관에는 악취나 벌레 등의 유입을 막기 위해서 P자형, S자형, I자형의 관으로 이루어지고 세면대측 배수관과 하수관측 배수관 사이에 너트를 이용하여 체결 및 고정되는 배수트랩이 설치된다.
In order to prevent the inflow of odor and insects, there is a drain trap installed and fixed between the drain pipe of the washstand side and the drain pipe of the sewage pipe by using a nut do.

이와 같이 종래의 세면대의 배수관과 연결되는 배수트랩은 도 1에 도시된 바와 같이 구동장치부(2)에서 제공되는 동력에 의해 높이가 조절되고, 그 중앙 저면에 배수구(3)가 형성되어 있는 높이조절 세면대에 있어서, 상기 배수구(3)에 나사결합되기 위한 결합단부(11)가 상측에 형성되고, 저면이 막혀 있으며, 하측 외주면상에 다수의 배수공(13)이 형성되어 있는 아답터(10)와; 상기 아답터(10)의 일정부분을 포함하도록 아답터(10)의 저면에 볼트로서 결합되어 일정양의 물을 저장하는 리저버컵(20)과; 상기 리저버컵(20)을 포함하여 아답터(10)의 하단부를 내부에 수용하며, 상부에 상기 아답터(10)의 상단부와 나사 결합되기 위한 나사결합부(31)가 형성되고, 하측으로 배수를 위한 출구(32)가 형성되어 있는 외부케이스(30);로 구성되고, 하수관(7)에 연결된 상태의 벨로우즈(6) 상부를 상기 외부 케이스(30)의 출구(32)에 결합하여 구성하고 있다.
As shown in Fig. 1, the drain trap connected to the drain pipe of the conventional washstand is adjusted in height by the power provided by the drive unit 2, and the height of the drain hole 3 An adjustable washstand comprising: an adapter (10) having an upper end formed with an engagement end (11) for threaded engagement with the drain port (3), a bottom surface closed and a plurality of drain holes (13) ; A reservoir cup (20) bolted to the bottom of the adapter (10) to include a certain portion of the adapter (10) and storing a certain amount of water; A screw connection portion 31 for receiving the lower end of the adapter 10 including the reservoir cup 20 therein and screwed to the upper end of the adapter 10 is formed at an upper portion thereof, The upper portion of the bellows 6 connected to the sewer pipe 7 is connected to the outlet 32 of the outer case 30. The upper portion of the bellows 6 is connected to the outlet 32 of the outer case 30.

상기와 같이 종래의 세면대 배수구에 나사결합되기 위한 결합단부가 상측에 형성되어 체결되는 구조로 신속한 체결결합이 용이하지 못하며, 역류시 누수가 발생될 수 있는 문제점이 있다.
As described above, since the connecting end portion for screw connection to the conventional washstand drain is formed at the upper side and fastened, quick fastening is not easy, and there is a problem that water leakage may occur in the reverse flow.

대한민국 실용신안 등록 제0296030호.Korean Utility Model Registration No. 0296030.

상기와 같은 문제점을 해결하기 위해 안출된 것으로 본 고안의 목적은 세면기에 담수된 물을 하수관으로 이동시키는 배수관과 배수트랩을 연결시 너트에 의한 체결방식이 아닌 끼움체결방식으로 신속하게 체결결합되고, 파손시 교체가 편리하며, 역류시 누수를 방지할 수 있는 세면대용 배수관 연결구를 제공하는데 그 목적이 있다.
The object of the present invention is to solve the above problems, and it is an object of the present invention to provide a drainage pipe and a drainage trap which are connected to a sewer pipe, And it is an object of the present invention to provide a drain pipe connector for a washstand which can be easily replaced at the time of breakage and can prevent leakage during backflow.

상기한 목적을 달성하기 위한 본 고안은 세면대에 담수된 물을 하수관으로 이동시키는 배수관과 배수트랩을 연결결합시키는 세면대용 배수관 연결구에 있어서, 상기 배수트랩에 배수관이 연결되는 상부 연결통공 내측에는 삽입홈부가 형성되고 상기 배수트랩의 삽입홈부가 삽입결합되도록 상부 외주면에는 ㄷ자형 돌기가 형성되고 중심부에는 상기 배수관이 내설될 수 있도록 관통공이 형성된 연결구가 설치되어 이루어진 것을 특징으로 하는 세면대용 배수관 연결구에 의해 달성된다. According to an aspect of the present invention, there is provided a drainage pipe connection pipe for connecting a drain pipe and a drainage trap, the water drainage pipe being connected to a drain pipe, Wherein a U-shaped protrusion is formed on an upper outer circumferential surface of the drain trap so that the insertion groove of the drain trap is inserted and coupled, and a connecting hole having a through hole is formed in the center of the drain hole so that the drain pipe can be inserted therein. do.

또한, 상기 연결구의 ㄷ자형 돌기에는 탄성부재가 설치되어 이루어진 것을 특징으로 한다. In addition, an elastic member is provided on the U-shaped protrusion of the connector.

또한, 상기 연결구의 관통공 면부는 소정의 경사면으로 형성되어 이루어진 것을 특징을 한다. Further, the through-hole portion of the connector is formed with a predetermined inclined surface.

또한, 상기 연결구의 관통공 내측은 소정의 경사면이 형성된 깔대공으로 형성되어 이루어진 것을 특징으로 한다. In addition, the inside of the through hole of the connector is formed as a through hole having a predetermined inclined surface.

또한, 상기 연결구의 관통공 내측에 형성된 경사면에는 다단으로 형성된 단턱부가 형성되어 이루어진 것을 특징으로 한다.
In addition, a plurality of stepped portions are formed on the inclined surface formed inside the through-hole of the connector.

상술한 바와 같이 본 고안의 세면대용 배수관 연결구는 상기 배수관과 배수트랩을 연결하는 것으로 상기 연결구의 관통공에 상기 배수관이 회전방식에 의한 조임결합 아닌 끼움방식으로 체결결합되는 방식으로 상기 배수관과 배수트랩의 높낮이조절 및 체결결합이 용이하고, 상기 연결구의 관통공이 상기 배수관의 외부면에 밀착결합되어 누수를 더욱더 방지할 수 있는 효과가 있다.
As described above, the drain pipe connection port of the present invention connects the drain pipe and the drain trap so that the drain pipe is tightly coupled to the through hole of the connection pipe in a non-tight fitting manner by a rotary method. And the through hole of the connection port is tightly coupled to the outer surface of the drain pipe to further prevent leakage of water.

도 1은 종래의 높이조절 세면대용 배수트랩 구조를 나타낸 단면도.
도 2는 본 고안의 세면대용 배수관 연결구를 나타낸 분해사시도.
도 3은 본 고안의 세면대용 배수관 연결구를 나타낸 결합단면도.
도 4a는 본 고안의 세면대용 배수관 연결구를 다른 실시예.
도 4b는 도 4a에 대한 실시예.
도 5는 본 고안의 연결구를 나타낸 다른 실시시예.
도 6은 본 고안의 연결구를 나타낸 다른 실시예.
도 7은 본 고안의 세면대용 배수관 연결구를 나타낸 사용실시예.
BRIEF DESCRIPTION OF THE DRAWINGS FIG. 1 is a cross-sectional view of a conventional drainage trap structure for a height-adjustable washstand. FIG.
2 is an exploded perspective view showing a drain pipe connection port for a washstand in the present invention;
Fig. 3 is an assembled cross-sectional view showing a drain pipe connector of the present invention. Fig.
4A is a view showing another embodiment of the drain pipe connector of the present invention.
Figure 4b is an embodiment of Figure 4a.
5 is a view showing another embodiment of the connector of the present invention.
6 is another embodiment showing a connector of the present invention.
Fig. 7 is a use example showing a drain pipe connector of the present invention. Fig.

이하, 첨부된 도면을 참조하여 본 고안의 바람직한 실시예를 보다 상세히 설명하기로 한다. 이에 앞서, 본 명세서 및 청구범위에 사용된 용어나 단어는 통상적이거나 사전적인 의미로 한정해서 해석되어서는 아니 되며, 고안자는 그 자신의 발명을 가장 최선의 방법으로 설명하기 위해 용어의 개념을 적절하게 정의할 수 있다는 원칙에 입각하여 본 고안의 기술적 사상에 부합하는 의미와 개념으로 해석되어야만 한다.
Hereinafter, preferred embodiments of the present invention will be described in more detail with reference to the accompanying drawings. Prior to this, terms and words used in the present specification and claims should not be construed as limited to ordinary or dictionary meanings, and the inventor may appropriately design the concept of the term appropriately to describe its own invention in the best way. It should be interpreted as a meaning and a concept consistent with the technical idea of the present invention based on the principle that it can be defined.

따라서 본 명세서에 기재된 실시예와 도면에 도시된 구성은 본 고안의 가장 바람직한 일 실시예에 불과할 뿐이고 본 고안의 기술적 사상을 모두 대변하는 것은 아니므로, 본 출원시점에 있어서 이들을 대체할 수 있는 다양한 균등물과 변형예들이 있을 수 있음을 이해하여야 한다.
Therefore, the embodiments described in the present specification and the constitutions shown in the drawings are merely the most preferred embodiments of the present invention and do not represent all the technical ideas of the present invention. Therefore, various equivalents It should be understood that water and variations may be present.

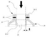
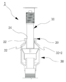
도 2 내지 도 3에 도시된 바와 같이 본 고안의 세면대용 배수관 연결구(1)는 세면대에 담수된 물을 하수관으로 이동시키는 배수관과 배수트랩을 연결결합시키는 세면대용 배수관 연결구에 있어서, 상기 배수트랩(30)에 배수관(10)이 연결되는 상부 연결통공(32) 내측에는 삽입홈부(32-2)가 형성되고 상기 배수트랩(30)의 삽입홈부(32-2)가 삽입결합되도록 상부 외주면에는 ㄷ자형 돌기(22)가 형성되고 중심부에는 상기 배수관(10)이 내설될 수 있도록 관통공(24)이 형성된 연결구(20)가 설치되어 이루어진 구조이다.
As shown in FIGS. 2 to 3, the drain pipe connection port 1 of the present invention is a drain pipe connection pipe for connecting a drain pipe and a drain trap connecting the water drained to the drain pipe to the drain pipe, 30 is formed with an insertion groove 32-2 inside the upper connection hole 32 to which the drain pipe 10 is connected so that the insertion groove 32-2 of the drain trap 30 is inserted and coupled, And a connector 20 having a through hole 24 formed therein so that the drain pipe 10 can be inserted into the center hole.

상기 연결구(20)는 상기 배수트랩(30)의 상부 연결통공(32) 내측에 형성된 삽입홈부(32-2)에 용이하게 체결결합됨과 상기 연결구(20)의 관통공(24)으로 삽입되는 배수관(10) 외주면에 밀착결합될 수 있도록 연질의 재질로 형성된 고무재로 이루어지는 것이 바람직하다.
The connection port 20 is easily fastened to the insertion groove 32-2 formed in the upper connection hole 32 of the drain trap 30 and inserted into the through hole 24 of the connection hole 20, And a rubber material formed of a soft material so as to be tightly coupled to the outer circumferential surface of the base 10.

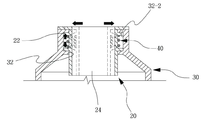
이와 같이 상기 연결구(20)가 상기 배수트랩(30)에 더욱더 밀착고정하여 누수를 방지할 수 있도록 도 4a에 도시된 바와 같이 상기 연결구(20)의 ㄷ자형 돌기(22)에는 탄성부재(40)가 설치되어 이루어진 것이 바람직하다. 4A, the elastic member 40 is provided on the U-shaped protrusion 22 of the connector 20 so that the connector 20 can be further tightly fixed to the drain trap 30 to prevent water leakage. It is preferable that the above-

즉, 도 4b에 도시된 바와 같이 상기 연결구(20)의 ㄷ자형 돌기(22)에 내측에 탄성부재(40)가 내설되어 상기 연결구(20)의 ㄷ자형 돌기(22)를 가압하여 상기 배수트랩(30)의 삽입홈부(32-2)에 삽입결합시키면 상기 탄성부재(40)에 의해 상기 연결구(20) ㄷ자형 돌기(22)가 상기 배수트랩(30)의 삽입홈부(32-2)에 밀착가압되어 누수를 더욱더 방지할 수 있는 효과가 있다. 4B, an elastic member 40 is installed inside the U-shaped protrusion 22 of the connector 20 so as to press the U-shaped protrusion 22 of the connector 20, Shaped protrusion 22 of the connector 20 is inserted into the insertion groove 32-2 of the drain trap 30 by the elastic member 40 when the insertion hole 32-2 is inserted into the insertion groove 32-2 of the drain trap 30, So that there is an effect that leakage can be further prevented.

상기 탄성부재(40)는 탄성스프링으로 형성되는 것이 바람직하다.
The elastic member 40 is preferably formed of an elastic spring.

또한, 상기 연결구(20)가 고무재질로 상기 배수관(10)의 외주면에 밀착결합되므로 상기 배수관(10)으로부터 상기 연결구(20)를 탈부착시 상기 연결구(20)와 결합되는 상기 배수트랩(30)으로부터 상기 연결구(20)가 이탈되는 것을 방지할 수 있는 효과가 있다.
The connection port 20 is tightly coupled to the outer circumferential surface of the drain pipe 10 with a rubber material so that the drain trap 30 connected to the connection port 20 when the connection pipe 20 is detached from the drain pipe 10, It is possible to prevent the connector 20 from being detached from the connector 20.

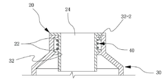
상기 연결구(20)의 관통공(24)에 내설되는 상기 배수관(10)이 더욱더 체결 및 밀착할 수 있도록 도 5에 도시된 바와 같이 상기 연결구(20)의 관통공(24) 내측면은 소정의 경사(θ)면이 형성된 깔대공(24-2)으로 형성되어 이루어진 것이 바람직하다. As shown in FIG. 5, the inner surface of the through hole 24 of the connecting hole 20 is formed in a predetermined shape so that the drain pipe 10 installed in the through hole 24 of the connecting hole 20 can be further tightened and closely contacted. And a through hole 24-2 formed with an inclined (&thetas;) surface.

즉, 상기 연결구(20)의 관통공(24)에는 하부로 갈수록 좁아지는 깔대공(24-2)으로 형성되어 있어 상기 연결구(20)의 관통공(24)에 상기 배수관(10)이 내설시 상기 배수관(10)이 하부로 이동시 더욱더 밀착되어 고정함과 누수를 더욱더 방지할 수 있는 효과가 있다. That is, the through hole 24 of the connection port 20 is formed with a through hole 24-2 that becomes narrower as it goes downward, so that the drain pipe 10 is inserted into the through hole 24 of the connection port 20, There is an effect that the water pipe 10 can be more closely adhered to the lower part when it is moved downward, and the water leakage can be further prevented.

이와 같이 상기 연결구(20)의 관통공(24)에 상기 배수관(10)이 내설시 보다 안정적으로 안착결합하여 밀착할 수 있도록 도 6에 도시된 바와 같이 상기 연결구(20)의 관통공(24) 내측에 형성된 경사(θ)면에는 다단으로 형성된 단턱부(24-4)가 형성되어 이루어진 것이 바람직하다. As shown in FIG. 6, the through hole 24 of the connection port 20 is formed in the through hole 24 of the connection port 20 so that the drain pipe 10 can be more stably seated on the inner surface of the through hole 24, It is preferable that a step 24-4 formed in a multi-stage is formed on the inclined (?) Surface formed on the inner side.

즉, 상기 연결구(20)의 관통공(24)에 상기 배수관(10)이 내설시 상기 연결구(20)의 단턴부(24-4)에 안착되어 결합시킬 수 있어 보다 안정적으로 상기 배수관(10)의 외주면을 밀착과 가압고정할 수 있는 효과가 있다.
That is, the drain pipe 10 can be seated on the single turn part 24-4 of the connection pipe 20 when the drain pipe 10 is inserted into the through hole 24 of the connection pipe 20, There is an effect that the outer circumferential surface of the base plate can be tightly and pressure-fixed.

위에서 상술한 바와 같이 본 고안의 세면대용 배수관 연결구(1)는 도 7에 도시된 바와 같이 사용실시예로 세면대(100)에 담수된 물을 하수관으로 이동시키는 배수관(10)과 배수트랩(30)을 연결결합시키는 세면대용 배수관 연결구에 있어서, 상기 배수트랩(30)에 배수관(10)이 연결되는 상부 연결통공(32) 내측에는 삽입홈부(32-2)가 형성되고 상기 배수트랩(20)의 삽입홈부(32-2)가 삽입결합되도록 상부 외주면에는 ㄷ자형 돌기(22)가 형성되고 중심부에는 상기 배수관(10)이 내설될 수 있도록 관통공(24)이 형성된 연결구(20)가 설치되어 이루어진 구조이다. As described above, the drain pipe connection port 1 of the present invention has a drain pipe 10 and a drain trap 30 for moving the water dewatered to the sewage pipe to the sewage pipe, Wherein an inlet groove 32-2 is formed inside the upper connection hole 32 to which the drain pipe 10 is connected to the drain trap 30 and a drain hole 32-2 is formed in the drain hole of the drain trap 20, A U-shaped protrusion 22 is formed on an upper outer circumferential surface so that the insertion groove 32-2 can be inserted and coupled and a connecting hole 20 having a through hole 24 formed therein so that the water pipe 10 can be inserted therein Structure.

이와 같은 상기 연결구(20)는 상기 배수관(10)과 배수트랩(30)을 연결하는 것으로 상기 연결구(20)의 관통공(24)에 상기 배수관(10)이 회전방식에 의한 조임결합 아닌 끼움방식으로 체결결합되는 방식으로 상기 배수관(10)과 배수트랩(30)의 높낮이조절 및 체결결합이 용이하고 상기 연결구의 관통공(24)이 상기 배수관(10)의 외부면에 밀착결합되어 누수를 더욱더 방지할 수 있는 효과가 있다.
The connection port 20 connects the drain pipe 10 and the drain trap 30 so that the drain pipe 10 is inserted into the through hole 24 of the connection pipe 20 by a rotation type fitting method, The height of the drain pipe 10 and the drain trap 30 can be easily adjusted and tightened and the through hole 24 of the connecting hole is tightly coupled to the outer surface of the drain pipe 10, There is an effect that can be prevented.

1 : 세면대용 배수관 연결구
10 : 배수관
20 : 연결구 22 : ㄷ자형 돌기
24 : 관통공 24-2 : 깔대공
24-4 : 단턱부
30 : 배수트랩 32 : 연결통공
32-2 : 삽입홈부
40 : 탄성부재
1: Sink drain pipe connector
10: Water pipe
20: Connector 22: C-shaped projection
24: Through hole 24-2:
24-4:
30: drain trap 32: connection through hole
32-2:
40: elastic member

Claims (4)

세면대에 담수된 물을 하수관으로 이동시키는 배수관과 배수트랩을 연결결합시키는 세면대용 배수관 연결구에 있어서,
상기 배수트랩에 배수관이 연결되는 상부 연결통공 내측에는 삽입홈부가 형성되고 상기 배수트랩의 삽입홈부가 삽입결합되도록 상부 외주면에는 ㄷ 자형 돌기가 형성되고 중심부에는 상기 배수관이 내설될 수 있도록 관통공이 형성된 연결구가 설치되어 이루어진 것을 특징으로 하는 세면대용 배수관 연결구.
A drainage pipe connector for a washstand connecting drainage pipes and drainage traps for transferring water dewatered to a sink to a sewage pipe,
The drain trap is formed with an insertion groove formed in the upper connection hole and an insertion groove of the drain trap. The upper end of the drain trap is formed with a C-shaped protrusion. The center hole is formed with a through- And a drain pipe connected to the drain pipe.
제1항에 있어서,
상기 연결구의 ㄷ자형 돌기에는 탄성부재가 설치되어 이루어진 것을 특징으로 하는 세면대용 배수관 연결구.
The method according to claim 1,
Wherein a U-shaped projection of the connector is provided with an elastic member.
제1항에 있어서,
상기 연결구의 관통공 내측은 소정의 경사면이 형성된 깔대공으로 형성되어 이루어진 것을 특징으로 하는 세면대용 배수관 연결구.
The method according to claim 1,
And the inner side of the through hole of the connection port is formed as a through hole having a predetermined inclined surface.
제3항에 있어서,
상기 연결구의 관통공 내측에 형성된 경사면에는 다단으로 형성된 단턱부가 형성되어 이루어진 것을 특징으로 하는 세면대용 배수관 연결구.
The method of claim 3,
Wherein a plurality of stepped portions are formed on an inclined surface formed inside the through-hole of the connection port.
KR2020150002235U 2015-04-08 2015-04-08 A drain connection for washstand Ceased KR20160003586U (en)

Priority Applications (1)

Application Number Priority Date Filing Date Title
KR2020150002235U KR20160003586U (en) 2015-04-08 2015-04-08 A drain connection for washstand

Applications Claiming Priority (1)

Application Number Priority Date Filing Date Title
KR2020150002235U KR20160003586U (en) 2015-04-08 2015-04-08 A drain connection for washstand

Publications (1)

Publication Number Publication Date
KR20160003586U true KR20160003586U (en) 2016-10-18

Family

ID=57234202

Family Applications (1)

Application Number Title Priority Date Filing Date
KR2020150002235U Ceased KR20160003586U (en) 2015-04-08 2015-04-08 A drain connection for washstand

Country Status (1)

Country Link
KR (1) KR20160003586U (en)

Cited By (2)

* Cited by examiner, † Cited by third party
Publication number Priority date Publication date Assignee Title
KR200488311Y1 (en) * 2018-06-22 2019-01-11 주식회사 에스엠지 The sink trap
KR20200127519A (en) * 2019-05-02 2020-11-11 주식회사 아이비코리아 Drain trap assembly

Citations (1)

* Cited by examiner, † Cited by third party
Publication number Priority date Publication date Assignee Title
KR100296030B1 (en) 1999-05-15 2001-07-12 윤종용 Receiving apparatus in cdma type wireless telephone set and method thereof

Patent Citations (1)

* Cited by examiner, † Cited by third party
Publication number Priority date Publication date Assignee Title
KR100296030B1 (en) 1999-05-15 2001-07-12 윤종용 Receiving apparatus in cdma type wireless telephone set and method thereof

Cited By (2)

* Cited by examiner, † Cited by third party
Publication number Priority date Publication date Assignee Title
KR200488311Y1 (en) * 2018-06-22 2019-01-11 주식회사 에스엠지 The sink trap
KR20200127519A (en) * 2019-05-02 2020-11-11 주식회사 아이비코리아 Drain trap assembly

Similar Documents

Publication Publication Date Title
KR20090115921A (en) Drain trap
KR20160003586U (en) A drain connection for washstand
KR20100033034A (en) Piping system for bethroom
US20170051482A1 (en) Trap integrated drain device for washbasin
JP5651830B2 (en) Connection structure between tank and drainage
KR101971165B1 (en) Installation structure for trap of toilet
KR200458962Y1 (en) Trap for Washstand
KR101674159B1 (en) Bathtub a drainage system
KR101371894B1 (en) Sink drainage device
KR200395156Y1 (en) Drain apparatus for bathtub
CN203905110U (en) Downpipe structure
KR200480200Y1 (en) The drain for pop-up valve of a washbowl
KR20100011172U (en) Drainage unit
KR200465364Y1 (en) Drainage trap assembly
KR200464474Y1 (en) An apparatus for blocking offensive odor from waste pipe drain
KR101177490B1 (en) Piping connection structure of multiple trap
KR200395112Y1 (en) A Trap Structure Arranged In The Drainage Of A Washstand
KR200243741Y1 (en) The drain tank for building
KR101361120B1 (en) An apparatus for blocking offensive odor from waste pipe drain
KR101263603B1 (en) Sewage pipe connecting device of injection drain trench
KR20200107702A (en) Drain trap installed to prevent bad smell in bathroom drain of old building
KR200311242Y1 (en) Intercepting device for bad smell of drainpipe
EP3830349B1 (en) Drain system
KR20120073849A (en) Piping connection structure of multiple trap
JP4904537B2 (en) Drainage cross fitting

Legal Events

Date Code Title Description
A201 Request for examination
UA0108 Application for utility model registration

Comment text: Application for Utility Model Registration

Patent event code: UA01011R08D

Patent event date: 20150408

UA0201 Request for examination
E902 Notification of reason for refusal
UE0902 Notice of grounds for rejection

Comment text: Notification of reason for refusal

Patent event code: UE09021S01D

Patent event date: 20160531

UG1501 Laying open of application
E601 Decision to refuse application
UE0601 Decision on rejection of utility model registration

Comment text: Decision to Refuse Application

Patent event code: UE06011S01D

Patent event date: 20161206