KR20150108994A - 표시 장치 및 그 구동 방법 - Google Patents
표시 장치 및 그 구동 방법 Download PDFInfo
- Publication number
- KR20150108994A KR20150108994A KR1020140031736A KR20140031736A KR20150108994A KR 20150108994 A KR20150108994 A KR 20150108994A KR 1020140031736 A KR1020140031736 A KR 1020140031736A KR 20140031736 A KR20140031736 A KR 20140031736A KR 20150108994 A KR20150108994 A KR 20150108994A
- Authority
- KR
- South Korea
- Prior art keywords
- data
- scan
- pixels
- data signal
- signal
- Prior art date
- Legal status (The legal status is an assumption and is not a legal conclusion. Google has not performed a legal analysis and makes no representation as to the accuracy of the status listed.)
- Withdrawn
Links
- 238000000034 method Methods 0.000 title claims abstract description 46
- 238000010586 diagram Methods 0.000 description 14
- 239000011521 glass Substances 0.000 description 13
- 230000009977 dual effect Effects 0.000 description 7
- 239000003990 capacitor Substances 0.000 description 6
- 230000001360 synchronised effect Effects 0.000 description 5
- 239000011159 matrix material Substances 0.000 description 2
- 238000012986 modification Methods 0.000 description 2
- 230000004048 modification Effects 0.000 description 2
- 238000002834 transmittance Methods 0.000 description 2
- 230000007423 decrease Effects 0.000 description 1
- 230000000694 effects Effects 0.000 description 1
- 239000004973 liquid crystal related substance Substances 0.000 description 1
- 238000005215 recombination Methods 0.000 description 1
- 230000006798 recombination Effects 0.000 description 1
- 239000010409 thin film Substances 0.000 description 1
Images
Classifications
-
- G—PHYSICS
- G09—EDUCATION; CRYPTOGRAPHY; DISPLAY; ADVERTISING; SEALS
- G09G—ARRANGEMENTS OR CIRCUITS FOR CONTROL OF INDICATING DEVICES USING STATIC MEANS TO PRESENT VARIABLE INFORMATION
- G09G3/00—Control arrangements or circuits, of interest only in connection with visual indicators other than cathode-ray tubes
- G09G3/001—Control arrangements or circuits, of interest only in connection with visual indicators other than cathode-ray tubes using specific devices not provided for in groups G09G3/02 - G09G3/36, e.g. using an intermediate record carrier such as a film slide; Projection systems; Display of non-alphanumerical information, solely or in combination with alphanumerical information, e.g. digital display on projected diapositive as background
- G09G3/003—Control arrangements or circuits, of interest only in connection with visual indicators other than cathode-ray tubes using specific devices not provided for in groups G09G3/02 - G09G3/36, e.g. using an intermediate record carrier such as a film slide; Projection systems; Display of non-alphanumerical information, solely or in combination with alphanumerical information, e.g. digital display on projected diapositive as background to produce spatial visual effects
-
- G—PHYSICS
- G09—EDUCATION; CRYPTOGRAPHY; DISPLAY; ADVERTISING; SEALS
- G09G—ARRANGEMENTS OR CIRCUITS FOR CONTROL OF INDICATING DEVICES USING STATIC MEANS TO PRESENT VARIABLE INFORMATION
- G09G3/00—Control arrangements or circuits, of interest only in connection with visual indicators other than cathode-ray tubes
- G09G3/20—Control arrangements or circuits, of interest only in connection with visual indicators other than cathode-ray tubes for presentation of an assembly of a number of characters, e.g. a page, by composing the assembly by combination of individual elements arranged in a matrix no fixed position being assigned to or needed to be assigned to the individual characters or partial characters
- G09G3/2007—Display of intermediate tones
- G09G3/2018—Display of intermediate tones by time modulation using two or more time intervals
- G09G3/2022—Display of intermediate tones by time modulation using two or more time intervals using sub-frames
-
- G—PHYSICS
- G09—EDUCATION; CRYPTOGRAPHY; DISPLAY; ADVERTISING; SEALS
- G09G—ARRANGEMENTS OR CIRCUITS FOR CONTROL OF INDICATING DEVICES USING STATIC MEANS TO PRESENT VARIABLE INFORMATION
- G09G3/00—Control arrangements or circuits, of interest only in connection with visual indicators other than cathode-ray tubes
- G09G3/20—Control arrangements or circuits, of interest only in connection with visual indicators other than cathode-ray tubes for presentation of an assembly of a number of characters, e.g. a page, by composing the assembly by combination of individual elements arranged in a matrix no fixed position being assigned to or needed to be assigned to the individual characters or partial characters
- G09G3/22—Control arrangements or circuits, of interest only in connection with visual indicators other than cathode-ray tubes for presentation of an assembly of a number of characters, e.g. a page, by composing the assembly by combination of individual elements arranged in a matrix no fixed position being assigned to or needed to be assigned to the individual characters or partial characters using controlled light sources
- G09G3/30—Control arrangements or circuits, of interest only in connection with visual indicators other than cathode-ray tubes for presentation of an assembly of a number of characters, e.g. a page, by composing the assembly by combination of individual elements arranged in a matrix no fixed position being assigned to or needed to be assigned to the individual characters or partial characters using controlled light sources using electroluminescent panels
- G09G3/32—Control arrangements or circuits, of interest only in connection with visual indicators other than cathode-ray tubes for presentation of an assembly of a number of characters, e.g. a page, by composing the assembly by combination of individual elements arranged in a matrix no fixed position being assigned to or needed to be assigned to the individual characters or partial characters using controlled light sources using electroluminescent panels semiconductive, e.g. using light-emitting diodes [LED]
- G09G3/3208—Control arrangements or circuits, of interest only in connection with visual indicators other than cathode-ray tubes for presentation of an assembly of a number of characters, e.g. a page, by composing the assembly by combination of individual elements arranged in a matrix no fixed position being assigned to or needed to be assigned to the individual characters or partial characters using controlled light sources using electroluminescent panels semiconductive, e.g. using light-emitting diodes [LED] organic, e.g. using organic light-emitting diodes [OLED]
-
- G—PHYSICS
- G09—EDUCATION; CRYPTOGRAPHY; DISPLAY; ADVERTISING; SEALS
- G09G—ARRANGEMENTS OR CIRCUITS FOR CONTROL OF INDICATING DEVICES USING STATIC MEANS TO PRESENT VARIABLE INFORMATION
- G09G3/00—Control arrangements or circuits, of interest only in connection with visual indicators other than cathode-ray tubes
- G09G3/20—Control arrangements or circuits, of interest only in connection with visual indicators other than cathode-ray tubes for presentation of an assembly of a number of characters, e.g. a page, by composing the assembly by combination of individual elements arranged in a matrix no fixed position being assigned to or needed to be assigned to the individual characters or partial characters
- G09G3/22—Control arrangements or circuits, of interest only in connection with visual indicators other than cathode-ray tubes for presentation of an assembly of a number of characters, e.g. a page, by composing the assembly by combination of individual elements arranged in a matrix no fixed position being assigned to or needed to be assigned to the individual characters or partial characters using controlled light sources
- G09G3/30—Control arrangements or circuits, of interest only in connection with visual indicators other than cathode-ray tubes for presentation of an assembly of a number of characters, e.g. a page, by composing the assembly by combination of individual elements arranged in a matrix no fixed position being assigned to or needed to be assigned to the individual characters or partial characters using controlled light sources using electroluminescent panels
- G09G3/32—Control arrangements or circuits, of interest only in connection with visual indicators other than cathode-ray tubes for presentation of an assembly of a number of characters, e.g. a page, by composing the assembly by combination of individual elements arranged in a matrix no fixed position being assigned to or needed to be assigned to the individual characters or partial characters using controlled light sources using electroluminescent panels semiconductive, e.g. using light-emitting diodes [LED]
- G09G3/3208—Control arrangements or circuits, of interest only in connection with visual indicators other than cathode-ray tubes for presentation of an assembly of a number of characters, e.g. a page, by composing the assembly by combination of individual elements arranged in a matrix no fixed position being assigned to or needed to be assigned to the individual characters or partial characters using controlled light sources using electroluminescent panels semiconductive, e.g. using light-emitting diodes [LED] organic, e.g. using organic light-emitting diodes [OLED]
- G09G3/3225—Control arrangements or circuits, of interest only in connection with visual indicators other than cathode-ray tubes for presentation of an assembly of a number of characters, e.g. a page, by composing the assembly by combination of individual elements arranged in a matrix no fixed position being assigned to or needed to be assigned to the individual characters or partial characters using controlled light sources using electroluminescent panels semiconductive, e.g. using light-emitting diodes [LED] organic, e.g. using organic light-emitting diodes [OLED] using an active matrix
- G09G3/3233—Control arrangements or circuits, of interest only in connection with visual indicators other than cathode-ray tubes for presentation of an assembly of a number of characters, e.g. a page, by composing the assembly by combination of individual elements arranged in a matrix no fixed position being assigned to or needed to be assigned to the individual characters or partial characters using controlled light sources using electroluminescent panels semiconductive, e.g. using light-emitting diodes [LED] organic, e.g. using organic light-emitting diodes [OLED] using an active matrix with pixel circuitry controlling the current through the light-emitting element
-
- G—PHYSICS
- G09—EDUCATION; CRYPTOGRAPHY; DISPLAY; ADVERTISING; SEALS
- G09G—ARRANGEMENTS OR CIRCUITS FOR CONTROL OF INDICATING DEVICES USING STATIC MEANS TO PRESENT VARIABLE INFORMATION
- G09G2300/00—Aspects of the constitution of display devices
- G09G2300/04—Structural and physical details of display devices
- G09G2300/0404—Matrix technologies
- G09G2300/0413—Details of dummy pixels or dummy lines in flat panels
-
- G—PHYSICS
- G09—EDUCATION; CRYPTOGRAPHY; DISPLAY; ADVERTISING; SEALS
- G09G—ARRANGEMENTS OR CIRCUITS FOR CONTROL OF INDICATING DEVICES USING STATIC MEANS TO PRESENT VARIABLE INFORMATION
- G09G2310/00—Command of the display device
- G09G2310/02—Addressing, scanning or driving the display screen or processing steps related thereto
Landscapes
- Engineering & Computer Science (AREA)
- Physics & Mathematics (AREA)
- Computer Hardware Design (AREA)
- General Physics & Mathematics (AREA)
- Theoretical Computer Science (AREA)
- Control Of El Displays (AREA)
- Electroluminescent Light Sources (AREA)
- Control Of Indicators Other Than Cathode Ray Tubes (AREA)
Abstract
본 발명의 실시예에 의한 유기 전계 발광 표시 장치의 구동방법은 복수의 데이터 라인, 복수의 스캔 라인 및 데이터 라인과 스캔 라인이 교차되는 지점에 위치하는 복수의 화소를 포함하는 유기발광 표시패널의 구동방법에 있어서, 비발광구간에서 각 스캔 라인의 화소에 더미-데이터 신호 및 프리-데이터 신호를 인가하는 단계, 발광구간에서 각 스캔 라인의 화소에 스캔 신호 및 데이터 신호를 비순차적으로 인가하는 단계를 포함하되, 데이터 라인에 연속되어 인가되는 데이터 신호들은 서로 다른 서브필드에 대응하는 데이터 정보를 갖는다.
Description
본 발명은 유기 발광 표시 장치 및 그 구동 방법에 관한 것으로, 특히 디지털 구동 방식에 의한 균일한 화질을 제공하는 유기 발광 표시 장치에 관한 것이다.
표시 장치는 블랙 매트릭스 및/또는 화소 정의막에 의해 정의되는 영역에 구비되는 복수개의 화소를 포함한다. 표시 장치로는 액정 표시 장치(Liquid Crystal Display : LCD), 플라즈마 표시 장치(Plasma Display Panel : PDP) 및 유기 발광 표시 장치(Organic Light Emitting Display : OLED) 등이 있다.
유기 발광 표시 장치는 전자와 정공의 재결합에 의하여 빛을 발생하는 유기 발광 다이오드를 이용하여 영상을 표시하는 것으로, 빠른 응답속도와 동시에 저 소비전력으로 구동될 수 있는 장점이 있다.
유기 발광 표시 장치를 구동하기 위한 방법으로, 상기 복수개의 화소에 순차적으로 인가되는 스캔 신호에 따라 데이터 신호를 수신하고 데이터 신호를 수신한 순서대로 화소를 발광시키는 순차 구동 방식과 한 프레임의 데이터 신호를 수신하고 전체 화소를 동시에 발광시키는 디지털 구동 방식이 있다.
디지털 구동 방식은 서브필드를 이용하여 계조를 구현하는 방식으로 대형 유기 전계 발광 표시 장치의 구동방법으로 연구되고 있다. 그러나, 대형 유기 전계 발광 표시 장치에서 각 화소들이 원하는 전압으로 충전되지 않아 화소 균일성(Uniformity)이 저하된다.
이에 본 발명이 이루고자 하는 기술적 과제는 대형 패널에 적용할 수 있는 고속 구동이 대면적, 고해상도 유기 발광 표시 장치에 있어서, 패널의 휘도 균일도를 개선하는 것을 목적으로 한다.
본 발명의 일 실시예에 따르면 유기 발광 표시 패널의 구동방법은 비발광구간에서 각 스캔 라인의 화소에 더미-데이터 신호 및 프리-데이터 신호를 인가하는 단계, 발광구간에서 각 스캔 라인의 화소에 스캔 신호 및 데이터 신호를 비순차적으로 인가하는 단계를 포함하되, 데이터 라인에 연속되어 인가되는 데이터 신호들은 서로 다른 서브필드에 대응하는 데이터 정보를 갖는다.
본 발명의 일 예에 따르면, 데이터 신호는 복수의 서브필드 데이터를 포함한다.
본 발명의 일 예에 따르면, 프리-데이터 신호는 발광 구간의 종료시점에서 서브필드 데이터와 동일하다.
본 발명의 일 예에 따르면, 프리-데이터 신호는 하나의 프레임에서 해당 서브필드의 가중치를 만족하도록 발광구간의 시작점에서 가중치의 일부를 할당한다.
본 발명의 일 예에 따르면, 프리-데이터 신호에 후속하는 서브필드 데이터가 발광 구간에서 제0 서브필드 전에 각 스캔라인의 화소에 인가된다.
본 발명의 일 예에 따르면, 더미-데이터 신호는 발광구간에서 프리-데이터 신호에 대응하는 서브필드 데이터보다 바로 전의 선택 시간에서 시작된 다른 스캔 라인의 서브필드 데이터와 동일하다.
본 발명의 일 예에 따르면, 더미-데이터 신호는 프리-데이터 신호의 적어도 하나의 선택 시간 전에 인가되는 유기발광 표시패널의 구동방법.
본 발명의 일 예에 따르면, 스캔 신호는 더미-데이터 신호가 인가될 때, 스캔 라인의 화소에 인가되지 않는다.
본 발명의 일 예에 따르면, 비발광구간의 스캔 신호는 순차적으로 인가된다.
본 발명의 일 예에 따르면, 스캔 신호는 프리-데이터가 인가될 때, 스캔 라인의 화소에 인가된다.
본 발명의 일 실시예에 따르면 유기 발광 표시 패널의 구동방법은 외부로부터 제1 영상정보를 입력받는 단계, 외부로부터 제1 영상정보와는 다른 제2 영상정보를 입력받는 단계, 제1 비발광구간에서 각 스캔 라인의 화소에 제 1 영상정보에 기초한 제1 더미-데이터 신호 및 제1 프리-데이터 신호를 인가하는 단계, 제1 발광구간에서 각 스캔 라인의 화소에 제1 스캔 신호 및 제 1 영상정보에 기초한 제1 데이터 신호를 비순차적으로 인가하는 단계; 제2 비발광구간에서 각 스캔 라인의 화소에 제 2 영상정보에 기초한 제2 더미-데이터 신호 및 제2 프리-데이터 신호를 인가하는 단계, 제2 발광구간에서 각 스캔 라인의 화소에 제2 스캔 신호 및 상기 제 2 영상정보에 기초한 제2 데이터 신호를 비순차적으로 인가하는 단계;를 포함하되, 데이터 라인에 연속되어 인가되는 데이터 신호들은 서로 다른 서브필드에 대응하는 데이터 정보를 갖는다.
본 발명의 일 예에 따르면, 제1 영상 정보는 입체 영상의 좌안용 영상정보이고, 제2 영상 정보는 입체 영상의 우안용 영상정보이다.
본 발명의 일 예에 따르면, 제1 및 제2 데이터 신호는 복수의 서브필드 데이터를 포함한다.
본 발명의 일 예에 따르면, 제1 및 제2 프리-데이터 신호는 제1 및 제2 발광 구간의 종료시점에서 서브필드 데이터와 동일하다.
본 발명의 일 예에 따르면, 제1 및 제2 프리-데이터 신호는 하나의 프레임에서 해당 서브필드의 가중치를 만족하도록 제1 및 제2 발광구간의 시작점에서 가중치의 일부를 할당한다.
본 발명의 일 예에 따르면, 제1 및 제2 프리-데이터 신호에 후속하는 서브필드 데이터가 발광 구간에서 제0 서브필드 전에 각 스캔 라인의 화소에 인가된다.
본 발명의 일 예에 따르면, 제1 및 제2 더미-데이터 신호는 제1 및 제2 발광구간에서 제1 및 제2 프리-데이터 신호에 대응하는 서브필드 데이터보다 바로 전의 선택 시간에서 시작된 다른 스캔 라인의 서브필드 데이터와 동일하다.
본 발명의 일 예에 따르면, 제1 및 제2 더미-데이터 신호는 제1 및 제2 프리-데이터 신호의 전의 적어도 하나의 선택 시간에 인가된다.
본 발명의 일 예에 따르면, 제1 및 제2 비발광구간의 제1 및 제2 스캔 신호는 순차적으로 인가된다.
본 발명의 일 예에 따르면, 제1 및 제2 스캔 신호는 상기 제1 및 제2 더미-데이터 신호가 인가될 때, 스캔 라인의 화소에 인가되지 않는다.
본 발명의 기술적 사상에 따른 유기 발광 표시 장치의 구동방법은 동시발광 방식을 채용한 대화면 표시 패널에 있어서 충전성 불량으로 동일 계조의 표시 휘도 불균일을 개선한 표시장치를 제공한다.
다만, 본 발명의 효과는 이에 한정되는 것이 아니며, 본 발명의 사상 및 영역으로부터 벗어나지 않는 범위에서 다양하게 확장될 수 있을 것이다.
도 1은 본 발명의 일 실시예에 따른 표시 장치를 개략적으로 나타낸 평면도이다.
도 2는 본 발명의 일 실시예에 따른 표시 장치의 화소 회로를 나타낸 회로도이다.
도 3은 종래의 유기 발광 표시 장치의 디지털 구동의 개념도이다.
도 4는 본 발명의 일 실시예에 따른 입체 영상의 표시 구성도이다.
도 5는 본 발명의 일 실시예에 따른 듀얼 영상의 표시 구성도이다.
도 6은 본 발명의 일 실시예에 따른 프레임의 구성도이다.
도 7은 본 발명의 다른 실시예에 따른 영상 프레임을 나타내는 구동 타이밍도이다.
도 8은 본 발명의 다른 실시예에 따른 영상 프레임의 비발광구간에서 데이터 신호 및 스캔신호를 나타내는 파형도이다.
도 9는 이전 프레임(N-1 Fram)과 현 프레임(N Frame)의 비발광구간의 연결 구간을 나타내는 타이밍도이다.
도 2는 본 발명의 일 실시예에 따른 표시 장치의 화소 회로를 나타낸 회로도이다.
도 3은 종래의 유기 발광 표시 장치의 디지털 구동의 개념도이다.
도 4는 본 발명의 일 실시예에 따른 입체 영상의 표시 구성도이다.
도 5는 본 발명의 일 실시예에 따른 듀얼 영상의 표시 구성도이다.
도 6은 본 발명의 일 실시예에 따른 프레임의 구성도이다.
도 7은 본 발명의 다른 실시예에 따른 영상 프레임을 나타내는 구동 타이밍도이다.
도 8은 본 발명의 다른 실시예에 따른 영상 프레임의 비발광구간에서 데이터 신호 및 스캔신호를 나타내는 파형도이다.
도 9는 이전 프레임(N-1 Fram)과 현 프레임(N Frame)의 비발광구간의 연결 구간을 나타내는 타이밍도이다.
이하, 첨부 도면을 참조하여 본 발명을 상세히 설명한다.
본 발명은 다양한 변경이 가능하고, 여러 가지 형태로 실시될 수 있는 바, 특정의 실시예만을 도면에 예시하고 본문에는 이를 중심으로 설명한다. 그렇다고 하여 본 발명의 범위가 상기 특정한 실시예로 한정되는 것은 아니며, 본 발명의 사상 및 기술 범위에 포함되는 모든 변경, 균등물 또는 대체물은 본 발명의 범위에 포함되는 것으로 이해되어야 한다.
본 명세서에서 제1, 제2, 제3 등의 용어는 다양한 구성 요소들을 설명하는데 사용될 수 있지만, 이러한 구성 요소들은 상기 용어들에 의해 한정되는 것은 아니다. 상기 용어들은 하나의 구성 요소를 다른 구성 요소들로부터 구별하는 목적으로만 사용된다. 예를 들어, 본 발명의 권리 범위로부터 벗어나지 않고, 제1 구성 요소가 제2 또는 제3 구성 요소 등으로 명명될 수 있으며, 유사하게 제2 또는 제3 구성 요소도 교호적으로 명명될 수 있다.
본 발명을 명확하게 설명하기 위해서 설명과 관계없는 부분은 생략하였으며, 명세서 전체를 통하여 동일 또는 유사한 구성요소에 대해서는 동일한 참조 부호를 붙인다.
이하 첨부된 도면들에 도시된 본 발명에 관한 실시예를 참조하여 본 발명의 구성 및 작용을 상세히 설명한다.
도 1은 본 발명의 일 실시예에 따른 표시 장치를 개략적으로 나타낸 평면도이다.
도 1을 참조하면, 유기 발광 표시 장치(100)는 복수의 화소들을 포함하는 표시 패널(110), 데이터 라인을 통하여 상기 화소 회로에 데이터 신호를 공급하는 데이터 드라이버(130), 상기 화소 회로에 스캔 신호를 인가하는 스캔 드라이버(140), 상기 화소 회로 및 화소의 유기 발광 다이오드에 구동전원을 인가하는 전원부(150) 및 상기 데이터 드라이버(130)와 상기 스캔 드라이버(140) 및 상기 전원부(150)를 제어하는 제어부(120)를 포함할 수 있다.
또한, 표시 장치(100)는 표시 패널(110)에 구동 전원(ELVDD) 및 접지전원(ELVSS)를 제공하는 전원부(150)를 더 포함할 수 있다.
표시 패널(110)은 행방향으로 스캔 신호를 전달하는 복수의 스캔 라인(SL1~SLn), 열로 배열된 복수의 데이터 라인(DL1~DLm) 및 스캔 라인(SL1~SLn)과 데이터 라인(DL1~DLm)이 교차하는 영역에 매트릭스 방식으로 배열된 복수의 화소를 포함한다. 복수의 화소(PX)는 전원부(150)로부터 구동 전원(ELVDD) 및 접지 전원(ELVSS)을 제공받고, 또한, 스캔 라인들(SL1~ SLn) 및 데이터 라인들(DL1~ DLn)을 통해 각각 스캔 신호 및 데이터 신호를 제공받아 동작한다.
도 1은 구동 전원(ELVDD)가 패널의 일 측면에서만 인가되는 싱글 뱅크(Single bank) 구조에 대해서 예시하고 있다. 그러나, 대면적 패널의 경우 전원의 배선의 길이에 따라서 전압강하가 발생하기 때문에 패널을 두 개의 영역으로 분할하고 전원을 패널의 양 측면에서 인가하는 듀얼 뱅크(Dual bank)구조를 사용할 수도 있다.
한편, 표시 패널(110)에 포함된 화소들(PX)은 각각 유기발광 다이오드를 포함한다. 구동 전원(ELVDD) 및 접지 전원(ELVSS)이 인가되어 유기발광 다이오드를 통해 전류가 흐르면서 광이 방출된다. 그러나, 이에 제한되는 것은 아니고 표시 패널(110)은 자체 발광 소자를 포함하는 다양한 종류의 패널 중 하나일 수 있다.
제어부(120)는 데이터 드라이버(130), 스캔 드라이버(140) 및 전원부(150)를 제어한다. 제어부(120)는 외부로부터 수신된 영상 신호(DATA) 및 제어신호(CS)에 기초하여 데이터 드라이버(130), 스캔 드라이버(140) 및 전원부(150)를 제어하기 위한 신호들을 생성하고, 데이터 드라이버(130), 스캔 드라이버(140) 및 전원부(150)에 상기 생성된 신호를 제공한다. 예컨대, 제어신호(CS)는 수직동기신호(Vsync), 수평동기신호(Hsync), 클럭신호(CLK) 및 데이터 인에이블신호(DE) 등의 타이밍 신호이고, 영상 신호(DATA)는 화소(PX)에서 출력되는 광의 계조를 나타내는 디지털 신호일 수 있다.
데이터 드라이버(130)는 제어부(120)로부터 데이터 제어신호(DCS) 및 스케일링된 영상 신호를 수신하고, 데이터 제어신호(DCS)에 응답하여, 스케일링된 영상 신호에 대응하는 데이터 신호를 데이터선 라인들(DL1 내지 DLm)을 통해 화소들(PX)로 공급한다.
스캔 드라이버(140)는 제어부(120)로부터 스캔제어신호(SCS)를 제공받아 스캔 신호를 생성한다. 그리고, 스캔 드라이버(140)는 생성된 스캔 신호를 스캔 라인들(SL1 내지 SLn)을 통해 화소들(PX)로 공급할 수 있다. 상기 스캔 신호에 따라 한 행씩의 화소들(PX)이 순차적으로 선택되어 데이터 신호가 제공될 수 있다.
전원부(150)는 구동 전원(ELVDD) 및 접지 전원(ELVSS)을 생성하여 표시 패널(110)로 제공한다. 구동 전원(ELVDD) 및 접지 전원(ELVSS)은 표시 패널(110)의 복수의 화소(PX)에 공통적으로 인가되어, 화소(PX)를 발광시킨다. 구동 전원(ELVDD) 및 접지 전원(ELVSS)의 전압값에 따라 발광 시 화소(PX)에 흐르는 전류값이 결정될 수 있다.
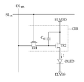
도 2는 본 발명의 일 실시예에 따른 표시 장치의 화소 회로를 나타낸 회로도이다. 특히, 도 2에 도시된 화소 회로는 유기발광 표시 장치의 화소 회로를 나타낸다. 설명의 편의를 위하여, 제 m 데이터 라인(DLm) 및 제 n 스캔 라인(SLn)에 접속된 화소 회로가 도시되었다.
도 2를 참조하면, 화소(PX)는 유기발광다이오드(OLED; Organic light emitting diode) 및 유기발광다이오드(OLED)에 전류를 공급하는 화소회로(CIR)를 포함할 수 있다. 한편, 화소회로(CIR)는 복수의 트랜지스터(TR1, TR2) 및 커패시터(Cst) 을 포함할 수 있다. 복수의 트랜지스터(TR1 및 TR2)은 박막 트랜지스터(Thin film transistor: TFT)일 수 있다. 도 2에서, 화소회로(CIR)는 두 개의 트랜지스터(TR1, TR2) 및 하나의 커패시터(Cst)를 포함하는 것으로 도시되었으나, 이에 제한되는 것은 아니다. 화소회로(CIR)는 데이터 신호에 대응하는 전류를 유기발광 다이오드(OLED)로 공급할 수 있도록 다양한 형태로 구성될 수 있다.
유기발광다이오드(OLED)의 애노드 전극은 화소회로(CIR)에 접속되고, 캐소드 전극은 접지 전압(ELVSS)을 공급하는 접지 전원에 접속된다. 이와 같은 유기발광 다이오드(OLED)는 화소회로(CIR)로부터 공급되는 전류에 대응하여 광을 생성한다.
화소회로(CIR)는 스캔 라인(SLn)으로 스캔 신호가 공급될 때, 데이터 라인(DLm)으로부터 데이터 신호를 공급받는다. 스캔 라인(SLn)을 통해 스캔 신호가 인가되면, 제1 트랜지스터(TR1)가 턴온되고, 데이터 라인(DLm)을 통해 제공되는 데이터 신호가 제2 트랜지스터(TR2)의 게이트 단자로 인가된다. 이때, 데이터 신호는, 제2 트랜지스터(TR2)의 턴온/턴오프를 제어하는 신호이다. 인가되는 데이터 신호에 응답하여, 제2 트랜지스터(TR2)가 턴온되면 구동 전원(ELVDD)이 유기발광다이오드(OLED)의 애노드 전극에 인가되어, 유기발광다이오드(OLED)를 통해 전류(I)가 흐르게 된다. 이에 따라, 유기발광다이오드(OLED)가 발광하게 된다. 이때, 전류(I) 값은 유기발광 다이오드(OLED)의 양단에 인가되는 전압, 즉 구동 전원(ELVDD) 및 접지 전원(ELVSS)의 전압값에 따라 달라지게 된다. 제2 트랜지스터(TR2)가 턴오프되면, 유기발광다이오드(OLED)이 애노드 전극이 플로팅되어, 유기발광다이오드(OLED)가 소광하게 된다. 한편, 커패시터(Cst)는 구동 전원(ELVDD)과 인가된 데이터 신호의 전압 차이에 대응한 전압을 저장함으로써, 제1 트랜지스터(TR1)가 턴오프되어 데이터 신호가 인가되지 않을 때도, 제2 트랜지스터(TR2)가 턴온 또는 턴오프 상태를 유지할 수 있도록 한다.
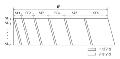
도 3은 종래의 유기 발광 표시 장치의 디지털 구동의 개념도이다.
디지털 구동은 제2 트랜지스터의 게이트에 온 또는 오프 2가지의 조건의 전압만을 인가한다. 화소가 출력하는 발광량의 정도에 따라 계조를 표현할 수는 없지만, 서브필드의 조합으로 화소(PX)의 발광 시간을 조정하는 방식으로 계조를 구현한다.
서브필드란 영상 기준시간 프레임을 복수의 서로 다른 발광 시간 가중치의 시간 단위로 분할한 개념이다. 서로 다른 발광시간을 가진 서브필드의 선택 조합을 통해서 계조를 구현할 수 있다. 서브필드를 이용하여 발광구간의 시간 길이 조절로 계조를 표현하는 방식은 2진수를 이용하여 숫자를 표기하는 방법을 이용하여 설명하는 것이 가능하다. 가중치 설정은 예를 들어, 1 프레임을 6개의 서브필드로 나누어 구성하고 각 서브필드마다 이전 서브필드에 비해서 2배의 발광 시간을 할당하도록 구성한다고 가정해 본다. 6개의 서브필드는 각 자릿수 마다 2진수의 자릿수에 해당하는 가중치로서 휘도를 표시할 수 있다. 제1 서브필드(SF1)의 가중치를 20으로 설정하고, 제2 서브필드(SF2)의 가중치를 21로 설정하는 식으로, 가중치가 2n(n=0,1,2,3,4,5)의 비율로 증가되도록 각 서브필드의 가중치를 결정할 수 있다.
따라서, 표시 장치는 온-오프 조합을 통해서 서브필드 데이터로 26 = 64가지의 휘도 계조를 표현하는 것이 가능하다. 서브필드의 배열 순서를 발광구간의 시간 길이가 긴 즉 휘도 가중치가 높은 서브필드부터 내림차순으로 하면 SF6, SF5, SF4, SF3, SF2, SF1의 순서가 된다.
각 서브필드의 데이터 전압값이 온 상태(예를 들어, 5V)를 이진수의 '1'로 나타내고 각 서브필드의 데이터 전압값이 오프 상태(예를 들어, 0V)를 이진수의 '0'으로 나타내면, 화소의 계조를 나타낼 수 있다. 예를 들어, 63 계조는 이진수의 '11 1111'로 표현되므로, 하나의 프레임 내에 각 서브필드가 모두 온 상태, 즉 "SF6, SF5, SF4, SF3, SF2, SF1" = "On, On, On, On, On, On"로 63 계조가 표현될 수 있다. 이는 해당 화소가 프레임 내의 모든 서브필드에서 온 데이터를 입력 받아서 발광하는 상태임을 의미한다. 또한, 계조 6는 "00 0110"으로 표현될 수 있고, 하나의 프레임 내에 서브필드 1과 서브필드 3이 온 상태, 즉 "SF6, SF5, SF4, SF3, SF2, SF1" = "Off, Off, Off, On, On Off"로 화소가 서브필드 2와 서브필드 3에서만 발광하여 6 계조를 표현할 수 있다. 이와 같이, 한 프레임 기간 동안 화소들(PX)의 발광 시간을 조절하여 계조가 표현될 수 있다.
도 4는 본 발명의 일 실시예에 따른 입체 영상의 표시 구성도이다.
도 4에서 X축은 시간축을 나타내고 Y측은 표시부의 수직 위치(vertical position)을 나타낸다. 3D 입체 영상을 구현하기 위해서는 표시부(110)에서 프레임(Frame)마다 좌안 영상데이터와 우안 영상데이터를 교번하여 출력하여야 한다. 또한 셔터 안경(200)은 프레임 주기와 동일하게 동기화되어 좌우안 셔터를 개폐한다.
본 발명의 실시예에 따른 표시 패널은 좌안 표시 구간(N-1 Frame)에 좌안 영상데이터(Left Image)를 표시한다. 표시패널과 동기된 셔터 안경(200)은 좌안 셔터를 열고, 우안 셔터를 닫는다. 즉, 좌안 셔터는 광이 통과할 수 있도록 광투과율을 높이고, 우안 셔터는 광이 통과할 수 없도록 광투과율을 낮추는 것이다. 이를 통해 셔터 안경을 사용하는 사용자는 좌안 표시 구간(N-1 Frame) 동안 열려있는 좌안 셔터를 통해서 좌안 영상을 볼 수 있다.
좌안 표시 구간(N-1 Frame)에 이어 우안 표시 구간(N Frame)에서 표시패널은 우안의 영상데이터(Right Image)를 표시한다. 이때 셔터 안경(200)은 우안 셔터를 열고, 좌안 셔터를 닫는다. 사용자는 우안 표시 구간(N Frame)동안 열려있는 우안 셔터를 통해서 우안 영상을 볼 수 있다.
프레임(Frame)의 발광 구간 사이에 비발광(Non-Emission)구간이 위치한다. 비발광(Non-Emission)구간에서 표시 장치는 비발광 상태이다. 구동전압(ELVDD) 또는 접지전압(ELVSS)의 전압을 조정하여 전원부(150)가 구동전압과 접지전압의 차이를 0으로 유지하면, 전체 화소는 발광하지 않는다.
비발광(Non-Emission)구간에서 스캔 라인과 데이터 라인을 통해서 발광 정보가 화소에 전달되어, 각 화소의 스토리지 커패시터(Cst)에 저장된다.
도 5는 본 발명의 일 실시예에 따른 듀얼 영상의 표시 구성도이다.
도 5를 참조하면, 듀얼 2D 영상을 구현하기 위하여 표시부(110)는 프레임(Frame)마다 제1 영상과 제2 영상을 교번하여 출력하여야 한다. 제1 영상(1 Image)과 제2 영상(2 Image)은 서로 다른 정보를 표시하는 영상으로서, 예를 들면 다른 방송 채널을 통해서 입력 받은 영상 정보이다.
듀얼 2D 표시 방식은 서로 다른 시청자에게 하나의 표시 장치를 통해서 서로 다른 영상 정보를 제공하기 위한 구동 방법이다. 서로 다른 사용자는 각각 동기화된 주기가 다른 복수의 셔터 안경(201, 202)를 사용한다.
표시 패널은 제1 영상 표시 구간(N-1 Frame)에 제1 영상(1 Image)을 표시한다. 제1 영상이 표시되는 동안, 제1 영상에 동기된 제1 셔터안경(201)은 양안의 셔터를 모두 연 상태로 있다. 반대로 제2 영상용 제2 셔터 안경(202)은 양안의 셔터를 모두 닫고 있다.
제2 영상 데이터 표시 구간(N Frame)에 표시패널이 제2 영상 데이터(2 Image)를 표시한다. 이때 제2 영상에 동기된 제2 셔터안경(202)은 양안의 셔터를 모두 연 상태인 반면, 제1 셔터안경(201)은 양안의 셔터를 모두 닫은 상태이다.
즉, 제1 셔터안경을 사용한 사용자는 제1 영상 만을 보고, 제2 셔터안경을 사용한 사용자는 제2 영상 만을 볼 수 있으므로, 하나의 표시패널이 서로 다른 2개의 영상 정보를 제공할 수 있게 된다.
도 6은 본 발명의 일 실시예에 따른 프레임의 타이밍도이다.
본 발명의 실시예에서 설명의 편의성을 위하여 표시패널(110)이 10개의 스캔 라인 (SL1 내지 SL10)만을 포함하고 있다고 가정하기로 한다.
도 6의 X 축은 시간 축이고 Y 축은 스캔 라인(SL)을 의미한다.
도 6을 참조하면, 동시구동 방식은 프레임을 시간적으로 연속된 각각의 단위시간(Unit time)으로 나누고, 각 단위시간 내에서 서로 다른 스캔 라인의 화소에 각 프레임에 할당된 서브필드의 데이터 정보를 기입한다.
도 6은 서브필드의 가중치가 높은 순서대로 서브필드 0 부터 5까지 총 6개의 서브필드가 사용되는 것을 예시하고 있다.
단위시간(Unit time)은 영상 프레임(N Frame)을 구성하는 구동 시간을 나타내는 개념이다. 프레임은 비발광구간(Non-Emission)과 발광구간(Emission)으로 나누어지고, 발광구간에서 단위시간 개수는 표시패널(110)의 스캔 라인수(SLn)와 동일할 수 있다.
또한, 각 단위시간은 서브필드와 동일한 개수의 선택시간으로 나누어질 수 있다.
선택시간(Selection time)은 어느 하나의 스캔 라인으로 스캔신호를 인가하거나 또는 각 화소에 데이터 신호를 공급할 수 있는 최소의 시간이다. 각 선택시간(Selection time)에 한 스캔 라인에 인가되는 스캔신호와 각 화소에 데이터 전압이 인가된다. 각 화소에 인가되는 데이터 정보는 각 서브필드별 온-오프에 대응하는 정보이며, 도 6에 스캔 라인과 선택시간의 교차 지점에 인가되는 데이터의 해당 서브필드가 숫자로 표기되어 있다.
스캔 라인에 인가된 스캔 신호에 의하여 각 서브필드가 시작되기 전에 스캔라인의 화소들은 기존에 기입된 서브필드에 의해서 발광 또는 비발광 상태를 유지한다.
본 발명의 실시예에서 발광구간은 패널의 스캔 라인수와 동일한 10개의 단위시간으로 나누어지며, 각 단위시간은 다시 서브필드수와 동일한 6개의 선택시간으로 분할된다. 따라서, 발광구간 내에는 총 60개의 선택시간이 존재한다.
서브필드의 가중치는 서브필드가 시작된 선택시간부터 다음 서브필드가 시작되기 전까지이며, 각 서브필드의 가중치는 선택시간의 합과 동일하다.
예를 들어, 발광시간이 60개의 선택시간으로 구성되면, 제0 내지 제6 서브필드의 가중치도 60이 된다. 따라서, 제0 서브필드 내지 제5 서브필드에 "31", "13", "8", "5", "2", "1"의 가중치에 대응되는 개수만큼 선택 시간이 분배되어 각 서브필드가 설정될 수 있다.
본 발명의 실시예와 같이 서브필드를 단위시간 기준으로 구성하면, 제1 스캔 라인을 제외한 다른 스캔 라인의 제0 서브필드는 제2 내지 제10 단위시간 중 어느 하나에 위치할 수 있다. 전 스캔 라인이 동일한 서브필드 가중치를 갖기 위하여, 제 1 스캔라인을 제외한 다른 스캔 라인은 제0 서브필드 이전에 존재하는 발광구간의 선택시간에도 다른 서브필드를 할당하여야 한다.
도 6을 참조하면, 비발광구간(Non-Emission)에 서브필드 온-오프 정보를 가지는 프리-데이터(Pre-data)가 화소에 기입된다. 프리-데이터 기입을 통해서 모든 스캔 라인의 화소가 발광구간의 시작점부터 서브필드 온-오프 정보에 따라 발광 또는 비발광할 수 있게 된다.
프리-데이터가 화소에 기입되므로서 하나의 프레임에서 해당 서브필드의 가중치를 만족하도록 발광구간의 시작점부터 가중치의 일부를 할당할 수 있게된다.예를 들어, 제2 스캔 라인(SL2)의 화소가 모든 서브필드에서 발광한다고 가정하고, 발광구간에서 제0 서브필드의 시작점(제2 단위시간 - 제1 선택시간)부터 동작을 살펴본다.
제2 스캔 라인(SL2)의 화소는 제0 내지 제2 서브필드 구간에서 데이터 전압을 인가받고, 제3 서브필드의 시작점(제10 단위시간 제4 선택시간)부터 제10 단위시간의 제5 선택시간까지(가중치 '2')에 해당하는 두 칸의 선택시간동안 데이터 전압을 인가받는다.
계조를 표현하기 위해서는 제2 스캔라인(SL2)의 화소는 제3 서브필드에서 '3' 가중치와 제4 서브필드에서 '2' 가중치, 제5 서브필드의 '1' 가중치에 해당하는 서브필드 데이터를 모두 인가받아야 한다. 그러나, 제2 스캔 라인(SL2)는 제3 서브필드의 시작점 이후에 제3 서브필드의 일부, 제4 서브필드 및 제5 서브필드의 가중치를 할당할 수 없다.
이에 따라, 본 발명의 실시예에 따른 구동 방식은 제3 서브필드의 '3' 가중치와 제4 서브필드의 '2'가중치, 제5 서브필드의 '1'가중치를 발광구간 시작점부터 제0 서브필드의 시작점까지의 구간에 할당한다.
프리-데이터 신호에 후속하는 서브필드 데이터를 발광 구간의 제0 서브필드 이전에 인가함으로써 전 프레임에 균등하게 서브필드를 할당할 수 있게 된다.
또한, 본 발명의 실시예에 따른 구동 방식은 발광구간의 시작점에서부터 발광이 진행될 수 있도록 비발광구간에서 발광구간의 시점에 필요한 서브필드 정보를 화소에 미리 입력한다.
비발광구간에서, 스캔 라인(SL1 내지 SL10)에 순차적으로 각 선택시간에 스캔 신호가 각각 인가되고, 스캔 신호와 동기하여 발광구간의 종료 시점의 서브필드와 동일한 서브필드의 데이터가 화소에 인가된다.
이에 따라, 비발광구간이 종료한 후 발광구간이 시작할 때, 발광구간의 종료 시점의 서브필드 데이터가 화소에 미리 인가되어, 한 프레임에서 각 스캔 라인의 화소에 서브필드의 가중치가 전부 할당될 수 있다.
구체적으로, 제2 스캔 라인(SL2)의 화소에 인가되는 스캔 신호와 서브필드 데이터의 타이밍 동작을 살펴보기로 한다.
제2 스캔 라인(SL2)의 화소는 비발광구간의 제2 선택시간에 스캔 신호와 발광구간의 종료 시점과 동일한 제3 서브필드 데이터를 프리-데이터 신호로 인가받는다.
프리-데이터 신호는 비발광구간에서 제2 스캔 라인(SL2)의 화소의 스토리지 커패시터(Cst)에 저장되고, 제2 스캔 라인(SL2)의 화소는 발광구간의 초기 시점인 제1 단위시간부터 스토리지 커패시터(Cst)에 저장된 전압에 의해 발광(또는 비발광)한다.
또한, 제2 스캔 라인(SL2)의 화소는 발광구간에서 계속하여 제0 서브필드 이전에 제4 서브필드와 제5 서브필드 데이터를 인가받는다.
즉, 비발광구간에 프리-데이터 기입 동작을 수행함으로써 발광구간에서 각 스캔라인의 화소에 동일한 서브필드의 가중치가 할당될 수 있어 비순차로 스캔 동작에도 불구하고 표시 패널은 원하는 화상을 표시할 수 있다.
다만, 동일한 서브필드가 발광구간과 비발광구간에서 분할되어 화소에 인가되는 경우, 데이터 드라이버로부터 화소에 인가된 데이터 전압 파형이 발광구간과 비발광구간에서 동일한 서브필드임에도 불구하고 서로 다르게 되어, 표시 패널의 휘도가 불균일해질 수 있다.
유기 전계 발광 표시 장치는 제2 트랜지스터에 인가되는 게이트 전압에 의해서 발광량이 결정되기 때문에 화소에 인가되는 데이터 전압의 작은 차이에 의해서도 불균일한 휘도를 나타낼 수 있다. 데이터 전압의 파형이 변경되어 표시 패널의 휘도가 불균일한 현상을 충전성 휘도 불균일이라 한다.
충전성 휘도 불균일은 특히 스캔 신호가 1us 이하인 고속 스캔 방식을 사용하는 대면적 유기 발광 표시 장치에서 더 많이 발생한다.
도 7은 본 발명의 다른 실시예에 따른 영상 프레임을 나타내는 구동 타이밍도이다.
도 8은 본 발명의 다른 실시예에 따른 영상 프레임의 비발광구간에서 데이터 신호 및 스캔 신호를 나타내는 파형도이다.
도 7과 도 8를 참조하여 비발광구간(Non-Emission)에서 더미-데이터(Dummy-data) 신호를 프리-데이터(Pre-data)신호 이전에 인가하여 발광구간과 비발광구간의 데이터 파형을 실질적으로 동일하게 인가하는 방법을 설명하기로 한다.
더미-데이터 신호는 발광구간에서 프리-데이터 신호에 대응하는 서브필드 데이터보다 바로 전의 선택 시간에서 시작된 다른 스캔 라인의 서브필드 데이터와 동일한 신호로서, 프리-데이터 신호의 전의 적어도 하나의 선택 시간에 인가된다. 이를 통해, 프리-데이터의 드라이버 인가 조건을 발광구간의 데이터 인가 조건과 동일하게 구현할 수 있다.
도 7과 도 8를 참조하여, 제3 스캔 라인(SL3)과 제4 스캔 라인(SL4)의 비발광구간의 파형을 설명하기로 한다.
도 7에 도시된 바와 같이, 제3 스캔 라인(SL3)의 프리-데이터(제2 서브필드 데이터)는 제10 단위시간의 제2 선택시간에 입력된 제2 서브필드의 데이터와 동일한 신호이다.
또한, 도 8에 도시된 바와 같이, 제3 스캔 라인(SL3)의 더미-데이터(제1 서브필드 데이터)는 발광구간에서 제3 스캔 라인(SL3)의 프리-데이터 신호에 대응하는 서브필드 데이터보다 바로 전의 선택 시간에서 시작된 제5 스캔 라인(SL5)의 서브필드 데이터(제1 서브필드 데이터)와 동일한 신호로서 적어도 하나의 선택 시간 동안 인가된다.
프리-데이터 신호는 하나의 프레임에서 해당 서브필드의 가중치를 만족하도록 발광구간의 시작점에서 가중치의 일부를 할당하는 역할을 수행한다.
한편, 도 8에 도시된 바와 같이, 더미-데이터 신호 인가 시에 스캔 신호는 화소에 인가되지 않을 수 있다. 더미 데이터 신호는 화소에 인가되는 비발광 구간의 프리-데이터 신호 파형과 발광 구간의 종료 시점의 서브필드 데이터의 파형과 동일하게 인가하기 위한 것이기 때문이다.
도 9는 이전 프레임(N-1Fram)과 현 프레임(N Frame)의 비발광구간의 연결 구간을 나타내는 타이밍도이다.
도 9를 참조하면, 이전 프레임(N-1 Frame)을 구성하는 서브필드의 배치와 현 프레임(N Frame)을 구성하는 서브필드의 배치는 동일하다. 현프레임(N Frame)의 비발광구간에 인가되는 프리-데이터 정보는 현 프레임(N Frame)에 기입될 데이터 정보에 기초하여 비발광 구간에 입력된다.
이전 프레임(N-1 Frame)의 발광구간에서 스캔은 비순차적으로 이루어지며, 현 프레임(N Frame)의 비발광구간에서 스캔은 순차적으로 이루어진다.
본 발명의 실시예에 따른 표시 장치는 도4와 도5에서 설명한 3D 표시 장치 또는 듀얼 2D 표시 장치에 적용될 수도 있다.
3D 표시장치 또는 듀얼 2D 표시 장치에 적용하기 위해서는 외부로부터 서로다른 제1 영상정보와 제2 영상정보의 입력을 받아야 한다.
외부로부터 받은 제1 영상정보는 제1 프레임에 표시하고, 제 1영상정보와 서로 다른 제2 영상정보는 제1 프레임과 연속한 제2 프레임에 표시한다.
본 발명의 실시예를 통해 설명한 바와같이 제1 프레임은 비발광 구간과 발광구간으로 구성되며, 비발광 구간에 더미-데이터 신호와 프리-데이터 신호를 인가하는 것을 통해, 발광구간에서 제1 영상정보를 온전히 표시할 수 있다.
프리-데이터 신호는 해당 프레임의 발광구간의 종료시점에서 서브필드 데이터와 동일한 데이터를 갖는다.
더미-데이터는 발광구간에서 프리-데이터 신호에 대응하는 서브필드 데이터보다 바로 전의 선택 시간에서 시작된 다른 스캔 라인의 서브필드 데이터와 동일한 데이터를 갖는다.
제2 프레임도 제1 프레임과 동일한 프레임 구성을 가진다.
각 프레임의 발광구간에 동기하여 셔터안경이 동기화 방식은 되는 것은 도4 내지 도5의 설명과 동일하다.
그러나, 본 발명의 범위가 상기 특정한 실시예로 한정되는 것은 아니며, 본 발명의 사상 및 기술 범위에 포함되는 모든 변경, 균등물 또는 대체물은 본 발명의 범위에 포함되는 것으로 이해되어야 한다.
100: 표시 장치
110: 표시 패널
120: 제어부 130: 데이터 드라이버
140: 스캔 드라이버 150: 전원부
200,201,202: 셔터안경
120: 제어부 130: 데이터 드라이버
140: 스캔 드라이버 150: 전원부
200,201,202: 셔터안경
Claims (20)
- 복수의 데이터 라인,
복수의 스캔 라인 및
상기 데이터 라인과 상기 스캔 라인이 교차되는 지점에 위치하는 복수의 화소를 포함하는 유기발광 표시패널의 구동방법에 있어서,
비발광구간에서 각 스캔 라인의 화소에 더미-데이터 신호 및 프리-데이터 신호를 인가하는 단계;
발광구간에서 각 스캔 라인의 화소에 스캔 신호 및 데이터 신호를 비순차적으로 인가하는 단계;를 포함하되,
상기 데이터 라인에 연속되어 인가되는 상기 데이터 신호들은 서로 다른 서브필드에 대응하는 데이터 정보를 갖는 유기발광 표시패널의 구동방법. - 제1 항에 있어서,
상기 데이터 신호는 복수의 서브필드 데이터를 포함하는 유기발광 표시패널의 구동방법. - 제2 항에 있어서,
상기 프리-데이터 신호는 발광 구간의 종료시점에서 서브필드 데이터와 동일한 유기발광 표시패널의 구동방법. - 제3 항에 있어서,
상기 프리-데이터 신호는 하나의 프레임에서 해당 서브필드의 가중치를 만족하도록 발광구간의 시작점에서 가중치의 일부를 할당하는 유기발광 표시패널의 구동방법. - 제4 항에 있어서,
상기 프리-데이터 신호에 후속하는 서브필드 데이터가 발광 구간에서 프레임 시작 서브필드 전에 각 스캔라인의 화소에 인가되는 유기발광 표시패널의 구동방법. - 제1 항에 있어서,
상기 더미-데이터 신호는 발광구간에서 상기 프리-데이터 신호에 대응하는 서브필드 데이터보다 바로 전의 선택 시간에서 시작된 다른 스캔 라인의 서브필드 데이터와 동일한 유기발광 표시패널의 구동방법. - 제6 항에 있어서,
상기 더미-데이터 신호는 상기 프리-데이터 신호의 적어도 하나의 선택 시간 전에 인가되는 유기발광 표시패널의 구동방법. - 제1 항에 있어서,
상기 스캔 신호는 상기 더미-데이터 신호가 인가될 때, 상기 스캔 라인의 화소에 인가되지 않는 유기발광 표시패널의 구동방법. - 제8 항에 있어서,
상기 비발광구간의 스캔 신호는 순차적으로 인가되는 유기발광 표시패널의 구동방법. - 제1 항에 있어서,
상기 스캔 신호는 상기 프리-데이터가 인가될 때, 상기 스캔 라인의 화소에 인가되는 유기발광 표시패널의 구동방법. - 복수의 데이터 라인,
복수의 스캔 라인 및
상기 데이터 라인과 상기 스캔 라인이 교차되는 지점에 위치하는 복수의 화소를 포함하는 유기발광 표시패널의 구동방법에 있어서,
외부로부터 제1 영상정보를 입력받는 단계;
외부로부터 상기 제1영상정보와는 다른 제2 영상정보를 입력받는 단계;
제1 비발광구간에서 각 스캔 라인의 화소에 상기 제 1 영상정보에 기초한 제1 더미-데이터 신호 및 제1 프리-데이터 신호를 인가하는 단계;
제1 발광구간에서 각 스캔 라인의 화소에 제1 스캔 신호 및 상기 제 1 영상정보에 기초한 제1 데이터 신호를 비순차적으로 인가하는 단계;
제2 비발광구간에서 각 스캔 라인의 화소에 상기 제 2 영상정보에 기초한 제2 더미-데이터 신호 및 제2 프리-데이터 신호를 인가하는 단계;
제2 발광구간에서 각 스캔 라인의 화소에제2 스캔 신호 및 상기 제 2 영상정보에 기초한 제2 데이터 신호를 비순차적으로 인가하는 단계;를 포함하되,
상기 데이터 라인에 연속되어 인가되는 상기 데이터 신호들은 서로 다른 서브필드에 대응하는 데이터 정보를 갖는 유기발광 표시패널의 구동방법. - 제11 항에 있어서
상기 제1 영상 정보는 입체 영상의 좌안용 영상정보이고, 상기 제2 영상 정보는 입체 영상의 우안용 영상정보인 유기발광 표시패널의 구동방법. - 제11 항에 있어서,
상기 제1 및 제2 데이터 신호는 복수의 서브필드 데이터를 포함하는 유기발광 표시패널의 구동방법. - 제13 항에 있어서,
상기 제1 및 제2 프리-데이터 신호는 상기 제1 및 제2 발광 구간의 종료시점에서 서브필드 데이터와 동일한 유기발광 표시패널의 구동방법. - 제14 항에 있어서,
상기 제1 및 제2 프리-데이터 신호는 하나의 프레임에서 해당 서브필드의 가중치를 만족하도록 상기 제1 및 제2 발광구간의 시작점에서 가중치의 일부를 할당하는 유기발광 표시패널의 구동방법. - 제15 항에 있어서,
상기 제1 및 제2 프리-데이터 신호에 후속하는 서브필드 데이터가 발광 구간에서 프레임의 최초 서브필드 전에 각 스캔 라인의 화소에 인가되는 유기발광 표시패널의 구동방법. - 제12 항에 있어서,
상기 제1 및 제2 더미-데이터 신호는 상기 제1 및 제2 발광구간에서 상기 제1 및 제2 프리-데이터 신호에 대응하는 서브필드 데이터보다 바로 전의 선택 시간에서 시작된 다른 스캔 라인의 서브필드 데이터와 동일한 유기발광 표시패널의 구동방법. - 제17 항에 있어서,
상기 제1 및 제2 더미-데이터 신호는 상기 제1및 제2 프리-데이터 신호의 전의 적어도 하나의 선택 시간에 인가되는 유기발광 표시패널의 구동방법. - 제18 항에 있어서,
상기 제1 및 제2 비발광구간의 상기 제1 및 제2 스캔 신호는 순차적으로 인가되는 유기발광 표시패널의 구동방법. - 제17 항에 있어서,
상기 제1 및 제2 스캔 신호는 상기 제1 및 제2 더미-데이터 신호가 인가될 때, 상기 스캔 라인의 화소에 인가되지 않는 유기발광 표시패널의 구동방법.
Priority Applications (2)
| Application Number | Priority Date | Filing Date | Title |
|---|---|---|---|
| KR1020140031736A KR20150108994A (ko) | 2014-03-18 | 2014-03-18 | 표시 장치 및 그 구동 방법 |
| US14/592,811 US9607535B2 (en) | 2014-03-18 | 2015-01-08 | Display device and method for driving the same |
Applications Claiming Priority (1)
| Application Number | Priority Date | Filing Date | Title |
|---|---|---|---|
| KR1020140031736A KR20150108994A (ko) | 2014-03-18 | 2014-03-18 | 표시 장치 및 그 구동 방법 |
Publications (1)
| Publication Number | Publication Date |
|---|---|
| KR20150108994A true KR20150108994A (ko) | 2015-10-01 |
Family
ID=54142690
Family Applications (1)
| Application Number | Title | Priority Date | Filing Date |
|---|---|---|---|
| KR1020140031736A Withdrawn KR20150108994A (ko) | 2014-03-18 | 2014-03-18 | 표시 장치 및 그 구동 방법 |
Country Status (2)
| Country | Link |
|---|---|
| US (1) | US9607535B2 (ko) |
| KR (1) | KR20150108994A (ko) |
Cited By (3)
| Publication number | Priority date | Publication date | Assignee | Title |
|---|---|---|---|---|
| KR20170124790A (ko) * | 2016-05-03 | 2017-11-13 | 엘지디스플레이 주식회사 | 서브프레임에 기반한 디지털 구동 장치 및 이를 포함하는 표시장치 |
| KR20180081320A (ko) * | 2017-01-06 | 2018-07-16 | 삼성전자주식회사 | 전자 장치 및 생체 센서를 위한 디스플레이 제어 방법 |
| US10255839B2 (en) | 2014-10-28 | 2019-04-09 | Samsung Display Co., Ltd. | Driving unit, display device and method of driving a display panel |
Families Citing this family (2)
| Publication number | Priority date | Publication date | Assignee | Title |
|---|---|---|---|---|
| KR102395792B1 (ko) * | 2017-10-18 | 2022-05-11 | 삼성디스플레이 주식회사 | 표시 장치 및 그 구동 방법 |
| KR102365146B1 (ko) * | 2021-02-13 | 2022-02-23 | 이성호 | 기생용량을 개조한 쉴딩용량을 이용하여 감도를 향상시키는 방법 |
Family Cites Families (23)
| Publication number | Priority date | Publication date | Assignee | Title |
|---|---|---|---|---|
| JPH06282242A (ja) * | 1993-03-25 | 1994-10-07 | Pioneer Electron Corp | ガス放電パネルの駆動方法 |
| EP1022714A3 (en) * | 1999-01-18 | 2001-05-09 | Pioneer Corporation | Method for driving a plasma display panel |
| JP2003186437A (ja) * | 2001-12-18 | 2003-07-04 | Sanyo Electric Co Ltd | 表示装置 |
| JP4030863B2 (ja) | 2002-04-09 | 2008-01-09 | シャープ株式会社 | 電気光学装置、それを用いた表示装置、その駆動方法、並びに、その重みの設定方法 |
| WO2003091977A1 (fr) * | 2002-04-26 | 2003-11-06 | Toshiba Matsushita Display Technology Co., Ltd. | Circuit de commande d'un ecran el |
| KR100659206B1 (ko) * | 2002-08-20 | 2006-12-19 | 가즈나리 에라 | 입체 화상을 작성하는 방법 및 장치 |
| KR100598738B1 (ko) * | 2003-12-11 | 2006-07-10 | 엘지.필립스 엘시디 주식회사 | 액정표시장치와 그의 구동방법 |
| JP4759925B2 (ja) * | 2004-03-19 | 2011-08-31 | セイコーエプソン株式会社 | 電気光学装置および電子機器 |
| KR100805587B1 (ko) * | 2006-02-09 | 2008-02-20 | 삼성에스디아이 주식회사 | 디지털-아날로그 변환기 및 이를 채용한 데이터 구동회로와평판 표시장치 |
| KR100776488B1 (ko) * | 2006-02-09 | 2007-11-16 | 삼성에스디아이 주식회사 | 데이터 구동회로 및 이를 구비한 평판 표시장치 |
| KR100952837B1 (ko) * | 2008-07-28 | 2010-04-15 | 삼성모바일디스플레이주식회사 | 유기전계발광 표시장치 |
| US8743047B2 (en) * | 2008-11-26 | 2014-06-03 | Sharp Kabushiki Kaisha | Liquid crystal display device, method for driving liquid crystal display device, and television receiver |
| TWI386742B (zh) * | 2009-04-14 | 2013-02-21 | Au Optronics Corp | 液晶顯示器及其液晶顯示面板的驅動方法 |
| JP5246433B2 (ja) * | 2009-09-18 | 2013-07-24 | ソニー株式会社 | 表示装置 |
| KR101778779B1 (ko) | 2010-07-27 | 2017-09-15 | 엘지디스플레이 주식회사 | 입체영상 표시장치 및 그 구동방법 |
| KR101279661B1 (ko) * | 2010-11-05 | 2013-07-05 | 엘지디스플레이 주식회사 | 입체 영상 표시장치와 그 전원 제어방법 |
| KR20120062499A (ko) * | 2010-12-06 | 2012-06-14 | 삼성모바일디스플레이주식회사 | 화소, 이를 이용한 입체 영상 표시 장치 및 그의 구동 방법 |
| JP5652188B2 (ja) * | 2010-12-15 | 2015-01-14 | ソニー株式会社 | 表示装置 |
| KR20120079609A (ko) * | 2011-01-05 | 2012-07-13 | 삼성모바일디스플레이주식회사 | 주사 구동부 및 이를 이용한 평판 표시장치 |
| KR20120133432A (ko) | 2011-05-31 | 2012-12-11 | 삼성디스플레이 주식회사 | 유기전계발광 표시장치 및 그의 구동방법 |
| WO2013084702A1 (ja) * | 2011-12-09 | 2013-06-13 | ソニー株式会社 | 表示装置、表示パネル、およびその駆動方法、ならびに電子機器 |
| WO2013094422A1 (ja) * | 2011-12-21 | 2013-06-27 | シャープ株式会社 | 画素回路及び表示装置 |
| KR101922686B1 (ko) * | 2012-08-29 | 2018-11-28 | 삼성디스플레이 주식회사 | 표시 장치 |
-
2014
- 2014-03-18 KR KR1020140031736A patent/KR20150108994A/ko not_active Withdrawn
-
2015
- 2015-01-08 US US14/592,811 patent/US9607535B2/en active Active
Cited By (3)
| Publication number | Priority date | Publication date | Assignee | Title |
|---|---|---|---|---|
| US10255839B2 (en) | 2014-10-28 | 2019-04-09 | Samsung Display Co., Ltd. | Driving unit, display device and method of driving a display panel |
| KR20170124790A (ko) * | 2016-05-03 | 2017-11-13 | 엘지디스플레이 주식회사 | 서브프레임에 기반한 디지털 구동 장치 및 이를 포함하는 표시장치 |
| KR20180081320A (ko) * | 2017-01-06 | 2018-07-16 | 삼성전자주식회사 | 전자 장치 및 생체 센서를 위한 디스플레이 제어 방법 |
Also Published As
| Publication number | Publication date |
|---|---|
| US20150269881A1 (en) | 2015-09-24 |
| US9607535B2 (en) | 2017-03-28 |
Similar Documents
| Publication | Publication Date | Title |
|---|---|---|
| US9489875B2 (en) | Pixel, stereoscopic image display device, and driving method thereof | |
| KR102026473B1 (ko) | 표시 장치 및 그 구동 방법 | |
| JP5684469B2 (ja) | 有機電界発光表示装置及びその駆動方法 | |
| KR102141238B1 (ko) | 화소 및 이를 이용한 유기전계발광 표시장치 | |
| KR102093664B1 (ko) | 표시 장치 및 그 구동 방법 | |
| KR100897171B1 (ko) | 유기전계발광 표시장치 | |
| KR102237748B1 (ko) | 유기 발광 표시 장치 및 이의 구동방법 | |
| KR101681210B1 (ko) | 유기 전계발광 표시장치 | |
| US8610701B2 (en) | Organic light emitting display device with pixel configured to be driven during frame period and driving method thereof | |
| KR100844769B1 (ko) | 유기전계발광 표시장치의 구동방법 | |
| JP2005099712A (ja) | 表示装置の駆動回路および表示装置 | |
| CN105047128A (zh) | 显示装置和用于驱动显示装置的方法 | |
| KR101351247B1 (ko) | 유기전계발광 표시장치 및 그의 구동방법 | |
| CN102467872A (zh) | 有机电致发光显示装置及其驱动方法 | |
| KR102197026B1 (ko) | 유기전계발광 표시장치 | |
| KR20110126364A (ko) | 유기전계발광 표시장치 | |
| KR20150112761A (ko) | 표시 장치 및 표시 장치의 구동 방법 | |
| KR20120032736A (ko) | 화소 및 이를 이용한 유기 전계발광 표시장치 | |
| KR20150108994A (ko) | 표시 장치 및 그 구동 방법 | |
| KR102089052B1 (ko) | 유기전계발광 표시장치 | |
| KR102154814B1 (ko) | 유기전계발광 표시장치 및 그의 구동방법 | |
| KR101999759B1 (ko) | 유기전계발광 표시장치 및 그의 구동방법 | |
| KR101999761B1 (ko) | 유기전계발광 표시장치 및 그의 구동방법 | |
| KR20120133432A (ko) | 유기전계발광 표시장치 및 그의 구동방법 | |
| KR20150114693A (ko) | 디스플레이 장치 및 그 제어 방법 |
Legal Events
| Date | Code | Title | Description |
|---|---|---|---|
| PA0109 | Patent application |
Patent event code: PA01091R01D Comment text: Patent Application Patent event date: 20140318 |
|
| PG1501 | Laying open of application | ||
| PC1203 | Withdrawal of no request for examination | ||
| WITN | Application deemed withdrawn, e.g. because no request for examination was filed or no examination fee was paid |