KR20150021267A - Rotary type dust removing machine - Google Patents

Rotary type dust removing machine Download PDF

Info

Publication number
KR20150021267A
KR20150021267A KR20130098403A KR20130098403A KR20150021267A KR 20150021267 A KR20150021267 A KR 20150021267A KR 20130098403 A KR20130098403 A KR 20130098403A KR 20130098403 A KR20130098403 A KR 20130098403A KR 20150021267 A KR20150021267 A KR 20150021267A
Authority
KR
South Korea
Prior art keywords
rake
screen
water
water channel
contaminants
Prior art date
Legal status (The legal status is an assumption and is not a legal conclusion. Google has not performed a legal analysis and makes no representation as to the accuracy of the status listed.)
Ceased
Application number
KR20130098403A
Other languages
Korean (ko)
Inventor
황현진
Original Assignee
주식회사신화기공
황현진
Priority date (The priority date is an assumption and is not a legal conclusion. Google has not performed a legal analysis and makes no representation as to the accuracy of the date listed.)
Filing date
Publication date
Application filed by 주식회사신화기공, 황현진 filed Critical 주식회사신화기공
Priority to KR20130098403A priority Critical patent/KR20150021267A/en
Publication of KR20150021267A publication Critical patent/KR20150021267A/en
Ceased legal-status Critical Current

Links

Images

Classifications

    • EFIXED CONSTRUCTIONS
    • E02HYDRAULIC ENGINEERING; FOUNDATIONS; SOIL SHIFTING
    • E02BHYDRAULIC ENGINEERING
    • E02B5/00Artificial water canals, e.g. irrigation canals
    • E02B5/08Details, e.g. gates, screens

Landscapes

  • Engineering & Computer Science (AREA)
  • General Engineering & Computer Science (AREA)
  • Mechanical Engineering (AREA)
  • Civil Engineering (AREA)
  • Structural Engineering (AREA)
  • Filtration Of Liquid (AREA)

Abstract

본 발명은 수로에 설치된 스크린 장치에서 건져 올린 협잡물이 레이크에 잔류하여 이동하는 중 스크린과의 사이에 끼어 장치의 고장을 유발하지 않도록 레이크에 달라붙어 이송되는 협잡물을 강제로 탈거시켜 주는 청소수단을 구비한 로터리 제진기 장치를 제공하는 데 있다. 이를 위해 본 발명은 양측 측벽 사이에 물이 흘러가는 수로를 형성하고, 그 수로를 흘러가는 물에 포함된 협잡물을 걸러내도록 프레임 구조물에 설치되는 스크린과, 그 스크린의 양측으로 프레임 구조물에 설치되어 무한궤도로 주행하는 체인기구와, 그 체인기구 구동에 의해 이동하여 수로 하부의 스크린에 걸린 협잡물을 상부로 걷어올려 외부로 배출하는 레이크를 포함하는 본체를 구비하는 로터리 제진기에 있어서, 상기 스크린이 마련된 본체의 배면으로 협잡물을 낙하시키고 하강 이동하는 상기 레이크에 잔류하는 협잡물을 레이크와의 마찰 접촉에 의해 탈거시키는 솔부재를 구비한 청소수단이 설치되는 것을 특징으로 한다.The present invention has a cleaning means for forcibly removing a contaminant which is adhered to a rake so as not to cause a breakdown of the apparatus due to a breakage between the screen and the screen during the movement of the obstacle raised in the screen apparatus installed in the water channel And to provide a rotary damper device. To this end, the present invention provides a water treatment system comprising: a screen installed in a frame structure to form a water channel for flowing water between both side walls and to filter contaminants contained in water flowing in the water channel; A rotary damper comprising a chain mechanism that travels in a track and a main body including a rake which moves by driving the chain mechanism and lifts up the impurities caught on the screen below the water channel to the upper side and discharges it to the outside, And a cleaning member provided with a brush member for dropping the contaminants to the backside of the washing tank and detaching the contaminants remaining in the washing tank by friction contact with the rake.

Description

로터리 제진기{Rotary type dust removing machine}[0001] The present invention relates to a rotary type dust removing machine,

본 발명은 낮은 저지대의 배수펌프장, 상수도 취수장, 관계 용수로, 하수 처리장 및 댐 등의 개수로(開水路)에 설치하여 개수로를 따라 흘러가는 수류와 함께 부유하는 협잡물(부유물 쓰레기,진개물)을 걸러내는 제진기의 장치에 관한 것으로, 보다 상세하게는 외부로 배출되지 않고 레이크 사이에 끼어 순환하는 협잡물을 제거할 수 있는 청소수단을 구비한 로터리 제진기 장치에 관한 것이다.
The present invention relates to a water treatment system that is installed in an open channel of a low-lying drainage pumping station, a water supply water intake pipe, a related water supply channel, a sewage treatment plant and a dam, And more particularly to a rotary damper device having a cleaning means capable of removing contaminants circulating between rakes without being discharged to the outside.

최근 각종 취수장 및 배수 펌프장 등이 대형화됨으로써 취수 및 배수 용량이 커지고 있고, 또 하수도 보급의 진척에 따라 오수 및 우수펌프장들이 많은 곳에 설치되고 있는데, 이들 수 처리장에서 펌프 가동시 유입되는 물속에는 다량 다종의 오물과 쓰레기들, 소위 각종 협잡물이 혼입되어 있어 이를 방치할 경우 펌프를 파손시키거나 펌핑 기능을 현저히 약화시키고 또 이들 쓰레기들이 수로를 막게 되어 집중 호우시 등에 배수가 원활치 못하게 되어 침수를 유발하는 등의 여러 문제를 수반하게 된다.Recently, water intake and drainage capacities have been increasing due to the enlargement of various water intake and drainage pumping stations, and sewage and stormwater pumping stations have been installed in many places depending on the progress of sewerage supply. In these water treatment plants, If there is contamination of dirt and garbage, so-called various impurities, the pump will be broken or the pumping function will be considerably weakened, and these trash will block the water channel, It involves several problems.

이 때문에 수류와 함께 배수로로 유입되는 협잡물이 펌프 측에 흘러가지 못하게 개수로에 제진기를 설치하여 협잡물을 걸러내어 외부로 배출토록 함으로써 수류의 흐름을 원활히 하도록 하고 있다.For this reason, the flow of the water flow is made smooth by arranging the dust collector on the water line so that the impurities which flow into the drainage channel together with the water flow can not flow to the pump side.

상기와 같이 배수로의 도중에 설치하여 자동으로 협잡물을 걸러내어 외부로 배출하는 제진기 장치로는 대한민국 실용신안등록 제 325084호에 개시된 '전면상승형 로터리 제진기'가 있는바, 이를 도 1에 도시하여 그 구성과 작동관계를 설명하면 다음과 같다.As shown in Fig. 1, there is a "front elevating type rotary damper" disclosed in Korean Utility Model Registration No. 325084, which is installed in the middle of a drainage passage to automatically filter out contaminants and discharge the damages to the outside. The operation relationship is as follows.

동 발명에 의한 로터리 제진기는 본체(100)의 상면으로 경사지게 스크린(200)과 전위스크린(201)이 일체로 장착되고, 상기 스크린(200)과 전위스크린(201)에 걸린 협잡물을 제거하는 레이크(300)가 체인(401)에 장착되며, 상기 본체(100)에 상기 체인(401)을 구동하는 구동부(400)가 설치되고, 상기 체인(401)을 안내하도록 상기 본체(100)의 양측으로 커버(500)가 구비되며, 상기 본체(100)가 회전되도록 하는 지지대(601)에 회전축(600)이 회전 가능하게 장착되고, 상기 본체(100)에 연결된 와이어로프(701)를 모터(702)에 의해 회전되는 드럼(700)으로 감아 상기 본체(100)가 상승되도록 구성되어 있다.The rotary damper according to the present invention includes a screen 200 and a disposable screen 201 integrally mounted on the upper surface of the main body 100 so as to be inclined with respect to the upper surface of the main body 100 and a rake 300 are mounted on a chain 401 and a driving unit 400 for driving the chain 401 is installed on the main body 100. The main body 100 is provided with a cover 401, A rotary shaft 600 is rotatably mounted on a support 601 for rotating the main body 100 and a wire rope 701 connected to the main body 100 is connected to a motor 702 So that the main body 100 is lifted up.

이에 따라, 모터가 구동되면 체인(401)을 따라 상기 레이크(300)가 상승하면서 스크린(200,201)에 의해 걸러진 협잡물(진개물)을 걷어 올라가게 되며, 본체(100)의 상단으로 레이크(300)가 상승된 후에 상기 레이크(300)가 그 상단에서 방향이 바뀌어 회전되면서 하부로 낙하하여 배출하게 되며, 이때 배출된 협잡물은 이송 컨베이어(C)에 의해 외부로 이송되어 제거되도록 구성되어 있다.When the motor 300 is driven, the rake 300 rises along the chain 401, and the obstacles filtered by the screens 200 and 201 are lifted up. The rake 300 is turned at the top of the rake 300 and is rotated and dropped down to be discharged. At this time, the discharged contaminants are conveyed to the outside by the conveying conveyor C to be removed.

그리고 상기 발명을 통해 모터(702) 구동에 의해 와이어로프(701)를 견인하여 제진기 본체(100)를 들어올리도록 한 이유는, 제진기가 수로에 설치되어 가동하지 않을 때에도 계속해서 그 하부가 물속에 잠겨있게 되는 경우 제진기의 하부가 물에 의해 손쉽게 부식되는 문제점이 있고, 또 스크린 및 체인에 협잡물이 끼어 문제점이 발생되어 수리를 할 경우나 체인을 교체할 경우 수로의 물을 막고 하부에서 교체 작업을 해야하는 문제점이 있어 이를 회피하기 위한 목적으로 제진기 본체(100)를 물 밖으로 드러낼 수 있도록 구성한 것이다.The reason why the wire rope 701 is pulled up by driving the motor 702 through the above-described invention to raise the damper main body 100 is that when the damper is installed in the water channel and is not in operation, If there is a problem, the lower part of the damper can easily be corroded by water. Also, when there is a problem that the screen and the chain are clogged with the damper, it is necessary to close the water of the channel and replace the damper The damper main body 100 can be exposed to the outside of the water for the purpose of avoiding the problem.

그러나 상기한 제진기 장치를 포함한 모든 종래의 장치들은 레이크(300)가 상승 이동 중에 협잡물을 걷어올린 후 체인(401)이 상부 스프로켓 휠( 도 1의 부호 401 표시 부위에 상부 스프로켓 휠이 위치한다)에 의해 이동 방향이 전환되어 레이크(300)가 뒤집어지게 되면, 걷어올린 협잡물이 자유 낙하하여 이송 켄베이어(C) 위에 떨어지게 되며, 낙하된 협잡물은 이 이송 켄베이어(C)를 타고 집하장으로 이동되어 폐기 처분되도록 설계되어 있는 데, 수로로부터 걷어올린 협잡물들 속에는 산이나 들에서 떠내려온 풀이나 노끈 또는 각종 비닐 등이 포함되어 있는바, 이들 비닐이나 풀 등의 경우 레이크(300)가 방향 전환될 때 낙하하여 탈락되지 아니하고 레이크(300)에 그대로 달라붙은 채 주행하면서 스크린 부재와의 틈새에 끼이게 되어 모터에 과부하를 유도하고, 심하면 모터가 손상되어 제진기 장치가 정지되거나 또는 마찰 접촉하는 부재 사이에 끼여 쐐기 작용을 하여 장치의 수평 균형 상태를 해쳐 장치의 구동을 멈추게 만드므로써 홍수기 시 배수 기능 상실로 인해 수해를 입히고, 장치의 수리보수 작업에 비용과 시간을 초래하는 일이 자주 발생하는 문제가 있었다. However, all conventional arrangements, including the above-mentioned damper device, have shown that when the rake 300 lifts up the contaminants during the ascending movement, the chain 401 is moved to the upper sprocket wheel (the upper sprocket wheel is located at 401 in FIG. 1) When the rake 300 is turned upside down due to the change of the moving direction, the scraped contaminants fall down freely and fall on the conveyance conveyor C, and the dropped contaminants are moved to the collecting place on the conveyance conveyer C, It is designed to be disposed of, and the scum removed from the waterway contains grass, rope or various vinyls that have been washed away from the mountains or the like. In case of these vinyls or grasses, when the lake 300 is turned, And is caught in the clearance with the screen member while running while sticking to the rake 300, thereby inducing an overload to the motor, If the damper is damaged, the damper device is stopped or the wedge action is interposed between the frictional contact members to cause the device to be horizontally balanced, thereby stopping the operation of the device, causing flooding due to loss of the drainage function during the flood season, There has been a problem that frequent occurrence of cost and time for maintenance work has occurred.

대한민국 실용신안등록 제 325084호(명칭: 전면상승형 로터리 제진기)Korea Utility Model Registration No. 325084 (Name: Front lift type rotary damper)

이에 본 발명은 상기한 점을 감안하여 제안한 것으로 그의 목적으로 하는 것은, 수로에 설치된 스크린 장치에서 건져 올린 협잡물이 레이크에 잔류하여 이동하는 중 스크린과의 사이에 끼어 장치의 고장을 유발하지 않도록 레이크에 달라붙어 이송되는 협잡물을 강제로 탈거시켜 주는 청소수단을 구비한 로터리 제진기 장치를 제공하는 데 있다.
SUMMARY OF THE INVENTION The present invention has been made in view of the above-mentioned problems, and it is an object of the present invention to provide a screening apparatus for a watercourse, which is capable of preventing a breakage of the apparatus, And a cleaning means for forcibly removing contaminants which are stuck together.

상기한 목적을 달성하기 위하여 본 발명의 제진기는 양측 측벽 사이에 물이 흘러가는 수로를 형성하고, 그 수로를 흘러가는 물에 포함된 협잡물을 걸러내도록 프레임 구조물에 설치되는 스크린과, 그 스크린의 양측으로 프레임 구조물에 설치되어 무한궤도로 주행하는 체인기구와, 그 체인기구 구동에 의해 이동하여 수로 하부의 스크린에 걸린 협잡물을 상부로 걷어올려 외부로 배출하는 레이크를 포함하는 본체를 구비하는 로터리 제진기에 있어서, 상기 스크린이 마련된 본체의 배면으로 협잡물을 낙하시키고 하강 이동하는 상기 레이크에 잔류하는 협잡물을 레이크와의 마찰 접촉에 의해 탈거시키는 솔부재를 구비한 청소수단이 설치되는 것을 특징으로 한다.In order to attain the above object, the vibration damper of the present invention comprises a screen provided on a frame structure so as to form a water channel through which water flows between both side walls, to filter contaminants contained in the water flowing in the water channel, A chain mechanism that is installed on the frame structure to travel in an endless track and a body that includes a main body including a rake which is moved by driving the chain mechanism and lifts up the impurities caught on the screen of the lower portion of the water channel to the upper side and discharges it to the outside, A cleaning means having a brush member for dropping the contaminants to the rear surface of the main body provided with the screen and detaching the contaminants remaining in the rake by friction contact with the rake is provided.

본 발명에 의하면 상기 솔부재는 탄성 있는 플라스틱 선재 또는 탄성 있는 금속선재로 구성되는 것을 특징으로 한다.
According to the present invention, the bristle member is formed of an elastic plastic wire material or an elastic metal wire material.

이와 같은 본 발명에 의하면 체인에 의해 순환 구동하는 레이크가 수로의 하부에서 스크린에 걸린 협잡물을 걷어내어 상승하게 되며, 장치의 상부 스프라켓 휠에서 이송 방향이 하강 상태로 전환되는 순간 레이크가 뒤집어지게 되면서 협잡물을 이송 켄베이어 시스템에 낙하시켜 외부로 배출 이송시키며, 계속해서 레이크가 하강 이동할 때 솔부재가 숲을 이룬 청소수단의 솔부재를 레이크가 통과하여 지나면서 솔부재에 의해 레이크에 잔류하는 풀이나 끈부재 또는 비닐 등의 협잡물이 제거되어지게 됨으로써, 레이크와 스크린 사이에 이들 협잡물이 끼여 모터의 과부하를 유도하거나 모터 및 장치의 손상을 가져오는 일을 방지하게 되는 효과가 있다.
According to the present invention, the rake which is circulatingly driven by the chain lifts up the contaminants caught on the screen at the lower part of the water channel, and when the conveying direction of the upper sprocket wheel of the apparatus is changed from the lowering state to the lowering state, To the outside of the conveyance Ken-Bayer system, and when the rake is moved downward, the bristles of the bristle cleaning means, passing through the rake, And the scum, such as a member or vinyl, is removed, whereby the scum is caught between the rake and the screen, thereby inducing an overload of the motor and preventing damage to the motor and the apparatus.

도 1은 종래 기술을 설명하는 도면이다.
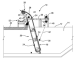
도 2는 본 발명에 의한 로터리 제진기가 협잡물을 걸러 내도록 수로에 설치된 상태를 보여주는 측면도이며,
도 3은 본 발명에 의한 로터리 제진기의 청소수단을 도시한 사시도이며,
도 4는 본 발명에 의한 로터리 제진기에 있어, 청소수단이 레이크로부터 협잡물을 청소하는 상태를 보여주는 장치의 요부 확대도이다.
1 is a view for explaining a conventional technique.
2 is a side view showing a state in which a rotary damper according to the present invention is installed in a water channel so as to filter out contaminants,
3 is a perspective view showing a cleaning means of the rotary damper according to the present invention,
FIG. 4 is an enlarged view of a part of a rotary silencer according to the present invention showing a state in which the cleaning means cleans the contaminants from the rake. FIG.

이하에 본 발명을 충분히 이해하기 위해서 본 발명의 바람직한 실시예를 첨부 도면을 참조하여 설명한다. 본 발명의 실시예는 여러 가지 형태로 변형될 수 있으며, 본 발명의 범위가 아래에서 상세히 설명하는 실시예로 한정되는 것으로 해석되어서는 안 된다. 본 실시예는 당업계에서 평균적인 지식을 가진 자에게 본 발명을 보다 완전하게 설명하기 위하여 제공되는 것이다. 따라서 도면에서의 요소의 형상 등은 보다 명확한 설명을 강조하기 위해서 과장되어 표현될 수 있다. 각 도면에서 동일한 부재는 동일한 참조부호로 도시한 경우가 있음을 유의하여야 한다. 또한, 본 발명의 요지를 불필요하게 흐릴 수 있다고 판단되는 공지 기능 및 구성에 대한 상세한 기술은 생략되며, 필요한 경우 종래 기술의 도면 구성을 참조하는 것으로 한다.DESCRIPTION OF THE PREFERRED EMBODIMENTS Hereinafter, preferred embodiments of the present invention will be described with reference to the accompanying drawings in order to fully understand the present invention. The embodiments of the present invention may be modified into various forms, and the scope of the present invention should not be construed as being limited to the embodiments described in detail below. The present embodiments are provided to enable those skilled in the art to more fully understand the present invention. Therefore, the shapes and the like of the elements in the drawings can be exaggeratedly expressed to emphasize a clearer description. It should be noted that in the drawings, the same members are denoted by the same reference numerals. Further, detailed descriptions of known functions and configurations that may unnecessarily obscure the gist of the present invention will be omitted, and, if necessary, reference will be made to drawings in the prior art.

이하, 첨부된 도면을 참조하여 본 발명의 바람직한 실시예를 설명함으로써, 본 발명의 로터리 제진기를 상세히 설명한다.Hereinafter, a rotary damper of the present invention will be described in detail with reference to the preferred embodiments of the present invention with reference to the accompanying drawings.

도 2에 있어서, 본 발명의 로터리 제진기 장치는 전체를 부호 10으로 나타내었다.In Fig. 2, the rotary damper device of the present invention is indicated generally by the reference numeral 10.

본 발명의 제진기(10)는 개수로에 설치하여 흘러드는 물로부터 협잡물을 걸러내기 위해 설치되는 것으로서, 서로 간격을 두고 시공되는 콘크리트 구조물인 양측 측벽(12) 사이에 물이 흘러가는 수로(14)를 형성하고, 그 수로(14)를 흘러가는 물에 포함된 협잡물을 걸러내도록 프레임 구조물(16)에 설치되는 전면 스크린(18)(도 1의 스크린 200 및 201 참조)과, 그 전면 스크린(18)의 양측으로 프레임 구조물(16)에 설치되어 무한궤도로 주행하는 체인기구(20)(여기서 체인기구라 함은 체인 스프라켓 휠과 구동모터 등 체인을 구동하기 위한 모든 기구를 포괄하는 의미로 사용한다)와, 그 체인기구(20)의 체인(22) 구동에 의해 이동하여 수로(14) 하부의 전면 스크린(18)에 걸린 협잡물을 상부로 걷어올려 외부로 배출하는 복수개의 레이크(24)를 포함하는 본체(26)를 구비하며, 상기 본체(26)의 상부 측에 설치되어 상기 본체(26)의 시이소오 회동을 허용하는 중심점 역할을 하는 회동중심축(28)과, 상기 본체(26)의 하부로 상기 프레임 구조물(16)에 형성되는 로프고정구(30)와, 상기 로프고정구(30)에 일단이 장착되는 와이어로프(32)와, 상기 와이어로프(32)의 타단이 고정되어 감기도록 회전 가능하게 설치되는 드럼(34)과, 상기 드럼(34)을 회전시키도록 설치되는 모터(36)를 포함하고 있으며, 그리고 상기 본체(26)의 전방에 상기 본체(26)의 회동 움직임에 간섭되지 않는 위치로 상기 수로(14)의 양 측벽(12)의 상부면에 지지되도록 양 측벽(12) 사이를 가로질러 작업대(38)가 설치되고 있으며, 상기 작업대(38)는 수로(14)의 양 측벽(12)의 상부면으로부터 상부로 기립하여 고정 설치되는 복수의 지지다리(40)에 의해 지지되게 설치되어, 작업대(38) 위에 올라선 작업원이 본체(26) 상부 측의 전면과 측면의 주요 구성들에 쉽게 접근할 수 있게 높이가 설정되어 있다.The vibration damper 10 according to the present invention is installed in the open channel to filter out contaminants from the flowing water. The vibration damper 10 comprises a water channel 14 through which water flows between the side walls 12, which are concrete structures, A front screen 18 (see screens 200 and 201 in FIG. 1) installed in the frame structure 16 to filter the contaminants contained in the water flowing through the water channel 14, and a front screen 18 A chain mechanism 20 provided on both sides of the frame structure 16 for traveling on an endless track (here, the chain mechanism is used to mean all mechanisms for driving chains such as chain sprocket wheels and drive motors) And a plurality of rakes 24 that are moved by driving the chain 22 of the chain mechanism 20 to lift up the upper surface of the obstacle jammed on the front screen 18 under the water channel 14 and discharge it to the outside And a body 26 A pivot center shaft 28 provided at the upper side of the main body 26 and serving as a center point for allowing the main body 26 to rotate in a seesaw manner, A wire rope 32 to which one end of the wire rope 32 is fixed and a drum 34 rotatably installed to wind the other end of the wire rope 32, And a motor 36 installed to rotate the drum 34. The water channel 14 is disposed at a position in front of the main body 26 so as not to interfere with the turning movement of the main body 26, A work table 38 is provided between the side walls 12 so as to be supported on the upper surface of both side walls 12 of the water channel 14, The work table 38 is supported by a plurality of support legs 40, The height of the worker is set so as to be easily accessible to the main structures of the front side and the side of the upper side of the main body 26. [

그리고 제진기(10) 장치는 수로 폭에 따라 1개가 설치될 수 있으나 하천의 폭이 넓은 경우 상기 측벽(12)을 사이에 두고 이웃하여 나란히 복수개의 수로(14)를 형성하고, 각 수로(14) 마다에 상기 제진기(10)를 각각 1개씩 설치할 수 있으며, 마치 마루처럼 설치되는 상기 작업대(38)는 복수개의 제진기(10)를 카바하도록 모든 수로(14)를 가로질러 설치되게 된다.One of the apparatuses of the vibration damper 10 may be installed depending on the width of the water channel. However, when the width of the stream is wide, a plurality of water channels 14 are formed adjacent to each other with the side wall 12 therebetween, The worktable 38 installed like a floor is installed across all the waterways 14 so as to cover the plurality of the dust collectors 10.

상기 전면 스크린(18)의 배면으로, 또한 가능하면 스크린의 상단을 벗어난 위치에 상기 레이크(24)를 청소하기 위한 청소수단(42)이 설치되며, 이 청소수단(42)은 수로(14)의 후방, 정확하게는 본체(26) 후방으로 수로(14)의 가로 폭을 가로질러 시공되는 슬래브 바닥면(44)에 지지되도록 설치되는데, 도 3에 도시하는 것과 같이, 본체(26)의 폭 방향을 따라 연장하는 베이스 판(46)에 탄성 있는 플라스틱 선재 또는 탄성 있는 금속선재로 형성되는 많은 솔부재(48)들이 식재되어 있고, 이 베이스 판(46)은 복수의 지지다리부재(50)들을 통해 슬래브 바닥면(44)에 의해 지지되도록 설치되어 있다.A cleaning means 42 for cleaning the rake 24 is provided at the rear of the front screen 18 and possibly beyond the top of the screen, 3, the width direction of the main body 26 is set to be the same as the width direction of the main body 26, as shown in FIG. 3, A large number of bristle members 48 formed of an elastic plastic wire rod or an elastic metal wire rod are arranged on a base plate 46 extending along the base plate 46. The base plate 46 is supported by a plurality of support leg members 50, And is supported by the bottom surface 44.

상기한 청소수단(42)은 도 4의 장치 요부 확대도에서 보여지는 바와 같이, 체인(22)에 의해 화살표 방향으로 하강 이송되는 레이크(24)가 청소수단(42)의 무성한 숲을 이룬 솔부재(48)들을 통과하여 지나가게 될 때, 탈거되지 아니하고 레이크(24)에 붙어 있는 비닐이나 풀 및 엉키기 쉬운 노끈 등의 각종 협잡물을 떨어내는 작용을 하는 것이다.4, the rake 24, which is lowered and transported in the direction of the arrow by the chain 22, is moved to the lush forested bristle member 42 of the cleaning means 42, (Not shown), but also removes various kinds of contaminants such as plastic or glue sticking to the lake 24, which are easily detached.

이 같은 구성의 본 발명은 수로(14)를 통해 배수되는 물에 떠내려온 협잡물을 걸러내기 위하여 제진기 장치(10)는 그의 본체(26) 하단이 수로(14)의 바닥면에 닿도록 된 도 2와 같은 상태하에서 체인기구(20)를 구동시키게 되며, 이에 따라 체인(22)에 의해 레이크(24)가 스크린(18)(도 1의 부호 200, 201 참조)의 틈새를 따라 상승 이동하게 되면서 스크린(18)에 걸린 협잡물을 상부 측으로 걷어올리게 되며, 상부 스프라켓 휠을 따라 체인(22)의 이동 방향이 하향으로 전환되는 순간 협잡물이 레이크(24)에서 탈락되어 이송 컨베이어 장치(52)(이 이송 컨베이어 장치는 수로 후방에 측벽부재를 가로질러 시공된 슬라브(44) 상에 설치되어 있다) 위에 낙하하여 이송 컨베이어 장치(52)를 따라 수집처로 이송된 후 수거 배출된다.In order to filter the contaminants that have fallen into the water drained through the water channel 14, the vibration damper device 10 has a structure in which the lower end of the body 26 thereof contacts the bottom surface of the water channel 14, So that the rake 24 is moved up by the chain 22 along the clearance of the screen 18 (see 200 and 201 in FIG. 1) So that the obstacle is removed from the rake 24 at the moment when the movement direction of the chain 22 is changed downward along the upper sprocket wheel and the conveying conveyor device 52 (The apparatus is installed on the slab 44 installed across the side wall member at the back of the waterway) and is transported along the conveying conveyor device 52 to the collecting place where it is collected and discharged.

그러나 풀이나 끈부재 또는 비닐 등은 낙하되지 아니하고 레이크(24)에 달라붙은 채 함께 이송되는 경우가 있게 되는 데, 이때 앞서 설명한 것 같이 레이크(24)가 청소수단(42)의 솔부재(48)들을 통과하면서 레이크(24)에 들러붙어 있는 협잡물들을 솔부재(48)들이 떨어내게 되며, 협잡물들이 깨끗이 제거된 레이크(24)는 다시 하단 스프라켓 휠에 의해 상승하는 방향으로 이송 방향이 전환되면서 다시 스크린에 걸려 수로 (14) 바닥에 쌓이는 협잡물들을 걷어올려 함께 상승하는 과정을 반복하게 되는 것이며, 이 같이 레이크(24)에 달라붙은 협잡물들이 전면 스크린을 주행 시에 그 틈새에 끼여 장치의 과부하를 유도하거나 장치의 손상에 의한 가동 중단을 미연에 방지하게 되는 것이다. However, when the rake 24 is pulled out of the bristle member 48 of the cleaning means 42 as described above, the grass 24 may be transferred together with the rake 24, The raking members 48 are moved away from the rak 24 attached to the rake 24 and the rake 24, from which the contaminants have been removed cleanly, is again shifted in the direction of ascending by the lower sprocket wheel, So that the obstacles adhering to the rake 24 are buried in the clearance at the time of running the front screen to induce the overload of the apparatus, Thereby preventing the operation stop due to the damage of the apparatus in advance.

본 발명의 바람직한 실시예들이 본 명세서에 설명되었으며, 이는 본 발명을 수행하는 데 있어 발명자에게 알려진 최선의 모드이다. 이러한 바람직한 실시예들의 변형예들이 이상의 설명으로부터 실시 가능하다는 것은 당업자라면 쉽게 알 수 있을 것이다. 발명자들은 숙련된 기술자들이 이러한 변형예를 채용할 것을 예상하며, 발명자들도 본 발명을 이상에서 특별히 설명한 것 외에도 실시하고자 한다. 따라서, 본 발명은 적용 가능한 법에 의해 허용되는 바에 따라 첨부된 청구범위에 언급된 주제와 균등한 모든 변형예를 포함한다. 또한, 전술한 요소들의 가능한 모든 조합은 본 명세서 내에서 특별히 언급하거나 배제하지 않은 이상 본 발명에 포함될 것이다.
Preferred embodiments of the invention are described herein, which is the best mode known to the inventors for carrying out the invention. It will be readily apparent to those skilled in the art that modifications of these preferred embodiments are possible from the foregoing description. The inventors expect that skilled artisans will employ these variations, and the inventors intend to practice the invention in addition to those specifically described above. Accordingly, the invention includes all modifications that are equivalent to the subject matter recited in the claims appended hereto as permitted by applicable law. Further, all possible combinations of the above-mentioned elements will be included in the present invention unless specifically mentioned or excluded in the present specification.

10 : 로터리 제진기 장치 12 : 수로의 측벽
12a : 측벽의 상면 14 : 수로
16 : 프레임 구조물 18 : 스크린 장치
20 : 체인 기구 22 : 체인
24 : 레이크 26 : 본체
28 : 회동중심축 30 : 로프 고정구
32 : 와이어 로프 34 : 드럼
36 : 모터 38 : 작업대
40 : 지지다리 42 : 청소수단
44 : 슬래브 바닥면 46 : 베이스 판
48 : 솔부재 50 : 지지다리부재
52 : 이송 켄베이어 장치
10: Rotary damper device 12: Side wall of the channel
12a: upper surface of the side wall 14:
16: frame structure 18: screen device
20: chain mechanism 22: chain
24: Lake 26:
28: center of rotation shaft 30: rope fastener
32: wire rope 34: drum
36: motor 38: work table
40: support leg 42: cleaning means
44: slab bottom surface 46: base plate
48: bristle member 50: support leg member
52: Transferring conveyer device

Claims (2)

양측 측벽 사이에 물이 흘러가는 수로를 형성하고, 그 수로를 흘러가는 물에 포함된 협잡물을 걸러내도록 프레임 구조물에 설치되는 스크린과, 그 스크린의 양측으로 프레임 구조물에 설치되어 무한궤도로 주행하는 체인기구와, 그 체인기구 구동에 의해 이동하여 수로 하부의 스크린에 걸린 협잡물을 상부로 걷어올려 외부로 배출하는 레이크를 포함하는 본체를 구비하는 로터리 제진기에 있어서, 상기 스크린이 마련된 본체의 배면으로 협잡물을 낙하시키고 하강 이동하는 상기 레이크에 잔류하는 협잡물을 레이크와의 마찰 접촉에 의해 탈거시키는 솔부재를 구비한 청소수단이 설치되는 것을 특징으로 하는 로터리 제진기.A screen provided on the frame structure so as to form a water channel through which water flows between the both side walls and to filter contaminants contained in the water flowing in the water channel, a chain installed on the frame structure on both sides of the screen and running on an endless track A rotary damper comprising a mechanism and a main body including a rake which moves by driving the chain mechanism and lifts up the impurities caught on the screen of the lower portion of the water channel to the upper side and discharges the liquid to the outside, And a cleaning member provided with a brush member for removing the contaminants remaining in the rake falling and moving by friction contact with the rake. 제 1항에 있어서, 상기 솔부재는 탄성 있는 플라스틱 선재 또는 탄성 있는 금속선재로 구성되는 것을 특징으로 하는 로터리 제진기.


The rotary damper of claim 1, wherein the bristle member is made of an elastic plastic wire or an elastic metal wire.


KR20130098403A 2013-08-20 2013-08-20 Rotary type dust removing machine Ceased KR20150021267A (en)

Priority Applications (1)

Application Number Priority Date Filing Date Title
KR20130098403A KR20150021267A (en) 2013-08-20 2013-08-20 Rotary type dust removing machine

Applications Claiming Priority (1)

Application Number Priority Date Filing Date Title
KR20130098403A KR20150021267A (en) 2013-08-20 2013-08-20 Rotary type dust removing machine

Publications (1)

Publication Number Publication Date
KR20150021267A true KR20150021267A (en) 2015-03-02

Family

ID=53019713

Family Applications (1)

Application Number Title Priority Date Filing Date
KR20130098403A Ceased KR20150021267A (en) 2013-08-20 2013-08-20 Rotary type dust removing machine

Country Status (1)

Country Link
KR (1) KR20150021267A (en)

Cited By (3)

* Cited by examiner, † Cited by third party
Publication number Priority date Publication date Assignee Title
CN108035315A (en) * 2017-12-21 2018-05-15 河南禹王水工机械有限公司 Novel rotary type trash
CN111773812A (en) * 2020-07-11 2020-10-16 李看 Low-resistance energy-saving slag scraper for sewage filtration
CN114876006A (en) * 2022-05-31 2022-08-09 福建大丰收灌溉科技有限公司 Integrated pump station is irrigated to intelligence

Cited By (3)

* Cited by examiner, † Cited by third party
Publication number Priority date Publication date Assignee Title
CN108035315A (en) * 2017-12-21 2018-05-15 河南禹王水工机械有限公司 Novel rotary type trash
CN111773812A (en) * 2020-07-11 2020-10-16 李看 Low-resistance energy-saving slag scraper for sewage filtration
CN114876006A (en) * 2022-05-31 2022-08-09 福建大丰收灌溉科技有限公司 Integrated pump station is irrigated to intelligence

Similar Documents

Publication Publication Date Title
KR100987812B1 (en) Rotary Automatic Vibrators
KR101084319B1 (en) Residual dust removal device of vibration damper
KR101099431B1 (en) Rotary Vibrator
KR100956129B1 (en) Rotary type dust removing machine
KR102285379B1 (en) Floating waste removal apparatus for floating waste and grit collection
KR101544800B1 (en) A Rotary Dust Removal Device Capable of Simultaneously Removing Coarse and Fine Dust
KR101390257B1 (en) Rotary type scraper
KR102670886B1 (en) A Rotary type debris removal apparatus with double screen
KR101887831B1 (en) Stepwise filter equipped with structure of preventing contaminant sedimentation
KR101331968B1 (en) A rotary screen which is possessed of a cutting apparatus
KR101738353B1 (en) Rotary type scraper
KR100893393B1 (en) Sewage and Sewage Treatment Machine
KR100911346B1 (en) Mobile vibration damper
KR101599504B1 (en) Rotary type dust removing machine
KR101365038B1 (en) A rotary type debris removal apparatus
KR20150021267A (en) Rotary type dust removing machine
KR101599999B1 (en) Rotary type dust removing machine
CN106430373A (en) Rotary rake type grid dirt removing equipment
KR101594101B1 (en) In/out dust remover
KR100540219B1 (en) Dust removal method of link type vibration damper and its link type vibration damper
KR101110668B1 (en) Rotary Vibrator
KR20020092765A (en) rotary type dust removing machine
KR101403773B1 (en) Automatic dust removing machine having means for prevention of the residual sludge inflowing to a hiatus
KR102297186B1 (en) dust separator
KR101177922B1 (en) Dust removing machine

Legal Events

Date Code Title Description
A201 Request for examination
PA0109 Patent application

Patent event code: PA01091R01D

Comment text: Patent Application

Patent event date: 20130820

PA0201 Request for examination
E902 Notification of reason for refusal
PE0902 Notice of grounds for rejection

Comment text: Notification of reason for refusal

Patent event date: 20150128

Patent event code: PE09021S01D

PG1501 Laying open of application
E601 Decision to refuse application
PE0601 Decision on rejection of patent

Patent event date: 20150721

Comment text: Decision to Refuse Application

Patent event code: PE06012S01D

Patent event date: 20150128

Comment text: Notification of reason for refusal

Patent event code: PE06011S01I