KR20140047591A - 가늘고 긴 히트 방열판을 구비하는 고체 발광 소자 - Google Patents
가늘고 긴 히트 방열판을 구비하는 고체 발광 소자 Download PDFInfo
- Publication number
- KR20140047591A KR20140047591A KR1020137023478A KR20137023478A KR20140047591A KR 20140047591 A KR20140047591 A KR 20140047591A KR 1020137023478 A KR1020137023478 A KR 1020137023478A KR 20137023478 A KR20137023478 A KR 20137023478A KR 20140047591 A KR20140047591 A KR 20140047591A
- Authority
- KR
- South Korea
- Prior art keywords
- heat sink
- light emitting
- emitter support
- emitter
- solid state
- Prior art date
- Legal status (The legal status is an assumption and is not a legal conclusion. Google has not performed a legal analysis and makes no representation as to the accuracy of the status listed.)
- Withdrawn
Links
- 239000007787 solid Substances 0.000 title claims abstract description 204
- 238000005452 bending Methods 0.000 claims abstract description 12
- 238000004891 communication Methods 0.000 claims description 72
- 238000000034 method Methods 0.000 claims description 52
- 239000004020 conductor Substances 0.000 claims description 27
- 238000005520 cutting process Methods 0.000 claims description 19
- 229910052751 metal Inorganic materials 0.000 claims description 11
- 239000002184 metal Substances 0.000 claims description 11
- 239000012777 electrically insulating material Substances 0.000 claims description 10
- 238000004519 manufacturing process Methods 0.000 claims description 10
- 230000004044 response Effects 0.000 claims description 4
- 238000005286 illumination Methods 0.000 claims description 3
- 238000009877 rendering Methods 0.000 claims description 3
- 238000007493 shaping process Methods 0.000 claims description 3
- 238000009423 ventilation Methods 0.000 claims description 3
- 229910000679 solder Inorganic materials 0.000 claims 2
- 230000008878 coupling Effects 0.000 claims 1
- 238000010168 coupling process Methods 0.000 claims 1
- 238000005859 coupling reaction Methods 0.000 claims 1
- 238000004020 luminiscence type Methods 0.000 claims 1
- 239000003570 air Substances 0.000 description 13
- 239000000463 material Substances 0.000 description 12
- 239000002131 composite material Substances 0.000 description 7
- 238000005266 casting Methods 0.000 description 6
- 230000003287 optical effect Effects 0.000 description 6
- 239000000758 substrate Substances 0.000 description 6
- 239000003086 colorant Substances 0.000 description 5
- 230000000694 effects Effects 0.000 description 5
- 238000013517 stratification Methods 0.000 description 5
- 229910052782 aluminium Inorganic materials 0.000 description 4
- XAGFODPZIPBFFR-UHFFFAOYSA-N aluminium Chemical compound [Al] XAGFODPZIPBFFR-UHFFFAOYSA-N 0.000 description 4
- 238000000227 grinding Methods 0.000 description 4
- 230000017525 heat dissipation Effects 0.000 description 4
- 238000012546 transfer Methods 0.000 description 4
- 238000001816 cooling Methods 0.000 description 3
- 238000001125 extrusion Methods 0.000 description 3
- 238000003754 machining Methods 0.000 description 3
- 230000009467 reduction Effects 0.000 description 3
- RYGMFSIKBFXOCR-UHFFFAOYSA-N Copper Chemical compound [Cu] RYGMFSIKBFXOCR-UHFFFAOYSA-N 0.000 description 2
- OAICVXFJPJFONN-UHFFFAOYSA-N Phosphorus Chemical compound [P] OAICVXFJPJFONN-UHFFFAOYSA-N 0.000 description 2
- 230000001154 acute effect Effects 0.000 description 2
- 239000012080 ambient air Substances 0.000 description 2
- 230000008901 benefit Effects 0.000 description 2
- 238000005219 brazing Methods 0.000 description 2
- 229910052802 copper Inorganic materials 0.000 description 2
- 239000010949 copper Substances 0.000 description 2
- 239000008393 encapsulating agent Substances 0.000 description 2
- 230000006872 improvement Effects 0.000 description 2
- 239000011810 insulating material Substances 0.000 description 2
- 230000003993 interaction Effects 0.000 description 2
- 230000001788 irregular Effects 0.000 description 2
- 238000012986 modification Methods 0.000 description 2
- 230000004048 modification Effects 0.000 description 2
- 230000005855 radiation Effects 0.000 description 2
- 239000004065 semiconductor Substances 0.000 description 2
- 238000005476 soldering Methods 0.000 description 2
- 238000003466 welding Methods 0.000 description 2
- 239000004593 Epoxy Substances 0.000 description 1
- 235000006089 Phaseolus angularis Nutrition 0.000 description 1
- 240000007098 Vigna angularis Species 0.000 description 1
- 235000010711 Vigna angularis Nutrition 0.000 description 1
- 240000001417 Vigna umbellata Species 0.000 description 1
- 235000011453 Vigna umbellata Nutrition 0.000 description 1
- 239000000853 adhesive Substances 0.000 description 1
- 230000001070 adhesive effect Effects 0.000 description 1
- 238000003491 array Methods 0.000 description 1
- 230000015572 biosynthetic process Effects 0.000 description 1
- 230000000903 blocking effect Effects 0.000 description 1
- 235000019994 cava Nutrition 0.000 description 1
- 229910010293 ceramic material Inorganic materials 0.000 description 1
- 230000001149 cognitive effect Effects 0.000 description 1
- 238000007906 compression Methods 0.000 description 1
- 230000006835 compression Effects 0.000 description 1
- 238000009833 condensation Methods 0.000 description 1
- 230000005494 condensation Effects 0.000 description 1
- 229920001940 conductive polymer Polymers 0.000 description 1
- 238000007796 conventional method Methods 0.000 description 1
- 239000012809 cooling fluid Substances 0.000 description 1
- 238000005260 corrosion Methods 0.000 description 1
- 230000007797 corrosion Effects 0.000 description 1
- 239000002537 cosmetic Substances 0.000 description 1
- 238000010586 diagram Methods 0.000 description 1
- 239000002270 dispersing agent Substances 0.000 description 1
- 230000007613 environmental effect Effects 0.000 description 1
- 239000012530 fluid Substances 0.000 description 1
- PCHJSUWPFVWCPO-UHFFFAOYSA-N gold Chemical compound [Au] PCHJSUWPFVWCPO-UHFFFAOYSA-N 0.000 description 1
- 229910052737 gold Inorganic materials 0.000 description 1
- 239000010931 gold Substances 0.000 description 1
- 238000010438 heat treatment Methods 0.000 description 1
- 239000000976 ink Substances 0.000 description 1
- 238000003698 laser cutting Methods 0.000 description 1
- 230000007774 longterm Effects 0.000 description 1
- 238000012423 maintenance Methods 0.000 description 1
- 230000014759 maintenance of location Effects 0.000 description 1
- 238000002156 mixing Methods 0.000 description 1
- 239000000203 mixture Substances 0.000 description 1
- 238000000059 patterning Methods 0.000 description 1
- 239000000049 pigment Substances 0.000 description 1
- 230000002787 reinforcement Effects 0.000 description 1
- 238000000926 separation method Methods 0.000 description 1
- 230000003595 spectral effect Effects 0.000 description 1
- 238000006467 substitution reaction Methods 0.000 description 1
- 230000009182 swimming Effects 0.000 description 1
Images
Classifications
-
- F—MECHANICAL ENGINEERING; LIGHTING; HEATING; WEAPONS; BLASTING
- F21—LIGHTING
- F21V—FUNCTIONAL FEATURES OR DETAILS OF LIGHTING DEVICES OR SYSTEMS THEREOF; STRUCTURAL COMBINATIONS OF LIGHTING DEVICES WITH OTHER ARTICLES, NOT OTHERWISE PROVIDED FOR
- F21V29/00—Protecting lighting devices from thermal damage; Cooling or heating arrangements specially adapted for lighting devices or systems
- F21V29/50—Cooling arrangements
- F21V29/70—Cooling arrangements characterised by passive heat-dissipating elements, e.g. heat-sinks
- F21V29/74—Cooling arrangements characterised by passive heat-dissipating elements, e.g. heat-sinks with fins or blades
- F21V29/78—Cooling arrangements characterised by passive heat-dissipating elements, e.g. heat-sinks with fins or blades with helically or spirally arranged fins or blades
-
- F—MECHANICAL ENGINEERING; LIGHTING; HEATING; WEAPONS; BLASTING
- F21—LIGHTING
- F21V—FUNCTIONAL FEATURES OR DETAILS OF LIGHTING DEVICES OR SYSTEMS THEREOF; STRUCTURAL COMBINATIONS OF LIGHTING DEVICES WITH OTHER ARTICLES, NOT OTHERWISE PROVIDED FOR
- F21V29/00—Protecting lighting devices from thermal damage; Cooling or heating arrangements specially adapted for lighting devices or systems
-
- F—MECHANICAL ENGINEERING; LIGHTING; HEATING; WEAPONS; BLASTING
- F21—LIGHTING
- F21K—NON-ELECTRIC LIGHT SOURCES USING LUMINESCENCE; LIGHT SOURCES USING ELECTROCHEMILUMINESCENCE; LIGHT SOURCES USING CHARGES OF COMBUSTIBLE MATERIAL; LIGHT SOURCES USING SEMICONDUCTOR DEVICES AS LIGHT-GENERATING ELEMENTS; LIGHT SOURCES NOT OTHERWISE PROVIDED FOR
- F21K9/00—Light sources using semiconductor devices as light-generating elements, e.g. using light-emitting diodes [LED] or lasers
- F21K9/20—Light sources comprising attachment means
- F21K9/27—Retrofit light sources for lighting devices with two fittings for each light source, e.g. for substitution of fluorescent tubes
-
- F—MECHANICAL ENGINEERING; LIGHTING; HEATING; WEAPONS; BLASTING
- F21—LIGHTING
- F21K—NON-ELECTRIC LIGHT SOURCES USING LUMINESCENCE; LIGHT SOURCES USING ELECTROCHEMILUMINESCENCE; LIGHT SOURCES USING CHARGES OF COMBUSTIBLE MATERIAL; LIGHT SOURCES USING SEMICONDUCTOR DEVICES AS LIGHT-GENERATING ELEMENTS; LIGHT SOURCES NOT OTHERWISE PROVIDED FOR
- F21K9/00—Light sources using semiconductor devices as light-generating elements, e.g. using light-emitting diodes [LED] or lasers
- F21K9/90—Methods of manufacture
-
- F—MECHANICAL ENGINEERING; LIGHTING; HEATING; WEAPONS; BLASTING
- F21—LIGHTING
- F21V—FUNCTIONAL FEATURES OR DETAILS OF LIGHTING DEVICES OR SYSTEMS THEREOF; STRUCTURAL COMBINATIONS OF LIGHTING DEVICES WITH OTHER ARTICLES, NOT OTHERWISE PROVIDED FOR
- F21V23/00—Arrangement of electric circuit elements in or on lighting devices
- F21V23/06—Arrangement of electric circuit elements in or on lighting devices the elements being coupling devices, e.g. connectors
-
- F—MECHANICAL ENGINEERING; LIGHTING; HEATING; WEAPONS; BLASTING
- F21—LIGHTING
- F21V—FUNCTIONAL FEATURES OR DETAILS OF LIGHTING DEVICES OR SYSTEMS THEREOF; STRUCTURAL COMBINATIONS OF LIGHTING DEVICES WITH OTHER ARTICLES, NOT OTHERWISE PROVIDED FOR
- F21V29/00—Protecting lighting devices from thermal damage; Cooling or heating arrangements specially adapted for lighting devices or systems
- F21V29/50—Cooling arrangements
- F21V29/70—Cooling arrangements characterised by passive heat-dissipating elements, e.g. heat-sinks
-
- F—MECHANICAL ENGINEERING; LIGHTING; HEATING; WEAPONS; BLASTING
- F21—LIGHTING
- F21V—FUNCTIONAL FEATURES OR DETAILS OF LIGHTING DEVICES OR SYSTEMS THEREOF; STRUCTURAL COMBINATIONS OF LIGHTING DEVICES WITH OTHER ARTICLES, NOT OTHERWISE PROVIDED FOR
- F21V29/00—Protecting lighting devices from thermal damage; Cooling or heating arrangements specially adapted for lighting devices or systems
- F21V29/50—Cooling arrangements
- F21V29/70—Cooling arrangements characterised by passive heat-dissipating elements, e.g. heat-sinks
- F21V29/74—Cooling arrangements characterised by passive heat-dissipating elements, e.g. heat-sinks with fins or blades
- F21V29/76—Cooling arrangements characterised by passive heat-dissipating elements, e.g. heat-sinks with fins or blades with essentially identical parallel planar fins or blades, e.g. with comb-like cross-section
- F21V29/763—Cooling arrangements characterised by passive heat-dissipating elements, e.g. heat-sinks with fins or blades with essentially identical parallel planar fins or blades, e.g. with comb-like cross-section the planes containing the fins or blades having the direction of the light emitting axis
-
- F—MECHANICAL ENGINEERING; LIGHTING; HEATING; WEAPONS; BLASTING
- F21—LIGHTING
- F21V—FUNCTIONAL FEATURES OR DETAILS OF LIGHTING DEVICES OR SYSTEMS THEREOF; STRUCTURAL COMBINATIONS OF LIGHTING DEVICES WITH OTHER ARTICLES, NOT OTHERWISE PROVIDED FOR
- F21V23/00—Arrangement of electric circuit elements in or on lighting devices
- F21V23/04—Arrangement of electric circuit elements in or on lighting devices the elements being switches
- F21V23/0442—Arrangement of electric circuit elements in or on lighting devices the elements being switches activated by means of a sensor, e.g. motion or photodetectors
-
- F—MECHANICAL ENGINEERING; LIGHTING; HEATING; WEAPONS; BLASTING
- F21—LIGHTING
- F21V—FUNCTIONAL FEATURES OR DETAILS OF LIGHTING DEVICES OR SYSTEMS THEREOF; STRUCTURAL COMBINATIONS OF LIGHTING DEVICES WITH OTHER ARTICLES, NOT OTHERWISE PROVIDED FOR
- F21V29/00—Protecting lighting devices from thermal damage; Cooling or heating arrangements specially adapted for lighting devices or systems
- F21V29/50—Cooling arrangements
- F21V29/502—Cooling arrangements characterised by the adaptation for cooling of specific components
- F21V29/505—Cooling arrangements characterised by the adaptation for cooling of specific components of reflectors
-
- F—MECHANICAL ENGINEERING; LIGHTING; HEATING; WEAPONS; BLASTING
- F21—LIGHTING
- F21Y—INDEXING SCHEME ASSOCIATED WITH SUBCLASSES F21K, F21L, F21S and F21V, RELATING TO THE FORM OR THE KIND OF THE LIGHT SOURCES OR OF THE COLOUR OF THE LIGHT EMITTED
- F21Y2103/00—Elongate light sources, e.g. fluorescent tubes
- F21Y2103/10—Elongate light sources, e.g. fluorescent tubes comprising a linear array of point-like light-generating elements
-
- F—MECHANICAL ENGINEERING; LIGHTING; HEATING; WEAPONS; BLASTING
- F21—LIGHTING
- F21Y—INDEXING SCHEME ASSOCIATED WITH SUBCLASSES F21K, F21L, F21S and F21V, RELATING TO THE FORM OR THE KIND OF THE LIGHT SOURCES OR OF THE COLOUR OF THE LIGHT EMITTED
- F21Y2107/00—Light sources with three-dimensionally disposed light-generating elements
- F21Y2107/30—Light sources with three-dimensionally disposed light-generating elements on the outer surface of cylindrical surfaces, e.g. rod-shaped supports having a circular or a polygonal cross section
-
- F—MECHANICAL ENGINEERING; LIGHTING; HEATING; WEAPONS; BLASTING
- F21—LIGHTING
- F21Y—INDEXING SCHEME ASSOCIATED WITH SUBCLASSES F21K, F21L, F21S and F21V, RELATING TO THE FORM OR THE KIND OF THE LIGHT SOURCES OR OF THE COLOUR OF THE LIGHT EMITTED
- F21Y2115/00—Light-generating elements of semiconductor light sources
- F21Y2115/10—Light-emitting diodes [LED]
-
- H—ELECTRICITY
- H01—ELECTRIC ELEMENTS
- H01L—SEMICONDUCTOR DEVICES NOT COVERED BY CLASS H10
- H01L2224/00—Indexing scheme for arrangements for connecting or disconnecting semiconductor or solid-state bodies and methods related thereto as covered by H01L24/00
- H01L2224/01—Means for bonding being attached to, or being formed on, the surface to be connected, e.g. chip-to-package, die-attach, "first-level" interconnects; Manufacturing methods related thereto
- H01L2224/42—Wire connectors; Manufacturing methods related thereto
- H01L2224/47—Structure, shape, material or disposition of the wire connectors after the connecting process
- H01L2224/48—Structure, shape, material or disposition of the wire connectors after the connecting process of an individual wire connector
- H01L2224/4805—Shape
- H01L2224/4809—Loop shape
- H01L2224/48091—Arched
-
- H—ELECTRICITY
- H01—ELECTRIC ELEMENTS
- H01L—SEMICONDUCTOR DEVICES NOT COVERED BY CLASS H10
- H01L2224/00—Indexing scheme for arrangements for connecting or disconnecting semiconductor or solid-state bodies and methods related thereto as covered by H01L24/00
- H01L2224/01—Means for bonding being attached to, or being formed on, the surface to be connected, e.g. chip-to-package, die-attach, "first-level" interconnects; Manufacturing methods related thereto
- H01L2224/42—Wire connectors; Manufacturing methods related thereto
- H01L2224/47—Structure, shape, material or disposition of the wire connectors after the connecting process
- H01L2224/49—Structure, shape, material or disposition of the wire connectors after the connecting process of a plurality of wire connectors
- H01L2224/491—Disposition
- H01L2224/4912—Layout
- H01L2224/49175—Parallel arrangements
-
- Y—GENERAL TAGGING OF NEW TECHNOLOGICAL DEVELOPMENTS; GENERAL TAGGING OF CROSS-SECTIONAL TECHNOLOGIES SPANNING OVER SEVERAL SECTIONS OF THE IPC; TECHNICAL SUBJECTS COVERED BY FORMER USPC CROSS-REFERENCE ART COLLECTIONS [XRACs] AND DIGESTS
- Y10—TECHNICAL SUBJECTS COVERED BY FORMER USPC
- Y10T—TECHNICAL SUBJECTS COVERED BY FORMER US CLASSIFICATION
- Y10T29/00—Metal working
- Y10T29/49—Method of mechanical manufacture
- Y10T29/49826—Assembling or joining
Landscapes
- Engineering & Computer Science (AREA)
- General Engineering & Computer Science (AREA)
- Physics & Mathematics (AREA)
- Microelectronics & Electronic Packaging (AREA)
- Optics & Photonics (AREA)
- Manufacturing & Machinery (AREA)
- Arrangement Of Elements, Cooling, Sealing, Or The Like Of Lighting Devices (AREA)
- Non-Portable Lighting Devices Or Systems Thereof (AREA)
- Led Device Packages (AREA)
- Resistance Heating (AREA)
Abstract
다중 돋음부를 포함하는 가늘고 긴 방열판을 포함하는 고체 발광 소자가 제공된다. 돋음부들 각각은 방열판의 길이 방향에 비-평행한 주 표면을 포함한다. 돋음부들을 포함하는 소자-스케일 방열판은 나사 로드 또는 관의 적어도 일 부분을 포함하며, 나사산들이 돋음부들을 형성한다. 돋음부들은 고체 발광 에미터들을 지지하도록 마련된 에미터 지지 요소를 스탬핑 및 굽힘 가공하여 형성되고, 에미터 지지 요소들은 가늘고 긴 방열판 몸체의 오목부들 내로 삽입된다.
Description
본 발명은 하나 이상의 발광 다이오드를 활용하는 장치들 및 조명 기구들을 포함하여 고체 발광 소자들 그리고 관련된 열 전달 구조들에 대한 것이다.
발광 다이오드는 전기 에너지를 빛으로 변환하는 고체 소자로서, 일반적으로 반대 도전형으로 도핑된 층들 사이에 삽입되는 반도체 물질로 형성되는 하나 이상의 활성층을 포함한다. 도핑된 층들을 가로질러 바이어스가 인가될 때, 정공들 및 전자들이 하나 이상의 반도체 층에 주입되고 거기서 재결합하여 소자가 발광하게 되는 광을 생성한다. 레이저 다이오드는 비슷한 원리에 입각하여 작동하는 고체 에미터이다.
고체 광원들은 백색광(예를 들어 백색 또는 근백색으로 인지되는 광)을 제공하는 데 활용될 수 있고 통상적인 백색 백열등 그리고/또는 램프에 대한 잠재 대체재로 조사되었다. 백색 또는 근백색으로 인지되는 광은 적색, 녹색 및 청색("RGB") 에미터의 조합에 의해, 또는, 대안으로 청색광 방출 다이오드(LED) 및 황색 인광체(phosphor)의 발광 조합에 의해 생성될 수 있다. 후자의 경우, 청색 LED 방출의 일 부분은 인광체를 통과하는 반면 청색 LED 방출의 또 다른 일 부분은 황색으로 하향전환(downconverted) 된다; 청색광 및 황색광의 조합이 백색광을 생성한다. 백색광을 생성하는 또 다른 방책은 자광선 또는 자외선 LED 광원을 사용하여 다중 색의 인광체들 또는 색소들을 자극하는 것이다.
현대의 많은 조명 애플리케이션은 원하는 수준의 밝기를 제공하기 위해 고 전력 고체 에미터를 요구한다. 고 전력 고체 에미터는 많은 전류를 끌어낼 수 있고 따라서 상당한 양의 열을 생성하며, 이 열은 방산 되어야 한다. 많은 고체 발광 시스템은 열 방생 고체 광원과 열 소통(thermal communication)하는 방열판(heatsink)을 활용한다. 방열판은 상당히 크고 그리고/또는 주변 환경에 노출되기 때문에, 가격이 적당하고 부식 내성이 좋고 상대적으로 제조가 용이한 알루미늄이 일반적으로 방열판 물질로 사용된다. 고체 발광 소자를 위한 알루미늄 방열판은 주조, 압축, 그리고/또는 기계가공 같은 기술에 의해 다양한 형태로 형성될 수 있다.
형광 관-기반 조명 기구 같은 가늘고 긴 발광 소자가 몇몇 주거 환경뿐만 아니라 상업적 및 산업적 건물에서도 널리 적용되고 있다. 고체 발광 소자는 형광 관보다 더 우수한 발광 효과 및 우수한 신뢰성으로 동작하지만, 고체 발광 소자는 일반적으로 형광 관의 대면적 방출 영역 특성에 비해 점 광원에 가까운 소면적 방출 영역 특성을 포함한다. 동일한 또는 필적할 만한 공간 경계(envelope)에서 고체 전구 또는 고체 조명 기구의 보강이 가능하도록 크기가 비슷하고 형광 관 기반 소자를 따르는 고체 발광 소자를 제공하는 것이 바람직할 것이다.
몇몇 가늘고 긴 고체 발광 소자가 알려졌다. 볼타 소유의 미국 특허출원공개 번호 2008/0037257호(이하 "볼타")는 적어도 한 개의 가늘고 긴 열 전달 장착바, 장착바에 고정된 적어도 한 개의 에미터 플레이트, 각 에미터 플레이트에 고정된 LED 어레이, 그리고 LED 어레이 위에 배치된 확산 렌즈를 포함하는 LED 조명 기구를 개시한다. 장착바들 그리고/또는 그 방열판 부분들은 압출 성형으로 형성될 수 있는데, 그 사이에 공기 채널을 정의하도록 평행하게 배치될 수 있다. 외부 그리고/또는 내부 송풍기가 사용되어 대류 냉각을 촉진할 수도 있다. LED 광을 조명 영역에 집중하기 위한 다른 가늘고 긴 소자가 미국 특허 번호 6,871,993호에 개시되었으며, 평행하게 배치되어 그 사이에 채널을 정의하는 다수의 가늘고 긴 핀(fin)을 포함한다.
업계에 알려진 가늘고 긴 고체 발광 소자들은 그 유용성에 있어서 제한이 있다. 서로 평행하게 배치된 가늘고 긴 핀들은, (핀들 사이의 채널이 인접한 핀들에 의해 차단되기 때문에) 교차-흐름 공기 냉각의 유효성을 감소시키기 쉽고, (가늘고 긴 핀간 냉각 채널에 평행한 공기 흐름의 온도는, 공기가 한 채널의 선도 가장자리에서 후미 가장자리로 이동함에 따라, 증가하기 때문에) 평행 공기 흐름에 노출될 때 가늘고 긴 발광 소자의 온 길이에서 원치않는 온도의 방향성 계층화를 야기한다. 가늘고 긴 발광 소자의 온 길이에서 온도의 방향성 계층화는, 평행한 핀들이 하방으로 또는 대략 옆 방향으로 신장할 때, 더욱 악화 되는데, 이는 자연적인 대류가 가늘고 긴 핀-간 냉각 채널에서 열을 흡수하는 경향이 있기 때문이다.
또한, 종래의 가늘고 긴 고체 발광 소자에서는 하나 이상의 오목부 그리고/또는 비-평탄면에 배치된 많은 고체 에미터에 전기적 연결체들(예를 들어 도체들)을 장착하고 제자리에 위치시키는 것이 번거롭고 복잡하다. 압출 성형 또는 주로 형성된 복잡한 형태의 방열판은 비싸고, 주조에 의해 형성된 방열판은 다른 기술에 의해 형성된 형태에 비해서 밀도가 낮아 열 전도능의 감소를 수반하는데, 따라서 큰 방열판이 사용될 필요가 있다. 고체 발광 소자의 고원가는 그 광범위한 채용을 막기 때문에, 제조상의 어려움 및 부품 원가는 사소한 문제가 아니다.
또한, 특히 종래 고체 발광 에미터의 점 광원 특성을 고려할 때 과도하지 않은 음영 없이 광각 광 출력을 제공하면서 열 전달 구조를 발광 소자에 또는 위에 위치시키는 것이 어려울 수 있다.
종래의 가늘고 긴 발광 소자들에서 나타난 몇몇 또는 모든 제한을 감소시킬 수 있는 가늘고 긴 고체 발광 소자를 제공하는 것이 가치가 있다.
본 발명은 가늘고 긴 방열판을 구비한 고체 발광 소자를 제공한다. 방열판은 다수의 돋음부를 구비하는데, 돋음부는 방열판의 길이 방향(또는 장 방향)에 비-평행 주 표면을 포함한다.
일 측면에서, 본 발명은 길이 방향으로 신장하는 길이 및 측면 방향으로 신장하는 폭을 갖는 소자-스케일 방열판과 전도성 열소통 하는 다수의 고체 발광 에미터를 포함하는 발광 소자에 관련된다. 상기 소자-스케일 방열판의 상기 길이는 상기 소자-스케일 방열판의 상기 폭의 적어도 5배이고, 상기 소자-스케일 방열판은 다수의 돋음부를 포함하고, 상기 돋음부는 상기 길이 방향에 비-평행하게 배치된 주 표면을 포함한다.
다른 측면에서, 본 발명은 나사 로드 또는 나사 관 내에 또는 위에 정의된 적어도 한 개의 에미터 지지면과 전도성 열소통하는 고체 발광 에미터를 다수 개 포함하는 발광 소자에 관련된다.
또 다른 측면에서, 본 발명은 나사 로드 또는 나사 관 내에 또는 위에 정의된 적어도 한 개의 에미터 지지면과 전도성 열소통 하는 고체 발광 에미터를 다수 개 포함하는 발광 소자의 제조 방법에 관련된다.
또 다른 측면에서, 본 발명은 다수의 에미터 지지 요소와 전도성 열소통 하도록 다수의 고체 발광 에미터를 장착하고; 길이 방향으로 신장하는 길이 및 측면 방향으로 신장하는 폭을 갖는 소자-스케일 방열판과 전도성 열소통 하도록 상기 다수의 에미터 지지 요소를 결합함을 포함하는 발광 소자의 제조 방법에 관련된다. 상기 소자-스케일 방열판의 상기 길이는 상기 소자-스케일 방열판의 상기 폭의 적어도 5배이고, 상기 소자-스케일 방열판은 다수의 돋음부를 포함하고, 상기 돋음부는 상기 길이 방향에 비-평행하게 배치된 주 표면을 포함한다.
또 다른 측면에서, 전술한 측면들 중 어느 하나 그리고/또는 본 명세서에 개시된 다양한 독립적인 측면이 추가의 이점을 위해 조합될 수 있다.
다른 측면들, 특징들 및 본 발명의 실시예들은 아래의 본 발명에 대한 설명 및 특허청구범위 청구항들로부터 더 완전하게 명확해 질 것이다.
여기에 서술된 실시예들은 이하의 하나 이상의 기술적 효과를 제공한다: 다중 (예를 들어 고체) 점 소스를 갖는 가늘고 발광 소자의 온도의 방향성 계층화를 감소; 다중 점 소스를 갖는 가늘고 긴 발광 소자의 출력 색상에서의 변이를 감소; 다중 점 소스를 갖는 가늘고 긴 발광 소자의 제조 비용의 감소 및 제조 효율성 향상; 다중 점 소스를 갖는 발광 소자의 음영 효과 감소.
도 1a는 본 발명의 일 측면에 따른 발광 소자의 적어도 일 부분에 대한 개략적인 측면도로서, 발광 소자는 길이 방향으로 신장하는 길이 및 측면 방향으로 신장하는 폭을 갖는 가늘고 긴 방열판과 전도성 열소통 하는 다수의 고체 발광 에미터를 포함하며, 방열판의 길이는 방열판의 폭의 적어도 5배이고(더 바람직하게는 대략 10배이고), 방열판은 길이 방향에 실질적으로 수직으로 배치된 다수의 돋음부를 포함한다.
도 1b는 도 1a에 따른 발광 소자의 개략적인 측면도로서, 다수의 고체 발광 에미터 위에 배치된 확산체를 포함한다.
도 2는 본 발명의 일 측면에 따른 다수의 발광 소자를 포함하는 조명 기구의 적어도 일 부분에 대한 개략적인 바닥 평면도로서, 발광 소자는 발광 소자는 길이 방향으로 신장하는 길이 및 측면 방향으로 신장하는 폭을 갖는 가늘고 긴 방열판과 전도성 열소통 하는 다수의 고체 발광 에미터를 포함하며, 방열판의 길이는 방열판의 폭의 적어도 5배이고(더 바람직하게는 대략 10배이고), 방열판은 길이 방향에 실질적으로 수직으로 배치된 다수의 돋음부를 포함한다.
도 3a는 본 발명의 일 측면에 따른 하나 이상의 가늘고 긴 방열판을 생성하는데 사용될 수 있는 나사 로드의 상부 평면도이다.
도 3b는 도 3a의 나사 로드를 길이 방향으로 절단하는 것에 의해 제조되 가늘고 긴 방열판의 상부 평면도이다.
도 4a는 에미터 지지면을 정의하기 위해서 (예를 들어 도 3a의 나사 로드) 로드를 길이 방향으로 반으로 절단하는 것에 의해 형성된 가늘고 긴 방열판을 포함하는 발광 소자의 적어도 일 부분의 개략적으로 투시도로서, 가늘고 긴 방열판의 에미터 지지면에 전도성 열소통 하도록 장착된 된다.
도 4b는 로드를 다수 개의 부분으로 절단하여 제조한 가늘고 긴 방열판을 포함하는 또 다른 발광 소자의 적어도 일 부분에 대한 개략적인 투시도로서, 가늘고 긴 방열판은 출발 로드의 단면적의 대략 1/3을 차지하는 원호를 포함하는 측단면 가지며 각을 이루는 두 개의 비-공면의 에미터 지지면을 정의하며, 고체 발광 에미터는 가늘고 긴 방열판의 두 에미터 지지면과 전도성 열소통 하도록 장착된다.
도 4c는 로드를 다수 개의 부분으로 절단하여 제조한 가늘고 긴 방열판을 포함하는 또 다른 발광 소자의 적어도 일 부분에 대한 개략적인 투시도로서, 가늘고 긴 방열판은 출발 로드의 단면적의 대략 1/4을 차지하는 원호를 포함하는 측단면 가지며 각을 이루는 두 개의 비-공면의 에미터 지지면을 정의하며, 고체 발광 에미터는 가늘고 긴 방열판의 두 에미터 지지면과 전도성 열소통 하도록 장착된다.
도 4d는 로드를 다수 개의 부분으로 절단하여 제조한 가늘고 긴 방열판을 포함하는 또 다른 발광 소자의 적어도 일 부분에 대한 개략적인 투시도로서, 가늘고 긴 방열판은 출발 로드의 단면적의 대략 1/2보다 크게 차지하는 원호를 포함하는 측단면 가지며 각을 이루는 두 개의 비-공면의 에미터 지지면을 정의하며, 고체 발광 에미터는 가늘고 긴 방열판의 두 에미터 지지면과 전도성 열소통 하도록 장착된다.
도 4e는 로드를 다수 개의 부분으로 절단하여 제조한 가늘고 긴 방열판을 포함하는 또 다른 발광 소자의 적어도 일 부분에 대한 개략적인 투시도로서, 가늘고 긴 방열판은 출발 로드의 단면적의 대략 1/2보다 작게 차지하는 원호를 포함하는 측단면 가지며 서로 각을 이루는 3개의 비-공면의 에미터 지지면을 정의하며, 고체 발광 에미터는 가늘고 긴 방열판의 3개의 에미터 지지면과 전도성 열소통 하도록 장착된다.
도 5a는 에미터 지지면을 정의하기 위해서 로드를 길이 방향으로 반으로 절단하는 것에 의해 형성된 가늘고 긴 방열판을 포함하는 발광 소자의 적어도 일 부분의 개략적으로 투시도로서, 다수의 고체 발광 에미터는 가늘고 긴 방열판의 에미터 지지면에 전도성 열소통 하도록 장착되고, 가늘고 긴 방열판의 곡선 표면을 따라 정의된 슬롯들에 확산체 요소가 수용된다.
도 5b는 도 5a의 가늘고 긴 방열판 및 고체 발광 에미터를 포함하는 발광 소자의 종단의 정면도로서, 고체 발광 에미터들로부터의 방출을 받도록 배치된 확산체 요소를 포함하고, 확산체 요소는 가늘고 긴 방열판에 정의된 슬릿들에 의해 유지된다.
도 6은 고체 발광 에미터들이 그 위에 장착되고 그 길이 방향에 비-평행하게 배치된 다수의 돋음부가 구비된 가늘고 긴 방열판을 포함하는 발광 소자의 일 부분에 대한 측 단면도로서, 돋음부들은 가늘고 긴 방열판의 에미터 지지면 위에 또는 위쪽에 장착된 고체 에미터들로부터의 직접적인 방출을 받지 않도록 배치된다.
도 7은 고체 발광 에미터들이 그 위에 장착되고 그 길이 방향에 비-평행하게 배치도고 에미터 지지면으로부터 바깥으로 신장하는 다수의 돋음부가 구비된 가늘고 긴 방열판을 포함하는 발광 소자의 일 부분에 대한 측 단면도로서, 돋음부들은 고체 발광 에미터들로부터의 직접적인 방출을 받도록 배치된다.
도 8은 가늘고 긴 방열판을 갖는 발광 소자의 일 부분에 대한 측 단면도로서, 가늘고 긴 방열판은 다수의 돋음부를 포함하고, 돋음부들 각각은 가늘고 긴 방열판의 서로 다른 오목부에 삽입되고 가늘고 긴 방열판의 길이 방향에 비-평행하게 배치된 주 표면을 포함하며, 적어도 한 개의 고체 발광 에미터를 지지하는 에미터 지지 요소로 작용한다.
도 9는 가늘고 긴 방열판을 갖는 발광 소자의 일 부분에 대한 측 단면도로서, 가늘고 긴 방열판은 다수의 돋음부를 포함하고, 돋음부들 각각은 가늘고 긴 방열판의 두 개의 다른 오목부에 삽입되고 가늘고 긴 방열판의 길이 방향에 비-평행하게 배치된 제1 주 표면 및 제2 주 표면을 포함하며, 적어도 한 개의 고체 발광 에미터를 지지하는 에미터 지지 요소로 작용한다.
도 10은 가늘고 긴 방열판을 갖는 발광 소자의 일 부분에 대한 측 단면도로서, 가늘고 긴 방열판은 다수의 돋음부를 포함하고, 돋음부들 각각은 가늘고 긴 방열판의 두 개의 다른 오목부에 삽입되고 가늘고 긴 방열판의 길이 방향에 비-평행하게 배치된 제1 주 표면 및 제2 주 표면을 포함하며, 다수의 고체 발광 에미터를 지지하는 에미터 지지 요소로 작용한다.
도 11은 가늘고 긴 방열판을 갖는 발광 소자의 일 부분에 대한 측 단면도로서, 가늘고 긴 방열판은 다수의 돋음부를 포함하고, 돋음부들 각각은 가늘고 긴 방열판의 다른 오목부에 삽입되고 가늘고 긴 방열판의 길이 방향에 비-평행하게 배치된 주 표면을 포함하며, 다수의 고체 발광 에미터를 지지하는 에미터 지지 요소로 작용한다.
도 12a는 본 발명의 일 실시예에 따른 발광 소자의 가늘고 긴 방열판을 위한 고체 발광 에미터 지지 요소 및 돋음부를 형성하는데 유용한 블랭크의 후방 투시도이다.
도 12b는 도 12a의 블랭크로부터 제조된 고체 발광 에미터 지지 요소 및 돋음부의 전방 투시도로서, 고체 발광 에미터가 그 위에 떠받혀 지지되고 수평 형태로 에미터를 지지하도록 돋음부의 일부분이 굽혀진다.
도 12c는 도 12b에 따른 다수의 돋음부를 갖는 가늘고 긴 방열판을 포함하는 발광 소자의 일 부분에 대한 측 단면도로서, 돋음부들은 가늘고 긴 방열판에 정의된 다른 오목부에 삽입된다.
도 13a는 그 일 부분을 굽히기 전에 그리고 가늘고 긴 방열판의 오목부에 삽입되도록 배치된 돋음부 및 고체 발광 에미터 지지 요소의 전면 투시도로서, 돋음부는 절연물질 및 고체 발광 에미터를 포함하고, 그 가장자리를 따라 형성된 전기 연결체들을 포함한다.
도 13b는 수평 형태로 에미터를 지지하기 위해서 돋음부의 일 부분을 굽힌 후의 도 13a의 돋음부 및 지지 요소의 측면 투시도이다.
도 13c는 도 13b에 따른 다수의 돋음부를 갖는 가늘고 긴 방열판을 포함하는 발광 소자의 일 부분에 대한 측 단면도로서, 돋음부들은 가늘고 긴 방열판에 정의된 다른 오목부에 삽입된다.
도 13d는 도 13c에 따른 발광 소자의 일 부분의 전면 조립 단면도(도 13c의 A-A 선을 따라 절단한 단면도)로서, 도 13c의 돋움부들의 가장자리 접점에 꼭 들어맞도록 구성된 슬롯형 전기 연결 레일(내부 구조는 점선으로 표시됨)을 도시한다.
도 13e는 도 13c 내지 도 13d에 따른 발광 소자의 조립된 부분의 전면 단면도(도 13c의 A-A 선을 따라 절단한 단면도)로서, 가늘고 긴 방열판의 오목부에 삽입된 돋음부를 도시하고, 돋움부 및 에미터 지지 요소의 가장자리 접점에 꼭 들어맞도록 구성된 슬롯형 전기 연결 레일을 도시한다.
도 14a는 그 일 부분을 굽히기 전의 돋음부 및 고체 발광 에미터 지지 요소의 전방 투시도로서, 돋음부는 절연물질 및 그 위에 형성된 고체 발광 에미터를 포함하고, 가늘고 긴 방열판 위에 또는 내에 배치된 전도성 요소로부터 전류를 받기 위해서 그 전면 및 후면을 따라 형성된 전기적으로 전도성인 부분들을 포함한다.
도 14b는 가늘고 긴 방열판의 복합 오목부에 삽입되도록 마련된 돋음부의 일 부분을 수평 형태로 에미터를 지지하기 위해서 굽힌 후의, 도 14a에 따른 돋음부 및 고체 발광 에미터 지지 요소의 일부분의 측 단면 조합 도면이다.
도 14c는 도 14b에 도시된 요소들을 포함하는 광소자의 조립된 부분의 측 단면도로서, 가늘고 긴 방열판에 형성된 대응하는 복합 오목부에 수용된 돋음부 및 광 에미터 지지 요소를 포함한다.
도 1b는 도 1a에 따른 발광 소자의 개략적인 측면도로서, 다수의 고체 발광 에미터 위에 배치된 확산체를 포함한다.
도 2는 본 발명의 일 측면에 따른 다수의 발광 소자를 포함하는 조명 기구의 적어도 일 부분에 대한 개략적인 바닥 평면도로서, 발광 소자는 발광 소자는 길이 방향으로 신장하는 길이 및 측면 방향으로 신장하는 폭을 갖는 가늘고 긴 방열판과 전도성 열소통 하는 다수의 고체 발광 에미터를 포함하며, 방열판의 길이는 방열판의 폭의 적어도 5배이고(더 바람직하게는 대략 10배이고), 방열판은 길이 방향에 실질적으로 수직으로 배치된 다수의 돋음부를 포함한다.
도 3a는 본 발명의 일 측면에 따른 하나 이상의 가늘고 긴 방열판을 생성하는데 사용될 수 있는 나사 로드의 상부 평면도이다.
도 3b는 도 3a의 나사 로드를 길이 방향으로 절단하는 것에 의해 제조되 가늘고 긴 방열판의 상부 평면도이다.
도 4a는 에미터 지지면을 정의하기 위해서 (예를 들어 도 3a의 나사 로드) 로드를 길이 방향으로 반으로 절단하는 것에 의해 형성된 가늘고 긴 방열판을 포함하는 발광 소자의 적어도 일 부분의 개략적으로 투시도로서, 가늘고 긴 방열판의 에미터 지지면에 전도성 열소통 하도록 장착된 된다.
도 4b는 로드를 다수 개의 부분으로 절단하여 제조한 가늘고 긴 방열판을 포함하는 또 다른 발광 소자의 적어도 일 부분에 대한 개략적인 투시도로서, 가늘고 긴 방열판은 출발 로드의 단면적의 대략 1/3을 차지하는 원호를 포함하는 측단면 가지며 각을 이루는 두 개의 비-공면의 에미터 지지면을 정의하며, 고체 발광 에미터는 가늘고 긴 방열판의 두 에미터 지지면과 전도성 열소통 하도록 장착된다.
도 4c는 로드를 다수 개의 부분으로 절단하여 제조한 가늘고 긴 방열판을 포함하는 또 다른 발광 소자의 적어도 일 부분에 대한 개략적인 투시도로서, 가늘고 긴 방열판은 출발 로드의 단면적의 대략 1/4을 차지하는 원호를 포함하는 측단면 가지며 각을 이루는 두 개의 비-공면의 에미터 지지면을 정의하며, 고체 발광 에미터는 가늘고 긴 방열판의 두 에미터 지지면과 전도성 열소통 하도록 장착된다.
도 4d는 로드를 다수 개의 부분으로 절단하여 제조한 가늘고 긴 방열판을 포함하는 또 다른 발광 소자의 적어도 일 부분에 대한 개략적인 투시도로서, 가늘고 긴 방열판은 출발 로드의 단면적의 대략 1/2보다 크게 차지하는 원호를 포함하는 측단면 가지며 각을 이루는 두 개의 비-공면의 에미터 지지면을 정의하며, 고체 발광 에미터는 가늘고 긴 방열판의 두 에미터 지지면과 전도성 열소통 하도록 장착된다.
도 4e는 로드를 다수 개의 부분으로 절단하여 제조한 가늘고 긴 방열판을 포함하는 또 다른 발광 소자의 적어도 일 부분에 대한 개략적인 투시도로서, 가늘고 긴 방열판은 출발 로드의 단면적의 대략 1/2보다 작게 차지하는 원호를 포함하는 측단면 가지며 서로 각을 이루는 3개의 비-공면의 에미터 지지면을 정의하며, 고체 발광 에미터는 가늘고 긴 방열판의 3개의 에미터 지지면과 전도성 열소통 하도록 장착된다.
도 5a는 에미터 지지면을 정의하기 위해서 로드를 길이 방향으로 반으로 절단하는 것에 의해 형성된 가늘고 긴 방열판을 포함하는 발광 소자의 적어도 일 부분의 개략적으로 투시도로서, 다수의 고체 발광 에미터는 가늘고 긴 방열판의 에미터 지지면에 전도성 열소통 하도록 장착되고, 가늘고 긴 방열판의 곡선 표면을 따라 정의된 슬롯들에 확산체 요소가 수용된다.
도 5b는 도 5a의 가늘고 긴 방열판 및 고체 발광 에미터를 포함하는 발광 소자의 종단의 정면도로서, 고체 발광 에미터들로부터의 방출을 받도록 배치된 확산체 요소를 포함하고, 확산체 요소는 가늘고 긴 방열판에 정의된 슬릿들에 의해 유지된다.
도 6은 고체 발광 에미터들이 그 위에 장착되고 그 길이 방향에 비-평행하게 배치된 다수의 돋음부가 구비된 가늘고 긴 방열판을 포함하는 발광 소자의 일 부분에 대한 측 단면도로서, 돋음부들은 가늘고 긴 방열판의 에미터 지지면 위에 또는 위쪽에 장착된 고체 에미터들로부터의 직접적인 방출을 받지 않도록 배치된다.
도 7은 고체 발광 에미터들이 그 위에 장착되고 그 길이 방향에 비-평행하게 배치도고 에미터 지지면으로부터 바깥으로 신장하는 다수의 돋음부가 구비된 가늘고 긴 방열판을 포함하는 발광 소자의 일 부분에 대한 측 단면도로서, 돋음부들은 고체 발광 에미터들로부터의 직접적인 방출을 받도록 배치된다.
도 8은 가늘고 긴 방열판을 갖는 발광 소자의 일 부분에 대한 측 단면도로서, 가늘고 긴 방열판은 다수의 돋음부를 포함하고, 돋음부들 각각은 가늘고 긴 방열판의 서로 다른 오목부에 삽입되고 가늘고 긴 방열판의 길이 방향에 비-평행하게 배치된 주 표면을 포함하며, 적어도 한 개의 고체 발광 에미터를 지지하는 에미터 지지 요소로 작용한다.
도 9는 가늘고 긴 방열판을 갖는 발광 소자의 일 부분에 대한 측 단면도로서, 가늘고 긴 방열판은 다수의 돋음부를 포함하고, 돋음부들 각각은 가늘고 긴 방열판의 두 개의 다른 오목부에 삽입되고 가늘고 긴 방열판의 길이 방향에 비-평행하게 배치된 제1 주 표면 및 제2 주 표면을 포함하며, 적어도 한 개의 고체 발광 에미터를 지지하는 에미터 지지 요소로 작용한다.
도 10은 가늘고 긴 방열판을 갖는 발광 소자의 일 부분에 대한 측 단면도로서, 가늘고 긴 방열판은 다수의 돋음부를 포함하고, 돋음부들 각각은 가늘고 긴 방열판의 두 개의 다른 오목부에 삽입되고 가늘고 긴 방열판의 길이 방향에 비-평행하게 배치된 제1 주 표면 및 제2 주 표면을 포함하며, 다수의 고체 발광 에미터를 지지하는 에미터 지지 요소로 작용한다.
도 11은 가늘고 긴 방열판을 갖는 발광 소자의 일 부분에 대한 측 단면도로서, 가늘고 긴 방열판은 다수의 돋음부를 포함하고, 돋음부들 각각은 가늘고 긴 방열판의 다른 오목부에 삽입되고 가늘고 긴 방열판의 길이 방향에 비-평행하게 배치된 주 표면을 포함하며, 다수의 고체 발광 에미터를 지지하는 에미터 지지 요소로 작용한다.
도 12a는 본 발명의 일 실시예에 따른 발광 소자의 가늘고 긴 방열판을 위한 고체 발광 에미터 지지 요소 및 돋음부를 형성하는데 유용한 블랭크의 후방 투시도이다.
도 12b는 도 12a의 블랭크로부터 제조된 고체 발광 에미터 지지 요소 및 돋음부의 전방 투시도로서, 고체 발광 에미터가 그 위에 떠받혀 지지되고 수평 형태로 에미터를 지지하도록 돋음부의 일부분이 굽혀진다.
도 12c는 도 12b에 따른 다수의 돋음부를 갖는 가늘고 긴 방열판을 포함하는 발광 소자의 일 부분에 대한 측 단면도로서, 돋음부들은 가늘고 긴 방열판에 정의된 다른 오목부에 삽입된다.
도 13a는 그 일 부분을 굽히기 전에 그리고 가늘고 긴 방열판의 오목부에 삽입되도록 배치된 돋음부 및 고체 발광 에미터 지지 요소의 전면 투시도로서, 돋음부는 절연물질 및 고체 발광 에미터를 포함하고, 그 가장자리를 따라 형성된 전기 연결체들을 포함한다.
도 13b는 수평 형태로 에미터를 지지하기 위해서 돋음부의 일 부분을 굽힌 후의 도 13a의 돋음부 및 지지 요소의 측면 투시도이다.
도 13c는 도 13b에 따른 다수의 돋음부를 갖는 가늘고 긴 방열판을 포함하는 발광 소자의 일 부분에 대한 측 단면도로서, 돋음부들은 가늘고 긴 방열판에 정의된 다른 오목부에 삽입된다.
도 13d는 도 13c에 따른 발광 소자의 일 부분의 전면 조립 단면도(도 13c의 A-A 선을 따라 절단한 단면도)로서, 도 13c의 돋움부들의 가장자리 접점에 꼭 들어맞도록 구성된 슬롯형 전기 연결 레일(내부 구조는 점선으로 표시됨)을 도시한다.
도 13e는 도 13c 내지 도 13d에 따른 발광 소자의 조립된 부분의 전면 단면도(도 13c의 A-A 선을 따라 절단한 단면도)로서, 가늘고 긴 방열판의 오목부에 삽입된 돋음부를 도시하고, 돋움부 및 에미터 지지 요소의 가장자리 접점에 꼭 들어맞도록 구성된 슬롯형 전기 연결 레일을 도시한다.
도 14a는 그 일 부분을 굽히기 전의 돋음부 및 고체 발광 에미터 지지 요소의 전방 투시도로서, 돋음부는 절연물질 및 그 위에 형성된 고체 발광 에미터를 포함하고, 가늘고 긴 방열판 위에 또는 내에 배치된 전도성 요소로부터 전류를 받기 위해서 그 전면 및 후면을 따라 형성된 전기적으로 전도성인 부분들을 포함한다.
도 14b는 가늘고 긴 방열판의 복합 오목부에 삽입되도록 마련된 돋음부의 일 부분을 수평 형태로 에미터를 지지하기 위해서 굽힌 후의, 도 14a에 따른 돋음부 및 고체 발광 에미터 지지 요소의 일부분의 측 단면 조합 도면이다.
도 14c는 도 14b에 도시된 요소들을 포함하는 광소자의 조립된 부분의 측 단면도로서, 가늘고 긴 방열판에 형성된 대응하는 복합 오목부에 수용된 돋음부 및 광 에미터 지지 요소를 포함한다.
본 출원은 2011년 2월 7일자로 출원된 미국 특허 출원 번호 13/022,533의 우선권 이익을 주장하며 동 출원의 전체 내용은 본 명세서에 참조로서 포함된다.
본 발명은 다수의 돋음부(raised feature)를 갖는 가늘고 긴(elongated) 방열판들을 갖는 고체 발광 소자들에 대한 것으로서, 돋음부들 각각은 방열판의 길이 방향(또는 장 방향)에 비-평행한(non-parallel) 주 표면(major surface)을 포함한다. 이와 같은 돋음부들은 열 방산(heat dissipation)을 돕는 핀들(fins)을 구성한다.
길이 방향으로 서로 평행하게 신장하는 가늘고 긴 핀들을 사용하는 것과 비교해서, 가늘고 긴 방열판의 길이 방향에 비-평행(바람직하게는 실질적으로 수직)한 방향으로 배치된 돋음부들 또는 핀들을 사용하면 그 같은 돋음부들 또는 핀들 사이에 형성되는 공기 채널의 평균 크기(dimension)를 줄일 수 있고, 따라서 가늘고 긴 소자의 길이를 따라 온도의 방향성 계층화(directional stratification)를 줄일 수 있다.
다르게 정의되지 않는 한, 여기서 사용되는 모든 용어들(기술 및 과학 용어들을 포함)은 이 발명이 속한 종래 기술 분야에서 통상의 기술자에 의해 일반적으로 이해되는 것과 동일한 의미로 해석되어야 한다. 본 명세서에 사용된 용어들은 또한, 본 명세서의 맥락 및 관련 기술 분야에서의 의미와 동일한 것으로 해석되어야 하고, 명시적으로 그렇게 정의하지 않는 한 이상적인 또는 과도하게 형식적인 의미로 해석되어서는 안 된다.
구체적으로 하나 이상의 요소가 없다고 언급되지 않는 한, 본 명세서에 사용된 "포함하는", "구비하는", "갖는" 같은 용어는 하나 이상의 요소가 더 존재하는 것을 의도한 개방형 용어이다.
어떤 요소 예를 들어 층(막), 영역, 또는 기판이 다른 요소 "위에" 있거나, 또는 "위로" 신장한다고 언급될 때, 접촉하여 다른 요소 위에 있거나 또는 위로 신장할 수 있고 또는 그렇지 않다고 특별히 언급하지 않는 한 또 다른 요소가 그 사이에 존재할 수 있다.
본 명세서에 사용된 표현 "발광 소자"는 발광할 수 있는 것을 제외하고는 제한이 없다. 즉, 발광 소자는, 영역 또는 체적, 예를 들어 구조, 수영장 또는 스파, 방, 창고, 표시기, 도로, 주차구역, 차량, 도로 신호 같은 신호, 광고판, 선박, 장난감, 거울, 배, 전자 소자, 보트, 항공기, 경기장, 컴퓨터, 원격 오디오 장치, 원격 비디오 장치, 휴대전화기, 나무, 창문, LED 디스플레이, 동굴, 터널, 뜰, 가로등 기둥을 비추는 소자 또는 인클로우저(enclosure)를 조명하는 소자 또는 소자들 어레이 또는 가장자리 또는 후면 발광(예를 들어 백라이트 포스터, 신호, LCD 디스플레이), 전구 대체물(예를 들어 AC 백열광, 저전압 광, 형광 광 등), 옥외 조명용 조명, 보안 조명용 조명, 외부 주거 조명용 조명(벽걸이, 기둥/컬럼 장착), 세간/벽 스콘스(fixture/wall sconce), 캐비닛 아래 조명, 램프(마루 그리고/또는 테이블 그리고/또는 책상), 경관 조명, 트랙 조명, 업무 조명, 특수 조명, 천장 송풍기 조명, 서류/예술품 디스플레이 조명, 고 진동/충격 조명-작업 조명 등, 거울/화장 조명에 사용되는 소자, 또는 다른 발광 소자일 수 있다.
몇몇 실시예에서, 여기에 서술된 발광 소자들 및 기구들은 종래 형광 관-기반 전구들 및 조명 기구들을 대체하기 위한 것이다.
용어 "고체 발광 에미터"(solid state light emitter) 또는 "고체 에미터"는 본 명세서에서 발광 다이오드(LED), 유기 발광 다이오드(OLED), 레이저를 포함하되 여기에 한정되지 않는, 가시광 또는 근 가시광(예를 들어 적외선에서 자외선) 파장의 방사(radiation)를 생성할 수 있는 고체 소자를 가리키기 위해 사용되었다. 다양한 형태의 고체 발광 에미터는, 동작 전류 및 전압이 인가되면, 정상 상태(steady state) 열 부하를 생성한다. 이 같은 정상 상태 열 부하와 동작 전류 및 전압은 적절한 장기 동작 수명(바람직하게 적어도 약 5000시간, 더 바람직하게 적어도 약 10000시간, 더 바람직하게 적어도 약 20000 시간)에서 방출 출력(emission output)을 최대로 하는 수준에서 고체 발광 에미터의 동작에 대응하는 것으로 이해된다.
고체 발광 에미터는 홀로 또는 하나 이상의 루미포르 물질(lumiphoric material)(예를 들어, 형광체, 신틸레이터, 루미포르 잉크) 그리고/또는 광학 요소와의 조합으로-백색으로 인지될 수 있는 백색광 방출을 생성하도록 색들의 조합을 포함함- 사용될 수 있다. 여기서 서술된 것 같이 루미포르("루미네선트" 라고도 불림) 물질은 그 같은 물질을 봉지제에 추가하거나, 그 같은 물질을 렌즈에 추가하거나, 그 같은 물질을 루미포르 지지 요소에 삽입 또는 분산하거나, 또는 다른 방식에 의해서 발광 소자에 포함될 수 있다. 분산제 그리고/또는 지수 정합 물질 같은 다른 물질이 루미포르 지지 매체 내에 또는 위에 포함될 수 있다.
몇몇 실시예에서, 여기에 서술된 고체 발광 소자 또는 조명 기구는 적어도 대략 100 루멘스/와트의 발광 효율 그리고/또는 적어도 대략 90의 연색지수를 가질 수 있다. (i) 청색 고체 에미터, (ii) 적색, 호박색 그리고/또는 오렌지색 고체 에미터 (iii) 녹색 고체 에미터 (iv) 청록색 고체 에미터 (v) 황색 고체 에미터 (vi) 황색 루미포르 (vii) 적색, 호박색 그리고/또는 오렌지색 루미포르 (viii) 녹색 루미포르 그리고 (ix) 청록 루미포르 중 둘 이상의 적절한 조합을 포함하는 다양한 색상의 고체 에미터가 하나의 발광 소자 또는 조명 기구에 또는 그 같은 발광 소자 또는 조명 기구에 사용되는 다수의 에미터 패키지에 사용될 수 있다. 전도성 열 가열을 감소시키기 위해서 루미포르는 전기적으로 활성화된 고체 에미터(예를 들어 LED)로부터 공간적으로 분리될 수 있다. 다른 색상의 고체 에미터가 개별적으로 제어되어(하나의 발광 소자에서, 또는 하나의 조명 기구에 선택적으로 장착된 다른 발광 소자들 중에서) 발광 소자 또는 조명 기구의 색 온도 그리고/또는 연색지수를 제어할 수 있다.
여기에 사용된 용어 "소자-스케일 방열판"은 적어도 하나의 칩-스케일 고체 에미터로부터 주위 환경으로 정상 상태 열 부하 모두를 실질적으로 방산하기에 적절한 방열판을 가리키며, 바람직하게 소자-스케일 방열판은 바람직하게 대략 2.5cm 이상, 더 바람직하게 대략 5cm 이상의, 더 바람직하게 대략 10cm 이상의 최소 주요 부분(예를 들어, 높이, 폭, 직경) 크기를 가진다. 소자-스케일 방열판은, 여기에 사용된 것 같이 또는 업계에 사용된 것 같이 소자-스케일 방열판보다 더 작은 그리고/또는 더 적은 열 방산 능력을 갖는 칩-스케일 방열판과는 다르다.
여기에 개시된 것 같이 발광 소자는 다수의 고체 발광 에미터를 위한 소자-스케일 방열판을 포함하는데, 방열판은 바람직하게 발광 소자 밖의 주변 환경에 노출되고 하나 이상의 고체 에미터의 정상 상태 열 부하 전부를 주변 환경(예를 들어, 주변의 공기 환경)으로 방산 하도록 구성된다. 이 같은 방열판은, 에미터의 서비스 수명을 줄이는 과도한 고체 에미터 접합 온도(junction temperature)를 야기하지 않고, 상당한 정상 상태 열 부하(바람직하게 적어도 대략 1와트, 더 바람직하게 적어도 대략 2와트, 더 바람직하게 적어도 대략 4와트, 더 바람직하게 적어도 대략 10와트, 더 바람직하게 적어도 대략 20와트)를 방산 하는 크기 및 형태를 가질 수 있다. 예를 들어 85℃ 접합 온도에서의 고체 발광 에미터의 작동은 평균 50000시간의 고체 에미터 수명을 제공하고, 95℃, 105℃, 115℃, 125℃ 접합 온도에서의 고체 에미터의 작동은 각각 평균 25000시간, 12000시간, 6000시간, 3000시간의 고체 에미터 수명을 제공한다. 일 실시예에서, 여기에 서술된 발광 소자의 소자-스케일 방열판은, 고체 에미터의 접합 온도를 95℃ 또는 그보다 낮게(더 바람직하게는 85℃ 또는 그보다 낮게) 유지하면서, 적어도 대략 2와트(더 바람직하게는 적어도 대략 4와트, 더 바람직하게는 적어도 대략 10와트, 더 바람직하게는 적어도 대략 20와트) 정상 상태 열 부하를 대략 35℃의 주위 공기 환경으로 방산 할 수 있다. 여기서, 용어 "접합 온도"는 와이어본드 또는 다른 접점(contact)과 같이 고체 발광 에미터 칩에 배치된 전기 접합을 가리킨다. 여기에 개시된 소자-스케일 방열판의 크기, 형태 및 노출된 영역은 원하는 열 성능을 제공하기 위해서 적절하게 조절될 수 있다.
본 발명의 몇몇 실시예는 고체 에미터 패키지에 관련된다. 고체 에미터 패키지는 외부 회로에 전기적 연결을 가능하게 하는 전기 리드들, 접점들, 또는 트레이스들(traces) 뿐만 아니라, 환경적 그리고/또는 기계적 보호, 색 선택, 그리고 집광을 제공하기 위해 패키지 요소들로 에워싸인 적어도 한 개의 고체 에미터 칩을 포함한다. 선택적으로 루미네선트 물질을 포함하는 봉지제 물질은 고체 에미터 위에 배치될 수 있다. 고체 에미터 패키지에서 개별 에미터 또는 에미터 그룹들(예를 들어 각 에미터 그룹은 선택적으로 직렬로 연결된 다수 개의 에미터를 포함함)은 개별적으로 제어될 수 있다. 다수 개의 고체 에미터 패키지는 하나의 고체 발광 소자에 배치될 수 있다. 적어도 고체 에미터 몇 개는 에미터들에 대한 독립적인 제어가 가능하도록 선택적으로 개별 전류 제어 요소를 포함하는 제어 회로에 병렬로 연결될 수 있다. 몇몇 실시예에서, 각 고체 에미터 패키지 또는 각 고체 에미터 패키지 그룹(예를 들어 직렬로 연결된 그룹들)은 개별적으로 제어될 수 있다. 에미터들, 에미터 그룹들, 패키지들, 또는 패키지 그룹들에 있어서의 개별 제어는 본 기술 분야에서 잘 알려진 제어 요소들로 관련된(연결된) 구성요소들에 구동전류를 독립적으로 제공하는 것에 의해 이루어질 수 있다. 일 실시예에서, 적어도 한 개의 제어회로는 각각의 고체 에미터, 고에 에미터 그룹, 고체 에미터 패키지, 고체 에미터 패키지 그룹에 독립적으로 온-상태(on-state) 구동 전류를 제공하도록 구성된 전류 제공 회로를 포함할 수 있다. 이 같은 제어는 제어 신호(선택적으로 전기적, 광학적, 그리고/또는 열적 특성을 감지하도록 배치된 적어도 하나의 센서를 포함)에 응하여 일어나고, 제어 시스템은 적어도 하나의 전류 공급 회로에 하나 이상의 제어 신호를 선택적으로 제공하도록 구성될 수 있다. 다양한 실시예에서, 다른 회로들 또는 회로 부분들에 제공되는 전류는 미리 결정되거나, 사용자에 의해 결정되거나 그리고/또는 하나 이상의 입력 또는 다른 제어 변수들에 응해서 결정될 수 있다. 몇몇 실시예에서, 고체 발광 소자 또는 조명 기구의 동작은 적어도 하나의 센서의 출력 신호에 응해서 제어될 수 있다.
여기에 사용된 용어 "가장자리 접점"(edge contact)은 에미터 지지 요소 같은 기판의 가장자리를 따라 배치된, 바람직하게는 그것의 전기적으로 절연성인 부분 위에 배치된 전기적으로 도전성인 접점을 가리킨다. 가장자리 접점은 인쇄회로기판(PCB)의 일 부분으로 형성될 수 있다. 몇몇 실시예에서, 가장자리 접점은 기판의 가장자리에 금속화된 또는 다르게 배치된, 바람직하게는 기판의 적어도 일 면으로 신장하는 더 바람직하게 기판의 양면 모두로 신장하는 전기적으로 도전성인 물질(예를 들어 구리, 금, 또는 다른 적절한 도전 금속 또는 도전성 폴리머)을 포함할 수 있다.
일 실시예에서, 고체 발광 소자의 소자-스케일 방열판은 길이 방향으로 신장하는 길이 및 측면 방향으로 신장하는 폭을 가지며, 길이 방향에 비-평행하게 배치된 주 표면을 포함하는 다수 개의 돋음부를 구비하고, 여기서 방열판의 길이는 바람직하게 방열판의 폭의 적어도 대략 5배, 더 바람직하게 적어도 대략 10배, 더 바람직하게 적어도 대략 15배, 더 바람직하게 적어도 대략 20배, 더 바람직하게 적어도 대략 30배, 더 바람직하게 적어도 대략 50배이다. 돋음부들 각각은 길이 방향에 실질적으로 수직으로 배치된 주 표면을 포함할 수 있다. 소자-스케일 방열판의 명목상 폭에 대해서, 각 돋음부는 명목상 폭의 적어도 대략 10%, 또는 더 바람직하게 15%, 20%, 30%, 40%, 50%, 75%, 또는 100%만큼 거리로 소자-스케일 방열판의 표면에서 돌출할 수 있다. 이 같은 돋음부들의 개수 및 떨어진 간격은 적절하게 설정될 수 있고, 몇몇 실시예에서 돋음부의 개수는 가늘고 긴 방열판의 치수에 의존하여 바람직하게 적어도 대략 10, 더 바람직하게 적어도 대략 20, 더 바람직하게 적어도 대략 50, 더 바람직하게 적어도 대략 100, 또는 더 바람직하게 적어도 대략 200 또는 그 이상일 수 있다. 방열판의 폭이 변하면, 몇몇 실시예에서 폭에 대한 길이의 비는 방열판의 최소 폭에 관련될 수 있다; 다른 실시 예에서 폭에 대한 길이의 비는 방열판의 평균 폭에 관련될 수 있다; 또 다른 실시 예에서 폭에 대한 길이의 비는 방열판의 최대 폭에 관련될 수 있다.
다중 고체 발광 에미터들은 가늘고 긴 소자-스케일 방열판과 전도성 열소통 하도록 배치된다. 몇몇 실시예에서, 고체 발광 에미터들은 전술한 바와 같이 고체 에미터 패키지들에 배치된다. 고체 발광 에미터들 또는 관련된(연결된) 패키지들 사이의 전도성 열소통은 사이에 배치된 열적으로 전도성인 페이스트의 사용에 의해서 도움을 받을 수 있다. 몇몇 실시예에서, 소자-스케일 방열판은 (그 위에, 그 내에 또는 그 위쪽에 배치된) 관련된(연결된) 고체 발광 에미터들로부터 전기적으로 분리된다; 이 같은 전기적 분리는 고체 에미터들 그리고/또는 소자-스케일 방열판(또는 에미터 지지 요소) 위에 형성된 하나 이상의 전기적으로 절연성인 층에 의해서 제공될 수 있다.
몇몇 실시예에서, 하나 이상의 고체 발광 에미터는 여기에 서술된 가늘고 긴 소자-스케일 방열판의 표면에서 내려가거나 표면에 내장될 수 있다. 또한, 또는 대안으로, 소자-스케일 방열판의 하나 이상의 부분이 하나 이상의 원하는 방향으로 하나 이상의 고체 에미터의 방출을 반사하도록 배치된 반사체로 작용할 수 있다.
가늘고 긴 방열판과 관련된 돋음부들은 방열판과 전도성 열소통 하는 고체 발광 에미터들로부터 직접적인 방출을 받도록 또는 고체 발광 에미터들에 의해 조명되도록 배치되거나 그렇지 않도록 배치될 수 있다. 몇몇 실시예에서, 적어도 하나의 에미터 지지면은 돋음부가 없고, 돋음부들은 돋음부들의 직접적인 조명을 방지하기 위하여 고체 발광 에미터들로부터 멀어지는 하나 이상의 방향으로 신장한다.
몇몇 실시예에서, 여기에 개시된 가늘고 긴 방열판과 관련된 돋음부들은 고체 에미터들에서 발생한 방출과의 원하는 상호작용을 촉진하기 위해서 착색되거나, 텍스쳐 가공되거나, 모양이 가공되거나 그리고/또는 면으로(facet) 가공될 수 있다. 이 같은 상호작용은 특히 가늘고 긴 발광 소자에 의해 발생하는 음영(shadowing) 감소를 포함할 수 있다.
몇몇 실시예에서, 여기에 개시된 다중 돋음부를 포함하는 소자-스케일 방열판은 다중 비-공면(non-coplanar) 에미터 지지면을 포함한다. 이 에미터 지지면들은 방열판의 돋음부들과 연관되거나 연관되지 않을 수 있다. 에미터 지지면들 각각은 다중 고체 방광 에미터와 전도성 열소통 할 수 있다.
몇몇 실시예에서, 소자-스케일 방열판은 적어도 밖으로 형성된 나사 로드 또는 나사 관(externally threaded rod or tube)의 일 부분을 포함하며, 그것의 나사산들(threads)은 여기에 서술된 돋음부들을 구성한다. 나사산들은 통상적인 수단(예를 들어 선삭(lathe turning), 회전 압출, 주소(casting) 등)에 의해서 로드 또는 관의 외부면을 따라 형성될 수 있다. 로드 또는 관은 이어서 길이 방향으로 절단(예를 들어 반으로, 1/3로, 1/4로 또는 예각, 둔각 또는 우각 단면들을 갖는 형상) 되거나 또는 다르게 가공(예를 들어 연삭(grinding)을 통해)되어 다수의 고체 광 에미터를 수용하기 위한 하나 이상의 에미터 지지면을 정의한다. 발광 소자는, 나사 로드 또는 관의 일 부분 내에 또는 위에 정의된 적어도 하나의 에미터 지지면(선택적으로 다중 에미터 지지면)과 전도성 열소통 하는 다중 고체 발광 에미터를 포함할 수 있고, 여기서 지지면(들)은 선택적으로(optionally) 나사 로드 또는 관을 절단 또는 연삭하는 것에 의해 형성될 수 있다. 에미터 지지면은 평탄하거나, 뾰족하거나(peaked), 만곡(curved)이거나, 이랑(ridge) 모양이거나, 또는 다른 바람직한 모양일 수 있다. 일 실시예에서, 나사 로드 또는 관의 일 부분은 서로 비-공면으로 배치된 다중 에미터 지지면을 포함하며, 여기서 에미터 지지면들 각각은 다중 고체 발광 에미터를 지지한다.
비록 도면들에 묘사된 다양한 실시예가 만곡된 하부면을 갖는 로드를 설명하지만, 본 발명은 원 또는 원호의 부분을 나타내는 단면을 갖는 방열판으로 한정되는 것은 아니다. 대신에, 임의의 형태의 단면 형상을 갖는 로드 또는 관이 사용될 수 있고, 정사각형, 직사각형, 오각형, 육각형, 팔각형, 별모양, 마름모, 정다각형, 불규칙 다각형, 타원형, 곡선 형태(curvilinear Shape), 그리고/또는 곡선 및 직선 혼합 형태의 적어도 일 부분을 나타낼 수 있다.
여기에 개시된 가늘고 긴 방열판의 끝단들은 끝단 캡(end cap)으로, 바람직하게는 전기 도전체를 포함하여, 가늘고 긴 발광 소자를 형성한다. 임의의 적절한 개수 및 형태의 전기 도전체가 사용될 수 있다. 일 실시예에서, 고체 발광 소자는 종래 형광 관 유형 조명 기구에서 사용된 형광 관을 대체하는 구성 및 크기를 갖는 전구를 포함하며, 선택적으로 종래의 형광 램프 발라스트(ballast)와 인터페이스 하거나 그 같은 발라스트를 고체 발광 소자를 구동하기 위해 특별히 형성된 회로로 대체하는 것이 수반된다.
하나 이상의 특징(예를 들어, 슬롯, 돌출부, 오목부, 이랑, 닻 등)이, 여기에 개시된 가늘고 긴 방열판과 전도성 열소통 하는 고체 발광 에미터들에 의해 발생한 광 방출을 받고 상호작용(예를 들어 확산)하도록 배치된 확산체 또는 다른 광학 요소를 수용하기 위해서, 가늘고 긴 방열판의 표면을 따라 또는 표면 내에 제공될 수 있다. 일 실시예에서, 확산체는 다중 고체 발광 에미터의 다른 주 파장(색)의 방출을 받아 그 같은 방출의 혼합을 촉진하도록 배치된다. 일 실시예에서, 고체 발광 에미터로부터의 방출을 받도록 배치된 확산체 또는 다른 광학적 요소는 하나 이상의 루미포르 물질(예를 들어 인광체)을 더 포함하여 원하는 인지 색(고체 발광 에미터로부터의 스펙트럼 방출과의 조합으로 백색으로 인지될 수 있는 색들의 조합을 포함)의 광을 생성한다.
여기에 개시된 것 같이 발광 소자의 고체 발광 에미터들과의 전기적 통신은 가늘고 긴 방열판 또는 그 일 부분과 함께 이루어지거나 없이 이루어질 수 있다. 적어도 하나의 전기 도전체는 다수의 에미터 지지 요소의 각각의 에미터 지지 요소로 신장하거나 그 사이에서 신장할 수 있다. 몇몇 실시예에서, 적어도 하나의 전기 도전체는 방열판과 전도성 열소통을 하지 않은 채로, 가늘고 긴 방열판의 내부에 배치된다. 몇몇 실시예에서, 적어도 하나의 전기 도전체는 가늘고 긴 방열판의 표면(예를 들어 외부면)에 또는 표면을 따라 배치된다. 몇몇 실시예에서, 적어도 하나의 전기 도전체는 전기 도전 레일 구조에서 또는 구조 위에서와 같이 가늘고 긴 방열판으로부터 물리적으로 분리되는데, 여기서 전기 도전 레일 구조는 하나 또는 다중 도전체를 포함할 수 있다. 몇몇 실시예에서, 다중 고체 발광 에미터는 직렬로 전기적으로 연결된다. 몇몇 실시예에서, 다수의 고체 발광 에미터 그룹이 하나의 가늘고 긴 방열판과 전도성 열소통 하도록 제공되고, 여기서 각각의 에미터 그룹은 개별적으로 제어된다. 몇몇 실시예에서, 가늘고 긴 방열판과 전도성 열소통 하는 각각의 고체 발광 에미터는 독립적으로 제어된다. 하나 이상의 센서 그리고/또는 제어 요소(예를 들어 발라스트, 조광기, 전류/전압 조정기, 정전방전요소, 센서, 열 궤환 회로, 등)가 여기에 개시된 가늘고 긴 방열판을 포함하는 발광 소자 또는 조명 기구 내에 배치될 수 있고, 센서(들) 그리고/또는 제어 요소(들)의 (예를 들어 자동) 동작을 통해서 발광 소자 또는 조명 기구가 동작 된다. 일 실시예에서, 발광 소자 또는 조명 기구는 통신 네트워크, 컴퓨터, 그리고/또는 다른 외부 제어기를 통해 제어되도록 정보를 얻도록 또는 다른 방식으로 접근되도록 마련된 적어도 하나의 통신 요소를 포함한다.
몇몇 실시예에서, 가늘고 긴 방열판은 다중 돋음부를 정의하고 다중 고체 발광 에미터를 지지하도록 배치된 다중 에미터 지지 요소를 포함하는데, 다중 에미터 지지 요소는 소자-스케일 방열판과 전도성 열소통 하도록 배치된다. 소자-스케일 방열판은 다중 오목부(예를 들어 슬롯들)를 포함할 수 있고, 각 에미터 지지 요소의 적어도 일 부분은 다중 오목부의 다른 오목부에 삽입된다. 이 같은 오목부들은 기계가공(machining) 같은 통상적인 수단으로 형성될 수 있다. 몇몇 실시예에서, 제1 두께 치수를 갖는 제1 오복부 및 제1 두께 치수와 다른 제2 두께 치수를 갖는 제2 오목부를 포함하는 복합 오목부들이 형성될 수 있는데, 여기서 제1 오목부는 에미터 지지 요소와 가늘고 긴 방열판의 몸체부 사이의 열소통을 제공하도록 배치되고, 제2 오목부는 에미터 지지 요소의 전기 접점들과 에미터 지지 요소와 연관된 적어도 하나의 전기 도전체 사이의 전기적 통신을 제공하도록 배치된다. 에미터 지지 요소들 및 가늘고 긴 방열판 사이의 전도성 열 접촉은 대신에 또는 부가적으로 경납땜, 납땜, 또는 용접 같은 기술에 의해 촉진될 수 있다.
몇몇 실시예에서, 발광 소자는 다수의 에미터 지지 요소와 전도성 열소통 하도록 다수의 고체 발광 에미터를 장착하고, 길이 방향으로 신장하는 길이 및 측면 방향으로 신장하는 폭을 갖는 소자-스케일 방열판과 전도성 열소통 하도록 상기 다수의 에미터 지지 요소를 결합하는 것에 의해 제조될 수 있고, 여기서, 소자-스케일 방열판의 길이는 소자-스케일 방열판의 폭의 적어도 5배이고(더 바람직하게는 적어도 대략 10배이고), 소자-스케일 방열판은 다수의 돋음부를 포함하고, 상기 돋음부는 길이 방향에 비-평행하게(예를 들어 선택적으로 수직으로) 배치된 주 표면을 포함한다. 일 실시예에서, 소자-스케일 방열판과 전도성 열소통 하도록 다중 에미터 지지 요소를 결합함은 가늘고 긴 방열판의 몸체에 형성된 다수의 오목부에 에미터 지지 요소들의 부분들을 삽입함을 포함한다. 에미터 지지 요소들은 에미터 지지 요소 블랭크(blank)를 스탬핑(stamping)하고 각 에미터 지지 요소 블랭크의 적어도 일 부분을 비-평면(non-planar) 형상으로 굽히거나 또는 성형함(shaping)을 포함하는 단계들에 의해 제조될 수 있다. 굽힘 또는 성형은 선택적으로 블랭크의 적어도 한 면 부분 위에 전기적으로 절연성인 물질 및 전기적으로 도전성인 물질을 패터닝 한 후에 그리고 하나 이상의 고체 발광 에미터가 블랭크와 전도성 열소통 하도록 장착된 후에 일어날 수 있다.
몇몇 실시예에서, 에미터 지지 요소들은 적어도 하 층의 열적으로 전도성인 물질(예를 들어 금속 시트 또는 금속 코어 인쇄회로 보드)에서 온 블랭크들을 스탬핑 하고, 적어도 하나의 전기적으로 절연성인 물질을 블랭크들(예를 들어 적어도 한 면 부분, 선택적으로 다수 면 부분) 위에 선택적으로 형성하고, 그리고 전기적으로 절연성인 물질들 위에 전기적으로 도전성인 트레이스들을 선택적으로 형성함을 포함하는 단계들에 의해 형성될 수 있다. 각 블랭크의 일 부분은 굽혀지거나 다르게 성형되어 비-평면 형상이 될 수 있다. 적어도 하나의 벤드(bend)가 (i) 에미터 지지 요소(즉, 가늘고 긴 방열판에 대해 비-평행하게, 바람직하게는 실질적으로 수직으로 배치된)와 (ii) 에미터 지지 요소의 에미터 장착 영역 사이에 마련될 수 있다. 전도성 열소통이 각 에미터 지지 요소와 가늘고 긴 방열판의 몸체 사이에 (예를 들어 여기에 한정되는 것은 아니며 가늘고 긴 방열판의 몸체에 형성된 오목부 안으로 각 에미터 지지 요소의 일 부분을 삽입하는 것에 의해) 수립될 수 있다. 돋움부들 사이의 환기를 위해 바람직하게 공기 간극들이 인접한 돋음부들(예를 들어 에미터 지지 요소들) 사이에 제공된다. 몇몇 실시예에서, 각 에미터 지지 요소는 소자-스케일 방열판의 폭보다 2배 크기 않은(2배보다 작은) 최대 치수를 가질 수 있다. 다양한 실시예에서, 하나 이상의 고체 발광 에미터는 가늘고 긴 방열판의 적어도 일 부분과 전기적으로 통신을 하거나 또는 방열판으로부터 전기적으로 분리될 수 있다.
에미터 지지 요소 블랭크들의 형성 기술로서 스탬핑이 언급되었지만 몇몇 실시예에서 에미터 지지 요소들 또는 블랭크들은 기계가공, 주조, 레이저 절단, 압출, 그리고 슬라이싱(slicing) 같은 하나 이상의 다른 기술을 사용하여 제조될 수 있다.
일 실시예에서 여기에 기술된 가늘고 긴 방열판을 포함하는 고체 발광 소자는 전도성 열소통하는 다수의 고체 발광 에미터를 포함하는데, 소자-스케일 방열판은 다수의 돋음부를 포함하고, 돋음부들 각각은 소자-스케일 방열판의 폭보다 대략 2배 크지 않은 최대 치수를 가진다. 바람직하게는, 각 돋음부는 길이 방향에 비-평행하게 배치된 주 표면을 포함한다. 각 돋음부는 바람직하게는 인접한 돋음부로부터 길이 방향으로 소정 간격 떨어져 있어 인접한 돋음부들 사이에 공기 간극(gap)을 제공한다. 환기는 자연 대류 그리고/또는 강제된 대류(예를 들어 하나 이상의 송풍기 또는 다른 유체 이동 요소들에 의한 대류)에 의해 이루어질 수 있다.
여기에서 개별적으로 서술된 다양한 특징들은, 명시적으로 그렇지 않다고 언급되지 않는 한, 추가 실시예들에서 조합될 수 있다.
이제 첨부된 도면들을 참조하여 본 발명이 더 상세히 설명될 것이며, 도면들에는 본 발명의 실시예들이 도시되어 있다. 본 발명의 측면들은 하지만 다른 형태로 구현될 수 있고 여기에 개시된 특정한 실시예들로 한정되는 것으로 해석되어서는 안 된다. 오히려 실시예들은 통상의 기술자에게 본 발명의 범위를 전하기 위해 제공되는 것이다. 도면들에서, 층들의 크기 및 상대적인 크기 그리고 영역들은 명확성을 위해서 과장되어 있을 수 있다.
도 1a는 가늘고 긴 방열판 몸체(20)와 전도성 열소통 하는 다수의 고체 발광 에미터(40A-40X)를 포함하는 발광 소자(10)의 적어도 일 부분을 도시한다. 방열판 몸체(20)는 에미터 지지면(25)을 정의하며, 폭(끝단들(21, 22) 사이에 형성될 수 있는 선에 수직인 측면 방향으로 신장함)에 비해서 적어도 대략 5배인 길이(끝단들(21, 22) 사이의 길이 방향으로 신장)를 구비하며, 길이 방향에 대해 실질적으로 수직으로 배치된 다수의 돋음부(60A~60X)를 포함한다. (비록 도 1a가 8개의 고체 발광 에미터(40A-40X)와 16개의 돋음부(60A-60X)를 도시하고 있지만, 임의의 개수의 에미터, 돋음부 또는 다른 요소가 제공될 수 있다는 것은 통상의 기술자에게 쉽게 이해될 것이다. 이 같은 이유로, 표시 "X"는 그 열에서 마지막 요소를 가리키기 위해서 사용된 것이며, "X"는 요소들의 임의의 원하는 숫자를 나타낼 수 있는 변수를 나타낸다. 이 같은 개념은 본 명세서 도처에서 사용될 수 있다.) 돋음부(60A-60X)는 가늘고 긴 방열판 몸체(20)의 하나 이상의 측면(side)에서 신장될 수 있다. 돋음부(60A-60X)는 주조 같은 임의의 적절한 수단에 의해서 또는 나사산들을 절단하여 방열판 몸체(20)의 외부면으로 하고 이어서 절단 또는 연삭에 의해 에미터 외부면을 형성하는 것에 의해서 형성될 수 있다. 공기 간극들이 인접한 돋음부들 사이에 제공된다. 바람직하게는 적어도 하나의 전기적인 절연 물질에 의해서 에미터 지지 표면(25)으로부터 분리된 하나 이상의 전기적인 도전체(미도시)가 에미터 지지며(25) 또는 발광 소자(10)의 임의의 적절한 부분에, 위에 또는 아래에 형성되어 고체 발광 에미터들(40A-40X)에 전류를 흘리기 위해 사용될 있다. 적어도 하나의 전기 회로(예를 들어 제어) 요소(50)가 선택적으로 발광 소자(10)와 통합될 수 있고 전기적 접점들(33, 34)과 각각 관련된 끝단 캡들(31, 32)이 조명 기구와의 인터페이스를 위해 소자(10)의 끝단에 제공될 수 있다.
도 1b는 도 1a에 도시된 발광 소자(10)와 동일한 요소를 구현하며 추가로 확산체(49)를 더 구비한 발광 소자(10_1)를 도시한다. 확산체(49)는 고체 발광 에미터들(40A-40X) 위쪽에 배치되고 공기 간극((45)에 의해 고체 발광 에미터들(40A-40X)로부터 떨어져 있다. 확산체(49)는 고체 발광 에미터들(40A-40X)로부터 방출을 수용하고 확산하도록 배치된다.
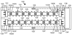
도 2는 다수의 발광 소자(110, 110')를 포함하는 조명 기구(100)의 적어도 일 부분을 도시한다. 발광 소자(110; 110')는 가늘고 긴 방열판 몸체(120; 120')와 전도성 열소통 하는 다수의 고체 발광 에미터(140A-140X; 140A'-140X')를 각각 포함한다. 가늘고 긴 방열판 몸체(120; 120')는 폭(측면 방향으로 신장함)에 비해 적어도 대략 5배(더 바람직하게는 대략 약 10배)인 길이(방열판(120; 120')의 끝단들(121, 122; 121',122') 사이에 형성된 선에 평행한 길이 방향으로 신장함)를 가진다. 방열판(120; 120')은 길이 방향에 실질적으로 수직으로 배치된 다수의 돋음부(160A-160X; 160A'-160X')를 포함한다. 고체 발광 에미터들(140A-140X; 140A'-140X')은 방열판(120; 120')의 에미터 지지면(125; 125')에 의해 지지된다. 발광 소자(110; 110')는 조명 기구(100)의 몸체(101)에 관련된 소켓들(135, 136; 135',136')에 관련된 끝단 캡들(131, 132; 131', 132')을 포함한다. 조명 기구(100)는 전류원(미도시)과 전기통신하고 발광 소자(110, 110')를 제어하도록 배치된 적어도 하나의 전기 회로 요소(150)(예를 들어 선택적으로 발라스트, 조광, 전류/전압 조정, 정정 방전, 열 궤환, 색 조절, 그리고/또는 센서 궤환 유틸리티를 제공함)를 포함한다. 다양한 센서들(151, 152; 151', 152')(예를 들어 열 그리고/또는 광학 센서들)이 발광 소자(110; 110')와 센서 소통하도록 그리고 출력 신호들을 적어도 하나의 제어 요소(150)에 제공하여 발광 소자(110; 110')의 제어를 촉진하도록 배치될 수 있다. 일 실시예에서 조명 기구(100)는 그 유지 보수를 허용하도록 표준 형광 관-기반 조명 기구를 따르도록 크기 및 형태를 가질 수 있다.
이전에 설명하였듯이, 고체 발광 소자의 가늘고 긴 방열판은 나사 로드 또는 관의 일 부분으로부터 제조될 수 있다. 도 3a는 나사산(302)들을 포함하는 나사 로드(301)를 도시하며, 나사산(302)들은 나사 로드(301)의 길이 방향에 비-평행하게 배치되고 여기에 개시된 발광 소자의 가늘고 긴 방열판의 돋음부들로서 작용을 할 수 있다. 도 3b는 도 3a의 나사 로드(301)를 길이 방향으로 절단하여 제조된 가늘고 긴 방열판(320)의 상면도로서, 그 결과 형성되는 나사 로드의 일 부분은 에미터 지지며(325) 및 돋음부들(360A-360X)을 포함한다. 돋음부들(360A-360X)은 방열판(320)의 길이 방향에 비-평행하게 신장한다(즉, 길이 방향은 끝단들(321, 322) 사이에 형성되는 선에 평행하게 신장하고, 방열판(320)의 횡단 방향은 측면들(323, 324) 사이에 형성되는 선에 평행하게 신장한다). 돋음부들(360A-360X)은 방열판(320)의 표면 영역을 증가시키는 핀들로서 작용하고 방열판(320)과 전도성 열소통 하는 고체 발광 에미터들의 동작 중에 그로부터 열의 방산을 향상시키는 기능을 한다.
전술한 바와 같이, 로드 또는 관(예를 들어 외부 나사산을 포함)은 길이 방향으로 절단되어(예를 들어 반으로, 1/3로, 1/4로, 또는 예각, 둔각, 또는 우각 단면들로), 또는 다른 방식으로 가공되어(예를 들어 연삭을 통해서) 다수의 고체 발광 에미터를 수용하는 하나 이상의 에미터 지지면을 정의한다.
도 4a 내지 도 4e는 여기에 개시된 로드(예를 들어 나사 로드)를 절단하여 형성된 다양한 형태의 소자-스케일 방열판을 포함하는 발광 소자의 부분을 도시한다. 도 4a는 로드의 반쪽(half-section)으로 길게 형성된 소자-스케일 방열판(420A)을 도시하며, 끝단들(421A, 422A) 사이에서 길이 방향으로 신장하는 하나의 에미터 지지면(425A) 그리고 그 지지면 맞은편에 굴곡된 하부면 부분(429A)을 구비한다. 다수의 고체 발광 에미터(440A-1 - 440X-1; 440A-1' - 440X-1')이 열(row)을 지어 에미터 지지면(425A)과 전도성 열소통 하도록 장착된다. 도 4b는 로드의 절단으로 형성되는 또 다른 소자-스케일 방열판(420B)을 도시하며, 로드를 절단하여 원호의 둔각 부분을 갖는 단면을 갖는 두 개의 에미터 지지면(425B, 426B)을 형성한다. 에미터 지지면들(425B, 426B)은 방열판(420B)의 끝단들(421B, 422B) 사이의 길이 방향으로 신장하며 맞은편에 굴곡된 하부면 부분(429B)이 있다. 고체 발광 에미터들(440A-2 - 440X-2; 440A-2' - 440X-2')의 열이 에미터 지지면(425B; 426B)과 전도성 열소통 하게 장착된다. 도 4c는 길이 방향으로 절단하여 로드의 1/4로 형성되는 또 다른 소자-스케일 방열판(420C)을 도시하며, 방열판(420C)의 끝단들(421C, 422C) 사이의 길이 방향으로 신장하는 두 개의 에미터 지지면(425C, 426C)과 맞은편에 굴곡된 하부면 부분(429C)을 구비한다. 고체 발광 에미터들(440A-3 - 440X-3; 440A-3' - 440X-3')의 열이 에미터 지지면(425C; 426C)과 전도성 열소통 하게 장착된다. 도 4d는 로드의 절단으로 형성되는 또 다른 소자-스케일 방열판(420D)을 도시하며, 로드를 절단하여 원호의 우각(180도보다 크지만 360도보다는 작은 각) 부분을 갖는 단면을 갖는 두 개의 에미터 지지면(425D, 426D)을 형성한다. 에미터 지지면들(425D, 426D)은 방열판(420D)의 끝단들(421D, 422D) 사이의 길이 방향으로 신장하며 맞은편에 굴곡된 하부면 부분(429D)이 있다. 고체 발광 에미터들(440A-4 - 440X-4; 440A-4' - 440X-4')의 열이 에미터 지지면(425D; 426D)과 전도성 열소통 하게 장착된다. 도 4e는 도 4b에 도시된 방열판(420B)과 형상에 있어서 유사하지만, 제1, 제2 및 제3 에미터 지지면(425E, 426E, 427E)을 정의하며 고체 발광 에미터들(440A-5 - 440X-5; 440A-5' - 440X-5'; 440A-5'', 440X-5'') 세 개의 열이 방열판과 전도성 열소통 한다. 에미터 지지면들(425E, 426E, 427E)은 서로 비-공면이고, 방열판(420E)의 끝단들(421E, 422E) 사이의 길이 방향으로 신장한다. 비록 도 4a 내지 도 4b에는 구체적으로 도시되지 않았지만, 전술한 방열판들(420A-420E) 어느 것도 그 하부면 그리고/또는 상부면을 따라 돋음부들을 포함할 수 있다. 또한, 도 4a 내지 도 4e에 도시된 다양한 방열판 형태들은 단지 설명의 목적을 위한 것일 뿐이며 임의의 형태의 방열판이 사용될 수 있다.
도 5a는 도 4a에 도시된 방열판(420A)과 형태에 있어서 유사한 가늘고 긴 방열판(520)을 포함하는 발광 소자의 일 부분을 도시하며, 이 방열판(520)은 확산체 요소(예를 들어 도 5b에 도시된 것 같은 탭들(tabs)(547, 548)을 포함하는 확산체 요소(549))를 수용하고 유지하기 위해 배열된 슬롯들 또는 오목부들(537, 538)을 더 포함한다. 방열판(520)은 길이 방향 절단에 의한 로드의 반쪽으로 형성되고, 끝단들(521, 522) 사이에서 길이 방향으로 신장하는 하나의 에미터 지지면(525) 및 그 맞은편의 굴곡된 하부면 부분(529)을 구비하며, 굴곡된 하부면 부분(529) 내로 슬롯들 또는 오목부들(527, 538)이 형성된다. 고체 발광 에미터들(540A-1 - 540X-1; 540A-1' - 540X-1')에 의한 다수의 열이 에미터 지지면(525)과 전도성 열소통 하도록 장착된다. 도 5b는 또 다른 발광 소자(520-1)의 일 부분을 도시하는데, 이 발광 소자(520-1)는 공간(545)을 두고 고체 발광 에미터들(540A-1 - 540X-1; 540A-1' - 540X-1') 위쪽에 배열된 확산체(549)를 더 포함한다. 확산체(549)는 방열판(520)의 일 부분 주위를 따라 만곡된 부분들 및 탭들(547, 548)을 포함하며 이 탭들(547, 548)은 방열판(520)에 정의된 슬롯들 또는 오목부들(537, 538)에 유지된다.
가늘고 긴 방열판을 포함하는 발광 소자의 부분이 도 6 내지 도 11, 도 12c, 도 13c 및 도 14c에 도시되어 있다. 비록 방열판의 일 부분만이 도시되었지만, 이 같은 방열판은 앞에서 설명한 바와 같이 원하는 상대적인 치수들 및 다른 특징들을 구현하도록 의도된 것이라는 것을 이해할 것이다.
도 6은 방열판(620)의 에미터 지지면(625)에 또는 위쪽에 장착된 고체 발광 에미터들(640A-640X)을 갖는 가늘고 긴 방열판(620)을 포함하는 발광 소자(610)의 일 부분을 도시한다. 방열판(620)은 방열판(620)의 길이 방향에 비-평행한 다수의 돋음부(660A-660X)를 포함하며, 돋음부들(660A-660X)은 에미터 지지면(625) 맞은편인 하부면(629)으로부터 신장하여 고체 발광 에미터들(640A-640X)로부터의 직접적인 방출을 수용하지 않도록 배치된다. 돋음부들은 (여기에 한정되는 것은 아니며) 방열판(620)에 형성된 오목부들 내로의 핀들의 삽입, 주조, 나사 로드의 절단 등을 포함하여 통상적인 방법에 의해 형성될 수 있다.
도 7은 그 하부면(729)의 맞은편인 에미터 지지면(725)에 또는 위쪽에 장착된 고체 발광 에미터들(740A-740X)을 갖는 가늘고 긴 방열판(720)을 포함하는 발광 소자(710)의 일 부분을 도시한다. 방열판(720)은 방열판(720)의 길이 방향에 비-평행하게 배치되고 에미터 지지면(725)으로부터 바깥으로 신장하는 다수의 돋음부(760A-760X)를 포함하며, 돋음부들은 고체 발광 에미터들(740A-740X)로부터의 직접적인 방출을 수용하도록 배치된다. 돋음부들(760A-760X) 중 몇몇은 서로에 대해서 비-평행하게 배치되면서, 돋음부들(760A-760X) 각각은 가늘고 긴 방열판(720)의 길이 방향에 비-평행하게 배치되나, 에미터 지지면(725)에 비-수직으로 배치된다. 돋음부들(760A-760X)은 반사 표면부들을 포함하여 원하는 방향에서 고체 발광 에미터들(740A-740X)로부터의 광 방출을 반사할 수 있다. 인접한 돋음부들(760A-760X) 사이의 간극은 그 사이에서 공기 또는 냉각 유체의 흐름을 가능하게 한다. 비록 도 7에는 도시되지 않았지만, 추가적인 돋음부들이 에미터 지지면(725) 이외의 표면들을 따라서 가늘고 긴 방열판(720)으로부터 신장할 수 있다.
도 8은 각각이 가늘고 긴 방열판(820)의 근위면(proximal surface, 825)에 정의된 다른 오목부에 삽입된 다수의 에미터 지지 요소(860A-860X)를 갖는 가늘고 긴 방열판(820)을 포함하는 발광 소자(810)의 일 부분을 도시한다. 에미터 지지 요소들(860A-860X) 각각은 가늘고 긴 방열판(820)과 전도성 열소통 하는 돋음부를 구성하며, 그 주 표면 부분(861A-861X)이 방열판(820)의 길이 방향에 비-평행하게 신장한다. 에미터 지지 요소들(860A-860X)은 또한 가늘고 긴 방열판(820)의 근위면(825)에 대해서 상대적으로 돋은 에미터 지지면 부분(862A-862X)을 포함하며, 벤드(bend)가 에미터 지지면 부분들(862A-862X)과 주 표면 부분들(861A-861X) 사이에 배치된다. 비록 도 8에는 도시되지 않았지만, 추가적인 돋음부들이 근위면(825) 이외의 표면들 예를 들어 여기에 한정되는 것은 아니며 방열판(820)의 원위면(distal surface, 829)을 따라서 가늘고 긴 방열판(820)으로부터 신장할 수 있다.
도 9는 각각이 가늘고 긴 방열판(920)의 원위면(925)에 정의된 두 개의 서로 다른 오목부에 삽입된 다수의 에미터 지지 요소(960A-960X)를 갖는 가늘고 긴 방열판(920)을 포함하는 발광 소자(910)의 일 부분을 도시한다. 에미터 지지 요소들(960A-960X) 각각은 방열판(920)의 길이 방향에 비-평행하게 신장하는 주 표면 부분들(961A, 963A-961X, 963X)을 포함하여 가늘고 긴 방열판(920)과 전도성 열소통 하는 두 개의 돋음부를 포함한다. 에미터 지지 요소들(960A-960X) 각각은 또한 가늘고 긴 방열판(920)의 근위면(925)보다 상대적으로 높으며 주 표면 부분들(961A, 963A-961X, 963X)의 끝단들에 형성된 벤드들 사이에서 신장하는 에미터 지지면 부분(962A-962X)을 포함한다. 공기 간극(968A-968X)이 각 에미터 지지면 부분(962A-962X)과 가늘고 긴 방열판(920)의 근위면(925) 사이에 선택적으로 형성된다. 각 에미터 지지면 부분(962A-962X)은 근위면(925)의 차단을 줄이기 위해서 주 표면 부분들(961A, 963A-961X, 963X)에 비해 상대적으로 폭이 좁고 그리고/또는 천공된 표면 부분을 가질 수 있다. 조합으로, 각 에미터 지지면 부분(962A-962X) 및 주 표면 부분(961A, 963A-961X, 963X)은 관련된 고체 발광 에미터들(940A-940X)로부터 광 방출을 반사하도록 배열된 반사체 컵(cup)(969A-969X)을 선택적으로 정의할 수 있다. 비록 도시되지는 않았지만, 추가적인 돋음부들이 가늘고 긴 방열팥(920)으로부터 근위면(925) 이외의 표면들을 따라서 예를 들어 (여기에 한정되는 것은 아니며) 방열판(920)의 원위면(929)으로부터 신장할 수 있다.
도 10은 도 9에 도시된 장치(910)와 실질적으로 유사한 발광 소자(1010)의 일 부분을 도시하는데, 다수의 에미터(1040A, 1040A' - 1040X, 1040X')가 각각의 에미터 지지 요소(1060A-1060X)에 의해 지지된다. 각각의 에미터 지지 요소(1060A-1060X)는 방열판(1020)의 길이 방향에 비-평행하게 신장하는 주 표면 부분들(1061A, 1063A-1061X, 1063X)을 포함하여 가늘고 긴 방열판(1020)과 전도성 열소통 하는 두 개의 돋음부를 포함한다. 에미터 지지 요소들(1060A-1060X) 각각은 또한, 가늘고 긴 방열판(1020)의 근위면(1025)보다 상대적으로 높으며 주 표면 부분들(1061A, 1063A-1061X, 1063X)의 끝단들에 형성된 벤드들 사이에서 신장하는 에미터 지지면 부분(1062A-1062X)을 포함한다. 공기 간극(1068A-1068X)이 각 에미터 지지면 부분(1062A-1062X)과 가늘고 긴 방열판(920)의 근위면(1025) 사이에 선택적으로 형성된다. 조합으로, 각 에미터 지지면 부분(1062A-1062X) 및 주 표면 부분(1061A, 1063A-1061X, 1063X)은 관련된 고체 발광 에미터들(1040A,1040A'-1040X,1040X')로부터 광 방출을 반사하도록 배열된 반사체 컵(cup)(1069A-1069X)을 선택적으로 정의할 수 있다. 비록 도시되지는 않았지만, 추가적인 돋음부들이 가늘고 긴 방열팥(1020)으로부터 근위면(1025) 이외의 표면들을 따라서 예를 들어 (여기에 한정되는 것은 아니며) 방열판(920)의 원위면(1029)으로부터 신장할 수 있다.
도 11은 각 에미터 지지 요소(1160A-1160X)에 의해 지지되는 다수의 에미터(1140A, 1140A'-1140X, 1140X')를 포함하는 또 다른 발광 소자(1110)를 도시한다. 에미터 지지 요소들(1160A-1160X) 각각은 방열판(1120)의 길이 방향에 비-평행하게 신장하는 주 표면 부분들(1161A, 1161X)을 포함하여 가늘고 긴 방열판(1120)과 전도성 열소통 하는 돋음부를 포함한다. 에미터 지지 요소들(1160A-1160X) 각각은 또한 가늘고 긴 방열판(1120)의 근위면(1125)보다 상대적으로 높으며 주 표면 부분들(1161A-1161X)의 원위단에 형성된 벤드들로부터 신장하는 두 개의 에미터 지지면 부분(1162A,1163A-1162X, 1163X)을 포함한다. 각 에미터 지지면 부분(1162A, 1163A - 1162X, 1163X)은 또한 고체 발광 에미터(1140A,1140A - 1140X, 1140X')에 의해 발생한 광 방출을 반사하도록 배열될 수 있다. 비록 도시되지는 않았지만, 추가적인 돋음부들이 가늘고 긴 방열팥(1120)으로부터 근위면(1125) 이외의 표면들을 따라서 예를 들어 (여기에 한정되는 것은 아니며) 방열판(1120)의 원위면(1129)으로부터 신장할 수 있다.
도 12a는 일 실시예에 따른 발광 소자의 가늘고 긴 방열판을 위한 (조합된) 돋음부 및 고체 발광 에미터 지지 요소의 형성에 유용한 블랭크(1260')를 도시한다. 도시된 바와 같이, 블랭크(1260')는 일반적으로 그 형상이 둥글며, 두 개의 수직 슬롯(1259A-1259B) 사이에 정의되고 주 표면 부분(1261)과 비-공면으로 배열된 에미터 지지면(즉, 도 12b에 도시된 표면 부분(1262_2))을 형성하기 위해 벤딩을 위해 배열된 탭 부분(1262)을 구비한다. 하부 끝단부(1268)는 전도성 열소통을 증진하기 위해 가늘고 긴 방열판(미도시)에 정의된 오목부 내로 삽입되도록 배열된다. 비록 다양한 기술들이 사용되어 블랭크(1260')를 제조할 수 있지만, 일 실시예에서 블랭크(1260')는 알루미늄 시트 금속 또는 금속 코어 인쇄회로 기판 같은 금속-함유 시트를 스탬핑 하여 형성될 수 있다. 도 12b는 도 12a의 블랭크(1260')로부터 제조된 돋음부 및 고체 발광 에미터 지지 요소(1260)를 도시하는 데, 주 표면 부분(1261)에 실질적으로 수직인 고체 발광 에미터(1240)를 지지하기 위해서 탭 부분(1262_1)의 벤딩 후에(예를 들어 다중 벤드) 고체 발광 에미터(1240)가 에미터 지지면 부분(1262_2) 위에 지지된다. 도 12c는 도 12b에 따른 다수의 돋음부 및 에미터 지지 요소를 갖는 가늘고 긴 방열판(1220)을 포함하는 발광 소자(1200)의 일 부분을 도시하는데, 각 돋음부(1260A-1260X)의 하부 끝단부(1268)가 가늘고 긴 방열판(1220)에 정의된 서로 다른 오목부에 삽입되어 각 돋음부(1260A-1260X)와 가늘고 긴 방열판(1220) 사이에 전도성 열소통이 형성된다. 열소통 그리고/또는 기계적 유지는 또한 각 돋음부(1260A-1260X) 및 가늘고 긴 방열판(1220) 사이의 경납땜, 납땜 또는 용접 연결체(1202A-1202X)에 의해서 더 강화될 수 있다. 각 주 표면 부분(1260)의 일 부분은 원하는 방향에서 에미터들(1240A-1240X)에 의해 생성된 광 방출을 반사하도록, 예를 들어 발광 소자(1200)에 의한 음영을 줄이도록, 각 고체 발광 에미터(1240A-1240X) 위쪽으로 신장한다. 비록 도시되지는 않았지만, 고체 발광 에미터들(1240A-1240X)에 의해 생성된 방출을 확산하도록, 확산체가 발광 소자(1200)와 일체로 형성될 수 있다.
비록 도 12c에서 돋음부 및 고체 발광 에미터 지지 요소들이 그 형성이 실질적으로 둥근 것으로 도시되었으나, 다양한 실시예에서 돋음부 및 고체 발광 에미터 지지 요소가 원하는 다양한 형상으로 예를 들어 여기에 한정되는 것은 아니며 정사각형, 직사각형, 오각형, 육각형, 팔각형, 별모양, 마름모, 정다각형, 불규칙 다각형, 타원형, 곡선 모양, 곡선 및 직선 조합, 및 이들의 조합의 적어도 부분으로 형성될 수 있다. 또 이들은 실질적으로 속이 꽉 찬 솔리드(solid) 이거나 또는 적어도 일 부분이 비어 있거나 그리고/또는 오목부를 포함할 수 있다. 또한, 다양한 핀들 또는 텍스쳐들이 돋음부 및 고체 발광 에미터 지지 요소들에 추가되어 향상된 열 전달, 광 지향(light directing) 그리고/또는 광 성형 유틸리티(light shaping utility)를 제공할 수 있다.
도 13a 내지 도 13e는 가장자리를 따라 형성되고 전류를 발광 소자의 에미터들로 흘리기 위해 전기 연결체 레일 또는 비슷한 요소와 결합하는 전기 연결체들을 포함하는 고체 발광 에미터 지지 요소 및 돋음부를 포함하는 고체 발광 소자에 관련된다.
도 13a는 그 일 부분을 벤딩하기 전인 돋음부 및 고체 발광 지지 요소(1360)를 도시하는데, 요소(1360)는 가늘고 긴 방열판(도 13c에 도시된 것 참조)의 오목부 내로 삽입되도록 마련된다. 돋음부 및 고체 발광 에미터 지지 요소(1360)를 위한 블랭크 부분이 스탬핑에 의해 형성될 수 있다. 주 표면 부분(1361)이 금속으로 형성될 수 있고 이때 그 표면의 적어도 일 부분 위에 전기적으로 절연성인 물질(1370)이 제공된다. 전도성 트레이스들(1382A-1382B)이 가장자리 접점들(1381A-1381B) 및 본드 패드들(1383A-1383B) 사이에서 신장한다. 고체 발광 에미터(1340)가 에미터 지지요소(1362-2)인 탭 부분과 전도성 열소통 하도록 배열된다. 와이어 본드들(1384A-1384B)이 본드 패드들(1383A-1383B) 및 고체 발광 에미터(1340) 사이에 신장되어 고체 발광 에미터(1340)와의 전기적 통신을 제공한다. 돋음부 및 고체 발광 에미터 지지 요소(1360)의 하부(1368)는 가늘고 긴 방열판(예를 들어 도 13c에 도시된 방열판)의 오목부에 삽입되도록 배열된다. 도 13b는 도 13a에 따른 돋음부 및 지지 요소(1360)의 측면도로서 그 탭 부분(1361_1)을 굽혀 고체 발광 에미터(1340)를 주 표면 부분(1361)에 실질적으로 수직으로 지지하도록 배열된 에미터 지지면 부분(1361_2)을 제공하기 위해서 제1 벤드 및 제2 벤드를 형성한 것을 도시한다.
도 13c는 도 13b에 따른 다수의 돋음부 및 에미터 지지 요소(1360A-1360X)를 갖는 가늘고 긴 방열판(1320)을 포함하는 발광 소자(1300)의 일 부분을 도시하는데, 각각의 돋음부(1360A-1360X)의 하부 끝단부(1368)는 가늘고 긴 방열판(1320)에 정의된 서로 다른 오목부 내로 삽입되어 가늘고 긴 방열판(1320)과 각각의 돋음부 및 에미터 지지 요소(1360A-1360X) 사이에 전도성 열소통이 이루어진다.
도 13d는 도 13c에 따른 발광 소자(1300)의 일 부분에 대한 전면 단면도(도 13c의 A-A 선을 따라 절단함)로서, 도 13c의 돋음부 및 에미터 지지 요소(1360A)의 가장자리 접점들(1381A-1381B)과 꼭 들어맞는 슬롯형 전기 연결체 레일(1390)을 포함한다. 전기 연결체 레일(1390)은 다수의 슬롯(1395)을 정의하며, 발광 소자(1200)의 각각의 돋음부 및 에미터 지지 요소(1360A-1360X)를 위한 하나의 슬롯(1395)을 포함한다. 각 슬롯(1395)은 돋음부 및 에미터 지지 요소(1360A-1360X)의 대응하는 가장자리 접점들(1381-1381B)과의 전기적 통신을 위해 마련된 다수의 전기 접점(1391A-1391B)을 포함한다. 돋음부 및 에미터 지지 요소(1360A-1360X) 및 가늘고 긴 방열판 몸체(1320) 사이의 전도성 열소통은 돋음부 및 에미터 지지 요소(1360A-1360X)의 하부 끝단부(1368)를 가늘고 긴 방열판 몸체(1320)에 정의된 오목부 또는 슬롯 내로 삽입하는 것에 의해 형성되고, 고체 발광 에미터들(1340A-1340X)과의 전도성 전기적 통신은 전기 도전체 레일(1390)을 돋음부 및 에미터 지지 요소(1360A-1360X)의 가장자리 접점들(1381A-1381B)과 맞물리도록 결합하는 것에 의해 형성된다. 도 13e는 도 13c 내지 도 13d에 따른 발광 소자(1300)의 조립된 부분에 대한 전면 단면도(도 13c의 A-A선을 따라 절단)로서, 돋음부 및 에미터 지지 요소(1360A)가 가늘고 긴 방열판(1320)의 오목부 내에 삽입되고, 슬롯형 전기 도전체 레일(1390)이 돋음부 및 에미터 지지 요소(1360A)의 가장자리 접점들(1381A-1381B)과 결합한 것을 도시한다.
도 14a 내지 도 14c는 가늘고 긴 방열판 요소 내에 또는 위에 마련된 적어도 하나의 전기 도전체와의 결합을 위해서, 전면을 따라 형성된 전기 도전체들을 포함하는 돋음부 및 에미터 지지 요소를 포함하는 고체 발광 소자에 관련된다. 돋음부 및 고체 발광 에미터 지지 요소(1460)와 방열판 사이의 열적으로 전도성인 연결 및 전기적으로 전도성인 연결은, 돋음부 및 고체 발광 에미터 지지 요소(1460)를 방열판(1420) 내에 정의된 복합 오목부(오목부들(1408,1409) 포함) 안으로 삽입하는 하나의 단계를 통해 동시에 이루어질 수 있다.
도 14a는 그 일 부분을 굽히기 전의 돋음부 및 에미터 지지 요소를 도시하는데, 요소(1460)는 가늘고 긴 방열판(예를 들어 도 14c에 도시된 방열판(1420))의 복합 오목부 내로 삽입되도록 마련된다. 돋음부 및 에미터 지지 요소(1460)의 블랭크는 스탬핑에 의해 형성될 수 있다. 주 표면 부분(1461)은 금속으로 제조될 수 있는데, 전기적으로 절연성인 물질(1470)이 적어도 한 표면 위에 제공된다. 제1 도전성 트레이스(1482A)는 제1 전면 접점(1481A) 및 제1 전기 본드 패드(1483A) 사이에 신장한다. 제1 전기 본드 패드(1483A)를 고체 발광 에미터(1440)에 연결하기 위한 제1 와이어본드 또는 다른 연결체(1848A)가 형성된다. 제2 도전성 트레이스(1482B)는 제2 전면 접점(1481B) 및 제2 전기 본드 패드(1483B) 사이에 신장한다. 제2 전기 본드 패드(1483B)를 고체 발광 에미터(1440)에 연결하기 위한 제2 와이어본드 또는 다른 연결체(1848B)가 형성된다. 가장자리 트레이스(1485)는 돋음부 및 고체 발광 에미터 지지 요소(1460)의 뒷 표면(바람직하게는 대응하는 전기적으로 절연성인 층 부분을 포함함) 위에 마련된 뒷면과 전기적 통신을 한다. 고체 발광 에미터(1440)는 에미터 지지 부분(1462_2) 위에 마련되고 에미터 지지 부분(1462_2) 및 관련된 에미터 지지 요소(1462_2)의 탭 부부(1462_1)과 열소통을 한다. 돋음부 및 고체 발광 에미터 지지 요소(1460)의 하부 부분(1468)은 가늘고 긴 방열판(예를 들어 도 14c의 방열판(1420))의 오목부 내로 삽입되도록 마련된다.
도 14b는 탭 부분(1461_1)을 굽혀 주 표면 부분(1461)에 실질적으로 수직으로 고체 발광 에미터(1440)를 지지하도록 배열된 에미터 지지면 부분(1461_2)을 제공하기 위해 제1 벤드 및 제2 벤드를 형성한 후의, 도 14a에 따른 돋음부 및 에미터 지지 요소(1460)의 측면 투시도로서, 돋음부 및 에미터 지지 요소(1460)가 가늘고 긴 방열판(1420)에 형성된 복합 오목부(오목부들(1408, 1409) 포함함) 내로 삽입되도록 마련된다. 가늘고 긴 방열판은 적어도 하나의 전기 도전체(1406)를 포함하는데, 전기적으로 절연성인 물질(1405, 1407)이 전기적 도전체(1406) 및 가늘고 긴 방열판(1420)의 몸체 사이의 전도성 전기적 통신을 차단한다. 일 실시예에서, 전기적 도전체는 구리를 포함하고, 가늘고 긴 방열판(1420)의 몸체는 알루미늄을 포함하며, 전기적으로 절연성인 물질은 폴리머 물질, 세라믹 물질, 접착제(에폭시 포함) 중 하나 이상을 포함한다. 하부 오목부(1408)는 감소된 폭을 나타내며, 돋음부 및 지지 요소(1460)가 끝단 부분(1468)에 삽입되면 그 끝단 부분(1468)과 전도성 열 접촉을 형성하도록 마련된다. 주 표면 부분(1461) 위에 전기적으로 절연성인 물질(1470)을 형성(예를 들어 얇은 층을 형성)하면, 그 두께를 증가시킬 수 있고 그래서 상부 오목부(1409)는 전방 접촉 및 후방 접촉(1481A-1481B)을 포함하여 돋음부 및 지지 요소(1460)를 수용하는 폭이 증가한다. 이 같은 방식으로, 돋음부 및 지지 요소(1460)와 방열판 사이의 열적으로 전도성 연결 및 전기적으로 전도성 연결 모두가 오목부들(1408A-1409B)을 포함하는 복합 오목부들 내로 돋음부 및 지지 요소(1460)를 삽입하는 하나의 단계를 통해서 동시에 이루어질 수 있다.
도 14c는 도 14b에 도시된 요소들을 포함하는 발광 소자의 조립된 부분에 대한 측면 단면도로서, 가늘고 긴 방열판(1420)에 형성된 대응하는 복합 오목부 내에 수용된 다중 돋음부 및 고체 발광 지지 요소(1460A-1460X)를 도시한다.
여기에서 서술된 요소 및 부(부분)은 하나 이상의 다른 요소 및 부(부분)과 조합될 수 있다.
여기에 서술된 실시예들은 이하의 하나 이상의 기술적 효과를 제공한다: 다중 (예를 들어 고체) 점 소스를 갖는 가늘고 발광 소자의 온도의 방향성 계층화를 감소; 다중 점 소스를 갖는 가늘고 긴 발광 소자의 출력 색상에서의 변이를 감소; 다중 점 소스를 갖는 가늘고 긴 발광 소자의 제조 비용의 감소 및 제조 효율성 향상; 다중 점 소스를 갖는 발광 소자의 음영 효과 감소.
본 발명의 특정 측면들, 특징들, 그리고 예시적인 실시예들을 참조하여 본 발명이 설명되었지만, 본 발명의 효용성은, 여기에 개시된 내용에 근거하여 본 발명이 속하는 기술분야에서 통상의 지식을 가진 자에게 제안하듯이, 제한되는 것은 아니고 다양한 다른 변형들, 변경들 그리고 대안 실시예들을 포함한다. 따라서, 이하의 특허청구범위에 청구된 본 발명은, 그 사상 및 범위 내에서, 그와 같은 모든 변형들, 변경들 및 대안 실시예들을 포함하도록 가장 넓게 이해되고 해석되어야 한다.
Claims (49)
- 길이 방향으로 신장하는 길이 및 측면 방향으로 신장하는 폭을 갖는 소자-스케일 방열판과 전도성 열소통 하는 다수의 고체 발광 에미터를 포함하는 발광 소자로서,
상기 길이는 상기 폭의 적어도 대략 5배이고,
상기 소자-스케일 방열판은 다수의 돋음부를 포함하고,
상기 다수의 돋음부 각각은 상기 길이 방향에 비-평행하게 마련된 주 표면을 포함하는 발광 소자. - 제1항에 있어서,
상기 길이는 상기 폭의 적어도 대략 10배인 발광 소자. - 제1항에 있어서,
상기 다수의 돋음부 각각은 상기 길이 방향에 실질적으로 수직으로 마련된 주 표면을 포함하는 발광 소자. - 제1항에 있어서,
상기 소자-스케일 방열판은 나사 로드 또는 관의 적어도 일 부분을 포함하는 발광 소자. - 제1항에 있어서,
적어도 하나의 에미터 지지면은 상기 돋음부가 없고 상기 다수의 고체 발광 에미터의 적어도 복수 개의 발광 에미터를 지지하는 발광 소자. - 제1항에 있어서,
상기 소자-스케일 방열판은 제1 에미터 지지면 및 상기 제1 에미터 지지면에 비-공면인 제2 에미터 지지면을 포함하고,
상기 제1 에미터 지지면 및 상기 제2 에미터 지지면은 상기 다수의 고체 발광 에미터를 지지하고 전도성 열소통 하는 발광 소자. - 제1항에 있어서,
상기 다수의 고체 발광 에미터는 상기 다수의 고체 발광 에미터에 의한 상기 다수의 돋음부의 직접적인 조명을 방지하도록 상기 소자-스케일 방열판에 대해서 배열되는 발광 소자. - 제1항에 있어서,
상기 다수의 돋음부를 정의하고 상기 다수의 고체 발광 에미터를 지지하도록 배치된 다수의 에미터 지지 요소를 더 포함하고, 상기 다수의 에미터 지지 요소는 상기 소자-스케일 방열판과 전도성 열소통 하도록 배열되는 발광 소자. - 제8항에 있어서,
상기 다수의 에미터 지지 요소 각각으로 신장하는 또는 각각들 사이에서 신장하는 적어도 하나의 전기 도전체를 더 포함하는 발광 소자. - 제8항에 있어서,
상기 소자-스케일 방열판은 다수의 오목부를 포함하고, 상기 다수의 에미터 지지 요소 각각은 상기 다수의 오목부의 적어도 하나의 오목부에 삽입되는 발광 소자. - 제8항에 있어서,
상기 다수의 에미터 지지 요소 각각은 상기 다수의 고체 발광 에미터의 적어도 하나의 고체 발광 에미터와 전기 통신을 하고, 상기 적어도 하나의 고체 발광 에미터에 전류를 흘리도록 배열된 적어도 하나의 전기 도전체와 전기 통신을 하는 적어도 하나의 도전성 트레이스를 더 포함하는 발광 소자. - 제11항에 있어서,
상기 적어도 하나의 전기 도전체는 상기 소자-스케일 방열판의 내부를 통과해 신장하는 발광 소자. - 제11항에 있어서,
상기 적어도 하나의 도전체는 상기 소자-스케일 방열판과 물리적으로 분리된 발광 소자. - 제11항에 있어서,
각각의 에미터 지지 요소는 상기 적어도 하나의 전기 도전체와 인터페이스 하도록 배열된 가장자리 접점을 포함하는 발광 소자. - 제8항에 있어서,
각각의 에미터 지지 요소는 상기 에미터 지지 요소에 의해 정의된 주 표면 및 상기 에미터 지지 요소의 에미터 장착 영역 사이에 마련된 적어도 하나의 벤드를 갖는 스탬프 공정에 의한 금속을 포함하는 발광 소자. - 제8항에 있어서,
각각의 에미터 지지 요소는 상기 다수의 고체 발광 에미터와 전기적으로 분리된 발광 소자. - 제8항에 있어서,
각각의 에미터 지지 요소는 스탬핑에 의한 금속을 포함하고, 전기적으로 절연성인 물질이 상기 금속의 적어도 하나의 표면에 마련되는 발광 소자. - 제8항에 있어서,
각각의 에미터 지지 요소의 적어도 일 부분은 상기 다수의 고체 발광 에미터의 적어도 하나의 고체 발광 에미터로부터의 직접적인 광 방출을 수용하도록 마련되는 발광 소자. - 제8항에 있어서,
각각의 에미터 지지 요소와 상기 소자-스케일 방열판 사이의 전도성 열소통을 허용하는 경남땜, 납땜, 또는 용접 연결체를 포함하는 발광 소자. - 제8항에 있어서,
각각의 에미터 지지 요소는 상기 소자-스케일 방열판의 폭의 대략 2배보다 크지 않은 최대 치수를 갖는 발광 소자. - 제8항에 있어서,
각각의 에미터 지지 요소의 적어도 일 부분은 인쇄회로기판을 포함하는 발광 소자. - 제1항에 있어서,
상기 다수의 고체 발광 에미터의 적어도 일부 고체 발광 에미터는 병렬로 제어 회로에 연결되고 독립적으로 제어되는 발광 소자. - 제1항에 있어서,
상기 다수의 고체 발광 에미터는 직렬로 연결된 고체 발광 에미터 제1 그룹 및 병렬로 연결된 고체 발광 에미터 제2 그룹을 포함하며, 상기 제1 그룹 및 제2 그룹은 독립적으로 제어되는 발광 소자. - 제1항에 있어서,
상기 다수의 고체 발광 에미터로부터의 방출을 수용하고 확산시키는 확산체를 더 포함하는 발광 소자. - 제1항 내지 제24항 중 어느 한 항에 있어서,
상기 발광 소자는 적어도 하나의 센서에 동작상 연결되고, 상기 발광 소자의 동작은 상기 센서의 출력 신호에 응해서 제어되는 발광 소자. - 제1항 내지 제24항 중 어느 한 항에 있어서,
상기 발광 소자는 대략 적어도 100 루멘/와트의 발광 효율을 갖는 발광 소자. - 제26항에 있어서,
상기 발광 소자는 대략 90의 연색지수를 갖는 발광 소자. - 제1항 내지 제24항 중 어느 한 항에 있어서,
상기 발광 소자는 백색광 방출을 생성하는 발광 소자. - 제1항 내지 제24항 중 어느 한 항에 따른 발광 소자를 포함하는 조명 기구.
- 길이 방향으로 신장하는 길이 및 측면 방향으로 신장하는 폭을 갖는 소자-스케일 방열판과 전도성 열소통 하는 다수의 고체 발광 에미터를 포함하는 발광 소자로서,
상기 길이는 상기 폭의 적어도 대략 5배이고,
상기 소자-스케일 방열판은 다수의 돋음부를 포함하고,
상기 다수의 돋음부 각각은 상기 소자-스케일 방열판의 상기 폭의 대략 2배보다 크지 않는 최대 치수를 갖는 발광 소자. - 제30항에 있어서,
상기 길이는 상기 폭의 적어도 대략 10배인 발광 소자. - 제30항에 있어서,
상기 다수의 돋음부 각각은 상기 길이 방향에 비-평행하게 배치된 주 표면을 갖는 발광 소자. - 제30항 내지 제32항 중 어느 한 항에 있어서,
상기 다수의 돋음부 각각은 인접한 돋음부로부터 길이 방향으로 이격되어 각각의 돋음부 및 인접한 돋음부 사이에 환기를 허용하는 공기 간극을 제공하는 발광 소자. - 나사 로드 또는 관의 일부분에 또는 위에 정의된 적어도 하나의 에미터 지지 표면과 전도성 열소통 하는 다수의 고체 발광 에미터를 포함하는 발광 소자.
- 제34항에 있어서,
상기 나사 로드 또는 관의 상기 일부분은 길이 방향으로 신장하는 길이 및 측면 방향으로 신장하는 폭을 가지며, 상기 길이는 상기 폭의 적어도 대략 5배인 발광 소자. - 제34항에 있어서,
상기 나사 로드 또는 관의 상기 일부분은 길이 방향으로 신장하는 길이 및 측면 방향으로 신장하는 폭을 가지며, 상기 길이는 상기 폭의 적어도 대략 10배인 발광 소자. - 제34항 내지 제36항 중 어느 한 항에 있어서,
상기 나사 로드 또는 관의 상기 일부분은 서로 비-공면으로 배열된 다수의 에미터 지지면을 포함하는 발광 소자. - 제34항 내지 제36항 중 어느 한 항에 있어서,
상기 다수의 고체 발광 에미터에 전류를 흘리도록 배열된 적어도 하나의 전기 도전체를 더 포함하고, 상기 적어도 하나의 전기 도전체는 상기 나사 로드 또는 관의 상기 일부분으로부터 전기적으로 분리된 발광 소자. - 발광 소자를 제조하는 방법으로서,
상기 방법은:
나사 로드 또는 관의 일부분에 또는 위에 정의된 적어도 하나의 에미터 지지면과 전도성 열소통 하도록 다수의 고체 발광 에미터를 장착함을 포함하는 방법. - 제39항에 있어서,
나사 로드 또는 관을 길이 방향으로 절단하여 상기 적어도 하나의 에미터 지지면을 형성함을 포함하는 방법. - 제39항에 있어서,
상기 나사 로드 또는 관의 상기 일부분은 길이 방향으로 신장하는 길이 및 측면 방향으로 신장하는 폭을 가지며, 상기 길이는 상기 폭의 적어도 대략 10배인 방법. - 제39항 내지 제41항 중 어느 한 항에 있어서,
상기 나사 로드 또는 관의 상기 일부분에 또는 위에 다수의 에미터 지지면을 형성하고, 상기 다수의 고체 발광 에미터를 상기 다수의 에미터 지지면의 다른 에미터 지지면 위에 장착함을 포함하는 방법. - 제39항 내지 제41항 중 어느 한 항에 있어서,
상기 다수의 고체 발광 에미터에 전류를 흘리도록 배열된 적어도 하나의 전기 도전체를 제공함을 더 포함하는 방법. - 제39항 내지 제41항 중 어느 한 항에 있어서,
상기 다수의 고체 발광 에미터로부터 발광을 수용하고 확산하기 위한 확산체를 장착함을 더 포함하는 방법. - 발광 소자 제조 방법으로,
상기 방법은:
다수의 에미터 지지 요소와 전도성 열소통 하도록 다수의 고체 발광 소자를 장착하고; 그리고
길이 방향으로 신장하는 길이 및 측면 방향으로 신장하는 폭을 갖는 소자-스케일 방열판과 전도성 열소통 하도록 상기 다수의 에미터 지지 요소를 결합함을 포함하며,
상기 길이는 상기 폭의 적어도 대략 5배이고, 각각의 에미터 지지 요소는 상기 길이 방향에 비-평행한 주 표면을 포함하는 방법. - 제45항에 있어서,
상기 길이는 상기 폭의 적어도 대략 10배인 방법. - 제45항에 있어서,
상기 주 표면은 상기 길이 방향에 실질적으로 수직으로 배열되는 방법. - 제45항 내지 제47항 중 어느 한 항에 있어서,
상기 소자-스케일 방열판에 다수의 오목부를 정의함을 더 포함하고,
상기 소자-스케일 방열판과 전도성 열소통 하도록 상기 다수의 에미터 지지 요소를 결합함은 상기 다수의 오목부 내에 상기 에미터 지지 요소들을 삽입함을 포함하는 방법. - 제45항 내지 제49항 중 어느 한 항에 있어서,
에미터 지지 요소 블랭크(blank)를 스탬핑(stamping)하고 각 에미터 지지 요소 블랭크의 적어도 일부분을 비-평면(non-planar) 형상으로 굽히거나 또는 성형함(shaping)을 포함하는 단계들에 의해 상기 다수의 에미터 지지 요소를 형성함을 더 포함하는 방법.
Applications Claiming Priority (3)
| Application Number | Priority Date | Filing Date | Title |
|---|---|---|---|
| US13/022,533 US8794793B2 (en) | 2011-02-07 | 2011-02-07 | Solid state lighting device with elongated heatsink |
| US13/022,533 | 2011-02-07 | ||
| PCT/US2012/023342 WO2012109059A2 (en) | 2011-02-07 | 2012-01-31 | Solid state lighting device with elongated heatsink |
Publications (1)
| Publication Number | Publication Date |
|---|---|
| KR20140047591A true KR20140047591A (ko) | 2014-04-22 |
Family
ID=46600525
Family Applications (1)
| Application Number | Title | Priority Date | Filing Date |
|---|---|---|---|
| KR1020137023478A Withdrawn KR20140047591A (ko) | 2011-02-07 | 2012-01-31 | 가늘고 긴 히트 방열판을 구비하는 고체 발광 소자 |
Country Status (5)
| Country | Link |
|---|---|
| US (1) | US8794793B2 (ko) |
| EP (1) | EP2673560A4 (ko) |
| KR (1) | KR20140047591A (ko) |
| CN (1) | CN103477149A (ko) |
| WO (1) | WO2012109059A2 (ko) |
Families Citing this family (20)
| Publication number | Priority date | Publication date | Assignee | Title |
|---|---|---|---|---|
| US9228727B2 (en) | 2012-04-05 | 2016-01-05 | Michael W. May | Lighting assembly |
| US9062873B2 (en) | 2012-07-30 | 2015-06-23 | Ultravision Technologies, Llc | Structure for protecting LED light source from moisture |
| US8870410B2 (en) | 2012-07-30 | 2014-10-28 | Ultravision Holdings, Llc | Optical panel for LED light source |
| US8974077B2 (en) | 2012-07-30 | 2015-03-10 | Ultravision Technologies, Llc | Heat sink for LED light source |
| US8970131B2 (en) | 2013-02-15 | 2015-03-03 | Cree, Inc. | Solid state lighting apparatuses and related methods |
| US9414454B2 (en) | 2013-02-15 | 2016-08-09 | Cree, Inc. | Solid state lighting apparatuses and related methods |
| US9587790B2 (en) | 2013-03-15 | 2017-03-07 | Cree, Inc. | Remote lumiphor solid state lighting devices with enhanced light extraction |
| GB2521423B (en) * | 2013-12-19 | 2020-04-22 | Novar Ed&S Ltd | An LED tube lamp with improved heat sink |
| CA2945963C (en) | 2014-04-18 | 2023-08-29 | Michael W. May | Lighting assembly |
| US20150369457A1 (en) * | 2014-06-23 | 2015-12-24 | Epistar Corporation | Light-Emitting Device |
| US9557044B2 (en) | 2014-10-20 | 2017-01-31 | Energy Focus, Inc. | LED lamp with dual mode operation |
| KR20160092761A (ko) * | 2015-01-28 | 2016-08-05 | 삼성전자주식회사 | 조명 장치 |
| WO2016128496A1 (en) * | 2015-02-12 | 2016-08-18 | Philips Lighting Holding B.V. | Lighting module and lighting device comprising a lighting module |
| CN104864353B (zh) * | 2015-05-12 | 2017-09-22 | 东莞市闻誉实业有限公司 | 新型变色灯 |
| ES2856977T3 (es) | 2016-01-07 | 2021-09-28 | Michael W May | Sistema conector para conjunto de iluminación |
| US9927073B2 (en) | 2016-02-09 | 2018-03-27 | Michael W. May | Networked LED lighting system |
| GB2548751B (en) * | 2017-06-23 | 2018-04-11 | Smart Garden Products Ltd | An LED flame effect lighting device |
| US11889798B2 (en) | 2018-09-21 | 2024-02-06 | Scott Eddins | Modular plant lighting and plant support system |
| US11365852B2 (en) * | 2018-09-21 | 2022-06-21 | Grow Light Design, Llc | Agricultural lighting for plants |
| US11828447B2 (en) * | 2019-05-20 | 2023-11-28 | Signify Holding B.V. | Light source comprising a substrate and a heat sink structure |
Family Cites Families (25)
| Publication number | Priority date | Publication date | Assignee | Title |
|---|---|---|---|---|
| US6158882A (en) | 1998-06-30 | 2000-12-12 | Emteq, Inc. | LED semiconductor lighting system |
| US6371637B1 (en) | 1999-02-26 | 2002-04-16 | Radiantz, Inc. | Compact, flexible, LED array |
| US6350041B1 (en) | 1999-12-03 | 2002-02-26 | Cree Lighting Company | High output radial dispersing lamp using a solid state light source |
| US6871993B2 (en) | 2002-07-01 | 2005-03-29 | Accu-Sort Systems, Inc. | Integrating LED illumination system for machine vision systems |
| US7210818B2 (en) | 2002-08-26 | 2007-05-01 | Altman Stage Lighting Co., Inc. | Flexible LED lighting strip |
| US7490957B2 (en) * | 2002-11-19 | 2009-02-17 | Denovo Lighting, L.L.C. | Power controls with photosensor for tube mounted LEDs with ballast |
| US6762562B2 (en) | 2002-11-19 | 2004-07-13 | Denovo Lighting, Llc | Tubular housing with light emitting diodes |
| US20080037257A1 (en) | 2002-12-11 | 2008-02-14 | Charles Bolta | Light emitting diode (L.E.D.) lighting fixtures with emergency back-up and scotopic enhancement |
| US7234844B2 (en) | 2002-12-11 | 2007-06-26 | Charles Bolta | Light emitting diode (L.E.D.) lighting fixtures with emergency back-up and scotopic enhancement |
| KR20060102796A (ko) | 2005-03-25 | 2006-09-28 | 엄대용 | 고휘도 발광 다이오드를 이용한 조명장치 |
| US8052303B2 (en) * | 2006-09-12 | 2011-11-08 | Huizhou Light Engine Ltd. | Integrally formed single piece light emitting diode light wire and uses thereof |
| US7819551B2 (en) | 2007-01-09 | 2010-10-26 | Luciter Lighting Company | Light source mounting system and method |
| US7815341B2 (en) | 2007-02-14 | 2010-10-19 | Permlight Products, Inc. | Strip illumination device |
| WO2008122924A1 (en) * | 2007-04-06 | 2008-10-16 | Koninklijke Philips Electronics N.V. | Elongated lamp comprising leds and radially extending lamellae |
| US7985970B2 (en) | 2009-04-06 | 2011-07-26 | Cree, Inc. | High voltage low current surface-emitting LED |
| CN101457913B (zh) * | 2007-12-12 | 2011-09-28 | 富准精密工业(深圳)有限公司 | 发光二极管灯具 |
| US20100027293A1 (en) | 2008-07-30 | 2010-02-04 | Intematix Corporation | Light Emitting Panel |
| KR100980365B1 (ko) * | 2008-08-25 | 2010-09-06 | 주식회사 웰라이트 | 바 타입의 엘이디 조명 장치 |
| TWI407043B (zh) * | 2008-11-04 | 2013-09-01 | Advanced Optoelectronic Tech | 發光二極體光源模組及其光學引擎 |
| JP2010171236A (ja) * | 2009-01-23 | 2010-08-05 | Rohm Co Ltd | Ledランプ |
| KR100899977B1 (ko) * | 2009-02-23 | 2009-05-28 | 주식회사 지앤에이치 | 엘이디조명등의 방열장치 |
| KR101057771B1 (ko) | 2009-05-22 | 2011-08-19 | 주식회사 루미텍 | 엘이디 조명장치 |
| KR100938932B1 (ko) | 2009-07-09 | 2010-01-27 | 김종성 | 먼지 방지 방열구조 및 반사용 코너큐브를 갖는 엘이디 조명등 반사갓 및 그 제조방법 |
| US20100270904A1 (en) * | 2009-08-14 | 2010-10-28 | Led Folio Corporation | Led bulb with modules having side-emitting diodes |
| TWI403663B (zh) * | 2010-07-20 | 2013-08-01 | Foxsemicon Integrated Tech Inc | Led發光裝置 |
-
2011
- 2011-02-07 US US13/022,533 patent/US8794793B2/en active Active
-
2012
- 2012-01-31 CN CN2012800173601A patent/CN103477149A/zh active Pending
- 2012-01-31 WO PCT/US2012/023342 patent/WO2012109059A2/en active Application Filing
- 2012-01-31 KR KR1020137023478A patent/KR20140047591A/ko not_active Withdrawn
- 2012-01-31 EP EP12744589.8A patent/EP2673560A4/en not_active Withdrawn
Also Published As
| Publication number | Publication date |
|---|---|
| EP2673560A2 (en) | 2013-12-18 |
| WO2012109059A2 (en) | 2012-08-16 |
| US20120201022A1 (en) | 2012-08-09 |
| US8794793B2 (en) | 2014-08-05 |
| EP2673560A4 (en) | 2015-04-15 |
| CN103477149A (zh) | 2013-12-25 |
| WO2012109059A3 (en) | 2012-11-01 |
Similar Documents
| Publication | Publication Date | Title |
|---|---|---|
| KR20140047591A (ko) | 가늘고 긴 히트 방열판을 구비하는 고체 발광 소자 | |
| US8653723B2 (en) | LED light bulbs for space lighting | |
| US10107456B2 (en) | Solid state lamp using modular light emitting elements | |
| JP5153783B2 (ja) | 照明デバイスおよび照明方法 | |
| RU2527555C2 (ru) | Осветительное устройство с обратноконусным теплоотводом | |
| US8035284B2 (en) | Distributed LED-based light source | |
| CN102483201B (zh) | 灯泡型灯 | |
| US11441747B2 (en) | Lighting fixture with reflector and template PCB | |
| US9068701B2 (en) | Lamp structure with remote LED light source | |
| JP2008186758A (ja) | 電球形照明用ledランプ | |
| CN101454910A (zh) | 含三维支架的用于物理空间照明的半导体光源 | |
| US20130051002A1 (en) | High efficiency led lamp | |
| US9797589B2 (en) | High efficiency LED lamp | |
| KR20250118995A (ko) | 고효율 방열 구조의 led 조명장치 | |
| JP6076605B2 (ja) | Led発光装置 | |
| JP2024536303A (ja) | ヒートシンクを有するledフィラメント | |
| WO2025157711A1 (en) | A led filament arrangement | |
| KR101458807B1 (ko) | 배광곡선 가변이 가능한 전구형 조명 장치 | |
| KR20130083359A (ko) | 고효율 방열구조의 전구형 엘이디 조명장치 | |
| CN102235587A (zh) | 一种超大功率led光源照明灯 |
Legal Events
| Date | Code | Title | Description |
|---|---|---|---|
| PA0105 | International application |
Patent event date: 20130904 Patent event code: PA01051R01D Comment text: International Patent Application |
|
| PG1501 | Laying open of application | ||
| PC1203 | Withdrawal of no request for examination | ||
| WITN | Application deemed withdrawn, e.g. because no request for examination was filed or no examination fee was paid |