KR20110105236A - Bidet Nozzle Assembly - Google Patents

Bidet Nozzle Assembly Download PDF

Info

Publication number
KR20110105236A
KR20110105236A KR1020100024375A KR20100024375A KR20110105236A KR 20110105236 A KR20110105236 A KR 20110105236A KR 1020100024375 A KR1020100024375 A KR 1020100024375A KR 20100024375 A KR20100024375 A KR 20100024375A KR 20110105236 A KR20110105236 A KR 20110105236A
Authority
KR
South Korea
Prior art keywords
nozzle
washing water
water spray
spray nozzle
bidet
Prior art date
Legal status (The legal status is an assumption and is not a legal conclusion. Google has not performed a legal analysis and makes no representation as to the accuracy of the status listed.)
Ceased
Application number
KR1020100024375A
Other languages
Korean (ko)
Inventor
이현강
박성원
Original Assignee
웅진코웨이주식회사
Priority date (The priority date is an assumption and is not a legal conclusion. Google has not performed a legal analysis and makes no representation as to the accuracy of the date listed.)
Filing date
Publication date
Application filed by 웅진코웨이주식회사 filed Critical 웅진코웨이주식회사
Priority to KR1020100024375A priority Critical patent/KR20110105236A/en
Publication of KR20110105236A publication Critical patent/KR20110105236A/en
Ceased legal-status Critical Current

Links

Images

Classifications

    • BPERFORMING OPERATIONS; TRANSPORTING
    • B05SPRAYING OR ATOMISING IN GENERAL; APPLYING FLUENT MATERIALS TO SURFACES, IN GENERAL
    • B05BSPRAYING APPARATUS; ATOMISING APPARATUS; NOZZLES
    • B05B7/00Spraying apparatus for discharge of liquids or other fluent materials from two or more sources, e.g. of liquid and air, of powder and gas
    • B05B7/02Spray pistols; Apparatus for discharge
    • EFIXED CONSTRUCTIONS
    • E03WATER SUPPLY; SEWERAGE
    • E03DWATER-CLOSETS OR URINALS WITH FLUSHING DEVICES; FLUSHING VALVES THEREFOR
    • E03D9/00Sanitary or other accessories for lavatories ; Devices for cleaning or disinfecting the toilet room or the toilet bowl; Devices for eliminating smells
    • EFIXED CONSTRUCTIONS
    • E03WATER SUPPLY; SEWERAGE
    • E03DWATER-CLOSETS OR URINALS WITH FLUSHING DEVICES; FLUSHING VALVES THEREFOR
    • E03D9/00Sanitary or other accessories for lavatories ; Devices for cleaning or disinfecting the toilet room or the toilet bowl; Devices for eliminating smells
    • E03D9/08Devices in the bowl producing upwardly-directed sprays; Modifications of the bowl for use with such devices ; Bidets; Combinations of bowls with urinals or bidets; Hot-air or other devices mounted in or on the bowl, urinal or bidet for cleaning or disinfecting

Landscapes

  • Health & Medical Sciences (AREA)
  • Public Health (AREA)
  • Epidemiology (AREA)
  • Life Sciences & Earth Sciences (AREA)
  • Engineering & Computer Science (AREA)
  • Hydrology & Water Resources (AREA)
  • Water Supply & Treatment (AREA)
  • Molecular Biology (AREA)
  • Bidet-Like Cleaning Device And Other Flush Toilet Accessories (AREA)

Abstract

본 발명은 비데의 노즐 어셈블리에 관한 것으로, 보다 상세하게는 세척수 분사 노즐과, 상기 세척수 분사 노즐을 상하 방향으로 회전 이동시키는 회전 이동 구동 장치를 포함하는 것을 특징으로 한다.
본 발명의 일 실시예에 따르면, 세척수 분사 노즐이 비데 본체 내에서 수평 방향으로 이동하므로 비데 본체 내의 공간을 적게 차지하여 공간 활용도가 좋다. 즉, 세척수 분사 노즐을 비데 본체의 저부에 배치하고 그 상부 공간을 활용할 수 있다. 또한, 노즐이 비데 본체 내에서 수평으로 안정적으로 이동하므로 부품 내구성도 향상된다.
본 발명의 다른 실시예에 따르면, 비데 본체 내에서의 경사 이동 또는 수평 이동 없이 회전 이동만 하므로, 노즐 어셈블리의 후방의 공간을 활용할 수 있어 공간 활용도가 좋고, 구조가 간단하다는 이점이 있다.
The present invention relates to a nozzle assembly of a bidet, and more particularly, it comprises a washing water spray nozzle and a rotational movement driving device for rotating the washing water spray nozzle in the vertical direction.
According to one embodiment of the present invention, since the washing water injection nozzle moves in the bidet body in the horizontal direction, it takes up less space in the bidet body and thus has good space utilization. That is, the washing water spray nozzle may be disposed at the bottom of the bidet body and the upper space thereof may be utilized. In addition, since the nozzle moves stably horizontally in the bidet body, component durability is also improved.
According to another embodiment of the present invention, since only the rotational movement without tilting or horizontal movement in the bidet body, it is possible to utilize the space behind the nozzle assembly has the advantage of good space utilization and simple structure.

Description

비데의 노즐 어셈블리{NOZZLE ASSEMBLY OF BIDET}Bidet Nozzle Assembly {NOZZLE ASSEMBLY OF BIDET}

본 발명은 비데의 노즐 어셈블리에 관한 것이다.The present invention relates to a nozzle assembly of a bidet.

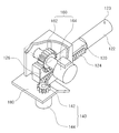
도 1은 종래의 비데 장치가 구비된 좌변기를 도시하고 있다. 도 1에 도시된 바와 같이, 좌변기(1)는 변좌(10), 수조(12), 및 세척수 분사 노즐(20)을 구비한다. 세척수 분사 노즐(20)은 평상시 변좌(10)의 후방 상측에 설치된 비데 본체(30) 내에 위치되어 있다가, 사용자가 조작부(40)를 통하여 세척을 실행하면, 세척수 분사 노즐(20)은 비데 본체(30)의 전방 외부로 이동하여 세척수를 분사하고 사용자의 국부를 세척한 후, 비데 본체(30) 내로 원위치된다.Figure 1 shows a left toilet with a conventional bidet device. As shown in FIG. 1, the toilet seat 1 includes a toilet seat 10, a water tank 12, and a washing water spray nozzle 20. The wash water spray nozzle 20 is normally located in the bidet body 30 installed on the rear upper side of the toilet seat 10. When the user performs the washing through the operation unit 40, the wash water spray nozzle 20 is the bidet body. After moving to the outside of the front 30 to spray the washing water and washing the user's local, it is returned to the bidet body (30).

도 2는 종래의 세척수 분사 노즐(20)이 배치된 비데 본체(30)를 일부 절개하여 도시한 도면이다. 도 2를 참조하면, 세척수 분사 노즐(20)은 항문용 세정 노즐(22)과 여성용 비데 노즐(24)을 구비한다. 세정 노즐(22)과 비데 노즐(24)의 후단부에는 각각 호스가 연결되어 급수 장치로부터 물을 공급받을 수 있다. 세정 노즐(22)과 비데 노즐(24)의 전단부에는 각 노즐에 공급되는 물을 분사하는 세정 노즐 팁(미도시)과 비데 노즐 팁(미도시)이 형성된다. 세정 노즐 팁과 비데 노즐 팁이 배치되는 위치의 상부에는 노즐 팁을 세척하기 위한 노즐 세척부(26)가 설치된다. 노즐 세척부(26)에는 호스가 연결되어 물을 공급받을 수 있다.FIG. 2 is a view showing a partial cutaway of the bidet body 30 in which the conventional washing water spray nozzle 20 is disposed. Referring to FIG. 2, the washing water spray nozzle 20 includes an anal cleaning nozzle 22 and a female bidet nozzle 24. A hose may be connected to the rear ends of the cleaning nozzle 22 and the bidet nozzle 24 to receive water from the water supply device. At the front end of the cleaning nozzle 22 and the bidet nozzle 24, a cleaning nozzle tip (not shown) and a bidet nozzle tip (not shown) for spraying water supplied to each nozzle are formed. The nozzle cleaning unit 26 for cleaning the nozzle tip is installed at the upper part of the position where the cleaning nozzle tip and the bidet nozzle tip are disposed. A nozzle is connected to the nozzle cleaner 26 to receive water.

상기와 같이 구성되는 세척수 분사 노즐(20)은 소정의 각도(약 45도)로 기울어진 받침대(28) 상에 장착되어, 기울어진 상태로 신장한다. 이와 같이 세척수 분사 노즐(20)이 하방으로 경사지게 신장하도록 구성한 것은 세척수 분사 노즐(20)이 사용자의 국부 밑으로 이동하여 위치될 수 있도록 하기 위함인데, 노즐이 경사진 상태로 신장하면 반복적으로 피로가 누적되어 부품 내구성에 문제가 생기고, 또한 경사진 받침대(28)가 비데 본체(30) 내부의 공간을 많이 차지하여 공간 활용상 바람직하지 못하다.The washing water spray nozzle 20 configured as described above is mounted on the pedestal 28 inclined at a predetermined angle (about 45 degrees) and extends in an inclined state. The washing water spray nozzle 20 is configured to be inclined downward so as to allow the washing water spray nozzle 20 to be moved under the user's local position. Accumulation causes problems in component durability, and the inclined pedestal 28 occupies a large amount of space inside the bidet body 30, which is not preferable in terms of space utilization.

본 발명은 이러한 종래 기술의 문제점을 해결하고자 고안된 것으로, 공간 활용도가 좋으며 내구성이 우수한 세척수 분사 노즐을 구비한 노즐 어셈블리를 제공하는 것을 목적으로 한다.The present invention was devised to solve the problems of the prior art, and an object of the present invention is to provide a nozzle assembly having a washing water spray nozzle having good space utilization and excellent durability.

상기와 같은 목적을 달성하기 위한 본 발명의 특징에 따르면, 세척수 분사 노즐과, 상기 세척수 분사 노즐을 상하 방향으로 회전 이동시키는 회전 이동 구동 장치를 포함하는 것을 특징으로 하는 비데의 노즐 어셈블리가 제공된다.According to a feature of the present invention for achieving the above object, there is provided a nozzle assembly of the bidet comprising a washing water spray nozzle and a rotational movement driving device for rotating the washing water spray nozzle in the vertical direction.

상기 노즐 어셈블리는 상기 세척수 분사 노즐을 상기 세척수 분사 노즐의 길이 방향으로 이동시키는 직선 이동 구동 장치를 더 포함할 수 있다.The nozzle assembly may further include a linear movement driving device for moving the washing water spray nozzle in the longitudinal direction of the washing water spray nozzle.

상기 세척수 분사 노즐은 상기 직선 이동 구동 장치에 의해 전방으로 이동한 후, 상기 회전 이동 구동 장치에 의해 회전 이동한다.The washing water spray nozzle is moved forward by the linear movement driving device, and then rotates by the rotational movement driving device.

상기 직선 이동 구동 장치는 직선 이동 구동 기어를 구비하고, 상기 세척수 분사 노즐의 일측면에 상기 직선 이동 구동 기어와 맞물리는 직선 이동 피동 기어가 형성된다.The linear movement driving device includes a linear movement driving gear, and a linear movement driven gear meshing with the linear movement driving gear is formed on one side of the washing water injection nozzle.

상기 회전 이동 구동 장치는 회전 이동 구동 기어를 구비하고, 상기 세척수 분사 노즐의 후단부에 상기 회전 이동 구동 기어와 맞물리는 회전 이동 피동 기어가 만곡되어 형성된다.The rotational movement driving apparatus includes a rotational movement driving gear, and a rotational movement driven gear that is engaged with the rotational movement driving gear is formed at the rear end of the washing water injection nozzle.

상기 노즐 어셈블리는 상기 세척수 분사 노즐이 배치되는 받침대를 더 포함하고, 상기 세척수 분사 노즐은 상기 받침대 상에 수평 방향으로 배치된다.The nozzle assembly further includes a pedestal in which the wash water spray nozzle is disposed, and the wash water spray nozzle is disposed in the horizontal direction on the pedestal.

상기 회전 이동 구동 장치는 회전 이동 구동 기어를 구비하고, 상기 세척수 분사 노즐의 후단부에 상기 회전 이동 구동 기어와 맞물리는 회전 이동 피동 기어가 형성된 브릿지가 설치된다.The rotational movement driving apparatus includes a rotational movement driving gear, and a bridge having a rotational movement driven gear that meshes with the rotational movement driving gear is provided at a rear end of the washing water injection nozzle.

상기 세척수 분사 노즐의 전단부에 물이 분사되는 분사구가 설치되고, 상기 분사구는 물이 전방으로 경사지게 분사되도록 형성된다.An injection hole for spraying water is installed at the front end of the washing water injection nozzle, and the injection hole is formed so that the water is inclined forward.

본 발명의 일 실시예에 따르면, 세척수 분사 노즐이 비데 본체 내에서 수평 방향으로 이동하므로 비데 본체 내의 공간을 적게 차지하여 공간 활용도가 좋다. 즉, 세척수 분사 노즐을 비데 본체의 저부에 배치하고 그 상부 공간을 활용할 수 있다. 또한, 노즐이 비데 본체 내에서 수평으로 안정적으로 이동하므로 부품 내구성도 향상된다.According to one embodiment of the present invention, since the washing water injection nozzle moves in the bidet body in the horizontal direction, it takes up less space in the bidet body and thus has good space utilization. That is, the washing water spray nozzle may be disposed at the bottom of the bidet body and the upper space thereof may be utilized. In addition, since the nozzle moves stably horizontally in the bidet body, component durability is also improved.

본 발명의 다른 실시예에 따르면, 비데 본체 내에서의 경사 이동 또는 수평 이동 없이 회전 이동만 하므로, 노즐 어셈블리의 후방의 공간을 활용할 수 있어 공간 활용도가 좋고, 구조가 간단하다는 이점이 있다.According to another embodiment of the present invention, since only the rotational movement without tilting or horizontal movement in the bidet body, it is possible to utilize the space behind the nozzle assembly, there is an advantage that the space utilization is good, and the structure is simple.

도 1은 종래의 비데 장치가 구비된 좌변기를 도시한 것이다.
도 2는 종래의 세척수 분사 노즐이 배치된 비데 본체의 부분 절개 사시도이다.
도 3은 본 발명의 실시예에 따른 노즐 어셈블리의 사시도이다.
도 4는 도 3의 노즐 어셈블리를 다른 측면에서 본 사시도이다.
도 5는 세척수 분사 노즐의 경사 각도에 따라 물의 분사 위치가 변경되는 것을 도시한 것이다.
도 6은 본 발명의 다른 실시예에 따른 노즐 어셈블리의 측면도이다.
도 7은 세척수 분사 노즐의 경사 각도에 따라 물의 분사 위치가 변경되는 것을 도시한 것이다.
Figure 1 shows a toilet with a conventional bidet device is shown.
2 is a partial cutaway perspective view of a bidet body having a conventional washing water spray nozzle disposed therein.
3 is a perspective view of a nozzle assembly according to an embodiment of the present invention.
4 is a perspective view of the nozzle assembly of FIG. 3 seen from another side.
Figure 5 shows that the spray position of the water is changed according to the inclination angle of the washing water spray nozzle.
6 is a side view of a nozzle assembly according to another embodiment of the present invention.
7 illustrates that the spray position of water is changed according to the inclination angle of the washing water spray nozzle.

이하 본 발명의 실시예를 첨부된 도면을 참조하여 상세하게 설명한다.Hereinafter, embodiments of the present invention will be described in detail with reference to the accompanying drawings.

도 3은 본 발명의 실시예에 따른 노즐 어셈블리의 사시도이고, 도 4는 도 3의 노즐 어셈블리를 다른 측면에서 본 사시도이다.Figure 3 is a perspective view of a nozzle assembly according to an embodiment of the present invention, Figure 4 is a perspective view of the nozzle assembly of Figure 3 seen from another side.

도 3 및 도 4에 도시된 바와 같이, 노즐 어셈블리(100)는 세척수 분사 노즐(120)과, 세척수 분사 노즐(120)을 길이 방향으로 이동시키는 직선 이동 구동 장치(140)와, 세척수 분사 노즐(120)을 상하 방향으로 회전 이동시키는 회전 이동 구동 장치(160)를 구비하여 이루어진다.As shown in FIGS. 3 and 4, the nozzle assembly 100 includes a washing water spray nozzle 120, a linear movement driving device 140 for moving the washing water spray nozzle 120 in a longitudinal direction, and a washing water spray nozzle ( And a rotation movement driving device 160 that rotates 120 in the vertical direction.

세척수 분사 노즐(120)은 항문용 세정 노즐로만 구성되거나, 여성용 비데 노즐로만 구성되거나, 또는 항문용 세정 노즐과 여성용 비데 노즐을 둘 다 포함한 것일 수 있다. 세척수 분사 노즐(120)의 전단부에는 노즐에 공급되는 물을 분사하는 노즐 팁(122)이 제공된다. 노즐 팁(122)의 상면에는 분사구(123)가 형성되어, 분사구(123)를 통해 사용자의 국부에 물이 분사될 수 있다. 노즐 팁(122)은 항문용, 여성용, 또는 혼합용 등 용도에 따라 다른 것이 제공될 수 있으며, 분리하여 세척하거나 교체 가능하도록 착탈 가능하게 결합된다. 도면에 도시되지는 않았지만, 세척수 분사 노즐(120)의 후단부에는 호스가 연결되어 급수 장치로부터 물을 공급받을 수 있다.The washing water spray nozzle 120 may be configured only with an anal cleaning nozzle, only a female bidet nozzle, or may include both an anal cleaning nozzle and a female bidet nozzle. The front end of the washing water spray nozzle 120 is provided with a nozzle tip 122 for spraying water supplied to the nozzle. An injection hole 123 is formed on an upper surface of the nozzle tip 122, and water may be injected into a local part of the user through the injection hole 123. The nozzle tip 122 may be provided differently depending on the purpose such as anal, female, or mixed use, and is detachably coupled to be detachably washed or replaced. Although not shown in the drawings, a hose is connected to the rear end of the washing water injection nozzle 120 to receive water from the water supply device.

세척수 분사 노즐(120)의 일측면에는 직선 이동 구동 장치(140)의 직선 이동 구동 기어(142)와 맞물리는 직선 이동 피동 기어(124)가 형성된다. 직선 이동 피동 기어(124)는 세척수 분사 노즐(120)의 일측면을 따라 길이 방향으로 형성된다. 따라서, 직선 이동 구동 기어(142)가 회전하면 직선 이동 피동 기어(124)가 그에 맞물려서 세척수 분사 노즐(120) 전체가 길이 방향으로 이동할 수 있다.On one side of the washing water injection nozzle 120 is a linear movement driven gear 124 meshing with the linear movement drive gear 142 of the linear movement drive device 140 is formed. The linearly driven driven gear 124 is formed in the longitudinal direction along one side of the washing water injection nozzle 120. Accordingly, when the linear movement driving gear 142 rotates, the linear movement driven gear 124 meshes with the linear movement driving gear 124 so that the entire washing water spray nozzle 120 may move in the longitudinal direction.

세척수 분사 노즐(120)의 상측면 후단부에는 회전 이동 구동 장치(160)의 회전 이동 구동 기어(162)와 맞물리는 회전 이동 피동 기어(126)가 형성된다. 회전 이동 피동 기어(126)는 세척수 분사 노즐(120)의 상측면 후단부에 만곡되어 형성된다. 따라서, 회전 이동 구동 기어(162)가 회전하면 회전 이동 피동 기어(126)가 그에 맞물려서 세척수 분사 노즐(120)이 그 후단부를 중심으로 회전 이동을 할 수 있게 된다.At the rear end of the upper side of the washing water spray nozzle 120, a rotational driven gear 126 meshing with the rotational movement driving gear 162 of the rotational movement driving device 160 is formed. The rotary movement driven gear 126 is formed to be curved at the rear end of the upper side of the washing water injection nozzle 120. Accordingly, when the rotational movement driving gear 162 rotates, the rotational movement driven gear 126 meshes with the rotational movement driving gear 126 so that the washing water spray nozzle 120 can rotate around the rear end thereof.

직선 이동 구동 장치(140)는 직선 이동 구동 기어(142)와 구동 모터(144)를 구비하여 이루어지고, 회전 이동 구동 장치(160)는 회전 이동 구동 기어(162)와 구동 모터(164)를 구비하여 이루어진다. 직선 이동 구동 기어(142)와 회전 이동 구동 기어(162)는 각각의 구동 모터(144, 164)에 의해 구동되며, 각각의 피동 기어(124, 126)를 구동하도록 구성된다.The linear movement driving device 140 includes a linear movement driving gear 142 and a drive motor 144, and the rotation movement driving device 160 includes a rotation movement driving gear 162 and a driving motor 164. It is done by The linear movement drive gear 142 and the rotation movement drive gear 162 are driven by respective drive motors 144 and 164 and are configured to drive each driven gear 124 and 126.

세척수 분사 노즐(120)의 받침대(180)는 수평 방향으로 연장한다. 따라서, 세척수 분사 노즐(120)은 받침대(180) 상에서 수평 방향으로 이동 가능하다. 다만, 세척수 분사 노즐(120)의 전단부는 하방으로 경사지게 형성된다. 이는 세척수 분사 노즐(120)이 하방으로 회전 이동하는 것을 허용하기 위함이다.The pedestal 180 of the washing water spray nozzle 120 extends in the horizontal direction. Therefore, the washing water spray nozzle 120 is movable in the horizontal direction on the pedestal 180. However, the front end of the washing water injection nozzle 120 is formed to be inclined downward. This is to allow the washing water spray nozzle 120 to rotate downward.

다음으로, 상기와 같이 구성된 노즐 어셈블리(100)의 작동 방법을 설명한다.Next, a method of operating the nozzle assembly 100 configured as described above will be described.

사용자가 용변을 본 후 국부를 세척하기 위해 노즐 어셈블리(100)를 작동시키면, 직선 이동 구동 기어(142)가 구동 모터(144)에 의해 회전한다. 직선 이동 구동 기어(142)가 회전하면, 그에 맞물린 직선 이동 피동 기어(124)에 의해 세척수 분사 노즐(120)이 길이 방향으로 전진한다. 세척수 분사 노즐(120)은 받침대(180) 상에 수평 방향으로 배치되어 있으므로 세척수 분사 노즐(120)은 수평 방향으로 신장하게 된다.When the user views the toilet and operates the nozzle assembly 100 to clean the local, the linear movement drive gear 142 is rotated by the drive motor 144. When the linear movement drive gear 142 rotates, the washing water injection nozzle 120 advances in the longitudinal direction by the linear movement driven gear 124 engaged thereto. Since the washing water spray nozzle 120 is disposed in the horizontal direction on the pedestal 180, the washing water spray nozzle 120 extends in the horizontal direction.

세척수 분사 노즐(120)이 전방으로 이동하면 후단부에 마련된 회전 이동 피동 기어(126)가 회전 이동 구동 기어(162)에 맞물리게 된다. 회전 이동 구동 기어(162)가 구동 모터(164)에 의해 회전하면, 그에 맞물린 회전 이동 피동 기어(126)에 의해 세척수 분사 노즐(120)이 하방으로 회전 이동하게 된다. 이때, 받침대(180)의 전단부가 하방으로 경사지게 형성되어 있기 때문에 세척수 분사 노즐(120)이 하방으로 회전 이동하는 것이 방해받지 않는다. 당연히 받침대(180) 전단부의 경사각은 노즐의 하방 회전각을 제한한다.When the washing water spray nozzle 120 is moved forward, the rotary movement driven gear 126 provided at the rear end is engaged with the rotation movement driving gear 162. When the rotational movement drive gear 162 is rotated by the drive motor 164, the washing water injection nozzle 120 is rotated downward by the rotational movement driven gear 126 engaged thereto. At this time, since the front end of the pedestal 180 is formed to be inclined downward, the washing water spray nozzle 120 is not hindered to rotate downward. Naturally, the inclination angle of the front end of the pedestal 180 limits the downward rotation angle of the nozzle.

세척수 분사 노즐(120)이 전방으로 이동한 다음 하방으로 회전 이동함으로써 세척수 분사 노즐(120)의 노즐 팁(122)이 사용자의 국부에 물을 분사할 준비를 완료한다. 그리고, 세척수 분사 노즐(120)은 급수 장치로부터 물을 공급받아 국부에 물을 분사하여 국부를 세척할 수 있게 된다.By moving the washing water spray nozzle 120 forward and rotating downward, the nozzle tip 122 of the washing water spray nozzle 120 is ready to spray water to the user's local. In addition, the washing water spray nozzle 120 receives water from the water supply device, and sprays water to the local portion to wash the local portion.

사용자는 세척수 분사 노즐(120)의 경사 각도를 조절함으로써 분사되는 물이 국부에 닿는 위치를 조절할 수 있다. 도 5는 세척수 분사 노즐(120)의 경사 각도에 따라 물의 분사 위치가 변경되는 것을 도시한 것이다. 도 5에 도시된 바와 같이, 하방으로의 경사 각도를 크게 하면 물이 멀리 분사될 수 있고, 경사 각도를 작게 하면 물이 근거리에 분사될 수 있다. 따라서, 경사 각도의 조절을 위한 버튼이 조작부(40, 도 1 참조)에 마련되고, 사용자는 이 조작부(40)를 통해 회전 이동 구동 장치(160)의 동작을 제어함으로써 물의 분사 위치를 조절할 수 있게 된다.The user may adjust the position where the water sprayed reaches the local part by adjusting the inclination angle of the washing water spray nozzle 120. 5 illustrates that the spray position of water is changed according to the inclination angle of the washing water spray nozzle 120. As shown in FIG. 5, when the inclination angle downward is increased, water may be injected far, and when the inclination angle is small, water may be sprayed at a short distance. Therefore, a button for adjusting the inclination angle is provided in the operation unit 40 (see FIG. 1), and the user can adjust the spray position of the water by controlling the operation of the rotation movement driving device 160 through the operation unit 40. do.

또한, 경사 각도를 소정의 각도 범위 내에서 반복적으로 왕복 이동하게 설정하여 무브 기능을 실현할 수도 있다.The move function can also be realized by repeatedly setting the inclination angle to reciprocate repeatedly within a predetermined angle range.

이와 같이 본 발명에 따르면, 세척수 분사 노즐(120)이 비데 본체 내에서 수평 방향으로 이동하므로, 비데 본체 내의 공간을 적게 차지하여 공간 활용도가 좋다. 즉, 세척수 분사 노즐(120)을 비데 본체의 저부에 배치하고 그 상부 공간을 활용할 수 있다. 또한, 노즐이 비데 본체 내에서 수평으로 안정적으로 이동하므로 부품 내구성도 향상된다.As described above, according to the present invention, since the washing water injection nozzle 120 moves in the bidet main body in the horizontal direction, the space utilization in the bidet main body is reduced and the space utilization is good. That is, the washing water spray nozzle 120 may be disposed at the bottom of the bidet main body and use the upper space thereof. In addition, since the nozzle moves stably horizontally in the bidet body, component durability is also improved.

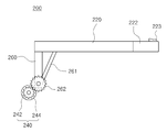
도 6은 본 발명의 다른 실시예에 따른 노즐 어셈블리의 측면도이다.6 is a side view of a nozzle assembly according to another embodiment of the present invention.

도 6에 도시된 바와 같이, 노즐 어셈블리(200)는 세척수 분사 노즐(220)과, 세척수 분사 노즐(220)을 상하 방향으로 회전 이동시키는 회전 이동 구동 장치(240)를 구비하여 이루어진다.As shown in FIG. 6, the nozzle assembly 200 includes a washing water spray nozzle 220 and a rotation movement driving device 240 for rotating the washing water spray nozzle 220 in a vertical direction.

세척수 분사 노즐(220)은 항문용 세정 노즐로만 구성되거나, 여성용 비데 노즐로만 구성되거나, 또는 항문용 세정 노즐과 여성용 비데 노즐을 둘 다 포함한 것일 수 있다. 세척수 분사 노즐(220)의 후단부에는 호스가 연결되어 급수 장치로부터 물을 공급받을 수 있다. 세척수 분사 노즐(220)의 전단부에는 노즐에 공급되는 물을 분사하는 노즐 팁(222)이 제공된다. 노즐 팁 (222)은 분리하여 세척하거나 교체 가능하도록 착탈 가능하게 결합된다. The washing water spray nozzle 220 may be composed only of an anal cleaning nozzle, only a female bidet nozzle, or may include both an anal cleaning nozzle and a female bidet nozzle. A hose may be connected to the rear end of the washing water spray nozzle 220 to receive water from the water supply device. The front end of the washing water spray nozzle 220 is provided with a nozzle tip 222 for spraying water supplied to the nozzle. The nozzle tip 222 is detachably coupled to remove, wash or replace.

노즐 팁(222)의 상면에는 분사구(223)가 형성되어, 분사구(223)를 통해 사용자의 국부에 물이 분사될 수 있다. 분사구(223)는 물이 전방으로 분사되도록 소정의 각도로 경사지게 설치된다. 전술한 실시예에서는, 노즐이 수평 방향으로 이동한 후 소정의 각도로 경사지게 회전 이동하도록 구성되었지만, 본 실시예에서는 노즐의 수평 방향 이동 없이 회전 이동만 하기 때문에 전방으로의 충분한 물 분사 거리를 확보하기 위해서, 분사구(223) 자체를 소정의 각도로 경사지게 설치하는 것이다.An injection hole 223 is formed on an upper surface of the nozzle tip 222, and water may be injected into a local part of the user through the injection hole 223. The injection hole 223 is installed to be inclined at a predetermined angle so that water is sprayed forward. In the above-described embodiment, the nozzle is configured to rotate inclined at a predetermined angle after moving in the horizontal direction, but in this embodiment, only the rotational movement without the horizontal movement of the nozzle ensures sufficient water injection distance to the front. For this purpose, the injection hole 223 itself is provided to be inclined at a predetermined angle.

세척수 분사 노즐(220)의 후단부는 세척수 분사 노즐(220)에 대해 직각 방향으로 연장하는 브릿지(260)가 설치된다. 브릿지(260)를 보조하는 보조 브릿지(261)가 또한 설치될 수 있다.The rear end of the washing water spray nozzle 220 is provided with a bridge 260 extending in a direction perpendicular to the washing water spray nozzle 220. An auxiliary bridge 261 may also be installed to assist the bridge 260.

브릿지(260)의 단부에는 회전 이동 피동 기어(262)가 설치되고, 이 피동 기어(262)는 회전 이동 구동 장치(240)의 구동 기어(242)에 맞물려 구동되도록 구성된다. 구동 기어(242)는 구동 모터(244)에 의해 동력을 전달받을 수 있다.At the end of the bridge 260, a rotational driven driven gear 262 is provided, and the driven gear 262 is configured to be engaged with the drive gear 242 of the rotational movement drive device 240 to be driven. The drive gear 242 may receive power by the drive motor 244.

다음으로, 상기와 같이 구성된 노즐 어셈블리(200)의 작동 방법을 설명한다.Next, a method of operating the nozzle assembly 200 configured as described above will be described.

사용자가 용변을 본 후 국부를 세척하기 위해 노즐 어셈블리(200)를 작동시키면, 구동 기어(242)가 구동 모터(244)에 의해 회전한다. 구동 기어(242)가 회전하면, 그에 맞물린 피동 기어(262)에 의해 세척수 분사 노즐(220)이 하방으로 회전 이동하게 된다. When the user views the toilet and operates the nozzle assembly 200 to clean the local, the drive gear 242 is rotated by the drive motor 244. When the driving gear 242 rotates, the washing water spray nozzle 220 is rotated downward by the driven gear 262 engaged thereto.

세척수 분사 노즐(220)이 하방으로 회전 이동함으로써 세척수 분사 노즐(220)의 노즐 팁(222)이 사용자의 국부에 물을 분사할 준비를 완료한다. 그리고, 세척수 분사 노즐(220)은 급수 장치로부터 물을 공급받아 국부에 물을 분사하여 국부를 세척할 수 있게 된다.As the wash water spray nozzle 220 is rotated downward, the nozzle tip 222 of the wash water spray nozzle 220 is ready to spray water to the local of the user. In addition, the washing water spray nozzle 220 may be supplied with water from the water supply device to spray the water to the local portion to wash the local portion.

사용자는 세척수 분사 노즐(220)의 경사 각도를 조절함으로써 분사되는 물이 국부에 닿는 위치를 조절할 수 있다. 도 7은 세척수 분사 노즐(220)의 경사 각도에 따라 물의 분사 위치가 변경되는 것을 도시한 것이다. 도 7에 도시된 바와 같이, 하방으로의 경사 각도를 크게 하면 물이 멀리 분사될 수 있고, 경사 각도를 작게 하면 물이 근거리에 분사될 수 있다. 노즐 팁(222)의 상면에 형성된 분사구(223)가 전방으로 경사지게 배치되어 있으므로, 전방으로의 물 분사 거리가 충분히 확보될 수 있다.The user may adjust the position where the sprayed water contacts the local by adjusting the inclination angle of the washing water spray nozzle 220. FIG. 7 illustrates that the spray position of water is changed according to the inclination angle of the washing water spray nozzle 220. As shown in FIG. 7, when the inclination angle downward is increased, water may be injected far, and when the inclination angle is small, water may be injected at a short distance. Since the injection hole 223 formed on the upper surface of the nozzle tip 222 is disposed to be inclined forward, the water injection distance to the front can be sufficiently secured.

또한, 경사 각도를 소정의 각도 범위 내에서 반복적으로 왕복 이동하게 설정하여 무브 기능을 실현할 수도 있다.The move function can also be realized by repeatedly setting the inclination angle to reciprocate repeatedly within a predetermined angle range.

이와 같이, 본 발명의 다른 실시예에 따른 노즐 어셈블리는 비데 본체 내에서의 경사 이동 또는 수평 이동 없이 회전 이동만 하므로, 노즐 어셈블리의 후방의 공간을 활용할 수 있어 공간 활용도가 좋고, 구조가 간단하다는 이점이 있다.As such, the nozzle assembly according to another embodiment of the present invention only rotates without tilting or horizontally moving in the bidet body, so that the space behind the nozzle assembly can be utilized, so that the space utilization is good and the structure is simple. There is this.

100 노즐 어셈블리 120 세척수 분사 노즐
122 노즐 팁 123 분사구
124 직선 이동 피동 기어 126 회전 이동 피동 기어
140 직선 이동 구동 장치 142 직선 이동 구동 기어
144 구동 모터 160 회전 이동 구동 장치
162 회전 이동 구동 기어 164 구동 모터
180 받침대 200 노즐 어셈블리
220 세척수 분사 노즐 222 노즐 팁
223 분사구 240 회전 이동 구동 장치
242 회전 이동 구동 기어 244 구동 모터
260 브릿지 262 회전 이동 피동 기어
100 nozzle assembly 120 wash water spray nozzle
122 Nozzle Tip 123 Nozzle
124 linear moving driven gear 126 rotary moving driven gear
140 Linear motion drive gear 142 Linear motion drive gear
144 drive motor 160 rotary movement drive
162 rotary move drive gear 164 drive motor
180 Pedestal 200 Nozzle Assembly
220 Water spray nozzle 222 Nozzle tip
223 nozzle 240 rotational movement drive
242 rotary movement drive gear 244 drive motor
260 bridge 262 rotary movement driven gear

Claims (8)

세척수 분사 노즐과, 상기 세척수 분사 노즐을 상하 방향으로 회전 이동시키는 회전 이동 구동 장치를 포함하는 것을 특징으로 하는 비데의 노즐 어셈블리.And a washing water spray nozzle and a rotation movement driving device for rotating the washing water spray nozzle in a vertical direction. 청구항 1에 있어서,
상기 세척수 분사 노즐을 상기 세척수 분사 노즐의 길이 방향으로 이동시키는 직선 이동 구동 장치를 더 포함하는 것을 특징으로 하는 비데의 노즐 어셈블리.
The method according to claim 1,
And a linear movement driving device for moving the washing water spray nozzle in the longitudinal direction of the washing water spray nozzle.
청구항 2에 있어서,
상기 세척수 분사 노즐은 상기 직선 이동 구동 장치에 의해 전방으로 이동한 후, 상기 회전 이동 구동 장치에 의해 회전 이동하는 것을 특징으로 하는 비데의 노즐 어셈블리.
The method according to claim 2,
The nozzle assembly of the bidet, characterized in that the washing water injection nozzle is moved forward by the linear movement drive device, and then rotated by the rotation movement drive device.
청구항 3에 있어서,
상기 직선 이동 구동 장치는 직선 이동 구동 기어를 구비하고,
상기 세척수 분사 노즐의 일측면에 상기 직선 이동 구동 기어와 맞물리는 직선 이동 피동 기어가 형성된 것을 특징으로 하는 비데의 노즐 어셈블리.
The method according to claim 3,
The linear movement drive device is provided with a linear movement drive gear,
The nozzle assembly of the bidet, characterized in that the linear movement driven gear meshing with the linear movement drive gear on one side of the washing water injection nozzle.
청구항 3에 있어서,
상기 회전 이동 구동 장치는 회전 이동 구동 기어를 구비하고,
상기 세척수 분사 노즐의 후단부에 상기 회전 이동 구동 기어와 맞물리는 회전 이동 피동 기어가 만곡되어 형성된 것을 특징으로 하는 비데의 노즐 어셈블리.
The method according to claim 3,
The rotational movement drive device has a rotational movement drive gear,
The nozzle assembly of the bidet, characterized in that formed in the rear end of the washing water spray nozzle is a rotational movement driven gear is engaged with the rotational movement drive gear.
청구항 2에 있어서,
상기 세척수 분사 노즐이 배치되는 받침대를 더 포함하고,
상기 세척수 분사 노즐은 상기 받침대 상에 수평 방향으로 배치되는 것을 특징으로 하는 비데의 노즐 어셈블리.
The method according to claim 2,
Further comprising a pedestal is disposed the washing water spray nozzle,
The nozzle assembly of the bidet, characterized in that the washing water spray nozzle is disposed in the horizontal direction on the pedestal.
청구항 1에 있어서,
상기 회전 이동 구동 장치는 회전 이동 구동 기어를 구비하고,
상기 세척수 분사 노즐의 후단부에 상기 회전 이동 구동 기어와 맞물리는 회전 이동 피동 기어가 형성된 브릿지가 설치된 것을 특징으로 하는 비데의 노즐 어셈블리.
The method according to claim 1,
The rotational movement drive device has a rotational movement drive gear,
The nozzle assembly of the bidet, characterized in that the bridge is formed on the rear end of the washing water spray nozzle is formed with the rotational movement driven gear meshing with the rotational movement drive gear.
청구항 7에 있어서,
상기 세척수 분사 노즐의 전단부에 물이 분사되는 분사구가 설치되고, 상기 분사구는 물이 전방으로 경사지게 분사되도록 형성된 것을 특징으로 하는 비데의 노즐 어셈블리.
The method according to claim 7,
A nozzle for injecting water is installed in the front end of the washing water injection nozzle, the nozzle is a bidet nozzle assembly, characterized in that the water is formed to be inclined forward.
KR1020100024375A 2010-03-18 2010-03-18 Bidet Nozzle Assembly Ceased KR20110105236A (en)

Priority Applications (1)

Application Number Priority Date Filing Date Title
KR1020100024375A KR20110105236A (en) 2010-03-18 2010-03-18 Bidet Nozzle Assembly

Applications Claiming Priority (1)

Application Number Priority Date Filing Date Title
KR1020100024375A KR20110105236A (en) 2010-03-18 2010-03-18 Bidet Nozzle Assembly

Publications (1)

Publication Number Publication Date
KR20110105236A true KR20110105236A (en) 2011-09-26

Family

ID=44955671

Family Applications (1)

Application Number Title Priority Date Filing Date
KR1020100024375A Ceased KR20110105236A (en) 2010-03-18 2010-03-18 Bidet Nozzle Assembly

Country Status (1)

Country Link
KR (1) KR20110105236A (en)

Cited By (3)

* Cited by examiner, † Cited by third party
Publication number Priority date Publication date Assignee Title
WO2017164524A1 (en) * 2016-03-24 2017-09-28 코웨이 주식회사 Sterilized water spray device and bidet seat having same
KR20170110900A (en) * 2016-03-24 2017-10-12 코웨이 주식회사 Sterilizing water spray apparatus and bidet having the same
US20190071856A1 (en) * 2016-03-24 2019-03-07 Coway Co., Ltd. Sterilized Water Spray Device and Bidet Seat Having Same

Cited By (5)

* Cited by examiner, † Cited by third party
Publication number Priority date Publication date Assignee Title
WO2017164524A1 (en) * 2016-03-24 2017-09-28 코웨이 주식회사 Sterilized water spray device and bidet seat having same
CN107227777A (en) * 2016-03-24 2017-10-03 豪威株式会社 Sterilization water jet device and the sanitary equipment for being equipped with the sterilization water jet device
KR20170110900A (en) * 2016-03-24 2017-10-12 코웨이 주식회사 Sterilizing water spray apparatus and bidet having the same
US20190071856A1 (en) * 2016-03-24 2019-03-07 Coway Co., Ltd. Sterilized Water Spray Device and Bidet Seat Having Same
US10557259B2 (en) 2016-03-24 2020-02-11 Coway Co., Ltd. Sterilized water spray device and bidet seat having same

Similar Documents

Publication Publication Date Title
KR101304487B1 (en) Drying device, and sanitary rinsing apparatus having the device
KR101501751B1 (en) Bidet for toilet seat
CN105054882A (en) Spraying arm assembly of dish-washing machine and dish-washing machine with spraying arm assembly
KR101866983B1 (en) Nozzle Assembly, and Toilet Seat and Bidet Including the Same
KR20110105236A (en) Bidet Nozzle Assembly
CN106030000B (en) Nozzle assembly and bidet device including the nozzle assembly
CN204950852U (en) Spray arm subassembly of dish washer and have its dish washer
JP6260156B2 (en) Local cleaning equipment
CN113235708B (en) A spray washing device, a method for realizing swing spray washing, and an intelligent toilet
KR20180014601A (en) Nozzle assembly and bidet including the same
KR101192195B1 (en) Apparatus for spraying water in a dishwasher
KR20090021553A (en) Rotating nozzle unit of sanitary cleaner
JP2013072196A (en) Human body private part washing device
KR20160128527A (en) Nozzle assembly rotation control method of bidet
CN117652769A (en) Bathroom cleaning device
KR101016839B1 (en) Rotating Bidet Cleaning Nozzle Drive
KR20160128526A (en) Rotating type nozzle assembly of bidet
KR101906346B1 (en) Nozzle assembly and bidet apparatus including the same
KR20160128525A (en) Rotating type nozzle assembly of bidet
JP3136063B2 (en) dishwasher
KR20070066340A (en) Dispenser of dishwasher
CN101368404B (en) Effuser device
KR20090041139A (en) Bidet Nozzle Structure
JP2005248591A (en) Toilet cleaning apparatus
JP2012213542A (en) Dish washing and drying machine

Legal Events

Date Code Title Description
PA0109 Patent application

Patent event code: PA01091R01D

Comment text: Patent Application

Patent event date: 20100318

PG1501 Laying open of application
A201 Request for examination
PA0201 Request for examination

Patent event code: PA02012R01D

Patent event date: 20150303

Comment text: Request for Examination of Application

Patent event code: PA02011R01I

Patent event date: 20100318

Comment text: Patent Application

E902 Notification of reason for refusal
PE0902 Notice of grounds for rejection

Comment text: Notification of reason for refusal

Patent event date: 20160421

Patent event code: PE09021S01D

E601 Decision to refuse application
PE0601 Decision on rejection of patent

Patent event date: 20160630

Comment text: Decision to Refuse Application

Patent event code: PE06012S01D

Patent event date: 20160421

Comment text: Notification of reason for refusal

Patent event code: PE06011S01I